WO2018110094A1 - 接続部シール構造及びシール部材 - Google Patents

接続部シール構造及びシール部材 Download PDF

Info

Publication number
WO2018110094A1
WO2018110094A1 PCT/JP2017/038424 JP2017038424W WO2018110094A1 WO 2018110094 A1 WO2018110094 A1 WO 2018110094A1 JP 2017038424 W JP2017038424 W JP 2017038424W WO 2018110094 A1 WO2018110094 A1 WO 2018110094A1
Authority
WO
WIPO (PCT)
Prior art keywords
pressure contact
seal
connection
taper
annular
Prior art date
Legal status (The legal status is an assumption and is not a legal conclusion. Google has not performed a legal analysis and makes no representation as to the accuracy of the status listed.)
Ceased
Application number
PCT/JP2017/038424
Other languages
English (en)
French (fr)
Japanese (ja)
Inventor
秀行 竹田
洋輝 岩田
安江 博人
信二郎 針山
Current Assignee (The listed assignees may be inaccurate. Google has not performed a legal analysis and makes no representation or warranty as to the accuracy of the list.)
CKD Corp
Original Assignee
CKD Corp
Priority date (The priority date is an assumption and is not a legal conclusion. Google has not performed a legal analysis and makes no representation as to the accuracy of the date listed.)
Filing date
Publication date
Application filed by CKD Corp filed Critical CKD Corp
Priority to US16/465,896 priority Critical patent/US11073209B2/en
Priority to KR1020197019029A priority patent/KR102262376B1/ko
Priority to CN201780076052.9A priority patent/CN110062858B/zh
Publication of WO2018110094A1 publication Critical patent/WO2018110094A1/ja
Anticipated expiration legal-status Critical
Ceased legal-status Critical Current

Links

Images

Classifications

    • FMECHANICAL ENGINEERING; LIGHTING; HEATING; WEAPONS; BLASTING
    • F16ENGINEERING ELEMENTS AND UNITS; GENERAL MEASURES FOR PRODUCING AND MAINTAINING EFFECTIVE FUNCTIONING OF MACHINES OR INSTALLATIONS; THERMAL INSULATION IN GENERAL
    • F16LPIPES; JOINTS OR FITTINGS FOR PIPES; SUPPORTS FOR PIPES, CABLES OR PROTECTIVE TUBING; MEANS FOR THERMAL INSULATION IN GENERAL
    • F16L23/00Flanged joints
    • F16L23/16Flanged joints characterised by the sealing means
    • F16L23/18Flanged joints characterised by the sealing means the sealing means being rings
    • F16L23/22Flanged joints characterised by the sealing means the sealing means being rings made exclusively of a material other than metal
    • FMECHANICAL ENGINEERING; LIGHTING; HEATING; WEAPONS; BLASTING
    • F16ENGINEERING ELEMENTS AND UNITS; GENERAL MEASURES FOR PRODUCING AND MAINTAINING EFFECTIVE FUNCTIONING OF MACHINES OR INSTALLATIONS; THERMAL INSULATION IN GENERAL
    • F16JPISTONS; CYLINDERS; SEALINGS
    • F16J15/00Sealings
    • F16J15/02Sealings between relatively-stationary surfaces
    • F16J15/06Sealings between relatively-stationary surfaces with solid packing compressed between sealing surfaces
    • F16J15/10Sealings between relatively-stationary surfaces with solid packing compressed between sealing surfaces with non-metallic packing
    • F16J15/104Sealings between relatively-stationary surfaces with solid packing compressed between sealing surfaces with non-metallic packing characterised by structure
    • FMECHANICAL ENGINEERING; LIGHTING; HEATING; WEAPONS; BLASTING
    • F16ENGINEERING ELEMENTS AND UNITS; GENERAL MEASURES FOR PRODUCING AND MAINTAINING EFFECTIVE FUNCTIONING OF MACHINES OR INSTALLATIONS; THERMAL INSULATION IN GENERAL
    • F16JPISTONS; CYLINDERS; SEALINGS
    • F16J15/00Sealings
    • F16J15/02Sealings between relatively-stationary surfaces
    • F16J15/06Sealings between relatively-stationary surfaces with solid packing compressed between sealing surfaces
    • F16J15/062Sealings between relatively-stationary surfaces with solid packing compressed between sealing surfaces characterised by the geometry of the seat
    • FMECHANICAL ENGINEERING; LIGHTING; HEATING; WEAPONS; BLASTING
    • F16ENGINEERING ELEMENTS AND UNITS; GENERAL MEASURES FOR PRODUCING AND MAINTAINING EFFECTIVE FUNCTIONING OF MACHINES OR INSTALLATIONS; THERMAL INSULATION IN GENERAL
    • F16JPISTONS; CYLINDERS; SEALINGS
    • F16J15/00Sealings
    • F16J15/02Sealings between relatively-stationary surfaces
    • F16J15/021Sealings between relatively-stationary surfaces with elastic packing
    • F16J15/022Sealings between relatively-stationary surfaces with elastic packing characterised by structure or material
    • FMECHANICAL ENGINEERING; LIGHTING; HEATING; WEAPONS; BLASTING
    • F16ENGINEERING ELEMENTS AND UNITS; GENERAL MEASURES FOR PRODUCING AND MAINTAINING EFFECTIVE FUNCTIONING OF MACHINES OR INSTALLATIONS; THERMAL INSULATION IN GENERAL
    • F16JPISTONS; CYLINDERS; SEALINGS
    • F16J15/00Sealings
    • F16J15/16Sealings between relatively-moving surfaces
    • F16J15/34Sealings between relatively-moving surfaces with slip-ring pressed against a more or less radial face on one member
    • F16J15/3404Sealings between relatively-moving surfaces with slip-ring pressed against a more or less radial face on one member and characterised by parts or details relating to lubrication, cooling or venting of the seal
    • F16J15/3408Sealings between relatively-moving surfaces with slip-ring pressed against a more or less radial face on one member and characterised by parts or details relating to lubrication, cooling or venting of the seal at least one ring having an uneven slipping surface
    • F16J15/3432Sealings between relatively-moving surfaces with slip-ring pressed against a more or less radial face on one member and characterised by parts or details relating to lubrication, cooling or venting of the seal at least one ring having an uneven slipping surface the geometry of the surface being able to vary during operation
    • FMECHANICAL ENGINEERING; LIGHTING; HEATING; WEAPONS; BLASTING
    • F16ENGINEERING ELEMENTS AND UNITS; GENERAL MEASURES FOR PRODUCING AND MAINTAINING EFFECTIVE FUNCTIONING OF MACHINES OR INSTALLATIONS; THERMAL INSULATION IN GENERAL
    • F16LPIPES; JOINTS OR FITTINGS FOR PIPES; SUPPORTS FOR PIPES, CABLES OR PROTECTIVE TUBING; MEANS FOR THERMAL INSULATION IN GENERAL
    • F16L23/00Flanged joints
    • F16L23/02Flanged joints the flanges being connected by members tensioned axially
    • FMECHANICAL ENGINEERING; LIGHTING; HEATING; WEAPONS; BLASTING
    • F16ENGINEERING ELEMENTS AND UNITS; GENERAL MEASURES FOR PRODUCING AND MAINTAINING EFFECTIVE FUNCTIONING OF MACHINES OR INSTALLATIONS; THERMAL INSULATION IN GENERAL
    • F16LPIPES; JOINTS OR FITTINGS FOR PIPES; SUPPORTS FOR PIPES, CABLES OR PROTECTIVE TUBING; MEANS FOR THERMAL INSULATION IN GENERAL
    • F16L47/00Connecting arrangements or other fittings specially adapted to be made of plastics or to be used with pipes made of plastics
    • F16L47/06Connecting arrangements or other fittings specially adapted to be made of plastics or to be used with pipes made of plastics with sleeve or socket formed by or in the pipe end
    • F16L47/065Connecting arrangements or other fittings specially adapted to be made of plastics or to be used with pipes made of plastics with sleeve or socket formed by or in the pipe end with sealing rings arranged between outer surface of pipe and inner surface of sleeve or socket, the sealing rings being placed previously on the male part

Definitions

  • the present invention relates to a connection part seal structure and a seal member that connect a first connection part and a second connection part via a seal member.
  • a seal member is arranged at a connection portion of components constituting a pipe, a fluid control device, and the like to prevent fluid from leaking to the outside.
  • a connection part seal structure described in Patent Document 1 and Patent Document 2 an annular protrusion and a tapered surface are formed on the connection end surface of the pipe, while an annular groove and a tapered surface are formed on the seal member, and the annular protrusion is formed into the annular groove.
  • the taper surfaces are pressed into each other and pressed together.
  • the taper angle of the taper surface provided on the seal member is larger than the taper angle of the taper surface provided on the connection end surface. Is large at a position close to the channel wall surface away from the base end of the annular protrusion.
  • connection part seal structures described in Patent Document 1 and Patent Document 2 have the following problems.
  • the pressure contact allowance between the tapered surfaces is large at a position near the flow path wall surface away from the base end portion of the annular protrusion.
  • a large pressure contact force is applied in the vicinity of the thin channel wall of the connection end surface, and the channel wall surface may bend toward the channel center side.
  • the connection part seal structure described in Patent Document 1 may narrow the flow path or reduce the sealing force between the tapered surfaces by bending.
  • patent document 2 has description of press-fitting an annular protrusion into an annular groove and bringing the tapered surfaces into contact with each other, the taper shape and problems are not clearly described.
  • the present invention is for solving the above-described problems, and an object thereof is to provide a connection portion sealing structure and a sealing member having high sealing performance while suppressing deformation of a flow path.
  • One embodiment of the present invention has the following configuration.
  • (1) The first connection portion and the second connection portion are connected via a seal member, and both or one of the connection end surface of the first connection portion and the connection end surface of the second connection portion is the connection.
  • a flow path wall having an open end that opens to an end face; and an annular protrusion formed annularly along the outer periphery of the open end of the flow path wall and projecting along the axial direction of the flow path wall;
  • an inner mounting groove provided on the radially inner side of the annular protrusion, the seal member is formed in an annular shape, and a connecting portion having an annular groove into which the annular protrusion is press-fitted into both end faces or one end face.
  • the inner mounting groove has an inner tapered portion provided at an acute angle with respect to the annular projection on a radially inner side of a base end portion of the annular projection, and the inner tapered portion is formed on the flow path wall.
  • the inner peripheral surface of the sealing member is connected to the end where the annular groove opens.
  • the inner pressure contact taper portion formed along the end located on the side, the inner pressure contact taper portion is inclined corresponding to the inner taper portion, the taper angle of the inner pressure contact taper portion, It is smaller than the taper angle of the inner taper portion.
  • connection portion seal structure having such a configuration, the taper angle of the internal pressure contact taper portion provided in the seal member is made smaller than the taper angle of the internal taper portion provided in the connection portion, so that The pressure contact force of the portion sealed by the taper portion is large on the annular protrusion side and small on the flow path side. That is, the pressure contact force of the portion where the inner pressure contact taper portion and the inner taper portion are pressed and sealed increases in the portion where the thickness of the connection portion is thick and decreases in the portion where the thickness is thin. Thereby, when connecting a 1st connection part and a 2nd connection part via a sealing member, the amount of bending of the acute angle part provided in the connection part between the inner taper part and the flow-path wall becomes small.
  • connection part sealing structure of the said structure since a connection part does not bulge a flow path wall largely inward in radial direction by the repulsive force of a sealing member, the constriction of a flow path can be prevented or suppressed. Moreover, the surface pressure that the inner taper portion applies to the inner pressure contact taper portion is generated toward the seal portion between the annular protrusion and the pressure contact allowance of the annular groove. For this reason, the sealing force generated in the inner taper pressure contact margin where the inner taper portion and the inner pressure contact taper portion are in pressure contact and the seal pressure contact margin where the annular protrusion and the inner wall of the annular groove seal is increased. Therefore, according to the connection part seal structure of the said structure, the leak of a fluid can be prevented reliably and it can have high sealing performance.
  • connection end surface provided with the inner mounting groove has an outer mounting groove provided on a radially outer side of the annular protrusion, and the seal member includes the outer mounting groove. It is preferable that the outer pressure contact allowance is pressed radially outward with respect to the inner wall of the inner wall, and the outer pressure contact allowance is smaller than the inner taper pressure contact allowance where the inner pressure contact taper portion is in pressure contact with the inner taper portion.
  • connection part seal structure having such a configuration, the outer pressure contact allowance is made smaller than the inner taper press contact allowance, for example, the repulsive force of the seal member is reduced as compared with the case where the outer press contact allowance and the inner taper press contact allowance are provided in the same manner. To do. Therefore, according to the said connection part seal structure, when connecting a 1st connection part and a 2nd connection part via a sealing member, a 1st connection part and a 2nd connection part deform
  • the position of the outer pressure contact is closer to the base end side of the annular protrusion than the seal pressure contact where the inner wall of the annular groove and the annular protrusion are in pressure contact with each other. Is preferred.
  • connection portion seal structure having such a configuration, the surface pressure received from the inner wall of the outer mounting groove to the outer pressure contact margin is generated toward the seal pressure contact where the annular protrusion and the inner wall of the annular groove are in pressure contact. As a result, the sealing force increases. Therefore, according to the connection part seal structure of the said structure, the leak of a fluid can be prevented reliably and it can have high sealing performance.
  • the outer mounting groove has an outer tapered portion provided at an acute angle with respect to the annular protrusion on a radially outer side of a base end portion of the annular protrusion. It is preferable.
  • connection portion seal structure having such a configuration, the outer pressure contact portion easily falls down to the proximal end portion side of the annular protrusion due to the outer tapered portion. Therefore, according to the connecting portion seal structure having the above configuration, the surface pressure generated in the seal pressure contact margin increases, so even if the outer pressure contact margin is smaller than the inner taper pressure allowance, the seal force increases and fluid leakage is ensured. Can be prevented.
  • the outer peripheral surface of the seal member is an external pressure weld formed along an end portion located on an end surface side where the annular groove opens. It is preferable to have a tapered portion.
  • connection portion seal structure having such a configuration, the outer pressure contact taper portion is more easily collapsed to the proximal end portion side of the annular protrusion due to the external pressure contact taper portion. Therefore, according to the connecting portion seal structure having the above configuration, the surface pressure generated in the seal pressure contact margin increases, so even if the outer pressure contact margin is smaller than the inner taper pressure allowance, the seal force increases and fluid leakage is ensured. Can be prevented.
  • connection portion seal structure In the connection portion seal structure according to any one of (2) to (5), the seal member has an outer peripheral surface located radially outward along the axial direction of the outer mounting groove. It is preferable to include a surface close to the surface.
  • connection portion seal structure having such a configuration repeats excessive attachment / detachment of the annular groove and the annular protrusion, or the first and second connection portions and the seal member are exposed to an abnormal temperature change.
  • the pressure contact force of the outer pressure contact margin decreases, the outer peripheral surface of the seal member and the surface along the axial direction of the outer mounting groove come into contact with each other, and deformation of the seal member is suppressed.
  • the outer pressure contact allowance is helped to be pressed toward the annular protrusion, so that the connecting portion seal structure having the above-described configuration can ensure a sealing force in the same manner as in the initial state or normal temperature change.
  • the first connection portion and the second connection portion are formed with a clamp groove in which the clamp member is mounted and have a flange shape, the shape of the first connection end surface provided in the first connection portion, and the first connection portion. It is preferable that the shape of the 2nd connection end surface provided in 2 connection parts is the same, and the said sealing member has the same shape of the said both end surfaces.
  • connection part seal structure having such a configuration has a low rigidity because the first and second connection parts are formed with a clamp groove to form a flange shape. However, the repulsive force of the seal member is reduced. Therefore, when the first connection portion and the second connection portion are connected via the seal member, deformation of the first connection portion and the second connection portion so as to be warped is suppressed. Therefore, the connection part seal structure having the above configuration does not need to increase the rigidity by increasing the thickness of the first and second connection parts and the clamp member, and is compact.
  • a seal member used in the connection portion seal structure according to any one of (1) to (7) A seal member used in the connection portion seal structure according to any one of (1) to (7). According to the sealing member having such a configuration, since the repulsive force when arranged between the first and second connection portions is suppressed, the flow path formed in the first and second connection portions is not deformed. High sealing performance can be exhibited while suppressing.
  • connection portion sealing structure and a sealing member having high sealing performance while suppressing deformation of the flow path.
  • connection part seal structure which concerns on 1st Embodiment of this invention. It is the A section enlarged view of FIG. It is a front side perspective view of the seal ring which concerns on 1st Embodiment of this invention.
  • FIG. 4 is an enlarged cross-sectional view around the seal main body of the seal ring shown in FIG. 3. It is a figure explaining the connection method of the 1st and 2nd connection part, Comprising: A temporary fix position is shown. It is a figure explaining the connection method of a 1st and 2nd connection part, Comprising: The time of press injection start is shown. It is a figure explaining the connection method of the 1st and 2nd connection part, Comprising: The time of press injection completion is shown.
  • connection part seal structure which concerns on 3rd Embodiment of this invention, Comprising: It is an expanded sectional view of a seal body part periphery. It is a front view of the seal ring of 3rd Embodiment. It is a top view of the seal ring of 3rd Embodiment. It is a rear view of the seal ring of 3rd Embodiment. It is a right view of the seal ring of 3rd Embodiment. It is BB sectional drawing of FIG. It is CC sectional drawing of FIG. It is DD sectional drawing of FIG. It is a front side perspective view of the seal ring of 3rd Embodiment. It is a 1st modification of a seal body part.
  • connection portion seal structure and the seal member according to the present invention will be described with reference to the drawings.
  • FIG. 1 is a cross-sectional view of a connection seal structure 1 according to a first embodiment of the present invention.
  • FIG. 2 is an enlarged view of part A in FIG.
  • the second outer seal pressure contact allowances P7 and P8 are actually crushed.
  • the 1st piping 10, the 2nd piping 20, and the seal ring 30 are formed with the fluororesin, in FIG.1 and FIG.2, in order to make drawing easy to see, the hatching of the seal ring 30 is the 1st piping 10. And the hatching of the second pipe 20 is different.
  • connection part seal structure 1 is used, for example, at a connection part between a first pipe 10 and a second pipe 20 through which a gas used in a semiconductor manufacturing apparatus flows.
  • first pipe 10 and the second pipe 20 the first connection end surface 12 of the first connection portion 11 and the second connection end surface 22 of the second connection portion 21 are abutted via the seal ring 30, and the first and second connections are made.
  • the connection state is maintained by attaching the clamp member 40 to the outer periphery of the parts 11 and 21.
  • the first and second pipes 10 and 20, the seal ring 30, and the clamp member 40 are formed of a resin having a close linear expansion coefficient.
  • the first and second connecting portions 11, 21, the seal ring 30, and the clamp member 40 are used when a high-temperature chemical solution exceeding 200 ° C. and a normal-temperature cleaning solution are switched to flow through the first and second pipes 10, 20. This is to maintain the sealing performance by making the expansion and contraction generated at the same level.
  • the first and second pipes 10 and 20 are made of a fluororesin having excellent corrosion resistance and strength, such as PTFE.
  • the resins of the first and second pipes 10 and 20 may be the same or different.
  • the seal ring 30 is made of a fluororesin having excellent corrosion resistance, such as PFA.
  • the clamp member 40 is stronger than the first and second connection portions 11 and 21 in order to maintain the connection state of the first and second connection portions 11 and 21 against the repulsive force of the seal ring 30. And made of a corrosion-resistant fluororesin.
  • first and second connection portions As shown in FIG. 1, the 1st connection part 11 and the 2nd connection part 21 are provided in the same shape.
  • the 1st and 2nd connection parts 11 and 21 have the 1st and 2nd clamp grooves 13 and 23 for mounting clamp member 40 formed in an annular shape along the outer peripheral surface. Therefore, the 1st and 2nd connection parts 11 and 21 are provided in the flange shape. That is, the thickness between the first and second connection end surfaces 12 and 22 and the first and second clamp grooves 13 and 23 is thin at the outer edge portions of the first and second connection portions 11 and 21.
  • a first flow path wall 16 a of the first flow path 16 is opened in the first connection end surface 12.
  • the first connection end face 12 has a first mounting groove 14 formed in an annular shape along the outer periphery of the opening end portion 16ax of the first flow path wall 16a.
  • a first annular protrusion 17 is formed on the bottom wall of the first mounting groove 14 in an annular shape along the outer periphery of the open end portion 16ax of the first flow path wall 16a. The first annular protrusion 17 protrudes along the axial direction of the first flow path wall 16a.
  • the first mounting groove 14 includes a first inner mounting groove 14 c provided on the radially inner side of the first annular protrusion 17, and a first outer mounting groove 14 d provided on the radially outer side of the first annular protrusion 17. It has.
  • the first inner mounting groove 14 c has a first inner tapered portion 14 a on the radially inner side of the proximal end portion 17 a of the first annular protrusion 17.
  • the first inner taper portion 14a is provided at an acute angle with respect to the first annular protrusion 17, and generates a surface pressure F1 (see FIG. 8) that presses the seal body 31 of the seal ring 30 toward the first annular protrusion 17.
  • the first inner tapered portion 14a is connected to the first flow path wall 16a. Therefore, the first connecting portion 11 is provided with the first support piece 18 that supports the seal main body portion 31 of the seal ring 30 along the first flow path wall 16a.
  • the first support piece 18 has a triangular cross-section in the axial direction, and the thickness of the portion of the first annular protrusion 17 located on the proximal end portion 17a side is the portion of the first annular protrusion 17 located on the distal end portion 17b side. It is larger than the wall thickness.
  • the first outer mounting groove 14 d has a first outer tapered portion 14 b on the radially outer side of the base end portion 17 a of the first annular protrusion 17. That is, the first outer tapered portion 14b is a wall surface 19 in the axial direction of the flow channel wall that is located on the radially outer side of the first outer mounting groove 14d, and is an opening of the first mounting groove 14 (in FIG. Provided in an opening located on the right side of the mounting groove 14 in the drawing) and a rear side portion (a portion located on the left side in the drawing of the first mounting groove 14 in FIG. 2) on the opposite side of the flow path axis direction. It has been.
  • the first outer taper portion 14b is provided at an acute angle with respect to the first annular protrusion 17, and generates a surface pressure F2 (see FIG. 8) that presses the seal body 31 of the seal ring 30 toward the first annular protrusion 17. To do.
  • the second connection end face 22 includes a second flow path wall 26a, a second mounting groove 24, a second inner tapered portion 24a, a second outer tapered portion 24b, a second inner mounting groove 24c, a second outer mounting groove 24d, and a second.
  • the annular protrusion 27 and the second support piece 28 are provided with a first flow path wall 16a, a first mounting groove 14, a first inner tapered portion 14a, a first outer tapered portion 14b, a first inner portion provided on the first connection end surface 12.
  • the mounting groove 14 c, the first outer mounting groove 14 d, the first annular protrusion 17, and the first support piece 18 are provided in the same manner.
  • the 2nd connection end surface 22 is the same shape as the 1st connection end surface 12, it omits description.
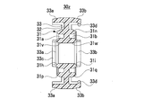
  • FIG. 3 is a front perspective view of the seal ring 30 according to the embodiment of the present invention.
  • FIG. 4 is an enlarged cross-sectional view around the seal main body 31 of the seal ring 30 shown in FIG. In FIG. 4, only the shape of the cross-sectional portion is shown for easy viewing of the drawing, and hatching is not shown.
  • the seal ring 30 is formed along a ring-shaped seal main body 31, an overhang portion 32 provided so as to protrude radially outward from the outer peripheral surface of the seal main body portion 31, and an outer peripheral edge of the overhang portion 32.
  • the grip part 33 is provided.
  • the seal body 31 is an example of a seal member.
  • the grip part 33 is arrange
  • the seal ring 30 is designed such that the inner diameter dimension is substantially the same as the inner diameter dimension of the first and second flow path walls 16a and 26a, and the inner peripheral surface 31g is the first and second flow paths.
  • a flow path is formed together with the road walls 16a and 26a.
  • the seal body 31 is mounted in the first and second mounting grooves 14 and 24 of the first and second connection portions 11 and 21.
  • the seal body portion 31 has an H-shaped axial cross-sectional shape. That is, the seal body 31 has a first annular groove 31a formed on one end face in the axial direction, and a second annular groove 31b formed on the other end face in the axial direction. Therefore, the seal body 31 is provided with a first inner annular wall 31v on the radially inner side of the first annular groove 31a, and a first outer annular wall 31m on the radially outer side of the first annular groove 31a. Further, the seal body 31 is provided with a second inner annular wall 31w on the radially inner side of the second annular groove 31b and a second outer annular wall 31n on the radially outer side of the second annular groove 31b.
  • the first annular groove 31a has a radial width dimension W21 smaller than the radial width dimension W11 of the first annular protrusion 17.
  • the first annular groove 31a is provided with the first inner seal pressure contact allowance P5 on the inner peripheral surface located on the radially inner side, and the first outer seal pressure contact allowance P7 on the inner peripheral surface located on the radially outer side. It has been.
  • the second annular groove 31b has a radial width dimension W22 smaller than the radial width dimension W12 of the second annular protrusion 27.
  • the second annular groove 31b is provided with the second inner seal pressure contact allowance P6 on the inner peripheral surface located on the radially inner side, and the second outer seal pressure contact allowance P8 on the inner peripheral surface located on the radially outer side.
  • the seal main body 31 includes the first and second inner seal pressure contact margins P5 and P6 that perform sealing by pressing the first and second inner annular walls 31v and 31w and the first and second annular protrusions 17 and 27 together.
  • the opening of the first annular groove 31a is tapered with a first positioning portion 31c for guiding and positioning the first annular protrusion 17 in the axial direction with respect to the first annular groove 31a. It is formed in a shape.
  • the inlet of the first positioning portion 31 c is formed with a first large-diameter portion 31 e by making the radial width dimension larger than the radial width dimension of the first annular protrusion 17.
  • the seal body portion 31 forms a gap S1 in an annular shape between the first inner annular wall 31v and the base end portion 17a of the first annular protrusion 17.
  • a gap S5 is annularly formed between the first outer annular wall 31m and the base end portion 17a of the first annular protrusion 17.
  • the gaps S1 and S5 are formed so that the first inner annular wall 31v and the first outer annular wall 31m are first and second annular protrusions 17 and 27 while the first and second connecting portions 11 and 21 are being pulled. The deformation to the side is allowed, and the repulsive force of the seal body 31 is absorbed.
  • the opening of the second annular groove 31b has a second positioning part 31d in the same manner as the first positioning part 31c and the first large diameter part 31e of the first annular groove 31a.
  • the 2nd large diameter part 31f is formed.
  • the seal main body 31 forms a gap S ⁇ b> 2 in an annular shape between the second inner annular wall 31 w and the base end portion 27 a of the second annular protrusion 27 by the second large diameter portion 31 f
  • a gap S6 is formed annularly between the second outer annular wall 31n and the base end portion 27a of the second annular protrusion 27, and is generated during and after the first and second connection portions 11 and 21 are drawn. The repulsive force is absorbed by the gaps S2 and S6.
  • the inner peripheral surface 31g of the seal body 31 is formed with a first internal pressure contact taper portion 31h along an end portion located on the end surface side where the first annular groove 31a opens. Further, the inner peripheral surface 31g is formed with a second inner pressure contact taper portion 31i along an end portion located on an end surface side where the second annular groove 31b opens.
  • the first inner pressure contact taper portion 31h has an inclination corresponding to the first inner taper portion 14a, and is in pressure contact with the first inner taper portion 14a.
  • the taper angle ⁇ 11 of the first inner pressure contact taper portion 31h is smaller than the taper angle ⁇ 1 of the first inner taper portion 14a.
  • the taper angle ⁇ 11 refers to an angle formed by the inner circumferential surface located on the radially inner side of the first large diameter portion 31e and the first internal pressure contact taper portion 31h.
  • the taper angle ⁇ 1 is the taper angle ⁇ 1 of the first annular protrusion 17. The angle formed between the inner peripheral surface located on the radially inner side and the first inner tapered portion 14a.
  • the portion P1a located on the distal end side of the first inner annular wall 31v is in the first inner annular shape. It is larger than the portion P1b located on the base end side of the wall 31v. That is, the pressure contact force F5 (see FIG. 8) of the first inner taper pressure contact margin P1 increases toward the base end portion 17a side of the first annular protrusion 17.
  • the first support piece 18 is thick on the base end portion 17a side and has high rigidity. Therefore, a portion where the strength of the first support piece 18 corresponds to a portion where the pressure contact force F5 of the first inner taper pressure contact allowance P1 increases, and the first support piece 18 is not easily deformed by the pressure contact force F5.
  • the second inner pressure contact taper portion 31i has an inclination corresponding to the second inner taper portion 24a, and is in pressure contact with the second inner taper portion 24a.
  • the taper angle ⁇ 12 of the second inner pressure contact taper portion 31i is smaller than the taper angle ⁇ 2 of the second inner taper portion 24a.
  • the taper angle ⁇ 12 is an angle formed by the inner peripheral surface located on the radially inner side of the second large-diameter portion 31f and the second inner pressure contact taper portion 31i
  • the taper angle ⁇ 2 is the taper angle ⁇ 2 of the second annular protrusion 27.
  • the second support piece 28 is thick on the base end portion 27a side and has high rigidity. Therefore, the portion where the strength of the second support piece 28 corresponds to the portion where the pressure contact force F5 of the second inner taper pressure contact allowance P2 increases, and the second support piece 28 is not easily deformed by the pressure contact force F5.
  • the first outer pressure contact taper portion 31p is formed on the outer peripheral surface 31j of the seal main body portion 31 along the end portion located on the end surface side where the first annular groove 31a opens.
  • the outer peripheral surface 31j is formed with a second external pressure contact taper portion 31q along an end portion located on the end surface side where the second annular groove 31b is opened.
  • the first outer pressure contact taper portion 31 p is radially outward with respect to the outer circumferential surface located on the radially outer side of the first outer mounting groove 14 d provided in the first connection portion 11.
  • a first outer pressure contact allowance P3 that presses in the direction is provided.
  • the taper angle ⁇ 13 of the first outer pressure contact taper portion 31p is smaller than the taper angle ⁇ 3 of the first outer taper portion 14b.
  • the taper angle ⁇ 13 is an angle formed by the outer inner wall located on the radially outer side of the first large diameter portion 31e and the first outer pressure contact taper portion 31p
  • the taper angle ⁇ 3 is the diameter of the first annular protrusion 17.
  • the first connection portion 11 has no gap near the base end portion 17a and has high strength. Therefore, a portion where the strength of the first connection portion 11 corresponds to a portion where the pressure contact force F6 of the first outer pressure contact allowance P3 becomes large. Moreover, the first outer annular wall 31m tends to be deformed so as to tilt the tip end radially outward. Therefore, the seal body 31 can maintain the sealing force while reducing the pressure contact force F6.
  • the taper angle ⁇ 13 of the first external pressure contact taper portion 31p is smaller than the taper angle ⁇ 11 of the first internal pressure contact taper portion 31h.
  • a gap S3 is formed between the first outer pressure contact taper portion 31p and the first outer taper portion 14b to absorb deformation of the first outer annular wall 31m.
  • the tip surface 31t of the first outer annular wall 31m is provided lower than the tip surface 31r of the first inner annular wall 31v. Therefore, in the seal body 31, the contact area between the first outer pressure contact taper portion 31p and the first outer taper portion 14b is narrower than the contact area between the first inner pressure contact taper portion 31h and the first inner taper portion 14a.
  • the pressure contact force F6 of the first outer pressure contact allowance P3 is smaller than the pressure contact force F5 of the first inner taper pressure contact allowance P1.
  • the first external pressure contact taper portion 31p and the outer peripheral surface 31j are connected via the first inclined portion 31k.
  • the first inclined portion 31k is provided with a taper angle ⁇ 15 larger than the taper angle ⁇ 13 of the first external pressure contact taper portion 31p, and increases the rigidity of the first outer annular wall 31m.
  • the second outer pressure contact taper portion 31 q is radially outward with respect to the outer peripheral surface located on the radially outer side of the second outer mounting groove 24 d provided in the second connection portion 21.
  • a second outer pressure contact allowance P4 that presses in the direction is provided.
  • the taper angle ⁇ 14 of the second outer pressure contact taper portion 31q is smaller than the taper angle ⁇ 4 of the second outer taper portion 24b.
  • the taper angle ⁇ 14 is an angle formed by the outer inner wall located on the radially outer side of the second large diameter portion 31f and the second outer pressure contact taper portion 31q
  • the taper angle ⁇ 4 is the diameter of the second annular protrusion 27.
  • the taper angle ⁇ 14 of the second external pressure contact taper portion 31q is smaller than the taper angle ⁇ 12 of the second internal pressure contact taper portion 31i.
  • a gap S4 is formed between the second outer pressure contact taper portion 31q and the second outer taper portion 24b to absorb deformation of the second outer annular wall 31n.
  • the tip surface 31u of the second outer annular wall 31n is provided lower than the tip surface 31s of the second inner annular wall 31w. Therefore, in the seal main body 31, the contact area between the second outer pressure contact taper portion 31q and the second outer taper portion 24b is smaller than the contact area between the second inner pressure contact taper portion 31i and the second inner taper portion 24a.
  • the pressure contact force F6 of the second outer pressure contact allowance P4 is smaller than the pressure contact force F5 of the second inner taper pressure contact allowance P2.
  • the second outer pressure contact taper portion 31q and the outer peripheral surface 31j are connected via a second inclined portion 31l.
  • the second inclined portion 31l is provided with a taper angle ⁇ 16 larger than the taper angle ⁇ 14 of the second external pressure contact taper portion 31q, and increases the rigidity of the second outer annular wall 31n.
  • connection method of the 1st and 2nd connection part Then, the connection method of the 1st connection part 11 and the 2nd connection part 21 is demonstrated.
  • 5, 6, and 7 are diagrams for explaining a connection method of the connection unit.
  • FIG. 8 is a diagram for explaining the force relationship generated in the pressure contact allowances P1 to P8 of the seal main body 31.
  • the seal ring 30 locks the locking portion 33 c on the protrusion 15 of the first connection portion 11 and locks the locking portion 33 d on the protrusion 25 of the second connection portion 21.
  • the first and second connection portions 11 and 21 are temporarily fixed so as not to drop off. In this state, the first and second annular protrusions 17 and 27 have not reached the first and second positioning portions 31c and 31d.
  • the first and second connection portions 11 are subjected to an attracting load in a direction in which the first and second connection end faces 12 and 22 are brought closer by engaging a jig (not shown) with the first and second clamp grooves 13 and 23. , 21.
  • the first and second annular protrusions 17 and 27 are guided along the axis by the first and second positioning portions 31c and 31d to the first and second annular grooves 31a and 31b, and as shown in FIG.
  • the tip portions 17b and 27b start to be press-fitted into the first and second inner seal pressure contact allowances P5 and P6 and the first and second outer seal press contact allowances P7 and P8 of the seal body 31.
  • first and second annular grooves 31a and 31b are expanded by the first and second annular protrusions 17 and 27, and the first and second inner annular walls 31v and 31w and the first and second outer annular grooves are formed.
  • the walls 31m and 31n tend to be deformed so as to fall on the opposite side of the first and second annular protrusions 17 and 27.
  • the seal body 31 is moved to the first and second inner taper portions 14a and 24a and the first and second inner pressure contact taper portions 31h and 31i. And the first and second outer taper portions 14b and 24b and the first and second outer pressure contact taper portions 31p and 31q are slid in contact with each other. Then, the first and second inner annular walls 31v and 31w and the first and second outer annular walls 31m and 31n are formed by the first and second inner tapered portions 14a and 24a and the first and second outer tapered portions 14b and 24b. Deformation is suppressed by the surface pressure received from.
  • the seal ring 30 seals the inner walls of the first and second annular grooves 31a and 31b to the first and second annular protrusions 17 and 27,
  • the pressure contact taper portions 31h and 31i are sealed to the first and second inner taper portions 14a and 24a, and the first and second outer pressure contact taper portions 31p and 31q are sealed to the first and second outer taper portions 14b and 24b.
  • fluid is prevented from leaking from between the first and second connection parts 11 and 21.
  • the seal ring 30 is in close contact with the first and second inner seal pressure contact allowances P5 and P6 being pressed against the inner peripheral surfaces of the first and second annular protrusions 17 and 27.
  • first and second outer seal pressure contact allowances P7 and P8 are pressed against and closely contact the outer peripheral surfaces of the first and second annular protrusions 17 and 27, seal loads F3 and F4 are generated.
  • the seal ring 30 receives the surface pressure F1 from the first and second inner taper portions 14a and 24a with respect to the pressure contact force F5 of the first and second inner pressure contact taper portions 31h and 31i, respectively.
  • the first and second inner taper pressure contact margins P1 and P2 are crushed to perform sealing, and contribute to an increase in the seal load F3. Further, the seal ring 30 receives the surface pressure F2 from the first and second outer taper portions 14b and 24b with respect to the pressure contact force F6 of the first and second outer pressure contact taper portions 31p and 31q, respectively. The first and second outer pressure contact allowances P3 and P4 are crushed to contribute to an increase in the seal load F4.
  • the first and second connection portions 11 and 21 are not easily deformed because the thickness near the base end portions 17a and 27a is large and the strength is high. Therefore, in the connection part seal structure 1, the first and second connection parts 11 and 21 are not easily deformed by the pressure contact forces F5 and F6 of the seal body part 31.
  • the first and second support pieces 18 and 28 that support the inner peripheral surface 31g of the seal main body 31 have a triangular cross section in the axial direction and a low strength.
  • the pressure contact force F5 increases in the thick portions of the first and second support pieces 18 and 28. Therefore, the connection part seal structure 1 is not easily deformed so that the first and second support pieces 18 and 28 swell toward the first and second flow paths 16 and 26 due to the pressure contact force F5. Therefore, according to the connection part seal structure 1 of this form, it can avoid or suppress that a sealing force falls or a flow path is narrowed by the deformation
  • the seal body 31 has the largest surface pressures F1 and F2 at the distal ends of the first and second inner annular walls 31v and 31w and the distal ends of the first and second outer annular walls 31m and 31n that are most easily deformed. Become.
  • the surface pressure acts toward the first and second inner seal press contact allowances P5 and P6 and the first and second outer seal press contact allowances P7 and P8.
  • the surface pressure is close to the first and second flow paths 16 and 26 among the first and second inner seal pressure contact allowances P5 and P6 and the first and second outer seal pressure contact allowances P7 and P8, that is, It acts toward the vicinity of the connection position between the first and second annular grooves 31a, 31b and the first and second positioning portions 31c, 31d, and maintains or raises the seal loads F3, F4.
  • the seal body 31 is provided with first and second inner taper pressure contact allowances P1 and P2 on the base end portions 17a and 27a side from the first and second inner seal press contact allowances P5 and P6, and the first and second outer sides.
  • first and second inner taper pressure contact allowances P1 and P2 on the base end portions 17a and 27a side from the first and second inner seal press contact allowances P5 and P6, and the first and second outer sides.
  • connection portion seal structure 1 is disposed on the inner peripheral side of the first and second annular protrusions 17 and 27. It is possible to maintain or raise the acting seal load F3. Further, even if the pressure contact force F6 is reduced, it is possible to maintain or improve the seal load acting on the outer peripheral sides of the first and second annular protrusions 17 and 27.
  • connection part seal structure 1 of this embodiment fluid can be surely prevented from leaking and have high sealing performance.
  • the first and second connection parts 11 and 21 are maintained in a state in which the first and second connection parts 11 and 21 are drawn together via the seal body 31 by a jig (not shown).
  • the clamp member 40 is mounted in the first and second clamp grooves 13 and 23.
  • the first and second connection portions 11, 21 have a radial direction of the first and second annular projections 17, 27 rather than the radially inner side of the first and second annular projections 17, 27.
  • the distortion generated by F6 tends to appear in the shape of the hook-shaped portion. Therefore, when the first and second outer pressure contact allowances are, for example, the same size as the first and second inner tapered pressure contact allowances, the first and second connection end faces 12 and 22 are warped on the outer peripheral surface side. There is a risk of deformation.
  • the first and second outer pressure contact allowances P3 and P4 are made smaller than the first and second inner taper pressure contact allowances P1 and P2, and the pressure contact force F6 is the pressure contact force F5. It is getting smaller. Fluid leakage is mainly prevented by the sealing portion between the inner peripheral surfaces of the first and second annular protrusions 17 and 27 and the inner walls of the first and second annular grooves 31a and 31b. Therefore, the first and second outer pressure contact allowances P3 and P4 do not need to be as large as the first and second inner tapered pressure contact allowances P1 and P2. That is, the first and second outer pressure contact allowances P3 and P4 can be reduced to such an extent that the deformation of the first and second outer annular walls 31m and 31n can be suppressed and the predetermined seal load F4 can be maintained. .
  • connection portion seal structure 1 of the present embodiment can resist the elastic force of the seal body portion 31 from the first and second The pulling load that draws the two connecting portions 11 and 21 is reduced. That is, when the first and second connecting portions 11 and 21 are pulled through the seal body 31, the repulsive force generated by the seal body 31 is reduced. Therefore, according to the connection part seal structure 1 of the present embodiment, it is possible to prevent the first and second connection end faces 12 and 22 from being deformed by the repulsive force of the seal body part 31 or reducing the sealing force.
  • connection part seal structure 1 is easy to attach the clamp member 40 to the first and second connection parts 11 and 21 connected via the seal body part 31. Moreover, since it is not necessary to improve the strength of the clamp member 40 so as to return the warp of the first and second connection end faces 12, 22, the thickness of the clamp member 40 and the first and second connection portions 11, 21 can be reduced.
  • the connection seal structure 1 can be made compact by reducing the size.
  • the connecting portion seal structure 1 allows the first and second outer annular walls 31m and 31n to be deformed by the gaps S1 to S4, and the first and second inner annular rings by the gaps S5 and S6. Since the deformation of the walls 31v and 31w is allowed, the repulsive force generated by the seal body 31 when the first and second connection parts 11 and 21 are drawn through the seal body 31 can be reduced. Thus, when the repulsive force is reduced, the first and second connection portions 11 and 21 deform the first and second connection end surfaces 12 and 22 when connected through the seal main body portion 31. Is suppressed. Therefore, also in this point, the thickness of the clamp member 40 and the first and second connection parts 11 and 21 can be reduced, and the connection part seal structure 1 can be made compact.
  • the first and second outer taper portions 14b and 24b and the first and second outer pressure contact taper portions 31p and 31q are the base ends of the first and second annular protrusions 17 and 27. Since the first and second outer annular walls 31m and 31n are inclined at an acute angle with respect to the portions 17a and 27a, the first and second annular protrusions 17 and 27 are likely to fall down on the base end portions 17a and 27a side. Therefore, according to the connection portion seal structure 1 of the present embodiment, the seal load F4 is efficiently increased by the collapse generated in the first and second outer pressure contact allowances P3 and P4, respectively. Therefore, the first and second outer pressure contact allowances are increased. Even if P3 and P4 are smaller than the first and second inner taper pressure contact margins P1 and P2, the seal loads F3 and F4 are increased, and fluid leakage can be reliably prevented.
  • the inventors performed a simulation for analyzing the surface pressure generated in the seal main body 31 for the connection portion seal structure 1 of the present embodiment. Since the first and second connection end faces 12 and 22 of the first and second connection portions 11 and 21 have the same shape, and both end faces of the seal body 31 have the same shape, the simulation is performed on the first connection end face 12. This was performed only on the first annular protrusion 17 and the first annular groove 31a side of the seal body 31.
  • the surface pressure analysis results are shown in FIG. In FIG. 9, the direction and strength of the surface pressure are represented by a bar graph, and the size of the surface pressure is also represented by gradation. In other words, the longer the bar graph is and the darker the gradation is, the higher the surface pressure is.
  • a strong surface pressure Z3 is generated in the portion P1a located on the tip side of the first inner annular wall 31v in the first inner taper pressure contact margin P1. Further, the surface pressure Z3 is generated toward the portion I1 in the drawing, which is in the vicinity of the connection position between the first annular groove 31a and the first positioning portion 31c. Thereby, it turns out that the surface pressure near the connection position of the 1st annular groove 31a and the 1st positioning part 31c of the 1st inner side seal pressure contact margin P5 is rising. Producing such a high surface pressure locally becomes a powerful sealing force for preventing fluid leakage.
  • tip of the 1st inner side annular wall 31v among the 1st inner side taper pressure contact allowances P1 is located in the front end side. It can be seen that the sealing force of the first inner seal pressure contact allowance P5 can be kept high even if it is smaller than the portion P1a.
  • the surface pressure Z4 generated at the first outer pressure contact allowance P3 is generated toward the portion I2 in the figure near the connection position between the first annular groove 31a and the first positioning portion 31c.
  • produces in the vicinity of the connection position of the 1st annular groove 31a of the 1st outer side seal pressure contact allowance P7 and the 1st positioning part 31c is rising.
  • the front end portion of the first annular protrusion 17 pushes the first annular groove 31a and press-fits, so that the surface pressures Z1a and Z1b are reduced. It occurs locally. Accordingly, in the first inner seal pressure contact allowance P5 and the first outer seal pressure contact allowance P7, high surface pressure is generated at four locations, and each has a strong sealing force, so that fluid leakage can be prevented.
  • the surface pressures Z1a and Z2a generated at the first inner seal pressure contact allowance P5 and the surface pressures Z1b and Z2b generated at the first outer seal pressure contact allowance P7 are approximately the same magnitude in the radially inward and outward directions. It has occurred. Further, the surface pressure Z3 generated at the first inner taper pressure contact allowance P1 and the surface pressure Z4 generated at the first outer pressure contact allowance P3 toward the first inner seal pressure contact allowance P5 and the first outer seal pressure contact allowance P7, respectively. , Occurs approximately symmetrically in the same size. That is, the sealing force generated between the first and second connecting portions 11 and 21 and the seal main body portion 31 acts in a balanced manner in the radially inward direction and in the radially outward direction. Therefore, in the connection part seal structure 1, it turns out that it is hard to deform
  • FIG. 10 is a cross-sectional view showing a connection portion seal structure 1x according to a second embodiment of the present invention.
  • FIG. 11 is an enlarged cross-sectional view around the seal main body 31x of the seal ring 30x shown in FIG.
  • the first pipe 10, the second pipe 20, and the seal ring 30 x are made of fluororesin, but the seal ring 30 x is hatched to make the first pipe 10 and the second pipe easy to see. Different from 20 hatches.
  • FIG. 11 shows only the shape of the cross section and omits hatching.
  • connection portion seal structure 1x of the second embodiment is configured in the same manner as in the first embodiment except for the seal main body portion 31x of the seal ring 30x.
  • the description will focus on the seal body 31x.
  • symbol as 1st Embodiment is used in drawing and description, and description is abbreviate
  • first and second inner pressure contact taper portions 31hx and 31ix mainly include first and second inner pressure contact taper portions 31hx and 31ix, first and second outer pressure contact taper portions 31px and 31qx, and first and second inner sides.
  • the point that the taper pressure contact margins P1x and P2x and the first and second outer pressure contact margins P3x and P4x are symmetrical with respect to the first and second annular protrusions 17 and 27 is that the seal body portion of the first embodiment. 31.
  • the first and second inner pressure contact taper portions 31hx and 31ix are provided with a slightly larger radial thickness than the first and second inner pressure contact taper portions 31h and 31i of the first embodiment. That is, the front end surfaces 31rx and 31sx of the first and second inner annular walls 31vx and 31wx are wider in the radial direction than the front end surfaces 31r and 31s of the first and second inner annular walls 31v and 31w of the first embodiment. It has been.
  • the taper angles ⁇ 11x and ⁇ 12x of the first and second inner pressure contact taper portions 31hx and 31ix are provided in the same manner as the taper angles ⁇ 11 and ⁇ 12 of the first embodiment, respectively. Therefore, the first and second inner taper pressure contact portions P1x and P2x of the first and second inner pressure contact taper portions 31hx and 31ix have portions P1ax and P2ax closer to the end surfaces 31rx and 31sx as shown in FIG. , Larger than the portions P1bx and P2bx far from the tip surfaces 31rx and 31sx. That is, the first and second inner taper pressure contact margins P1x and P2x are larger as they are closer to the base end portions 17a and 27a.
  • the first and second external pressure contact taper portions 31px and 31qx shown in FIGS. 10 and 11 are provided with taper angles ⁇ 13x and ⁇ 14x smaller than the taper angles ⁇ 3 and ⁇ 4 of the first and second outer taper portions 14b and 24b. . Therefore, the first and second outer pressure contact margins P3x, P4x of the first and second outer pressure contact taper portions 31px, 31qx are portions P3ax, near the tip surfaces 31tx, 31ux of the first and second outer annular walls 31mx, 31nx, P4ax is provided larger than portions P3bx and P4bx far from the front end surfaces 31tx and 31ux of the first and second outer annular walls 31mx and 31nx. That is, the first and second outer pressure contact allowances P3x and P4x are larger as they are closer to the base end portions 17a and 27a.
  • the taper angles ⁇ 13x and ⁇ 14x of the first and second external pressure contact taper portions 31px and 31qx are provided in the same manner as the taper angles ⁇ 11x and ⁇ 12x of the first and second internal pressure contact taper portions 31hx and 31ix, respectively. Therefore, as shown in FIG. 10, the first and second outer pressure contact margins P3x, P4x of the first and second outer pressure contact taper portions 31px, 31qx are substantially the same as the first and second inner taper pressure contact margins P1x, P2x.
  • the first and second large-diameter portions 31ex and 31fx are provided with the same radial width dimension as the radial width dimension of the first and second annular protrusions 17 and 27. Therefore, the gaps S1x, S2x, S5x, S6x are smaller than the gaps S1, S2, S5, S6 of the first embodiment.
  • FIG. 12 shows a state where the operation of press-fitting the first and second annular protrusions 17 and 27 into the first and second annular grooves 31a and 31b is completed.
  • FIG. 13 is a diagram illustrating the force relationship of the seal portion in the connection portion seal structure 1x shown in FIG. In FIGS. 12 and 13, only the shape of the cross-sectional portion is shown for easy viewing of the drawings. Further, in FIG. 12, as in FIG. 10, the hatching of the seal ring 30 x is different from the hatching of the first pipe 10 and the second pipe 20.
  • connection part seal structure 1x of this embodiment when the first and second annular protrusions 17 and 27 are press-fitted into the first and second annular grooves 31a and 31b, the first and second inner pressure contact tapers.
  • the portions 31hx and 31ix are pressed against the first and second inner tapered portions 14a and 24a, and the first and second outer pressed tapered portions 31px and 31qx are pressed against the first and second outer tapered portions 14b and 24b.
  • the seal body portion 31x is closer to the base end portions 17a and 27a of the first and second annular protrusions 17 and 27, and the radial wall thickness of the first and second support pieces 18 and 28 is increased.
  • the first and second outer pressure contact allowances P3x and P4x are provided with the same size as the first and second inner taper pressure contact allowances P1x and P2x, and the first and second connection portions 11 and 21 are pressed against each other. F15 and F16 are acting to the same extent. Therefore, in the connection portion seal structure 1x, the surface pressure F12 is larger than the surface pressure F11, and the first and second connection end surfaces 12 and 22 are easily deformed so as to warp as shown in FIG.
  • connection portion seal structure 1 of this embodiment the taper angles ⁇ 13x and ⁇ 14x are smaller than the taper angles ⁇ 3 and ⁇ 4. Therefore, in the seal body 31x, the pressure contact force F16 of the first and second outer pressure contact allowances P3x and P4x is increased on the tip side of the first and second outer annular walls 31mx and 31nx where deformation is greatest.
  • the portion where the pressure contact force F16 becomes high hits the base end portions 17a and 27a of the first and second annular protrusions 17 and 27, and is a portion having a high strength among the first and second connection portions 11 and 21. Therefore, in the first and second connection portions 11 and 21, deformation of the first and second connection end surfaces 12 and 22 is suppressed.
  • the first and second inner taper portions 14a and 24a have surface pressures F11 applied to the first and second inner pressure contact taper portions 31hx and 31ix, and the first and second outer taper portions 14b and 24b are the first and second inner taper portions 14b and 24b.
  • the respective surface pressures F12 applied to the second outer pressure contact taper portions 31px and 31qx act toward the first and second inner seal pressure contact margins P5 and P6 and the first and second outer seal pressure contact margins P7 and P8.
  • the seal loads F3 and F4 are increased in the vicinity of the connection position between the one annular groove 31a and the first positioning portion 31c. Therefore, in the connection part seal structure 1x, the sealing force can be maintained or increased with the minimum pressure contact force F15, F16.
  • the inventors performed a simulation for analyzing the surface pressure generated in the seal portion of the connection portion seal structure 1x of the present embodiment. Similar to the first embodiment, this simulation was also performed only on the first annular protrusion 17 of the first connection end surface 12 and the first annular groove 31a side of the seal body 31x.
  • the surface pressure analysis result is shown in FIG. In FIG. 14, the direction and strength of the surface pressure are represented by a bar graph, and the surface pressure is also represented by gradation. In other words, the longer the bar graph is and the darker the gradation is, the higher the surface pressure is.
  • connection portion seal structure 1x the surface pressures Z3x and Z4x of the portions P1ax and P3ax close to the base end portion 17a of the first annular protrusion 17 in the first inner taper pressure contact margin P1x and the first outer pressure contact margin P3x are high. ing.
  • the high surface pressures Z3x and Z4x are generated toward the I1x portion in the drawing and the I2x portion in the drawing, which are near the connection position between the first annular groove 31a and the first positioning portion 31c. Thereby, it turns out that the surface pressure which generate
  • a portion P1bx located on the far side from the tip of the first inner annular wall 31vx in the first inner taper pressure contact margin P1x is a portion located on the tip side. It can be seen that the seal load F3 of the first inner seal pressure contact allowance P5 can be maintained even if it is smaller than P1ax. Further, it can be seen that the surface pressure Z4x is generated toward the first outer seal pressure contact allowance P7 even if the first outer pressure contact allowance P3x is approximately the same as the first inner taper pressure contact allowance P1x.
  • the taper angle ⁇ 13x smaller than the taper angle ⁇ 3
  • the first outer pressure contact allowance P3x is made larger as it is closer to the base end portion 17a, so that the first connection end face 12 is deformed to be warped. It can be seen that the reduction of the sealing force can be reduced by suppressing this.
  • FIG. 15 is an enlarged cross-sectional view of the periphery of the seal main body 31y, which is the connection part seal structure 1y according to the third embodiment of the present invention.
  • FIG. 16 is a front view of the seal ring 30y.
  • FIG. 17 is a plan view of the seal ring 30y.
  • FIG. 18 is a rear view of the seal ring 30y.
  • FIG. 19 is a right side view of the seal ring 30y.
  • 20 is a cross-sectional view taken along the line BB in FIG. 21 is a cross-sectional view taken along the CC line in FIG. 22 is a DD cross-sectional view of FIG. FIG.
  • FIG. 23 is a front perspective view of the seal ring 30y. Note that the bottom view of the seal ring 30y appears symmetrically with the plan view shown in FIG. 28, and the left side view is symmetrical with the right side view shown in FIG.
  • the first pipe 10, the second pipe 20, and the seal ring 30y are made of a fluororesin. However, in order to make the drawings easy to see, in FIG. 15, FIG. 20, FIG. 21, and FIG. Is different from the hatching of the first pipe 10 and the second pipe 20.
  • connection part seal structure 1y of 3rd Embodiment is comprised similarly to 1st Embodiment except the seal body part 31y.
  • the description will focus on the seal body 31y.
  • symbol as 1st Embodiment is used in drawing and description, and description is abbreviate
  • the seal main body 31y shown in FIG. 15 includes wall surfaces 19 and 29 in the flow channel wall axial direction of the first and second outer mounting grooves 14d and 24d, and wall surfaces in the flow channel wall axial direction on the outer peripheral surface 31ji of the seal main body 31y. However, it is different from the seal main body 31 of the first embodiment in that it is installed nearby. That is, in the seal body 31y, the radial thickness of the first and second outer annular walls 31my, 31ny is larger than the radial thickness of the first and second outer annular walls 31m, 31n of the first embodiment.
  • connection portion seal structure 1y of the third embodiment the axial wall surfaces 19 and 29 of the flow passage walls of the first and second mounting grooves 14 and 24 and the flow passage wall axial direction of the outer peripheral surface 31ji of the seal body portion 31y.
  • the wall of is close. That is, the inner diameter dimensions of the wall surfaces 19 and 29 are set slightly larger than the outer diameter dimensions of the first and second outer annular walls 31my and 31ny of the outer peripheral surface 31j. Therefore, when the first and second annular protrusions 17 and 27 are press-fitted into the pressure contact allowances P5 to P7 of the first and second annular grooves 31a and 31b, the first and second outer annular walls 31my and 31ny are the first.
  • the outer circumferential surface 31 ji is brought into contact with the wall surfaces 19 and 29 by being pushed radially outward by the second annular protrusions 17 and 27.
  • surface pressure is generated toward the first and second annular protrusions 17 and 27 at the contact portions between the first and second outer annular walls 31my and 31ny and the wall surfaces 19 and 29. Therefore, the first and second outer annular walls 31my and 31ny are pushed out to the first and second annular protrusions 17 and 27 side.
  • first and second annular grooves 31a and 31b and the first and second annular protrusions 17 and 27 may be repeatedly attached and detached, or the first and second connecting portions 11 and 21 and the seal ring 30y may have abnormal temperatures.
  • the pressure contact forces F6 of the first and second outer pressure contact allowances P3 and P4 may decrease.
  • the connection portion seal structure 1y of the present embodiment is such that the first and second outer annular protrusions 17 and 27 are connected to the first and second outer annular walls 31my and 31ny by the outer peripheral surface 31ji coming into contact with the wall surfaces 19 and 29. It is possible to keep the seal load F4 and the pressure contact force F6 from being pushed out sufficiently to suppress the deformation of the seal body 31y. Therefore, according to the present embodiment, the sealing force can be ensured as in the initial state and the normal temperature change.
  • connection part seal structure 1 may be applied when the seal ring 30 is disposed between the valve drive part and the valve body.
  • connection portion seal structure 1 may be applied to piping and fluid control equipment applied to devices other than semiconductor manufacturing equipment.
  • the seal body 31 may omit the first and second large diameter portions 31e and 31f.
  • the seal body 31 may directly connect the first external pressure contact taper portion 31p to the outer peripheral surface 31j and omit the first and second inclined portions 31k and 31l.
  • first and second connecting portions 11 and 21 may be PFA and the seal ring 30 may be PTFE.
  • first and second connecting portions 11 and 21 and the seal ring 30 may be formed of the same material such as PFA or PTFE.
  • first and second connection end faces 12 and 22 of the first and second connection portions 11 and 21 may not have the same shape.
  • the seal main body 31 may not have the same shape at both end faces.
  • either one of the first connection end surface 12 and the second connection end surface 22 is provided with an inner taper portion, an outer taper portion, etc., and only one end surface of the seal body 31 has an inner pressure contact taper portion, an outer pressure contact taper portion, etc. May be provided.
  • the first and second outer pressure contact allowances P3, P4, P3x, and P4x may include a portion that is generated due to distortion of the seal main body portions 31 and 31x that is generated at the time of mounting.
  • the seal main body 31 may be provided with a first external pressure contact taper portion 31py so as to be recessed in a circular arc shape inward in the radial direction.
  • the seal main body 31 may be provided with a first external pressure contact taper portion 31pz so as to protrude in a circular arc shape toward the radially outer side.
  • the first external pressure contact taper portion of the seal body 31 is formed by a taper surface, and the first connection portion 11 has a circular arc shape at a position corresponding to the first external pressure contact taper portion.
  • the first outer taper portion may be provided so as to protrude in the shape of a circle, or the first outer taper portion may be provided so as to be recessed in a circular arc shape in cross section. That is, depending on the shape of the first outer taper portion, the outer pressure contact allowance may be increased as it is closer to the base end portion.
  • the taper angles ⁇ 1, ⁇ 2, ⁇ 3, ⁇ 4 are larger than the taper angles ⁇ 11, ⁇ 12, ⁇ 13, ⁇ 14, ⁇ 11x, ⁇ 12x, ⁇ 13x, ⁇ 14x, and the taper angles ⁇ 1, ⁇ 2, ⁇ 3, ⁇ 4 are 30 ° to 60 °,
  • the taper angles ⁇ 11, ⁇ 12, ⁇ 13, ⁇ 14, ⁇ 11x, ⁇ 12x, ⁇ 13x, and ⁇ 14x may be 10 ° to 50 °.
  • the seal rings 30, 30 x, 30 y of the above-described form can be used for the seal main body portions 31, 31 x, 31 y, the overhang portions 32, and the gripping portions 33 according to the dimensions of the attachment destinations (connection end portions of pipes to be connected).
  • the thickness, radial dimension, and the like can be appropriately changed.
  • the thickness, radial dimension, etc. of the seal ring 30 may be changed as in the seal ring 30z shown in FIGS.
  • FIG. 27 is a front view of the seal ring 30z.
  • FIG. 29 is a rear view of the seal ring 30z.
  • FIG. 28 is a plan view of the seal ring 30z.
  • FIG. 30 is a right side view of the seal ring 30z.
  • FIG. 31 is a cross-sectional view taken along the line JJ in FIG. 32 is a cross-sectional view taken along the line KK in FIG. 33 is a cross-sectional view taken along the line LL in FIG.
  • FIG. 34 is a front perspective view of the seal ring 30z.
  • the bottom view of the seal ring 30z appears symmetrically with the plan view shown in FIG. 28, and the left side view thereof is symmetrical with the right side view shown in FIG.
  • the overhanging portion 32 and the gripping portion 33 are integrally provided on the seal body portions 31, 31x, 31y. It may be omitted. That is, the seal rings 30, 30 x, 30 y, and 30 z may not have the overhang portion 32 and the grip portion 33. Further, for example, the seal rings 30, 30x, 30y, and 30z may not have the gripping portion 33.

Landscapes

  • Engineering & Computer Science (AREA)
  • General Engineering & Computer Science (AREA)
  • Mechanical Engineering (AREA)
  • Physics & Mathematics (AREA)
  • Geometry (AREA)
  • Gasket Seals (AREA)
  • Flanged Joints, Insulating Joints, And Other Joints (AREA)
  • Quick-Acting Or Multi-Walled Pipe Joints (AREA)
PCT/JP2017/038424 2016-12-13 2017-10-25 接続部シール構造及びシール部材 Ceased WO2018110094A1 (ja)

Priority Applications (3)

Application Number Priority Date Filing Date Title
US16/465,896 US11073209B2 (en) 2016-12-13 2017-10-25 Connected part seal structure, and seal member
KR1020197019029A KR102262376B1 (ko) 2016-12-13 2017-10-25 접속부 시일 구조 및 시일 부재
CN201780076052.9A CN110062858B (zh) 2016-12-13 2017-10-25 连接部封密结构及封密元件

Applications Claiming Priority (2)

Application Number Priority Date Filing Date Title
JP2016241524A JP6416179B2 (ja) 2016-12-13 2016-12-13 接続部シール構造及びシール部材
JP2016-241524 2016-12-13

Publications (1)

Publication Number Publication Date
WO2018110094A1 true WO2018110094A1 (ja) 2018-06-21

Family

ID=62559646

Family Applications (1)

Application Number Title Priority Date Filing Date
PCT/JP2017/038424 Ceased WO2018110094A1 (ja) 2016-12-13 2017-10-25 接続部シール構造及びシール部材

Country Status (6)

Country Link
US (1) US11073209B2 (enExample)
JP (1) JP6416179B2 (enExample)
KR (1) KR102262376B1 (enExample)
CN (1) CN110062858B (enExample)
TW (1) TWI702357B (enExample)
WO (1) WO2018110094A1 (enExample)

Cited By (1)

* Cited by examiner, † Cited by third party
Publication number Priority date Publication date Assignee Title
CN116928343A (zh) * 2023-07-10 2023-10-24 重庆金山医疗技术研究院有限公司 一种软式内窥镜密封结构及密封方法

Families Citing this family (14)

* Cited by examiner, † Cited by third party
Publication number Priority date Publication date Assignee Title
WO2019163690A1 (ja) * 2018-02-23 2019-08-29 日本ピラー工業株式会社 ブロックへのガスケットの装着構造
JP6903025B2 (ja) * 2018-03-22 2021-07-14 日本ピラー工業株式会社 流体デバイス
JP7017989B2 (ja) * 2018-06-21 2022-02-09 日本ピラー工業株式会社 ガスケットの装着構造
JP7017990B2 (ja) * 2018-06-21 2022-02-09 日本ピラー工業株式会社 流体デバイスへのガスケットの装着構造
JP7364519B2 (ja) * 2020-03-30 2023-10-18 日本ピラー工業株式会社 シール部材
DE102020109576B3 (de) * 2020-04-06 2021-06-24 Grob-Werke Gmbh & Co. Kg Verfahren und Vorrichtung zum Abdichten eines Prüfraums in einem Werkstück
JP7303158B2 (ja) * 2020-06-10 2023-07-04 Ckd株式会社 接続部シール構造、及び、シール部材
JP7398351B2 (ja) * 2020-09-15 2023-12-14 日本ピラー工業株式会社 ガスケット、及び流路継手構造
IL277523B (en) * 2020-09-22 2022-04-01 Brevel Ltd sealing valve
CN215294039U (zh) * 2021-08-09 2021-12-24 烟台杰瑞石油装备技术有限公司 柔性管端部连接结构
WO2023096851A2 (en) * 2021-11-24 2023-06-01 Ichor Systems, Inc. Fluid delivery system
CN114060516B (zh) * 2022-01-18 2022-03-22 中国空气动力研究与发展中心超高速空气动力研究所 一种锥面自紧密封绝缘环
JP7111933B1 (ja) * 2022-01-31 2022-08-02 ファナック株式会社 シール構造
DE202022105487U1 (de) * 2022-09-28 2024-01-18 U-Consulting GmbH Dichtung für eine Triclamp-Verbindung sowie Triclamp-Verbindung mit einer solchen Dichtung

Citations (4)

* Cited by examiner, † Cited by third party
Publication number Priority date Publication date Assignee Title
JP2006064080A (ja) * 2004-08-27 2006-03-09 Nippon Pillar Packing Co Ltd 流体機器どうしの接続構造
JP2006161873A (ja) * 2004-12-03 2006-06-22 Nippon Pillar Packing Co Ltd 集積パネルと流体デバイスとの接続構造
JP4465254B2 (ja) * 2004-11-05 2010-05-19 日本ピラー工業株式会社 集積パネルと流体デバイスとの接続構造
US20150176744A1 (en) * 2013-12-20 2015-06-25 Onesubsea Ip Uk Limited Gasket

Family Cites Families (18)

* Cited by examiner, † Cited by third party
Publication number Priority date Publication date Assignee Title
JPS6137558Y2 (enExample) 1979-03-08 1986-10-30
DE69021047T2 (de) 1989-12-26 1996-03-21 Eastman Kodak Co., Rochester, N.Y. Verfahren zur ausdehnung des linearbereichs der aufgenommenen bilder eines films.
ATE156576T1 (de) * 1992-03-12 1997-08-15 Vector International Limited Abdichtungsring und rohrkupplung
ATE289661T1 (de) * 2002-08-23 2005-03-15 Festo Ag & Co Dichtungsring
TW200613670A (en) 2004-09-22 2006-05-01 Nippon Pillar Packing Connection structure for integration panel and fluid device
JP4048193B2 (ja) * 2004-09-22 2008-02-13 日本ピラー工業株式会社 集積パネルと流体デバイスとの接続構造
US20060070437A1 (en) * 2004-09-30 2006-04-06 Rosemount Inc. Gasket arrangement for sanitary process flow meter
WO2006059362A1 (ja) * 2004-11-30 2006-06-08 Ckd Corporation 流体用機器の接続部シール構造
JP4324575B2 (ja) * 2005-05-10 2009-09-02 日本ピラー工業株式会社 フランジ配管どうしの接続構造
JP4512526B2 (ja) 2005-07-12 2010-07-28 日本ピラー工業株式会社 集積パネルと流体デバイスとの接続構造
JP4445918B2 (ja) * 2005-11-29 2010-04-07 日本ピラー工業株式会社 流体用ガスケット
JP4465335B2 (ja) * 2006-08-09 2010-05-19 日本ピラー工業株式会社 集積パネルと流体デバイスとの接続構造
JP2008240916A (ja) * 2007-03-27 2008-10-09 Ckd Corp 接続部シール構造
JP4575973B2 (ja) 2007-10-05 2010-11-04 シーケーディ株式会社 流体機器接続構造及び流体機器ユニット
US8033579B2 (en) 2007-10-05 2011-10-11 Ckd Corporation Fluid device connecting structure
JP5134573B2 (ja) * 2009-03-13 2013-01-30 Ckd株式会社 流体機器接続構造及び流体機器ユニット
JP6043714B2 (ja) 2013-12-27 2016-12-14 Ckd株式会社 シール部材
JP6847888B2 (ja) * 2018-03-28 2021-03-24 日本ピラー工業株式会社 ガスケットの装着構造

Patent Citations (4)

* Cited by examiner, † Cited by third party
Publication number Priority date Publication date Assignee Title
JP2006064080A (ja) * 2004-08-27 2006-03-09 Nippon Pillar Packing Co Ltd 流体機器どうしの接続構造
JP4465254B2 (ja) * 2004-11-05 2010-05-19 日本ピラー工業株式会社 集積パネルと流体デバイスとの接続構造
JP2006161873A (ja) * 2004-12-03 2006-06-22 Nippon Pillar Packing Co Ltd 集積パネルと流体デバイスとの接続構造
US20150176744A1 (en) * 2013-12-20 2015-06-25 Onesubsea Ip Uk Limited Gasket

Cited By (1)

* Cited by examiner, † Cited by third party
Publication number Priority date Publication date Assignee Title
CN116928343A (zh) * 2023-07-10 2023-10-24 重庆金山医疗技术研究院有限公司 一种软式内窥镜密封结构及密封方法

Also Published As

Publication number Publication date
JP2018096457A (ja) 2018-06-21
US20190301608A1 (en) 2019-10-03
US11073209B2 (en) 2021-07-27
KR20190086565A (ko) 2019-07-22
TW201831815A (zh) 2018-09-01
KR102262376B1 (ko) 2021-06-09
TWI702357B (zh) 2020-08-21
JP6416179B2 (ja) 2018-10-31
CN110062858B (zh) 2021-03-26
CN110062858A (zh) 2019-07-26

Similar Documents

Publication Publication Date Title
JP6416179B2 (ja) 接続部シール構造及びシール部材
KR102604479B1 (ko) 고순도 유체 통로를 접합하기 위한 초밀봉 가스켓
JP6818303B2 (ja) ガスケット
RU2685169C1 (ru) Переходный соединитель
JP2017514087A5 (enExample)
TWI845527B (zh) 接頭裝置、接頭構造、及接頭構造之製造方法
JP6447667B2 (ja) シールリング及び密封構造
JP2012246957A (ja) 流体通路接続装置
JP2012017847A (ja) 流体機械
JP2019039562A (ja) 接続部シール構造及びシール部材
JP7072028B2 (ja) 接続部シール構造及びシール部材
JP6424124B2 (ja) 金属シール
JP6695222B2 (ja) 流体機器接続構造
JP7181581B2 (ja) 配管接続構造及び接続部材
CN107448683A (zh) 管道固定装置
JP6467133B2 (ja) 接続管構造
JP5789571B2 (ja) 流体継手、流体機器マニホールド
KR101257876B1 (ko) 가스터빈의 플로팅 씰링 장치
EP3418584A1 (en) Accumulator
JP2020182362A5 (enExample)
JP2018194038A (ja) 配管の取付構造および配管の取付方法
JP7372075B2 (ja) 連結部材
JP7170243B2 (ja) 配管接続構造及び接続部材
JP2023060728A (ja) パイプ材の先端構造
KR20180108261A (ko) 금속 시일

Legal Events

Date Code Title Description
121 Ep: the epo has been informed by wipo that ep was designated in this application

Ref document number: 17880026

Country of ref document: EP

Kind code of ref document: A1

NENP Non-entry into the national phase

Ref country code: DE

ENP Entry into the national phase

Ref document number: 20197019029

Country of ref document: KR

Kind code of ref document: A

122 Ep: pct application non-entry in european phase

Ref document number: 17880026

Country of ref document: EP

Kind code of ref document: A1