WO2018066695A1 - 車載表示制御装置 - Google Patents

車載表示制御装置 Download PDF

Info

Publication number
WO2018066695A1
WO2018066695A1 PCT/JP2017/036483 JP2017036483W WO2018066695A1 WO 2018066695 A1 WO2018066695 A1 WO 2018066695A1 JP 2017036483 W JP2017036483 W JP 2017036483W WO 2018066695 A1 WO2018066695 A1 WO 2018066695A1
Authority
WO
WIPO (PCT)
Prior art keywords
display
vehicle
display control
display image
control device
Prior art date
Legal status (The legal status is an assumption and is not a legal conclusion. Google has not performed a legal analysis and makes no representation as to the accuracy of the status listed.)
Ceased
Application number
PCT/JP2017/036483
Other languages
English (en)
French (fr)
Japanese (ja)
Inventor
鈴木 孝光
真之 近藤
Current Assignee (The listed assignees may be inaccurate. Google has not performed a legal analysis and makes no representation or warranty as to the accuracy of the list.)
Denso Corp
Original Assignee
Denso Corp
Priority date (The priority date is an assumption and is not a legal conclusion. Google has not performed a legal analysis and makes no representation as to the accuracy of the date listed.)
Filing date
Publication date
Application filed by Denso Corp filed Critical Denso Corp
Priority to DE112017005111.8T priority Critical patent/DE112017005111T5/de
Publication of WO2018066695A1 publication Critical patent/WO2018066695A1/ja
Priority to US16/375,898 priority patent/US11194154B2/en
Anticipated expiration legal-status Critical
Ceased legal-status Critical Current

Links

Images

Classifications

    • GPHYSICS
    • G02OPTICS
    • G02BOPTICAL ELEMENTS, SYSTEMS OR APPARATUS
    • G02B27/00Optical systems or apparatus not provided for by any of the groups G02B1/00 - G02B26/00, G02B30/00
    • G02B27/01Head-up displays
    • G02B27/0101Head-up displays characterised by optical features
    • GPHYSICS
    • G06COMPUTING OR CALCULATING; COUNTING
    • G06FELECTRIC DIGITAL DATA PROCESSING
    • G06F3/00Input arrangements for transferring data to be processed into a form capable of being handled by the computer; Output arrangements for transferring data from processing unit to output unit, e.g. interface arrangements
    • G06F3/01Input arrangements or combined input and output arrangements for interaction between user and computer
    • G06F3/011Arrangements for interaction with the human body, e.g. for user immersion in virtual reality
    • G06F3/013Eye tracking input arrangements
    • BPERFORMING OPERATIONS; TRANSPORTING
    • B60VEHICLES IN GENERAL
    • B60KARRANGEMENT OR MOUNTING OF PROPULSION UNITS OR OF TRANSMISSIONS IN VEHICLES; ARRANGEMENT OR MOUNTING OF PLURAL DIVERSE PRIME-MOVERS IN VEHICLES; AUXILIARY DRIVES FOR VEHICLES; INSTRUMENTATION OR DASHBOARDS FOR VEHICLES; ARRANGEMENTS IN CONNECTION WITH COOLING, AIR INTAKE, GAS EXHAUST OR FUEL SUPPLY OF PROPULSION UNITS IN VEHICLES
    • B60K35/00Instruments specially adapted for vehicles; Arrangement of instruments in or on vehicles
    • B60K35/20Output arrangements, i.e. from vehicle to user, associated with vehicle functions or specially adapted therefor
    • B60K35/21Output arrangements, i.e. from vehicle to user, associated with vehicle functions or specially adapted therefor using visual output, e.g. blinking lights or matrix displays
    • B60K35/23Head-up displays [HUD]
    • B60K35/233Head-up displays [HUD] controlling the size or position in display areas of virtual images depending on the condition of the vehicle or the driver
    • BPERFORMING OPERATIONS; TRANSPORTING
    • B60VEHICLES IN GENERAL
    • B60KARRANGEMENT OR MOUNTING OF PROPULSION UNITS OR OF TRANSMISSIONS IN VEHICLES; ARRANGEMENT OR MOUNTING OF PLURAL DIVERSE PRIME-MOVERS IN VEHICLES; AUXILIARY DRIVES FOR VEHICLES; INSTRUMENTATION OR DASHBOARDS FOR VEHICLES; ARRANGEMENTS IN CONNECTION WITH COOLING, AIR INTAKE, GAS EXHAUST OR FUEL SUPPLY OF PROPULSION UNITS IN VEHICLES
    • B60K35/00Instruments specially adapted for vehicles; Arrangement of instruments in or on vehicles
    • B60K35/20Output arrangements, i.e. from vehicle to user, associated with vehicle functions or specially adapted therefor
    • B60K35/21Output arrangements, i.e. from vehicle to user, associated with vehicle functions or specially adapted therefor using visual output, e.g. blinking lights or matrix displays
    • B60K35/23Head-up displays [HUD]
    • B60K35/235Head-up displays [HUD] with means for detecting the driver's gaze direction or eye points
    • BPERFORMING OPERATIONS; TRANSPORTING
    • B60VEHICLES IN GENERAL
    • B60KARRANGEMENT OR MOUNTING OF PROPULSION UNITS OR OF TRANSMISSIONS IN VEHICLES; ARRANGEMENT OR MOUNTING OF PLURAL DIVERSE PRIME-MOVERS IN VEHICLES; AUXILIARY DRIVES FOR VEHICLES; INSTRUMENTATION OR DASHBOARDS FOR VEHICLES; ARRANGEMENTS IN CONNECTION WITH COOLING, AIR INTAKE, GAS EXHAUST OR FUEL SUPPLY OF PROPULSION UNITS IN VEHICLES
    • B60K35/00Instruments specially adapted for vehicles; Arrangement of instruments in or on vehicles
    • B60K35/20Output arrangements, i.e. from vehicle to user, associated with vehicle functions or specially adapted therefor
    • B60K35/28Output arrangements, i.e. from vehicle to user, associated with vehicle functions or specially adapted therefor characterised by the type of the output information, e.g. video entertainment or vehicle dynamics information; characterised by the purpose of the output information, e.g. for attracting the attention of the driver
    • BPERFORMING OPERATIONS; TRANSPORTING
    • B60VEHICLES IN GENERAL
    • B60KARRANGEMENT OR MOUNTING OF PROPULSION UNITS OR OF TRANSMISSIONS IN VEHICLES; ARRANGEMENT OR MOUNTING OF PLURAL DIVERSE PRIME-MOVERS IN VEHICLES; AUXILIARY DRIVES FOR VEHICLES; INSTRUMENTATION OR DASHBOARDS FOR VEHICLES; ARRANGEMENTS IN CONNECTION WITH COOLING, AIR INTAKE, GAS EXHAUST OR FUEL SUPPLY OF PROPULSION UNITS IN VEHICLES
    • B60K35/00Instruments specially adapted for vehicles; Arrangement of instruments in or on vehicles
    • B60K35/65Instruments specially adapted for specific vehicle types or users, e.g. for left- or right-hand drive
    • BPERFORMING OPERATIONS; TRANSPORTING
    • B60VEHICLES IN GENERAL
    • B60RVEHICLES, VEHICLE FITTINGS, OR VEHICLE PARTS, NOT OTHERWISE PROVIDED FOR
    • B60R11/00Arrangements for holding or mounting articles, not otherwise provided for
    • B60R11/02Arrangements for holding or mounting articles, not otherwise provided for for radio sets, television sets, telephones, or the like; Arrangement of controls thereof
    • BPERFORMING OPERATIONS; TRANSPORTING
    • B60VEHICLES IN GENERAL
    • B60RVEHICLES, VEHICLE FITTINGS, OR VEHICLE PARTS, NOT OTHERWISE PROVIDED FOR
    • B60R11/00Arrangements for holding or mounting articles, not otherwise provided for
    • B60R11/04Mounting of cameras operative during drive; Arrangement of controls thereof relative to the vehicle
    • GPHYSICS
    • G02OPTICS
    • G02BOPTICAL ELEMENTS, SYSTEMS OR APPARATUS
    • G02B27/00Optical systems or apparatus not provided for by any of the groups G02B1/00 - G02B26/00, G02B30/00
    • G02B27/01Head-up displays
    • BPERFORMING OPERATIONS; TRANSPORTING
    • B60VEHICLES IN GENERAL
    • B60KARRANGEMENT OR MOUNTING OF PROPULSION UNITS OR OF TRANSMISSIONS IN VEHICLES; ARRANGEMENT OR MOUNTING OF PLURAL DIVERSE PRIME-MOVERS IN VEHICLES; AUXILIARY DRIVES FOR VEHICLES; INSTRUMENTATION OR DASHBOARDS FOR VEHICLES; ARRANGEMENTS IN CONNECTION WITH COOLING, AIR INTAKE, GAS EXHAUST OR FUEL SUPPLY OF PROPULSION UNITS IN VEHICLES
    • B60K2360/00Indexing scheme associated with groups B60K35/00 or B60K37/00 relating to details of instruments or dashboards
    • B60K2360/16Type of output information
    • B60K2360/167Vehicle dynamics information
    • BPERFORMING OPERATIONS; TRANSPORTING
    • B60VEHICLES IN GENERAL
    • B60KARRANGEMENT OR MOUNTING OF PROPULSION UNITS OR OF TRANSMISSIONS IN VEHICLES; ARRANGEMENT OR MOUNTING OF PLURAL DIVERSE PRIME-MOVERS IN VEHICLES; AUXILIARY DRIVES FOR VEHICLES; INSTRUMENTATION OR DASHBOARDS FOR VEHICLES; ARRANGEMENTS IN CONNECTION WITH COOLING, AIR INTAKE, GAS EXHAUST OR FUEL SUPPLY OF PROPULSION UNITS IN VEHICLES
    • B60K2360/00Indexing scheme associated with groups B60K35/00 or B60K37/00 relating to details of instruments or dashboards
    • B60K2360/20Optical features of instruments
    • B60K2360/33Illumination features
    • B60K2360/334Projection means
    • BPERFORMING OPERATIONS; TRANSPORTING
    • B60VEHICLES IN GENERAL
    • B60WCONJOINT CONTROL OF VEHICLE SUB-UNITS OF DIFFERENT TYPE OR DIFFERENT FUNCTION; CONTROL SYSTEMS SPECIALLY ADAPTED FOR HYBRID VEHICLES; ROAD VEHICLE DRIVE CONTROL SYSTEMS FOR PURPOSES NOT RELATED TO THE CONTROL OF A PARTICULAR SUB-UNIT
    • B60W2540/00Input parameters relating to occupants
    • B60W2540/221Physiology, e.g. weight, heartbeat, health or special needs
    • GPHYSICS
    • G02OPTICS
    • G02BOPTICAL ELEMENTS, SYSTEMS OR APPARATUS
    • G02B27/00Optical systems or apparatus not provided for by any of the groups G02B1/00 - G02B26/00, G02B30/00
    • G02B27/01Head-up displays
    • G02B27/0179Display position adjusting means not related to the information to be displayed
    • G02B2027/0187Display position adjusting means not related to the information to be displayed slaved to motion of at least a part of the body of the user, e.g. head, eye
    • GPHYSICS
    • G02OPTICS
    • G02BOPTICAL ELEMENTS, SYSTEMS OR APPARATUS
    • G02B27/00Optical systems or apparatus not provided for by any of the groups G02B1/00 - G02B26/00, G02B30/00
    • G02B27/0093Optical systems or apparatus not provided for by any of the groups G02B1/00 - G02B26/00, G02B30/00 with means for monitoring data relating to the user, e.g. head-tracking, eye-tracking

Definitions

  • the present disclosure relates to an in-vehicle display control device that controls display by a head-up display mounted on a vehicle.
  • a so-called head-up display in which information is displayed at the tip of the driver's line of sight by forming a display image with a virtual image in the front field of view of the driver of the car.
  • the head-up display is referred to as HUD.
  • HUD head-up display
  • augmented reality As a practical example of a HUD mounted on a vehicle, there is a so-called augmented reality.
  • the augmented reality using the HUD mounted on the vehicle for example, the actual landscape recognized by the driver is expanded by displaying information superimposed on the actual landscape seen through the windshield of the vehicle.
  • a symbol such as an arrow indicating the course of the vehicle at which the host vehicle should travel is displayed in accordance with the shape of the road in the actual scenery.
  • attention is drawn by highlighting road signs that the driver has not seen.
  • the position of the driver's face is not necessarily fixed in the vehicle.
  • the position of the driver's face changes, there is a case where the actual landscape and the display image of the HUD are displaced in the driver's field of view, and the advantage of the superimposed display may not be utilized.
  • the display image of the HUD is not displayed at an appropriate position, there may be a problem that the driver feels uncomfortable or misunderstood.
  • Patent Document 1 discloses the following technique. That is, by detecting the position of the driver's eyes and forming a display image in a straight line connecting the position of the driver's eyes and the guidance route on the road, the display image of the HUD is displayed at an appropriate position. .
  • the cause of the display of the HUD display image deviating from the actual scene is not limited to the driver's face position.
  • the inventor has found that there is a possibility that the display image of the HUD and the actual scene may be shifted due to various factors relating to a sudden change in the behavior of the vehicle, the characteristics of the external environment, the physical ability of the driver, and the like. I found it. Further, the inventor has found that the driver may feel uncomfortable due to a mismatch between the display image of the HUD and the actual scenery due to these factors.
  • An in-vehicle display control device controls a head-up display.
  • This head-up display displays information to be displayed to the driver of the vehicle as a display image composed of a virtual image recognized in front of the driver's field of view.
  • the in-vehicle display control device includes a spatial information acquisition unit, a viewpoint information acquisition unit, a display control unit, and an output unit.
  • the spatial information acquisition unit is configured to acquire information representing the position in the absolute coordinate system of an object existing in a real landscape in front of the vehicle.
  • the viewpoint information acquisition unit is configured to acquire information representing the position of the driver's eyes.
  • the display control unit is configured to determine the display mode of the display image based on the information on the position of the object and the information on the position of the eye. Specifically, the display control unit determines a display mode of a display image including at least a position where the display image is projected so that the display image is superimposed on a specific object in the driver's field of view.
  • the output unit is configured to cause the head-up display to form a display image according to the display mode determined by the display control unit.
  • the display control unit is configured to execute at least one of behavior related control, environment related control, and physical ability related control.
  • the behavior-related control is control that adjusts the display mode of the display image based on information representing the behavior of the vehicle.
  • the environment-related control is control that adjusts the display mode of the display image based on information representing the characteristics of the external environment.
  • Physical ability related control is control which adjusts the display mode of a display image based on information showing a driver's physical ability.
  • the display mode of the display image can be adjusted according to various factors that may cause a deviation or a sense of incongruity between the HUD display image and the actual scenery. Therefore, it is possible to reduce display image incompatibility and discomfort in the HUD.
  • FIG. 1 is a block diagram illustrating a configuration of an in-vehicle display system according to the embodiment.
  • FIG. 2 is a flowchart showing the procedure of the display control process.
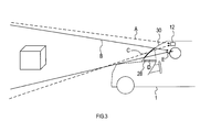
  • FIG. 3 is an explanatory diagram illustrating the relationship among the field of view of the periphery monitoring device, the field of view of the driver, the HUD projection surface, and the HUD display surface.
  • in-vehicle display system The configuration of the in-vehicle display system according to the embodiment will be described with reference to FIG.
  • This in-vehicle display system is a system that presents information to a driver using a HUD, and is mounted on the vehicle 1.
  • the in-vehicle display system includes an in-vehicle display control device 10 and each unit connected to the in-vehicle display control device 10.
  • the in-vehicle display control device 10 includes a periphery monitoring device 12, a viewpoint detection unit 18, a visual acuity detection unit 20, a vehicle behavior detection unit 22, a position detection unit 24, a map information acquisition unit 26, and a head-up display projector (hereinafter referred to as a HUD projector). ) 28 is connected.
  • a HUD projector head-up display projector
  • the in-vehicle display control device 10 is an information processing device mainly configured by a semiconductor memory (not shown) such as a CPU, RAM, ROM, flash memory, and an input / output interface.
  • the vehicle-mounted display control device 10 forms a display image with a virtual image in the driver's front field of view by the HUD projector 28, thereby providing information on the actual scenery seen by the driver through the windshield provided in front of the driver's seat of the vehicle 1. Overlapping display.
  • the in-vehicle display control device 10 is embodied by, for example, a microcontroller or the like in which functions as a computer system are integrated.
  • the function of the in-vehicle display control device 10 is realized by the CPU executing a program stored in a substantial storage medium such as a ROM or a semiconductor memory.
  • the number of microcontrollers constituting the in-vehicle display control device 10 may be one or more.
  • the method for realizing the function of the in-vehicle display control device 10 is not limited to software, and some or all of the elements may be realized using hardware in which a logic circuit, an analog circuit, or the like is combined.
  • the periphery monitoring device 12 is an optical or electromagnetic sensor for recognizing the scenery in front of the vehicle 1.
  • the periphery monitoring device 12 includes, for example, a camera 14 and a radar 16.
  • the camera 14 captures the front area of the vehicle 1 that can be seen through the windshield and outputs data of the captured image to the in-vehicle display control device 10.
  • the radar 16 transmits radio waves and laser light toward a front area common to the imaging range of the camera 14 and receives the reflected waves to detect the presence / absence of the object and the distance to the object.
  • an objective sensor such as an infrared sensor or an ultrasonic sensor may be used as the periphery monitoring device 12.
  • the viewpoint detection unit 18 is a sensor having a function of detecting the position of the driver's eyes.
  • a camera system having a function of measuring the coordinates of the driver's eye position in the viewpoint vehicle coordinate system can be applied.
  • the camera system detects the coordinates of the position of the driver's eye in the vehicle coordinate system by performing image processing on the image of the driver's eye captured by the infrared camera.
  • the visual acuity detection unit 20 is a device that detects the state of visual acuity of the driver.
  • the visual acuity detection unit 20 it is conceivable to implement an autorefractometer function in cooperation with a known driver status monitor that recognizes a driver's face image using an infrared camera and a computer.
  • the autorefractometer is a well-known measuring device that applies infrared light to a subject's eye and automatically analyzes and measures the refractive state of the eye and the presence and degree of myopia, hyperopia, astigmatism, and the like.
  • the vehicle behavior detection unit 22 is a sensor for detecting a physical quantity representing the behavior of the vehicle 1.
  • the vehicle behavior detection unit 22 includes a gyroscope, a suspension stroke sensor, a vehicle height sensor, a wheel speed sensor, an acceleration sensor, and the like.
  • the position detection unit 24 is for detecting the current location of the vehicle 1 based on detection results by a GPS receiver, a gyroscope, a vehicle speed sensor, and the like.
  • the map information acquisition unit 26 acquires terrain data including information representing the terrain, road shape, and the like in the coordinates of the absolute coordinate system, and outputs the acquired terrain data to the in-vehicle display control device 10.
  • the terrain data acquired by the map information acquisition unit 26 may be recorded in a map information storage medium mounted on the vehicle 1 or acquired by communication with an external device. Good.
  • the HUD projector 28 is a display device that projects light constituting information to be displayed to the driver onto the windshield and forms a virtual display image in the driver's front field of view.
  • a projector having a structure in which a display panel that displays image information to be projected directly faces a windshield as a projection surface can be used as appropriate.
  • a projector having a structure for projecting image information from the display panel via an optical system including a mirror, a lens, and the like can be used as appropriate.
  • the in-vehicle display control device 10 controls the position where the display image is projected based on the position of the object recognized by the periphery monitoring device 12 and the position of the driver's eyes. Specifically, the in-vehicle display control device 10 projects the display image so that the display image of the HUD is superimposed on a specific object in the driver's field of view.
  • the in-vehicle display control device 10 is configured to perform control for appropriately displaying the HUD display image with respect to the following factors (1) to (7).
  • the in-vehicle display control device 10 acquires three-dimensional information of the foreground from the viewpoint position of the periphery monitoring device 12. Specifically, as illustrated in FIG. 3, the in-vehicle display control device 10 uses a visual field space A that is a visual field based on the viewpoint position (that is, the installation position) of the periphery monitoring device 12 in the absolute coordinate system. Get the coordinates of a 3D object.
  • the in-vehicle display control device 10 calculates coordinates in the visual field A based on the camera image information and / or radar detection information acquired by the periphery monitoring device 12.
  • the information acquired by the periphery monitoring device 12 in a state where the pitch, roll, and yaw are not generated, the ground height of the periphery monitoring device 12, and Coordinates in the visual field space A are calculated using known parameters representing the mounting angle and the like. Even if the pitch of the vehicle 1 is changing, if the frequency of the fluctuation is not more than the specified position, it is assumed that no pitch fluctuation has occurred, and the coordinates are calculated by the first method. And
  • the in-vehicle display control device 10 calculates the coordinates in the visual field space A based on the topographic data around the current location acquired by the map information acquisition unit 26.
  • This terrain data presupposes that objects such as terrain and roads are recorded in the coordinates of the absolute coordinate system.
  • the in-vehicle display control device 10 represents the coordinates represented by the acquired terrain data, the coordinates of the current location of the vehicle 1 detected by the position detection unit 24, the ground height and the mounting angle of the periphery monitoring device 12, and the like. Coordinates in the visual field space A are calculated using known parameters.
  • the first method is basically applied.
  • the first method considering that a moving object can be an object to be observed, the coordinates of the time when the change of pitch, roll, yaw, etc. occurs and the object is not the object of observation are the past observed. It is assumed that the prediction is made from the coordinates of a plurality of times.
  • the in-vehicle display control device 10 analyzes the environmental properties of the information acquired by the periphery monitoring device 12 in S100. Specifically, the in-vehicle display control device 10 performs brightness and color of ambient light, weather (for example, rain / snow), a color of a superimposed object (for example, a color of a vehicle), by image processing on image information of the camera. And the visibility of the superimposed object is recognized. Note that S101 is processing related to the countermeasure to the above-mentioned “(3) Factors related to compatibility between HUD display image and environmental properties”.
  • the in-vehicle display control device 10 specifies the superimposed shape A1 based on the three-dimensional information acquired in S100.
  • the superimposed shape A1 is the position and shape in the visual field space A of the display image to be displayed superimposed on a specific superimposed object.
  • the in-vehicle display control device 10 detects specific superimposed objects such as lane markings, vehicles ahead, and road signs marked on the road from the information on the foreground landscape acquired by the surrounding monitoring device 12. To detect. Then, the position and shape of the display image in the coordinate system of the visual field A are superimposed so that the display image corresponding to the detected superimposition object overlaps the position of the superimposition object as viewed from the viewpoint of the periphery monitoring device 12. It is specified as A1.
  • the in-vehicle display control device 10 acquires the eye position as the driver's viewpoint position based on the information acquired by the viewpoint detection unit 18. Specifically, the in-vehicle display control device 10 obtains the driver's viewpoint position as coordinates in a relative coordinate system based on, for example, the mounting position of the infrared camera constituting the viewpoint detection unit 18 or a predetermined position in the vehicle 1. To do.
  • the vehicle-mounted display control device 10 acquires information representing the driver's visual acuity based on the detection result by the visual acuity detection unit 20. Specifically, the in-vehicle display control device 10 acquires the presence / absence and degree of myopia, hyperopia, astigmatism, and the eye refraction state as information representing the driver's visual acuity.
  • S121 is processing related to the countermeasure to the above-mentioned “(5) Factors related to the physical ability of the driver”. If the response to changes in visual acuity that changes from moment to moment is omitted, the processing of S121 is not required to be performed periodically, and may be configured to be performed only once. Further, instead of actually measuring the visual acuity by the visual acuity detection unit 20, information on the visual acuity of the driver registered in advance may be read and acquired.
  • the in-vehicle display control device 10 acquires the superimposed shape A2 corresponding to the driver's visual field B for the superimposed shape A1 specified in S110.
  • the visual field B is a visual field based on the start position E of the driver as illustrated in FIG.
  • the in-vehicle display control device 10 converts the coordinates of the superimposed shape A1 specified in S110 into a coordinate system based on the viewpoint position of the driver acquired in S120, thereby superimposing the shape A2. Is calculated.
  • the superimposed shape A2 represents the position and shape of the display image in the visual field space B.
  • a known view conversion method may be used.
  • View conversion is a method for expressing a figure viewed from the position of the viewpoint for viewing the figure by moving it to another place in the three-dimensional space.
  • the view conversion is a coordinate conversion that moves a figure to a coordinate system (that is, a viewpoint coordinate system) viewed from the position and direction of the viewpoint.
  • this is a combination of coordinate transformation that translates the position of the figure in accordance with the coordinates of the viewpoint using the parallel transformation matrix and coordinate transformation that rotates the figure toward the viewpoint using the rotation transformation matrix.
  • the superimposed shape A2 is specified so that the display image of the HUD is superimposed on the superimposed object as viewed from the driver's viewpoint.
  • the in-vehicle display control device 10 acquires the position and shape of the display frame in the projection plane space C.
  • the display frame is a frame that represents a predetermined range in which a display image can be displayed in accordance with the displacement of the superimposed object.
  • the display frame is drawn so as to surround the display image.
  • the projection plane space C is a coordinate system assigned to a range in which video light output from the HUD projector 28 is projected on the windshield 30 of the vehicle 1.
  • the in-vehicle display control device 10 acquires a superimposed shape A3 corresponding to the projection plane space C for the superimposed shape A2 acquired in S130. Specifically, the in-vehicle display control device 10 converts the coordinates of the superimposed shape A2 into a two-dimensional coordinate system assigned on the windshield along a projection line connecting the viewpoint position of the driver and the superimposed shape A2. . In this way, the in-vehicle display control device 10 calculates the superimposed shape A3 that represents the position and shape of the display image in the projection plane space C.
  • Perspective projection is a method for drawing on a two-dimensional plane as if a three-dimensional object was viewed. That is, in perspective projection, the apparent size of an object is inversely proportional to the distance. Specifically, if the viewpoint is the origin and the line of sight is in the negative direction on the z-axis perpendicular to the xy plane, the point at the position (x, y, z) is Projected to the position ( ⁇ Ax / z, ⁇ Ay / z) in the forward direction at the position.
  • the in-vehicle display control device 10 is configured to correct the display mode for the superimposed shape A3 by executing the processes of S151, S152, and S153 described below.
  • the in-vehicle display control device 10 reflects the distortion of the superimposed object on the display mode of the superimposed shape A3. Note that S151 is processing related to the countermeasure to the above-mentioned “(2) Factors related to variation in superimposed objects”. Specifically:
  • a HUD display image is superimposed and displayed on a dividing line that divides a road lane.
  • the marking lines on the road are drawn so that there is no sudden change using straight lines, clothoid curves, etc., in order to prevent sudden changes in the behavior of vehicles traveling along the driving lane. It is common.
  • the display image of the HUD displayed superimposed on such a dividing line is generally expressed by converting a predetermined figure made of a straight line, a clothoid curve, etc. into a shape that matches the driver's viewpoint. is there.
  • the road surface on which the marking line is marked is not necessarily a clean plane and may be uneven or distorted. In such a case, there is a possibility that a position or shape shift may occur between the actual landscape and the HUD display image. Therefore, the in-vehicle display control device 10 recognizes the shape of the ground surface using a radar, a camera, an ultrasonic sensor, an infrared sensor, or the like. If the recognized ground surface has a distortion or variation in shape that exceeds an allowable value, the superimposed shape A3 to be superimposed on the ground surface is deformed in accordance with the ground surface distortion or variation. By doing so, even when there is distortion or variation on the ground surface, the display of the HUD adapted to the actual landscape is continued.
  • the vehicle-mounted display control device 10 uses a point where a line from the driver's viewpoint position in the vehicle traveling direction intersects the horizon as a reference point, and gradually increases the upper limit of distortion according to the distance from this reference point. Increase By doing so, it is possible to accurately transmit HUD information in the vicinity of the center of the driver's visual field, and to reduce the deviation between the actual scenery and the HUD display image in the vicinity of the driver's visual field.
  • the in-vehicle display control device 10 reflects the environmental properties in the display mode of the superimposed shape A3. Note that S152 is processing related to countermeasures for the above-mentioned “(4) Factors related to compatibility between HUD display image and environmental properties”. Specifically:
  • the in-vehicle display control device 10 corrects the display mode of the superimposed shape A3 according to the analysis result of the environmental information in S101. Specifically, the in-vehicle display control device 10 determines the color of the superimposition object, and emphasizes the contrast by changing the color of the HUD display image to a color different from that of the superimposition object. For example, if the superimposed object is a white vehicle, the in-vehicle display control device 10 changes the color of the HUD display image to yellow. Moreover, when superimposing the information showing a warning with respect to a yellow vehicle, the vehicle-mounted display control apparatus 10 does not use yellow for the display image of HUD, but uses other colors, such as a yellow complementary color.
  • the in-vehicle display control device 10 determines the color of the ambient light and the weather, and adjusts the color of the HUD display image according to the environment. For example, during snowfall, the in-vehicle display control device 10 changes the original white display to another color. Further, when the ambient light looks red due to sunset or the like, the in-vehicle display control device 10 creates a real feeling by adding redness to the display image of the HUD.
  • the in-vehicle display control device 10 is configured to perform a display simulating the shape of the superimposed object itself from the display image of the HUD when it is determined that the visibility of the superimposed object is poor from the analysis result of the environmental information. May be. By doing in this way, the visibility of a superposition target object can be supplemented. Specifically, in a situation where visibility is poor due to rain or fog, when the HUD is superimposed on the assumption that there is a lane marking, the vehicle-mounted display control device 10 displays a display that simulates the lane itself. It is possible to do it. By doing in this way, the effective augmented reality by HUD is realizable without being influenced as much as possible by the quality of a visual field.
  • S153 the in-vehicle display control device 10 performs a countermeasure regarding the moving expression of the display image of the HUD. Note that S153 is processing related to the above-mentioned “(6) Consideration for imperfection of countermeasures”. Specifically:
  • the in-vehicle display control device 10 performs the entire display control process in a period that can be realized.
  • the in-vehicle display control device 10 adds an afterimage expression when moving the display image of the HUD. By doing so, it is possible to make the driver perceive the movement of the display image of the HUD as a smooth movement, and the effect of reducing the burden on the eyes of the driver can be expected.
  • the in-vehicle display control device 10 sets a margin part that is a room for the display image not being completely visible in the outer peripheral part of the displayable area of the HUD. And the vehicle-mounted display control apparatus 10 produces
  • a determination means for detecting a delay is provided in the in-vehicle display control device 10. If it is detected that a delay occurs, the in-vehicle display control device 10 does not update the display itself at that time.
  • the in-vehicle display control device 10 acquires the display shape C4 corresponding to the display surface space D of the HUD projector 28 for the superimposed shape A3 acquired in S150.
  • the display surface space D is a two-dimensional coordinate system assigned to the image display area in the display panel of the HUD projector 28, as illustrated in FIG.
  • the in-vehicle display control apparatus 10 converts the two-dimensional coordinates of the superimposed shape A3 into the two-dimensional display surface space D according to the characteristics such as the curvature of the projection surface space C and the refractive index of the optical path of the HUD projector 28. Convert coordinates to coordinate system.
  • the in-vehicle display control device 10 calculates the display shape C4 representing the position and shape of the display image in the display surface space D. This coordinate transformation is calculated using, for example, a transformation matrix between two planes of the projection plane space C and the image display area.
  • the in-vehicle display control device 10 is configured to correct the display mode for the display shape C4 by executing the processes of S161, S162, and S163 described below.
  • the in-vehicle display control device 10 reflects the change in the behavior of the vehicle 1 in the display mode of the display shape C4. Note that S161 is processing related to the countermeasure to the above-mentioned “(1) Factors related to vehicle behavior”. Specifically:
  • the in-vehicle display control device 10 detects a vehicle rotation angle such as a pitch angle, a roll angle, and a yaw angle of the vehicle 1 based on information acquired by the vehicle behavior detection unit 22, the camera 14, and the radar 16. And the relative position with respect to the real scenery of the vehicle 1 is estimated using together the detected vehicle rotation angle and detection results, such as a wheel speed sensor and an acceleration sensor. And the vehicle-mounted display control apparatus 10 estimates the deviation
  • a vehicle rotation angle such as a pitch angle, a roll angle, and a yaw angle of the vehicle 1 based on information acquired by the vehicle behavior detection unit 22, the camera 14, and the radar 16.
  • the relative position with respect to the real scenery of the vehicle 1 is estimated using together the
  • the in-vehicle display control device 10 reflects the driver's adaptation factor for the processing in S161.
  • S162 is processing related to the countermeasure to the above-mentioned “(3) Factors relating to human adaptation to vehicle behavior”. Specifically:
  • the in-vehicle display control device 10 analyzes the time transition of the pitch angle as a frequency component, and performs a high-pass filter process corresponding to a predetermined lower limit frequency region. Thereby, the in-vehicle display control device 10 excludes the correction of the display shape C4 from a gentle pitch change lower than the frequency range of the high-pass filter. In this way, the driver's adaptation to a gradual pitch change can be reflected in the display mode of the HUD display image.
  • the in-vehicle display control device 10 implements measures for reducing the processing load for the processing in S161.
  • S163 is processing related to the above-mentioned “(7) Consideration for reduction in processing load”. Specifically:
  • the in-vehicle display control device 10 is used to change behavior in a frequency range that exceeds a limit value (for example, about 30 to 50 Hz) of a frequency at which humans can recognize blinking. Does not correct the display shape C4.
  • a limit value for example, about 30 to 50 Hz
  • the in-vehicle display control device 10 analyzes temporal transitions of the vehicle posture such as the pitch angle, the roll angle, and the yaw angle as frequency components, and performs a low-pass filter process corresponding to a predetermined upper limit frequency range. Thereby, the vehicle-mounted display control apparatus 10 does not correct the display shape C4 for a behavior change in a frequency range that cannot be recognized by a human. In this way, the processing load can be reduced by omitting the processing for an unnecessary behavior change that cannot be recognized by a human.
  • the in-vehicle display control device 10 may be configured to stop the display mode correction or the HUD display itself. This is effective from the viewpoint of reducing processing load and power consumption.
  • the in-vehicle display control device 10 outputs the display shape C4 acquired in S160 to the display panel of the HUD projector 28. Thereby, the display shape C4 is projected from the HUD projector 28 onto the windshield 30, and a display image recognized in front of the driver's field of view is formed.
  • the in-vehicle display control device 10 is configured to correct the display mode for the display shape C4 by executing the process of S171 described below.
  • the vehicle-mounted display control device 10 reflects the measurement result of the driver's visual acuity in the display mode of the display shape C4. Note that S171 is processing related to the countermeasure to the above-mentioned “(5) Factors related to the physical ability of the driver”. Specifically:
  • the vehicle-mounted display control device 10 is based on the information on the driver's visual acuity acquired in S121, and the display image of the HUD from the driver according to the quality of visual acuity and the degree of refractive abnormality such as myopia, hyperopia, astigmatism And the brightness of the HUD display image are adjusted. By doing in this way, it is possible to cope with individual differences in visual acuity for each driver and situations where the visual acuity changes from moment to moment due to fatigue or the like in the same driver.
  • the vehicle-mounted display system has the following effects.
  • various factors that may cause a deviation or discomfort between the display image of the HUD and the actual scenery depending on the situation such as the behavior of the vehicle, the nature of the external environment, the physical ability of the driver, etc.
  • the display mode of the HUD display image can be adjusted. This can reduce display image incompatibility and discomfort in the HUD.
  • the processing of S100 executed by the in-vehicle display control device 10 corresponds to processing as a spatial information acquisition unit.
  • the process of S120 executed by the in-vehicle display control device 10 corresponds to the process as the viewpoint information acquisition unit.
  • the processing of S110, S130, S150 to S153, S160 to S163, and S171 executed by the in-vehicle display control device 10 corresponds to processing as a display control unit.
  • the process of S170 executed by the in-vehicle display control device 10 corresponds to a process as an output unit.
  • the processing of S161 executed by the in-vehicle display control device 10 corresponds to behavior related control.
  • the processing of S101, S151, and S152 executed by the in-vehicle display control device 10 corresponds to environment-related control.
  • the processing of S121 and S171 executed by the in-vehicle display control device 10 corresponds to physical ability related control.

Landscapes

  • Engineering & Computer Science (AREA)
  • Physics & Mathematics (AREA)
  • Mechanical Engineering (AREA)
  • Chemical & Material Sciences (AREA)
  • Combustion & Propulsion (AREA)
  • Transportation (AREA)
  • General Physics & Mathematics (AREA)
  • General Engineering & Computer Science (AREA)
  • Theoretical Computer Science (AREA)
  • Optics & Photonics (AREA)
  • Human Computer Interaction (AREA)
  • Instrument Panels (AREA)
  • Controls And Circuits For Display Device (AREA)
  • Fittings On The Vehicle Exterior For Carrying Loads, And Devices For Holding Or Mounting Articles (AREA)
PCT/JP2017/036483 2016-10-07 2017-10-06 車載表示制御装置 Ceased WO2018066695A1 (ja)

Priority Applications (2)

Application Number Priority Date Filing Date Title
DE112017005111.8T DE112017005111T5 (de) 2016-10-07 2017-10-06 Bordanzeigesteuervorrichtung
US16/375,898 US11194154B2 (en) 2016-10-07 2019-04-05 Onboard display control apparatus

Applications Claiming Priority (2)

Application Number Priority Date Filing Date Title
JP2016-199185 2016-10-07
JP2016199185A JP6756228B2 (ja) 2016-10-07 2016-10-07 車載表示制御装置

Related Child Applications (1)

Application Number Title Priority Date Filing Date
US16/375,898 Continuation US11194154B2 (en) 2016-10-07 2019-04-05 Onboard display control apparatus

Publications (1)

Publication Number Publication Date
WO2018066695A1 true WO2018066695A1 (ja) 2018-04-12

Family

ID=61831171

Family Applications (1)

Application Number Title Priority Date Filing Date
PCT/JP2017/036483 Ceased WO2018066695A1 (ja) 2016-10-07 2017-10-06 車載表示制御装置

Country Status (4)

Country Link
US (1) US11194154B2 (enExample)
JP (1) JP6756228B2 (enExample)
DE (1) DE112017005111T5 (enExample)
WO (1) WO2018066695A1 (enExample)

Cited By (1)

* Cited by examiner, † Cited by third party
Publication number Priority date Publication date Assignee Title
WO2021049141A1 (ja) * 2019-09-13 2021-03-18 マレリ株式会社 表示装置及び表示方法

Families Citing this family (26)

* Cited by examiner, † Cited by third party
Publication number Priority date Publication date Assignee Title
US11119315B2 (en) * 2015-10-15 2021-09-14 Maxell, Ltd. Information display apparatus
FR3075986B1 (fr) * 2017-12-21 2022-07-15 Thales Sa Procede d'harmonisation duale d'un sous-systeme de detection de posture ddp integre dans un systeme de visualisation tete haute porte
CN108499104B (zh) 2018-04-17 2022-04-15 腾讯科技(深圳)有限公司 虚拟场景中的方位显示方法、装置、电子装置及介质
JP2020020914A (ja) * 2018-07-31 2020-02-06 マクセル株式会社 情報表示装置および情報表示方法
KR102116783B1 (ko) * 2018-10-10 2020-05-29 네이버랩스 주식회사 영상을 지면에 위치시켜 운전자의 시점에 증강현실을 구현하는 3차원 증강현실 헤드업 디스플레이
WO2020075911A1 (ko) * 2018-10-10 2020-04-16 네이버랩스 주식회사 영상을 지면에 위치시켜 운전자의 시점에 증강현실을 구현하는 3차원 증강현실 헤드업 디스플레이
JP2020069824A (ja) * 2018-10-29 2020-05-07 株式会社デンソー 車両用表示装置
DE102019202580A1 (de) 2019-02-26 2020-08-27 Volkswagen Aktiengesellschaft Verfahren zum Betreiben eines Fahrerinformationssystems in einem Ego-Fahrzeug und Fahrerinformationssystem
DE102019202587A1 (de) 2019-02-26 2020-08-27 Volkswagen Aktiengesellschaft Verfahren zum Betreiben eines Fahrerinformationssystems in einem Ego-Fahrzeug und Fahrerinformationssystem
DE102019202591A1 (de) * 2019-02-26 2020-08-27 Volkswagen Aktiengesellschaft Verfahren zum Betreiben eines Fahrerinformationssystems in einem Ego-Fahrzeug und Fahrerinformationssystem
DE102019202586A1 (de) 2019-02-26 2020-08-27 Volkswagen Aktiengesellschaft Verfahren zum Betreiben eines Fahrerinformationssystems in einem Ego-Fahrzeug und Fahrerinformationssystem
DE102019202592A1 (de) 2019-02-26 2020-08-27 Volkswagen Aktiengesellschaft Verfahren zum Betreiben eines Fahrerinformationssystems in einem Ego-Fahrzeug und Fahrerinformationssystem
DE102019202585A1 (de) 2019-02-26 2020-08-27 Volkswagen Aktiengesellschaft Verfahren zum Betreiben eines Fahrerinformationssystems in einem Ego-Fahrzeug und Fahrerinformationssystem
DE102019202576A1 (de) 2019-02-26 2020-08-27 Volkswagen Aktiengesellschaft Verfahren zum Betreiben eines Fahrerinformationssystems in einem Ego-Fahrzeug und Fahrerinformationssystem
DE102019202578A1 (de) 2019-02-26 2020-08-27 Volkswagen Aktiengesellschaft Verfahren zum Betreiben eines Fahrerinformationssystems in einem Ego-Fahrzeug und Fahrerinformationssystem
CN109889807A (zh) * 2019-03-14 2019-06-14 百度在线网络技术(北京)有限公司 车载投射调节方法、装置、设备和存储介质
JP7507439B2 (ja) * 2019-04-11 2024-06-28 パナソニックIpマネジメント株式会社 勾配変化検出システム、それを用いた表示システム及び移動体用プログラム
JP7063856B2 (ja) * 2019-07-30 2022-05-09 株式会社Soken 表示制御装置
JP7441628B2 (ja) * 2019-10-08 2024-03-01 株式会社Subaru 車両のヘッドアップディスプレイシステム
EP3848781B1 (en) 2019-12-31 2023-05-10 Seiko Epson Corporation Circuit device, electronic apparatus, and mobile body
EP3846009B1 (en) 2019-12-31 2023-05-10 Seiko Epson Corporation Display system, electronic apparatus, mobile body, and display method
US11623653B2 (en) 2020-01-23 2023-04-11 Toyota Motor Engineering & Manufacturing North America, Inc. Augmented reality assisted traffic infrastructure visualization
JPWO2021251115A1 (enExample) 2020-06-08 2021-12-16
KR20230094477A (ko) * 2021-12-21 2023-06-28 현대자동차주식회사 롤러블 디스플레이 시스템 및 운전자에 따라 적응적으로 롤러블 모니터의 뷰 범위를 조정하는 방법
CN115167743B (zh) * 2022-06-10 2024-04-02 东风汽车集团股份有限公司 一种车载智能屏幕调节方法、系统及电子设备
CN119078709A (zh) * 2024-09-27 2024-12-06 奇瑞新能源汽车股份有限公司 车辆影院模式的控制方法、装置、设备、存储介质及产品

Citations (8)

* Cited by examiner, † Cited by third party
Publication number Priority date Publication date Assignee Title
JP2002159011A (ja) * 2000-11-20 2002-05-31 Sharp Corp 画像復号装置
JP2005207777A (ja) * 2004-01-20 2005-08-04 Mazda Motor Corp 車両用画像表示装置、車両用画像表示方法及び車両用画像表示プログラム
JP2005322143A (ja) * 2004-05-11 2005-11-17 Namco Ltd プログラム、情報記憶媒体及び画像生成システム
JP2009210432A (ja) * 2008-03-04 2009-09-17 Alpine Electronics Inc 運転支援装置
JP2010156608A (ja) * 2008-12-26 2010-07-15 Toshiba Corp 車載用表示システム及び表示方法
JP2013047021A (ja) * 2011-08-28 2013-03-07 Nippon Seiki Co Ltd 車両用ヘッドアップディスプレイ装置
JP2015080988A (ja) * 2013-10-22 2015-04-27 日本精機株式会社 車両情報投影システム及び投影装置
JP2017094882A (ja) * 2015-11-23 2017-06-01 アイシン・エィ・ダブリュ株式会社 虚像生成システム、虚像生成方法及びコンピュータプログラム

Family Cites Families (12)

* Cited by examiner, † Cited by third party
Publication number Priority date Publication date Assignee Title
JPS60131328A (ja) * 1983-12-19 1985-07-13 Nissan Motor Co Ltd 車両用表示装置
JPH07257228A (ja) 1994-03-18 1995-10-09 Nissan Motor Co Ltd 車両用表示装置
JP2007318324A (ja) * 2006-05-24 2007-12-06 Toyota Motor Corp 画像表示装置
JP2011007562A (ja) * 2009-06-24 2011-01-13 Toshiba Alpine Automotive Technology Corp 車両用ナビゲーション装置及びナビゲーション方法
JP5286243B2 (ja) * 2009-12-18 2013-09-11 矢崎総業株式会社 ヘッドアップディスプレイ装置
JP2013148599A (ja) * 2010-04-27 2013-08-01 Panasonic Electric Works Co Ltd 表示装置
CN102314315B (zh) * 2010-07-09 2013-12-11 株式会社东芝 显示装置、图像数据生成装置、图像数据生成程序及显示方法
JP2013154712A (ja) * 2012-01-27 2013-08-15 Denso Corp 表示制御装置
JP2013237320A (ja) * 2012-05-14 2013-11-28 Toshiba Alpine Automotive Technology Corp 違和感軽減表示装置およびその表示制御方法
US20160216521A1 (en) * 2013-10-22 2016-07-28 Nippon Seiki Co., Ltd. Vehicle information projection system and projection device
JP2016048344A (ja) * 2014-08-28 2016-04-07 パナソニックIpマネジメント株式会社 ヘッドアップディスプレイシステム、虚像表示装置
JP6521302B2 (ja) 2015-04-13 2019-05-29 株式会社ジェイテクト 車両用操舵装置

Patent Citations (8)

* Cited by examiner, † Cited by third party
Publication number Priority date Publication date Assignee Title
JP2002159011A (ja) * 2000-11-20 2002-05-31 Sharp Corp 画像復号装置
JP2005207777A (ja) * 2004-01-20 2005-08-04 Mazda Motor Corp 車両用画像表示装置、車両用画像表示方法及び車両用画像表示プログラム
JP2005322143A (ja) * 2004-05-11 2005-11-17 Namco Ltd プログラム、情報記憶媒体及び画像生成システム
JP2009210432A (ja) * 2008-03-04 2009-09-17 Alpine Electronics Inc 運転支援装置
JP2010156608A (ja) * 2008-12-26 2010-07-15 Toshiba Corp 車載用表示システム及び表示方法
JP2013047021A (ja) * 2011-08-28 2013-03-07 Nippon Seiki Co Ltd 車両用ヘッドアップディスプレイ装置
JP2015080988A (ja) * 2013-10-22 2015-04-27 日本精機株式会社 車両情報投影システム及び投影装置
JP2017094882A (ja) * 2015-11-23 2017-06-01 アイシン・エィ・ダブリュ株式会社 虚像生成システム、虚像生成方法及びコンピュータプログラム

Cited By (3)

* Cited by examiner, † Cited by third party
Publication number Priority date Publication date Assignee Title
WO2021049141A1 (ja) * 2019-09-13 2021-03-18 マレリ株式会社 表示装置及び表示方法
JP2021043901A (ja) * 2019-09-13 2021-03-18 マレリ株式会社 表示装置及び表示方法
US11758102B2 (en) 2019-09-13 2023-09-12 Marelli Corporation Display device and display method

Also Published As

Publication number Publication date
DE112017005111T5 (de) 2019-07-11
US11194154B2 (en) 2021-12-07
JP6756228B2 (ja) 2020-09-16
JP2018058544A (ja) 2018-04-12
US20190235241A1 (en) 2019-08-01

Similar Documents

Publication Publication Date Title
JP6756228B2 (ja) 車載表示制御装置
JP4978721B2 (ja) 運転支援装置
CN107438538B (zh) 用于显示车辆的车辆周围环境的方法
EP2914002B1 (en) Virtual see-through instrument cluster with live video
US10179588B2 (en) Autonomous vehicle control system
US9463743B2 (en) Vehicle information display device and vehicle information display method
JP5600256B2 (ja) 情報表示装置
Langner et al. Traffic awareness driver assistance based on stereovision, eye-tracking, and head-up display
EP3811326B1 (en) Heads up display (hud) content control system and methodologies
CN114063295B (zh) 增强现实图像的动态调整
JP2016210212A (ja) 情報提供装置、情報提供方法及び情報提供用制御プログラム
CN114489332A (zh) Ar-hud输出信息的显示方法及系统
GB2559606A (en) Controlling the operation of a head-up display apparatus
CN114025983A (zh) 显示控制装置、图像显示系统、移动体、显示控制方法、程序
JP7126115B2 (ja) 表示システム、移動体、及び、設計方法
WO2022230995A1 (ja) 表示制御装置、ヘッドアップディスプレイ装置、及び表示制御方法
CN113767026A (zh) 用于运行机动车的方法
WO2020039855A1 (ja) 表示制御装置、表示制御プログラム、およびその持続的有形コンピュータ読み取り媒体
WO2023184140A1 (zh) 显示方法、装置及系统
JP7619007B2 (ja) 表示制御装置、ヘッドアップディスプレイ装置、及び表示制御方法
JP7767833B2 (ja) 表示制御装置、表示装置、及び表示制御方法
US20230298491A1 (en) System and method to adjust inclined heads-up display perspective
CN115534672A (zh) 一种车辆抬头显示的控制方法、装置及车辆
CN111086518A (zh) 显示方法、装置、车载平视显示设备及存储介质
CN110297325A (zh) 增强现实眼镜和系统及增强现实眼镜显示车上信息的方法

Legal Events

Date Code Title Description
121 Ep: the epo has been informed by wipo that ep was designated in this application

Ref document number: 17858531

Country of ref document: EP

Kind code of ref document: A1

122 Ep: pct application non-entry in european phase

Ref document number: 17858531

Country of ref document: EP

Kind code of ref document: A1