WO2018066482A1 - 情報処理装置および画像処理方法 - Google Patents

情報処理装置および画像処理方法 Download PDF

Info

Publication number
WO2018066482A1
WO2018066482A1 PCT/JP2017/035646 JP2017035646W WO2018066482A1 WO 2018066482 A1 WO2018066482 A1 WO 2018066482A1 JP 2017035646 W JP2017035646 W JP 2017035646W WO 2018066482 A1 WO2018066482 A1 WO 2018066482A1
Authority
WO
WIPO (PCT)
Prior art keywords
image
luminance
signal
space
luminance space
Prior art date
Legal status (The legal status is an assumption and is not a legal conclusion. Google has not performed a legal analysis and makes no representation as to the accuracy of the status listed.)
Ceased
Application number
PCT/JP2017/035646
Other languages
English (en)
French (fr)
Japanese (ja)
Inventor
健一郎 横田
幸代 青木
全章 濱田
育徳 林
Current Assignee (The listed assignees may be inaccurate. Google has not performed a legal analysis and makes no representation or warranty as to the accuracy of the list.)
Sony Interactive Entertainment Inc
Original Assignee
Sony Interactive Entertainment Inc
Priority date (The priority date is an assumption and is not a legal conclusion. Google has not performed a legal analysis and makes no representation as to the accuracy of the date listed.)
Filing date
Publication date
Application filed by Sony Interactive Entertainment Inc filed Critical Sony Interactive Entertainment Inc
Priority to US16/335,389 priority Critical patent/US10733963B2/en
Publication of WO2018066482A1 publication Critical patent/WO2018066482A1/ja
Anticipated expiration legal-status Critical
Ceased legal-status Critical Current

Links

Images

Classifications

    • GPHYSICS
    • G09EDUCATION; CRYPTOGRAPHY; DISPLAY; ADVERTISING; SEALS
    • G09GARRANGEMENTS OR CIRCUITS FOR CONTROL OF INDICATING DEVICES USING STATIC MEANS TO PRESENT VARIABLE INFORMATION
    • G09G5/00Control arrangements or circuits for visual indicators common to cathode-ray tube indicators and other visual indicators
    • G09G5/36Control arrangements or circuits for visual indicators common to cathode-ray tube indicators and other visual indicators characterised by the display of a graphic pattern, e.g. using an all-points-addressable [APA] memory
    • G09G5/39Control of the bit-mapped memory
    • G09G5/391Resolution modifying circuits, e.g. variable screen formats
    • GPHYSICS
    • G06COMPUTING OR CALCULATING; COUNTING
    • G06TIMAGE DATA PROCESSING OR GENERATION, IN GENERAL
    • G06T5/00Image enhancement or restoration
    • G06T5/90Dynamic range modification of images or parts thereof
    • G06T5/92Dynamic range modification of images or parts thereof based on global image properties
    • GPHYSICS
    • G09EDUCATION; CRYPTOGRAPHY; DISPLAY; ADVERTISING; SEALS
    • G09GARRANGEMENTS OR CIRCUITS FOR CONTROL OF INDICATING DEVICES USING STATIC MEANS TO PRESENT VARIABLE INFORMATION
    • G09G5/00Control arrangements or circuits for visual indicators common to cathode-ray tube indicators and other visual indicators
    • GPHYSICS
    • G09EDUCATION; CRYPTOGRAPHY; DISPLAY; ADVERTISING; SEALS
    • G09GARRANGEMENTS OR CIRCUITS FOR CONTROL OF INDICATING DEVICES USING STATIC MEANS TO PRESENT VARIABLE INFORMATION
    • G09G5/00Control arrangements or circuits for visual indicators common to cathode-ray tube indicators and other visual indicators
    • G09G5/10Intensity circuits
    • GPHYSICS
    • G09EDUCATION; CRYPTOGRAPHY; DISPLAY; ADVERTISING; SEALS
    • G09GARRANGEMENTS OR CIRCUITS FOR CONTROL OF INDICATING DEVICES USING STATIC MEANS TO PRESENT VARIABLE INFORMATION
    • G09G5/00Control arrangements or circuits for visual indicators common to cathode-ray tube indicators and other visual indicators
    • G09G5/36Control arrangements or circuits for visual indicators common to cathode-ray tube indicators and other visual indicators characterised by the display of a graphic pattern, e.g. using an all-points-addressable [APA] memory
    • G09G5/37Details of the operation on graphic patterns
    • G09G5/377Details of the operation on graphic patterns for mixing or overlaying two or more graphic patterns
    • HELECTRICITY
    • H04ELECTRIC COMMUNICATION TECHNIQUE
    • H04NPICTORIAL COMMUNICATION, e.g. TELEVISION
    • H04N5/00Details of television systems
    • H04N5/44Receiver circuitry for the reception of television signals according to analogue transmission standards
    • H04N5/57Control of contrast or brightness
    • HELECTRICITY
    • H04ELECTRIC COMMUNICATION TECHNIQUE
    • H04NPICTORIAL COMMUNICATION, e.g. TELEVISION
    • H04N7/00Television systems
    • H04N7/01Conversion of standards, e.g. involving analogue television standards or digital television standards processed at pixel level
    • GPHYSICS
    • G06COMPUTING OR CALCULATING; COUNTING
    • G06TIMAGE DATA PROCESSING OR GENERATION, IN GENERAL
    • G06T2207/00Indexing scheme for image analysis or image enhancement
    • G06T2207/20Special algorithmic details
    • G06T2207/20172Image enhancement details
    • G06T2207/20208High dynamic range [HDR] image processing
    • GPHYSICS
    • G06COMPUTING OR CALCULATING; COUNTING
    • G06TIMAGE DATA PROCESSING OR GENERATION, IN GENERAL
    • G06T2207/00Indexing scheme for image analysis or image enhancement
    • G06T2207/20Special algorithmic details
    • G06T2207/20212Image combination
    • G06T2207/20221Image fusion; Image merging
    • GPHYSICS
    • G09EDUCATION; CRYPTOGRAPHY; DISPLAY; ADVERTISING; SEALS
    • G09GARRANGEMENTS OR CIRCUITS FOR CONTROL OF INDICATING DEVICES USING STATIC MEANS TO PRESENT VARIABLE INFORMATION
    • G09G2340/00Aspects of display data processing
    • G09G2340/06Colour space transformation
    • GPHYSICS
    • G09EDUCATION; CRYPTOGRAPHY; DISPLAY; ADVERTISING; SEALS
    • G09GARRANGEMENTS OR CIRCUITS FOR CONTROL OF INDICATING DEVICES USING STATIC MEANS TO PRESENT VARIABLE INFORMATION
    • G09G2340/00Aspects of display data processing
    • G09G2340/10Mixing of images, i.e. displayed pixel being the result of an operation, e.g. adding, on the corresponding input pixels

Definitions

  • the present invention relates to an information processing apparatus that displays an image on a display device and an image processing method performed by the information processing apparatus.
  • HDR High Dynamic Range
  • SDR Standard Dynamic Range
  • HDR Even if a display device that supports the HDR luminance range is used, not all images to be displayed are represented in HDR.
  • the content itself is expressed in SDR.
  • HDR and SDR have different conversion rules and standards between the luminance value and the electrical signal representing it.
  • display device manufacturers may control the coloration of the display using unique processing. As a result, an image displayed through various conversion processes may have a color and brightness different from the original design depending on the combination of the content, the image processing apparatus, and the display apparatus.
  • the present invention has been made in view of these problems, and an object of the present invention is to provide a technique capable of always displaying an image in a suitable state regardless of the luminance range assumed at the time of image creation.
  • An aspect of the present invention relates to an information processing apparatus.
  • the information processing apparatus includes an image data acquisition unit that acquires an image signal represented in a first luminance space, a luminance space conversion unit that converts an image signal into a signal represented in a second luminance space, An image output unit that outputs an image signal represented in the luminance space to a display device, and the luminance space conversion unit sets a parameter used for signal conversion to a predetermined value corresponding to a display state on the display device.
  • a parameter adjustment unit that adjusts based on information is provided, and a signal is converted using the adjusted parameter.
  • the “luminance space” is a space that determines a conversion rule when the luminance value is represented by a signal having a predetermined number of bits
  • the “first luminance space” and the “second luminance space” are, for example, the luminance of the SDR.
  • the first and second luminance spaces are not limited to this, and the specific values of the ranges are not limited as long as the maximum luminance range that can be expressed in each luminance space is different.
  • Another aspect of the present invention relates to an image processing method.
  • the information processing apparatus uses parameters used to convert the signal of the image represented in the first luminance space into the signal represented in the second luminance space according to the display state on the display device.
  • a step of adjusting based on predetermined information a step of acquiring a signal of an image to be displayed represented in the first luminance space; and a second step of adjusting the acquired signal of the image to be displayed using a parameter after adjustment.
  • an image can always be displayed in a suitable state regardless of the luminance range assumed at the time of image creation.
  • FIG. 1 shows a configuration example of an information processing system in the present embodiment.
  • the information processing system includes an information processing device 10, an input device 14, and a display device 16.
  • the information processing apparatus 10 may be connectable to a server or the like that provides various contents via a network 8 such as the Internet.
  • the input device 14 detects general physical devices such as a controller, a keyboard, a mouse, a joystick, and a touch pad, an imaging device that captures the real world such as a user, a microphone that acquires sound, and various physical values.
  • a sensor or any combination thereof may be used.
  • the display device 16 is realized by a liquid crystal display, a plasma display, an organic EL display, or the like that displays an image. Further, a speaker that outputs sound may be provided.
  • the input device 14 and the display device 16 may be connected to the information processing device 10 by a wired cable, or may be wirelessly connected by a wireless LAN (Local Area Network) or the like. Further, the external shapes of the input device 14, the display device 16, and the information processing device 10 are not limited to those illustrated in the drawings, and for example, two or more of them may be integrally formed.
  • the information processing apparatus 10 receives a signal related to a user operation from the input apparatus 14, performs processing according to the signal, generates display image data, and outputs the display image data to the display apparatus 16.
  • the information processing apparatus 10 may be a game machine, a personal computer, a tablet terminal, a mobile terminal, a mobile phone, or the like.
  • the contents of the processing performed by the information processing apparatus 10 may vary depending on the form of the information processing apparatus 10 and the application selected by the user.
  • the information processing apparatus 10 advances an electronic game designated by the user according to a user operation, and generates and outputs data of the game screen at a predetermined frame rate.
  • moving image data may be acquired from the server via the network 8, and sequentially decoded and output.
  • the purpose of use of the information processing apparatus 10 may be various, and the content of information processing to be performed differs accordingly.
  • a description will be given with a focus on a technique for suitably displaying an image of content generated as a result of such information processing, an image representing information to be presented, and the like.
  • FIG. 2 schematically shows an example of an image generated by the information processing apparatus 10 in the present embodiment.
  • the main image 200a is an image that is mainly displayed, such as a game or a moving image.
  • the additional image 200b is an image that is temporarily displayed as necessary, and the illustrated example includes a dialog box that allows the user to input an address and a password for login.
  • the information processing apparatus 10 superimposes the additional image 200b including the dialog box on the main image 200a that was originally displayed, and generates and outputs a display image 202.
  • the main image 200a by making the main image 200a visible through the additional image 200b in as large an area as possible, it is possible to suitably fuse necessary information without interrupting the world view of the main image 200a such as a game or a movie. it can. Furthermore, if the transparency of the additional image 200b is changed with time, it is possible to produce an effect that the dialog box gradually appears or disappears.
  • the luminance F out of each pixel of the display image 202 can be determined by an alpha blend process represented by the following expression.
  • F out (1 ⁇ ) Fb 1 + ⁇ Fb 2 (Formula 1)
  • Fb 1 and Fb 1 are the luminances of the corresponding pixels in the main image 200a and the additional image 200b, respectively
  • is a general ⁇ value set for the corresponding pixel of the additional image 200b, that is, 0 or more indicating transparency. .0 or less.
  • the color of the additional image 200b gradually becomes darker from the state where only the main image 200a is displayed, and finally the additional image 200b becomes opaque. Will be displayed. If the ⁇ value is an intermediate value larger than 0 and smaller than 1.0, the additional image 200b becomes translucent with a density corresponding to the numerical value, and the main image 200a can be seen through.
  • the luminances Fb 1 and Fb 2 are set for each of the three channels. In the present embodiment, these are collectively referred to as luminances Fb 1 and Fb 2 .
  • luminances Fb 1 and Fb 2 are collectively referred to as luminances Fb 1 and Fb 2 .
  • the luminance values Fb 1 , Fb 2, and ⁇ value are set for each pixel, strictly speaking, although it depends on the two-dimensional position coordinates (x, y) on the image plane, Equation 1 applies to the pixels at the same position. The position coordinates are not shown because such calculation is assumed. The following description is also the same.
  • Formula 1 is a calculation formula that does not consider the ⁇ value of the main image 200a. However, when the background image is further set and the transparency is also set for the main image 200a, the following formula is used for each pixel of the display image 202.
  • the luminance F out can be calculated.
  • ⁇ 1 and ⁇ 2 are ⁇ values respectively set for the pixels of the main image 200a and the additional image 200b.
  • Expression 2 is expressed by Expression 1.
  • the space that defines the luminance differs between the main image 200a and the additional image 200b.
  • the additional image 200b is constantly generated by SDR, while the content to be processed is expressed by HDR.
  • SDR and HDR even if they are the same 10-bit luminance signal, the luminance values indicated by the signals are different. Therefore, a signal expressed in another luminance space cannot be directly substituted into Equation 1 or Equation 2, and it is necessary to unify the luminance space at any stage before that. This is not limited to SDR / HDR, but is the same if the luminance space of the image to be alpha blended is different.
  • the display device supports the HDR luminance range
  • the luminance of the additional image 200b is represented by the HDR space
  • the main image 200a is represented by You can keep a realistic view of the world expressed. In this embodiment, even if it is necessary to convert the luminance space of the image in this way, the influence on the color and brightness on the display is suppressed, and a good display is always performed.
  • the present invention can be similarly applied in a situation where the luminance space of the image to be processed needs to be converted due to the composition processing or the performance of the display device, and the appearance should not be changed by the conversion processing.
  • the present invention can be applied to a case where an image whose actual luminance range is within the SDR range needs to be redefined in the SDR luminance space.
  • FIG. 3 shows an image signal output from the information processing apparatus 10 and an outline of signal processing in the display device 16.
  • the information processing apparatus 10 outputs a luminance signal of an image generated or decoded internally to the display device 16 (L1 or L3).
  • This signal is obtained by converting an original luminance value into an electric signal having a predetermined number of bits such as 10 bits.
  • an optical-electric transfer function (OETF) corresponding to each of HDR and SDR is used.
  • the space defining the luminance signal thus output is HDR or SDR is displayed from the information processing apparatus 10 by using additional information of the signal or transmitting a mode switching request signal in advance.
  • the device 16 is notified.
  • the luminance value acquisition unit 208 converts the luminance signal into a luminance value using an electro-optical transfer function (EOTF).
  • EOTF differs depending on whether the received image signal is HDR or SDR, and is shown as EOTF_H and EOTF_S in the figure.
  • luminance values in different ranges such as 0 to 100 nit for SDR images and 0 to 10000 nit for HDR images can be obtained for each pixel.
  • the display unit 210 having a display panel in the order of pixels (L2 or L4), an image is displayed in each luminance range.
  • the luminance value acquisition unit 208 may select a luminance range so that the maximum luminance of the display device 16 is within the maximum luminance if the maximum luminance of the HDR image is higher than that. Adjust further.
  • the luminance signal of the SDR image is The information is input to the luminance space conversion unit 66 in the information processing apparatus 10 (L6).
  • the luminance space conversion unit 66 converts the signal into a luminance signal in the HDR space.
  • the details of the conversion process may vary depending on the standard to be adopted, but basically, the luminance signal before conversion is obtained by compressing the SDR luminance space and associating it with a part of the HDR luminance space. It is made to fall within the partial range in the converted HDR space.
  • FIG. 4 schematically shows how the luminance space is converted.
  • the left rectangle represents the SDR luminance space
  • the right rectangle represents the HDR luminance space.
  • the entire luminance space is represented in the range of 0 to 1.0, but in actuality, the data is a predetermined number of bits such as 10 bits.
  • the actual luminance represented in each luminance space is, for example, 0 to 100 nit for SDR and 0 to 10000 nit for HDR.
  • the entire SDR luminance space (0 to 1.0) falls within a partial range 0 to R (where 0 ⁇ R ⁇ 1.0) in the HDR luminance space.
  • the ratio R is set to, and the conversion rule is set under the conditions.
  • the actual conversion rule may be a linear conversion in which the luminance signal in the SDR space is uniformly multiplied by the ratio R, or a non-linear monotonically increasing function may be used. You may prepare the lookup table which represented the conversion rule as a table. Further, the luminance signal thus converted may be further converted as necessary.
  • the luminance signal (L7) of the image converted into the HDR space by the luminance space conversion unit 66 and the luminance signal (L5) of the image originally expressed in HDR are used as input values.
  • the synthesis processing unit 72 performs alpha blending processing using Formula 1 or Formula 2.
  • Fb 1, Fb 2 in Formula 1 or Formula 2 corresponding to the input of each L5, L7. It is assumed that the alpha value used for the alpha blend calculation is originally held by the synthesis processing unit 72 or is input separately.
  • the information processing apparatus 10 outputs a luminance signal representing an image (for example, the display image 202 in FIG. 2) generated as a result of the alpha blend process to the display apparatus 16 as an HDR image (L8).
  • the luminance value acquisition unit 208 of the display device 16 that has received the signal acquires a luminance value by EOTF corresponding to HDR and outputs the luminance value to the display unit 210 (L9). Accordingly, necessary information can be suitably displayed without deteriorating the world view of the content originally expressed in HDR and without changing the generation mechanism of the additional image assuming SDR.
  • the conversion process may affect the display result on the display device 16. That is, even if the original SDR images are used, the color and brightness may change between the signal input from L3 and the signal input from L8 even if the change in transparency is ignored. obtain. This is because the final luminance acquisition processing in the luminance value acquisition unit 208 differs depending on the manufacturer of the display device and the like, and the reversibility of the luminance signal obtained through the luminance space conversion processing is not guaranteed.
  • the color and brightness of the display image change depending on the presence / absence of the luminance space conversion process and the connected display device, which may cause the user to be uncomfortable or uncomfortable.
  • the originally intended image is stable regardless of the presence or absence of the luminance space conversion processing and the display device. To be displayed.
  • the same image expressed in each luminance space is actually displayed on the display device 16, and a user interface is provided so that the parameters can be adjusted while comparing them.
  • the information processing device 10 adjusts, when the same image expressed in each luminance space is displayed, the difference between the luminance values actually output by the display device is acquired, and the parameters are set so that the difference is reduced. adjust.
  • FIG. 5 shows the internal circuit configuration of the information processing apparatus 10.
  • the information processing apparatus 10 includes a CPU (Central Processing Unit) 23, a GPU (Graphics Processing Unit) 24, and a main memory 26. These units are connected to each other via a bus 30.
  • An input / output interface 28 is further connected to the bus 30.
  • the input / output interface 28 includes a communication unit 32 including a peripheral device interface such as USB and IEEE1394, a wired or wireless LAN network interface connected to the network 8, a storage unit 34 such as a hard disk drive or a nonvolatile memory, and a display device.
  • an input unit 38 for inputting data from the input device 14 and a recording medium driving unit 40 for driving a removable recording medium such as a magnetic disk, an optical disk or a semiconductor memory are connected.
  • the CPU 23 controls the entire information processing apparatus 10 by executing the operating system stored in the storage unit 34.
  • the CPU 23 also executes various programs read from the removable recording medium and loaded into the main memory 26 or downloaded via the communication unit 32.
  • the communication unit 32 also establishes communication with an external device such as a server via the network 8 to acquire electronic content data such as a moving image or transmit data generated inside the information processing device 10. Also good.
  • the GPU 24 has a function of a geometry engine and a function of a rendering processor, performs a drawing process according to a drawing command from the CPU 23, and stores display image data in a frame buffer (not shown).
  • the display image stored in the frame buffer is converted into a video signal and output from the output unit 36, thereby causing the display device 16 to display the image.
  • the main memory 26 is composed of RAM (Random Access Memory) and stores programs and data necessary for processing.
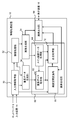
  • FIG. 6 shows a functional block configuration of the information processing apparatus 10.
  • Each functional block shown in FIG. 6 and FIG. 7 to be described later can be realized in terms of hardware by the configuration of the CPU, GPU, various memories, data bus, etc. shown in FIG.
  • the program loaded in the memory is realized by a program that exhibits various functions such as a data input function, a data holding function, an arithmetic function, an image processing function, and a communication function. Therefore, it is understood by those skilled in the art that these functional blocks can be realized in various forms by hardware only, software only, or a combination thereof, and is not limited to any one.
  • the information processing apparatus 10 includes an input information acquisition unit 50 that acquires input information from the input device 14, an information processing unit 52 that performs information processing according to a user operation such as a game, an image generation unit 54 that generates data of a main image, A superimposition data generation unit 56 that generates the additional image and ⁇ value data, a main image, an image synthesis unit 58 that synthesizes the additional image, and an image output unit 60 that outputs display image data to the display device 16 are included.
  • a user operation such as a game
  • an image generation unit 54 that generates data of a main image
  • a superimposition data generation unit 56 that generates the additional image and ⁇ value data
  • a main image an image synthesis unit 58 that synthesizes the additional image
  • an image output unit 60 that outputs display image data to the display device 16 are included.
  • the input information acquisition unit 50 is realized by the input unit 38, the CPU 23, and the like, and acquires data indicating the contents of the user operation from the input device 14.
  • the user operation may be performed on a general information processing apparatus, such as selection of an application to be executed or content to be output, start / end of processing, command input, and the like.
  • a display request for various information represented as an additional image is included.
  • the input information acquisition unit 50 also acquires the contents of the user operation related to the adjustment in the mode for adjusting the parameters used for the conversion of the luminance space described above.
  • the input information acquisition unit 50 may acquire data such as a captured image and an output value of the sensor.
  • the input information acquisition unit 50 may also acquire electronic content data such as a moving image from a server via the network 8.
  • the input information acquisition unit 50 appropriately supplies the acquired data to the information processing unit 52, the superimposed data generation unit 56, and the image composition unit 58 according to the contents.
  • the information processing unit 52 is realized by the CPU 23, the main memory 26, and the like, and performs information processing such as a game based on data supplied from the input information acquisition unit 50. As described above, the content of the process performed by the information processing unit 52 is not particularly limited as long as it includes image display.
  • the image generation unit 54 is realized by the GPU 24, the main memory 26, and the like, and generates main image data in accordance with a request from the information processing unit 52. For example, when the information processing unit 52 executes a game, the image generation unit 54 draws a game image according to a user operation, a sensor output value, or the like at a predetermined frame rate.
  • the image generation unit 54 may decode and expand the moving image data designated by the information processing unit 52.
  • the data of the moving image may be held in the information processing apparatus 10, may be streamed from the server via the network 8, or may be captured on the spot by the imaging apparatus.
  • the data finally generated by the image generation unit 54 is a luminance signal expressed in one of the HDR and SDR spaces.
  • the image generation unit 54 outputs the generated main image data to the image output unit 60.
  • the image generation unit 54 outputs the generated main image data to the image composition unit 58.
  • the superimposed data generation unit 56 is realized by the CPU 23, the GPU 24, the main memory 26, and the like, and generates additional image data as necessary.
  • the additional image may be displayed at any time by being called by the user, or may be displayed at a timing determined by the information processing unit 52 according to the progress of the game or the moving image. Alternatively, it may be displayed constantly at one corner of the screen.
  • image data held inside may be used, or data acquired by the input information acquisition unit 50 from an external device such as an imaging device or a server may be used.
  • the data finally generated by the superimposed data generation unit 56 is a luminance signal expressed in the SDR space.
  • the superimposition data generation unit 56 determines, for each pixel, an ⁇ value that determines the transparency with which the additional image is displayed, in association with the additional image.
  • the additional image may gradually appear or disappear by changing the ⁇ value with time.
  • the superimposed data generation unit 56 outputs the generated additional image data and the ⁇ image data having the ⁇ value as the pixel value to the image synthesis unit 58.
  • the image generation unit 54 also outputs ⁇ image data to be set for the image to the image composition unit 58.
  • the image composition unit 58 is realized by the CPU 23, the GPU 24, the main memory 26, and the like.
  • the image composition unit 58 may be realized as an image composition device that superimposes data of two images and outputs a display image.
  • the image composition unit 58 includes a superimposition data acquisition unit 62 that acquires superimposition data, a main image data acquisition unit 64 that acquires main image data, a luminance space conversion unit 66 that converts a luminance space, and an alpha blend process.
  • a synthesis processing unit 72 that generates display image data.
  • the superimposition data acquisition unit 62 acquires the luminance signal of the additional image and the ⁇ image data having the ⁇ value as the pixel value from the superimposition data generation unit 56.
  • the main image data acquisition unit 64 acquires the luminance signal of the main image from the image generation unit 54 and supplies it to the synthesis processing unit 72.
  • the main image data acquisition unit 64 determines whether or not it is necessary to convert the luminance space of the additional image based on the luminance space of the main image specified by data analysis or the like.
  • the main image data acquisition unit 64 determines that the luminance space of the additional image needs to be converted.
  • the present embodiment is not limited to this, and if the space defining the brightness is different, it is determined that the conversion is necessary regardless of the difference in SDR / HDR.
  • the additional image is generated by an algorithm somewhat fixed in the information processing apparatus, while the main image is created with a high degree of freedom on the content providing side, such a situation can often occur.
  • the main image data acquisition unit 64 When it is necessary to convert the luminance space, the main image data acquisition unit 64 notifies the superimposed data acquisition unit 62 to that effect.
  • the superimposition data acquisition unit 62 notified of the luminance space of the main image from the main image data acquisition unit 64 may determine the necessity of conversion in view of both the main image and the additional image.
  • the superimposition data acquisition unit 62 switches the supply destination of the acquired data depending on whether or not the luminance space needs to be converted. Specifically, when it is not necessary to convert the luminance space, the superimposed data acquisition unit 62 supplies the acquired data to the synthesis processing unit 72 as it is. When it is necessary to convert the luminance space, the superimposed data acquisition unit 62 supplies the acquired data to the luminance space conversion unit 66.
  • the composition processing unit 72 displays the data and the main image data acquired from the main image data acquisition unit 64 by substituting the data into the above Equation 1 or Equation 2.
  • the pixel value of the image is calculated. In the assumed example, this situation occurs when both the main image and the additional image are luminance signals defined in the SDR space, so the calculated pixel value is also the luminance signal in the SDR space.
  • the pixel value of the display image can be calculated as it is. In this case, the calculated pixel value is a luminance signal in the HDR space.
  • the luminance space conversion unit 66 has a function equivalent to that of the luminance space conversion unit 66 shown in FIG. 3 and converts the luminance space of the additional image supplied from the superimposed data acquisition unit 62.
  • the luminance signal defined in the SDR space is converted into the HDR signal.
  • the luminance space conversion unit 66 further provides an interface for accepting adjustment of parameters used for conversion from the user. Specifically, an adjustment image defined in the SDR luminance space is prepared and stored in an internal memory. Then, the image displayed on the display device 16 can be compared between the case where the image is output as the SDR luminance signal and the case where the image is output after being converted into the HDR luminance signal.
  • the user outputs the SDR luminance signal as it is, converts the displayed image into an HDR luminance signal, outputs the displayed image, and performs an adjustment operation until the displayed image has a substantially equivalent appearance. If the optimum parameters are determined in this way, in the subsequent processing, regardless of the processing in the display device 16 and whether the main image is SDR or HDR, the same color and brightness are used. The additional image can be displayed in a superimposed manner.
  • the luminance space conversion unit 66 may adjust the parameter itself.
  • the brightness when the display device 16 actually causes the display panel to emit light is output between the case where the adjustment image is output as the SDR luminance signal and the case where the image is output after being converted into the HDR luminance signal.
  • the luminance value output from the luminance value acquisition unit 208 shown in FIG. 3 is fed back to the information processing apparatus 10, and the luminance space conversion unit 66 adjusts the parameters so that the difference in luminance value in each luminance space becomes small.
  • the luminance value may be compared by a predetermined pixel, or may be compared by a statistical process such as comparing the average luminance value of the entire image for each color. Those skilled in the art will understand that various methods for numerically comparing the overall color and brightness of an image can be considered.
  • the luminance space conversion unit 66 When a condition that requires adjustment is satisfied, such as when the display device 16 is newly connected to the information processing apparatus 10, the luminance space conversion unit 66 notifies the user via the image output unit 60 and the display device 16. Make a notification. When the user inputs an instruction to start adjustment accordingly, the mode shifts to a parameter adjustment mode. Alternatively, the adjustment mode may be activated when the user feels necessity. Regardless of the adjustment by the user or the adjustment by the luminance space conversion unit 66, the parameters determined after the adjustment are held in the internal memory, and thereafter, the luminance space is converted using the parameters.
  • the luminance space converting unit 66 supplies the additional image signal and the ⁇ image data obtained by converting the luminance space using the adjusted parameters to the synthesis processing unit 72. Even when data is acquired from the luminance space conversion unit 66, the composition processing unit 72 substitutes the data and the main image data acquired from the main image data acquisition unit 64 into the above-described Expression 1 or Expression 2 to display images. The pixel value of is calculated. In this case, since both the main image and the additional image are luminance signals defined in the HDR space, the calculated pixel value is also an HDR space luminance signal.
  • the composition processing unit 72 has a function equivalent to that of the composition processing unit 72 shown in FIG.
  • the composition processing unit 72 outputs the calculated result to the image output unit 60.
  • the image output unit 60 is realized by the GPU 24, the main memory 26, the output unit 36, and the like.
  • the image output unit 60 receives the main image data supplied from the image generation unit 54 or the image data superimposed with the additional image supplied from the image composition unit 58. And sequentially output to the display device 16 at an appropriate timing.
  • the image output unit 60 also acquires the adjustment screen data from the luminance space conversion unit 66 and outputs it to the display device 16 in the adjustment mode of the parameters used for conversion of the luminance space.
  • the image output unit 60 further acquires information on the actual luminance value when the adjustment image is displayed in each luminance space from the display device 16, and the luminance space This is supplied to the conversion unit 66.
  • the luminance value acquisition unit 208 uses an appropriate EOTF depending on whether the luminance signal of the transmitted image is HDR or SDR. Get the brightness of the pixel. An image is displayed in the HDR or SDR luminance range by outputting line by line from the display panel of the display unit 210.
  • FIG. 7 shows the configuration of the functional blocks of the luminance space conversion unit 66 in more detail.
  • the luminance space conversion unit 66 includes a linear data acquisition unit 80, a luminance signal conversion unit 82, a conversion parameter storage unit 84, a parameter adjustment unit 86, and an adjustment image storage unit 88.
  • the linear data acquisition unit 80 acquires, from the superimposed data acquisition unit 62, luminance signal data and ⁇ image data of an image that needs to be converted in the luminance space.
  • the luminance signal is generally subjected to non-linear conversion such as gamma correction. Therefore, a signal having a linear change with respect to the original luminance is obtained by performing the reverse conversion.
  • the luminance signal converter 82 converts the luminance signal thus obtained into a luminance signal in the HDR space. That is, as described with reference to FIG. 4, the conversion is performed according to the rules set in the direction of compressing the original signal. In the conversion, the parameters stored in the conversion parameter storage unit 84 are referred to.
  • the finally obtained luminance signal is, for example, ITU-R BT.
  • the parameter adjustment unit 86 receives an adjustment operation of the parameter from the user in the adjustment mode of the parameter used for conversion of the luminance space. Alternatively, it performs parameter adjustment processing by itself. Both may be implemented alternatively, or both may be selectable as being feasible. In the former case, as described above, the parameter adjustment unit 86 converts the adjustment image data stored in the adjustment image storage unit 88 into the HDR luminance space when the SDR luminance signal is displayed as it is. The display image can be compared with the case where it is displayed.
  • the parameter adjustment unit 86 causes the linear data acquisition unit 80 and the luminance signal conversion unit 82 to perform the same processing as described above on the image data for adjustment. Since there is no need for the synthesis process in the adjustment mode, the parameter adjustment unit 86 directly inputs the image signal represented in each luminance space to the image output unit 60 and causes the display device 16 to output it.
  • the data output here corresponds to the data of L3 and L7 shown in FIG.
  • the display device 16 converts the luminance signal expressed in the SDR space or the HDR space into a luminance value by EOTF corresponding to each luminance space, and displays the luminance value.
  • the parameter adjusting unit 86 changes the parameters used for the conversion of the luminance space at any time according to the adjustment operation from the user and reflects them in the display. Then, the parameters at the time when the user performs the confirmation operation are stored in the conversion parameter storage unit 84 so that they can be referred to in the subsequent conversion processing.
  • the process for causing the display device 16 to display the adjustment image represented in each luminance space is the same.
  • the actual luminance value when each image is displayed as described above is acquired from the display device 16, and the parameter when the difference is minimized is stored in the conversion parameter storage unit 84.
  • the parameter to be adjusted by the parameter adjusting unit 86 is not limited as long as it affects the conversion rule of the luminance space and can adjust the color and brightness after conversion.
  • the ratio R in the HDR luminance space may be associated with the upper limit of the SDR luminance space shown in FIG.
  • the transfer function and the color space differ between an environment for processing an SDR image and an environment for processing an HDR image.
  • the actually displayed image has a unique color depending on the manufacturer of the display device, and therefore it is difficult to logically derive an appropriate ratio R that does not change the impression before and after conversion of the luminance space. .
  • the ratio R can be adjusted according to the actual situation, so that the color given to the entire image to be converted can be obtained without adjusting the conversion rule of the intermediate value of the luminance signal in detail
  • the impression of taste and brightness can be changed efficiently. That is, by changing the ratio R, the entire function can be changed even if the conversion rule is a non-linear function.
  • the adjustment parameter is not intended to be limited to the ratio R, but may be one or more parameters included in or affecting the conversion function.
  • a plurality of conversion lookup tables may be prepared, and the table to be used may be changed according to the adjustment.
  • FIG. 8 illustrates an adjustment screen that the parameter adjustment unit 86 presents to the user in a parameter adjustment mode used for conversion of the luminance space.
  • the adjustment screen 100 displays an adjustment image in the entire area, and displays a luminance space switching button 102 and an adjustment slide bar 106 as a GUI (Graphical User Interface).
  • the adjustment image is a predetermined photographed image, a drawn image by computer graphics, or the like defined in the SDR luminance space. Simpler colors and graphic patterns may be used.
  • the parameter adjusting unit 86 When the button labeled “SDR” among the luminance space switching buttons 102 is operated, the parameter adjusting unit 86 outputs the adjustment image as it is in the SDR luminance space. This corresponds to the output of L3 in FIG. In this case, the display device 16 processes and displays the acquired data as SDR data. On the other hand, when a button labeled “HDR” among the luminance space switching buttons 102 is operated, the parameter adjustment unit 86 converts the adjustment image into data in the HDR luminance space and outputs the data.
  • the display device 16 processes and displays the acquired data as HDR data.
  • the adjustment slide bar 106 can be operated only when an image in the HDR luminance space is displayed. The user compares the image displayed when the “HDR” button is operated with the image displayed when the “SDR” button is operated, and adjusts if the impression of color and brightness is different. The handle of the slide bar 106 is moved up and down.
  • the parameter adjustment unit 86 changes the parameter to be adjusted, such as the ratio R, according to the adjustment operation, converts the luminance space again, and immediately displays it on the display device 16.
  • the user repeats the adjustment operation while viewing the changing image, and when no difference is felt between the two images, the user performs a confirmation operation by an operation means (not shown).
  • the parameter adjustment unit 86 stores the parameter at that time in the conversion parameter storage unit 84.
  • the luminance signal conversion unit 82 uses the stored parameters in the subsequent conversion processing.
  • the adjustment screen shown in FIG. 8 is merely an example, and the specific means is not limited as long as the switching of the luminance space and the adjustment of the parameters can be performed intuitively and easily.
  • these means may be assigned to the hardware key of the input device 14. Further, depending on the parameter to be adjusted, it does not cause a continuous change like a slide bar, but may be adjusted using a GUI or operation means for switching the selection target from a plurality of candidates.
  • FIG. 9 shows an outline of an image signal output from the information processing apparatus 10 and signal processing in the display apparatus 16 in such a case.
  • the luminance signal of the image is directly input to the luminance space conversion unit 66 (L10).
  • the luminance space conversion unit 66 converts the acquired luminance signal into a luminance signal in the HDR space and outputs the luminance signal to the display device 16 (L11).
  • the function of the luminance space conversion unit 66 is the same as that described with reference to FIG. Therefore, the converted parameter stored in the conversion parameter storage unit 84 is used for the conversion.
  • the luminance value acquisition unit 208 of the display device 16 converts the acquired luminance signal into a luminance value using EOTF corresponding to HDR, and sequentially outputs the luminance signal to the display unit 210 (L12).
  • the data in which the original image is expressed in SDR can be processed in the display device 16 in the same manner as the HDR image, and the displayed image follows the original color and brightness. It will be a thing.
  • individual content such as a game expressed in SDR can be displayed on an HDR-compatible display device without the need to switch processing on the display device, and is not affected by differences in display processing. It can be displayed in the same way.
  • individual content such as a game expressed in SDR
  • it can be displayed in the same way.
  • by holding and sharing the optimum conversion parameters on the information processing apparatus side it is possible to save time and effort such as setting parameters inside individual contents in accordance with the assumed display apparatus.
  • the parameters used for the conversion can be adjusted according to the actual display state.
  • a user interface is provided in which a display image processed in the original luminance space is actually compared with an image displayed through the luminance space conversion process, and parameters can be adjusted with an easy operation.
  • the actual brightness of the displayed image is acquired from the display device, and the parameters are adjusted on the information processing device side.
  • an additional image expressed in SDR can be superimposed and displayed with the same appearance and transparency.
  • the parameter optimized by one adjustment can be used in common regardless of the content, it is possible to easily correspond to a display device assuming various luminance spaces without setting the parameter inside the content. .
  • the present invention can be used for various information processing devices such as game devices, image processing devices, portable terminals, and electronic content processing devices, and information processing systems including them.

Landscapes

  • Engineering & Computer Science (AREA)
  • Physics & Mathematics (AREA)
  • General Physics & Mathematics (AREA)
  • Theoretical Computer Science (AREA)
  • Computer Hardware Design (AREA)
  • Multimedia (AREA)
  • Signal Processing (AREA)
  • Controls And Circuits For Display Device (AREA)
  • Image Processing (AREA)
  • Television Receiver Circuits (AREA)
PCT/JP2017/035646 2016-10-06 2017-09-29 情報処理装置および画像処理方法 Ceased WO2018066482A1 (ja)

Priority Applications (1)

Application Number Priority Date Filing Date Title
US16/335,389 US10733963B2 (en) 2016-10-06 2017-09-29 Information processing apparatus and image processing method

Applications Claiming Priority (2)

Application Number Priority Date Filing Date Title
JP2016197850A JP6855205B2 (ja) 2016-10-06 2016-10-06 情報処理装置および画像処理方法
JP2016-197850 2016-10-06

Publications (1)

Publication Number Publication Date
WO2018066482A1 true WO2018066482A1 (ja) 2018-04-12

Family

ID=61831747

Family Applications (1)

Application Number Title Priority Date Filing Date
PCT/JP2017/035646 Ceased WO2018066482A1 (ja) 2016-10-06 2017-09-29 情報処理装置および画像処理方法

Country Status (3)

Country Link
US (1) US10733963B2 (enExample)
JP (1) JP6855205B2 (enExample)
WO (1) WO2018066482A1 (enExample)

Cited By (4)

* Cited by examiner, † Cited by third party
Publication number Priority date Publication date Assignee Title
WO2020155072A1 (zh) * 2019-01-31 2020-08-06 华为技术有限公司 一种混合图层处理方法及装置
WO2020213366A1 (ja) * 2019-04-16 2020-10-22 株式会社ソニー・インタラクティブエンタテインメント 画像生成装置および画像生成方法
WO2021015876A1 (en) * 2019-07-25 2021-01-28 Microsoft Technology Licensing, Llc Controlling display brightness when rendering composed scene-referred and output-referred content
WO2021016234A1 (en) * 2019-07-25 2021-01-28 Google Llc Oled display with different spatial gamma

Families Citing this family (10)

* Cited by examiner, † Cited by third party
Publication number Priority date Publication date Assignee Title
EP3462743A1 (en) * 2017-09-27 2019-04-03 Thomson Licensing Device and method for dynamic range expansion in a virtual reality scene
TW201946445A (zh) * 2018-04-30 2019-12-01 圓剛科技股份有限公司 影像處理方法
JP7199158B2 (ja) * 2018-05-23 2023-01-05 キヤノン株式会社 画像処理装置およびその制御方法ならびにプログラム
JP7098475B2 (ja) 2018-08-07 2022-07-11 キヤノン株式会社 画像処理装置、画像処理方法、およびプログラム
JP6764446B2 (ja) * 2018-08-09 2020-09-30 株式会社ソニー・インタラクティブエンタテインメント 画像処理装置およびキャリブレーション方法
US10832389B2 (en) * 2018-12-13 2020-11-10 Ati Technologies Ulc Method and system for improved visibility in blended layers for high dynamic range displays
JP7565748B2 (ja) * 2020-06-24 2024-10-11 キヤノン株式会社 画像生成装置、カメラ、制御方法およびプログラム
US11508296B2 (en) * 2020-06-24 2022-11-22 Canon Kabushiki Kaisha Image display system for displaying high dynamic range image
KR102766426B1 (ko) * 2020-08-31 2025-02-12 삼성전자주식회사 고해상도 디스플레이를 위한 영상 처리 장치, 영상 처리 방법 및 이를 포함하는 어플리케이션 프로세서
CN116957945A (zh) * 2022-04-12 2023-10-27 北京字跳网络技术有限公司 图像处理方法、装置、设备、存储介质和程序产品

Citations (5)

* Cited by examiner, † Cited by third party
Publication number Priority date Publication date Assignee Title
JP2014519221A (ja) * 2011-04-28 2014-08-07 コーニンクレッカ フィリップス エヌ ヴェ 映像符号化信号を発生する方法及び装置
JP2015005878A (ja) * 2013-06-20 2015-01-08 ソニー株式会社 再生装置、再生方法、および記録媒体
WO2016027423A1 (ja) * 2014-08-19 2016-02-25 パナソニックIpマネジメント株式会社 伝送方法、再生方法及び再生装置
WO2016038950A1 (ja) * 2014-09-11 2016-03-17 ソニー株式会社 画像処理装置及び画像処理方法
JP2016195379A (ja) * 2016-01-05 2016-11-17 ソニー株式会社 ビデオシステム、ビデオ処理方法、プログラム、カメラシステムおよびビデオコンバーター

Family Cites Families (4)

* Cited by examiner, † Cited by third party
Publication number Priority date Publication date Assignee Title
US8207931B2 (en) * 2007-05-31 2012-06-26 Hong Kong Applied Science and Technology Research Institute Company Limited Method of displaying a low dynamic range image in a high dynamic range
JP2016058848A (ja) 2014-09-08 2016-04-21 ソニー株式会社 画像処理装置及び画像処理方法
US10366672B2 (en) * 2014-12-11 2019-07-30 Koninklijke Philips N.V. Optimizing high dynamic range images for particular displays
JP2016149693A (ja) * 2015-02-13 2016-08-18 ソニー株式会社 情報処理装置、情報処理方法、およびプログラム、並びに記録媒体

Patent Citations (5)

* Cited by examiner, † Cited by third party
Publication number Priority date Publication date Assignee Title
JP2014519221A (ja) * 2011-04-28 2014-08-07 コーニンクレッカ フィリップス エヌ ヴェ 映像符号化信号を発生する方法及び装置
JP2015005878A (ja) * 2013-06-20 2015-01-08 ソニー株式会社 再生装置、再生方法、および記録媒体
WO2016027423A1 (ja) * 2014-08-19 2016-02-25 パナソニックIpマネジメント株式会社 伝送方法、再生方法及び再生装置
WO2016038950A1 (ja) * 2014-09-11 2016-03-17 ソニー株式会社 画像処理装置及び画像処理方法
JP2016195379A (ja) * 2016-01-05 2016-11-17 ソニー株式会社 ビデオシステム、ビデオ処理方法、プログラム、カメラシステムおよびビデオコンバーター

Cited By (14)

* Cited by examiner, † Cited by third party
Publication number Priority date Publication date Assignee Title
WO2020155072A1 (zh) * 2019-01-31 2020-08-06 华为技术有限公司 一种混合图层处理方法及装置
JP7083319B2 (ja) 2019-04-16 2022-06-10 株式会社ソニー・インタラクティブエンタテインメント 画像生成装置および画像生成方法
WO2020213366A1 (ja) * 2019-04-16 2020-10-22 株式会社ソニー・インタラクティブエンタテインメント 画像生成装置および画像生成方法
JP2020177086A (ja) * 2019-04-16 2020-10-29 株式会社ソニー・インタラクティブエンタテインメント 画像生成装置および画像生成方法
CN113678192B (zh) * 2019-04-16 2024-03-26 索尼互动娱乐股份有限公司 图像生成装置和图像生成方法
US11749232B2 (en) 2019-04-16 2023-09-05 Sony Interactive Entertainment Inc. Image generation apparatus and image generation method
EP3958248A4 (en) * 2019-04-16 2023-01-18 Sony Interactive Entertainment Inc. IMAGE FORMING DEVICE AND IMAGE FORMING METHOD
CN113678192A (zh) * 2019-04-16 2021-11-19 索尼互动娱乐股份有限公司 图像生成装置和图像生成方法
WO2021015876A1 (en) * 2019-07-25 2021-01-28 Microsoft Technology Licensing, Llc Controlling display brightness when rendering composed scene-referred and output-referred content
CN114026632A (zh) * 2019-07-25 2022-02-08 谷歌有限责任公司 具有不同空间伽马的oled显示器
US11049228B2 (en) 2019-07-25 2021-06-29 Microsoft Technology Licensing, Llc Controlling display brightness when rendering composed scene-referred and output-referred content
US10964289B2 (en) 2019-07-25 2021-03-30 Google Llc OLED display with different spatial gamma
WO2021016234A1 (en) * 2019-07-25 2021-01-28 Google Llc Oled display with different spatial gamma
CN114026632B (zh) * 2019-07-25 2024-04-26 谷歌有限责任公司 具有不同空间伽马的oled显示器

Also Published As

Publication number Publication date
JP2018060075A (ja) 2018-04-12
JP6855205B2 (ja) 2021-04-07
US20190287494A1 (en) 2019-09-19
US10733963B2 (en) 2020-08-04

Similar Documents

Publication Publication Date Title
JP6855205B2 (ja) 情報処理装置および画像処理方法
US11222410B2 (en) Image display apparatus
US8749712B2 (en) Method for processing on-screen display and associated embedded system
JPWO2008016149A1 (ja) 画像表示制御装置、および、画像表示制御方法
JP6053345B2 (ja) 送信装置、映像表示装置、送信方法、映像表示方法、及びプログラム
US11094286B2 (en) Image processing apparatus and image processing method
JP7254477B2 (ja) 表示装置およびその制御方法
US11749232B2 (en) Image generation apparatus and image generation method
JP6349355B2 (ja) 画像合成装置、情報処理装置、および画像合成方法
JP6021356B2 (ja) 画像表示装置及びその制御方法
WO2020012643A1 (ja) 多画面表示調整システムおよび多画面表示調整方法
KR20190132072A (ko) 전자장치, 그 제어방법 및 기록매체
JP2006314014A (ja) 表示システム
US12118963B2 (en) Display controller and image display method
CN117812317A (zh) 显示设备、显示控制方法、装置及存储介质
JP5669456B2 (ja) 画像表示装置及びその制御方法
JP2005208126A (ja) 画像処理装置および画像処理方法
US11483512B2 (en) Display apparatus and operation method thereof
JP2010010846A (ja) 画質評価支援装置及び画質評価支援方法
JP2006301029A (ja) オンスクリーン表示装置及びオンスクリーンディスプレイ生成方法
JP2006303631A (ja) オンスクリーン表示装置及びオンスクリーンディスプレイ生成方法
JP2025004663A (ja) 画像処理装置、画像処理方法
JP2007279338A (ja) 映像信号処理装置、映像信号処理方法及び画像表示装置
US20140146236A1 (en) Calculating apparatus, calculating method, and non-transitory computer-readable storage medium storing computer-executable instructions
JP2006350374A (ja) 画像表示装置

Legal Events

Date Code Title Description
121 Ep: the epo has been informed by wipo that ep was designated in this application

Ref document number: 17858320

Country of ref document: EP

Kind code of ref document: A1

NENP Non-entry into the national phase

Ref country code: DE

122 Ep: pct application non-entry in european phase

Ref document number: 17858320

Country of ref document: EP

Kind code of ref document: A1