WO2018056035A1 - クッショニングプレート - Google Patents

クッショニングプレート Download PDF

Info

Publication number
WO2018056035A1
WO2018056035A1 PCT/JP2017/031768 JP2017031768W WO2018056035A1 WO 2018056035 A1 WO2018056035 A1 WO 2018056035A1 JP 2017031768 W JP2017031768 W JP 2017031768W WO 2018056035 A1 WO2018056035 A1 WO 2018056035A1
Authority
WO
WIPO (PCT)
Prior art keywords
fixing
fixed
friction facing
cushioning plate
plate
Prior art date
Legal status (The legal status is an assumption and is not a legal conclusion. Google has not performed a legal analysis and makes no representation as to the accuracy of the status listed.)
Ceased
Application number
PCT/JP2017/031768
Other languages
English (en)
French (fr)
Japanese (ja)
Inventor
寛章 加藤
裕己 藤本
Current Assignee (The listed assignees may be inaccurate. Google has not performed a legal analysis and makes no representation or warranty as to the accuracy of the list.)
Exedy Corp
Original Assignee
Exedy Corp
Priority date (The priority date is an assumption and is not a legal conclusion. Google has not performed a legal analysis and makes no representation as to the accuracy of the date listed.)
Filing date
Publication date
Application filed by Exedy Corp filed Critical Exedy Corp
Publication of WO2018056035A1 publication Critical patent/WO2018056035A1/ja
Anticipated expiration legal-status Critical
Ceased legal-status Critical Current

Links

Images

Classifications

    • FMECHANICAL ENGINEERING; LIGHTING; HEATING; WEAPONS; BLASTING
    • F16ENGINEERING ELEMENTS AND UNITS; GENERAL MEASURES FOR PRODUCING AND MAINTAINING EFFECTIVE FUNCTIONING OF MACHINES OR INSTALLATIONS; THERMAL INSULATION IN GENERAL
    • F16DCOUPLINGS FOR TRANSMITTING ROTATION; CLUTCHES; BRAKES
    • F16D13/00Friction clutches
    • F16D13/58Details
    • F16D13/60Clutching elements
    • F16D13/64Clutch-plates; Clutch-lamellae

Definitions

  • the present invention relates to a cushioning plate, and more particularly to a cushioning plate that is disposed on the outer periphery of a clutch disk assembly and that has friction facings fixed on both sides.
  • a clutch disk assembly used in an automobile or the like is disposed between an engine-side flywheel and a transmission-side main drive shaft.
  • a clutch disk assembly is disclosed in, for example, Patent Document 1 and the like, and includes a disk-like plate connected to a main drive shaft, a plurality of cushioning plates fixed to the outer periphery of the disk-like plate, and both sides of the cushioning plate. And a friction facing fixed to the cushioning plate by a rivet. When this friction facing is pressed against the side surface of the flywheel by the pressure plate of the clutch cover assembly, the torque of the flywheel is transmitted to the disc-shaped plate side.
  • the cushioning plate is bent into a wave shape.
  • the cushioning plate is elastically deformed. Thereby, the impact at the time of clutch-on is relieved.
  • An object of the present invention is to reduce the amount of wear by suppressing the occurrence of a partial high surface pressure portion in friction facing and improving the surface contact of the friction facing.
  • the cushioning plate according to the present invention is disposed on the outer periphery of the clutch disk assembly, and the friction facings are fixed on both sides.
  • the cushioning plate includes a first fixing portion, a second fixing portion, and an inclined portion.
  • the first fixing portion is formed flat so that the friction facing can be fixed to one surface.
  • the second fixing portion can fix the friction facing to the other surface, and is formed flat and in a step difference from the first fixing portion.
  • the inclined portion is provided integrally with both the fixing portions between the first fixing portion and the second fixing portion, and has a rigidity reduction portion that decreases the rigidity in the axial direction.
  • the inclined portion formed between the first fixed portion and the second fixed portion has a relatively low axial rigidity due to the reduced rigidity portion. For this reason, when the clutch disk is clamped and the cushioning plate is elastically deformed, the cushioning plate is more easily elastically deformed than the conventional one. For this reason, in the friction facing fixed to the cushioning plate, it is possible to suppress a partial increase in the surface pressure, the surface pressure of the friction facing can be made uniform as compared with the conventional, and the friction facing wear. The amount can be reduced.
  • the rigidity reduced portion of the inclined portion is a hole penetrating in the axial direction.
  • the rigidity of the inclined portion can be reduced with a simple configuration.
  • the boundary between the first fixed portion and the second fixed portion and the inclined portion is a curved surface.
  • the surface pressure of the friction facing can be made more uniform.
  • the rigidity reduced portion of the inclined portion is a notch formed in at least one of the outer peripheral portion and the inner peripheral portion of the inclined portion.
  • the rigidity of the inclined portion can be reduced with a simple configuration.
  • the occurrence of a partial high surface pressure portion in the friction facing can be suppressed, and the wear amount of the friction facing can be reduced.
  • FIG. 1 is a cross-sectional view of a clutch disk assembly that employs a cushioning plate according to an embodiment of the present invention.
  • the front view of a cushioning plate The figure which shows the structure of the attaching part of a cushioning plate and a friction facing.
  • the front fragmentary view of the cushioning plate by other embodiment of this invention.
  • FIG. 6 is a partial front view of a cushioning plate according to still another embodiment of the present invention.
  • FIG. 1 shows a clutch disk assembly 1 employing a cushioning plate according to an embodiment of the present invention.
  • the clutch disk assembly 1 is a device for transmitting and interrupting torque from the engine to the transmission.
  • OO is the rotational axis of the clutch disk assembly 1.
  • the clutch disk assembly 1 is mainly composed of a damper portion 2 and a clutch disk 3 provided on the outer periphery thereof.
  • the damper portion 2 mainly includes a clutch plate 5 and a retaining plate 6, a hub flange 7, a hub 8, a plurality of outer peripheral side torsion springs 9 and inner peripheral side torsion springs 10, and a hysteresis torque generating mechanism 11. ,have.
  • the clutch plate 5 and the retaining plate 6 are arranged to face each other with an interval in the axial direction.
  • the clutch plate 5 and the retaining plate 6 are connected by a stop pin 14 and are not rotatable relative to each other.
  • the clutch plate 5 and the retaining plate 6 and the hub flange 7 are relatively rotatable within an angle range restricted by the stop pin 14.
  • the outer peripheral side torsion spring 9 is disposed between the clutch plate 5 and the retaining plate 6 and elastically connects the plates 5 and 6 and the hub flange 7 in the rotational direction.
  • the hub flange 7 and the hub 8 are relatively rotatable within a predetermined angle range.
  • the inner peripheral torsion spring 10 elastically connects the hub flange 7 and the hub 8 in the rotational direction.
  • the hysteresis torque generating mechanism 11 generates a predetermined hysteresis torque when relative rotation occurs between the clutch plate 5 and the retaining plate 6 and the hub 8.
  • the clutch disk 3 includes an annular cushioning plate 16 and two friction facings 17.
  • the cushioning plate 16 includes a plurality of cushioning portions 161 arranged in the circumferential direction, an annular coupling portion 162 provided on the inner circumferential portion thereof, and an inner circumference of the coupling portion 162. And a plurality of mounting portions 163 provided on the side.
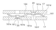
  • the cushioning part 161 is disposed between the first fixing part 161a and the second fixing part 161b, and between the first fixing part 161a and the second fixing part 161b, and a connecting inclined part (inclining part) that connects both the fixing parts 161a and 161b. ) 161c and end inclined portions 161d and 161e formed at both ends in the circumferential direction of the fixing portions 161a and 161b.
  • the first fixed portion 161a, the second fixed portion 161b, the connecting inclined portion 161c, and the end inclined portions 161d and 161e are formed by pressing a single plate and are integrally formed.
  • Each boundary portion with 161e is formed by a curved surface.
  • a through hole 161f is formed in the first fixing portion 161a, and a friction facing 17 is formed on one surface of the first fixing portion 161a by a rivet 20 passing through the through hole 161f. It is fixed.
  • the second fixing portion 161b is arranged in a circumferential direction with the first fixing portion 161a, and is arranged so as to be different from the first fixing portion 161a, that is, with a different position in the axial direction.
  • a through hole 161j is formed in the second fixing portion 161b, and the friction facing 17 is fixed to the other surface of the second fixing portion 161b by a rivet 20 that passes through the through hole 161j. Further, both the fixing portions 161a and 161b are flat.
  • FIG. 3 is a cross-sectional view of the cushioning plate 16 (specifically, the cushioning portion 161) and the friction facing 17 along a line along the circumferential direction at the mounting portion.
  • the connecting inclined portion 161c is formed between the first fixing portion 161a and the second fixing portion 161b in the circumferential direction. Since the connection inclination part 161c has connected the 1st fixing part 161a and the 2nd fixing part 161b from which the position of an axial direction differs, it inclines in the axial direction. As shown in FIG. 2, the outer peripheral portions of the first and second fixing portions 161a and 161b and the connecting inclined portion 161c are continuously formed so as to be smoothly joined in a substantially linear shape. Further, the inner peripheral portion of the second fixed portion 161b and the connecting inclined portion 61c is continuously formed so as to be smoothly connected substantially linearly.
  • a gap is formed between the inner peripheral portion of the second fixed portion 161b and the connecting inclined portion 161c and the outer peripheral portion of the annular connecting portion 162.
  • the inner peripheral portion of the first fixing portion 161 a is formed continuously with the annular coupling portion 162.
  • a hole (rigidity reduction portion) 164 penetrating in the axial direction is formed in the connecting inclined portion 161c.
  • the connecting inclined portion 161c is less rigid when a force is applied in the axial direction than when the through hole 164 is not formed.
  • One end inclined portion 161d is inclined so as to extend from the first fixed portion 161a toward the friction facing 17 fixed to the second fixed portion 161b.
  • the other end inclined portion 161e is inclined so as to extend from the second fixed portion 161b toward the friction facing 17 fixed to the first fixed portion 161a.
  • the annular connecting portion 162 is formed continuously in an annular shape, and is continuous with the inner peripheral portion of the first fixing portion 161a of the cushioning portion 161.
  • the attaching part 163 is formed by protruding a part of inner peripheral part of the annular connection part 162 further to the inner peripheral side.
  • a through hole 163a is formed in the attachment portion 163, and the stop pin 14 passes through the through hole 163a. Therefore, the cushioning plate 16 is fixed to the outer peripheral portion of the clutch plate 5 by the stop pin 14.
  • the cushioning plate 16 is pivoted as compared with the case where the through-hole is not formed in the connecting inclined portion 161c. It becomes easy to elastically deform in the direction. For this reason, it is possible to suppress a partial increase in surface pressure at the friction facing 17. Therefore, the wear amount of the friction facing 17 can be reduced.
  • FIG. 4 shows another embodiment of the connecting inclined portion.
  • a through hole is not formed in the connecting inclined portion, but the radial width of the connecting inclined portion 161 c ′ is narrowed. That is, notches (rigidity reduction portions) 165 and 166 are formed in the outer peripheral portion and the inner peripheral portion of the connection inclined portion 161c ′. Also according to such an embodiment, the same effect as the above-described embodiment can be obtained.
  • the configurations of the other fixing portions 161a 'and 161b', the annular connecting portion 162 ', and the attachment portion 163' are the same as in the above embodiment.
  • the through-hole 164 is formed only in the connecting inclined portion 161c. However, as shown in FIG. 5, the through-hole 164 'extends from the connecting inclined portion 161c to the first and second fixing portions 161a and 161b. You may make it form.
  • the cushioning plate of the present invention it is possible to suppress the occurrence of a partial high surface pressure portion in the friction facing, and to reduce the wear amount of the friction facing.

Landscapes

  • Engineering & Computer Science (AREA)
  • General Engineering & Computer Science (AREA)
  • Mechanical Engineering (AREA)
  • Mechanical Operated Clutches (AREA)
PCT/JP2017/031768 2016-09-26 2017-09-04 クッショニングプレート Ceased WO2018056035A1 (ja)

Applications Claiming Priority (2)

Application Number Priority Date Filing Date Title
JP2016-186611 2016-09-26
JP2016186611A JP2018053913A (ja) 2016-09-26 2016-09-26 クッショニングプレート

Publications (1)

Publication Number Publication Date
WO2018056035A1 true WO2018056035A1 (ja) 2018-03-29

Family

ID=61690863

Family Applications (1)

Application Number Title Priority Date Filing Date
PCT/JP2017/031768 Ceased WO2018056035A1 (ja) 2016-09-26 2017-09-04 クッショニングプレート

Country Status (2)

Country Link
JP (1) JP2018053913A (enExample)
WO (1) WO2018056035A1 (enExample)

Citations (3)

* Cited by examiner, † Cited by third party
Publication number Priority date Publication date Assignee Title
JPS6073933U (ja) * 1983-10-27 1985-05-24 トヨタ自動車株式会社 クラツチデイスク
DE19611186C1 (de) * 1996-03-21 1997-10-02 Fichtel & Sachs Ag Belagfedersegmente mit Überlappung
JPH1172124A (ja) * 1997-08-29 1999-03-16 Exedy Corp クラッチディスク及びクラッチディスク組立体

Family Cites Families (3)

* Cited by examiner, † Cited by third party
Publication number Priority date Publication date Assignee Title
JP3121952B2 (ja) * 1993-03-18 2001-01-09 河西工業株式会社 車両側部の衝撃吸収構造
JP3361396B2 (ja) * 1994-12-02 2003-01-07 株式会社エクセディ クッショニングプレートおよびクラッチディスク組立体
JP5846108B2 (ja) * 2012-11-20 2016-01-20 トヨタ自動車株式会社 車両下部構造

Patent Citations (3)

* Cited by examiner, † Cited by third party
Publication number Priority date Publication date Assignee Title
JPS6073933U (ja) * 1983-10-27 1985-05-24 トヨタ自動車株式会社 クラツチデイスク
DE19611186C1 (de) * 1996-03-21 1997-10-02 Fichtel & Sachs Ag Belagfedersegmente mit Überlappung
JPH1172124A (ja) * 1997-08-29 1999-03-16 Exedy Corp クラッチディスク及びクラッチディスク組立体

Also Published As

Publication number Publication date
JP2018053913A (ja) 2018-04-05

Similar Documents

Publication Publication Date Title
JP5742326B2 (ja) トルク変動吸収装置
EP3222875B1 (en) Damper device
WO2011024639A1 (ja) トルクリミッタ装置
JP6538047B2 (ja) 皿ばね
JP4455858B2 (ja) トーションダンパ
JP4495936B2 (ja) クラッチディスク組立体
JP3363302B2 (ja) ダンパーディスク組立体のプレート部材
JP6515857B2 (ja) ダンパ装置のスプリング保持部材
EP3428478B1 (en) Damper apparatus
CN113906238B (zh) 扭转阻尼器和离合器盘
CN107429786A (zh) 减振盘组件
JP2011027122A (ja) トルクリミッタ装置
WO2018056035A1 (ja) クッショニングプレート
JP3986266B2 (ja) クラッチディスク組立体
JP7429096B2 (ja) ダンパーディスク組立体
JP2011247425A (ja) トルク変動吸収装置
JP4760952B2 (ja) トーションダンパ
JP7376334B2 (ja) ダンパ装置
JP7384654B2 (ja) ダンパ装置
JP7306890B2 (ja) ダンパ装置
JP2019215045A (ja) ダンパー装置
KR101089999B1 (ko) 클러치 디스크 어셈블리
JP4280553B2 (ja) ダンパーディスク組立体のヒステリシストルク機構
EP2103839A2 (en) Clutch damper mechanism
JP3569521B2 (ja) 振動減衰装置

Legal Events

Date Code Title Description
121 Ep: the epo has been informed by wipo that ep was designated in this application

Ref document number: 17852814

Country of ref document: EP

Kind code of ref document: A1

NENP Non-entry into the national phase

Ref country code: DE

122 Ep: pct application non-entry in european phase

Ref document number: 17852814

Country of ref document: EP

Kind code of ref document: A1