WO2018016235A1 - ベーンポンプ - Google Patents

ベーンポンプ Download PDF

Info

Publication number
WO2018016235A1
WO2018016235A1 PCT/JP2017/021816 JP2017021816W WO2018016235A1 WO 2018016235 A1 WO2018016235 A1 WO 2018016235A1 JP 2017021816 W JP2017021816 W JP 2017021816W WO 2018016235 A1 WO2018016235 A1 WO 2018016235A1
Authority
WO
WIPO (PCT)
Prior art keywords
rotor
section
oil
vane pump
pump
Prior art date
Legal status (The legal status is an assumption and is not a legal conclusion. Google has not performed a legal analysis and makes no representation as to the accuracy of the status listed.)
Ceased
Application number
PCT/JP2017/021816
Other languages
English (en)
French (fr)
Japanese (ja)
Inventor
謙 中牟田
Current Assignee (The listed assignees may be inaccurate. Google has not performed a legal analysis and makes no representation or warranty as to the accuracy of the list.)
Taiho Kogyo Co Ltd
Original Assignee
Taiho Kogyo Co Ltd
Priority date (The priority date is an assumption and is not a legal conclusion. Google has not performed a legal analysis and makes no representation as to the accuracy of the date listed.)
Filing date
Publication date
Application filed by Taiho Kogyo Co Ltd filed Critical Taiho Kogyo Co Ltd
Publication of WO2018016235A1 publication Critical patent/WO2018016235A1/ja
Anticipated expiration legal-status Critical
Ceased legal-status Critical Current

Links

Images

Classifications

    • FMECHANICAL ENGINEERING; LIGHTING; HEATING; WEAPONS; BLASTING
    • F04POSITIVE - DISPLACEMENT MACHINES FOR LIQUIDS; PUMPS FOR LIQUIDS OR ELASTIC FLUIDS
    • F04CROTARY-PISTON, OR OSCILLATING-PISTON, POSITIVE-DISPLACEMENT MACHINES FOR LIQUIDS; ROTARY-PISTON, OR OSCILLATING-PISTON, POSITIVE-DISPLACEMENT PUMPS
    • F04C18/00Rotary-piston pumps specially adapted for elastic fluids
    • F04C18/30Rotary-piston pumps specially adapted for elastic fluids having the characteristics covered by two or more of groups F04C18/02, F04C18/08, F04C18/22, F04C18/24, F04C18/48, or having the characteristics covered by one of these groups together with some other type of movement between co-operating members
    • F04C18/34Rotary-piston pumps specially adapted for elastic fluids having the characteristics covered by two or more of groups F04C18/02, F04C18/08, F04C18/22, F04C18/24, F04C18/48, or having the characteristics covered by one of these groups together with some other type of movement between co-operating members having the movement defined in group F04C18/08 or F04C18/22 and relative reciprocation between the co-operating members
    • F04C18/344Rotary-piston pumps specially adapted for elastic fluids having the characteristics covered by two or more of groups F04C18/02, F04C18/08, F04C18/22, F04C18/24, F04C18/48, or having the characteristics covered by one of these groups together with some other type of movement between co-operating members having the movement defined in group F04C18/08 or F04C18/22 and relative reciprocation between the co-operating members with vanes reciprocating with respect to the inner member
    • FMECHANICAL ENGINEERING; LIGHTING; HEATING; WEAPONS; BLASTING
    • F04POSITIVE - DISPLACEMENT MACHINES FOR LIQUIDS; PUMPS FOR LIQUIDS OR ELASTIC FLUIDS
    • F04CROTARY-PISTON, OR OSCILLATING-PISTON, POSITIVE-DISPLACEMENT MACHINES FOR LIQUIDS; ROTARY-PISTON, OR OSCILLATING-PISTON, POSITIVE-DISPLACEMENT PUMPS
    • F04C25/00Adaptations of pumps for special use of pumps for elastic fluids
    • F04C25/02Adaptations of pumps for special use of pumps for elastic fluids for producing high vacuum
    • FMECHANICAL ENGINEERING; LIGHTING; HEATING; WEAPONS; BLASTING
    • F04POSITIVE - DISPLACEMENT MACHINES FOR LIQUIDS; PUMPS FOR LIQUIDS OR ELASTIC FLUIDS
    • F04CROTARY-PISTON, OR OSCILLATING-PISTON, POSITIVE-DISPLACEMENT MACHINES FOR LIQUIDS; ROTARY-PISTON, OR OSCILLATING-PISTON, POSITIVE-DISPLACEMENT PUMPS
    • F04C29/00Component parts, details or accessories of pumps or pumping installations, not provided for in groups F04C18/00 - F04C28/00
    • F04C29/02Lubrication; Lubricant separation

Definitions

  • the present invention relates to a vane pump driven by, for example, an automobile engine.
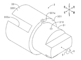
  • FIG. 10 shows a perspective exploded sectional view of a conventional vane pump housing and rotor.
  • the vane pump 100 includes a housing 101 and a rotor 102.
  • the housing 101 includes a pump part 103 and a cylinder part 104.
  • a pump chamber 105 is defined inside the pump unit 103.
  • An axial (front-rear direction) oil groove 106 is formed on the inner peripheral surface of the cylindrical portion 104.
  • the rotor 102 can rotate around a predetermined rotation axis by a driving force from a camshaft (not shown).
  • the rotor 102 is made of iron and includes a rotor main body 107 and a shaft portion 108.
  • the rotor body 107 is accommodated in the pump chamber 105.
  • the rotor main body 107 includes a peripheral wall portion 109 and a bottom wall portion 110.
  • the peripheral wall portion 109 includes a pair of rotor groove portions 111.
  • the pair of rotor groove portions 111 are arranged to face each other in the diameter direction, that is, to face each other by 180 °.
  • the pair of rotor groove portions 111 penetrates the rotor main body 107 (the peripheral wall portion 109 and the bottom wall portion 110) in the diameter direction and the axial direction.
  • a pair of rotor grooves 111 accommodates vanes (not shown).
  • the shaft portion 108 is accommodated in the cylinder portion 104.
  • An axial oil hole 112 and a radial oil hole 113 are formed in the shaft portion 108.
  • the oil supply pipe 114 is interposed between the camshaft (not shown) and the rotor 102.
  • An oil passage for supplying lubricating oil is set between the camshaft and the pump chamber 105.
  • the oil passage includes an oil supply pipe 114, an axial oil hole 112, a radial oil hole 113, an axial oil groove 106, and a rotor groove 111 from the upstream side toward the downstream side.
  • Patent Document 1 discloses a vane pump including an oil passage through which lubricating oil is supplied from the radially outer side of the cylindrical portion 104 shown in FIG.
  • the oil passage is disposed inside the shaft portion 108 shown in FIG. For this reason, the lubricating oil cannot be sufficiently supplied to the sliding interface between the cylindrical portion 104 and the shaft portion 108 shown in FIG.
  • An object of the present invention is to provide a vane pump that can reduce the overall axial length and that can easily supply lubricating oil to the sliding interface at the boundary between the housing and the rotor.
  • a vane pump according to the present invention is rotatable about a predetermined rotation axis, a housing having a pump part in which a pump chamber is partitioned, and a cylindrical part connected to the pump part.
  • a rotor body that supports a vane disposed in the pump chamber so as to be capable of reciprocating in a diametrical direction, and a shaft portion that is connected to the rotor body and disposed radially inward of the cylindrical portion;
  • An oil passage for supplying lubricating oil to the pump chamber wherein the oil passage is disposed in the shaft portion in a radial direction, and is disposed in the shaft portion and downstream of the first portion.
  • a second section that is continuous with the first section; and an opening / closing section that is disposed at a boundary between the first section and the second section and that periodically opens and closes the oil passage as the rotor rotates.
  • lubricating oil is supplied to the rotor (second section) from the outside in the radial direction (direction orthogonal to the rotation axis direction of the rotor). For this reason, the axial direction full length of a vane pump can be shortened.
  • the oil passage has an opening / closing part.
  • the opening / closing part can intermittently supply the lubricating oil to the pump chamber as the rotor rotates. For this reason, it can suppress that lubricating oil always flows in into a pump chamber.
  • the third section of the oil passage extends along the boundary between the housing and the rotor. For this reason, a 3rd area can be arrange
  • FIG. 1 is a radial cross-sectional view of the vane pump of the first embodiment.
  • FIG. 2 is a cross-sectional view in the II-II direction of FIG.
  • FIG. 3 is a perspective exploded sectional view of the vane pump.
  • FIG. 4 is a perspective view of the rotor of the vane pump.
  • FIG. 5 is an axial sectional view of the vane pump of the second embodiment.
  • FIG. 6 is an axial sectional view of the vane pump of the third embodiment.
  • FIG. 7 is an axial cross-sectional view of the vane pump of the fourth embodiment.
  • FIG. 8 is an axial sectional view of the vane pump of the fifth embodiment.
  • FIG. 9 is a perspective view of the vicinity of the bottom wall portion of the housing of the vane pump according to the sixth embodiment.
  • FIG. 10 is a perspective exploded sectional view of a conventional vane pump housing and rotor.
  • FIG. 1 shows a cross-sectional view in the II-II direction of FIG.
  • FIG. 3 shows a perspective exploded sectional view of the vane pump.
  • FIG. 4 is a perspective view of the rotor of the vane pump. 1 corresponds to a cross section taken along the line II in FIG.
  • FIG. 3 corresponds to a cross section in the II-II direction of FIG.
  • the vane pump 1 is a negative pressure source of a booster (not shown) of a vehicle brake device. As shown in FIGS. 1 to 4, the vane pump 1 includes a housing 2, a rotor 3, a vane 4, and oil passages L1 and L2.
  • the housing 2 is fixed to a side surface of the engine (not shown).
  • the housing 2 includes a housing body 20 and an end plate 21.
  • the housing body 20 includes a pump part 20A and a cylinder part 20B.
  • the pump portion 20A has a bottomed elliptical cylindrical shape that opens to the front side.
  • the pump part 20 ⁇ / b> A includes a peripheral wall part 200, a bottom wall part 201, and a flange part 202.
  • a pump chamber A is defined inside the pump unit 20A.
  • the peripheral wall 200 has an elliptical cylindrical shape. As shown in FIG. 1, a suction hole 200 a is formed in the peripheral wall portion 200. The outlet of the suction hole 200a opens into the pump chamber A.
  • the inlet of the suction hole 200a is connected to a booster of the brake device via an intake passage (not shown).
  • a check valve (not shown) that allows air flow only in one direction (a direction from the booster toward the pump chamber A) is disposed in the intake passage.
  • the bottom wall 201 is disposed at the rear end (one axial end) of the peripheral wall 200.
  • the bottom wall 201 is provided with a discharge hole 201a.
  • the discharge hole 201a penetrates the bottom wall portion 201 in the front-rear direction.
  • the discharge hole 201a can be opened and closed by a reed valve (not shown).
  • the flange portion 202 is formed at the front end (the other end in the axial direction) of the peripheral wall portion 200.
  • the cylinder portion 20B has a cylindrical shape.
  • the cylinder part 20B extends to the rear side of the bottom wall part 201.
  • the cylinder portion 20B is accommodated in a recess (not shown) formed in the engine.
  • the front end of the cylindrical portion 20B is open to the front surface of the bottom wall portion 201.
  • the cylindrical portion 20 ⁇ / b> B includes a radial oil hole 203, a small diameter surface 204, a step surface 205, and a large diameter surface 206.
  • the radial oil hole 203 penetrates the cylindrical portion 20B in the radial direction.
  • the radial oil hole 203 is included in the concept of the “first section” of the present invention.
  • An inlet (radially outer end) of the radial oil hole 203 is connected to an oil passage (not shown) of the engine.
  • a small-diameter surface 204, a step surface 205, and a large-diameter surface 206 are formed on the inner peripheral surface of the cylindrical portion 20B from the rear side toward the front side.
  • the small diameter surface 204 and the large diameter surface 206 extend in the axial direction (front-rear direction) of the rotation axis X of the rotor 3.
  • the step surface 205 extends in the radial direction of the rotation axis X.
  • a small diameter side axial oil groove 204 a is recessed in the small diameter surface 204.
  • a large-diameter side axial oil groove 206a is recessed in the large-diameter surface 206.
  • the end plate 21 seals the flange portion 202 from the front side.
  • An O-ring 92 is interposed between the end plate 21 and the flange portion 202.
  • the end plate 21 is fixed to the flange portion 202 by a plurality of bolts 90 and a plurality of nuts 91.
  • the rotor 3 is made of aluminum and includes a rotor body 30 and a shaft portion 31.
  • the rotor body 30 has a bottomed cylindrical shape.
  • the rotor body 30 includes a peripheral wall portion 300 and a bottom wall portion 301.
  • An in-cylinder space C is defined inside the rotor body 30.
  • the peripheral wall 300 has a cylindrical shape.
  • the peripheral wall 300 is accommodated in the pump chamber A. As shown in FIG. 1, a part of the outer peripheral surface of the peripheral wall part 300 is in contact with a part of the inner peripheral surface of the peripheral wall part 200.
  • the peripheral wall portion 300 is eccentric with respect to the peripheral wall portion 200.
  • the front end surface of the peripheral wall portion 300 is in sliding contact with the rear surface (inner surface) of the end plate 21.
  • the peripheral wall portion 300 includes a pair of rotor groove portions 300a.
  • the pair of rotor groove portions 300a are arranged to face each other in the diameter direction, that is, to face each other by 180 °.
  • the pair of rotor groove portions 300a penetrates the peripheral wall portion 300 in the diameter direction. As shown in FIG. 4, the pair of rotor groove portions 300 a does not reach the bottom wall portion 301.
  • the bottom wall portion 301 seals the opening on the rear end side of the peripheral wall portion 300.
  • the rear surface of the bottom wall 301 is in contact with the step surface 205.
  • a pair of radial oil grooves 301 a are formed in the rear surface of the bottom wall portion 301.
  • the pair of radial oil grooves 301a are arranged so as to face each other in the diameter direction, that is, 180 degrees.
  • the pair of radial oil grooves 301a can communicate with the small-diameter side axial oil groove 204a and the large-diameter side axial oil groove 206a at a predetermined rotation angle (every 180 °).
  • the radial oil groove 301a, the small-diameter side axial oil groove 204a, and the large-diameter side axial oil groove 206a are included in the concept of the “third section” of the present invention. As shown in FIG. 4, the radial oil groove 301 a and the rotor groove part 300 a are arranged so as to be shifted by a predetermined angle.
  • the shaft portion 31 extends to the rear side of the bottom wall portion 301.
  • the shaft portion 31 is connected to a camshaft (not shown) of the engine via a coupling (not shown).
  • the shaft part 31 is rotatable around its own axis. That is, the rotor 3 can rotate about the rotation axis X in a predetermined rotation direction ⁇ (counterclockwise direction in FIG. 1).
  • the shaft portion 31 includes a radial oil hole 310 and an axial oil hole 311.
  • the radial oil hole 310 is included in the concept of the “second section” of the present invention.
  • the axial oil hole 311 is included in the concept of “fourth section”.
  • the radial oil hole 310 penetrates the shaft portion 31 in the diameter direction.
  • the radial oil hole 310 can communicate with the radial oil hole 203 and the small-diameter axial oil groove 204a at a predetermined rotation angle.
  • the axial oil hole 311 is interposed between the center of the radial oil hole 310 and the in-cylinder space C.
  • the vane 4 includes a vane body 40 and a pair of caps 41.
  • the vane body 40 has a rectangular plate shape.
  • the vane body 40 is accommodated in the pump chamber A.
  • the vane body 40 is rotatable together with the rotor 3.
  • the vane body 40 can reciprocate in the diametrical direction along the pair of rotor grooves 300a.
  • the vane body 40 can partition the pump chamber A into a plurality of working chambers A1 and A2 according to the rotation angle.
  • the front end surface of the vane body 40 is in sliding contact with the rear surface of the end plate 21.
  • the rear end surface of the vane body 40 is in sliding contact with the front surface of the bottom wall portion 201.
  • a gap is defined between the rear end surface of the vane body 40 and the front surface of the bottom wall portion 301 of the rotor 3.
  • the axial oil hole 311 of the shaft portion 31 opens in the gap.
  • the oil passage L1 includes a first section (radial oil hole 203), an opening / closing part P1, a second section (radial oil hole 310), an opening / closing part P2, and a third section (small diameter side).
  • the opening / closing part P1 is included in the concept of the “opening / closing part” of the present invention.
  • the opening / closing parts P1 to P4 can open the oil passage L1 at a predetermined rotation angle. For this reason, the lubricating oil is intermittently supplied to the pump chamber A via the oil passage L1.
  • the oil passage L2 has a first section (radial oil hole 203), an opening / closing part P1, a second section (radial oil hole 310), and a fourth section (axial oil hole 311) from the upstream side toward the downstream side. It has.
  • the opening / closing part P1 can open the oil passage L2 at a predetermined rotation angle. For this reason, the lubricating oil is intermittently supplied to the in-cylinder space C via the oil passage L2.
  • the effect of the vane pump of this embodiment is demonstrated.
  • the radial direction (direction orthogonal to the rotation axis X of the rotor 3) with respect to the second section (radial oil hole 310).
  • Lubricating oil is supplied from the outside.
  • the axial direction (front-back direction) full length of the vane pump 1 can be shortened.
  • the oil passage L1 includes opening / closing portions P1 to P4.
  • the open / close sections P1 to P4 can intermittently supply the lubricating oil to the pump chamber A as the rotor 3 rotates.
  • the third section of the oil passage L1 (small diameter side axial oil groove 204a, opening / closing part P3, radial direction oil groove 301a, opening / closing part P4, large diameter side axial oil groove 206a) is formed between the housing 2 and the rotor 3. It extends along the boundary. For this reason, the third section can be arranged by forming an oil groove in one of the housing 2 and the rotor 3 and sealing the opening of the oil groove on the other side. Therefore, the third section can be easily disposed as compared with the case where the hole-shaped third section is disposed in the housing 2 alone or the rotor 3 alone.
  • the third section allows the sliding interface at the boundary between the housing 2 and the rotor 3 (specifically, the sliding interface extending in the axial direction at the boundary between the small diameter surface 204 and the shaft portion 31, the step surface 205 and Lubricating oil is simply supplied to the sliding interface extending in the radial direction at the boundary with the bottom wall 301 and the sliding interface extending in the axial direction at the boundary between the large-diameter surface 206 and the peripheral wall 300. Can do. For this reason, the sliding resistance of the rotor 3 with respect to the housing 2 can be easily reduced.
  • the radial oil groove 301 a is disposed in the rotor 3. For this reason, compared with the case where all the 3rd sections are arranged in housing 2, processing of housing 2 becomes easy.
  • the rotor 102 is made of iron having a high Young's modulus. For this reason, even if the rotor groove portion 111 (a part of the oil passage) is provided so as to penetrate the bottom wall portion 110 in the axial direction, the strength of the rotor 102 is not easily lowered. On the other hand, when the rotor 102 is made of iron, the vane pump 100 becomes heavy. In this regard, if the rotor 102 is made of aluminum, the vane pump 100 can be reduced in weight. However, aluminum has a low Young's modulus.
  • the vane pump 1 of this embodiment in order to make the rotor 3 made of aluminum, the rotor groove portion 300a does not penetrate the bottom wall portion 301 in the axial direction with respect to the conventional rotor 102 shown in FIG. The route of the oil passage has been changed so that it can be completed. If the rotor 3 is made of aluminum, the vane pump 1 can be reduced in weight. Further, the processing of the rotor 3 is easy. Therefore, the processing cost of the rotor 3 can be reduced.
  • the radial oil groove 301a (the radial oil groove 301a is shown in FIG.
  • the conventional rotor 102 shown in FIG. If the rotor 3 is made of aluminum, the vane pump 1 can be reduced in weight. Further, the processing of the rotor 3 is easy. Therefore, the processing cost of the rotor 3 can be reduced.
  • the pressure increases in the vicinity of the discharge hole 201a. That is, the working chamber A2 has a higher pressure than the working chamber A1. For this reason, it is necessary to improve the sealing performance of the working chamber A2 (near the discharge hole 201a). In other words, it is necessary to supply sufficient lubricating oil to the working chamber A2.
  • the oil passage L1 shown in FIG. 2 is opened, as shown in FIG. 1, the large-diameter side axial oil groove 206a opens into the working chamber A2 (near the discharge hole 201a). For this reason, compared with the case where the large-diameter side axial oil groove 206a is opened in the working chamber A1 (near the suction hole 200a), the lubricating oil can be sufficiently supplied to the working chamber A2.
  • the low pressure working chamber A1, the vane 4, and the high pressure working chamber A2 are arranged from the rear side (suction side) to the front side (discharge side) of the rotor 3 in the rotational direction ⁇ .
  • a large-diameter side axial oil groove 206a and a discharge hole 201a are arranged from the rear side in the rotation direction ⁇ of the rotor 3 toward the front side.
  • the lubricating oil discharged from the large-diameter side axial oil groove 206a is not directed to the discharge hole 201a on the rotation direction ⁇ front side (high pressure side) but toward the vane 4 on the rotation direction ⁇ rear side (low pressure side) Easy to flow. Therefore, the sealing performance of the working chamber A2 with respect to the working chamber A1 can be enhanced.
  • the vane pump 1 of this embodiment is provided with the oil path L2 branched from the oil path L1.
  • the opening / closing part P1 can open the oil passage L2 at a predetermined rotation angle.
  • the lubricating oil can be intermittently supplied not only to the pump chamber A but also to the in-cylinder space C.
  • the oil passage L ⁇ b> 2 opens into the in-cylinder space C of the rotating rotor 3.
  • the lubricating oil can be supplied to the sliding interface between the vane body 40 and the rotor groove portion 300a, the sliding interface between the peripheral wall portion 300 and the end plate 21, or the like by utilizing centrifugal force. it can.
  • the small-diameter side axial oil groove 204a can be disposed by using the axial oil groove 106 of the conventional vane pump 100 shown in FIG. For this reason, it is easy to divert the conventional housing 101.
  • FIG. 5 shows an axial sectional view of the vane pump of this embodiment.
  • part corresponding to FIG. 2 it shows with the same code
  • a radial oil groove 205 a is recessed in the step surface 205 of the housing 2.
  • the radial oil groove 205a is interposed between the small-diameter side axial oil groove 204a and the large-diameter side axial oil groove 206a.
  • the vane pump according to the present embodiment and the vane pump according to the first embodiment have the same functions and effects with respect to parts having the same configuration.
  • all of the third section (small diameter side axial oil groove 204a, radial direction oil groove 205a, large diameter side axial oil groove 206a) is disposed in the housing 2. . For this reason, it is not necessary to process the rotor 3 regarding the arrangement of the third section.
  • FIG. 6 shows an axial sectional view of the vane pump of this embodiment.
  • part corresponding to FIG. 5 it shows with the same code
  • the shaft portion 31 of the rotor 3 includes an end-like annular oil groove 313 and a radial oil hole 314.
  • Ended annular oil groove 313 is included in the concept of the “second section” of the present invention.
  • the radial oil hole 314 and the axial oil hole 311 are included in the concept of “fourth section”.
  • Ended annular oil groove 313 is recessed in the outer peripheral surface of shaft portion 31.
  • the end annular oil groove 313 extends in a C shape in the circumferential direction.
  • the end annular oil groove 313 can communicate with the radial oil hole 203 and the small-diameter axial oil groove 204a over a predetermined rotation angle section.
  • the radial oil hole 314 is interposed between the end annular oil groove 313 and the axial oil hole 311.
  • the vane pump according to the present embodiment and the vane pump according to the second embodiment have the same functions and effects with respect to parts having the same configuration.
  • the second section (the end annular oil groove 313) extends in a partial arc shape.
  • the opening / closing parts P1 and P2 can open the oil passages L1 and L2 over a predetermined rotation angle section (section corresponding to the extending section of the end annular oil groove 313).
  • FIG. 7 shows an axial sectional view of the vane pump of this embodiment.
  • the radial oil hole 203 of the cylindrical portion 20B is provided with a closed annular oil groove 203a at the outlet (radial inner end).
  • the end annular oil groove 203a extends in a C shape in the circumferential direction on the small diameter surface 204.
  • the end annular oil groove 203a can communicate with the axial oil groove 312 over a predetermined rotation angle section.
  • the inlet (rear end) of the axial oil groove 312 is included in the concept of the “second section” of the present invention.
  • the portion other than the rear end of the axial oil groove 312, the radial oil groove 205 a, and the large-diameter side axial oil groove 206 a are included in the concept of the “third section” of the present invention.
  • the radial oil hole 314 is interposed between the end annular oil groove 203 a and the axial oil hole 311.
  • the vane pump according to the present embodiment and the vane pump according to the third embodiment have the same functions and effects with respect to parts having the same configuration.
  • the end annular oil groove 203a of the first section extends in a partial arc shape. Therefore, the opening / closing parts P1 to P3 can open the oil passages L1 and L2 over a predetermined rotation angle section (section corresponding to the extending section of the end annular oil groove 203a).
  • FIG. 8 shows an axial sectional view of the vane pump of this embodiment.
  • part corresponding to FIG. 2 it shows with the same code
  • inclined oil holes 315 are arranged in the shaft portion 31 instead of the radial oil holes 310 shown in FIG. 2.
  • the inclined oil hole 315 is included in the concept of the “second section” of the present invention.
  • the inclined oil hole 315 extends in a direction inclined with respect to the radial direction and the axial direction.
  • the radial oil hole 310 shown in FIG. 2 connects the radial oil hole 203 and the small-diameter side axial oil groove 204a twice per rotation of the rotor 3 (every 180 °).
  • the inclined oil hole 315 shown in FIG. 8 connects the radial oil hole 203 and the small-diameter axial oil groove 204a only once for one rotation of the rotor 3. That is, as shown by a dotted line in FIG. 8, even if the rotor 3 rotates by 180 ° from the state shown in FIG. 8, the inclined oil hole 315 connects the radial oil hole 203 and the small-diameter side axial oil groove 204a. Can not do it.
  • the vane pump according to the present embodiment and the vane pump according to the first embodiment have the same functions and effects with respect to parts having the same configuration.
  • the opening / closing parts P1 to P4 open the oil passages L1 and L2 only once for one rotation of the rotor 3. For this reason, it is difficult for the lubricating oil to flow backward through the oil passages L1 and L2.
  • FIG. 9 is a perspective view of the vicinity of the bottom wall portion of the housing of the vane pump of this embodiment. In addition, about the site
  • a backflow suppressing portion 204b is formed on the bottom surface of the small diameter side axial oil groove 204a.
  • a backflow suppressing portion 206b is formed on the bottom surface of the large-diameter side axial oil groove 206a.
  • the backflow suppressing portions 204b and 206b have a triangular shape that is pointed toward the rear side (upstream side).
  • the vane pump according to the present embodiment and the vane pump according to the first embodiment have the same functions and effects with respect to parts having the same configuration.
  • the backflow suppression units 204b and 206b are arranged in the third section. For this reason, it is difficult for lubricating oil to flow backward in the oil passage.
  • the oil passage L1 includes a first section (for example, the radial oil hole 203 shown in FIG. 2), a second section (for example, the radial oil hole 310 shown in FIG. 2), and a third section (for example, the small-diameter side axial direction shown in FIG. 2).
  • the oil passage L2 includes a fourth section (for example, the axial oil hole 311 shown in FIG. 2).
  • the cross-sectional area of the flow path from the first section to the fourth section is not particularly limited.
  • the flow path cross-sectional area of) may be increased.
  • the cross-sectional area of the flow path may not be constant over the entire length of the first section to the fourth section.
  • the cross-sectional shape of the first section to the fourth section is not particularly limited. It may be a hole shape, a groove shape (V-shaped groove shape, C-shaped groove shape) or the like.
  • the number of arrangements, the number of branches, the position, and the number of openings (exit of the oil passage L1) in the pump chamber A are not particularly limited. For example, what is necessary is just to set the 1st area provided with the inlet_port
  • the number and position of the opening / closing parts P1 to P4 are not particularly limited.
  • the difference in opening / closing timing of the opening / closing parts P1 to P4 is not particularly limited.
  • the opening / closing portions P1 to P4 are arranged upstream of the branch portion between the oil passage L1 and the oil passage L2 (see, for example, the opening / closing portion P1 shown in FIG. 2), the opening and closing timings of the oil passages L1 and L2 are synchronized. Can do.
  • the number of times that the opening / closing parts P1 to P4 open and close the oil passages L1 and L2 per one rotation of the rotor 3 is not particularly limited.
  • the path of the oil passage is changed so that the rotor groove portion 300a does not have to penetrate the bottom wall portion 301 in the axial direction.
  • the materials of the housing 2 and the rotor 3 are not particularly limited.
  • it may be made of a metal containing iron (iron, stainless steel, etc.) or a metal containing aluminum (aluminum, aluminum alloy, etc.).
  • the strength can be increased as compared with the conventional rotor 102 shown in FIG. 10.
  • the manufacturing method of the housing 2 and the rotor 3 is not specifically limited.
  • the housing 2 and the rotor 3 may be manufactured by casting, forging, or the like.

Landscapes

  • Engineering & Computer Science (AREA)
  • Mechanical Engineering (AREA)
  • General Engineering & Computer Science (AREA)
  • Rotary Pumps (AREA)
  • Applications Or Details Of Rotary Compressors (AREA)
PCT/JP2017/021816 2016-07-21 2017-06-13 ベーンポンプ Ceased WO2018016235A1 (ja)

Applications Claiming Priority (2)

Application Number Priority Date Filing Date Title
JP2016143257A JP2018013086A (ja) 2016-07-21 2016-07-21 ベーンポンプ
JP2016-143257 2016-07-21

Publications (1)

Publication Number Publication Date
WO2018016235A1 true WO2018016235A1 (ja) 2018-01-25

Family

ID=60992175

Family Applications (1)

Application Number Title Priority Date Filing Date
PCT/JP2017/021816 Ceased WO2018016235A1 (ja) 2016-07-21 2017-06-13 ベーンポンプ

Country Status (2)

Country Link
JP (1) JP2018013086A (enExample)
WO (1) WO2018016235A1 (enExample)

Citations (2)

* Cited by examiner, † Cited by third party
Publication number Priority date Publication date Assignee Title
EP1108892A2 (de) * 1999-12-18 2001-06-20 Bayerische Motoren Werke Aktiengesellschaft Flügelzellenvakuumpumpe
JP2016075196A (ja) * 2014-10-03 2016-05-12 大豊工業株式会社 バキュームポンプ

Patent Citations (2)

* Cited by examiner, † Cited by third party
Publication number Priority date Publication date Assignee Title
EP1108892A2 (de) * 1999-12-18 2001-06-20 Bayerische Motoren Werke Aktiengesellschaft Flügelzellenvakuumpumpe
JP2016075196A (ja) * 2014-10-03 2016-05-12 大豊工業株式会社 バキュームポンプ

Also Published As

Publication number Publication date
JP2018013086A (ja) 2018-01-25

Similar Documents

Publication Publication Date Title
US9546658B2 (en) Gas pump with a sealing oil groove
CN104334883A (zh) 真空泵
JP6534647B2 (ja) ベーンポンプ
WO2018016235A1 (ja) ベーンポンプ
WO2018016234A1 (ja) ベーンポンプ
US20200392847A1 (en) Vane pump
JP5715571B2 (ja) ガス排気装置を備えた液封式ポンプ
CN109923313B (zh) 叶片泵
JP2011214524A (ja) 圧縮装置
JP4067348B2 (ja) 可変容量ポンプ
JP2019027372A (ja) 圧縮機
JP6166671B2 (ja) ベーンポンプ
US11149730B2 (en) Vane pump driven by an engine of an automobile
JP2006214351A (ja) ピストンポンプ
JP2010216371A (ja) 可変容量型ベーンポンプ
JP2018135760A (ja) ベーンポンプ
JP2017223206A (ja) ベーンポンプ
JP2008303734A (ja) ベーンポンプ
JP3849509B2 (ja) オイルポンプ
JP2018168780A (ja) ベーン型圧縮機
JP2024001776A (ja) ポンプ装置
KR20170108141A (ko) 안티-캐비테이션 구조를 가지는 액체 링 펌프 포트 부재
CN116917622A (zh) 汽车摆-滑块泵
JP2016084728A (ja) バキュームポンプ
JP2016084728A5 (enExample)

Legal Events

Date Code Title Description
121 Ep: the epo has been informed by wipo that ep was designated in this application

Ref document number: 17830755

Country of ref document: EP

Kind code of ref document: A1

NENP Non-entry into the national phase

Ref country code: DE

122 Ep: pct application non-entry in european phase

Ref document number: 17830755

Country of ref document: EP

Kind code of ref document: A1