WO2017187986A1 - 車載機器制御装置 - Google Patents

車載機器制御装置 Download PDF

Info

Publication number
WO2017187986A1
WO2017187986A1 PCT/JP2017/014976 JP2017014976W WO2017187986A1 WO 2017187986 A1 WO2017187986 A1 WO 2017187986A1 JP 2017014976 W JP2017014976 W JP 2017014976W WO 2017187986 A1 WO2017187986 A1 WO 2017187986A1
Authority
WO
WIPO (PCT)
Prior art keywords
information
state
vehicle
control
driver
Prior art date
Legal status (The legal status is an assumption and is not a legal conclusion. Google has not performed a legal analysis and makes no representation as to the accuracy of the status listed.)
Ceased
Application number
PCT/JP2017/014976
Other languages
English (en)
French (fr)
Japanese (ja)
Inventor
浩之 三村
田口 清貴
Current Assignee (The listed assignees may be inaccurate. Google has not performed a legal analysis and makes no representation or warranty as to the accuracy of the list.)
Denso Corp
Original Assignee
Denso Corp
Priority date (The priority date is an assumption and is not a legal conclusion. Google has not performed a legal analysis and makes no representation as to the accuracy of the date listed.)
Filing date
Publication date
Application filed by Denso Corp filed Critical Denso Corp
Priority to US16/096,455 priority Critical patent/US20190118824A1/en
Priority to DE112017002231.2T priority patent/DE112017002231T5/de
Publication of WO2017187986A1 publication Critical patent/WO2017187986A1/ja
Anticipated expiration legal-status Critical
Ceased legal-status Critical Current

Links

Images

Classifications

    • BPERFORMING OPERATIONS; TRANSPORTING
    • B60VEHICLES IN GENERAL
    • B60WCONJOINT CONTROL OF VEHICLE SUB-UNITS OF DIFFERENT TYPE OR DIFFERENT FUNCTION; CONTROL SYSTEMS SPECIALLY ADAPTED FOR HYBRID VEHICLES; ROAD VEHICLE DRIVE CONTROL SYSTEMS FOR PURPOSES NOT RELATED TO THE CONTROL OF A PARTICULAR SUB-UNIT
    • B60W50/00Details of control systems for road vehicle drive control not related to the control of a particular sub-unit, e.g. process diagnostic or vehicle driver interfaces
    • B60W50/08Interaction between the driver and the control system
    • B60W50/14Means for informing the driver, warning the driver or prompting a driver intervention
    • BPERFORMING OPERATIONS; TRANSPORTING
    • B60VEHICLES IN GENERAL
    • B60KARRANGEMENT OR MOUNTING OF PROPULSION UNITS OR OF TRANSMISSIONS IN VEHICLES; ARRANGEMENT OR MOUNTING OF PLURAL DIVERSE PRIME-MOVERS IN VEHICLES; AUXILIARY DRIVES FOR VEHICLES; INSTRUMENTATION OR DASHBOARDS FOR VEHICLES; ARRANGEMENTS IN CONNECTION WITH COOLING, AIR INTAKE, GAS EXHAUST OR FUEL SUPPLY OF PROPULSION UNITS IN VEHICLES
    • B60K35/00Instruments specially adapted for vehicles; Arrangement of instruments in or on vehicles
    • B60K35/20Output arrangements, i.e. from vehicle to user, associated with vehicle functions or specially adapted therefor
    • B60K35/21Output arrangements, i.e. from vehicle to user, associated with vehicle functions or specially adapted therefor using visual output, e.g. blinking lights or matrix displays
    • B60K35/22Display screens
    • BPERFORMING OPERATIONS; TRANSPORTING
    • B60VEHICLES IN GENERAL
    • B60KARRANGEMENT OR MOUNTING OF PROPULSION UNITS OR OF TRANSMISSIONS IN VEHICLES; ARRANGEMENT OR MOUNTING OF PLURAL DIVERSE PRIME-MOVERS IN VEHICLES; AUXILIARY DRIVES FOR VEHICLES; INSTRUMENTATION OR DASHBOARDS FOR VEHICLES; ARRANGEMENTS IN CONNECTION WITH COOLING, AIR INTAKE, GAS EXHAUST OR FUEL SUPPLY OF PROPULSION UNITS IN VEHICLES
    • B60K35/00Instruments specially adapted for vehicles; Arrangement of instruments in or on vehicles
    • B60K35/20Output arrangements, i.e. from vehicle to user, associated with vehicle functions or specially adapted therefor
    • B60K35/21Output arrangements, i.e. from vehicle to user, associated with vehicle functions or specially adapted therefor using visual output, e.g. blinking lights or matrix displays
    • B60K35/23Head-up displays [HUD]
    • BPERFORMING OPERATIONS; TRANSPORTING
    • B60VEHICLES IN GENERAL
    • B60KARRANGEMENT OR MOUNTING OF PROPULSION UNITS OR OF TRANSMISSIONS IN VEHICLES; ARRANGEMENT OR MOUNTING OF PLURAL DIVERSE PRIME-MOVERS IN VEHICLES; AUXILIARY DRIVES FOR VEHICLES; INSTRUMENTATION OR DASHBOARDS FOR VEHICLES; ARRANGEMENTS IN CONNECTION WITH COOLING, AIR INTAKE, GAS EXHAUST OR FUEL SUPPLY OF PROPULSION UNITS IN VEHICLES
    • B60K35/00Instruments specially adapted for vehicles; Arrangement of instruments in or on vehicles
    • B60K35/20Output arrangements, i.e. from vehicle to user, associated with vehicle functions or specially adapted therefor
    • B60K35/25Output arrangements, i.e. from vehicle to user, associated with vehicle functions or specially adapted therefor using haptic output
    • BPERFORMING OPERATIONS; TRANSPORTING
    • B60VEHICLES IN GENERAL
    • B60KARRANGEMENT OR MOUNTING OF PROPULSION UNITS OR OF TRANSMISSIONS IN VEHICLES; ARRANGEMENT OR MOUNTING OF PLURAL DIVERSE PRIME-MOVERS IN VEHICLES; AUXILIARY DRIVES FOR VEHICLES; INSTRUMENTATION OR DASHBOARDS FOR VEHICLES; ARRANGEMENTS IN CONNECTION WITH COOLING, AIR INTAKE, GAS EXHAUST OR FUEL SUPPLY OF PROPULSION UNITS IN VEHICLES
    • B60K35/00Instruments specially adapted for vehicles; Arrangement of instruments in or on vehicles
    • B60K35/20Output arrangements, i.e. from vehicle to user, associated with vehicle functions or specially adapted therefor
    • B60K35/26Output arrangements, i.e. from vehicle to user, associated with vehicle functions or specially adapted therefor using acoustic output
    • BPERFORMING OPERATIONS; TRANSPORTING
    • B60VEHICLES IN GENERAL
    • B60KARRANGEMENT OR MOUNTING OF PROPULSION UNITS OR OF TRANSMISSIONS IN VEHICLES; ARRANGEMENT OR MOUNTING OF PLURAL DIVERSE PRIME-MOVERS IN VEHICLES; AUXILIARY DRIVES FOR VEHICLES; INSTRUMENTATION OR DASHBOARDS FOR VEHICLES; ARRANGEMENTS IN CONNECTION WITH COOLING, AIR INTAKE, GAS EXHAUST OR FUEL SUPPLY OF PROPULSION UNITS IN VEHICLES
    • B60K35/00Instruments specially adapted for vehicles; Arrangement of instruments in or on vehicles
    • B60K35/20Output arrangements, i.e. from vehicle to user, associated with vehicle functions or specially adapted therefor
    • B60K35/28Output arrangements, i.e. from vehicle to user, associated with vehicle functions or specially adapted therefor characterised by the type of the output information, e.g. video entertainment or vehicle dynamics information; characterised by the purpose of the output information, e.g. for attracting the attention of the driver
    • BPERFORMING OPERATIONS; TRANSPORTING
    • B60VEHICLES IN GENERAL
    • B60WCONJOINT CONTROL OF VEHICLE SUB-UNITS OF DIFFERENT TYPE OR DIFFERENT FUNCTION; CONTROL SYSTEMS SPECIALLY ADAPTED FOR HYBRID VEHICLES; ROAD VEHICLE DRIVE CONTROL SYSTEMS FOR PURPOSES NOT RELATED TO THE CONTROL OF A PARTICULAR SUB-UNIT
    • B60W40/00Estimation or calculation of non-directly measurable driving parameters for road vehicle drive control systems not related to the control of a particular sub unit, e.g. by using mathematical models
    • B60W40/08Estimation or calculation of non-directly measurable driving parameters for road vehicle drive control systems not related to the control of a particular sub unit, e.g. by using mathematical models related to drivers or passengers
    • BPERFORMING OPERATIONS; TRANSPORTING
    • B60VEHICLES IN GENERAL
    • B60WCONJOINT CONTROL OF VEHICLE SUB-UNITS OF DIFFERENT TYPE OR DIFFERENT FUNCTION; CONTROL SYSTEMS SPECIALLY ADAPTED FOR HYBRID VEHICLES; ROAD VEHICLE DRIVE CONTROL SYSTEMS FOR PURPOSES NOT RELATED TO THE CONTROL OF A PARTICULAR SUB-UNIT
    • B60W50/00Details of control systems for road vehicle drive control not related to the control of a particular sub-unit, e.g. process diagnostic or vehicle driver interfaces
    • B60W50/08Interaction between the driver and the control system
    • B60W50/14Means for informing the driver, warning the driver or prompting a driver intervention
    • B60W50/16Tactile feedback to the driver, e.g. vibration or force feedback to the driver on the steering wheel or the accelerator pedal
    • GPHYSICS
    • G08SIGNALLING
    • G08BSIGNALLING OR CALLING SYSTEMS; ORDER TELEGRAPHS; ALARM SYSTEMS
    • G08B21/00Alarms responsive to a single specified undesired or abnormal condition and not otherwise provided for
    • G08B21/02Alarms for ensuring the safety of persons
    • G08B21/06Alarms for ensuring the safety of persons indicating a condition of sleep, e.g. anti-dozing alarms
    • GPHYSICS
    • G08SIGNALLING
    • G08GTRAFFIC CONTROL SYSTEMS
    • G08G1/00Traffic control systems for road vehicles
    • G08G1/16Anti-collision systems
    • BPERFORMING OPERATIONS; TRANSPORTING
    • B60VEHICLES IN GENERAL
    • B60KARRANGEMENT OR MOUNTING OF PROPULSION UNITS OR OF TRANSMISSIONS IN VEHICLES; ARRANGEMENT OR MOUNTING OF PLURAL DIVERSE PRIME-MOVERS IN VEHICLES; AUXILIARY DRIVES FOR VEHICLES; INSTRUMENTATION OR DASHBOARDS FOR VEHICLES; ARRANGEMENTS IN CONNECTION WITH COOLING, AIR INTAKE, GAS EXHAUST OR FUEL SUPPLY OF PROPULSION UNITS IN VEHICLES
    • B60K35/00Instruments specially adapted for vehicles; Arrangement of instruments in or on vehicles
    • B60K35/80Arrangements for controlling instruments
    • B60K35/81Arrangements for controlling instruments for controlling displays
    • BPERFORMING OPERATIONS; TRANSPORTING
    • B60VEHICLES IN GENERAL
    • B60WCONJOINT CONTROL OF VEHICLE SUB-UNITS OF DIFFERENT TYPE OR DIFFERENT FUNCTION; CONTROL SYSTEMS SPECIALLY ADAPTED FOR HYBRID VEHICLES; ROAD VEHICLE DRIVE CONTROL SYSTEMS FOR PURPOSES NOT RELATED TO THE CONTROL OF A PARTICULAR SUB-UNIT
    • B60W40/00Estimation or calculation of non-directly measurable driving parameters for road vehicle drive control systems not related to the control of a particular sub unit, e.g. by using mathematical models
    • B60W40/08Estimation or calculation of non-directly measurable driving parameters for road vehicle drive control systems not related to the control of a particular sub unit, e.g. by using mathematical models related to drivers or passengers
    • B60W2040/0818Inactivity or incapacity of driver
    • B60W2040/0827Inactivity or incapacity of driver due to sleepiness
    • BPERFORMING OPERATIONS; TRANSPORTING
    • B60VEHICLES IN GENERAL
    • B60WCONJOINT CONTROL OF VEHICLE SUB-UNITS OF DIFFERENT TYPE OR DIFFERENT FUNCTION; CONTROL SYSTEMS SPECIALLY ADAPTED FOR HYBRID VEHICLES; ROAD VEHICLE DRIVE CONTROL SYSTEMS FOR PURPOSES NOT RELATED TO THE CONTROL OF A PARTICULAR SUB-UNIT
    • B60W50/00Details of control systems for road vehicle drive control not related to the control of a particular sub-unit, e.g. process diagnostic or vehicle driver interfaces
    • B60W50/08Interaction between the driver and the control system
    • B60W50/14Means for informing the driver, warning the driver or prompting a driver intervention
    • B60W2050/143Alarm means
    • BPERFORMING OPERATIONS; TRANSPORTING
    • B60VEHICLES IN GENERAL
    • B60WCONJOINT CONTROL OF VEHICLE SUB-UNITS OF DIFFERENT TYPE OR DIFFERENT FUNCTION; CONTROL SYSTEMS SPECIALLY ADAPTED FOR HYBRID VEHICLES; ROAD VEHICLE DRIVE CONTROL SYSTEMS FOR PURPOSES NOT RELATED TO THE CONTROL OF A PARTICULAR SUB-UNIT
    • B60W50/00Details of control systems for road vehicle drive control not related to the control of a particular sub-unit, e.g. process diagnostic or vehicle driver interfaces
    • B60W50/08Interaction between the driver and the control system
    • B60W50/14Means for informing the driver, warning the driver or prompting a driver intervention
    • B60W2050/146Display means

Definitions

  • This disclosure relates to an in-vehicle device control apparatus that performs an operation for maintaining a suitable state for a driver or the like.
  • a display provided with a blinking display operation on the left and right sides of the driver's seat of the vehicle outside the driver's central view. This is to increase the arousal level by moving the driver's line of sight by alternately blinking the left and right indicators when it is detected that the driver is in a state of reduced attention. is there.
  • a state detection device that detects a driving state of a vehicle driver and a vehicle-mounted device that provides information to the driver in the vehicle through the five senses in a predetermined providing mode.
  • a providing device, and an optimization device that causes the providing device to change the providing mode and provide the information when the driving state of the driver detected by the state detecting device is out of an appropriate range; It has.
  • the optimization device may change the provision mode with respect to the activated provision device. To control. As a result, the provision of information by the providing device changes, and the driver is stimulated through the five senses. If the driving state can be improved, the driving state can be changed consciously or unconsciously. Can be improved.
  • the driver can recognize that the driving state is not appropriate due to the change in the provision state, the driver can consciously shift to the appropriate state by recognizing that the driving state is not appropriate. Further, even when the driver cannot recognize that the driving state is not appropriate, the driving state can potentially shift to the appropriate state by receiving a stimulus by the change in the provision state.
  • FIG. 1 is a block diagram showing the first embodiment.
  • FIG. 2 is an external view of the front of the passenger compartment.
  • FIG. 3 is a flowchart showing the control content of the optimization control.
  • FIG. 4 is an action explanatory diagram showing factors corresponding to the senses and senses of the five senses.
  • FIG. 5 is an operation explanatory diagram (part 1) when the visual control amount of the visual factor of the presentation mode by the visual presentation device is changed in a different mode.
  • FIG. 6 is an operation explanatory diagram (part 2) when the visual control amount of the visual factor of the presentation mode by the visual presentation device is changed in a different mode.
  • FIG. 1 is a block diagram showing the first embodiment.
  • FIG. 2 is an external view of the front of the passenger compartment.
  • FIG. 3 is a flowchart showing the control content of the optimization control.
  • FIG. 4 is an action explanatory diagram showing factors corresponding to the senses and senses of the five senses.
  • FIG. 5 is an operation explanatory diagram
  • FIG. 7 is an operation explanatory diagram (part 3) when the visual control amount of the visual factor of the presentation mode by the visual presentation device is changed in a different mode.
  • FIG. 8 is a diagram showing a basic display screen by a head-up display.
  • FIG. 9 is an example (part 1) in which different changes are made to the display mode in the optimization control.
  • FIG. 10 is an example (part 2) in the case where a different change is added to the display mode in the optimization control.
  • FIG. 11 is an example (part 3) in the case where a different change is added to the display mode in the optimization control.
  • FIG. 12 is an operation explanatory diagram (part 1) when a change is made to the display mode in the optimization control.
  • FIG. 13 is an operation explanatory diagram (No.
  • FIG. 14 is an operation explanatory diagram (No. 3) when a change is made to the display mode in the optimization control.
  • FIG. 15 is an operation explanatory diagram (part 4) when a change is made to the display mode in the optimization control.
  • FIG. 16 is an operation explanatory diagram (No. 5) when a change is made to the display mode in the optimization control.
  • FIG. 17 is an operation explanatory diagram (No. 6) when the display mode is changed by the optimization control.
  • FIG. 18 is an operation explanatory diagram (No. 7) when a change is made to the display mode by the optimization control.
  • FIG. 19 is an operation explanatory diagram (No. 8) when the display mode is changed by the optimization control.
  • FIG. 20 is an operation explanatory diagram (No. 9) when a change is made to the display mode in the optimization control.
  • FIG. 21 is an operation explanatory diagram (No. 10) when a change is made to the display mode in the optimization control.
  • FIG. 22 is an operation explanatory diagram (No. 11) when a change is made to the display mode by the optimization control.
  • FIG. 23 is an operation explanatory diagram (No. 12) when a change is made to the display mode in the optimization control.
  • FIG. 24 is an operation explanatory diagram (No. 13) when a change is made to the display mode in the optimization control.
  • FIG. 25 is an operation explanatory diagram (No. 14) when the display mode is changed by the optimization control.
  • FIG. 26 is an operation explanatory diagram (No.
  • FIG. 27 is an operation explanatory diagram (No. 16) when the display mode is changed by the optimization control.
  • FIG. 28 is an operation explanatory diagram (part 1) when changing the auditory control amount of the auditory factor of the presentation mode by the auditory presentation device showing the second embodiment in a different mode;
  • FIG. 29 is an operation explanatory diagram (part 2) in the case of changing the auditory control amount of the auditory factor of the presentation mode by the auditory presentation device showing the second embodiment in a different mode;
  • FIG. 30 is an operation explanatory diagram (part 3) in the case of changing the auditory control amount of the auditory factor of the presentation aspect by the auditory presentation device showing the second embodiment in a different aspect;
  • FIG. 31 is an operation explanatory diagram (No. 1) when a change is made to the output mode by the optimization control by the acoustic device.
  • FIG. 32 is an operation explanatory diagram (No. 2) when a change is made to the output mode by the optimization control by the audio equipment
  • FIG. 33 is an example of a configuration diagram in the case where a change is made to the output mode by the optimization control by the audio equipment
  • FIG. 34 is an example of a configuration diagram in the case where a change is made to the output mode of the conditioned air by the optimization control by the air conditioner.
  • FIG. 35 is an action explanatory diagram showing factors corresponding to the senses of the five senses.
  • FIG. 36 is an operation explanatory diagram (part 1) when changing the tactile control amount of the tactile factor of the presentation mode by the tactile presentation device in a different mode
  • FIG. 37 is an operation explanatory diagram (No. 2) when changing the tactile control amount of the tactile factor of the presentation aspect by the tactile presentation device in a different aspect
  • FIG. 38 is an operation explanatory diagram (part 3) when the tactile control amount of the tactile factor of the presentation mode by the tactile presentation device is changed in different modes.
  • FIG. 1 is a diagram showing a basic configuration, which is mounted on a vehicle, particularly for detecting a driver's state at a driver's seat and performing control to return to an appropriate state when the driving state is out of an appropriate range.
  • the control device 1 includes a CPU, a ROM, a RAM, an interface circuit, and the like, and functions as an optimization device.
  • a dedicated device can be provided in this embodiment, or a control device that performs other controls. It can also be incorporated as a dual-use configuration.
  • the control device 1 stores a program for performing an optimization operation, which will be described later, in an internal storage unit or the like, and is configured to read the program and repeatedly execute it at an appropriate timing when the power is turned on.
  • the control device 1 is connected to an in-vehicle front camera 2, a radar sensor 3, a sensor 4, and the like as a configuration for detecting the driving state of the driver.
  • vehicle information obtained from various sensors provided in the vehicle is input to the control device 1.
  • the in-vehicle front camera 2 is provided in the passenger compartment so as to photograph the driver, and functions as a state detection device that analyzes the driver's state such as the driver's face and movement to determine the driving state.
  • the driving state includes, for example, the driver being vague, causing drowsiness, fatigue, reduced attention, or arousal level, or conversely being over-awakened. Since such an operating state is a state that is not suitable for driving, that is, an inappropriate operating state, it is desired that the driving state be an appropriate operating state. Further, the driving state can be detected not only from the driver's state but also from the radar sensor 3, various sensors 4 or the vehicle state obtained from the vehicle information, and these also function as a driving state detection device.
  • the control device 1 is connected to various devices that can be used to improve the operating state.
  • the various devices described below are used for improving the operating state, but are not provided for that purpose, but are provided as providing devices for providing other information. .
  • HUD 5 Head Up ⁇ Display 5 is a device that projects images from the dashboard in the passenger compartment toward the windshield, and supports speed information, lane information, and other driving assistance. Information that becomes is displayed.
  • the HUD 5 displays in a transparent state except for the pattern portion so that the front can be seen through the windshield.
  • CID (Center Information Display) 6 is a display device arranged at the upper center of the dashboard, and displays various types of information that supports the running of the vehicle, similar to the HUD 5.
  • the CID 6 also displays a map of the car navigation 9.
  • the indicator 7 is attached to a side mirror or the like, for example, and displays information by turning on or blinking an LED.
  • the above-described HUD 5, CID 6, indicator 7, and the like function as a presentation device that visually presents information to the driver among the five senses.
  • the acoustic device 8 is provided as a sound output device for a car stereo or a car navigation 9 and outputs sound into the vehicle interior by speakers 8a and 8b provided on both sides of the dashboard or on the left and right doors, for example.
  • the acoustic device 8 functions as a presentation device that presents information and the like to the driver by hearing among the five senses.
  • the air conditioner 10 blows hot or cold air from a plurality of air outlets 10a, 10b, 10c and the like into the passenger compartment, and is driven and controlled by an air conditioner control circuit.
  • the seat heater 11 and the handle heater 12 are each heated by a heater provided in the seating portion of the seat 11a or in the contact portion of the handle 12a.
  • the air conditioner 10, the seat heater 11, and the handle heater 12 function as a presentation device that presents information and the like to the driver by tactile sense among the five senses.
  • the present invention can also be applied to a providing device that transmits information such as smell and taste, and information such as smell.
  • HUD5, CID6, etc. are the states generally started during driving
  • any device that is activated during driving and can give a stimulus to the driver through the five senses can be used as a providing device that is subject to optimization control.
  • the senses recognized as the “five senses” are “sight”, “hearing”, “tactile sense”, “olfaction”, and “taste”, but each sense affects the control of the human state. There are factors. In this embodiment, optimization control is performed for “sight”. As shown in FIG. 4, visual factors include, for example, “color”, “shape”, “position”, “movement”, “character”, and the like.
  • the control device 1 performs optimization control in display operations of display devices such as the HUD 5, the CID 6, and the indicator 7.
  • display devices such as the HUD 5, the CID 6, and the indicator 7.
  • the factor “color”, “hue”, “lightness”, “saturation”, etc. are changed for the information being displayed.
  • the factor “shape”, “area”, “volume”, “curvature” and the like are changed.
  • the factor “position”, “absolute coordinates”, “relative coordinates” and the like are changed.
  • the factor “movement”, “speed”, “acceleration”, “depth” and the like are changed.
  • various stimuli such as deformation, movement, distortion, blinking, and color change can be given.
  • various directions such as increasing, decreasing or repetitively changing the control amount, can be adopted as the manner of change.
  • the factor level S is a constant display level
  • only the visual control amount ⁇ S ⁇ b> 1 is obtained at the time of starting the optimization control.
  • the factor level is changed by increasing or decreasing the visual control amount ⁇ S2.
  • the driver is stimulated by the visual sense of the five senses due to the level change of the factor.
  • the visual control amount ⁇ S may be periodically changed by combining the controls shown in FIGS.
  • the visual control amount ⁇ S corresponds to the amplitude ⁇ S3 of the change amount, and the speed of change can be set as the control cycle T.
  • the control amount ⁇ S3 and the control cycle T can be changed and set as appropriate.
  • the above-described factor level S and control amount ⁇ S may be a digital level or an analog level. Further, it can be changed stepwise or continuously.
  • these display devices are not used to directly communicate that the operation state is not an appropriate state, but are performed in a state where the display operation mode is changed.
  • information is not provided by causing the display operation to be performed in a changed state.
  • the driver may recognize that the driving state is not appropriate due to the display operation with a change, but may not recognize it because it is not a direct stimulus. is there. If the driver recognizes it, it may be able to shift to an appropriate state. Even when the driver does not recognize, there is a case where the display operation is unconsciously changed, so that a visual stimulus can be received to shift to an appropriate state.
  • the control device 1 reads the optimization control program, and executes the program when it is determined that the vehicle is being driven based on various vehicle information.
  • the control device 1 repeatedly executes the program at an appropriate timing during operation.
  • step S1 the control device 1 performs a driving state detection process for the driver by using the in-vehicle front camera 2, the laser sensor 3, the sensor 4, or various vehicle information.
  • the driving state an inappropriate driving state unsuitable for driving, such as a driver's ambiguity / drowsiness / fatigue / attention reduction / arousal level reduction / hyperawakening, is detected.
  • a level can be determined using indicators, such as a degree of arousal, for example.
  • the control device 1 determines the state level in step S2.
  • As the state level of the operating state an appropriate range is set, and a certain range from the appropriate range is a level to be subjected to the optimization control. Then, when the state level of the driving state deviates greatly from the appropriate range and the optimization control is difficult, measures such as warning and operation support are performed.
  • step S3 When the state level of the operation state is in the appropriate range in step S3, the control device 1 determines YES and proceeds to step S4 to determine whether or not the proper maintenance control is being performed. If it has not been performed yet, it is determined as NO and the process proceeds to step S5 to determine whether or not the optimization control is being performed. If it has not been implemented yet, it is determined as NO and the program is terminated without performing anything. This is the flow when the operating state is appropriate and no special optimization control is required.
  • the control device 1 determines NO in step S3 after steps S1 and S2. The control device 1 proceeds to step S6 and determines whether or not the warning level is reached. If it is not the warning level, the control device 1 proceeds to step S7 and determines whether or not the optimization control is being performed. If the optimization control has not been performed yet, the control device 1 determines NO in step S7, proceeds to step S8, and starts the optimization control. Specifically, the control device 1 executes the optimization control operation as described later.
  • control device 1 determines YES in step S7 through step S6 and proceeds to step S9.
  • the control device 1 determines YES in step S9, proceeds to step S10, and continues the optimization control.
  • step S3 the control device 1 determines whether or not appropriate maintenance control is being performed. Since the control device 1 is currently in the state of performing the optimization control, the control device 1 determines NO and proceeds to step S5. Here, it determines YES and proceeds to step S10.
  • the control device 1 switches from the conventional optimization control to the proper maintenance control. In this suitability maintenance control, the control device 1 may continue the same operation as the optimization control, or performs an optimization process that makes the degree weaker or stronger than the optimization process at the time of the optimization control. May be. Further, the control amount of the optimization process may be changed according to the state level of the operating state.
  • step S12 the control device 1 determines whether a condition for stopping the proper maintenance control is satisfied. If the stop condition is not satisfied in step S12, the control device 1 determines NO and proceeds to step S13 to continue the proper maintenance control.
  • condition for stopping the proper maintenance control for example, when the predetermined time or more has elapsed since the start of the proper maintenance control, or the most favorable state is detected in the other operating state levels within the proper range. There are cases. Moreover, various conditions can be set as other stop conditions for proper maintenance control.
  • step S12 determines YES in step S12 and proceeds to step S14.
  • the control device 1 stops the appropriate maintenance control that has been performed so far in step S14.
  • the control device 1 determines YES in step S6 through steps S1 to S3 and proceeds to step S15 to perform a warning operation.
  • the warning operation is basically performed using the HUD 5, the CID 6, the indicator 7, the acoustic device 8, or the like.
  • a warning is given by a display, a voice, a buzzer or the like so as to call the driver directly, and a dedicated one can be provided.
  • an operation for reducing the speed of the vehicle or displaying a prompt for a break can be performed.
  • step S9 the control apparatus 1 NO is determined, and also in this case, the process proceeds to step S15 to perform a warning operation.
  • the control device 1 by performing the optimization control operation by the control device 1, even if the state level of the driving state of the driver is out of the appropriate range, there is a possibility that it can be returned to the appropriate state. Get higher. Even in this case, the driver does not directly indicate that the driving state deviates from the appropriate state, but suggests by changing the display state of the HUD 5 displayed in the original application. Therefore, it is possible to reduce the feeling that the driver is bothered even when the driver notices the stimulus. In addition, if the driver is not aware, it can potentially promote the transition to an appropriate state.
  • FIG. 5 One of the display forms by the HUD 5 is as shown in FIG.
  • the HUD 5 is projected from the dashboard onto the windshield or a dedicated display so that the driver can see the road surface and display through the windshield.
  • speed information 50 for example, speed information 50, road surface information 51, lane information 52, forward vehicle information 53, and the like are displayed on the display screen 5a in a white pattern or a colored pattern as necessary.
  • the parts other than the pattern are transparent so that the road surface through the windshield can be seen. In this way, the driver can see various information in a state where the display screen 5a of the HUD 5 is overlaid while looking forward through the windshield.
  • the display state is changed by controlling the display state of the HUD 5 by the control device 1.
  • FIG. 9 shows a pattern 60 that is changed by coloring the patterns of the information 51 to 53 displayed on the display screen 5a with different colors.
  • the color to be colored in the pattern can be changed, or can be made conspicuous by blinking display.
  • the changing speed can be set to an appropriate speed or can be changed.
  • FIGS. 12 to 15 show specific display examples.
  • FIGS. 12 and 14 show screen display states 5b and 5c that change in two patterns 60a and 60b in FIGS. 13 and 15, respectively.
  • FIGS. 13 and 15 show patterns 60a and 60b obtained by coloring the above-described pattern 60 in different colors such as yellow and red, respectively.
  • the patterns of the information 51 to 53 on the display screen 5a are displayed in a yellow state with the pattern 60a, and in FIG. 14, they are displayed in a red state.
  • FIG. 12 and FIG. 14 are repeatedly displayed alternately.
  • the optimization control state is established by displaying the information 51 to 53 on the display screen 5a with the pattern changed.
  • a moving area pattern 61 for coloring a different color is set for each of the information 51-53 patterns displayed on the display screen 5a, and the moving area pattern 61 is predetermined from the right side to the left side, for example.
  • the movement area pattern 61 has, for example, a color or a pattern different from the patterns of the information 51 to 53 on the display screen 5a, and is displayed on a portion overlapping the pattern when it is moved. As a result, the display state of the display screen 5a changes.
  • the moving area pattern 61 may be rectangular, parallelogram, circle, ellipse, or a predetermined shape may be used, and appropriate colors and patterns are set. be able to. Also, the moving speed can be set to an appropriate speed, and the moving speed can be changed as appropriate, not constant.
  • FIGS. 16 to 19 show specific display examples.
  • FIGS. 16 and 18 show screen display states 5d and 5e that change in two patterns 61a and 61b in FIGS. 17 and 19, respectively.
  • 17 and 19 show patterns 61a and 61b obtained by moving the above-described pattern 61 to different positions, respectively.
  • the patterns of the information 51 to 53 on the display screen 5a are displayed on the display screen 5d in a state where the overlapping pattern is colored in the portion where the pattern 61a on the right side of the screen is arranged.
  • the colored portion is displayed on the display screen 5e in a state where it is moved to the left side.
  • the pattern 61 is continuously moved, and the display positions in FIGS. 16 and 18 are continuously moved. Further, after the pattern 61 moves to the left end, it appears again from the right side and moves to the left side. As a result, the patterns of the respective information 51 to 53 on the display screen 5a are displayed in a changed state, thereby entering the optimization control state.
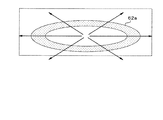
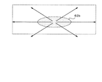
  • FIG. 11 shows that, similarly to FIG. 10, a variable region pattern 62 for coloring a different color is set to the pattern of each information 51 to 53 displayed on the display screen 5a.
  • the variable region pattern 62 is increased so as to spread outward from the center point O, thereby changing the patterns of the pieces of information 51 to 53 on the display screen 5a.
  • the changing area pattern 62 has, for example, a color or a pattern different from the patterns of the respective information 51 to 53 on the display screen 5a. Is. As a result, the display state of the display screen 5a changes.
  • the change region pattern 62 may be an ellipse that is long horizontally along the shape of the display screen 5a, or a plurality of rectangular, circular, and annular patterns are concentrically arranged to increase.
  • a pattern may be sufficient and arbitrary shapes may be increased.
  • you may change not only to increase but to reduce.
  • the deformation speed can be set at an appropriate speed, and the deformation speed is not constant but can be appropriately changed.
  • 20 to 23 show specific display examples.
  • 20 and 22 show screen display states 5f and 5g that change in two patterns 62a and 62b in FIGS. 21 and 23, respectively.
  • 21 and 23 show patterns 62a and 62b obtained by enlarging or reducing the above-described pattern 62, respectively.
  • the patterns of the information 51 to 53 on the display screen 5a are displayed on the display screen 5f in a state where the pattern overlapping the donut-shaped pattern 62a is colored.
  • FIG. 22 after the donut-shaped pattern 62a increases and disappears, it is displayed again on the display screen 5g in a state of being generated as the pattern 62b.
  • the pattern 62 is continuously increased, and the display positions in FIGS. 20 and 22 are continuously moved.
  • the patterns of the information 51 to 53 on the display screen 5a are displayed in a changed state, thereby entering the optimization control state.
  • FIG. 24 to FIG. 26 the optimization control is performed by moving the pattern of the speed information 50 to the left and right among the patterns of the information 51 to 53 of the display screen 5a displayed on the HUD 5 described above. Is what you do.
  • FIG. 24 shows the basic position.
  • FIG. 25 shows a display state of the speed information 50a moved to the left, and
  • FIG. 22 shows a display state of the speed information 50b moved to the right.
  • the display operation of moving from the reference position shown in FIG. 24 to the left side and then returning to the reference position and then moving to the right side and then returning to the reference position is repeatedly performed.
  • the display position of the speed information 50 may be moved continuously or displayed in a state of being moved instantaneously.
  • the moving speed can be set to an appropriate speed, and the moving speed can be changed as appropriate, not constant.
  • FIG. 27 performs optimization control by deforming and displaying the pattern of the speed information 50 among the patterns of the information 51 to 53 of the display screen 5a displayed on the HUD 5 described above.
  • the upper part of FIG. 27 shows the speed information 50 in the basic state
  • the middle part and the lower part of FIG. 27 show the display states of the speed information 50c and 50d deformed so as to be twisted into different shapes.
  • the reference state shown in the upper part of FIG. 27 may be continuously changed to the state of the middle part, the lower part, etc. in FIG. 27, or may be displayed in an instantaneously deformed state.
  • the deformation speed can be set at an appropriate speed, and the deformation speed is not constant but can be appropriately changed.
  • a driver's driving state when it is in the range which can be optimized, it changes into a display mode using HUD5 which is a display device in use.
  • the driver is given a visual stimulus, and a visual stimulus is given to the driver.
  • the driver is not directly notified that the driving state is not the proper state, but is transmitted by a visual stimulus from a display operation that conveys other information, so that annoyance is reduced.
  • the driving state can be improved without reducing the attention to the front due to the transmission of information.
  • FIG. 28 to FIG. 33 show the second embodiment, and only the parts different from the first embodiment will be described below.
  • optimization control is performed using the auditory sense among the five senses as a stimulus element for the driver.
  • optimization control is performed using, for example, the acoustic device 6 as a presentation device using hearing.
  • the auditory factors include “sound intensity”, “pitch”, “tone”, “rhythm”, “audible range”, “language”, and the like.
  • control device 1 performs optimization control in the sound output operation of the acoustic device 8.
  • the factor “sound intensity”, “sound volume”, “sound pressure”, etc. are changed for the sound output from the speakers 8a, 8b.
  • the factor “pitch” the “frequency” of the voice is changed.
  • the factor “timbre” the “waveform of sound wave” is changed.
  • the factor “rhythm” the “wavelength length” is changed.
  • the driver can be stimulated by adding changes such as the language pitch, volume, or language.
  • various directions such as increasing, decreasing or repetitively changing the control amount, can be adopted as the manner of change.
  • FIG. 28 and FIG. 29 There are methods as shown in FIG. 28 and FIG. 29 for changing the level of auditory factors quantitatively. This is similar to the case where the visual factor shown in the first embodiment is quantitatively changed. That is, if the level S of the auditory factor is a constant display level, the auditory control level ⁇ S1 is increased or decreased by the auditory control amount ⁇ S2 at the start of the optimization control. The level S of the factor is changed. As a result, the driver is stimulated by the auditory sense among the five senses due to the level change of the factor.
  • the auditory control amount ⁇ S may be periodically changed.
  • the amount of change corresponds to the amplitude ⁇ S3, and the speed of change can be set as the control cycle T.
  • These control amounts can be changed and set as appropriate.
  • the volume and sound pressure of the sound output from the speakers 8a and 8b can be changed, the pitch can be changed, and the rhythm cycle can be changed.
  • the sound output mode is changed by controlling the sound volume output from the left and right speakers 8a and 8b from the equal output state as shown in FIG. 31 to the unequal state. Optimization control can be performed.
  • the sound image localization position V1 can be moved to a position shifted from the center line L by changing the sound volume.
  • the sound image localization can be moved from the center line L to the left position V2 by moving the volume of the left speaker 8a higher than the volume of the right speaker 8b. . This can be moved to the right side, or can be moved repeatedly to the left and right. Furthermore, it can be changed continuously or instantaneously.
  • the audio output state is selected by the user.
  • the use state of the filter 82 it is possible to perform various operations such as changing the sound quality, changing the pitch, or delaying.
  • the control device 1 can control the switching of the switch 81 to change the sound signal through the filter 82 or cut.
  • the control device 1 can control the switching of the switch 81 to change the sound signal through the filter 82 or cut.
  • the same effect as that of the first embodiment can also be obtained by the second embodiment. Further, in this embodiment, it is possible to prevent the line of sight from deviating by giving a stimulus to the driver's vision by giving the stimulus by hearing and performing the optimization control.
  • FIG. 34 to FIG. 38 show the third embodiment. Hereinafter, parts different from the first embodiment will be described.
  • optimization control is performed using the sense of touch among the five senses as an element of stimulation for the driver.
  • optimization control is performed using, for example, the air conditioner 10 as a presentation device using a tactile sense.
  • the air conditioner 10 includes a control unit including a control circuit 100, a temperature control unit 101, and an air volume control unit 102, thereby controlling the air conditioning operation of the air conditioner main body 103.
  • the air conditioner main body 103 is configured to blow conditioned air under conditions set from the air outlets 10a to 10c and the like.
  • a control signal is given to the control circuit 100 by the control device 1 to perform optimization control.
  • control device 1 performs optimization control in the air-conditioning air blowing operation of the air conditioner 10.
  • the temperature of the conditioned air blown from the air outlets 10a to 10c of the air conditioner 10 is changed.
  • the intensity of the bodily sensation is changed by changing the “air volume” of the air-conditioning wind.
  • the driver is stimulated by changing the position of the sensation by changing the “outlet direction” by switching the outlets 10a to 10c or changing the blowing direction. Can do.
  • FIGS As a mode for quantitatively changing the level of the factor relating to the sense of touch, there are methods as shown in FIGS. This is similar to the case where the visual factor shown in the first embodiment is quantitatively changed. That is, for example, if the temperature factor level S is a constant display level as an auditory factor, the temperature control amount ⁇ S1 is increased or the temperature control amount ⁇ S2 is increased at the time of starting the optimization control. Thus, the temperature factor level S is changed. Thus, the driver is stimulated by a tactile sensation such as a bodily sensation among the five senses due to a change in the level of the factor.
  • the same effect as that of the first embodiment can be obtained. Further, in this embodiment, it is possible to prevent the line of sight from deviating by giving a stimulus to the driver's vision by giving a stimulus by tactile sense and performing optimization control.
  • optimization control can be performed by changing the temperature setting of the seat heater 11 during operation or changing the temperature setting of the handle heater 12 during operation.
  • optimization control For the five senses of sight, hearing and touch, it is possible to perform optimization control based on multiple senses as well as one sense. In other words, optimization control using the first to third embodiments in combination can be performed.

Landscapes

  • Engineering & Computer Science (AREA)
  • Transportation (AREA)
  • Mechanical Engineering (AREA)
  • Chemical & Material Sciences (AREA)
  • Combustion & Propulsion (AREA)
  • Automation & Control Theory (AREA)
  • Physics & Mathematics (AREA)
  • General Physics & Mathematics (AREA)
  • Human Computer Interaction (AREA)
  • Mathematical Physics (AREA)
  • Business, Economics & Management (AREA)
  • Emergency Management (AREA)
  • Traffic Control Systems (AREA)
  • Emergency Alarm Devices (AREA)
  • Control Of Driving Devices And Active Controlling Of Vehicle (AREA)
PCT/JP2017/014976 2016-04-28 2017-04-12 車載機器制御装置 Ceased WO2017187986A1 (ja)

Priority Applications (2)

Application Number Priority Date Filing Date Title
US16/096,455 US20190118824A1 (en) 2016-04-28 2017-04-12 Vehicle apparatus control device
DE112017002231.2T DE112017002231T5 (de) 2016-04-28 2017-04-12 Fahrzeugvorrichtungssteuervorrichtung

Applications Claiming Priority (2)

Application Number Priority Date Filing Date Title
JP2016-091049 2016-04-28
JP2016091049A JP2017199269A (ja) 2016-04-28 2016-04-28 車載機器制御装置

Publications (1)

Publication Number Publication Date
WO2017187986A1 true WO2017187986A1 (ja) 2017-11-02

Family

ID=60160448

Family Applications (1)

Application Number Title Priority Date Filing Date
PCT/JP2017/014976 Ceased WO2017187986A1 (ja) 2016-04-28 2017-04-12 車載機器制御装置

Country Status (4)

Country Link
US (1) US20190118824A1 (enExample)
JP (1) JP2017199269A (enExample)
DE (1) DE112017002231T5 (enExample)
WO (1) WO2017187986A1 (enExample)

Families Citing this family (4)

* Cited by examiner, † Cited by third party
Publication number Priority date Publication date Assignee Title
WO2017064797A1 (ja) * 2015-10-15 2017-04-20 日立マクセル株式会社 情報表示装置
CN109849935B (zh) * 2019-02-20 2021-02-02 百度在线网络技术(北京)有限公司 一种安全控制方法、装置及存储介质
JP7647157B2 (ja) * 2021-02-24 2025-03-18 マツダ株式会社 車両の制御方法
CN113362566B (zh) * 2021-06-25 2022-09-06 广汽本田汽车有限公司 防止疲劳驾驶的提醒系统、方法和存储介质

Citations (6)

* Cited by examiner, † Cited by third party
Publication number Priority date Publication date Assignee Title
JPH10217803A (ja) * 1997-01-31 1998-08-18 Honda Motor Co Ltd 車両用運転状況監視装置
JP2007506166A (ja) * 2003-09-20 2007-03-15 ダイムラークライスラー・アクチェンゲゼルシャフト 自動車用の情報システム
WO2011138855A1 (ja) * 2010-05-07 2011-11-10 パナソニック株式会社 覚醒状態維持装置および覚醒状態維持方法
JP2012164040A (ja) * 2011-02-04 2012-08-30 Nissan Motor Co Ltd 覚醒低下検出装置
JP2016162015A (ja) * 2015-02-27 2016-09-05 本田技研工業株式会社 車両の注意喚起装置
JP2016170589A (ja) * 2015-03-12 2016-09-23 ソニー株式会社 情報処理装置、情報処理方法およびプログラム

Family Cites Families (5)

* Cited by examiner, † Cited by third party
Publication number Priority date Publication date Assignee Title
JP4316960B2 (ja) * 2003-08-22 2009-08-19 株式会社半導体エネルギー研究所 装置
JP2008238957A (ja) 2007-03-27 2008-10-09 Matsushita Electric Works Ltd 車室内照明装置
US8698639B2 (en) * 2011-02-18 2014-04-15 Honda Motor Co., Ltd. System and method for responding to driver behavior
JP6476546B2 (ja) 2014-01-22 2019-03-06 株式会社豊田中央研究所 覚醒維持装置及びプログラム
JP6463081B2 (ja) 2014-10-29 2019-01-30 キヤノン株式会社 データ処理装置、データ処理方法及びプログラム

Patent Citations (6)

* Cited by examiner, † Cited by third party
Publication number Priority date Publication date Assignee Title
JPH10217803A (ja) * 1997-01-31 1998-08-18 Honda Motor Co Ltd 車両用運転状況監視装置
JP2007506166A (ja) * 2003-09-20 2007-03-15 ダイムラークライスラー・アクチェンゲゼルシャフト 自動車用の情報システム
WO2011138855A1 (ja) * 2010-05-07 2011-11-10 パナソニック株式会社 覚醒状態維持装置および覚醒状態維持方法
JP2012164040A (ja) * 2011-02-04 2012-08-30 Nissan Motor Co Ltd 覚醒低下検出装置
JP2016162015A (ja) * 2015-02-27 2016-09-05 本田技研工業株式会社 車両の注意喚起装置
JP2016170589A (ja) * 2015-03-12 2016-09-23 ソニー株式会社 情報処理装置、情報処理方法およびプログラム

Also Published As

Publication number Publication date
DE112017002231T5 (de) 2019-01-17
JP2017199269A (ja) 2017-11-02
US20190118824A1 (en) 2019-04-25

Similar Documents

Publication Publication Date Title
JP6860271B2 (ja) 運転者の挙動に応答するシステムおよび方法
JP6292218B2 (ja) 情報提示装置及び情報提示方法
US10875536B2 (en) Coordinated vehicle response system and method for driver behavior
US9260013B2 (en) Awareness level improvement device
CN107408349B (zh) 信息提示装置以及信息提示方法
WO2017187986A1 (ja) 車載機器制御装置
WO2014149657A1 (en) Coordinated vehicle response system and method for driver behavior
WO2016013153A1 (ja) 車両用報知システム、報知制御装置、及び報知装置
JP2018013811A (ja) ドライバ状態判定装置、及びドライバ状態判定プログラム
JP2022179108A (ja) 覚醒支援システム
JP6668999B2 (ja) 運転支援装置
JP2019200544A (ja) 安全運転支援装置
JP7087286B2 (ja) 覚醒維持装置
WO2018030018A1 (ja) 運転支援装置
JP2010205117A (ja) 運転支援情報提供装置及び運転支援方法
JPH07195961A (ja) 車両用表示装置
JP6658095B2 (ja) 覚醒維持装置及びプログラム
JP2004283241A (ja) 生体状態改善装置
JP2024067296A (ja) 注意喚起システム及び注意喚起方法
JP2018013812A (ja) ドライバ状態誘導装置、及びドライバ状態誘導プログラム
JP2021086559A (ja) 車両軌跡表示システム
JP2023017603A (ja) 覚醒支援装置及び覚醒支援方法

Legal Events

Date Code Title Description
121 Ep: the epo has been informed by wipo that ep was designated in this application

Ref document number: 17789273

Country of ref document: EP

Kind code of ref document: A1

122 Ep: pct application non-entry in european phase

Ref document number: 17789273

Country of ref document: EP

Kind code of ref document: A1