WO2017169530A1 - プレッシャレギュレータ及び燃料供給装置 - Google Patents

プレッシャレギュレータ及び燃料供給装置 Download PDF

Info

Publication number
WO2017169530A1
WO2017169530A1 PCT/JP2017/008695 JP2017008695W WO2017169530A1 WO 2017169530 A1 WO2017169530 A1 WO 2017169530A1 JP 2017008695 W JP2017008695 W JP 2017008695W WO 2017169530 A1 WO2017169530 A1 WO 2017169530A1
Authority
WO
WIPO (PCT)
Prior art keywords
fuel
valve body
space
communication hole
branched
Prior art date
Legal status (The legal status is an assumption and is not a legal conclusion. Google has not performed a legal analysis and makes no representation as to the accuracy of the status listed.)
Ceased
Application number
PCT/JP2017/008695
Other languages
English (en)
French (fr)
Japanese (ja)
Inventor
宣博 林
Current Assignee (The listed assignees may be inaccurate. Google has not performed a legal analysis and makes no representation or warranty as to the accuracy of the list.)
Denso Corp
Original Assignee
Denso Corp
Priority date (The priority date is an assumption and is not a legal conclusion. Google has not performed a legal analysis and makes no representation as to the accuracy of the date listed.)
Filing date
Publication date
Application filed by Denso Corp filed Critical Denso Corp
Priority to US16/077,849 priority Critical patent/US11193463B2/en
Priority to CN201780018045.3A priority patent/CN108884797B/zh
Publication of WO2017169530A1 publication Critical patent/WO2017169530A1/ja
Anticipated expiration legal-status Critical
Ceased legal-status Critical Current

Links

Images

Classifications

    • FMECHANICAL ENGINEERING; LIGHTING; HEATING; WEAPONS; BLASTING
    • F02COMBUSTION ENGINES; HOT-GAS OR COMBUSTION-PRODUCT ENGINE PLANTS
    • F02MSUPPLYING COMBUSTION ENGINES IN GENERAL WITH COMBUSTIBLE MIXTURES OR CONSTITUENTS THEREOF
    • F02M37/00Apparatus or systems for feeding liquid fuel from storage containers to carburettors or fuel-injection apparatus; Arrangements for purifying liquid fuel specially adapted for, or arranged on, internal-combustion engines
    • F02M37/0011Constructional details; Manufacturing or assembly of elements of fuel systems; Materials therefor
    • F02M37/0023Valves in the fuel supply and return system
    • F02M37/0029Pressure regulator in the low pressure fuel system
    • FMECHANICAL ENGINEERING; LIGHTING; HEATING; WEAPONS; BLASTING
    • F02COMBUSTION ENGINES; HOT-GAS OR COMBUSTION-PRODUCT ENGINE PLANTS
    • F02MSUPPLYING COMBUSTION ENGINES IN GENERAL WITH COMBUSTIBLE MIXTURES OR CONSTITUENTS THEREOF
    • F02M37/00Apparatus or systems for feeding liquid fuel from storage containers to carburettors or fuel-injection apparatus; Arrangements for purifying liquid fuel specially adapted for, or arranged on, internal-combustion engines
    • F02M37/0047Layout or arrangement of systems for feeding fuel
    • F02M37/0052Details on the fuel return circuit; Arrangement of pressure regulators
    • FMECHANICAL ENGINEERING; LIGHTING; HEATING; WEAPONS; BLASTING
    • F16ENGINEERING ELEMENTS AND UNITS; GENERAL MEASURES FOR PRODUCING AND MAINTAINING EFFECTIVE FUNCTIONING OF MACHINES OR INSTALLATIONS; THERMAL INSULATION IN GENERAL
    • F16KVALVES; TAPS; COCKS; ACTUATING-FLOATS; DEVICES FOR VENTING OR AERATING
    • F16K17/00Safety valves; Equalising valves, e.g. pressure relief valves
    • F16K17/02Safety valves; Equalising valves, e.g. pressure relief valves opening on surplus pressure on one side; closing on insufficient pressure on one side
    • F16K17/04Safety valves; Equalising valves, e.g. pressure relief valves opening on surplus pressure on one side; closing on insufficient pressure on one side spring-loaded
    • F16K17/06Safety valves; Equalising valves, e.g. pressure relief valves opening on surplus pressure on one side; closing on insufficient pressure on one side spring-loaded with special arrangements for adjusting the opening pressure
    • FMECHANICAL ENGINEERING; LIGHTING; HEATING; WEAPONS; BLASTING
    • F02COMBUSTION ENGINES; HOT-GAS OR COMBUSTION-PRODUCT ENGINE PLANTS
    • F02MSUPPLYING COMBUSTION ENGINES IN GENERAL WITH COMBUSTIBLE MIXTURES OR CONSTITUENTS THEREOF
    • F02M63/00Other fuel-injection apparatus having pertinent characteristics not provided for in groups F02M39/00 - F02M57/00 or F02M67/00; Details, component parts, or accessories of fuel-injection apparatus, not provided for in, or of interest apart from, the apparatus of groups F02M39/00 - F02M61/00 or F02M67/00; Combination of fuel pump with other devices, e.g. lubricating oil pump
    • F02M63/0012Valves
    • F02M63/0031Valves characterized by the type of valves, e.g. special valve member details, valve seat details, valve housing details
    • F02M63/005Pressure relief valves
    • FMECHANICAL ENGINEERING; LIGHTING; HEATING; WEAPONS; BLASTING
    • F02COMBUSTION ENGINES; HOT-GAS OR COMBUSTION-PRODUCT ENGINE PLANTS
    • F02MSUPPLYING COMBUSTION ENGINES IN GENERAL WITH COMBUSTIBLE MIXTURES OR CONSTITUENTS THEREOF
    • F02M63/00Other fuel-injection apparatus having pertinent characteristics not provided for in groups F02M39/00 - F02M57/00 or F02M67/00; Details, component parts, or accessories of fuel-injection apparatus, not provided for in, or of interest apart from, the apparatus of groups F02M39/00 - F02M61/00 or F02M67/00; Combination of fuel pump with other devices, e.g. lubricating oil pump
    • F02M63/02Fuel-injection apparatus having several injectors fed by a common pumping element, or having several pumping elements feeding a common injector; Fuel-injection apparatus having provisions for cutting-out pumps, pumping elements, or injectors; Fuel-injection apparatus having provisions for variably interconnecting pumping elements and injectors alternatively
    • F02M63/0225Fuel-injection apparatus having a common rail feeding several injectors ; Means for varying pressure in common rails; Pumps feeding common rails
    • F02M63/023Means for varying pressure in common rails
    • FMECHANICAL ENGINEERING; LIGHTING; HEATING; WEAPONS; BLASTING
    • F02COMBUSTION ENGINES; HOT-GAS OR COMBUSTION-PRODUCT ENGINE PLANTS
    • F02MSUPPLYING COMBUSTION ENGINES IN GENERAL WITH COMBUSTIBLE MIXTURES OR CONSTITUENTS THEREOF
    • F02M63/00Other fuel-injection apparatus having pertinent characteristics not provided for in groups F02M39/00 - F02M57/00 or F02M67/00; Details, component parts, or accessories of fuel-injection apparatus, not provided for in, or of interest apart from, the apparatus of groups F02M39/00 - F02M61/00 or F02M67/00; Combination of fuel pump with other devices, e.g. lubricating oil pump
    • F02M63/02Fuel-injection apparatus having several injectors fed by a common pumping element, or having several pumping elements feeding a common injector; Fuel-injection apparatus having provisions for cutting-out pumps, pumping elements, or injectors; Fuel-injection apparatus having provisions for variably interconnecting pumping elements and injectors alternatively
    • F02M63/0225Fuel-injection apparatus having a common rail feeding several injectors ; Means for varying pressure in common rails; Pumps feeding common rails
    • F02M63/023Means for varying pressure in common rails
    • F02M63/0235Means for varying pressure in common rails by bleeding fuel pressure

Definitions

  • the present disclosure relates to a pressure regulator and a fuel supply device.
  • a fuel supply device that is widely known is provided with a fuel pump that discharges fuel into a fuel flow passage toward an internal combustion engine, and a pressure regulator that adjusts fuel pressure in the fuel flow passage.
  • Patent Document 1 discloses a pressure regulator for such a fuel supply apparatus, in which a valve body nozzle is supported by a diaphragm as a partition that partitions an inlet portion and an outlet portion.
  • a valve body nozzle is supported by a diaphragm as a partition that partitions an inlet portion and an outlet portion.
  • the branched fuel branched from the fuel flow passage to the inlet portion is jetted to the outlet portion through the valve body nozzle, so that the negative pressure acts on the diaphragm and the valve body nozzle resists the elastic member in the axial direction.
  • the valve is driven to open. Therefore, when the branch flow rate of the branched fuel increases from the fuel flow passage, the valve-opening drive of the valve body nozzle is assisted by the use of the negative pressure, thereby suppressing an increase in the adjusted fuel pressure. According to this, it is possible to improve the fuel consumption by reducing the load applied to the fuel pump.
  • the outlet portion includes a cover in which an elastic member is accommodated in an inner space where a negative pressure is applied to the diaphragm.
  • the branched fuel ejected from the valve element nozzle is discharged from the inner space of the cover.
  • the branch fuel can be discharged from the opposite location facing the valve element nozzle in the axial direction by being ejected, but the branch fuel stays outside the opposite location in the radial direction. Resulting in.
  • the staying branched fuel may change its properties and corrode or deteriorate the cover and the elastic member, thereby reducing the durability.
  • the present disclosure has been made in view of the above-described problems, and an object thereof is to provide a pressure regulator and a fuel supply device that can ensure durability.
  • the valve body nozzle As a pressure regulator that adjusts the fuel pressure in the fuel flow path from the fuel pump to the internal combustion engine, the valve body nozzle is supported by a partition that partitions the inlet portion and the outlet portion, and the branch branched from the fuel flow passage to the inlet portion
  • a pressure regulator in which the valve body nozzle is driven to open in the axial direction against the elastic member by negative pressure acting on the partition body by jetting fuel to the outlet portion through the valve body nozzle,
  • An elastic member is housed in the inner space where negative pressure is applied to the partition, and the first series of through holes are formed opposite to the valve body nozzle in the axial direction, but more radially than the first through holes.
  • An inner cover forming a second communication hole on the outside of A fuel space communicating with the inner space through the first communication hole and the second communication hole between the inner cover and the outer cover for discharging the branched fuel from the fuel space;
  • the A pressure regulator is provided.
  • a fuel pump that discharges fuel into a fuel flow path toward the internal combustion engine;
  • the valve body nozzle is supported by a partition that partitions the inlet portion and the outlet portion, and the branched fuel branched from the fuel flow passage to the inlet portion passes through the valve body nozzle.
  • a pressure regulator in which the valve nozzle is driven to open in the axial direction against the elastic member due to the negative pressure acting on the partition by being jetted to the part,
  • a fuel supply device provided,
  • the outlet section An elastic member is housed in the inner space where negative pressure is applied to the partition, and the first series of through holes are formed opposite to the valve body nozzle in the axial direction, but more radially than the first through holes.
  • An inner cover forming a second communication hole on the outside of A fuel space communicating with the inner space through the first communication hole and the second communication hole between the inner cover and the outer cover for discharging the branched fuel from the fuel space;
  • the A fuel supply device is provided.
  • the inner cover that forms the first and second communication holes by accommodating the elastic member in the inner space in which the negative pressure acts on the partition body
  • the outer cover is covering.
  • the fuel space formed between the two covers passes through the first through hole facing the valve body nozzle in the axial direction and the second communication hole radially outside the first through hole.
  • the negative pressure is applied.
  • the branched fuel ejected from the valve element nozzle is sucked into the fuel space through the first series of holes located at the ejection destination.
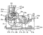
  • FIG. 3 is a cross-sectional view showing a fuel supply device according to an embodiment, and is a cross-sectional view taken along line III-III in FIG. 1.
  • FIG. 4 is a cross-sectional view showing a fuel supply device according to an embodiment, and is a cross-sectional view taken along line IV-IV in FIG. 3.
  • a fuel supply device 1 is applied to an internal combustion engine 3 of a vehicle by being mounted on a fuel tank 2.
  • the fuel supply device 1 supplies the fuel stored in the fuel tank 2 in the vehicle to the internal combustion engine 3 outside the fuel tank 2.
  • the fuel tank 2 is formed of resin or metal and has a hollow shape as a whole.
  • An insertion hole 2 b passes through the upper wall 2 a of the fuel tank 2.
  • the fuel supply device 1 is inserted into the fuel tank 2 through the insertion hole 2b.
  • the internal combustion engine 3 that is the fuel supply destination from the fuel supply device 1 may be a gasoline engine or a diesel engine. 1 and 2 showing the state of the fuel supply device 1 inserted into the fuel tank 2, the vertical direction and the horizontal direction substantially coincide with the vertical direction and horizontal direction of the vehicle on the horizontal plane, respectively.
  • the fuel supply device 1 is constructed including a lid body 10, a pump unit 20, and a connecting column 30.
  • the lid 10 is made of resin and has a disk shape.
  • the lid 10 is attached to the upper wall 2 a of the fuel tank 2. With this attachment, the lid body 10 closes the insertion hole 2b.
  • the lid 10 integrally includes a fuel supply pipe 11 and an electrical connector 12.
  • the fuel supply pipe 11 communicates with the pump unit 20 in the fuel tank 2. As shown in FIG. 1, the fuel supply pipe 11 communicates with the fuel path 4 between the fuel tank 2 and the internal combustion engine 3 outside the fuel tank 2. Under such a communication state, the pump unit 20 discharges the fuel in the fuel tank 2 toward the internal combustion engine 3 outside the fuel tank 2, so that the discharged fuel is sent from the fuel supply pipe 11 to the internal combustion engine 3 through the fuel path 4. Supplied.
  • the electrical connector 12 includes a plurality of metal terminals 12a. Each metal terminal 12 a is electrically connected to the fuel pump 22 of the pump unit 20 in the fuel tank 2. Each metal terminal 12 a is electrically connected to a control circuit system 5 such as an ECU outside the fuel tank 2. Under such an electrical connection state, the fuel pump 22 is controlled in accordance with a control signal sent from the control circuit system 5 through each metal terminal 12a.
  • a control circuit system 5 such as an ECU outside the fuel tank 2.
  • the pump unit 20 is accommodated in the fuel tank 2 below the lid 10. As shown in FIGS. 1 to 4, the pump unit 20 includes a unit main body 21, a fuel pump 22, a passage member 25, and a pressure regulator 26.
  • the unit main body 21 has a flat rectangular box shape as a whole.
  • the unit main body 21 is placed on the bottom wall 2 c of the fuel tank 2.
  • the unit main body 21 is provided with a sub tank 210 and a filter screen 214.
  • the sub tank 210 is configured by combining a lower member 211 and an upper member 212.
  • the lower member 211 is made of resin and has a flat plate shape.
  • the lower member 211 has a plurality of inflow holes 211a penetrating in the vertical direction. From the lower member 211, a plurality of protrusions 211b protrude downward. Each protrusion 211b ensures an inflow gap 2d between the lower member 211 and the bottom wall 2c by contacting the bottom wall 2c of the fuel tank 2 from above. The fuel in the fuel tank 2 flows into each inflow hole 211a through this inflow gap 2d.
  • the upper member 212 is made of resin and has an inverted cup shape.
  • the outer peripheral edge portion of the upper member 212 is fixed to the outer peripheral edge portion of the lower member 211, thereby forming a storage space 210 a of the sub tank 210 in cooperation with the lower member 211.
  • the upper member 212 is provided with a through hole 212a so as to penetrate in the vertical direction. The fuel in the fuel tank 2 flows into the upper member 212 through the through hole 212a, and is stored in the storage space 210a of the sub tank 210.
  • the filter screen 214 shown in FIGS. 1 to 3 is formed of a material that exhibits a filtering function, such as porous resin, woven fabric, non-woven fabric, resin mesh, and metal mesh.
  • the filter screen 214 has a flat rectangular bag shape, and an outer peripheral edge portion is sandwiched between the lower member 211 and the upper member 212. In such a sandwiched state, the inflow fuel from the fuel tank 2 into the inflow holes 211 a and the upper member 212 is filtered through the filter screen 214. The filtered fuel is sucked into the fuel pump 22 from the filter screen 214.
  • the fuel pump 22 is an electric pump such as a vane pump or a trochoid pump.
  • the fuel pump 22 has a cylindrical shape facing in the lateral direction.
  • the fuel pump 22 is held on the upper part 212 b of the upper member 212 in the unit main body 21.
  • the fuel pump 22 is electrically connected to each metal terminal 12a through a flexible wiring that can be bent.
  • the suction port 22a of the fuel pump 22 communicates with the filter screen 214 while being inserted into the upper member 212 through the through hole 212a.
  • the discharge port 22b of the fuel pump 22 communicates with the fuel supply pipe 11 through the fuel flow passage 25a of the passage member 25 and the communication passage 221a of the flexible tube 221 that can be bent.
  • the fuel pump 22 is driven according to a control signal from the control circuit system 5 to suck in the filtered fuel in the filter screen 214.
  • the fuel pump 22 discharges the fuel thus sucked into the fuel flow passage 25a toward the internal combustion engine 3.
  • the passage member 25 is configured by combining two resin materials, and has a hollow shape as a whole.
  • the passage member 25 is held by the upper part 212 b of the upper member 212 in the unit main body 21.
  • the passage member 25 forms a fuel flow passage 25a inside.
  • the fuel flow passage 25a allows the fuel discharged from the fuel pump 22 to flow from the fuel pump 22 toward the internal combustion engine 3 by communicating between the discharge port 22b and the communication passage 221a.
  • the pressure regulator 26 is a diaphragm type fuel pressure adjustment valve.
  • the pressure regulator 26 is held on the upper part 212 b of the upper member 212 of the unit main body 21 via the passage member 25.
  • the pressure regulator 26 is provided with an inlet portion 27 and an outlet portion 28.
  • the inlet portion 27 forms a branch passage 27a that branches from a middle portion of the fuel flow passage 25a.
  • the outlet portion 28 forms a discharge passage 28 a that communicates with the storage space 210 a of the sub tank 210 through the upper member 212.
  • a part of the fuel flowing through the fuel flow passage 25a branches to the branch passage 27a according to the consumed flow rate of the consumed fuel.
  • the branch fuel to the branch passage 27a is controlled by the valve opening drive of the pressure regulator 26 for the branch flow rate returned to the storage space 210a by the discharge through the discharge passage 28a.
  • the fuel pressure in the fuel flow passage 25a is adjusted to a pressure corresponding to the consumption flow rate in the internal combustion engine 3.
  • the connecting column 30 is accommodated in the fuel tank 2.
  • pillar 30 has connected independently between the cover body 10 and the pump unit 20 as a whole.
  • the pump unit 20 is mounted on the single connecting column 30 so as to be rotatable around the rotation axis Ar along the lateral direction.
  • the rotation position around the rotation axis Ar with respect to the connecting column 30 is defined in the pump unit 20 as a use rotation position Ru shown in FIGS. 1 and 2 and an insertion rotation position Ri shown in FIG.
  • the use rotation position Ru corresponds to the unit main body 21 with respect to the connecting column 30 that extends in the longitudinal direction as a whole under the insertion state of the fuel supply device 1 into the fuel tank 2 as shown in FIGS. Is a rotational position in which it is bent at a substantially right angle and placed on the bottom wall 2c.
  • the insertion rotation position Ri is a rotation position at which the bending of the unit main body 21 with respect to the connecting column 30 is reduced from the use rotation position Ru before the fuel supply device 1 is inserted into the fuel tank 2 as shown in FIG. At the insertion rotation position Ri, the entire fuel supply device 1 can be inserted into the fuel tank 2 through the insertion hole 2b from the pump unit 20 side.
  • the connecting column 30 includes a lower column 31, an upper column 32, and an urging spring 33.
  • the lower column 31 is configured by combining a rotating plate part 310, a lower column part 311, and a lower cylinder part 312.
  • the rotating plate portion 310 is made of resin and has a flat plate shape that extends in the vertical direction and the horizontal direction.
  • the rotating plate portion 310 is attached to the side portion 212c of the upper member 212 in the unit main body portion 21 so as to be rotatable around the rotation axis Ar.
  • the lower column portion 311 is formed of resin and has a rectangular column shape along the vertical direction.
  • the lower cylinder portion 312 is made of resin and has a rectangular cylinder shape along the vertical direction.
  • the upper support column 32 is configured by combining the upper tube portion 320 and the upper column portion 321.
  • the upper cylinder part 320 is formed of resin and has a rectangular cylinder shape along the vertical direction.
  • the upper cylinder part 320 extends downward from the lid body 10.
  • a lower column portion 311 is slidably fitted from below.
  • the upper column part 321 is made of resin and has a rectangular column shape along the vertical direction.
  • the upper column part 321 extends downward from the lid body 10.
  • the upper column part 321 is slidably fitted into the lower cylinder part 312 from above.
  • the urging spring 33 is made of metal and has a coil spring shape.
  • the urging spring 33 is accommodated between the upper cylinder part 320 and the lower column part 311 so as to be sandwiched between the upper cylinder part 320 and the lower column part 311.
  • the urging spring 33 causes the lower column part 311 to have a restoring force directed downward while being locked by the upper cylinder part 320. With this restoring force, each protrusion 211 b of the unit main body 21 is pressed against the bottom wall 2 c in the fuel tank 2. As a result, the relative position between the lower support column 31 and the upper support column 32 changes according to the expansion / contraction of the fuel tank 2, so that the connection support column 30 is prevented from being damaged.
  • the inlet 27 of the pressure regulator 26 includes a fixed cover 270, a fixed holder 271, a valve seat plate 272, a diaphragm 273, a movable holder 274, and a valve body nozzle 275.
  • the fixed cover 270 is made of metal and has a stepped cylindrical shape facing in the horizontal direction.
  • the small-diameter portion 270 b enters the passage member 25 with the large-diameter portion 270 a fitted and fixed to the passage member 25 via the rubber O-ring 276.
  • the flange 270c formed by the large-diameter portion 270a at the edge opposite to the small-diameter portion 270b has an annular plate shape substantially perpendicular to the lateral direction.
  • an inflow port 270e penetrates the step 270d connecting the large diameter portion 270a and the small diameter portion 270b in the lateral direction.
  • the branch passage 27a formed in the large diameter portion 270a communicates with the fuel flow passage 25a through the inflow port 270e. According to such a communication mode, branched fuel branched from the fuel flow passage 25a (hereinafter, also simply referred to as “branched fuel”) flows into the branch passage 27a.
  • the fixed holder 271 is made of metal and has a stepped columnar shape facing in the horizontal direction.
  • the fixed holder 271 enters the branch passage 27a while being fitted and fixed to the small diameter portion 270b of the fixed cover 270.
  • the valve seat plate 272 is made of metal and has a disk shape substantially perpendicular to the lateral direction.
  • the valve seat plate 272 is coaxially mounted on the fixed holder 271 via a ball-shaped joint 277. With this mounting configuration, the valve seat plate 272 can tilt within a predetermined angle range while being accommodated in the branch passage 27a.
  • the valve seat plate 272 has a flat valve seat surface 272 a extending in the vertical and horizontal directions on the side opposite to the fixed holder 271.
  • the diaphragm 273 is formed of a composite material of rubber and a base cloth, and has an annular film shape that partitions the inlet portion 27 and the outlet portion 28 in the lateral direction.
  • the diaphragm 273 is flexible and elastically deformable.
  • the outer peripheral edge portion of the diaphragm 273 is caulked and fixed coaxially by the flange 270 c of the fixed cover 270.
  • the diaphragm 273 is exposed to the branch passage 27 a on the side opposite to the outlet portion 28.
  • the diaphragm 273 corresponds to a “partition body”.
  • the movable holder 274 is made of metal and has an annular plate shape that faces in the lateral direction.
  • the movable holder 274 is coaxially mounted on the inner peripheral edge of the diaphragm 273.
  • the movable holder 274 supported by the diaphragm 273 can reciprocate in the axial direction (that is, the lateral direction in FIG. 6) while being coaxially exposed in the branch passage 27a.
  • the valve body nozzle 275 is made of metal and has a cylindrical shape facing in the lateral direction.
  • the valve body nozzle 275 is coaxially mounted on the inner peripheral portion of the movable holder 274.
  • the valve element nozzle 275 supported by the diaphragm 273 can reciprocate in the axial direction (that is, the lateral direction in FIG. 6) while being coaxially projected into the branch passage 27a.
  • the valve body nozzle 275 has a cylindrical hole-shaped nozzle passage 275a that opens toward the valve seat plate 272 side.
  • the valve body nozzle 275 realizes on-off valve driving to be separated from and seated on the valve seat surface 272a of the valve seat plate 272 by reciprocating movement. Specifically, the valve body nozzle 275 blocks between the branch passage 27a and the nozzle passage 275a in the valve-closing drive seated on the valve seat surface 272a.
  • the valve body nozzle 275 causes the branch passage 27a and the nozzle passage 275a to communicate with each other in the valve opening drive in which the valve body surface 272a is separated from the valve seat surface 272a.
  • the outlet portion 28 of the pressure regulator 26 with respect to the inlet portion 27 includes an outer cover 280, a discharge pipe 281, an inner cover 282, a spring receiver 283, and an adjustment spring 284.
  • the outer cover 280 is made of resin and has a bottomed cylindrical shape facing in the horizontal direction.
  • the outer cover 280 covers the inner cover 282, so that a fuel space 280a is formed between the outer cover 280 and the inner cover 282.
  • a pair of fixing portions 280c protruding from the peripheral wall 280b toward the inlet portion 27 are fitted and fixed to the passage member 25 by snap fitting.
  • the peripheral wall 280b is in coaxial contact with the portion 270f of the flange 270c of the fixed cover 270 shown in FIG. 6 where the diaphragm 273 is caulked and fixed, on the opposite side to the bottom wall 280d. . That is, in the present embodiment, the flange 270c of the fixed cover 270 corresponds to the “contact wall”.
  • the discharge pipe 281 is integrally formed with the bottom wall 280d of the outer cover 280 with resin.
  • the discharge pipe 281 has an L-shaped cylindrical shape that is bent and extended in the vertical direction from the horizontal direction.
  • the discharge pipe 281 has a discharge passage 28a that is located coaxially with the nozzle passage 275a in the laterally extending portion and communicates with the fuel space 280a.
  • the discharge pipe 281 has an internal discharge passage 28 a opened downward toward the storage space 210 a of the sub tank 210 in the longitudinally extending portion.
  • the opening-shaped discharge passage 28a can discharge the branched fuel from the fuel space 280a and return it to the storage space 210a.
  • the inner cover 282 is made of metal and has a bottomed cylindrical shape facing in the horizontal direction.
  • the inner cover 282 has an outer diameter that is smaller than the inner diameter of the outer cover 280 and an axial length that is shorter than the outer cover 280.
  • the inner cover 282 is accommodated coaxially within the outer cover 280.
  • the flange 282 c formed by the peripheral wall 282 b on the side opposite to the bottom wall 282 d is caulked and fixed by a caulking fixing portion 270 f of the flange 270 c of the fixed cover 270.
  • a diaphragm 273 is exposed on the side opposite to the valve seat plate 272 in an inner space 282 a formed with a peripheral wall 282 b inside.
  • the valve body nozzle 275 protrudes coaxially into the inner space 282a, and the nozzle passage 275a communicates with the valve seat plate 272 on the opposite side.
  • the peripheral wall 282b that surrounds the valve body nozzle 275 from the radially outer side in the inner cover 282 has a radial gap 280ar that functions as a part of the fuel space 280a, and the peripheral wall 280b of the outer cover 280 that is radially outward. And formed between.
  • the bottom wall 282d surrounded by the peripheral wall 282b from the outside in the radial direction in the inner cover 282 has an axial gap 280aa that functions as the remaining portion of the fuel space 280a with the bottom wall 280d of the outer cover 280 that faces the axial direction. Formed in between.
  • a first series of through holes 285 are formed in a cylindrical hole shape at one location facing the valve body nozzle 275 in the axial direction.
  • the first through hole 285 passes through the bottom wall 282d in the axial direction (that is, in the lateral direction in FIG. 6).
  • the first through hole 285 has a larger inner diameter than the nozzle passage 275a located on the same axis, so that negative pressure can be generated in the inner space 282a described in detail later.
  • the inner space 282a communicates with the axial gap 280aa in the fuel space 280a through the first series of through holes 285.
  • second communication holes 286 are respectively formed in a cylindrical hole shape at a plurality of positions shifted from the bottom wall 282d to the separation side that is separated in the axial direction.
  • Each second communication hole 286 passes through the peripheral wall 282b in the radial direction (for example, the vertical direction enabling water drainage in FIG. 6), and is located on the outer side in the radial direction with respect to the first continuous hole 285. Yes.
  • the inner diameter of each of the second communication holes 286 has a predetermined magnitude relationship according to the specification with respect to the inner diameter of the first communication hole 285.
  • the inner space 282a communicates with the radial gap 280ar in the fuel space 280a through the second communication hole 286.
  • the spring receiver 283 is made of metal and has an annular plate shape that faces in the lateral direction.
  • the spring receiver 283 is coaxially attached to the outer periphery of the movable holder 274.
  • the spring receiver 283 supported by the diaphragm 273 can reciprocate in the axial direction (that is, the lateral direction in FIG. 6) while being coaxially exposed in the inner space 282a.
  • the adjustment spring 284 is made of metal and has a coil spring shape facing in the lateral direction.
  • the adjustment spring 284 is accommodated coaxially in the inner space 282a.
  • the adjustment spring 284 is sandwiched between the spring receiver 283 and the bottom wall 282d of the inner cover 282 in the axial direction (that is, the lateral direction in FIG. 6).
  • the adjustment spring 284 applies a restoring force toward the seating side with the valve seat plate 272 to the valve body nozzle 275 while being locked by the inner cover 282.
  • the valve opening drive for increasing the branch flow rate of the branched fuel branched from the fuel flow passage 25a to the branch passage 27a of the inlet portion 27 as the consumption flow rate in the internal combustion engine 3 decreases. Is required. Accordingly, the pressure regulator 26 opens the valve body nozzle 275 in the axial direction against the restoring force of the adjustment spring 284 by the positive pressure action from the branched fuel flowing into the branched passage 27a, thereby causing the branched fuel to flow. It is ejected to the inner space 282a of the outlet portion 28.
  • the pressure regulator 26 As a result, as the branch flow rate of the branched fuel increases, the pressure regulator 26 generates a negative pressure in the inner space 282a that increases the differential pressure from the atmospheric pressure. As a result, when a negative pressure following the increase in the branch flow rate acts on the diaphragm 273, the valve element nozzle 275 is further driven to open in the axial direction against the restoring force of the adjustment spring 284. Therefore, as the branch flow rate increases, the valve-opening drive of the valve body nozzle 275 is assisted and more branch fuel is discharged from the inner space 282a and the fuel space 280a to the discharge passage 28a. Therefore, the fuel flow passage 25a is adjusted. The increase in fuel pressure is suppressed.
  • the adjustment spring 284 corresponds to an “elastic member”.
  • the positive pressure is applied from the branched fuel flowing into the branch passage 27a, whereby the flange 270c of the fixed cover 270 is biased toward the outlet portion 28 side.
  • the outer cover 280 is biased toward the inlet portion 27 side by applying a negative pressure from the inner space 282a to the fuel space 280a through the communication holes 285 and 286. Due to the urging to both sides, the contact interface between the flange 270c and the outer cover 280 is sealed. Under such a seal contact state, the fuel space 280a and the inner space 282a are isolated from the outside of the outer cover 280 and are kept airtight.
  • the outer cover 280 covers the inner cover 282 in which the adjustment spring 284 is accommodated in the inner space 282a for applying a negative pressure to the diaphragm 273 to form the communication holes 285 and 286.
  • the fuel space 280a formed between the covers 280 and 282 includes a first communication hole 285 that is axially opposed to the valve body nozzle 275, and a second communication hole 286 that is radially outside of the first communication hole 285. By communicating with the inner space 282a, the negative pressure is applied.
  • the branched fuel jetted from the valve element nozzle 275 is sucked into the fuel space 280a through the first through hole 285 located at the jet destination. Then, a part of the branched fuel is discharged from the outer cover 280, but the branched fuel that has not been discharged is sucked into the inner space 282a through the second communication hole 286 on the radially outer side. Since the branched fuel until it is discharged from the outer cover 280 can be circulated between the inner space 282a and the fuel space 280a, it does not easily stay in the outlet portion 28. Therefore, it is possible to prevent the two covers 280, 282 and the adjustment spring 284 from corroding or deteriorating due to the property change of the branched fuel staying at the outlet portion 28, so that durability can be ensured. It becomes.
  • the second communication hole 286 is formed in the peripheral wall 282b surrounding the valve body nozzle 275 from the outer side in the radial direction, while the peripheral wall 282b surrounds the second communication hole 286 from the outer side in the radial direction.
  • a first through hole 285 is formed in the bottom wall 282d.
  • the second communication hole 286 is formed in the peripheral wall 282b that is shifted from the bottom wall 282d to the axially separated side.
  • branch fuel can be circulated from the radial gap 280ar between the outer cover 280 and the peripheral wall 282b to the inner space 282a through the second communication hole 286 spaced from the bottom wall 282d. It can be avoided in the widest possible area of 280ar. Therefore, it is possible to reliably suppress the corrosion or deterioration of both covers 280 and 282 due to the change in the properties of the branched fuel staying in the radial gap 280ar, and to increase the reliability of securing the durability.
  • the outer cover 280 urged toward the inlet portion 27 side by negative pressure in the outlet portion 28 of the present embodiment is a flange urged toward the outlet portion 28 side due to the positive pressure of the branched fuel in the inlet portion 27. 270c is in sealing contact.
  • the outer cover 280 can keep the fuel space 280a and the inner space 282a airtight even if no seal member is provided between the outer cover 280 and the flange 270c. Therefore, the circulating action of circulating the branched fuel from the fuel space 280a to the inner space 282a by negative pressure suction can be surely exerted even under a simple configuration without a seal member, and the reliability of ensuring durability can be increased. Become.
  • the second communication hole 286 is formed in the corner portion 282e formed by the peripheral wall 282b and the bottom wall 282d on the outer side in the radial direction from the first series of communication holes 285. May be formed.
  • a second communication hole 286 may be formed at a location on the bottom wall 282 d that is radially outward from the first serial hole 285.
  • a seal such as a rubber O-ring is provided between the peripheral wall 280b of the outer cover 280 and the caulking fixing portion 270f of the flange 270c of the fixing cover 270 as shown in FIGS.
  • the member 287 may be clamped in the axial direction.
  • a seal member 288 such as a rubber O-ring is provided between the peripheral wall 280 b of the outer cover 280 and the peripheral wall 282 b of the inner cover 282 in the axial direction. It may be pinched.
  • a fifth modified example as shown in FIG.
  • the peripheral wall 282 b of the inner cover 282 is press-fitted into the press-fit portion 280 e of the peripheral wall 280 b of the outer cover 280, so May be.
  • the fuel space 280a and the inner space 282a are not connected to the outside of the outer cover 280 regardless of whether or not the outer cover 280 is in sealing contact with the flange 270c as a “contact wall”. It will be isolated and kept airtight.
  • a discharge pipe 281 may be formed in a cylindrical shape facing the horizontal direction in the outlet portion 28 as shown in FIG.
  • the discharge passage 28 a that is formed coaxially with the nozzle passage 275 a inside the discharge pipe 281 and communicates with the fuel space 280 a faces the storage space 210 a of the sub tank 210. Thus, it is opened in the axial direction (that is, the lateral direction in FIG. 13).
  • the components 270 to 275 of the inlet portion 27 and the components 280 to 284 of the outlet portion 28 may be arranged with their axial directions along the vertical direction.
  • the function of the adjustment spring 284 may be achieved by various “elastic members” such as a spring having a shape other than the coil spring shape or a rubber member having a predetermined shape.
  • the valve body nozzle 275 is driven to close, and the fuel pressure discharged from the fuel pump 22 is checked when the pressure sensor for detecting the fuel pressure in the fuel flow passage 25a is checked. May be temporarily raised and the valve body nozzle 275 may be driven to open. Also in the case of Modification 9, the fuel pressure in the fuel flow passage 25a is adjusted by the valve-opening drive of the valve body nozzle 275.
  • a piston 1273 that exhibits the function of a “partition body” may be employed instead of the diaphragm 273.
  • the cylindrical piston 1273 is supported by the large diameter portion 270a of the fixed cover 270 so as to be slidable in the axial direction, so that the inlet portion 27 and the outlet portion 28 are partitioned.
  • the valve body nozzle 275 is mounted on the inner peripheral portion of the piston 1273 via the movable holder 274 so that the valve body nozzle 275 is supported by the piston 1273 so as to be capable of reciprocating in the axial direction (that is, the lateral direction in FIG. 14). Yes.

Landscapes

  • Engineering & Computer Science (AREA)
  • General Engineering & Computer Science (AREA)
  • Mechanical Engineering (AREA)
  • Chemical & Material Sciences (AREA)
  • Combustion & Propulsion (AREA)
  • Fuel-Injection Apparatus (AREA)
PCT/JP2017/008695 2016-03-30 2017-03-06 プレッシャレギュレータ及び燃料供給装置 Ceased WO2017169530A1 (ja)

Priority Applications (2)

Application Number Priority Date Filing Date Title
US16/077,849 US11193463B2 (en) 2016-03-30 2017-03-06 Pressure regulator and fuel supply device
CN201780018045.3A CN108884797B (zh) 2016-03-30 2017-03-06 压力调节器及燃料供给装置

Applications Claiming Priority (2)

Application Number Priority Date Filing Date Title
JP2016-069318 2016-03-30
JP2016069318A JP6387998B2 (ja) 2016-03-30 2016-03-30 プレッシャレギュレータ及び燃料供給装置

Publications (1)

Publication Number Publication Date
WO2017169530A1 true WO2017169530A1 (ja) 2017-10-05

Family

ID=59964042

Family Applications (1)

Application Number Title Priority Date Filing Date
PCT/JP2017/008695 Ceased WO2017169530A1 (ja) 2016-03-30 2017-03-06 プレッシャレギュレータ及び燃料供給装置

Country Status (4)

Country Link
US (1) US11193463B2 (enExample)
JP (1) JP6387998B2 (enExample)
CN (1) CN108884797B (enExample)
WO (1) WO2017169530A1 (enExample)

Families Citing this family (4)

* Cited by examiner, † Cited by third party
Publication number Priority date Publication date Assignee Title
JP6390681B2 (ja) * 2016-03-14 2018-09-19 株式会社デンソー 燃料供給装置
JP6968738B2 (ja) * 2018-03-28 2021-11-17 愛三工業株式会社 燃料タンク用蓋
JP6918733B2 (ja) * 2018-03-28 2021-08-11 愛三工業株式会社 燃料タンク用蓋
JP7083734B2 (ja) * 2018-10-15 2022-06-13 愛三工業株式会社 燃料供給装置

Citations (4)

* Cited by examiner, † Cited by third party
Publication number Priority date Publication date Assignee Title
JPS63170669U (enExample) * 1987-04-27 1988-11-07
JP2003278618A (ja) * 2002-03-26 2003-10-02 Denso Corp 燃料圧力調整弁
US20130056098A1 (en) * 2011-09-01 2013-03-07 Continental Automotive Systems Us, Inc. Compact fuel pressure regulator
JP2013174183A (ja) * 2012-02-24 2013-09-05 Aisan Industry Co Ltd 燃料供給装置

Family Cites Families (14)

* Cited by examiner, † Cited by third party
Publication number Priority date Publication date Assignee Title
DE4336061B4 (de) 1993-10-22 2005-03-03 Siemens Ag Druckbegrenzungsventil
DE4430472A1 (de) * 1994-08-27 1996-02-29 Bosch Gmbh Robert Druckregelventil
US5873349A (en) 1997-03-07 1999-02-23 Walbro Corporation Fuel pressure regulator
US5830348A (en) 1997-03-17 1998-11-03 Siemens Automotive Corporation Fuel filter module with integral regulator
US6006781A (en) 1998-07-01 1999-12-28 Parr Manufacturing, Inc. Fuel pressure regulator
US6293259B1 (en) 1999-05-14 2001-09-25 Siemens Automotive Corporation Automotive fuel system having a pressure regulator without a movable diaphragm
US6286486B1 (en) 1999-12-06 2001-09-11 Siemens Automotive Corporation Fuel system including a pressure regulator
US6318405B1 (en) 2000-03-08 2001-11-20 Mahle-Parr Filter Systems, Inc. Fuel pressure regulator with fluidic assist
US6629543B2 (en) 2001-08-03 2003-10-07 Siemens Automotive Corporation Fuel system including a self-contained flow-through pressure regulator
EP1369580B1 (en) 2002-06-06 2005-11-02 Siemens VDO Automotive Corporation A flow-through pressure regulator including a perforated diaphragm-to-seat spring retainer
JP2007146669A (ja) * 2005-11-24 2007-06-14 Keihin Corp 燃料供給圧力調整装置
JP4489711B2 (ja) * 2006-02-20 2010-06-23 愛三工業株式会社 燃料供給装置
WO2007097195A1 (ja) * 2006-02-20 2007-08-30 Aisan Kogyo Kabushiki Kaisha 燃料供給装置
CN103261667B (zh) * 2011-08-01 2015-07-08 丰田自动车株式会社 燃料供给装置

Patent Citations (4)

* Cited by examiner, † Cited by third party
Publication number Priority date Publication date Assignee Title
JPS63170669U (enExample) * 1987-04-27 1988-11-07
JP2003278618A (ja) * 2002-03-26 2003-10-02 Denso Corp 燃料圧力調整弁
US20130056098A1 (en) * 2011-09-01 2013-03-07 Continental Automotive Systems Us, Inc. Compact fuel pressure regulator
JP2013174183A (ja) * 2012-02-24 2013-09-05 Aisan Industry Co Ltd 燃料供給装置

Also Published As

Publication number Publication date
US20190024615A1 (en) 2019-01-24
CN108884797A (zh) 2018-11-23
JP2017180310A (ja) 2017-10-05
JP6387998B2 (ja) 2018-09-12
CN108884797B (zh) 2021-08-24
US11193463B2 (en) 2021-12-07

Similar Documents

Publication Publication Date Title
JP6387998B2 (ja) プレッシャレギュレータ及び燃料供給装置
EP0959241B1 (en) Fuel feeder for vehicles
JP6275634B2 (ja) 流量制御弁及び蒸発燃料処理装置
US9546624B2 (en) Fuel supply system
US20190078541A1 (en) Fuel supply device
US9528478B2 (en) Fuel feeding system for vehicle
JPWO1999025975A1 (ja) 車両用燃料供給装置
US9915234B2 (en) Valve structure and fuel supply device
US10907593B2 (en) Fuel supply device
US20180209386A1 (en) Suction filter and fuel supply device
JP6992669B2 (ja) 燃料供給装置
US20210206257A1 (en) Fluid Control Valve and Evaporated Fuel Processing Device
US20160363103A1 (en) Fuel supply system
US20180328323A1 (en) Fuel supply device
CN108779746B (zh) 燃料供给装置及其制造方法
JP2001018667A (ja) 燃料タンクモジュール
JP5859375B2 (ja) 燃料供給装置
US7753033B2 (en) Fuel module with orifice upstream from regulator
GB2533363A (en) Strainer assembly for an in-tank fuel pump
JP5652074B2 (ja) 燃料供給装置
JP3326242B2 (ja) 液体タンクの内部配設ポンプの支持構造
JPS6024934Y2 (ja) 自動車用燃料フイルタ
US20090194075A1 (en) By-pass regulator assembly for dual ERFS/MRFS fuel pump module
US20200355148A1 (en) Bottom mount fuel pump assembly
JP2018119666A (ja) 車両用ブリーザ装置

Legal Events

Date Code Title Description
NENP Non-entry into the national phase

Ref country code: DE

121 Ep: the epo has been informed by wipo that ep was designated in this application

Ref document number: 17774075

Country of ref document: EP

Kind code of ref document: A1

122 Ep: pct application non-entry in european phase

Ref document number: 17774075

Country of ref document: EP

Kind code of ref document: A1