WO2017154830A1 - 蛍光体及び発光装置 - Google Patents

蛍光体及び発光装置 Download PDF

Info

Publication number
WO2017154830A1
WO2017154830A1 PCT/JP2017/008758 JP2017008758W WO2017154830A1 WO 2017154830 A1 WO2017154830 A1 WO 2017154830A1 JP 2017008758 W JP2017008758 W JP 2017008758W WO 2017154830 A1 WO2017154830 A1 WO 2017154830A1
Authority
WO
WIPO (PCT)
Prior art keywords
phosphor
compound
alo
light
end component
Prior art date
Legal status (The legal status is an assumption and is not a legal conclusion. Google has not performed a legal analysis and makes no representation as to the accuracy of the status listed.)
Ceased
Application number
PCT/JP2017/008758
Other languages
English (en)
French (fr)
Japanese (ja)
Inventor
岳志 阿部
大塩 祥三
Current Assignee (The listed assignees may be inaccurate. Google has not performed a legal analysis and makes no representation or warranty as to the accuracy of the list.)
Panasonic Intellectual Property Management Co Ltd
Original Assignee
Panasonic Intellectual Property Management Co Ltd
Priority date (The priority date is an assumption and is not a legal conclusion. Google has not performed a legal analysis and makes no representation as to the accuracy of the date listed.)
Filing date
Publication date
Application filed by Panasonic Intellectual Property Management Co Ltd filed Critical Panasonic Intellectual Property Management Co Ltd
Priority to JP2017548074A priority Critical patent/JP6273595B1/ja
Priority to CN201780008075.6A priority patent/CN108603112B/zh
Priority to EP17763170.2A priority patent/EP3428245B1/en
Priority to US16/072,532 priority patent/US11050005B2/en
Publication of WO2017154830A1 publication Critical patent/WO2017154830A1/ja
Anticipated expiration legal-status Critical
Ceased legal-status Critical Current

Links

Images

Classifications

    • HELECTRICITY
    • H10SEMICONDUCTOR DEVICES; ELECTRIC SOLID-STATE DEVICES NOT OTHERWISE PROVIDED FOR
    • H10HINORGANIC LIGHT-EMITTING SEMICONDUCTOR DEVICES HAVING POTENTIAL BARRIERS
    • H10H20/00Individual inorganic light-emitting semiconductor devices having potential barriers, e.g. light-emitting diodes [LED]
    • H10H20/80Constructional details
    • H10H20/85Packages
    • H10H20/851Wavelength conversion means
    • H10H20/8511Wavelength conversion means characterised by their material, e.g. binder
    • H10H20/8512Wavelength conversion materials
    • H10H20/8513Wavelength conversion materials having two or more wavelength conversion materials
    • CCHEMISTRY; METALLURGY
    • C09DYES; PAINTS; POLISHES; NATURAL RESINS; ADHESIVES; COMPOSITIONS NOT OTHERWISE PROVIDED FOR; APPLICATIONS OF MATERIALS NOT OTHERWISE PROVIDED FOR
    • C09KMATERIALS FOR MISCELLANEOUS APPLICATIONS, NOT PROVIDED FOR ELSEWHERE
    • C09K11/00Luminescent, e.g. electroluminescent, chemiluminescent materials
    • C09K11/08Luminescent, e.g. electroluminescent, chemiluminescent materials containing inorganic luminescent materials
    • C09K11/77Luminescent, e.g. electroluminescent, chemiluminescent materials containing inorganic luminescent materials containing rare earth metals
    • C09K11/7766Luminescent, e.g. electroluminescent, chemiluminescent materials containing inorganic luminescent materials containing rare earth metals containing two or more rare earth metals
    • C09K11/77742Silicates
    • CCHEMISTRY; METALLURGY
    • C09DYES; PAINTS; POLISHES; NATURAL RESINS; ADHESIVES; COMPOSITIONS NOT OTHERWISE PROVIDED FOR; APPLICATIONS OF MATERIALS NOT OTHERWISE PROVIDED FOR
    • C09KMATERIALS FOR MISCELLANEOUS APPLICATIONS, NOT PROVIDED FOR ELSEWHERE
    • C09K11/00Luminescent, e.g. electroluminescent, chemiluminescent materials
    • C09K11/08Luminescent, e.g. electroluminescent, chemiluminescent materials containing inorganic luminescent materials
    • C09K11/77Luminescent, e.g. electroluminescent, chemiluminescent materials containing inorganic luminescent materials containing rare earth metals
    • C09K11/7766Luminescent, e.g. electroluminescent, chemiluminescent materials containing inorganic luminescent materials containing rare earth metals containing two or more rare earth metals
    • C09K11/7774Aluminates
    • HELECTRICITY
    • H01ELECTRIC ELEMENTS
    • H01SDEVICES USING THE PROCESS OF LIGHT AMPLIFICATION BY STIMULATED EMISSION OF RADIATION [LASER] TO AMPLIFY OR GENERATE LIGHT; DEVICES USING STIMULATED EMISSION OF ELECTROMAGNETIC RADIATION IN WAVE RANGES OTHER THAN OPTICAL
    • H01S5/00Semiconductor lasers
    • H01S5/02Structural details or components not essential to laser action
    • HELECTRICITY
    • H10SEMICONDUCTOR DEVICES; ELECTRIC SOLID-STATE DEVICES NOT OTHERWISE PROVIDED FOR
    • H10HINORGANIC LIGHT-EMITTING SEMICONDUCTOR DEVICES HAVING POTENTIAL BARRIERS
    • H10H20/00Individual inorganic light-emitting semiconductor devices having potential barriers, e.g. light-emitting diodes [LED]
    • H10H20/80Constructional details
    • H10H20/85Packages
    • H10H20/851Wavelength conversion means
    • HELECTRICITY
    • H10SEMICONDUCTOR DEVICES; ELECTRIC SOLID-STATE DEVICES NOT OTHERWISE PROVIDED FOR
    • H10HINORGANIC LIGHT-EMITTING SEMICONDUCTOR DEVICES HAVING POTENTIAL BARRIERS
    • H10H20/00Individual inorganic light-emitting semiconductor devices having potential barriers, e.g. light-emitting diodes [LED]
    • H10H20/80Constructional details
    • H10H20/85Packages
    • H10H20/851Wavelength conversion means
    • H10H20/8514Wavelength conversion means characterised by their shape, e.g. plate or foil
    • HELECTRICITY
    • H10SEMICONDUCTOR DEVICES; ELECTRIC SOLID-STATE DEVICES NOT OTHERWISE PROVIDED FOR
    • H10HINORGANIC LIGHT-EMITTING SEMICONDUCTOR DEVICES HAVING POTENTIAL BARRIERS
    • H10H20/00Individual inorganic light-emitting semiconductor devices having potential barriers, e.g. light-emitting diodes [LED]
    • H10H20/01Manufacture or treatment
    • H10H20/036Manufacture or treatment of packages
    • H10H20/0361Manufacture or treatment of packages of wavelength conversion means

Definitions

  • the present invention is, for example, a novel garnet phosphor that is used together with a solid-state light emitting element such as a semiconductor laser diode (LD) and can be widely used as a phosphor used in a light source of a display device such as a projector or a lighting device, and The present invention relates to a light emitting device using this phosphor.
  • a solid-state light emitting element such as a semiconductor laser diode (LD)
  • LD semiconductor laser diode
  • Y 3 Al 2 (AlO 4) 3 a compound represented by Y 3 Al 2 (AlO 4) 3 is known.
  • Y 3 Al 2 (AlO 4 ) 3 is widely known as an abbreviation called yttrium aluminum garnet (YAG). This Y 3 Al 2 (AlO 4 ) 3 is used for solid lasers, translucent ceramics, phosphors and the like.
  • the phosphor is a compound that emits fluorescence by giving a stimulus such as ultraviolet excitation.
  • a stimulus such as ultraviolet excitation.
  • the extranuclear electrons of specific atoms constituting the phosphor are excited by ultraviolet rays or the like and then return to the ground state, the difference in energy level between the excited state and the ground state is emitted as visible light.
  • phosphors include compounds such as Y 3 Al 2 (AlO 4 ) 3 having a garnet structure, rare earth ions or transition metal ions (Ce 3+ , Tb 3+ , Eu 3+ , Mn 2+ , Mn 4+ , (Fe 3+ , Cr 3+ etc.).
  • a compound having a garnet structure includes rare earth ions or transition metal ions (Ce 3+ , Tb 3+ , Eu 3+ , Mn 2+ , Mn 4+ , Fe 3+ , Cr 3+, etc.) as luminescent centers.
  • This phosphor is also called a garnet phosphor.
  • the garnet phosphor may be simply referred to as a phosphor.
  • rare earth ions or transition metal ions (Ce 3+ , Tb 3+ , Eu 3+ , Mn 2+ , Mn 4+ , Fe 3+ , Cr 3+, etc.) as the emission center are added to Y 3 Al 2 (AlO 4 ) 3 having a garnet structure.
  • the phosphor containing this is also referred to as a Y 3 Al 2 (AlO 4 ) 3 phosphor.
  • a Y 3 Al 2 (AlO 4 ) 3 phosphor containing at least Ce 3+ as an emission center is also referred to as a Y 3 Al 2 (AlO 4 ) 3 : Ce 3+ phosphor.
  • Y 3 Al 2 (AlO 4 ) 3 Ce 3+ phosphor may be excited to emit yellowish green visible light when irradiated with particle beam or electromagnetic wave such as electron beam, vacuum ultraviolet ray, and blue light.
  • particle beam or electromagnetic wave such as electron beam, vacuum ultraviolet ray, and blue light.
  • Y 3 Al 2 (AlO 4 ) 3 Ce 3+ phosphor has an extremely short 1/10 afterglow of 100 ns or less. For this reason, Y 3 Al 2 (AlO 4 ) 3 : Ce 3+ phosphor is widely used in many light emitting devices.
  • the light color of the light emitted from the Y 3 Al 2 (AlO 4 ) 3 : Ce 3+ phosphor is yellowish green.
  • Y 3 Al 2 (AlO 4 ) 3 Ce 3+ phosphor are replaced with other elements having different ionic radii or the like.
  • Y 3 Al 2 (AlO 4 ) 3 than Ce 3+ phosphor, a garnet phosphor emits light color having a short wavelength
  • Y 3 Al 2 (AlO 4 ) 3 constituting the Ce 3+ phosphor
  • Y Lu 3 Al 2 (AlO 4 ) 3 Ce 3+ phosphor in which is substituted with Lu
  • the Lu 3 Al 2 (AlO 4 ) 3 Ce 3+ phosphor emits green visible light. That is, the emission peak wavelength of Lu 3 Al 2 (AlO 4 ) 3 : Ce 3+ phosphor is relatively shorter than the emission peak wavelength of Y 3 Al 2 (AlO 4 ) 3 : Ce 3+ phosphor.
  • a garnet phosphor that emits light having a longer wavelength than Y 3 Al 2 (AlO 4 ) 3 : Ce 3+ phosphor is known (see, for example, Patent Document 1).
  • Y 3 Al 2 (AlO 4 ) 3 Ce 3+ a part of Y constituting the phosphor is substituted with Gd (Y, Gd) 3 Al 2 (AlO 4 ) 3 : Ce 3+ phosphor It is.
  • the (Y, Gd) 3 Al 2 (AlO 4 ) 3 : Ce 3+ phosphor emits yellow-orange to orange visible light.
  • Y 3 Al 2 (AlO 4 ) 3: than Ce 3+ phosphor are also known other garnet phosphors that emit light color of longer wavelength (for example, see Patent Document 2).
  • a part or all of Al constituting the Y 3 Al 2 (AlO 4 ) 3 : Ce 3+ phosphor is substituted with Mg, and a part or all of the (AlO 4 ) group is replaced with (SiO 2).
  • Y 3 (Al, Mg) 2 ((Al, Si) O 4 ) 3 Ce 3+ phosphor emits yellowish green to red visible light.
  • garnet phosphors that emit light colors with longer wavelengths than Y 3 Al 2 (AlO 4 ) 3 : Ce 3+ phosphors are also known (see, for example, Patent Document 3).
  • the Lu 2 CaMg 2 (SiO 4 ) 3 Ce 3+ phosphor emits orange visible light.
  • Y 3 Al 2 (AlO 4 ) 3 : Ce 3+ phosphors have a longer emission peak wavelength than the Y 3 Al 2 (AlO 4 ) 3 : Ce 3+ phosphor. Therefore, application to light emitting devices and the like is being studied.
  • a garnet phosphor having a longer emission peak wavelength than the Y 3 Al 2 (AlO 4 ) 3 : Ce 3+ phosphor has a problem that temperature quenching is large.
  • temperature quenching is a phenomenon in which the luminous efficiency decreases as the phosphor temperature increases.
  • the present invention has been made to solve the above problems, and provides a novel garnet phosphor having a relatively long emission peak wavelength and improved temperature quenching, and a light emitting device using the same. Objective.
  • the phosphor according to the first aspect of the present invention is a phosphor in which Ce 3+ which is an emission center is contained in a host garnet compound having a garnet structure, and the host garnet
  • the compound is a solid solution composed of two or more end components.
  • the end component includes Lu 2 CaMg 2 (SiO 4 ) 3 as a first end component.
  • the light emitting device uses the phosphor.
  • 2 is a graph showing XRD patterns of the compounds of Examples 1 to 3 and known compounds.
  • 6 is a graph showing the relationship between the d value of the (420) plane and the solid solution amount x in the compounds of Examples 1 to 3 and Comparative Examples 1 and 5.
  • 2 is a graph showing excitation spectra and emission spectra of the compounds of Examples 1 to 3.
  • 3 is a graph showing XRD patterns of the compounds of Examples 4 to 6 and known compounds.
  • 4 is a graph showing the relationship between d value of (420) plane and solid solution amount x in the compounds of Examples 4 to 6 and Comparative Examples 2 and 5.
  • 2 is a graph showing excitation spectra and emission spectra of compounds of Examples 4 to 6.
  • 3 is a graph showing XRD patterns of compounds of Examples 7 to 10 and known compounds.
  • 6 is a graph showing the relationship between the d value on the (420) plane and the solid solution amount x in the compounds of Examples 7 to 10 and Comparative Example 2.
  • 3 is a graph showing emission spectra of compounds of Examples 7 to 10. 6 is a graph showing the relationship between the emission peak wavelength and the internal quantum efficiency retention rate of the compounds of Examples 3, 6 and 9, and Comparative Examples 1 to 5.
  • the phosphor according to the present embodiment is a phosphor in which Ce 3+ that is an emission center is included in a base garnet compound having a garnet structure.
  • the phosphor according to the present embodiment has a garnet structure like the base garnet compound. For this reason, the phosphor according to the present embodiment is a so-called garnet phosphor.
  • the parent garnet compound is a compound that has a garnet structure and includes Ce 3+ that is a luminescence center.
  • the garnet structure is a crystal structure represented by A 3 B 2 (CO 4 ) 3 (wherein A, B, and C represent elements).
  • the parent garnet compound is a solid solution composed of two or more end components.
  • Two or more kinds of end components constituting the solid solution which is the parent garnet compound contain Lu 2 CaMg 2 (SiO 4 ) 3 as an essential first end component. Also, two or more of the end component constituting the solid solution preferably comprises a Y 3 Al 2 (AlO 4) 3 as any of the second end component. Furthermore, the two or more kinds of end components constituting the solid solution preferably include Lu 3 Al 2 (AlO 4 ) 3 as an optional third end component.
  • the first end component is included as the two or more types of end components constituting the solid solution that is the parent garnet compound.
  • 1 or more types selected from the 2nd end component and the 3rd end component are included as arbitrary end components combined with this 1st end component.
  • both the second end component and the third end component may be included in the end components constituting the solid solution.
  • Lu 2 CaMg 2 (SiO 4 ) 3 > Lu 2 CaMg 2 (SiO 4 ) 3 as the first end component is an end component essential for the parent garnet compound.
  • the base garnet compound is a solid solution containing the first end component, the obtained phosphor tends to be a new phosphor having a relatively long emission peak wavelength and improved temperature quenching.
  • the resulting phosphor becomes a garnet phosphor with improved temperature quenching.
  • the end component containing Al for example, Y 3 Al 2 (AlO 4 ) 3 as the second end component and Lu 3 Al 2 (AlO 4 ) 3 as the third end component are used.
  • Y 3 Al 2 (AlO 4 ) 3 is an optional end component used together with the first end component Lu 2 CaMg 2 (SiO 4 ) 3 .
  • the matrix garnet compound is a solid solution containing the second end component, the resulting phosphor has a longer emission peak wavelength than Y 3 Al 2 (AlO 4 ) 3 : Ce 3+ and emits the same light color It tends to be a phosphor with improved temperature quenching compared to other garnet phosphors. This phosphor is a novel phosphor.
  • Lu 3 Al 2 (AlO 4 ) 3 is an arbitrary end component used together with the first end component Lu 2 CaMg 2 (SiO 4 ) 3 .
  • the parent garnet compound is a solid solution containing the third end component, the obtained phosphor has a longer emission peak wavelength than Lu 3 Al 2 (AlO 4 ) 3 : Ce 3+ and emits the same light color. It tends to be a phosphor with improved temperature quenching compared to other garnet phosphors. This phosphor is a novel phosphor.
  • the parent garnet compound is a solid solution containing the first end component Lu 2 CaMg 2 (SiO 4 ) 3 as an essential end component.
  • the parent garnet compound is a solid solution having one or more end components other than the first end component in addition to the first end component.
  • the end component other than the first end component is an end component containing Al
  • the obtained phosphor has a garnet fluorescence with improved temperature quenching compared to other garnet phosphors emitting the same light color. It is easy to become a body.
  • the base garnet compound is a solid solution having the first end component Lu 2 CaMg 2 (SiO 4 ) 3 and an end component containing Al as end components
  • the base garnet compound is usually a compound containing Al.
  • the parent garnet compound is a compound containing Al
  • the obtained phosphor is likely to be a garnet phosphor with improved temperature quenching compared to other garnet phosphors that emit the same light color. .
  • the second end component and the third end component are preferable.
  • any one or two end components are combined with the first end component to form a solid solution, whereby a base garnet compound is obtained. That is, as the solid solution constituting the base garnet compound, for example, a solid solution including the first end component and the second end component as end components, and a solid solution including the first end component and the third end component as end components are used. Is used.
  • the solid solution which comprises a base garnet compound the solid solution containing a 1st end component, a 2nd end component, and a 3rd end component can also be used, for example.
  • specific examples of the solid solution constituting the parent garnet compound will be described.
  • Examples of the matrix garnet compound that is a solid solution containing the first end component as an essential end component include a solid solution represented by the general formula (1).
  • the solid solution represented by the general formula (1) is a solid solution of the first end component Lu 2 CaMg 2 (SiO 4 ) 3 and the second end component Y 3 Al 2 (AlO 4 ) 3 .
  • the base garnet compound is a solid solution represented by the general formula (1)
  • the obtained phosphor has an emission peak wavelength relatively longer than Y 3 Al 2 (AlO 4 ) 3 : Ce 3+ and has the same light color Compared with other garnet phosphors that emit light, the phosphor tends to have improved temperature quenching. This phosphor is a novel phosphor.
  • x is usually 0 ⁇ x ⁇ 1, preferably 0.1 ⁇ x ⁇ 0.9, and more preferably 0.5 ⁇ x ⁇ 0.9.
  • x in the general formula (1) is within the above range, the obtained phosphor has a longer emission peak wavelength than Y 3 Al 2 (AlO 4 ) 3 : Ce 3+ and emits the same light color. Compared to other garnet phosphors, temperature quenching tends to be improved.
  • Solid solution As a base garnet compound which is a solid solution which contains a 1st end component as an essential end component, the solid solution represented by General formula (2) is mentioned, for example. (1-x) Lu 3 Al 2 (AlO 4 ) 3 ⁇ xLu 2 CaMg 2 (SiO 4 ) 3 (2) (Wherein x is a numerical value satisfying 0 ⁇ x ⁇ 1)
  • the solid solution represented by the general formula (2) is a solid solution of the first end component Lu 2 CaMg 2 (SiO 4 ) 3 and the third end component Lu 3 Al 2 (AlO 4 ) 3 .
  • the base garnet compound is a solid solution represented by the general formula (2)
  • the obtained phosphor has an emission peak wavelength relatively longer than Lu 3 Al 2 (AlO 4 ) 3 : Ce 3+ and has the same light color Compared with other garnet phosphors that emit light, the phosphor tends to have improved temperature quenching.
  • This phosphor is a novel phosphor.
  • x is usually 0 ⁇ x ⁇ 1, preferably 0.1 ⁇ x ⁇ 0.9, and more preferably 0.5 ⁇ x ⁇ 0.9.
  • x in the general formula (2) is within the above range, the obtained phosphor has a longer emission peak wavelength than Lu 3 Al 2 (AlO 4 ) 3 : Ce 3+ and emits the same light color. Compared to other garnet phosphors, temperature quenching tends to be improved.
  • the parent garnet compound when the parent garnet compound is a compound containing Al, a part of Ca constituting the parent garnet compound may be substituted with Mg.
  • the matrix garnet compound is a compound containing Al, if a part of Ca constituting the matrix garnet compound is replaced with Mg, the resulting phosphor becomes a garnet phosphor with improved temperature quenching. Therefore, it is preferable.
  • Examples of such a base garnet compound include those in which a part of Ca in the base garnet compound, which is a solid solution represented by the general formula (2), is substituted with Mg.
  • the parent garnet compound is a compound containing Al
  • a part of Ca constituting the parent garnet compound also when the end component includes Lu 3 Al 2 (AlO 4 ) 3 as a third end component. May be replaced by Mg.
  • the obtained phosphor is preferable because it becomes a garnet phosphor with improved temperature quenching.
  • the phosphor according to the present embodiment is a phosphor in which Ce 3+ that is a light emission center is included in the above-described host garnet compound.
  • composition of the phosphor containing Ce 3+ in the base garnet compound examples include a compound represented by the general formula (3).
  • x is a numerical value satisfying 0 ⁇ x ⁇ 1
  • a is a numerical value satisfying 0 ⁇ a ⁇ 0.2
  • b is a numerical value satisfying 0 ⁇ b ⁇ 0.2
  • a + b is a numerical value satisfying 0 ⁇ a + b ⁇ 0.4.
  • a is usually 0 ⁇ a ⁇ 0.2, preferably 0.001 ⁇ a ⁇ 0.05, and more preferably 0.005 ⁇ a ⁇ 0.03.
  • b is usually 0 ⁇ b ⁇ 0.2, preferably 0.001 ⁇ b ⁇ 0.15, and more preferably 0.005 ⁇ b ⁇ 0.1.
  • a + b is usually 0 ⁇ a + b ⁇ 0.4, preferably 0.002 ⁇ a + b ⁇ 0.2, and more preferably 0.01 ⁇ a + b ⁇ 0.13.
  • the obtained phosphor has a longer emission peak wavelength than Y 3 Al 2 (AlO 4 ) 3 : Ce 3+ and is the same. Compared with other garnet phosphors that emit light color, the temperature quenching tends to be improved.
  • x is usually 0 ⁇ x ⁇ 1, preferably 0.1 ⁇ x ⁇ 0.9, and more preferably 0.5 ⁇ x ⁇ 0.9.
  • x in the general formula (3) is within the above range, the obtained phosphor has a longer emission peak wavelength than Y 3 Al 2 (AlO 4 ) 3 : Ce 3+ and emits the same light color. Compared to other garnet phosphors, temperature quenching tends to be improved.
  • a specific example of the phosphor represented by the general formula (3) is 0.1 (Lu 0.97 Ce 0.03 ) 2 CaMg 2 Si 3 O 12 ⁇ 0.9 (Y 0.98 Ce 0.02 ). 3 Al 5 O 12, 0.5 ( Lu 0.97 Ce 0.03) 2 CaMg 2 Si 3 O 12 ⁇ 0.5 (Y 0.98 Ce 0.02) 3 Al 5 O 12, 0.9 ( lu 0.97 Ce 0.03) 2 CaMg 2 Si 3 O 12 ⁇ 0.1 (Y 0.98 Ce 0.02) a 3 Al 5 O 12 and the like.
  • a compound represented by the general formula (4) can be given as a composition of the fluorescent substance in which Ce 3+ is contained in the base garnet compound.
  • a compound represented by the general formula (4) can be given.
  • c is usually 0 ⁇ c ⁇ 0.2, preferably 0.001 ⁇ c ⁇ 0.05, and more preferably 0.005 ⁇ c ⁇ 0.03.
  • d is usually 0 ⁇ d ⁇ 0.2, preferably 0.001 ⁇ d ⁇ 0.15, and more preferably 0.005 ⁇ d ⁇ 0.1.
  • c + d is usually 0 ⁇ c + d ⁇ 0.4, preferably 0.002 ⁇ c + d ⁇ 0.2, and more preferably 0.01 ⁇ b ⁇ 0.13.
  • the obtained phosphor has a longer emission peak wavelength than Lu 3 Al 2 (AlO 4 ) 3 : Ce 3+ and is the same. Compared with other garnet phosphors that emit light color, the temperature quenching tends to be improved.
  • x is usually 0 ⁇ x ⁇ 1, preferably 0.1 ⁇ x ⁇ 0.9, and more preferably 0.5 ⁇ x ⁇ 0.9.
  • x in the general formula (4) is within the above range, the obtained phosphor has a longer emission peak wavelength than Lu 3 Al 2 (AlO 4 ) 3 : Ce 3+ and emits the same light color. Compared to other garnet phosphors, temperature quenching tends to be improved.
  • a specific example of the phosphor represented by the general formula (4) is 0.1 (Lu 0.97 Ce 0.03 ) 2 CaMg 2 Si 3 O 12 ⁇ 0.9 (Lu 0.98 Ce 0.02 ). 3 Al 5 O 12, 0.5 ( Lu 0.97 Ce 0.03) 2 CaMg 2 Si 3 O 12 ⁇ 0.5 (Lu 0.98 Ce 0.02) 3 Al 5 O 12, 0.9 ( Lu 0.97 Ce 0.03 ) 2 CaMg 2 Si 3 O 12 ⁇ 0.1 (Lu 0.98 Ce 0.02 ) 3 Al 5 O 12 .
  • the light emitting device 114 uses the phosphor described above. Specifically, the light-emitting device 114 according to the embodiment includes the above-described phosphor and includes a solid-state light-emitting element 117 as an excitation source, and the phosphor is excited by light emitted from the solid-state light-emitting element 117. .
  • FIG. 1 is a diagram schematically showing a light emitting device according to the first embodiment.
  • FIG. 2 is a diagram schematically showing the light emitting device according to the second embodiment.
  • FIG. 3 is a diagram showing a light emitting device according to the third embodiment. 1 and 2 schematically show the light emitting devices according to the first and second embodiments, and FIG. 3 shows the light emitting device according to the third embodiment in detail.
  • the light emitting device 114 according to these embodiments is used for a semiconductor light emitting device, an illumination light source, an illumination device, a liquid crystal panel with an LED backlight, an LED projector, a laser projector, and the like.
  • the light emitting device 114 ⁇ / b> A includes a phosphor 2 and an excitation source 117 that excites the phosphor 2.
  • the excitation source 117 irradiates the phosphor 2 with the primary light 3 that is an excitation line or excitation light, and the phosphor 2 emits the output light 113.
  • the light emitting device has a structure in which the direction is the same direction.
  • the light emitting device 114A is preferably used for a white LED light source, a fluorescent lamp, an electron tube, and the like.
  • the phosphor 2 is a phosphor including the phosphor according to the above embodiment.
  • the phosphor 2 may be composed of a plurality of types of phosphors.
  • the phosphor 2 includes at least the phosphor according to the above embodiment, and may include the phosphor according to the above embodiment as necessary.
  • the phosphor 2 is usually formed into a plate shape, a film shape or the like to be a wavelength conversion member.
  • the wavelength conversion member is obtained, for example, by dispersing and fixing the phosphor 2 powder in a transparent resin, or fixing the phosphors 2 with an inorganic binder.
  • the wavelength conversion member is normally formed on the surface of a substrate or the like, and is a wavelength conversion body composed of the wavelength conversion member and the substrate.
  • a substrate used for the light-emitting device 114A a light-transmitting substrate is used.
  • the light-transmitting substrate for example, a glass substrate or a light-transmitting ceramic substrate is used.
  • the phosphor 2 in the light emitting device 114A is normally a wavelength converter in which a wavelength conversion member including the phosphor 2 is formed on a light-transmitting substrate.
  • the excitation source 117 is a light source that generates the primary light 3 for exciting the phosphor according to the embodiment included in the phosphor 2.
  • a particle beam that emits particle beams such as ⁇ rays, ⁇ rays, and electron beams, or electromagnetic waves such as ⁇ rays, X rays, vacuum ultraviolet rays, ultraviolet rays, and visible light, or an electromagnetic wave emission device.
  • the visible light is preferably short wavelength visible light such as violet light or blue light.
  • the excitation source 117 emits short-wavelength visible light such as violet light or blue light, the output of the light emitting device is easily increased.
  • the excitation source 117 various types of radiation generators, electron beam emitters, discharge light generators, solid state light emitting elements, solid state light emitters, and the like are used as the excitation source 117.
  • the excitation source 117 include an electron gun, an X-ray tube, a rare gas discharge device, a mercury discharge device, a light emitting diode, a laser light generator including a semiconductor laser, an inorganic or organic electroluminescence element, and the like.
  • the phosphor 2 excited by the primary light 3 that is the excitation line or excitation light emitted from the excitation source 117 emits the output light 113.
  • the output light 113 is emitted in the same direction as the primary light 3.
  • the output light 113 emitted from the light emitting device 114A is used as illumination light or display light, for example.
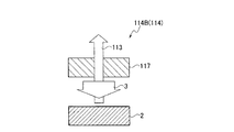
  • the light emitting device 114 ⁇ / b> B includes a phosphor 2 and an excitation source 117 that excites the phosphor 2.
  • the excitation source 117 irradiates the phosphor 2 with the primary light 3 that is an excitation line or excitation light, and the phosphor 2 emits the output light 113.
  • the light emitting device has a structure in which the direction is opposite to the direction. That is, the light emitting device 114B shown as the second embodiment in FIG. 2 is different from the light emitting device 114A shown as the first embodiment in FIG.
  • the light emitting device 114B is preferably used in a plasma display device, a light source device using a phosphor wheel with a reflector, a projector, and the like.
  • the light emitting device 114B according to the second embodiment is the same as the light emitting device 114A according to the first embodiment except that the arrangement of the excitation source 117 and the phosphor 2 is different. Strictly speaking, the member including the phosphor 2 of the light emitting device 114B and the member including the phosphor 2 of the light emitting device 114A are different in the type of the substrate on which the phosphor 2 is fixed. However, the phosphor 2 itself is the same in the light emitting devices 114A and 114B. For this reason, the light emitting device 114B shown as the second embodiment in FIG. 2 and the light emitting device 114A shown as the first embodiment in FIG. Is omitted or simplified.
  • the light emitting device 114 ⁇ / b> B includes a phosphor 2 and an excitation source 117 that excites the phosphor 2. Since the phosphor 2 and the excitation source 117 are the same as the phosphor 2 and the excitation source 117 used in the light emitting device 114A according to the first embodiment, description of members is omitted.
  • the phosphor 2 is usually formed into a plate shape, a film shape, or the like as the light emitting device 114A shown as the first embodiment in FIG. Since this wavelength conversion member is the same as the light emitting device 114A according to the first embodiment, a description thereof will be omitted. Moreover, the wavelength conversion member is normally formed on the surface of a substrate or the like, and is a wavelength conversion body composed of the wavelength conversion member and the substrate. Unlike the light emitting device 114A according to the first embodiment, a substrate that does not have translucency is used as the substrate used for the light emitting device 114B. As the substrate that does not have translucency, for example, a metal substrate, a non-translucent ceramic substrate, or the like is used. As described above, the phosphor 2 in the light emitting device 114B is normally a wavelength converter in which a wavelength conversion member including the phosphor 2 is formed on a substrate that does not have translucency.
  • the excitation source 117 is the same as the light-emitting device 114A shown as the first embodiment in FIG.
  • the phosphor 2 excited by the primary light 3 that is an excitation line or excitation light emitted from the excitation source 117 emits output light 113.
  • the output light 113 is emitted in the opposite direction to the primary light 3.
  • the output light 113 emitted from the light emitting device 114B is used as, for example, illumination light or display light.
  • a light emitting device 114C shown as a third embodiment in FIG. 3 includes a phosphor plate 115 as a wavelength converter including the phosphor according to the embodiment and the substrate 116, and an excitation source 117 for exciting the phosphor in the phosphor plate 115. And comprising.
  • the light emitting device 114C is an example of a light source device for a projector.
  • the light emitting device 114C shown as the third embodiment in FIG. 3 and the light emitting device 114A shown as the first embodiment in FIG. 1 use the phosphor according to the above embodiment and include an excitation source 117. Match.
  • FIG. 3 which shows the light-emitting device 114C which concerns on 3rd Embodiment the same code
  • the phosphor according to the above embodiment is a phosphor plate 115 as a wavelength converter including the phosphor and the substrate 116. Since this fluorescent plate 115 is a member including the phosphor according to the above-described embodiment, it is a member that embodies the phosphor 2 in the light emitting devices 114A and 114B according to the first and second embodiments.
  • the light emitting device 114C according to the third embodiment will be described more specifically.
  • the light emitting device 114C includes a phosphor plate 115 as a wavelength converter including the phosphor according to the embodiment and the substrate 116, and an excitation source 117 that excites the phosphor 2 included in the phosphor plate 115.
  • a first light source 117a is
  • the first light source 117a that is the excitation source 117 for example, a solid light emitting element that emits purple or blue light having an emission peak in a wavelength region of 400 nm or more and less than 480 nm is used.
  • a solid state light emitting device for example, a blue LD is used.
  • the light emitting device 114C at least violet light or blue light 113 emitted from the first light source 117a is directly or indirectly applied to the phosphor formed on the fluorescent plate 115.
  • a plurality of first light sources 117a are provided.
  • the violet light or blue light emitted from the first light source 117a is reflected by the reflection mirror 118, collected by the first lens 119a, and then irradiated onto the phosphor in the fluorescent plate 115.
  • the blue-green or green light component 113 radiated by the phosphor reflected by the reflecting surface of the fluorescent plate 115 is condensed by the first condenser lens 120a.
  • the optical component 113 is then repeatedly subjected to optical axis conversion and condensing by the first optical axis conversion mirror 121a, the second lens 119b, the second optical axis conversion mirror 121b, the third lens 119c, and the third optical axis conversion mirror 121c. Is made.
  • the light component 113 that has been subjected to the optical axis conversion and the condensing is incident on the exit lens 122 and is emitted from the light emitting device 114C.
  • the light emitting device 114C may be the light emitting device 114 for multicolor display.
  • a second light source 117b that emits a light component of a color different from that of the first light source 117a is further used as the excitation source 117.
  • Fluorescent substances according to Examples and Comparative Examples were synthesized using a synthesis method using a solid phase reaction, and their characteristics were evaluated. In the examples and comparative examples, the following compound powders were used as raw materials.
  • Yttrium oxide (Y 2 O 3 ) purity 3N, manufactured by Shin-Etsu Chemical Co., Ltd.
  • Lutetium oxide (Lu 2 O 3 ) purity 3N, manufactured by Shin-Etsu Chemical Co., Ltd.
  • Gadolinium oxide (Gd 2 O 3 ) purity 3N, Kanto Chemical Calcium carbonate (CaCO 3 ) manufactured by Co., Ltd .: Purity 2N5, manufactured by Kanto Chemical Co., Ltd.
  • Magnesium oxide (MgO) Purity 4N, manufactured by High Purity Chemical Laboratory Co., Ltd.
  • Cerium oxide (CeO 2 ) Purity 4N, Shin-Etsu Chemical Co., Ltd.
  • the following compound powder was used as a reaction accelerator.
  • the synthesis temperature optimized for each compound is selected.
  • each raw material was weighed at a ratio shown in Table 1.
  • these raw materials were put into a glass beaker together with an appropriate amount of pure water, and sufficiently stirred using a magnetic stirrer to obtain a slurry-like mixed raw material.
  • this slurry-like mixed raw material was moved to the container, and was dried at 150 degreeC for 3 hours using the dryer.
  • the mixed raw material after drying was pulverized using a mortar and pestle to obtain a fired raw material.
  • the firing raw material was transferred to an alumina crucible with a lid and subjected to main firing for 2 hours in an atmosphere of 1400 ° C. using a box-type electric furnace.
  • the fired product after the main firing was lightly pulverized again using a pestle and a mortar to obtain a material to be reduced.
  • the material to be reduced was transferred to an alumina crucible and subjected to a reduction treatment for 1 hour in a reducing gas atmosphere at 1350 to 1500 ° C. using a tubular atmosphere furnace. Note that a 96% by volume N 2 + 4% by volume H 2 nitrogen-hydrogen mixed gas was used as the reducing gas for forming the reducing gas atmosphere, and the flow rate of the reducing gas was 100 cc / min. After the reduction treatment, 0.1 (Lu 0.97 Ce 0.03 ) 2 CaMg 2 Si 3 O 12 ⁇ 0.9 (Y 0.98 Ce 0.02 ) 3 Al 5 O 12 was obtained.
  • Example 2 0.5 (Lu 0.97 Ce 0.03 ) 2 CaMg 2 Si 3 O 12 ⁇ 0.5 (Y) except that the blending ratio of each raw material was changed as shown in Table 1 in the same manner as in Example 1. 0.98 Ce 0.02 ) 3 Al 5 O 12 was obtained.
  • Example 3 0.9 (Lu 0.97 Ce 0.03 ) 2 CaMg 2 Si 3 O 12 ⁇ 0.1 (Y) except that the blending ratio of each raw material was changed as shown in Table 1 in the same manner as in Example 1. 0.98 Ce 0.02 ) 3 Al 5 O 12 was obtained.
  • each raw material and reaction accelerator were weighed at the ratio shown in Table 1.
  • these raw materials were put into a glass beaker together with an appropriate amount of pure water and sufficiently stirred using a magnetic stirrer to obtain a slurry-like mixed raw material.
  • this slurry-like mixed raw material was moved to the container, and was dried at 150 degreeC for 3 hours using the dryer.
  • the mixed raw material after drying was pulverized using a mortar and pestle to obtain a fired raw material.
  • the firing raw material was transferred to an alumina crucible and fired in a reducing gas atmosphere at 1500 ° C. for 2 hours using a tubular atmosphere furnace.
  • a 96% by volume N 2 + 4% by volume H 2 nitrogen-hydrogen mixed gas was used as the reducing gas for forming the reducing gas atmosphere, and the flow rate of the reducing gas was 100 cc / min.
  • Comparative Example 3 It is a known (Y, Gd) 3 Al 2 (AlO 4 ) 3 : Ce 3+ phosphor in the same manner as in Comparative Example 1 except that the blending ratio of each raw material and reaction accelerator is changed as shown in Table 1. (Y 0.38 Gd 0.6 Ce 0.02 ) 3 Al 2 (AlO 4 ) 3 was obtained.
  • each raw material was weighed at a ratio shown in Table 1.
  • these raw materials were put into a glass beaker together with an appropriate amount of pure water and sufficiently stirred using a magnetic stirrer to obtain a slurry-like mixed raw material.
  • this slurry-like mixed raw material was moved to the container, and was dried at 150 degreeC for 3 hours using the dryer.
  • the mixed raw material after drying was pulverized using a mortar and pestle to obtain a fired raw material.
  • the firing raw material was transferred to an alumina crucible with a lid and subjected to main firing for 2 hours in an atmosphere of 1400 ° C. using a box-type electric furnace.
  • the fired product after the main firing was lightly pulverized again using a pestle and a mortar to obtain a material to be reduced.
  • the material to be reduced was transferred to an alumina crucible and subjected to reduction treatment for 1 hour in a reducing gas atmosphere at 1350 ° C. using a tubular atmosphere furnace. Note that a 96% by volume N 2 + 4% by volume H 2 nitrogen-hydrogen mixed gas was used as the reducing gas for forming the reducing gas atmosphere, and the flow rate of the reducing gas was 100 cc / min.
  • FIG. 4 is a graph showing X-ray diffraction (XRD) patterns of the compounds of Examples 1 to 3 and known compounds.
  • the XRD pattern was evaluated using an X-ray diffractometer (product name: MultiFlex, manufactured by Rigaku Corporation).
  • Example 1 the XRD pattern of Example 1 is shown as (a)
  • the XRD pattern of Example 2 is shown as (b)
  • the XRD pattern of Example 3 is shown as (c).
  • an Al 5 Y 3 O 12 pattern PDF No. 33-0040 registered in PDF (Power Diffraction Files) is shown as (d).
  • the compounds of Examples 1 to 3 are mainly composed of a compound having the same garnet structure as Al 5 Y 3 O 12 .
  • the compound of Example 1 is composed of the compound (Lu 0.97 Ce 0.03 ) 2 CaMg 2 Si 3 O 12 and the compound (Y 0.98 Ce 0.02 ) 3 Al 5 O 12. It can be said that it is a solid solution.
  • the specific composition of the compound of Example 1 is 0.1 (Lu 0.97 Ce 0.03 ) 2 CaMg 2 Si 3 O 12 ⁇ 0.9 (Y 0.98 Ce 0.02 ) 3 Al 5 O 12 You can say that.
  • the compound of Example 2 is a solid solution of the compound (Lu 0.97 Ce 0.03 ) 2 CaMg 2 Si 3 O 12 and the compound (Y 0.98 Ce 0.02 ) 3 Al 5 O 12. I can say that.
  • the specific composition of the compound of Example 2 is 0.5 (Lu 0.97 Ce 0.03 ) 2 CaMg 2 Si 3 O 12 ⁇ 0.5 (Y 0.98 Ce 0.02 ) 3 Al 5 O 12 You can say that.
  • the compound of Example 3 if it is a solid solution of the compound (Lu 0.97 Ce 0.03) 2 CaMg 2 Si 3 O 12 and the compound (Y 0.98 Ce 0.02) 3 Al 5 O 12 I can say that.
  • the specific composition of the compound of Example 3 is 0.9 (Lu 0.97 Ce 0.03 ) 2 CaMg 2 Si 3 O 12 ⁇ 0.1 (Y 0.98 Ce 0.02 ) 3 Al 5 O 12 You can say that.
  • FIG. 5 is a graph showing the relationship between the d value on the (420) plane and the solid solution amount x in the compounds of Examples 1 to 3 and Comparative Examples 1 and 5. Specifically, FIG. 5 shows that the above compound is (1-x) (Y 0.98 Ce 0.02 ) 3 Al 2 (AlO 4 ) 3 ⁇ x (Lu 0.97 Ce 0.03 ) 2 CaMg. 2 is a graph showing the relationship between x and d values when expressed as a solid solution represented by (SiO 4) 3. The d value of the (420) plane is the interval between adjacent (420) planes.
  • the graph of FIG. 5 was created as follows. First, the d value of the (420) plane of each compound was calculated based on the XRD diffraction angle (2 ⁇ ) of the main peak (diffracted line of (420) plane) near 33 ° of the XRD pattern of the compound. Next, the d value of each compound and (1-x) (Y 0.98 Ce 0.02 ) 3 Al 2 (AlO 4 ) 3 ⁇ x (Lu 0.97 Ce 0.03 ) 2 CaMg of each compound Based on the composition represented by 2 (SiO 4 ) 3 , a graph showing the relationship between x and d value was prepared.
  • the XRD patterns of the compounds of Comparative Examples 1 and 5 were measured using the same X-ray diffractometer as in Examples 1 to 3.
  • FIG. 5 shows that the surface spacing of the (420) plane of the phosphor continuously decreases as x increases.
  • FIGS. 4 and 5 show that the compound (Lu 0.97 Ce 0.03 ) 2 CaMg 2 Si 3 O 12 and the compound (Y 0.98 Ce 0.02 ) 3 Al 5 O 12 is data indicating that a solid solution is formed.
  • the analysis results shown in FIGS. 4 and 5 are phosphors containing at least Ce 3+ as the emission center, and the end component Y 3 Al 2 (AlO 4 ) 3 and the end component Lu 2 CaMg 2 (SiO 4 ) 3.
  • the presence of a phosphor having a solid solution as a base and the fact of synthesis of this phosphor are shown.
  • the solid solution of the end component Y 3 Al 2 (AlO 4 ) 3 and the end component Lu 2 CaMg 2 (SiO 4 ) 3 is specifically (1-x) Y 3 Al 2 (AlO 4 ) 3.
  • XLu 2 CaMg 2 (SiO 4 ) 3 is a compound represented by
  • the compound of Example 1 When the compound of Example 1 was irradiated with ultraviolet rays (wavelength 365 nm), yellow-green fluorescence was visually observed. That is, the compound of Example 1 was a phosphor emitting yellow-green light.
  • the compound of Example 2 When the compound of Example 2 was irradiated with ultraviolet rays (wavelength 365 nm), yellow fluorescence was visually observed. That is, the compound of Example 2 was a phosphor that emitted yellow light.
  • the compound of Example 3 When the compound of Example 3 was irradiated with ultraviolet rays (wavelength 365 nm), orange fluorescence was visually observed. That is, the compound of Example 3 was a phosphor emitting orange light.
  • Excitation characteristics and emission characteristics of the compounds of Examples 1 to 3 were measured. Excitation characteristics and emission characteristics were measured using a spectrofluorometer (FP-6500 manufactured by JASCO Corporation).
  • FIG. 6 is a graph showing excitation spectra and emission spectra of the compounds of Examples 1 to 3. Specifically, in FIG. 6, the compound 0.1 (Lu 0.97 Ce 0.03 ) 2 CaMg 2 Si 3 O 12 ⁇ 0.9 (Y 0.98 Ce 0.02 ) 3 Al of Example 1 is shown. The emission spectrum of 5 O 12 is shown as 21a, and the excitation spectrum is shown as 22a. FIG. 6 shows the compound 0.5 (Lu 0.97 Ce 0.03 ) 2 CaMg 2 Si 3 O 12 ⁇ 0.5 (Y 0.98 Ce 0.02 ) 3 Al 5 O 12 of Example 2. The emission spectrum is shown as 21b and the excitation spectrum as 22b. Further, in FIG.
  • Example 6 the compound 0.9 (Lu 0.97 Ce 0.03 ) 2 CaMg 2 Si 3 O 12 ⁇ 0.1 (Y 0.98 Ce 0.02 ) 3 Al 5 O 12 of Example 3 is shown.
  • the emission spectrum is shown as 21c and the excitation spectrum as 22c.
  • the excitation peak wavelength was the excitation wavelength when measuring the emission spectrum
  • the emission peak wavelength was the monitoring wavelength when measuring the excitation spectrum. Further, the emission spectrum and the excitation spectrum in FIG. 6 are both normalized and shown with a peak value of 1.
  • the excitation spectra of the phosphors of Examples 1 to 3 have the maximum value of the excitation intensity in the blue wavelength region. Specifically, the excitation spectra of the phosphors of Examples 1 to 3 all have a maximum value of excitation intensity at 453 nm. From these results, it was found that the phosphors of Examples 1 to 3 emitted strong light when irradiated with blue light.
  • FIG. 6 shows that the emission spectra of the phosphors of Examples 1 to 3 include a spectral component derived from Ce 3+ electron energy transition. This is because the emission spectra of the phosphors of Examples 1 to 3 have a shape mainly composed of an emission spectrum derived from Ce 3+ electron energy transition.
  • the emission spectra of the phosphors of Examples 1 to 3 have emission peaks at 554 nm, 570 nm, and 597 nm, respectively. From these results, it was found that the phosphors of Examples 1 to 3 were phosphors having an emission peak wavelength relatively longer than that of the Y 3 Al 2 (AlO 4 ) 3 : Ce 3+ phosphor.
  • the base garnet compound is such that the end component Y 3 Al 2 (AlO 4 ) 3 is solid-dissolved with the end component Lu 2 CaMg 2 (SiO 4 ) 3 in the entire region.
  • the emission peak wavelength of the phosphor containing Ce 3+ in the base garnet compound can be controlled to be 535 nm or more and less than 610 nm, particularly 545 nm or more and less than 590 nm. I understood.
  • Example 4 0.1 (Lu 0.97 Ce 0.03 ) 2 CaMg 2 Si 3 O 12 ⁇ 0.9 (Lu) in the same manner as in Example 1 except that the blending ratio of each raw material was changed as shown in Table 1. 0.98 Ce 0.02 ) 3 Al 5 O 12 was obtained (Example 4). Further, except that the blending ratio of each raw material was changed as shown in Table 1 in the same manner as in Example 1, 0.5 (Lu 0.97 Ce 0.03 ) 2 CaMg 2 Si 3 O 12 ⁇ 0.5 (Lu 0.98 Ce 0.02 ) 3 Al 5 O 12 was obtained (Example 5).
  • Example 6 0.9 (Lu 0.97 Ce 0.03 ) 2 CaMg 2 Si 3 O 12 ⁇ 0.1 was performed in the same manner as in Example 1 except that the blending ratio of each raw material was changed as shown in Table 1. (Lu 0.98 Ce 0.02 ) 3 Al 5 O 12 was obtained (Example 6).
  • FIG. 7 is a graph showing X-ray diffraction (XRD) patterns of the compounds of Examples 4 to 6 and known compounds.
  • Example 4 the XRD pattern of Example 4 is shown as (e)
  • the XRD pattern of Example 5 is shown as (f)
  • the XRD pattern of Example 6 is shown as (g).
  • an Al 5 Y 3 O 12 pattern PDF No. 33-0040 registered in PDF (Power Diffraction Files) is shown as (d).
  • the compounds of Examples 4 to 6 are mainly composed of a compound having the same garnet structure as Al 5 Y 3 O 12 .
  • the compound of Example 4 is composed of the compound (Lu 0.97 Ce 0.03 ) 2 CaMg 2 Si 3 O 12 and the compound (Lu 0.98 Ce 0.02 ) 3 Al 5 O 12. It can be said that it is a solid solution.
  • the specific composition of the compound of Example 4 is 0.1 (Lu 0.97 Ce 0.03 ) 2 CaMg 2 Si 3 O 12 ⁇ 0.9 (Lu 0.98 Ce 0.02 ) 3 Al 5 O 12 You can say that.
  • the compound of Example 5 can be said to be a solid solution of the compound (Lu 0.97 Ce 0.03 ) 2 CaMg 2 Si 3 O 12 and the compound (Lu 0.98 Ce 0.02 ) 3 Al 5 O 12. .
  • the specific composition of the compound of Example 5 is 0.5 (Lu 0.97 Ce 0.03 ) 2 CaMg 2 Si 3 O 12 ⁇ 0.5 (Lu 0.98 Ce 0.02 ) 3 Al 5 O 12 You can say that.
  • the compound of Example 6 is a solid solution of the compound (Lu 0.97 Ce 0.03 ) 2 CaMg 2 Si 3 O 12 and the compound (Lu 0.98 Ce 0.02 ) 3 Al 5 O 12. .
  • the specific composition of the compound of Example 6 is 0.9 (Lu 0.97 Ce 0.03 ) 2 CaMg 2 Si 3 O 12 ⁇ 0.1 (Lu 0.98 Ce 0.02 ) 3 Al 5 O 12 You can say that.
  • FIG. 8 is a graph showing the relationship between the d value on the (420) plane and the solid solution amount x in the compounds of Examples 4 to 6 and Comparative Examples 2 and 5. Specifically, FIG. 8 shows that the above compound is (1-x) (Lu 0.98 Ce 0.02 ) 3 Al 2 (AlO 4 ) 3 ⁇ x (Lu 0.97 Ce 0.03 ) 2 CaMg. 2 is a graph showing the relationship between x and d values when expressed as a solid solution represented by (SiO 4) 3. The d value of the (420) plane is the interval between adjacent (420) planes. The graph of FIG. 8 was created as follows.
  • the d value of the (420) plane of each compound was calculated based on the XRD diffraction angle (2 ⁇ ) of the main peak (diffracted line of (420) plane) near 33 ° of the XRD pattern of the compound.
  • the d value of each compound and (1-x) (Lu 0.98 Ce 0.02 ) 3 Al 2 (AlO 4 ) 3 ⁇ x (Lu 0.97 Ce 0.03 ) 2 CaMg of each compound Based on the composition represented by 2 (SiO 4 ) 3 , a graph showing the relationship between x and d value was prepared.
  • the XRD pattern of the compound of Comparative Example 2 was measured using the same X-ray diffractometer as in Examples 1 to 3.
  • FIG. 8 shows that the surface spacing of the (420) plane of the phosphor increases continuously as x increases.
  • FIGS. 7 and 8 show that the compound (Lu 0.97 Ce 0.03 ) 2 CaMg 2 Si 3 O 12 and the compound (Lu 0.98 Ce) 0.02 ) 3 Al 5 O 12 is data indicating that a solid solution is formed.
  • the analysis results shown in FIG. 7 and FIG. 8 are phosphors containing at least Ce 3+ as the emission center, and the end component Lu 3 Al 2 (AlO 4 ) 3 and the end component Lu 2 CaMg 2 (SiO 4 ) 3.
  • the presence of a phosphor having a solid solution as a base and the fact of synthesis of this phosphor are shown.
  • the solid solution of the end component Lu 3 Al 2 (AlO 4 ) 3 and the end component Lu 2 CaMg 2 (SiO 4 ) 3 is specifically (1-x) Lu 3 Al 2 (AlO 4 ) 3.
  • XLu 2 CaMg 2 (SiO 4 ) 3 is a compound represented by
  • the compound of Example 4 When the compound of Example 4 was irradiated with ultraviolet rays (wavelength 365 nm), green fluorescence was visually observed. That is, the compound of Example 4 was a phosphor emitting yellow-green light.
  • the compound of Example 5 When the compound of Example 5 was irradiated with ultraviolet rays (wavelength 365 nm), yellow fluorescence was visually observed. That is, the compound of Example 5 was a phosphor emitting yellow light.
  • the compound of Example 6 When the compound of Example 6 was irradiated with ultraviolet rays (wavelength 365 nm), orange fluorescence was visually observed. That is, the compound of Example 6 was a phosphor emitting orange light.
  • FIG. 9 is a graph showing excitation spectra and emission spectra of the compounds of Examples 4 to 6. Specifically, in FIG. 9, the compound 0.1 (Lu 0.97 Ce 0.03 ) 2 CaMg 2 Si 3 O 12 ⁇ 0.9 (Lu 0.98 Ce 0.02 ) 3 Al of Example 4 is shown. The emission spectrum of 5 O 12 is shown as 21d, and the excitation spectrum is shown as 22d. Further, in FIG. 9, the compound 0.5 (Lu 0.97 Ce 0.03 ) 2 CaMg 2 Si 3 O 12 ⁇ 0.5 (Lu 0.98 Ce 0.02 ) 3 Al 5 O 12 of Example 5 is used. The emission spectrum is shown as 21e and the excitation spectrum as 22e. Further, FIG.
  • the excitation peak wavelength was the excitation wavelength when measuring the emission spectrum
  • the emission peak wavelength was the monitoring wavelength when measuring the excitation spectrum. Further, the emission spectrum and the excitation spectrum in FIG. 9 are both normalized and shown with a peak value of 1.
  • the excitation spectra of the phosphors of Examples 4 to 6 have the maximum excitation intensity in the blue wavelength region.
  • the excitation spectra of the phosphors of Examples 4 to 6 have maximum excitation intensity values at 446 nm (Example 4), 448 nm (Example 5), and 457 nm (Example 6), respectively. . From these results, it was found that the phosphors of Examples 4 to 6 emitted strong light when irradiated with blue light.
  • the emission spectra of the phosphors of Examples 4 to 6 contain a spectral component derived from the electron energy transition of Ce 3+ . This is because the emission spectra of the phosphors of Examples 4 to 6 have a shape mainly composed of the emission spectrum derived from the Ce 3+ electron energy transition.
  • the base garnet compound is such that the end component Lu 3 Al 2 (AlO 4 ) 3 is solid-dissolved with the end component Lu 2 CaMg 2 (SiO 4 ) 3 in the entire region.
  • the emission peak wavelength of the phosphor containing Ce 3+ in the base garnet compound can be controlled to be 515 nm or more and less than 610 nm, particularly 525 nm or more and less than 590 nm. I understood.
  • Example 7 to 10 0.1 (Lu 0.97 Ce 0.03 ) 2 (Ca 0.9 Mg 0.1 ) Mg 2 in the same manner as in Example 1 except that the blending ratio of each raw material was changed as shown in Table 1. was obtained Si 3 O 12 ⁇ 0.9 (Lu 0.98 Ce 0.02) 3 Al 5 O 12 ( example 7). Further, 0.5 (Lu 0.97 Ce 0.03 ) 2 (Ca 0.9 Mg 0.1 ) was carried out in the same manner as in Example 1 except that the blending ratio of each raw material was changed as shown in Table 1. Mg 2 Si 3 O 12 ⁇ 0.5 (Lu 0.98 Ce 0.02 ) 3 Al 5 O 12 was obtained (Example 8).
  • Example 10 0.9 (Lu 0.97 Ce 0.03 ) 2 (Ca 0.9 Mg 0.1 ) was carried out in the same manner as in Example 1 except that the blending ratio of each raw material was changed as shown in Table 1. Mg 2 Si 3 O 12 ⁇ 0.1 (Lu 0.98 Ce 0.02 ) 3 Al 5 O 12 was obtained (Example 9). Further, except that the blending ratio of each raw material was changed as shown in Table 1 in the same manner as in Example 1, (Lu 0.97 Ce 0.03) 2 (Ca 0.9 Mg 0.1) Mg 2 Si 3 O 12 was obtained (Example 10).
  • FIG. 10 is a graph showing X-ray diffraction (XRD) patterns of the compounds of Examples 7 to 10 and known compounds.
  • Example 10 the XRD pattern of Example 7 is shown as (h), the XRD pattern of Example 8 is shown as (i), the XRD pattern of Example 9 is shown as (j), and the XRD pattern of Example 10 is shown as (k).
  • an Al 5 Y 3 O 12 pattern PDF No. 33-0040 registered in PDF (Power Diffraction Files) is shown as (d).
  • the compounds of Examples 7 to 10 are mainly composed of a compound having the same garnet structure as Al 5 Y 3 O 12 .
  • the compound of Example 7 is composed of the compound (Lu 0.97 Ce 0.03 ) 2 (Ca 0.9 Mg 0.1 ) Mg 2 Si 3 O 12 and the compound (Lu 0.98). It can be said that it is a solid solution of Ce 0.02 ) 3 Al 5 O 12 .
  • the specific composition of the compound of Example 7 is 0.1 (Lu 0.97 Ce 0.03 ) 2 (Ca 0.9 Mg 0.1 ) Mg 2 Si 3 O 12 ⁇ 0.9 (Lu 0.98 It said to ce 0.02) a 3 Al 5 O 12.
  • the compound of Example 8 compound (Lu 0.97 Ce 0.03) 2 ( Ca 0.9 Mg 0.1) Mg 2 Si 3 O 12 and the compound (Lu 0.98 Ce 0.02) 3 It can be said that it is a solid solution of Al 5 O 12 .
  • the specific composition of the compound of Example 8 is 0.5 (Lu 0.97 Ce 0.03 ) 2 (Ca 0.9 Mg 0.1 ) Mg 2 Si 3 O 12 ⁇ 0.5 (Lu 0.98 It said to ce 0.02) a 3 Al 5 O 12.
  • the compound of Example 9 is composed of the compound (Lu 0.97 Ce 0.03 ) 2 (Ca 0.9 Mg 0.1 ) Mg 2 Si 3 O 12 and the compound (Lu 0.98 Ce 0.02 ) 3. It can be said that it is a solid solution of Al 5 O 12 .
  • the specific composition of the compound of Example 9 is 0.9 (Lu 0.97 Ce 0.03 ) 2 (Ca 0.9 Mg 0.1 ) Mg 2 Si 3 O 12 ⁇ 0.1 (Lu 0.98 It said to ce 0.02) a 3 Al 5 O 12.
  • composition of the compound of Example 10 can be said to be (Lu 0.97 Ce 0.03) 2 ( Ca 0.9 Mg 0.1) Mg 2 Si 3 O 12.
  • FIG. 11 is a graph showing the relationship between the d value on the (420) plane and the solid solution amount x in the compounds of Examples 7 to 10 and Comparative Example 2. Specifically, FIG. 11 shows that the above compound is (1-x) (Lu 0.98 Ce 0.02 ) 3 Al 2 (AlO 4 ) 3 ⁇ x (Lu 0.97 Ce 0.03 ) 2 (Ca 0 .9 Mg 0.1 ) Mg 2 (SiO 4 ) 3 is a graph showing the relationship between x and d values when expressed as a solid solution.
  • the d value of the (420) plane is the interval between adjacent (420) planes.
  • the graph of FIG. 11 was created as follows.
  • the d value of the (420) plane of each compound was calculated based on the XRD diffraction angle (2 ⁇ ) of the main peak (diffracted line of (420) plane) near 33 ° of the XRD pattern of the compound.
  • the d value of each compound and (1-x) (Lu 0.98 Ce 0.02 ) 3 Al 2 (AlO 4 ) 3 ⁇ x (Lu 0.97 Ce 0.03 ) 2 ( Based on the composition represented by Ca 0.9 Mg 0.1 ) Mg 2 (SiO 4 ) 3 , a graph showing the relationship between x and d value was created.
  • FIG. 11 shows that the surface spacing of the (420) plane of the phosphor increases continuously as x increases.
  • FIG. 11 show the compound (Lu 0.97 Ce 0.03 ) 2 (Ca 0.9 Mg 0.1 ) Mg 2 Si 3 O 12 and the compound (Lu 0.98 Ce 0.02). ) and 3 Al 5 O 12 is said to be data indicating the formation of a solid solution.
  • the analysis results shown in FIGS. 10 and 11 are phosphors containing at least Ce 3+ as the emission center, and the end component Lu 3 Al 2 (AlO 4 ) 3 and the end component Lu 2 (Ca 0.9 Mg 0). .1 ) The presence of a phosphor having a solid solution with Mg 2 Si 3 O 12 as a base. Furthermore, the analysis results shown in FIG. 10 and FIG. 11 show the synthesis fact of this phosphor.
  • the solid solution of the end component Lu 3 Al 2 (AlO 4 ) 3 and the end component Lu 2 (Ca 0.9 Mg 0.1 ) Mg 2 (SiO 4 ) 3 is specifically (1-x ) Lu 3 Al 2 (AlO 4 ) 3 xLu 2 (Ca 0.9 Mg 0.1 ) Mg 2 Si 3 O 12
  • the compound of Example 7 When the compound of Example 7 was irradiated with ultraviolet rays (wavelength 365 nm), green fluorescence was visually observed. That is, the compound of Example 7 was a phosphor emitting green light.
  • the compound of Example 8 When the compound of Example 8 was irradiated with ultraviolet rays (wavelength 365 nm), yellow fluorescence was visually observed. That is, the compound of Example 8 was a phosphor emitting yellow light.
  • the compound of Example 9 When the compound of Example 9 was irradiated with ultraviolet rays (wavelength 365 nm), orange fluorescence was visually observed. That is, the compound of Example 9 was a phosphor emitting orange light.
  • the compound of Example 10 When the compound of Example 10 was irradiated with ultraviolet rays (wavelength 365 nm), orange fluorescence was visually observed. That is, the compound of Example 10 was a phosphor emitting orange light.
  • FIG. 12 is a graph showing the emission spectra of the compounds of Examples 7 to 10. Specifically, FIG. 12 shows the compound 0.1 (Lu 0.97 Ce 0.03 ) 2 (Ca 0.9 Mg 0.1 ) Mg 2 Si 3 O 12 ⁇ 0.9 (Lu) of Example 7. The emission spectrum of 0.98 Ce 0.02 ) 3 Al 5 O 12 is shown as 21 g. In addition, FIG. 12 shows that compound 0.5 (Lu 0.97 Ce 0.03 ) 2 (Ca 0.9 Mg 0.1 ) Mg 2 Si 3 O 12 ⁇ 0.5 (Lu 0.98 ) of Example 8. The emission spectrum of Ce 0.02 ) 3 Al 5 O 12 is shown as 21h. Further, FIG.
  • Example 12 shows that the compound 0.9 (Lu 0.97 Ce 0.03 ) 2 (Ca 0.9 Mg 0.1 ) Mg 2 Si 3 O 12 ⁇ 0.1 (Lu 0.98 ) of Example 9 is used.
  • the emission spectrum of Ce 0.02 ) 3 Al 5 O 12 is shown as 21i.
  • FIG. 12 shows the emission spectrum of the compound of Example 10 (Lu 0.97 Ce 0.03 ) 2 (Ca 0.9 Mg 0.1 ) Mg 2 Si 3 O 12 as 21j.
  • the emission peak wavelength was the wavelength at the peak value of the emission spectrum.
  • the emission spectra in FIG. 12 are all normalized and shown with a peak value of 1.
  • the emission spectra of the phosphors of Examples 7 to 10 contain spectral components derived from Ce 3+ electron energy transition. This is because the emission spectra of the phosphors of Examples 7 to 10 have a shape mainly composed of the emission spectrum derived from the Ce 3+ electron energy transition.
  • the emission spectra of the phosphors of Examples 7 to 10 had emission peaks at 534 nm, 545 nm, 582 nm, and 590 nm. From these results, it was found that the phosphors of Examples 7 to 10 were phosphors having a relatively longer emission peak wavelength than the Lu 3 Al 2 (AlO 4 ) 3 : Ce 3+ phosphor.
  • the phosphor represented by Mg 2 (SiO 4 ) 3 can control the emission peak in a specific wavelength region. Specifically, it has been found that the phosphor represented by the above formula can control the emission peak within a range of 534 nm or more and less than 590 nm. The phosphor represented by the above formula can easily control the emission peak within the range of 560 nm or more and less than 590 nm, which is useful for improving the color rendering properties of illumination.
  • the end component Lu 3 Al 2 (AlO 4 ) 3 is the end component Lu 2 (Ca 0.9 Mg 0.1 ) Mg 2 (SiO 4 ) 3. It turned out that it was a solid solution. Further, according to the results of Examples 7 to 10 described above, the emission peak wavelength of the phosphor containing Ce 3+ in the base garnet compound can be controlled to be 515 nm or more and less than 610 nm, particularly 534 nm or more and less than 590 nm. I understood.
  • Example 6 Example 9, and Comparative Examples 1 to 5
  • Temperature quenching was evaluated using a quantum efficiency measurement system (product name: QE-1100, manufactured by Otsuka Electronics Co., Ltd.) equipped with an instantaneous multi-photometry system (product name: MCPD-9800, manufactured by Otsuka Electronics Co., Ltd.).
  • QE-1100 manufactured by Otsuka Electronics Co., Ltd.
  • MCPD-9800 instantaneous multi-photometry system
  • the phosphors of Example 3, Example 6, Example 9, and Comparative Examples 1 to 5 were changed from 30 ° C. to 200 ° C. at 10 ° C. or 20 ° C. Heat in increments of ° C. And every time it heated at 10 degreeC or 20 degreeC increment, the internal quantum efficiency was measured.
  • the ratio of the internal quantum efficiency when the phosphor temperature is 150 ° C. with respect to the internal quantum efficiency when the phosphor temperature is 30 ° C. is defined as the internal quantum efficiency maintenance ratio (%), which is a measure of the temperature quenching of the phosphor.
  • the internal quantum efficiency maintenance rate is an index for evaluating the temperature quenching of the phosphor.
  • the internal quantum efficiency maintenance rate and the temperature quenching of the phosphor have a relationship that the temperature quenching of the phosphor becomes smaller as the internal quantum efficiency maintenance rate of the phosphor is higher.
  • FIG. 13 is a graph showing the relationship between the emission peak wavelengths of the compounds of Examples 3, 6 and 9, and Comparative Examples 1 to 5 and the internal quantum efficiency retention rate.
  • the emission peak wavelength shown in FIG. 13 is the maximum value of the emission spectrum of each phosphor measured at a temperature of 25 ° C. using an instantaneous multi-photometry system.
  • the phosphor of Example 3 is relatively longer in emission peak wavelength than the Y 3 Al 2 (AlO 4 ) 3 : Ce 3+ phosphor and is compared with other garnet phosphors that emit the same light color. Thus, the phosphor was found to have improved temperature quenching.
  • a phosphor containing at least Ce 3+ as the emission center which is a solid solution of the end component Y 3 Al 2 (AlO 4 ) 3 and the end component Lu 2 CaMg 2 (SiO 4 ) 3
  • the phosphor as a base has the following characteristics. That is, the phosphor having the solid solution as a base is other garnet phosphor that emits the same light color with a relatively longer emission peak wavelength of 560 nm or more than the Y 3 Al 2 (AlO 4 ) 3 : Ce 3+ phosphor. This suggests that the phosphor has an improved temperature quenching compared to the above.
  • the phosphor of Example 6 is relatively longer in emission peak wavelength than Lu 3 Al 2 (AlO 4 ) 3 : Ce 3+ phosphor and is compared with other garnet phosphors emitting the same light color. Thus, the phosphor was found to have improved temperature quenching.
  • the result shown in FIG. 13 is a phosphor containing at least Ce 3+ as the emission center, and a solid solution of the end component Lu 3 Al 2 (AlO 4 ) 3 and the end component Lu 2 CaMg 2 (SiO 4 ) 3.
  • the phosphor as a base has the following characteristics. That is, the phosphor based on the above solid solution is a phosphor having a longer emission peak wavelength of 560 nm or more than Lu 3 Al 2 (AlO 4 ) 3 : Ce 3+ phosphor and improved temperature quenching. It is suggested that there is.
  • the phosphor of Example 9 is relatively longer in emission peak wavelength than Lu 3 Al 2 (AlO 4 ) 3 : Ce 3+ phosphor and is compared with other garnet phosphors emitting the same light color. Thus, the phosphor was found to have improved temperature quenching.
  • the result shown in FIG. 13 is a phosphor containing at least Ce 3+ as the emission center, and the end component Lu 3 Al 2 (AlO 4 ) 3 and the end component Lu 2 (Ca 0.9 Mg 0.1 ) Mg.
  • the phosphor based on a solid solution with 2 (SiO 4 ) 3 has the following characteristics. That is, the phosphor based on the above solid solution is a phosphor having a longer emission peak wavelength of 560 nm or more than Lu 3 Al 2 (AlO 4 ) 3 : Ce 3+ phosphor and improved temperature quenching. It is suggested that there is.
  • the solid solution of the end component Lu 3 Al 2 (AlO 4 ) 3 and the end component Lu 2 (Ca 0.9 Mg 0.1 ) Mg 2 (SiO 4 ) 3 is specifically (1-x). It is a compound represented by Lu 3 Al 2 (AlO 4 ) 3 .xLu 2 (Ca 0.9 Mg 0.1 ) Mg 2 (SiO 4 ) 3 .
  • the phosphor according to the present invention can provide a novel garnet phosphor having a relatively long emission peak wavelength and improved temperature quenching.
  • a light-emitting device of the present invention that emits output light having a particularly high ratio of yellow to red light-emitting components using a phosphor having a relatively long emission peak wavelength and improved temperature quenching is provided. can do.
  • the light emitting device by using the phosphor according to the present invention, it is possible to obtain various light emitting devices that are particularly excellent in the performance of yellow to orange light components. For this reason, the phosphor and the light emitting device according to the present invention are useful for an illumination light source, a light emitting light source, and an electronic apparatus using these.

Landscapes

  • Chemical & Material Sciences (AREA)
  • Physics & Mathematics (AREA)
  • Inorganic Chemistry (AREA)
  • Organic Chemistry (AREA)
  • Materials Engineering (AREA)
  • Engineering & Computer Science (AREA)
  • Optics & Photonics (AREA)
  • Electromagnetism (AREA)
  • General Physics & Mathematics (AREA)
  • Condensed Matter Physics & Semiconductors (AREA)
  • Luminescent Compositions (AREA)
  • Optical Filters (AREA)
  • Led Device Packages (AREA)
  • Non-Portable Lighting Devices Or Systems Thereof (AREA)
  • Projection Apparatus (AREA)
  • Silicates, Zeolites, And Molecular Sieves (AREA)
  • Semiconductor Lasers (AREA)
PCT/JP2017/008758 2016-03-08 2017-03-06 蛍光体及び発光装置 Ceased WO2017154830A1 (ja)

Priority Applications (4)

Application Number Priority Date Filing Date Title
JP2017548074A JP6273595B1 (ja) 2016-03-08 2017-03-06 蛍光体及び発光装置
CN201780008075.6A CN108603112B (zh) 2016-03-08 2017-03-06 荧光体和发光装置
EP17763170.2A EP3428245B1 (en) 2016-03-08 2017-03-06 Phosphor and luminescence device
US16/072,532 US11050005B2 (en) 2016-03-08 2017-03-06 Phosphor and light emitting device

Applications Claiming Priority (2)

Application Number Priority Date Filing Date Title
JP2016-044532 2016-03-08
JP2016044532 2016-03-08

Publications (1)

Publication Number Publication Date
WO2017154830A1 true WO2017154830A1 (ja) 2017-09-14

Family

ID=59789485

Family Applications (1)

Application Number Title Priority Date Filing Date
PCT/JP2017/008758 Ceased WO2017154830A1 (ja) 2016-03-08 2017-03-06 蛍光体及び発光装置

Country Status (5)

Country Link
US (1) US11050005B2 (enExample)
EP (1) EP3428245B1 (enExample)
JP (2) JP6273595B1 (enExample)
CN (1) CN108603112B (enExample)
WO (1) WO2017154830A1 (enExample)

Cited By (2)

* Cited by examiner, † Cited by third party
Publication number Priority date Publication date Assignee Title
WO2019124046A1 (ja) * 2017-12-18 2019-06-27 パナソニックIpマネジメント株式会社 発光装置
WO2020100728A1 (ja) * 2018-11-15 2020-05-22 パナソニックIpマネジメント株式会社 発光装置

Families Citing this family (3)

* Cited by examiner, † Cited by third party
Publication number Priority date Publication date Assignee Title
CN109642157A (zh) * 2016-08-29 2019-04-16 松下知识产权经营株式会社 荧光体以及发光装置
JP6788872B2 (ja) * 2017-02-27 2020-11-25 パナソニックIpマネジメント株式会社 蛍光体及び発光装置
JP7462242B2 (ja) * 2020-06-19 2024-04-05 パナソニックIpマネジメント株式会社 光照射型美容装置及び電子機器

Citations (4)

* Cited by examiner, † Cited by third party
Publication number Priority date Publication date Assignee Title
JP2007510040A (ja) * 2003-10-29 2007-04-19 ゲルコアー リミテッド ライアビリティ カンパニー スペクトル特性が向上したガーネット蛍光体材料
JP2007112951A (ja) * 2005-10-24 2007-05-10 Fujifilm Corp 無機化合物及びこれを含む組成物と成形体、発光装置、固体レーザ装置
WO2014097527A1 (ja) * 2012-12-20 2014-06-26 パナソニック株式会社 希土類アルミニウムガーネットタイプ無機酸化物、蛍光体及びこれを用いた発光装置
JP2014210684A (ja) * 2013-04-19 2014-11-13 パナソニック株式会社 アルミニウムガーネットタイプ無機酸化物、蛍光体及びこれを用いた発光装置

Family Cites Families (8)

* Cited by examiner, † Cited by third party
Publication number Priority date Publication date Assignee Title
JPS515016B2 (enExample) 1973-05-12 1976-02-17
TW383508B (en) 1996-07-29 2000-03-01 Nichia Kagaku Kogyo Kk Light emitting device and display
DE102008051029A1 (de) 2008-10-13 2010-04-15 Merck Patent Gmbh Dotierte Granat-Leuchtstoffe mit Rotverschiebung für pcLEDs
JP5566785B2 (ja) 2010-06-22 2014-08-06 日東電工株式会社 複合シート
JP2013028667A (ja) * 2011-07-27 2013-02-07 Panasonic Corp イットリウムアルミニウムガーネットタイプの蛍光体とこれを用いた発光装置
CN104250555A (zh) * 2013-06-27 2014-12-31 宁波升谱光电半导体有限公司 黄色荧光粉及其制备方法和使用该荧光粉的发光器件
CN103904195B (zh) * 2014-03-14 2016-11-09 苏州晶品光电科技有限公司 容器式led荧光封装结构
JP2016027077A (ja) * 2014-06-30 2016-02-18 パナソニックIpマネジメント株式会社 表面処理蛍光体の製造方法、この方法で得られた表面処理蛍光体、並びにこれを用いた波長変換部材及び発光装置

Patent Citations (4)

* Cited by examiner, † Cited by third party
Publication number Priority date Publication date Assignee Title
JP2007510040A (ja) * 2003-10-29 2007-04-19 ゲルコアー リミテッド ライアビリティ カンパニー スペクトル特性が向上したガーネット蛍光体材料
JP2007112951A (ja) * 2005-10-24 2007-05-10 Fujifilm Corp 無機化合物及びこれを含む組成物と成形体、発光装置、固体レーザ装置
WO2014097527A1 (ja) * 2012-12-20 2014-06-26 パナソニック株式会社 希土類アルミニウムガーネットタイプ無機酸化物、蛍光体及びこれを用いた発光装置
JP2014210684A (ja) * 2013-04-19 2014-11-13 パナソニック株式会社 アルミニウムガーネットタイプ無機酸化物、蛍光体及びこれを用いた発光装置

Non-Patent Citations (1)

* Cited by examiner, † Cited by third party
Title
See also references of EP3428245A4 *

Cited By (6)

* Cited by examiner, † Cited by third party
Publication number Priority date Publication date Assignee Title
WO2019124046A1 (ja) * 2017-12-18 2019-06-27 パナソニックIpマネジメント株式会社 発光装置
CN111492275A (zh) * 2017-12-18 2020-08-04 松下知识产权经营株式会社 发光装置
JPWO2019124046A1 (ja) * 2017-12-18 2021-01-07 パナソニックIpマネジメント株式会社 発光装置
WO2020100728A1 (ja) * 2018-11-15 2020-05-22 パナソニックIpマネジメント株式会社 発光装置
JPWO2020100728A1 (ja) * 2018-11-15 2021-09-24 パナソニックIpマネジメント株式会社 発光装置
JP7113356B2 (ja) 2018-11-15 2022-08-05 パナソニックIpマネジメント株式会社 発光装置

Also Published As

Publication number Publication date
JP6820536B2 (ja) 2021-01-27
US11050005B2 (en) 2021-06-29
EP3428245B1 (en) 2020-04-29
CN108603112B (zh) 2021-10-22
EP3428245A4 (en) 2019-03-27
US20190035983A1 (en) 2019-01-31
JPWO2017154830A1 (ja) 2018-03-15
CN108603112A (zh) 2018-09-28
JP6273595B1 (ja) 2018-02-07
EP3428245A1 (en) 2019-01-16
JP2018084829A (ja) 2018-05-31

Similar Documents

Publication Publication Date Title
JP6372764B2 (ja) 発光装置
JP5672619B2 (ja) 希土類アルミニウムガーネットタイプ蛍光体およびこれを用いた発光装置
JP6273595B1 (ja) 蛍光体及び発光装置
CN110730762A (zh) 石榴石硅酸盐、石榴石硅酸盐荧光体以及使用了石榴石硅酸盐荧光体的波长转换体和发光装置
WO2014136407A1 (ja) 希土類アルミニウムガーネットタイプ無機酸化物、蛍光体及びこれを用いた発光装置
JP2014210684A (ja) アルミニウムガーネットタイプ無機酸化物、蛍光体及びこれを用いた発光装置
JPWO2015045260A1 (ja) 蛍光体及びこれを用いた発光装置、照明光源、照明装置
WO2015029284A1 (ja) 蛍光体及びこれを用いた発光装置
JP6692053B2 (ja) 蛍光体及び発光装置
JP2021015133A (ja) 光源装置および投影装置
JP6788872B2 (ja) 蛍光体及び発光装置
JP4098354B2 (ja) 白色発光装置
US11394176B2 (en) Light emitting device

Legal Events

Date Code Title Description
ENP Entry into the national phase

Ref document number: 2017548074

Country of ref document: JP

Kind code of ref document: A

NENP Non-entry into the national phase

Ref country code: DE

WWE Wipo information: entry into national phase

Ref document number: 2017763170

Country of ref document: EP

ENP Entry into the national phase

Ref document number: 2017763170

Country of ref document: EP

Effective date: 20181008

121 Ep: the epo has been informed by wipo that ep was designated in this application

Ref document number: 17763170

Country of ref document: EP

Kind code of ref document: A1