WO2017154602A1 - 冷凍サイクル装置 - Google Patents

冷凍サイクル装置 Download PDF

Info

Publication number
WO2017154602A1
WO2017154602A1 PCT/JP2017/006965 JP2017006965W WO2017154602A1 WO 2017154602 A1 WO2017154602 A1 WO 2017154602A1 JP 2017006965 W JP2017006965 W JP 2017006965W WO 2017154602 A1 WO2017154602 A1 WO 2017154602A1
Authority
WO
WIPO (PCT)
Prior art keywords
heat exchanger
pressure side
heat
refrigerant
low
Prior art date
Legal status (The legal status is an assumption and is not a legal conclusion. Google has not performed a legal analysis and makes no representation as to the accuracy of the status listed.)
Ceased
Application number
PCT/JP2017/006965
Other languages
English (en)
French (fr)
Japanese (ja)
Inventor
功嗣 三浦
加藤 吉毅
橋村 信幸
アリエル マラシガン
Current Assignee (The listed assignees may be inaccurate. Google has not performed a legal analysis and makes no representation or warranty as to the accuracy of the list.)
Denso Corp
Original Assignee
Denso Corp
Priority date (The priority date is an assumption and is not a legal conclusion. Google has not performed a legal analysis and makes no representation as to the accuracy of the date listed.)
Filing date
Publication date
Application filed by Denso Corp filed Critical Denso Corp
Priority to US16/082,294 priority Critical patent/US10899195B2/en
Priority to DE112017001220.1T priority patent/DE112017001220T5/de
Priority to CN201780015672.1A priority patent/CN108779942B/zh
Publication of WO2017154602A1 publication Critical patent/WO2017154602A1/ja
Anticipated expiration legal-status Critical
Ceased legal-status Critical Current

Links

Images

Classifications

    • BPERFORMING OPERATIONS; TRANSPORTING
    • B60VEHICLES IN GENERAL
    • B60HARRANGEMENTS OF HEATING, COOLING, VENTILATING OR OTHER AIR-TREATING DEVICES SPECIALLY ADAPTED FOR PASSENGER OR GOODS SPACES OF VEHICLES
    • B60H1/00Heating, cooling or ventilating [HVAC] devices
    • B60H1/00642Control systems or circuits; Control members or indication devices for heating, cooling or ventilating devices
    • B60H1/00814Control systems or circuits characterised by their output, for controlling particular components of the heating, cooling or ventilating installation
    • B60H1/00878Control systems or circuits characterised by their output, for controlling particular components of the heating, cooling or ventilating installation the components being temperature regulating devices
    • B60H1/00899Controlling the flow of liquid in a heat pump system
    • B60H1/00907Controlling the flow of liquid in a heat pump system where the flow direction of the refrigerant changes and an evaporator becomes condenser
    • BPERFORMING OPERATIONS; TRANSPORTING
    • B60VEHICLES IN GENERAL
    • B60HARRANGEMENTS OF HEATING, COOLING, VENTILATING OR OTHER AIR-TREATING DEVICES SPECIALLY ADAPTED FOR PASSENGER OR GOODS SPACES OF VEHICLES
    • B60H1/00Heating, cooling or ventilating [HVAC] devices
    • BPERFORMING OPERATIONS; TRANSPORTING
    • B60VEHICLES IN GENERAL
    • B60HARRANGEMENTS OF HEATING, COOLING, VENTILATING OR OTHER AIR-TREATING DEVICES SPECIALLY ADAPTED FOR PASSENGER OR GOODS SPACES OF VEHICLES
    • B60H1/00Heating, cooling or ventilating [HVAC] devices
    • B60H1/00321Heat exchangers for air-conditioning devices
    • B60H1/00328Heat exchangers for air-conditioning devices of the liquid-air type
    • BPERFORMING OPERATIONS; TRANSPORTING
    • B60VEHICLES IN GENERAL
    • B60HARRANGEMENTS OF HEATING, COOLING, VENTILATING OR OTHER AIR-TREATING DEVICES SPECIALLY ADAPTED FOR PASSENGER OR GOODS SPACES OF VEHICLES
    • B60H1/00Heating, cooling or ventilating [HVAC] devices
    • B60H1/00321Heat exchangers for air-conditioning devices
    • B60H1/00342Heat exchangers for air-conditioning devices of the liquid-liquid type
    • BPERFORMING OPERATIONS; TRANSPORTING
    • B60VEHICLES IN GENERAL
    • B60HARRANGEMENTS OF HEATING, COOLING, VENTILATING OR OTHER AIR-TREATING DEVICES SPECIALLY ADAPTED FOR PASSENGER OR GOODS SPACES OF VEHICLES
    • B60H1/00Heating, cooling or ventilating [HVAC] devices
    • B60H1/00507Details, e.g. mounting arrangements, desaeration devices
    • B60H1/00557Details of ducts or cables
    • BPERFORMING OPERATIONS; TRANSPORTING
    • B60VEHICLES IN GENERAL
    • B60HARRANGEMENTS OF HEATING, COOLING, VENTILATING OR OTHER AIR-TREATING DEVICES SPECIALLY ADAPTED FOR PASSENGER OR GOODS SPACES OF VEHICLES
    • B60H1/00Heating, cooling or ventilating [HVAC] devices
    • B60H1/22Heating, cooling or ventilating [HVAC] devices the heat being derived otherwise than from the propulsion plant
    • BPERFORMING OPERATIONS; TRANSPORTING
    • B60VEHICLES IN GENERAL
    • B60HARRANGEMENTS OF HEATING, COOLING, VENTILATING OR OTHER AIR-TREATING DEVICES SPECIALLY ADAPTED FOR PASSENGER OR GOODS SPACES OF VEHICLES
    • B60H1/00Heating, cooling or ventilating [HVAC] devices
    • B60H1/32Cooling devices
    • BPERFORMING OPERATIONS; TRANSPORTING
    • B60VEHICLES IN GENERAL
    • B60HARRANGEMENTS OF HEATING, COOLING, VENTILATING OR OTHER AIR-TREATING DEVICES SPECIALLY ADAPTED FOR PASSENGER OR GOODS SPACES OF VEHICLES
    • B60H1/00Heating, cooling or ventilating [HVAC] devices
    • B60H1/32Cooling devices
    • B60H1/3204Cooling devices using compression
    • B60H1/3205Control means therefor
    • B60H1/3213Control means therefor for increasing the efficiency in a vehicle heat pump
    • BPERFORMING OPERATIONS; TRANSPORTING
    • B60VEHICLES IN GENERAL
    • B60HARRANGEMENTS OF HEATING, COOLING, VENTILATING OR OTHER AIR-TREATING DEVICES SPECIALLY ADAPTED FOR PASSENGER OR GOODS SPACES OF VEHICLES
    • B60H1/00Heating, cooling or ventilating [HVAC] devices
    • B60H1/32Cooling devices
    • B60H1/3204Cooling devices using compression
    • B60H1/3228Cooling devices using compression characterised by refrigerant circuit configurations
    • B60H1/32284Cooling devices using compression characterised by refrigerant circuit configurations comprising two or more secondary circuits, e.g. at evaporator and condenser side
    • FMECHANICAL ENGINEERING; LIGHTING; HEATING; WEAPONS; BLASTING
    • F01MACHINES OR ENGINES IN GENERAL; ENGINE PLANTS IN GENERAL; STEAM ENGINES
    • F01PCOOLING OF MACHINES OR ENGINES IN GENERAL; COOLING OF INTERNAL-COMBUSTION ENGINES
    • F01P3/00Liquid cooling
    • F01P3/20Cooling circuits not specific to a single part of engine or machine
    • FMECHANICAL ENGINEERING; LIGHTING; HEATING; WEAPONS; BLASTING
    • F25REFRIGERATION OR COOLING; COMBINED HEATING AND REFRIGERATION SYSTEMS; HEAT PUMP SYSTEMS; MANUFACTURE OR STORAGE OF ICE; LIQUEFACTION SOLIDIFICATION OF GASES
    • F25BREFRIGERATION MACHINES, PLANTS OR SYSTEMS; COMBINED HEATING AND REFRIGERATION SYSTEMS; HEAT PUMP SYSTEMS
    • F25B1/00Compression machines, plants or systems with non-reversible cycle
    • FMECHANICAL ENGINEERING; LIGHTING; HEATING; WEAPONS; BLASTING
    • F25REFRIGERATION OR COOLING; COMBINED HEATING AND REFRIGERATION SYSTEMS; HEAT PUMP SYSTEMS; MANUFACTURE OR STORAGE OF ICE; LIQUEFACTION SOLIDIFICATION OF GASES
    • F25BREFRIGERATION MACHINES, PLANTS OR SYSTEMS; COMBINED HEATING AND REFRIGERATION SYSTEMS; HEAT PUMP SYSTEMS
    • F25B29/00Combined heating and refrigeration systems, e.g. operating alternately or simultaneously
    • FMECHANICAL ENGINEERING; LIGHTING; HEATING; WEAPONS; BLASTING
    • F25REFRIGERATION OR COOLING; COMBINED HEATING AND REFRIGERATION SYSTEMS; HEAT PUMP SYSTEMS; MANUFACTURE OR STORAGE OF ICE; LIQUEFACTION SOLIDIFICATION OF GASES
    • F25BREFRIGERATION MACHINES, PLANTS OR SYSTEMS; COMBINED HEATING AND REFRIGERATION SYSTEMS; HEAT PUMP SYSTEMS
    • F25B5/00Compression machines, plants or systems, with several evaporator circuits, e.g. for varying refrigerating capacity
    • F25B5/04Compression machines, plants or systems, with several evaporator circuits, e.g. for varying refrigerating capacity arranged in series
    • BPERFORMING OPERATIONS; TRANSPORTING
    • B60VEHICLES IN GENERAL
    • B60HARRANGEMENTS OF HEATING, COOLING, VENTILATING OR OTHER AIR-TREATING DEVICES SPECIALLY ADAPTED FOR PASSENGER OR GOODS SPACES OF VEHICLES
    • B60H1/00Heating, cooling or ventilating [HVAC] devices
    • B60H1/32Cooling devices
    • B60H2001/3236Cooling devices information from a variable is obtained
    • B60H2001/3267Cooling devices information from a variable is obtained related to the operation of an expansion valve
    • GPHYSICS
    • G06COMPUTING OR CALCULATING; COUNTING
    • G06FELECTRIC DIGITAL DATA PROCESSING
    • G06F9/00Arrangements for program control, e.g. control units
    • G06F9/06Arrangements for program control, e.g. control units using stored programs, i.e. using an internal store of processing equipment to receive or retain programs
    • G06F9/46Multiprogramming arrangements
    • G06F9/48Program initiating; Program switching, e.g. by interrupt
    • G06F9/4806Task transfer initiation or dispatching
    • G06F9/4843Task transfer initiation or dispatching by program, e.g. task dispatcher, supervisor, operating system
    • G06F9/4881Scheduling strategies for dispatcher, e.g. round robin, multi-level priority queues
    • G06F9/4893Scheduling strategies for dispatcher, e.g. round robin, multi-level priority queues taking into account power or heat criteria

Definitions

  • This application relates to a refrigeration cycle apparatus including an outdoor heat exchanger.
  • Patent Document 1 describes a heat pump system including an engine cooling system, an air conditioner, and a heat exchanger.
  • the engine cooling system is configured to be able to cool the engine by circulating the cooling water in the cooling water passage.
  • the engine can be warmed up quickly by circulating the cooling water.
  • the air conditioner is configured to perform a heating operation or a cooling operation by circulating the refrigerant in the refrigerant passage.
  • a compressor, a heat exchanger, an expansion valve, an outdoor unit, an expansion valve, and an evaporator are provided in the refrigerant passage.
  • the heat exchanger is a heat exchanger for exchanging heat between the engine cooling system and the air conditioner.
  • the high-temperature and high-pressure refrigerant compressed by the compressor dissipates heat to the cooling water of the engine cooling system by heat exchange in the heat exchanger. Heat of the heated cooling water is dissipated by the heater core to heat the vehicle interior. Further, the refrigerant is once cooled by the decompression expansion at the expansion valve and reaches the outdoor unit.
  • the outdoor unit functions as a heat absorber that absorbs heat from a low-temperature refrigerant during heating operation.
  • the high-temperature and high-pressure refrigerant compressed by the compressor reaches the outdoor unit.
  • the outdoor unit functions as a radiator that radiates a high-temperature refrigerant during cooling operation.
  • the refrigerant cooled by the outdoor unit is further cooled by the expansion valve. Then, heat is exchanged between the refrigerant and the air blown into the passenger compartment in the evaporator, thereby cooling the air into the passenger compartment.
  • the present application aims to achieve both cooling of the air blown into the blowing target space and warming up of the temperature control target device.
  • a refrigeration cycle apparatus includes: A high-pressure heat exchanger that dissipates the high-pressure refrigerant, A low-pressure side heat exchanger that absorbs heat directly or indirectly from the air blown into the blowing target space into the low-pressure side refrigerant; A temperature controlled device whose temperature is adjusted by the heat of the high-pressure side refrigerant, An outdoor heat exchanger for exchanging heat between the high-pressure side refrigerant or the low-pressure side refrigerant and the outside air; A switching unit that switches between a heat radiation mode in which the high-pressure side refrigerant radiates heat to the outside air in the outdoor heat exchanger and a heat absorption mode in which the low-pressure side refrigerant absorbs heat from the outside air in the outdoor heat exchanger; A cooling request operation unit operated by an occupant to request cooling of the air blown into the blow target space using a low-pressure side heat exchanger; When the cooling request operation unit is operated so as to require cooling of the air blown into the air blow
  • the low pressure of the refrigeration cycle in both the outdoor heat exchanger) and the low pressure side heat exchanger can absorb heat.
  • the refrigeration cycle apparatus shown in FIG. 1 is a refrigeration cycle apparatus for a vehicle that is used to adjust in-vehicle equipment and a vehicle interior space (in other words, a space to be blown) to an appropriate temperature.
  • the refrigeration cycle apparatus is applied to a hybrid vehicle that obtains driving force for vehicle travel from an engine (in other words, an internal combustion engine) and a travel electric motor.
  • the hybrid vehicle of the present embodiment is configured as a plug-in hybrid vehicle capable of charging power supplied from an external power source (in other words, commercial power source) when the vehicle is stopped to a battery (in other words, an in-vehicle battery) mounted on the vehicle.
  • a battery in other words, an in-vehicle battery mounted on the vehicle.
  • the battery for example, a lithium ion battery can be used.
  • the driving force output from the engine is used not only for driving the vehicle but also for operating the generator.
  • the electric power generated by the generator and the electric power supplied from the external power source can be stored in the battery, and the electric power stored in the battery constitutes the refrigeration cycle apparatus as well as the electric motor for traveling. Supplied to various in-vehicle devices including electric components.
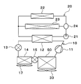
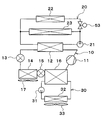
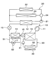
  • the refrigeration cycle 10 is a vapor compression refrigerator that includes a compressor 11, a high-pressure side heat exchanger 12, a first expansion valve 13, an outdoor heat exchanger 14, a second expansion valve 15, and a low-pressure side heat exchanger 16.
  • a chlorofluorocarbon refrigerant is used as the refrigerant, and a subcritical refrigeration cycle in which the high-pressure side refrigerant pressure does not exceed the critical pressure of the refrigerant is configured.
  • the compressor 11 is an electric compressor driven by electric power supplied from a battery or a belt-driven compressor driven by a belt, and sucks, compresses and discharges the refrigerant of the refrigeration cycle 10.
  • the high-pressure side heat exchanger 12 is a condenser that condenses the high-pressure side refrigerant by exchanging heat between the high-pressure side refrigerant discharged from the compressor 11 and the cooling water of the high-temperature cooling water circuit 20.
  • the cooling water of the high-temperature cooling water circuit 20 is a fluid as a heat medium.
  • the cooling water of the high temperature cooling water circuit 20 is a high temperature heat medium.
  • the high temperature coolant circuit 20 is a heat medium circuit in which a high temperature heat medium circulates.
  • a liquid containing at least ethylene glycol, dimethylpolysiloxane or nanofluid, or an antifreeze liquid is used as the cooling water of the high-temperature cooling water circuit 20.
  • the 1st expansion valve 13 is the 1st decompression part which decompresses and expands the liquid phase refrigerant which flowed out from high pressure side heat exchanger 12.
  • the first expansion valve 13 is an electric variable throttle mechanism, and includes a valve body and an electric actuator.
  • the valve body is configured to be able to change the passage opening (in other words, the throttle opening) of the refrigerant passage.
  • the electric actuator has a stepping motor that changes the throttle opening of the valve body.
  • the first expansion valve 13 is composed of a variable throttle mechanism with a fully open function that fully opens the refrigerant passage when the throttle opening is fully opened. That is, the first expansion valve 13 can prevent the refrigerant from depressurizing by fully opening the refrigerant passage.
  • the operation of the first expansion valve 13 is controlled by a control signal output from the control device 40 shown in FIG.
  • the outdoor heat exchanger 14 is a refrigerant outdoor air heat exchanger that exchanges heat between the refrigerant flowing out of the first expansion valve 13 and the outside air. Outside air is blown to the outdoor heat exchanger 14 by an outdoor blower 17.
  • the outdoor blower 17 is a blower that blows outside air toward the outdoor heat exchanger 14.
  • the outdoor blower 17 is an electric blower that drives a fan with an electric motor.
  • the outdoor blower 17 is a wind speed adjusting unit that adjusts the wind speed of the outside air flowing into the outdoor heat exchanger 14.
  • the outdoor heat exchanger 14 and the outdoor blower 17 are disposed at the forefront of the vehicle. Accordingly, the traveling wind can be applied to the outdoor heat exchanger 14 when the vehicle is traveling.
  • the outdoor heat exchanger 14 When the temperature of the refrigerant flowing through the outdoor heat exchanger 14 is lower than the temperature of the outside air, the outdoor heat exchanger 14 functions as a heat absorber that causes the refrigerant to absorb the heat of the outside air. When the temperature of the refrigerant flowing through the outdoor heat exchanger 14 is higher than the temperature of the outside air, the outdoor heat exchanger 14 functions as a radiator that radiates the heat of the refrigerant to the outside air.
  • the second expansion valve 15 is a second decompression unit that decompresses and expands the liquid-phase refrigerant that has flowed out of the outdoor heat exchanger 14.
  • the second expansion valve 15 is an electric variable throttle mechanism, and includes a valve body and an electric actuator.
  • the valve body is configured to be able to change the passage opening (in other words, the throttle opening) of the refrigerant passage.
  • the electric actuator has a stepping motor that changes the throttle opening of the valve body.
  • the second expansion valve 15 is composed of a variable throttle mechanism with a fully open function that fully opens the refrigerant passage when the throttle opening is fully opened. That is, the second expansion valve 15 can prevent the refrigerant from depressurizing by fully opening the refrigerant passage.
  • the operation of the second expansion valve 15 is controlled by a control signal output from the control device 40 shown in FIG.
  • the heat absorption mode and the heat radiation mode are switched by changing the throttle opening of the first expansion valve 13 and the second expansion valve 15.
  • the heat absorption mode is an operation mode in which the outdoor heat exchanger 14 absorbs heat from the outside air to the refrigerant.
  • the heat dissipation mode is an operation mode in which the outdoor heat exchanger 14 radiates heat from the refrigerant to the outside air.
  • the low-pressure side heat exchanger 16 is an evaporator that evaporates the low-pressure refrigerant by exchanging heat between the low-pressure refrigerant flowing out of the second expansion valve 15 and the cooling water of the low-temperature cooling water circuit 30.
  • the gas-phase refrigerant evaporated in the low-pressure side heat exchanger 16 is sucked into the compressor 11 and compressed.
  • the cooling water in the low-temperature cooling water circuit 30 is a fluid as a heat medium.
  • the cooling water of the low-temperature cooling water circuit 30 is a low-temperature heat medium.
  • the low-temperature cooling water circuit 30 is a heat medium circuit in which a low-temperature heat medium circulates.
  • a liquid containing at least ethylene glycol, dimethylpolysiloxane or nanofluid, or an antifreeze liquid is used as the cooling water of the low-temperature cooling water circuit 30, a liquid containing at least ethylene glycol, dimethylpolysiloxane or nanofluid, or an antifreeze liquid is used as the cooling water of the low-temperature cooling water circuit 30, a liquid containing at least ethylene glycol, dimethylpolysiloxane or nanofluid, or an antifreeze liquid is used as the cooling water of the low-temperature cooling water circuit 30, a liquid containing at least ethylene glycol, dimethylpolysiloxane or nanofluid,
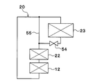
  • a high-pressure side heat exchanger 12 In the high-temperature cooling water circuit 20, a high-pressure side heat exchanger 12, a high-temperature side pump 21, a heater core 22, an engine 23, and a flow rate adjusting valve 24 are arranged.
  • the high temperature side pump 21 is a heat medium pump that sucks and discharges cooling water.
  • the high temperature side pump 21 is an electric pump.
  • the high temperature side pump 21 is a flow rate adjusting unit that adjusts the flow rate of the cooling water circulating in the high temperature cooling water circuit 20.
  • the heater core 22 heat-exchanges the cooling water of the high-temperature cooling water circuit 20 and the air blown into the vehicle interior (in other words, the air blow target space) to heat the air blown into the vehicle interior. It is.
  • the cooling water radiates heat to the air blown into the vehicle interior due to a change in sensible heat. That is, in the heater core 22, even if the cooling water dissipates heat to the air blown into the passenger compartment, the cooling water remains in a liquid phase and does not change phase.
  • the engine 23 is a temperature control target device whose temperature is adjusted by the cooling water of the high-temperature cooling water circuit 20.
  • the heater core 22 and the engine 23 are arranged in parallel with each other in the flow of the cooling water.
  • the flow rate adjustment valve 24 is a flow rate ratio adjusting unit that adjusts the flow rate ratio between the cooling water flowing through the heater core 22 and the cooling water flowing through the engine 23.
  • the flow rate adjusting valve 24 is a supply rate adjusting unit that adjusts the rate of supply of heat of the high-pressure side refrigerant of the refrigeration cycle 10 by adjusting the flow rate rate of the cooling water with respect to the engine 23 and the heater core 22.
  • the high temperature side pump 21 and the flow rate adjustment valve 24 are high pressure side flow rate adjustment units that adjust the flow rate of the cooling water flowing through the high pressure side heat exchanger 12.
  • the high temperature side pump 21 and the flow rate adjustment valve 24 are temperature control flow rate adjustment units that adjust the flow rate of the cooling water flowing through the engine 23.
  • the high temperature side pump 21 and the flow rate adjusting valve 24 are heat exchange amount adjusting units that adjust the heat exchange amount in the heater core 22 by adjusting the flow rate of the cooling water flowing through the heater core 22.
  • the low temperature side pump 31 is a heat medium pump that sucks and discharges cooling water.
  • the low temperature side pump 31 is an electric pump.
  • the low temperature side pump 31 is a low temperature side flow rate adjusting unit that adjusts the flow rate of the cooling water circulating in the low temperature cooling water circuit 30.
  • the cooler core 32 is a low-temperature heat medium heat exchanger that cools the air blown into the vehicle interior by exchanging heat between the cooling water of the low-temperature coolant circuit 30 and the air blown into the vehicle interior. Therefore, the low-pressure side heat exchanger 16 causes the low-pressure side refrigerant of the refrigeration cycle 10 to indirectly absorb heat from the air blown into the vehicle interior.
  • the cooling water absorbs heat from the air blown into the vehicle interior due to the sensible heat change. That is, in the cooler core 32, even if the cooling water absorbs heat from the air blown into the passenger compartment, the cooling water remains in a liquid phase and does not change phase.
  • the cooler core 32 and the heater core 22 are accommodated in an air conditioning casing (not shown).
  • the air conditioning casing is an air passage forming member that forms an air passage.
  • the air-conditioning casing is disposed inside an instrument panel (not shown) located in the foremost part of the vehicle interior.
  • the heater core 22 is disposed downstream of the cooler core 32 in the air passage in the air conditioning casing.
  • an inside / outside air switching box and an indoor blower 33 are arranged in the air conditioning casing.
  • the inside / outside air switching box is an inside / outside air switching unit that switches between introduction of inside air and outside air into an air passage in the air conditioning casing.
  • the indoor blower 33 sucks and blows in the inside air and outside air introduced into the air passage in the air conditioning casing by the inside / outside air switching box.
  • An air mix door (not shown) is arranged between the cooler core 32 and the heater core 22 in the air passage in the air conditioning casing.
  • the air mix door is an air volume ratio adjusting unit that adjusts an air volume ratio between cold air flowing into the heater core 22 out of the cold air passing through the cooler core 32 and cold air flowing bypassing the heater core 22.
  • the operation of the air mix door is controlled by the control device 40.
  • the air-conditioning casing has an air outlet (not shown).
  • the conditioned air adjusted to a desired temperature by the air mix door is blown out into the passenger compartment through the blowout port.
  • the control device 40 is composed of a well-known microcomputer including a CPU, a ROM, a RAM and the like and its peripheral circuits.
  • the control device 40 performs various calculations and processes based on a control program stored in the ROM.
  • Various devices to be controlled are connected to the output side of the control device 40.
  • the control device 40 is a control unit that controls operations of various devices to be controlled.
  • the control target devices controlled by the control device 40 are the compressor 11, the first expansion valve 13, the second expansion valve 15, the outdoor blower 17, the high temperature side pump 21, the low temperature side pump 31, the indoor blower 33, and the like.
  • Software and hardware for controlling the electric motor of the compressor 11 in the control device 40 are a refrigerant discharge capacity control unit that controls the refrigerant discharge capacity of the compressor 11.
  • Software and hardware for controlling the first expansion valve 13 in the control device 40 is a first throttle control unit that controls the throttle opening of the first expansion valve 13.
  • Software and hardware for controlling the second expansion valve 15 in the control device 40 is a second throttle control unit that controls the throttle opening of the second expansion valve 15.
  • Software and hardware for controlling the outdoor blower 17 in the control device 40 are an outside air blowing capacity control unit that controls the outside blowing capacity of the outdoor blower 17.
  • Software and hardware for controlling the high temperature side pump 21 in the control device 40 are a high temperature side heat medium flow control unit for controlling the flow rate of the high temperature side heat medium.
  • Software and hardware for controlling the low temperature side pump 31 in the control device 40 is a low temperature side heat medium flow control unit for controlling the flow rate of the low temperature side heat medium.
  • Software and hardware for controlling the indoor blower 33 in the control device 40 is an indoor blower control unit.
  • control device 40 On the input side of the control device 40, various air conditioning such as an inside air temperature sensor 41, an outside air temperature sensor 42, a solar radiation amount sensor 43, an outdoor heat exchanger temperature sensor 44, a low pressure side heat exchanger temperature sensor 45, an engine temperature sensor 46, and the like.
  • a sensor group for control is connected.
  • the inside air temperature sensor 41 is an inside air temperature detecting unit that detects the inside air temperature Tr (that is, the vehicle interior temperature).
  • the outside air temperature sensor 42 is an outside air temperature detector that detects the outside air temperature Tam.
  • the solar radiation amount sensor 43 is a solar radiation amount detector that detects the solar radiation amount Ts in the vehicle interior.
  • the outdoor heat exchanger temperature sensor 44 is an outdoor heat exchanger temperature detection unit that detects the temperature of the outdoor heat exchanger 14. For example, the outdoor heat exchanger temperature sensor 44 detects the temperature of the refrigerant flowing into the outdoor heat exchanger 14.
  • the low-pressure side heat exchanger temperature sensor 45 detects the temperature of the cooling water flowing out from the low-pressure side heat exchanger 16.
  • the engine temperature sensor 46 is an engine temperature detection unit that detects the temperature of the engine 23. For example, the engine temperature sensor 46 detects the temperature of the refrigerant flowing into the engine 23.
  • An operation panel 48 is connected to the input side of the control device 40.
  • the operation panel 48 is disposed in the vicinity of the instrument panel in the front part of the vehicle interior and is operated by a passenger.
  • Various operation switches are provided on the operation panel 48. Operation signals from various operation switches are input to the control device 40.
  • the various operation switches of the operation panel 48 are an air conditioner switch 48a, a temperature setting switch, and the like.
  • the air conditioner switch 48a sets the operation / stop of the air conditioning (that is, the operation / stop of the compressor 11).
  • the air conditioner switch 48a is a cooling request operation unit for requesting that the air blown into the vehicle interior is cooled using the low-pressure side heat exchanger 16.
  • the temperature setting switch is a temperature setting operation unit for setting the set temperature in the passenger compartment.
  • the control device 40 determines the operation mode of the refrigeration cycle device for a vehicle when the compressor 11 is operating due to the air conditioner switch 48a of the operation panel 48 being turned on.
  • the control device 40 determines the operation mode of the vehicular refrigeration cycle apparatus based on whether or not the engine 23 needs to be warmed up, the target blowing temperature TAO, and the like.
  • Whether the engine 23 needs to be warmed up is determined based on the temperature detected by the engine temperature sensor 46, that is, the temperature of the engine 23. For example, when the temperature of the engine 23 is lower than a predetermined temperature, it is determined that the engine 23 needs to be warmed up.
  • the target air temperature TAO is the target temperature of the air that is blown out into the passenger compartment.
  • the control device 40 calculates the target blowing temperature TAO based on the following mathematical formula.
  • TAO Kset ⁇ Tset ⁇ Kr ⁇ Tr ⁇ Kam ⁇ Tam ⁇ Ks ⁇ Ts + C
  • Tset is the vehicle interior set temperature set by the temperature setting switch of the operation panel 48
  • Tr is the inside air temperature detected by the inside air temperature sensor 41
  • Tam is the outside air temperature detected by the outside air temperature sensor 42
  • Ts is This is the amount of solar radiation detected by the solar radiation amount sensor 43.
  • Kset, Kr, Kam, Ks are control gains
  • C is a correction constant.
  • the control device 40 does not need to warm up the engine 23, and executes the cooling mode when the target blowing temperature TAO is lower than the inside air temperature Tr.
  • the cooling mode is a heat release mode in which the high-pressure side refrigerant of the refrigeration cycle 10 radiates heat to the outside air in the outdoor heat exchanger 14.
  • the control device 40 sets the first expansion valve 13 to a fully open state and the second expansion valve 15 to a throttle state. In the cooling mode, the control device 40 stops the high temperature side pump 21 and drives the low temperature side pump 31.
  • the control device 40 determines the degree of supercooling of the refrigerant flowing into the compressor 11 so that the degree of supercooling of the refrigerant flowing into the second expansion valve 15 approaches a predetermined target supercooling degree or the degree of superheating of the refrigerant flowing into the compressor 11 is predetermined.
  • the throttle opening degree of the second expansion valve 15 is determined so as to approach the target superheat degree.
  • the target supercooling degree and the target superheat degree are determined such that the coefficient of performance (so-called COP) of the cycle approaches the maximum value.
  • the high-pressure refrigerant discharged from the compressor 11 flows into the high-pressure side heat exchanger 12.
  • the cooling water of the high temperature cooling water circuit 20 does not circulate in the high pressure side heat exchanger 12. Therefore, the refrigerant that has flowed into the high-pressure side heat exchanger 12 flows out of the high-pressure side heat exchanger 12 with little heat exchange with the cooling water in the high-temperature cooling water circuit 20.
  • the refrigerant that has flowed out of the high-pressure side heat exchanger 12 flows into the first expansion valve 13. At this time, since the first expansion valve 13 fully opens the refrigerant passage, the refrigerant flowing out from the high pressure side heat exchanger 12 flows into the outdoor heat exchanger 14 without being depressurized by the first expansion valve 13. To do.
  • the refrigerant flowing into the outdoor heat exchanger 14 radiates heat to the outside air blown by the outdoor blower 17 in the outdoor heat exchanger 14.
  • the refrigerant that has flowed out of the outdoor heat exchanger 14 flows into the second expansion valve 15 and is decompressed and expanded at the second expansion valve 15 until it becomes a low-pressure refrigerant.
  • the low-pressure refrigerant decompressed by the second expansion valve 15 flows into the low-pressure side heat exchanger 16, absorbs heat from the cooling water in the low-temperature cooling water circuit 30, and evaporates. Thereby, since the cooling water of the low-temperature cooling water circuit 30 is cooled, the air blown by the indoor blower 33 in the cooler core 32 is cooled.
  • the refrigerant flowing out from the low-pressure side heat exchanger 16 flows to the suction side of the compressor 11 and is compressed again by the compressor 11.
  • the air cooled by the cooler core 32 can be blown out into the passenger compartment. Thereby, cooling of a vehicle interior is realizable.
  • the control device 40 does not need to warm up the engine 23, and executes the heating mode when the target blowing temperature TAO is higher than the inside air temperature Tr.
  • the heating mode is an endothermic mode in which the low-pressure side refrigerant of the refrigeration cycle 10 absorbs heat from outside air in the outdoor heat exchanger 14.
  • the control device 40 brings the first expansion valve 13 into a throttled state and the second expansion valve 15 into a fully open state. In the heating mode, the control device 40 drives the high temperature side pump 21 and stops the low temperature side pump 31.
  • the control device 40 has a predetermined degree of superheat of the refrigerant flowing into the compressor 11 so that the degree of supercooling of the refrigerant flowing into the first expansion valve 13 approaches a predetermined target subcooling degree.
  • the throttle opening degree of the first expansion valve 13 is determined so as to approach the target degree of superheat.
  • the control device 40 determines the operating state of the air mix door so that the air mix door fully opens the air passage of the heater core 22 and the entire flow rate of the blown air that has passed through the cooler core 32 passes through the air passage of the heater core 22.
  • the high-pressure refrigerant discharged from the compressor 11 flows into the high-pressure side heat exchanger 12, exchanges heat with the cooling water in the high-temperature cooling water circuit 20, and dissipates heat. Thereby, the cooling water of the high temperature cooling water circuit 20 is heated.
  • the refrigerant that has flowed out of the high-pressure side heat exchanger 12 flows into the first expansion valve 13 and is decompressed until it becomes a low-pressure refrigerant.
  • the low-pressure refrigerant decompressed by the first expansion valve 13 flows into the outdoor heat exchanger 14, absorbs heat from the outside air blown by the outdoor blower 17, and evaporates.
  • the refrigerant that has flowed out of the outdoor heat exchanger 14 flows into the second expansion valve 15. At this time, since the second expansion valve 15 is fully opened, the refrigerant flowing out of the outdoor heat exchanger 14 flows into the low-pressure side heat exchanger 16 without being depressurized by the second expansion valve 15.
  • the cooling water of the low temperature cooling water circuit 30 does not circulate in the low pressure side heat exchanger 16. Therefore, the low-pressure refrigerant flowing into the low-pressure side heat exchanger 16 hardly absorbs heat from the cooling water in the low-temperature cooling water circuit 30. Then, the refrigerant flowing out from the low-pressure side heat exchanger 16 flows to the suction side of the compressor 11 and is compressed again by the compressor 11.
  • the heat of the high-pressure refrigerant discharged from the compressor 11 by the high-pressure side heat exchanger 12 is radiated to the cooling water of the high-temperature cooling water circuit 20, and the high-temperature cooling water circuit 20 is heated by the heater core 22.
  • the heat of the cooling water can be dissipated to the air blown into the vehicle interior, and the heated air can be blown out into the vehicle interior. Thereby, heating of a vehicle interior is realizable.
  • the control device 40 executes the cooling warm-up mode when the engine 23 needs to be warmed up and the target blowing temperature TAO is lower than the inside air temperature Tr.
  • the cooling warm-up mode is an endothermic mode in which the low-pressure side refrigerant of the refrigeration cycle 10 absorbs heat from outside air in the outdoor heat exchanger 14.
  • the control device 40 In the cooling / warming-up mode, the control device 40 causes the first expansion valve 13 to be in the throttle state and causes the second expansion valve 15 to be in the fully open state. In the cooling warm-up mode, the control device 40 drives the high temperature side pump 21 and the low temperature side pump 31.
  • the control device 40 determines the throttle opening degree of the first expansion valve 13 so that the supercooling degree of the refrigerant flowing into the first expansion valve 13 approaches a predetermined target supercooling degree.
  • the control device 40 determines the operating state of the flow rate adjustment valve 24 so that the cooling water flows through the engine 23.
  • the high-pressure refrigerant discharged from the compressor 11 flows into the high-pressure side heat exchanger 12, exchanges heat with the cooling water in the high-temperature cooling water circuit 20, and dissipates heat. Thereby, the cooling water of the high temperature cooling water circuit 20 is heated.
  • the refrigerant that has flowed out of the high-pressure side heat exchanger 12 flows into the first expansion valve 13 and is decompressed until it becomes a low-pressure refrigerant.
  • the low-pressure refrigerant decompressed by the first expansion valve 13 flows into the outdoor heat exchanger 14, absorbs heat from the outside air blown by the outdoor blower 17, and evaporates.
  • the refrigerant that has flowed out of the outdoor heat exchanger 14 flows into the second expansion valve 15.
  • the refrigerant flowing out of the outdoor heat exchanger 14 flows into the low-pressure side heat exchanger 16 without being depressurized by the second expansion valve 15, It absorbs heat from the cooling water of the cooling water circuit 30 and evaporates.
  • the refrigerant absorbs heat in both the outdoor heat exchanger 14 and the low-pressure heat exchanger 16 and evaporates.
  • the air cooled by the cooler core 32 can be blown out into the passenger compartment. Thereby, cooling of a vehicle interior is realizable.
  • the heat of the high-pressure refrigerant discharged from the compressor 11 by the high-pressure side heat exchanger 12 is radiated to the cooling water of the high-temperature cooling water circuit 20, and the cooling water of the high-temperature cooling water circuit 20 is discharged.
  • the control device 40 executes the heating warm-up mode when it is necessary to warm up the engine 23 and the target blowing temperature TAO is higher than the inside air temperature Tr.
  • the heating warm-up mode is an endothermic mode in which the low-pressure side refrigerant of the refrigeration cycle 10 absorbs heat from the outside air in the outdoor heat exchanger 14.
  • the control device 40 In the heating / warming-up mode, the control device 40 causes the first expansion valve 13 to be in a throttled state and causes the second expansion valve 15 to be in a fully open state. In the heating mode, the control device 40 drives the high temperature side pump 21 and stops the low temperature side pump 31.
  • the control device 40 determines the throttle opening degree of the first expansion valve 13 so that the supercooling degree of the refrigerant flowing into the first expansion valve 13 approaches a predetermined target supercooling degree.
  • the control device 40 determines the operating state of the flow rate adjustment valve 24 so that the cooling water flows through the heater core 22 and the engine 23.
  • the control device 40 determines the operating state of the air mix door so that the air mix door fully opens the air passage of the heater core 22 and the entire flow rate of the blown air that has passed through the cooler core 32 passes through the air passage of the heater core 22.
  • the high-pressure refrigerant discharged from the compressor 11 flows into the high-pressure side heat exchanger 12, exchanges heat with the cooling water in the high-temperature cooling water circuit 20, and dissipates heat. Thereby, the cooling water of the high temperature cooling water circuit 20 is heated.
  • the refrigerant that has flowed out of the high-pressure side heat exchanger 12 flows into the first expansion valve 13 and is decompressed until it becomes a low-pressure refrigerant.
  • the low-pressure refrigerant decompressed by the first expansion valve 13 flows into the outdoor heat exchanger 14, absorbs heat from the outside air blown by the outdoor blower 17, and evaporates.
  • the refrigerant that has flowed out of the outdoor heat exchanger 14 flows into the second expansion valve 15. At this time, since the second expansion valve 15 is fully opened, the refrigerant flowing out of the outdoor heat exchanger 14 flows into the low-pressure side heat exchanger 16 without being depressurized by the second expansion valve 15.
  • the cooling water of the low temperature cooling water circuit 30 does not circulate in the low pressure side heat exchanger 16. Therefore, the low-pressure refrigerant flowing into the low-pressure side heat exchanger 16 hardly absorbs heat from the cooling water in the low-temperature cooling water circuit 30. Then, the refrigerant flowing out from the low-pressure side heat exchanger 16 flows to the suction side of the compressor 11 and is compressed again by the compressor 11.
  • the heat of the high-pressure refrigerant discharged from the compressor 11 by the high-pressure side heat exchanger 12 is dissipated to the cooling water of the high-temperature cooling water circuit 20, and the high-temperature cooling water is obtained by the heater core 22.
  • the heat of the cooling water of the circuit 20 can be dissipated to the air blown into the vehicle interior, and the heated air can be blown out into the vehicle interior. Thereby, heating of a vehicle interior is realizable.
  • the heat of the cooling water in the high-temperature cooling water circuit 20 can be radiated to the engine 23. Thereby, warming-up of the engine 23 is realizable.
  • the pressure of the outdoor heat exchanger 14 is increased by reducing the throttle opening (in other words, the passage area) of the second expansion valve 15, and the temperature with the outside air Since the difference is reduced, the heat absorption amount of the outdoor heat exchanger 14 is reduced.
  • the pressure of the outdoor heat exchanger 14 is increased by increasing the throttle opening degree (in other words, the passage area) of the first expansion valve 13, and the temperature with the outside air. Since the difference is reduced, the heat absorption amount of the outdoor heat exchanger 14 is reduced.
  • the outdoor heat exchanger 14 In the heating mode, the cooling warm-up mode, and the heating warm-up mode, since the wind speed of the outdoor air flowing through the outdoor heat exchanger 14 is decreased by reducing the driving power (in other words, the rotational speed) of the outdoor blower 17, the outdoor heat The heat absorption amount of the exchanger 14 is reduced.
  • the first expansion valve 13, the second expansion valve 15, and the outdoor blower 17 are heat exchange amount adjusting units that adjust the heat exchange amount in the outdoor heat exchanger 14.
  • the first expansion valve 13, the second expansion valve 15, and the outdoor blower 17 are endothermic amount adjusting units that adjust the amount of heat absorbed by the low-pressure refrigerant from the outside air in the outdoor heat exchanger 14 in the endothermic mode. is there.
  • the endothermic mode is an operation mode in which the low-pressure side refrigerant of the refrigeration cycle 10 absorbs heat from the outside air in the outdoor heat exchanger 14.
  • the control device 40 is required to cool the air blown into the vehicle interior.
  • the operation of the first expansion valve 13 and the second expansion valve 15 is controlled so as to enter the heat absorption mode.
  • both the outdoor heat exchanger 14 and the low pressure side heat exchanger 16 can absorb the heat to the low pressure side refrigerant of the refrigeration cycle 10. it can.
  • the air blown into the vehicle interior can be cooled, and the ability to warm up the engine 23 can be increased compared to the case where the outdoor heat exchanger 14 radiates heat from the refrigerant to the outside air. Air cooling and warm-up of the engine 23 can both be achieved.
  • control device 40 reduces the amount of heat absorbed by the low-pressure refrigerant from the outside air in the outdoor heat exchanger 14 as time elapses after the first expansion valve 13 and the second expansion valve 15 are switched to the heat absorption mode.
  • the operation of at least one of the first expansion valve 13, the second expansion valve 15, and the outdoor blower 17 is controlled so as to be.
  • the amount of heat supplied to the engine 23 decreases, so that the engine 23 can be prevented from being warmed up excessively.
  • the control device 40 switches the first expansion valve 13 and the second expansion valve 15 to switch to the heat dissipation mode when a predetermined time has elapsed.
  • Control the operation of The heat release mode is an operation mode in which the high-pressure side refrigerant of the refrigeration cycle 10 radiates heat to the outside air in the outdoor heat exchanger 14.
  • the amount of heat necessary for warming up the engine 23 decreases, the amount of heat absorbed by the low-pressure side heat exchanger 16 can be increased, and the cooling capacity of the air blown into the vehicle interior can be increased.
  • the controller 40 supplies the high-pressure side refrigerant heat supply rate to the heater core 22 (specifically, the heater core as time elapses after the first expansion valve 13 and the second expansion valve 15 are switched to the heat absorption mode.
  • the operation of the flow rate adjusting valve 24 is controlled so that the ratio of the cooling water to 22) increases.
  • the control device 40 increases the heat exchange amount in the heater core 22 (specifically, cooling water flowing through the heater core 22 as time elapses).
  • the operation of the flow rate adjusting valve 24 is controlled so that the flow rate) increases.
  • the heating capacity of the air blown into the passenger compartment can be increased.
  • control device 40 determines that the high-pressure side heat exchanger 12, the outdoor heat exchanger 14, the low-pressure side heat exchanger as time elapses after the first expansion valve 13 and the second expansion valve 15 are switched to the heat absorption mode.
  • the operation of at least one of the high temperature side pump 21 and the flow rate adjusting valve 24 is controlled so that the order of the absolute heat exchange amount of the heater core 22 in the comparison of the absolute heat exchange amount of the heater core 22 and the heater core 22 is increased.
  • the order of the absolute amount of heat exchange refers to the order from the one with the largest absolute amount of heat exchange.
  • the heating capacity of the air blown into the passenger compartment can be increased.
  • control device 40 determines that the high-pressure side heat exchanger 12, the outdoor heat exchanger 14, the low-pressure side heat exchanger as time elapses after the first expansion valve 13 and the second expansion valve 15 are switched to the heat absorption mode.
  • the operation of at least one of the first expansion valve 13, the second expansion valve 15, and the outdoor blower 17 is performed so that the order of the absolute heat exchange amount of the outdoor heat exchanger 14 in the comparison of the absolute heat exchange amount between the heater core 22 and the heater core 22 decreases.
  • the order of the absolute amount of heat exchange refers to the order from the one with the largest absolute amount of heat exchange.
  • control device 40 determines that the high-pressure side heat exchanger 12, the outdoor heat exchanger 14, the low-pressure side heat exchanger as time elapses after the first expansion valve 13 and the second expansion valve 15 are switched to the heat absorption mode. 16 and the heater core 22 are compared with each other, and the operation of the low temperature side pump 31 is controlled so that the order of the absolute heat exchange amount of the low pressure side heat exchanger 16 is increased.
  • the dehumidifying ability of the low-pressure side heat exchanger 16 can be increased as the amount of moisture in the vehicle interior increases due to the breathing and sweating of the occupant, so that an increase in the humidity in the vehicle interior can be suppressed.
  • control device 40 controls the refrigerant discharge capacity of the compressor 11 according to the heat exchange amount required by the low pressure side heat exchanger 16. Specifically, the control device 40 controls the refrigerant discharge capacity of the compressor 11 so that the temperature of the low-pressure side heat exchanger 16 approaches the target temperature of the low-pressure side heat exchanger 16.
  • the control device 40 determines that the heat exchange amount of the low pressure side heat exchanger 16 is greater than the heat exchange amount required by the low pressure side heat exchanger 16 even if the refrigerant discharge capacity of the compressor 11 is maximum.
  • the operation of at least one of the first expansion valve 13, the second expansion valve 15, and the outdoor blower 17 is controlled so that the heat absorption amount of the outdoor heat exchanger 14 is reduced.
  • the case where it is determined that the heat exchange amount of the low pressure side heat exchanger 16 is less than the heat exchange amount required by the low pressure side heat exchanger 16 is, for example, that the temperature of the low pressure side heat exchanger 16 is low pressure side heat exchange This is a case where the target temperature of the vessel 16 is not approached.
  • the heat exchange amount of the low pressure side heat exchanger 16 can be further increased, so that the heat exchange amount of the low pressure side heat exchanger is required. Insufficient heat exchange can be suppressed.
  • the control device 40 determines that the heat exchange amount of the low pressure side heat exchanger 16 is greater than the heat exchange amount required by the low pressure side heat exchanger 16 even if the refrigerant discharge capacity of the compressor 11 is maximum.
  • the operations of the first expansion valve 13 and the second expansion valve 15 are controlled so as to switch to the heat dissipation mode.
  • the heat exchange amount of the low pressure side heat exchanger 16 can be further increased, so that the heat exchange amount of the low pressure side heat exchanger is required. Insufficient heat exchange can be suppressed.
  • control device 40 controls the high temperature side pump 21 and the flow rate adjustment valve 24 so that the flow rate of the cooling water flowing through the high pressure side heat exchanger 12 decreases as the temperature of the cooling water flowing into the high pressure side heat exchanger 12 increases. Control at least one of the operations.
  • control device 40 controls the operation of at least one of the high temperature side pump 21 and the flow rate adjusting valve 24 so that the flow rate of the cooling water flowing through the engine 23 increases as the temperature of the engine 23 increases.
  • the flow rate of the cooling water flowing through the engine 23 is decreased to increase the temperature rise amount of the engine 23, and the flow rate of the cooling water flowing through the engine 23 is increased as the temperature of the engine 23 increases.
  • the amount of temperature increase of the engine 23 can be reduced by increasing the number.
  • the low-pressure side heat exchanger 16 and the cooler core 32 exchange heat between the low-pressure refrigerant and the air blown into the vehicle interior.
  • the present embodiment as shown in FIG. Heat exchange between the low-pressure refrigerant and the air blown into the passenger compartment.
  • the low-pressure side heat exchanger 16 causes the low-pressure side refrigerant of the refrigeration cycle 10 to indirectly absorb heat from the air blown into the vehicle interior, but in this embodiment, the low-pressure side heat exchanger 50. causes the low-pressure side refrigerant of the refrigeration cycle 10 to directly absorb heat from the air blown into the passenger compartment.
  • the low-pressure side heat exchanger 50 is an evaporator that evaporates the low-pressure refrigerant by exchanging heat between the low-pressure refrigerant flowing out of the second expansion valve 15 and the air blown into the passenger compartment.
  • the low-pressure side heat exchanger 50 is a low-temperature-side heat medium heat exchanger that cools air that is blown into the vehicle interior by exchanging heat between the low-pressure refrigerant that has flowed out of the second expansion valve 15 and the air that is blown into the vehicle interior. is there.
  • the refrigeration cycle 10 includes a bypass unit 51 and a bypass flow rate adjustment valve 52.
  • the bypass part 51 forms a refrigerant channel through which the refrigerant flows by bypassing the outdoor heat exchanger 14.
  • the bypass flow rate adjustment valve 52 is an opening degree adjustment valve that adjusts the opening degree of the flow path of the bypass unit 51.
  • the bypass flow rate adjustment valve 52 adjusts the flow rate of the refrigerant flowing through the outdoor heat exchanger 14 by adjusting the flow rate of the refrigerant flowing through the bypass unit 51.
  • the bypass flow rate adjustment valve 52 is a bypass adjustment unit that adjusts the flow rate ratio of the high-pressure side refrigerant or the low-pressure side refrigerant with respect to the outdoor heat exchanger 14 and the bypass unit 51.
  • the operation of the bypass flow rate adjustment valve 52 is controlled by the control device 40.
  • the bypass flow rate adjustment valve 52 is a heat exchange amount adjusting unit that adjusts the heat exchange amount in the outdoor heat exchanger 14.
  • the bypass flow rate adjustment valve 52 is an endothermic amount adjusting unit that adjusts the amount of heat absorbed by the low-pressure side refrigerant from the outside air in the outdoor heat exchanger 14 in the endothermic mode.
  • the heat exchange amount of the outdoor heat exchanger 14 can be adjusted as in the above embodiment.
  • the flow rate adjustment valve 24 adjusts the flow rate ratio between the cooling water flowing through the heater core 22 and the cooling water flowing through the engine 23.
  • the flow rate ratio between the cooling water flowing through the heater core 22 and the cooling water flowing through the engine 23 is adjusted.
  • the heater core side shut-off valve 53 is an open / close valve that opens and closes the cooling water flow path on the heater core 22 side in the high-temperature cooling water circuit 20.
  • the heater core side shut-off valve 53 is a supply rate adjustment unit that adjusts the heat supply rate of the high-pressure side refrigerant of the refrigeration cycle 10 with respect to the engine 23 and the heater core 22.
  • the heater core side shut-off valve 53 is a heat exchange amount adjusting unit that adjusts the heat exchange amount in the heater core 22.
  • the operation of the heater core side shutoff valve 53 is controlled by a control signal output from the control device 40.
  • the heater core side shut-off valve 53 closes the cooling water flow path on the heater core 22 side in the high temperature cooling water circuit 20 when the engine 23 is warmed up. Thereby, the flow of the cooling water to the heater core 22 is interrupted, and the entire amount of the cooling water discharged from the high temperature side pump 21 flows through the engine 23. Therefore, the warm function capability of the engine 23 can be improved.
  • the high temperature cooling water circuit 20 has the heater core side shut-off valve 53 that opens and closes the cooling water flow path on the heater core 22 side.
  • the water circuit 20 has an engine side shut-off valve 54 that opens and closes a cooling water flow path on the engine 23 side.
  • the engine 23 is arranged in series with the heater core 22 in the coolant flow of the high-temperature coolant circuit 20.
  • the high-temperature coolant circuit 20 has an engine bypass unit 55.
  • the engine bypass unit 55 forms a cooling water flow path in which cooling water flows by bypassing the engine 23.
  • the engine side shut-off valve 54 is an open / close valve that opens and closes the coolant flow path on the engine 23 side in the high-temperature coolant circuit 20.
  • the engine side shut-off valve 54 is a temperature control flow rate adjusting unit that adjusts the flow rate of the cooling water flowing through the engine 23.
  • the engine-side shut-off valve 54 is a supply rate adjusting unit that adjusts the heat supply rate of the high-pressure side refrigerant of the refrigeration cycle 10 with respect to the engine 23 and the heater core 22.
  • the operation of the engine side shut-off valve 54 is controlled by the control device 40.
  • the engine-side shut-off valve 54 reduces the opening of the engine bypass unit 55, so that the flow rate of the cooling water flowing through the engine 23 decreases. Therefore, the flow rate of the cooling water flowing through the engine 23 can be adjusted.
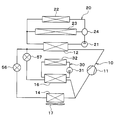
  • the refrigeration cycle 10 includes a first expansion valve 56 and a second expansion valve 57.
  • the first expansion valve 56 is a first decompression unit that decompresses and expands the liquid-phase refrigerant that flows out from the high-pressure side heat exchanger 12 and into the outdoor heat exchanger 14.
  • the second expansion valve 57 is a second decompression unit that decompresses and expands the liquid-phase refrigerant that flows out from the high-pressure side heat exchanger 12 and into the low-pressure side heat exchanger 16.
  • the liquid-phase refrigerant that has flowed out of the high-pressure heat exchanger 12 branches and flows to the first expansion valve 56 side and the second expansion valve 57 side.
  • the refrigerant decompressed by the first expansion valve 56 flows into the outdoor heat exchanger 14.
  • the refrigerant decompressed by the second expansion valve 57 flows into the low-pressure side heat exchanger 16.
  • the gas-phase refrigerant evaporated in the outdoor heat exchanger 14 and the gas-phase refrigerant evaporated in the low-pressure side heat exchanger 16 merge with each other and are sucked into the compressor 11.
  • the first expansion valve 56 and the second expansion valve 57 are electric variable throttle mechanisms. The operation of the first expansion valve 56 and the second expansion valve 57 is controlled by the control device 40.
  • the control device 40 controls the throttle opening degree of at least one of the first expansion valve 56 and the second expansion valve 57, so that the refrigerant flowing through the outdoor heat exchanger 14 and the refrigerant flowing through the low-pressure side heat exchanger 16 are reduced. Adjust the flow rate. Thereby, in the outdoor heat exchanger 14, the amount of heat absorbed by the low-pressure side refrigerant from the outside air can be adjusted.
  • the refrigeration cycle 10 may include a third expansion valve 58 that decompresses and expands the gas-phase refrigerant evaporated in the low-pressure side heat exchanger 16.
  • the third expansion valve 58 is an electric variable throttle mechanism. The operation of the third expansion valve 58 is controlled by the control device 40.
  • the gas-phase refrigerant evaporated in the outdoor heat exchanger 14 and the gas-phase refrigerant decompressed and expanded in the third expansion valve 58 merge with each other and are sucked into the compressor 11.
  • the refrigerant pressure of the low-pressure side heat exchanger 16 can be made higher than the refrigerant pressure of the outdoor heat exchanger 14. Therefore, it is possible to suppress the occurrence of frost in the cooler core 32 due to the cooling water temperature of the low-temperature cooling water circuit 30 being lowered to 0 ° C. or lower when the outside air temperature is 0 ° C. or lower.
  • a shutter may be disposed in the vicinity of the outdoor heat exchanger 14.
  • the shutter is driven to open and close by an electric actuator.
  • the operation of the electric actuator is controlled by the control device 40.
  • the shutter adjusts the opening degree of the outside air passage that flows through the outdoor heat exchanger 14. That is, the shutter is a heat exchange amount adjusting unit that adjusts the heat exchange amount in the outdoor heat exchanger 14 by adjusting the flow rate of the outside air flowing through the outdoor heat exchanger 14. Specifically, the shutter is an endothermic amount adjusting unit that adjusts the amount of heat absorbed by the low-pressure side refrigerant from the outside air in the outdoor heat exchanger 14 in the endothermic mode.
  • the opening of the shutter 41 by reducing the opening of the shutter 41, the flow rate of the outside air flowing through the outdoor heat exchanger 14 can be reduced. Thereby, the amount of heat exchange in the outdoor heat exchanger 14 can be reduced.
  • a pump for the heater core 22 and a pump for the engine 23 may be provided in the high-temperature coolant circuit 20, a pump for the heater core 22 and a pump for the engine 23 may be provided.
  • the pump for the heater core 22 and the pump for the engine 23 are supply rate adjustment units that adjust the supply rate of heat of the high-pressure side refrigerant of the refrigeration cycle 10 to the engine 23 and the heater core 22.
  • control device 40 independently controls the rotation speed of the pump for the heater core 22 and the rotation speed of the pump for the engine 23, whereby the flow rate ratio between the cooling water flowing through the heater core 22 and the cooling water flowing through the engine 23. Can be adjusted.
  • the engine 23 is disposed as the temperature adjustment target device in the high-temperature cooling water circuit 20, but as the temperature control target device, a device that cannot function unless it reaches a predetermined temperature (for example, An EGR cooler) or a device whose performance increases as the temperature increases (for example, a lithium ion battery) may be disposed.
  • a predetermined temperature for example, An EGR cooler
  • a device whose performance increases as the temperature increases for example, a lithium ion battery
  • cooling water is used as a heat medium for adjusting the temperature of the temperature control target device, but various media such as oil may be used as the heat medium.
  • Nanofluid may be used as the heat medium.
  • a nanofluid is a fluid in which nanoparticles having a particle size of the order of nanometers are mixed.
  • the effect of improving the thermal conductivity in a specific temperature range the effect of increasing the heat capacity of the heat medium, the effect of preventing the corrosion of metal pipes and the deterioration of rubber pipes, and the heat medium at an extremely low temperature
  • liquidity of can be acquired.
  • Such an effect varies depending on the particle configuration, particle shape, blending ratio, and additional substance of the nanoparticles.
  • the thermal conductivity can be improved, it is possible to obtain the same cooling efficiency even with a small amount of heat medium as compared with the cooling water using ethylene glycol.
  • the amount of cold storage heat due to the sensible heat of the heat medium itself can be increased.
  • the aspect ratio of the nanoparticles is preferably 50 or more. This is because sufficient thermal conductivity can be obtained.
  • the aspect ratio is a shape index that represents the ratio of the vertical and horizontal dimensions of the nanoparticles.
  • Nanoparticles containing any of Au, Ag, Cu and C can be used. Specifically, Au nanoparticle, Ag nanowire, CNT, graphene, graphite core-shell nanoparticle, Au nanoparticle-containing CNT, and the like can be used as the constituent atoms of the nanoparticle.
  • the CNT is a carbon nanotube.
  • the graphite core-shell nanoparticle is a particle body having a structure such as a carbon nanotube surrounding the atom.
  • a chlorofluorocarbon refrigerant is used as the refrigerant.
  • the type of the refrigerant is not limited to this, and natural refrigerant such as carbon dioxide, hydrocarbon refrigerant, or the like is used. It may be used.
  • the refrigeration cycle 10 of each of the above embodiments constitutes a subcritical refrigeration cycle in which the high-pressure side refrigerant pressure does not exceed the critical pressure of the refrigerant, but the supercritical refrigeration cycle in which the high-pressure side refrigerant pressure exceeds the critical pressure of the refrigerant. May be configured.

Landscapes

  • Engineering & Computer Science (AREA)
  • Mechanical Engineering (AREA)
  • Physics & Mathematics (AREA)
  • Thermal Sciences (AREA)
  • General Engineering & Computer Science (AREA)
  • Chemical & Material Sciences (AREA)
  • Combustion & Propulsion (AREA)
  • Air-Conditioning For Vehicles (AREA)
PCT/JP2017/006965 2016-03-08 2017-02-24 冷凍サイクル装置 Ceased WO2017154602A1 (ja)

Priority Applications (3)

Application Number Priority Date Filing Date Title
US16/082,294 US10899195B2 (en) 2016-03-08 2017-02-24 Refrigeration cycle device
DE112017001220.1T DE112017001220T5 (de) 2016-03-08 2017-02-24 Kühlzyklusvorrichtung
CN201780015672.1A CN108779942B (zh) 2016-03-08 2017-02-24 制冷循环装置

Applications Claiming Priority (2)

Application Number Priority Date Filing Date Title
JP2016-044318 2016-03-08
JP2016044318A JP6485390B2 (ja) 2016-03-08 2016-03-08 冷凍サイクル装置

Publications (1)

Publication Number Publication Date
WO2017154602A1 true WO2017154602A1 (ja) 2017-09-14

Family

ID=59790444

Family Applications (1)

Application Number Title Priority Date Filing Date
PCT/JP2017/006965 Ceased WO2017154602A1 (ja) 2016-03-08 2017-02-24 冷凍サイクル装置

Country Status (5)

Country Link
US (1) US10899195B2 (enExample)
JP (1) JP6485390B2 (enExample)
CN (1) CN108779942B (enExample)
DE (1) DE112017001220T5 (enExample)
WO (1) WO2017154602A1 (enExample)

Cited By (3)

* Cited by examiner, † Cited by third party
Publication number Priority date Publication date Assignee Title
WO2019065039A1 (ja) * 2017-09-28 2019-04-04 株式会社デンソー 冷凍サイクル装置
JP2019119437A (ja) * 2018-01-10 2019-07-22 株式会社デンソー 車両用冷却システム
CN111727350A (zh) * 2018-04-13 2020-09-29 阿科玛法国公司 用于冷却和/或加热机动车辆中的物体或流体的方法

Families Citing this family (19)

* Cited by examiner, † Cited by third party
Publication number Priority date Publication date Assignee Title
JP6418779B2 (ja) * 2014-05-08 2018-11-07 サンデンホールディングス株式会社 車両用空気調和装置
JP6738157B2 (ja) * 2016-02-26 2020-08-12 サンデン・オートモーティブクライメイトシステム株式会社 車両用空気調和装置
JP6673294B2 (ja) * 2016-08-30 2020-03-25 株式会社デンソー 冷凍サイクル装置
JP6627827B2 (ja) * 2017-07-10 2020-01-08 トヨタ自動車株式会社 熱交換システムの制御装置
JP6627826B2 (ja) 2017-07-10 2020-01-08 トヨタ自動車株式会社 熱交換システムの制御装置
JP6610621B2 (ja) * 2017-07-10 2019-11-27 トヨタ自動車株式会社 熱交換システムの制御装置
JP6610622B2 (ja) * 2017-07-10 2019-11-27 トヨタ自動車株式会社 熱交換システムの制御装置
JP6791052B2 (ja) * 2017-07-31 2020-11-25 株式会社デンソー 空調装置
JP6838535B2 (ja) * 2017-09-21 2021-03-03 株式会社デンソー 冷凍サイクル装置
JP6984439B2 (ja) * 2018-01-25 2021-12-22 株式会社デンソー 電池冷却用冷凍サイクル装置
JP6925288B2 (ja) * 2018-01-30 2021-08-25 サンデン・オートモーティブクライメイトシステム株式会社 車両用空気調和装置
CN108895691B (zh) * 2018-08-14 2023-09-26 中节能城市节能研究院有限公司 一种制冷过冷循环与蓄冷循环联合供能装置及方法
KR102614152B1 (ko) * 2018-11-09 2023-12-13 현대자동차주식회사 히트펌프 시스템
JP7434847B2 (ja) 2018-12-26 2024-02-21 株式会社デンソー 冷凍サイクル装置および流量調整機構
JP7543657B2 (ja) * 2019-03-29 2024-09-03 株式会社デンソー 空調装置
JP7230642B2 (ja) * 2019-03-29 2023-03-01 株式会社デンソー 冷凍サイクル装置
CN112406494B (zh) * 2019-08-23 2022-08-09 华为技术有限公司 用于汽车的热管理系统以及基于该系统的热管理方法
DE102019213860A1 (de) * 2019-09-11 2021-03-11 Mahle International Gmbh Klimatisierungssystem für ein Kraftfahrzeug
JP2024030575A (ja) * 2022-08-24 2024-03-07 サンデン株式会社 車両用熱管理装置

Citations (4)

* Cited by examiner, † Cited by third party
Publication number Priority date Publication date Assignee Title
JP2006321389A (ja) * 2005-05-19 2006-11-30 Denso Corp 車両用廃熱利用装置
JP2010243001A (ja) * 2009-04-02 2010-10-28 Green Seiju:Kk 自律平衡型ヒートポンプユニット
JP2014037959A (ja) * 2012-07-18 2014-02-27 Denso Corp 冷凍サイクル装置
JP2015203394A (ja) * 2014-04-16 2015-11-16 トヨタ自動車株式会社 車両およびその制御方法

Family Cites Families (12)

* Cited by examiner, † Cited by third party
Publication number Priority date Publication date Assignee Title
US6347528B1 (en) * 1999-07-26 2002-02-19 Denso Corporation Refrigeration-cycle device
KR100528392B1 (ko) * 2003-01-27 2005-11-15 가부시키가이샤 덴소 냉동 사이클 및 랭킨 사이클을 갖는 증기-압축 냉동사이클 시스템
DE102005032277B4 (de) * 2004-07-12 2019-08-14 Denso Corporation Dampfkompressionskälteerzeuger
JP2006188156A (ja) * 2005-01-06 2006-07-20 Denso Corp 蒸気圧縮式冷凍機
JP4801810B2 (ja) * 2006-05-30 2011-10-26 株式会社デンソー 廃熱利用装置を備える冷凍装置
JP5321647B2 (ja) 2011-06-15 2013-10-23 株式会社デンソー 冷凍サイクル装置
DE102012205200B4 (de) 2011-04-04 2020-06-18 Denso Corporation Kältemittelkreislaufvorrichtung
CN202166170U (zh) * 2011-05-30 2012-03-14 孔国旗 一种水冷却换热循环装置
JP2013217631A (ja) * 2012-03-14 2013-10-24 Denso Corp 冷凍サイクル装置
JP2014228190A (ja) * 2013-05-22 2014-12-08 株式会社デンソー 冷凍サイクル装置
US10131205B2 (en) * 2013-08-26 2018-11-20 Ford Global Technologies, Llc Climate control system
JP6318049B2 (ja) 2014-08-20 2018-04-25 Jx金属株式会社 高純度In及びその製造方法

Patent Citations (4)

* Cited by examiner, † Cited by third party
Publication number Priority date Publication date Assignee Title
JP2006321389A (ja) * 2005-05-19 2006-11-30 Denso Corp 車両用廃熱利用装置
JP2010243001A (ja) * 2009-04-02 2010-10-28 Green Seiju:Kk 自律平衡型ヒートポンプユニット
JP2014037959A (ja) * 2012-07-18 2014-02-27 Denso Corp 冷凍サイクル装置
JP2015203394A (ja) * 2014-04-16 2015-11-16 トヨタ自動車株式会社 車両およびその制御方法

Cited By (4)

* Cited by examiner, † Cited by third party
Publication number Priority date Publication date Assignee Title
WO2019065039A1 (ja) * 2017-09-28 2019-04-04 株式会社デンソー 冷凍サイクル装置
JP2019060580A (ja) * 2017-09-28 2019-04-18 株式会社デンソー 冷凍サイクル装置
JP2019119437A (ja) * 2018-01-10 2019-07-22 株式会社デンソー 車両用冷却システム
CN111727350A (zh) * 2018-04-13 2020-09-29 阿科玛法国公司 用于冷却和/或加热机动车辆中的物体或流体的方法

Also Published As

Publication number Publication date
CN108779942A (zh) 2018-11-09
JP2017161121A (ja) 2017-09-14
DE112017001220T5 (de) 2018-12-20
JP6485390B2 (ja) 2019-03-20
US10899195B2 (en) 2021-01-26
US20190030989A1 (en) 2019-01-31
CN108779942B (zh) 2020-12-29

Similar Documents

Publication Publication Date Title
JP6485390B2 (ja) 冷凍サイクル装置
US11498391B2 (en) Air conditioner
US11299014B2 (en) Refrigeration cycle device
CN108369042B (zh) 制冷循环装置
JP6708099B2 (ja) 冷凍サイクル装置
JP6398764B2 (ja) 車両用熱管理システム
JP6838527B2 (ja) 車両用空調装置
US11014430B2 (en) Refrigeration cycle device
US10759257B2 (en) Refrigeration cycle device
WO2017098796A1 (ja) 冷凍サイクル装置
JP2017137044A (ja) 車両用熱管理装置
WO2018042859A1 (ja) 冷凍サイクル装置
WO2019031123A1 (ja) 空調装置
WO2017098901A1 (ja) 車両用冷却システム
WO2017098795A1 (ja) 冷凍サイクル装置
WO2018066276A1 (ja) 車両用空調装置
WO2017130846A1 (ja) 車両用熱管理装置
WO2017154465A1 (ja) 空調装置
WO2016067598A1 (ja) 冷却装置
WO2018042969A1 (ja) 冷凍サイクル装置

Legal Events

Date Code Title Description
121 Ep: the epo has been informed by wipo that ep was designated in this application

Ref document number: 17762942

Country of ref document: EP

Kind code of ref document: A1

122 Ep: pct application non-entry in european phase

Ref document number: 17762942

Country of ref document: EP

Kind code of ref document: A1