WO2017064940A1 - 熱交換器 - Google Patents

熱交換器 Download PDF

Info

Publication number
WO2017064940A1
WO2017064940A1 PCT/JP2016/076079 JP2016076079W WO2017064940A1 WO 2017064940 A1 WO2017064940 A1 WO 2017064940A1 JP 2016076079 W JP2016076079 W JP 2016076079W WO 2017064940 A1 WO2017064940 A1 WO 2017064940A1
Authority
WO
WIPO (PCT)
Prior art keywords
tube
tubes
core plate
width direction
wall portion
Prior art date
Legal status (The legal status is an assumption and is not a legal conclusion. Google has not performed a legal analysis and makes no representation as to the accuracy of the status listed.)
Ceased
Application number
PCT/JP2016/076079
Other languages
English (en)
French (fr)
Japanese (ja)
Inventor
孝博 宇野
拓也 三ツ橋
Current Assignee (The listed assignees may be inaccurate. Google has not performed a legal analysis and makes no representation or warranty as to the accuracy of the list.)
Denso Corp
Original Assignee
Denso Corp
Priority date (The priority date is an assumption and is not a legal conclusion. Google has not performed a legal analysis and makes no representation as to the accuracy of the date listed.)
Filing date
Publication date
Application filed by Denso Corp filed Critical Denso Corp
Priority to DE112016004697.9T priority Critical patent/DE112016004697T5/de
Priority to US15/768,449 priority patent/US11092389B2/en
Priority to CN201680059901.5A priority patent/CN108139183B/zh
Publication of WO2017064940A1 publication Critical patent/WO2017064940A1/ja
Anticipated expiration legal-status Critical
Ceased legal-status Critical Current

Links

Images

Classifications

    • FMECHANICAL ENGINEERING; LIGHTING; HEATING; WEAPONS; BLASTING
    • F28HEAT EXCHANGE IN GENERAL
    • F28FDETAILS OF HEAT-EXCHANGE AND HEAT-TRANSFER APPARATUS, OF GENERAL APPLICATION
    • F28F9/00Casings; Header boxes; Auxiliary supports for elements; Auxiliary members within casings
    • F28F9/02Header boxes; End plates
    • F28F9/0219Arrangements for sealing end plates into casing or header box; Header box sub-elements
    • F28F9/0224Header boxes formed by sealing end plates into covers
    • F28F9/0226Header boxes formed by sealing end plates into covers with resilient gaskets
    • FMECHANICAL ENGINEERING; LIGHTING; HEATING; WEAPONS; BLASTING
    • F28HEAT EXCHANGE IN GENERAL
    • F28DHEAT-EXCHANGE APPARATUS, NOT PROVIDED FOR IN ANOTHER SUBCLASS, IN WHICH THE HEAT-EXCHANGE MEDIA DO NOT COME INTO DIRECT CONTACT
    • F28D1/00Heat-exchange apparatus having stationary conduit assemblies for one heat-exchange medium only, the media being in contact with different sides of the conduit wall, in which the other heat-exchange medium is a large body of fluid, e.g. domestic or motor car radiators
    • F28D1/02Heat-exchange apparatus having stationary conduit assemblies for one heat-exchange medium only, the media being in contact with different sides of the conduit wall, in which the other heat-exchange medium is a large body of fluid, e.g. domestic or motor car radiators with heat-exchange conduits immersed in the body of fluid
    • F28D1/04Heat-exchange apparatus having stationary conduit assemblies for one heat-exchange medium only, the media being in contact with different sides of the conduit wall, in which the other heat-exchange medium is a large body of fluid, e.g. domestic or motor car radiators with heat-exchange conduits immersed in the body of fluid with tubular conduits
    • F28D1/053Heat-exchange apparatus having stationary conduit assemblies for one heat-exchange medium only, the media being in contact with different sides of the conduit wall, in which the other heat-exchange medium is a large body of fluid, e.g. domestic or motor car radiators with heat-exchange conduits immersed in the body of fluid with tubular conduits the conduits being straight
    • F28D1/0535Heat-exchange apparatus having stationary conduit assemblies for one heat-exchange medium only, the media being in contact with different sides of the conduit wall, in which the other heat-exchange medium is a large body of fluid, e.g. domestic or motor car radiators with heat-exchange conduits immersed in the body of fluid with tubular conduits the conduits being straight the conduits having a non-circular cross-section
    • F28D1/05366Assemblies of conduits connected to common headers, e.g. core type radiators
    • FMECHANICAL ENGINEERING; LIGHTING; HEATING; WEAPONS; BLASTING
    • F28HEAT EXCHANGE IN GENERAL
    • F28FDETAILS OF HEAT-EXCHANGE AND HEAT-TRANSFER APPARATUS, OF GENERAL APPLICATION
    • F28F9/00Casings; Header boxes; Auxiliary supports for elements; Auxiliary members within casings
    • F28F9/02Header boxes; End plates
    • F28F9/04Arrangements for sealing elements into header boxes or end plates
    • F28F9/16Arrangements for sealing elements into header boxes or end plates by permanent joints, e.g. by rolling
    • F28F9/18Arrangements for sealing elements into header boxes or end plates by permanent joints, e.g. by rolling by welding
    • FMECHANICAL ENGINEERING; LIGHTING; HEATING; WEAPONS; BLASTING
    • F28HEAT EXCHANGE IN GENERAL
    • F28FDETAILS OF HEAT-EXCHANGE AND HEAT-TRANSFER APPARATUS, OF GENERAL APPLICATION
    • F28F9/00Casings; Header boxes; Auxiliary supports for elements; Auxiliary members within casings
    • F28F9/02Header boxes; End plates
    • F28F9/04Arrangements for sealing elements into header boxes or end plates
    • F28F9/16Arrangements for sealing elements into header boxes or end plates by permanent joints, e.g. by rolling
    • F28F9/18Arrangements for sealing elements into header boxes or end plates by permanent joints, e.g. by rolling by welding
    • F28F9/182Arrangements for sealing elements into header boxes or end plates by permanent joints, e.g. by rolling by welding the heat-exchange conduits having ends with a particular shape, e.g. deformed; the heat-exchange conduits or end plates having supplementary joining means, e.g. abutments
    • FMECHANICAL ENGINEERING; LIGHTING; HEATING; WEAPONS; BLASTING
    • F28HEAT EXCHANGE IN GENERAL
    • F28FDETAILS OF HEAT-EXCHANGE AND HEAT-TRANSFER APPARATUS, OF GENERAL APPLICATION
    • F28F2225/00Reinforcing means
    • F28F2225/02Reinforcing means for casings
    • FMECHANICAL ENGINEERING; LIGHTING; HEATING; WEAPONS; BLASTING
    • F28HEAT EXCHANGE IN GENERAL
    • F28FDETAILS OF HEAT-EXCHANGE AND HEAT-TRANSFER APPARATUS, OF GENERAL APPLICATION
    • F28F2225/00Reinforcing means
    • F28F2225/08Reinforcing means for header boxes
    • FMECHANICAL ENGINEERING; LIGHTING; HEATING; WEAPONS; BLASTING
    • F28HEAT EXCHANGE IN GENERAL
    • F28FDETAILS OF HEAT-EXCHANGE AND HEAT-TRANSFER APPARATUS, OF GENERAL APPLICATION
    • F28F2265/00Safety or protection arrangements; Arrangements for preventing malfunction
    • F28F2265/26Safety or protection arrangements; Arrangements for preventing malfunction for allowing differential expansion between elements

Definitions

  • This disclosure relates to a heat exchanger.
  • a heat exchanger such as a radiator includes a core portion in which a plurality of tubes and a plurality of corrugated fins are alternately stacked, a header tank that is joined to the longitudinal ends of the plurality of tubes and communicates with the plurality of tubes.
  • the header tank includes a core plate into which a plurality of tubes are inserted and joined, and a tank body that forms an internal space of the header tank together with the core plate.
  • the core plate includes a tube joint surface provided with a plurality of tube insertion holes, and a receiving portion that is provided on the outer peripheral edge of the tube joint surface and receives the end of the tank main body.
  • This indication aims at providing the heat exchanger which can shorten the length of the width direction, and can reduce the thermal stress in the joined part of a core plate and a plurality of tubes in view of the above-mentioned point. To do.
  • the heat exchanger includes a plurality of flat tubes arranged in a stacked manner, and a header tank that is disposed at the longitudinal ends of the plurality of tubes and communicates with the plurality of tubes.
  • the header tank has a core plate to which the longitudinal ends of a plurality of tubes are joined, and a tank main body fixed to the core plate.
  • the core plate has a tube joint surface and a receiving part.
  • the tube joint surface is provided with a plurality of tube insertion holes corresponding to the plurality of tubes, and the plurality of tubes are brazed and joined in a state of being inserted into the plurality of tube insertion holes, respectively.
  • the receiving portion surrounds the tube joint surface and accommodates a tip portion close to the core plate in the tank main body portion.
  • the receiving part has a bottom wall part in which a sealing member is disposed between the tank body part and an inner wall part that connects the tube joining surface and the bottom wall part.
  • a rib that is inclined with respect to the longitudinal direction of the plurality of tubes is provided between two adjacent ones of the plurality of tube insertion holes on the tube joining surface and the inner wall portion.
  • One end side of the rib is connected to the tube joining surface and the other end side is connected to the inner wall portion in the width direction of the plurality of tubes.
  • the other end portion of the rib is connected in the middle of the inner wall portion in the longitudinal direction of the plurality of tubes.
  • the core plate in the width direction (tube width direction) of the plurality of tubes in which stress is concentrated It is possible to suppress bending deformation in the vicinity of the joint portion of the plurality of tubes with the end portions in the tube width direction, and to distribute stress to the tip portions of the ribs.
  • ribs that extend continuously in the tube width direction (tube width direction) are formed on the tube joint surface without being connected diagonally, the rigidity of the entire tube width direction of the core plate increases.
  • FIG. 5 is a sectional view taken along line VV in FIG. 4.
  • FIG. 5 is a sectional view taken along line VI-VI in FIG. 4.
  • the heat exchanger of embodiment and a 1st comparative example it is a graph which shows the relationship between the distance of a tube joint surface and the receiving part of a core plate, and a thermal stress.
  • FIG. 13 is a cross-sectional view taken along line XIII-XIII in FIG. 12. It is a graph which shows the stress which arises in the radiator of embodiment and a 2nd comparative example.
  • the heat exchanger according to the present disclosure is effective when applied to a vehicle heat exchanger mounted on a vehicle.
  • This embodiment demonstrates the example which applied the heat exchanger which concerns on this indication to the radiator 1 which cools the water-cooling type internal combustion engine which is mounted in the vehicle which is not shown in figure.
  • the radiator 1 of the present embodiment has a core portion 4 that is a heat exchange portion for exchanging heat between the cooling water of the internal combustion engine and the outside air.
  • the core part 4 is a laminated body in which a plurality of tubes 2 and a plurality of fins 3 are arranged in a plurality of layers in the vertical direction.
  • the tube 2 and the fin 3 it refers to one of the plurality of tubes 2 and one of the plurality of fins 3.
  • each of the plurality of tubes 2 other than the one tube 2 has the same structure as the one tube 2, and the plurality of fins 3 other than the one fin 3 are the same as the one fin 3, respectively. It has the same structure.
  • Each of the plurality of tubes 2 is a tubular member in which a flow path through which cooling water of an internal combustion engine (not shown) flows is formed.
  • the plurality of tubes 2 extend so that the longitudinal direction of the plurality of tubes is along the horizontal direction.
  • the plurality of tubes 2 extend so that the major axis direction of the cross section orthogonal to the longitudinal direction is along the flow direction of the air passing through the core portion 4, and have a flat shape.
  • the flat shape includes an elliptical shape including a curved shape obtained by combining an arc portion having a large radius of curvature and an arc portion having a small radius of curvature, an oval shape including a shape obtained by combining the arc portion and a flat portion, and the like. .
  • the major axis direction of the tube 2 is referred to as a tube width direction, and the direction in which the tube 2 extends (longitudinal direction) is referred to as a tube longitudinal direction.
  • a direction in which the plurality of tubes 2 and the plurality of fins 3 are stacked is referred to as a tube stacking direction.
  • the tube width direction coincides with a direction orthogonal to both the tube longitudinal direction and the tube stacking direction.
  • the fins 3 increase the heat transfer area with the outside air and promote heat exchange between the outside air and the cooling water.
  • the fins 3 of the present embodiment are formed in a corrugated shape and are joined to flat portions on both sides of the tube 2.
  • the tube 2 and the fin 3 are made of a metal (for example, an aluminum alloy) having excellent thermal conductivity, corrosion resistance, and the like.
  • the tube 2, the fin 3, the core plate 51 described later, and the side plate 6 described later are integrally brazed by a brazing material that is coated at predetermined positions of the tube 2, the fin 3, the core plate 51, and the side plate 6. .
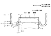
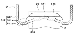
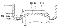
  • header tanks 5 extending in the tube stacking direction and having spaces formed therein are disposed.
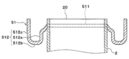
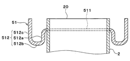
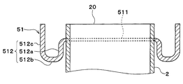
  • the header tank 5 includes a core plate 51 into which a plurality of tubes 2 are inserted and joined, and a tank body 52 that forms a tank space together with the core plate 51.
  • the header tank 5 is joined in a state in which the end portions in the tube longitudinal direction of each of the plurality of tubes 2 are inserted into a plurality of tube insertion holes 511 a described later of the core plate 51.
  • the internal passages of the plurality of tubes 2 communicate with a space formed in the header tank 5.
  • Side plates 6 that reinforce the core portion 4 are provided at both ends of the core portion 4 in the tube stacking direction.
  • the side plate 6 extends in parallel with the tube longitudinal direction, and both ends thereof are connected to the core plate 51.
  • the side plate 6 of the present embodiment is made of a metal such as an aluminum alloy.
  • the header tank 5 includes a core plate 51, a tank body 52, and a packing 53.
  • the core plate 51 is joined in a state where the plurality of tubes 2 and the side plates 6 are inserted.
  • the tank body 52 and the core plate 51 constitute a tank internal space that is a space in the header tank 5.
  • the packing 53 is a seal member that seals between the core plate 51 and the tank main body 52.
  • the core plate 51 of the present embodiment is made of a metal (for example, an aluminum alloy) excellent in thermal conductivity, corrosion resistance, and the like.
  • the tank body 52 of this embodiment is formed of a resin such as glass reinforced polyamide reinforced with glass fibers.
  • the packing 53 is made of, for example, silicon rubber or EPDM (ethylene propylene diene rubber).
  • the core plate 51 is provided with a plurality of protruding pieces 514.
  • Each of the plurality of protruding pieces 514 is formed so as to protrude from the outer wall portion 512c to the tank body portion 52 side.
  • the plurality of projecting pieces 514 are provided at a portion corresponding to a space between two adjacent tubes 2 among the plurality of tubes 2 in the core plate 51, that is, a portion corresponding to the flange portion (tip portion) 522 of the tank main body portion 52. Has been placed.
  • the plurality of protruding pieces 514 of the core plate 51 are plastically deformed so as to press against the tank main body 52.
  • the core plate 51 is fixed by caulking.
  • the tank body 52 is assembled to the core plate 51 by caulking and fixing the plurality of protruding pieces 514 to the flange 522 of the tank body 52.
  • the inner surface of the tank main body 52 is located on the inner side of the tank 5, that is, closer to the center of the tube 2 in the tube width direction than the end of the tube 2 in the tube width direction.
  • the inner surface of the tank body 52 is located between the end of the tube 2 and the center of the tube 2 in the tube width direction.
  • a concave portion 521 that is recessed toward the outer side of the tank is formed in a portion of the tank main body 52 that faces the tube 2. Thereby, it is comprised so that the inner surface of the tank main-body part 52 and the outer surface of the said edge part of the tube 2 may not contact.
  • the flange portion 522 is disposed on a bottom wall portion 512b (described later) of the core plate 51 via a packing 53. That is, the bottom wall portion 512b constitutes a seal surface on which the packing 53 is disposed.
  • the direction perpendicular to both the tube stacking direction and the tube width direction is the tube longitudinal direction.
  • the direction perpendicular to both the tube width direction and the tube longitudinal direction is the tube stacking direction. 3, 5, and 6, illustration of the plurality of protruding pieces 514 is omitted.
  • the core plate 51 is formed with a tube joint surface 511 to be joined in a state where a plurality of tubes 2 are inserted.
  • the tube joint surface 511 is formed in a flat shape.
  • the tube joining surface 511 is formed so as to intersect the tube longitudinal direction and extend in the tube width direction.
  • the tube joint surface 511 of the present embodiment is formed orthogonal to the tube longitudinal direction and parallel to the tube width direction.
  • the tube joint surface 511 has a plurality of tube insertion holes 511a.
  • the plurality of tube insertion holes 511a are formed so as to be arranged at predetermined intervals along the tube stacking direction.
  • the tube insertion hole 511a is brazed and joined in a state where the end portion in the longitudinal direction of the tube 2 (hereinafter referred to as the tube end portion 20) is inserted.
  • a groove-shaped receiving part (accommodating receiving part) 512 is formed around the tube joint surface 511 in the core plate 51.
  • the receiving part 512 accommodates a flange part 522 and a packing 53 of the tank main body part 52 described later.
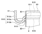
  • the receiving portion 512 has three wall surfaces including a bottom wall portion 512b extending in the tube width direction, an inner wall portion 512a and an outer wall portion 512c extending in the tube longitudinal direction. These wall surfaces are formed in this order from the tube joint surface 511 to the inner wall portion 512a, the bottom wall portion 512b, and the outer wall portion 512c.
  • the inner wall portion 512a and the outer wall portion 512c are each formed by being bent into an L shape from the bottom wall portion 512b.
  • the inner wall portion 512a is located closer to the tube 2 than the bottom wall portion 512b, and the outer wall portion 512c is located farther from the tube 2 than the bottom wall portion 512b.
  • the inner wall portion 512a is located between the bottom wall portion 512b and the tube 2 in the tube width direction, and the bottom wall portion 512b is located between the outer wall portion 512c and the tube 2 in the tube width direction. Is located.
  • the inner wall portion 512a is disposed outside the tube 2 in the tube width direction. That is, the entire receiving portion 512 of the core plate 51 is disposed outside the tube 2 in the tube width direction.
  • a gap of a predetermined distance L is formed between the inner wall portion 512a and the end portion of the tube 2 in the tube width direction.
  • the end of the tube 2 in the tube width direction has an arc shape in a cross section viewed from the tube longitudinal direction.
  • the predetermined distance L in the present embodiment is the shortest distance in the tube width direction between the 0 ° position and the inner wall portion 512a. .
  • the end of the tube 2 in the tube width direction is located on a flat surface that constitutes the tube joint surface 511.
  • the core plate 51 extends in parallel with the tube width direction at a portion where the end of the tube 2 in the tube width direction and the core plate 51 are joined.
  • the distance in the tube longitudinal direction between the tube joining surface 511 and the tube end portion 20 is different from the distance in the tube longitudinal direction between the bottom wall portion 512b and the tube end portion 20.
  • the distance from the tube joining surface 511 to the tube end portion 20 is shorter than the distance from the bottom wall portion 512b to the tube end portion 20. That is, the bottom wall portion 512b is disposed on the side closer to the core portion 4 in the tube longitudinal direction than the tube joining surface 511, that is, on the side farther from the tube end portion 20.
  • the tube joint surface 511 is located between the bottom wall portion 512b and the tube end portion 20 in the tube longitudinal direction.
  • Ribs 513 are provided on the tube joint surface 511 and the inner wall portion 512a of the core plate 51 between two adjacent tubes 2, that is, between two adjacent tube insertion holes 511a.
  • the rib 513 is formed so as to protrude from the plate surface of the core plate 51.
  • the rib 513 of the present embodiment is formed so as to protrude toward the core portion 4 in the tube longitudinal direction, that is, in a direction away from the tube end portion 20.
  • the rib 513 is provided to increase the rigidity of the core plate 51.
  • the rib 513 is inclined with respect to the tube longitudinal direction.
  • the rib 513 is inclined with respect to the tube joint surface 511, that is, with respect to the tube width direction.
  • the rib 513 is inclined so that the distance from the tube end portion 20 becomes longer in the direction from the tube joint surface 511 toward the receiving portion 512, that is, in the direction away from the center portion in the tube width direction.
  • the rib 513 is formed from the tube joint surface 511 to the inner wall portion 512a in the tube width direction. That is, in the tube width direction, one end of the rib 513 is connected to the tube joint surface 511, and the other end of the rib 513 is connected to the inner wall portion 512a.
  • One end of the rib 513 is, for example, an end portion on the side close to the center portion in the tube width direction of the tube 2.
  • the other end of the rib 513 is, for example, an end portion on the side far from the center portion of the tube 2 in the tube width direction.
  • the rib 513 is formed so as to straddle the end of the tube 2 in the tube width direction as viewed from the tube stacking direction.
  • the other end of the rib 513 is connected to the middle of the inner wall portion 512a in the tube longitudinal direction.
  • the other end of the rib 513 is located between one end and the other end of the inner wall portion 512a in the tube longitudinal direction in the tube longitudinal direction.
  • the other end of the rib 513 is located between a connection portion between the inner wall portion 512a and the tube joint surface 511 and a connection portion between the inner wall portion 512a and the bottom wall portion 512b.
  • the other end of the rib 513 is located farther from the tube end portion 20 than the tube joining surface 511 and closer to the tube end portion 20 than the bottom wall portion 512b in the tube longitudinal direction.
  • the other end of the rib 513 is located on the opposite side of the tube end portion 20 with respect to the tube joint surface 511 in the longitudinal direction, and is located between the bottom wall portion 512b and the tube end portion 20 in the longitudinal direction. is doing.
  • the burring part 515 which protrudes toward the internal space of the header tank 5 is formed in the site
  • the burring portion 515 is provided to increase the rigidity of the peripheral edge portion of the tube insertion hole 511a in the core plate 51.
  • This preparation step includes a step of forming the core plate 51 having the tube joint surface 511, the receiving portion 512, the protruding piece 514, and the rib 513.
  • the tube insertion hole 511a is formed on the flat surface of the tube joint surface 511 by punching a plate-shaped metal material (that is, punching).
  • a temporary assembly process for temporarily assembling the core portion 4 and the like is performed by assembling the tubes 2, fins 3, and side plates 6 prepared in the preparation process on the workbench in the tube stacking direction.
  • the core plate 51 in which the tube insertion hole 511a is formed is assembled to the core portion 4, the state of being assembled by a jig such as a wire is held.
  • the assembly in a state where the core plate 51 is assembled to the core part 4 is placed in a heated furnace, thereby performing a brazing joining process for joining the elements of the core plate 51 and the core part 4 by brazing.
  • the packing 53 is accommodated in the receiving portion 512 of the core plate 51. Then, in a state where the flange portion 522 of the tank main body portion 52 is accommodated in the receiving portion 512 of the core plate 51 in which the packing 53 is accommodated, the projecting pieces 514 of the core plate 51 are plastically deformed by press working or the like. A caulking fixing process for caulking and fixing the tank body 52 to the plate 51 is performed.
  • the radiator 1 is manufactured after leak inspection and dimensional inspection. In the leakage inspection or the like, it is confirmed whether or not there is a brazing defect or a caulking defect at a joint portion of each part of the radiator 1.
  • the rib 513 of the core plate 51 is inclined with respect to the tube width direction, one end of the rib 513 is connected to the tube joint surface 511, and the other end of the rib 513 is the inner wall. It is connected in the middle of the part 512a.
  • the vicinity of the joint portion hereinafter also referred to as a tube root portion
  • Bending deformation is suppressed and stress can be distributed to the tip of the rib 513.
  • the relationship between the predetermined distance L between the receiving portion 512 of the core plate 51 and the tube 2 (hereinafter simply referred to as the distance L) and the stress generated at the joint between the core plate 51 and the tube 2 will be described with reference to FIG. I will explain.
  • the structure which provided the rib 513 in the flat surface which comprises the tube joint surface 511 of the core plate 51 is made into the 1st comparative example.
  • the rib 513 of the first comparative example is formed in parallel with the tube width direction.
  • the radiator 1 of this embodiment when the distance L is reduced, the tube root portion and the tip portion of the rib 513 are close to each other, and stress can be efficiently distributed to the tip portion of the rib 513.
  • the inner wall part 512a can be made to adjoin to the tube 2, and the tube width direction dimension of the radiator 1 is made small. be able to.
  • the inner surface of the tank main body portion 52 is located between the end portion and the center portion of the tube 2 in the tube width direction.
  • the distance L is too large, the distance between the tube root portion and the tip portion of the rib 513 is increased, so that the stress reduction effect is lowered.
  • the distance L is too small, the fillet shape when the tube 2 and the core plate 51 are brazed will not be stable, and the shape of the core plate 51 will not be stable because it requires press working within a narrow clearance. Therefore, even when the distance L is too small, the stress reduction effect is reduced.
  • the optimum range of the distance L can obtain a stress reduction effect at the tube root, can stabilize the fillet shape of the tube root, and can process the core plate 51. It is determined as a range that can be stably executed.
  • the optimum range of the distance L is set to a range larger than 0.43 mm and smaller than 1.30 mm (0.43 ⁇ L ⁇ 1.30). As shown in FIG. 7, when the distance L is 0.43 mm and 1.30 mm, the stress at the tube root is 100%.
  • the core plate 51 may be deformed like a bow.
  • the rib 513 is connected to a portion (connecting portion A) between one end and the other end in the tube longitudinal direction of the inner wall portion 512a, so that the rib 513 and the inner wall portion 512a Therefore, the core plate 51 is not easily deformed. Thereby, even if it is a case where the tube 2 is extended in the tube longitudinal direction, it becomes difficult to open the several protrusion piece 514 fixed by crimping.
  • the core plate 51 is not inclined with respect to the tube width direction at the joint portion between the tube 2 and the core plate 51. That is, in the tube root portion, the core plate 51 is parallel to the tube width direction. For this reason, when the tube 2 and the core plate 51 are brazed, the fillet shape of the tube root portion can be stabilized.
  • the fillet 516 is formed only in the vicinity of the joint portion with the core plate 51 at the end of the tube 2 in the tube width direction.
  • the height difference of the fillet 516 can be formed uniformly.
  • stress can be disperse
  • the portion of the core plate 51 to be joined to the end portion in the tube width direction of the tube 2 may have a shape as shown in FIGS.
  • the shapes shown in FIGS. 15 to 17 can be realized when the tube insertion hole 511a is formed in the tube joint surface 511 of the core plate 51 by punching.
  • the thickness of the core plate 51 is made uniform as a whole.
  • the thickness of the core plate 51 may be made thinner than other portions.
  • the thickness of the core plate 51 gradually decreases toward the tube joint surface 511 at the joint between the end of the tube 2 in the tube width direction and the core plate 51.
  • a step is provided at the joint portion between the end of the tube 2 in the tube width direction and the core plate 51 so that the thickness of the core plate 51 changes stepwise.
  • the said embodiment demonstrated the example in which the core plate 51 was parallel to the tube width direction in the junction part of the tube width direction end part in the tube 2, and the core plate 51, as shown in FIG.
  • the core plate 51 may be gently inclined with respect to the tube width direction at the joint between the tube width direction end of the tube 2 and the core plate 51.
  • 17 has an advantage that the tube 2 can be easily inserted into the tube insertion hole 511a of the core plate 51.
  • the rib 513 of the core plate 51 may have a shape as shown in FIGS.
  • a step may be provided in the middle of the rib 513 as shown in FIG.
  • a plurality of steps may be provided.
  • the length of the rib 513 in the tube width direction may be shortened.
  • the connecting portion between the rib 513 and the inner wall portion 512a may be provided in a direction away from the bottom wall portion 512b in the tube longitudinal direction. That is, the inclination angle of the rib 513 with respect to the tube width direction may be smaller than that in the above embodiment.
  • the structure of the packing 53 is not limited to this.
  • the packing 53 may be joined or integrally molded to either one of the core plate 51 and the tank body 52 with an adhesive or the like.

Landscapes

  • Engineering & Computer Science (AREA)
  • Physics & Mathematics (AREA)
  • Thermal Sciences (AREA)
  • Mechanical Engineering (AREA)
  • General Engineering & Computer Science (AREA)
  • Heat-Exchange Devices With Radiators And Conduit Assemblies (AREA)
  • Details Of Heat-Exchange And Heat-Transfer (AREA)
PCT/JP2016/076079 2015-10-15 2016-09-06 熱交換器 Ceased WO2017064940A1 (ja)

Priority Applications (3)

Application Number Priority Date Filing Date Title
DE112016004697.9T DE112016004697T5 (de) 2015-10-15 2016-09-06 Wärmetauscher
US15/768,449 US11092389B2 (en) 2015-10-15 2016-09-06 Heat exchanger
CN201680059901.5A CN108139183B (zh) 2015-10-15 2016-09-06 热交换器

Applications Claiming Priority (2)

Application Number Priority Date Filing Date Title
JP2015-203907 2015-10-15
JP2015203907A JP6547576B2 (ja) 2015-10-15 2015-10-15 熱交換器

Publications (1)

Publication Number Publication Date
WO2017064940A1 true WO2017064940A1 (ja) 2017-04-20

Family

ID=58517519

Family Applications (1)

Application Number Title Priority Date Filing Date
PCT/JP2016/076079 Ceased WO2017064940A1 (ja) 2015-10-15 2016-09-06 熱交換器

Country Status (5)

Country Link
US (1) US11092389B2 (enExample)
JP (1) JP6547576B2 (enExample)
CN (1) CN108139183B (enExample)
DE (1) DE112016004697T5 (enExample)
WO (1) WO2017064940A1 (enExample)

Families Citing this family (14)

* Cited by examiner, † Cited by third party
Publication number Priority date Publication date Assignee Title
JP6394202B2 (ja) * 2013-11-27 2018-09-26 株式会社デンソー 熱交換器
JP2018194179A (ja) * 2017-05-12 2018-12-06 株式会社デンソー 熱交換器
JP6919472B2 (ja) * 2017-09-29 2021-08-18 株式会社デンソー 熱交換器
KR102533346B1 (ko) * 2018-08-20 2023-05-19 한온시스템 주식회사 일체형 열교환기
JP7582774B2 (ja) * 2019-02-01 2024-11-13 株式会社デンソー 熱交換器
WO2020166983A1 (ko) * 2019-02-13 2020-08-20 한온시스템 주식회사 열교환기
KR102703322B1 (ko) * 2019-02-13 2024-09-06 한온시스템 주식회사 열교환기
JP7511545B2 (ja) * 2019-04-15 2024-07-05 株式会社ティラド 熱交換器用タンクのコアプレート
DE102019207905A1 (de) * 2019-05-29 2020-12-03 Hanon Systems Profil für einen Rohrboden eines Kühlers, Rohrboden mit einem derartigen Profil und Kühler mit einem Rohrboden
CN114341580A (zh) * 2019-09-13 2022-04-12 株式会社T.Rad 热交换器的箱结构
JP7413815B2 (ja) * 2020-02-14 2024-01-16 株式会社デンソー 熱交換器のブラケット
KR102777721B1 (ko) * 2020-02-19 2025-03-11 한온시스템 주식회사 열응력을 분산하는 헤더 구조를 가지는 열교환기
US11904421B2 (en) * 2020-08-26 2024-02-20 Modine Manufacturing Company Method of making a heat exchanger
JP7555776B2 (ja) * 2020-10-02 2024-09-25 株式会社ティラド 熱交換器のヘッダプレート構造

Citations (3)

* Cited by examiner, † Cited by third party
Publication number Priority date Publication date Assignee Title
US5664625A (en) * 1995-12-13 1997-09-09 Valeo Thermique Moteur Header plates for heat exchangers
JP2014519005A (ja) * 2011-05-20 2014-08-07 ベール ゲーエムベーハー ウント コー カーゲー 熱交換器
JP2015127631A (ja) * 2013-11-27 2015-07-09 株式会社デンソー 熱交換器

Family Cites Families (20)

* Cited by examiner, † Cited by third party
Publication number Priority date Publication date Assignee Title
FR2538526B1 (fr) * 1982-12-22 1986-12-19 Chausson Usines Sa Plaque collectrice pour echangeur de chaleur a tubes et boites a eau
JPH0631332Y2 (ja) * 1988-05-17 1994-08-22 昭和アルミニウム株式会社 熱交換器用ヘッダ・タンク
JPH0346776U (enExample) * 1989-08-30 1991-04-30
CN1162107A (zh) * 1995-12-13 1997-10-15 瓦莱奥热机公司 用于热交换器的体积缩小的集流板
FR2745079B1 (fr) * 1996-02-20 1998-04-10 Valeo Thermique Moteur Sa Echangeur de chaleur a boite a fluide brasee, en particulier pour vehicule automobile
US8181694B2 (en) 2003-12-19 2012-05-22 Valeo, Inc. Collar rib for heat exchanger header tanks
US20060254761A1 (en) * 2005-05-11 2006-11-16 Denso Corporation Brazed structure and method of manufacturing the same
DE102007028792A1 (de) 2006-06-29 2008-01-31 Denso Corp., Kariya Wärmeaustauscher
JP5029166B2 (ja) 2006-06-29 2012-09-19 株式会社デンソー 熱交換器
JP2008057849A (ja) * 2006-08-31 2008-03-13 Denso Corp 熱交換器の製造方法
DE102007013483A1 (de) * 2007-03-21 2008-09-25 Behr Gmbh & Co. Kg Wärmeübertrager, insbesondere Kühlmittelkühler für Kraftfahrzeuge
DE102008033594A1 (de) * 2007-07-26 2009-02-26 Behr Gmbh & Co. Kg Boden für einen Wärmetauscher
US20090255657A1 (en) * 2008-04-15 2009-10-15 Denso Corporation Heat exchanger and method of manufacturing the same
DE102009022983A1 (de) * 2008-06-10 2009-12-17 Behr Gmbh & Co. Kg Wärmetauscher
FR2952711B1 (fr) 2009-11-19 2012-01-20 Valeo Systemes Thermiques Plaque collectrice, boite collectrice comprenant une telle plaque et echangeur de chaleur equipe d'une telle boite
JP5821795B2 (ja) * 2012-07-18 2015-11-24 株式会社デンソー 熱交換器
DE102013208424A1 (de) 2013-05-07 2014-11-13 Behr Gmbh & Co. Kg Boden für einen Wärmetauscher, insbesondere für ein Kraftfahrzeug und Verfahren zur Herstellung des Bodens
DE102013217689A1 (de) * 2013-09-04 2015-03-05 Behr Gmbh & Co. Kg Rohrboden
JP6418438B2 (ja) 2014-04-11 2018-11-07 パナソニックIpマネジメント株式会社 感性評価装置、感性評価方法及び感性評価プログラム
WO2017013918A1 (ja) 2015-07-17 2017-01-26 株式会社デンソー 熱交換器

Patent Citations (3)

* Cited by examiner, † Cited by third party
Publication number Priority date Publication date Assignee Title
US5664625A (en) * 1995-12-13 1997-09-09 Valeo Thermique Moteur Header plates for heat exchangers
JP2014519005A (ja) * 2011-05-20 2014-08-07 ベール ゲーエムベーハー ウント コー カーゲー 熱交換器
JP2015127631A (ja) * 2013-11-27 2015-07-09 株式会社デンソー 熱交換器

Also Published As

Publication number Publication date
JP2017075741A (ja) 2017-04-20
CN108139183A (zh) 2018-06-08
DE112016004697T5 (de) 2018-07-19
US20180320995A1 (en) 2018-11-08
CN108139183B (zh) 2019-12-06
US11092389B2 (en) 2021-08-17
JP6547576B2 (ja) 2019-07-24

Similar Documents

Publication Publication Date Title
WO2017064940A1 (ja) 熱交換器
US10101096B2 (en) Heat exchanger
US8074708B2 (en) Heat exchanger
JP6394202B2 (ja) 熱交換器
JP5029166B2 (ja) 熱交換器
US20110168364A1 (en) Heat exchanger
CN107966064A (zh) 热交换器用管
JP6439454B2 (ja) 熱交換器
US20080245513A1 (en) Tube for heat exchanger and method of manufacturing tube
WO2017013918A1 (ja) 熱交換器
KR20120053786A (ko) 라디에이터
CN113490828B (zh) 热交换器
US10844773B2 (en) Heat exchanger
JP2006284107A (ja) 熱交換器
JP2019090573A (ja) 熱交換器およびその製造方法
JP6365781B2 (ja) 熱交換器
JP2015206507A (ja) 熱交換器
JP2009150587A (ja) 熱交換器
JP2005127676A (ja) 熱交換器および熱交換の製造方法
JP6083272B2 (ja) 熱交換器
JP6992581B2 (ja) 熱交換器
JP2007278557A (ja) 熱交換器
JP6106546B2 (ja) 熱交換装置
JP2020003089A (ja) 熱交換チューブ及び熱交換器
JP6919472B2 (ja) 熱交換器

Legal Events

Date Code Title Description
121 Ep: the epo has been informed by wipo that ep was designated in this application

Ref document number: 16855194

Country of ref document: EP

Kind code of ref document: A1

WWE Wipo information: entry into national phase

Ref document number: 15768449

Country of ref document: US

WWE Wipo information: entry into national phase

Ref document number: 112016004697

Country of ref document: DE

122 Ep: pct application non-entry in european phase

Ref document number: 16855194

Country of ref document: EP

Kind code of ref document: A1