WO2017047563A1 - 熱電発電装置 - Google Patents

熱電発電装置 Download PDF

Info

Publication number
WO2017047563A1
WO2017047563A1 PCT/JP2016/076910 JP2016076910W WO2017047563A1 WO 2017047563 A1 WO2017047563 A1 WO 2017047563A1 JP 2016076910 W JP2016076910 W JP 2016076910W WO 2017047563 A1 WO2017047563 A1 WO 2017047563A1
Authority
WO
WIPO (PCT)
Prior art keywords
duct
power generation
outer plate
generation module
thermoelectric
Prior art date
Legal status (The legal status is an assumption and is not a legal conclusion. Google has not performed a legal analysis and makes no representation as to the accuracy of the status listed.)
Ceased
Application number
PCT/JP2016/076910
Other languages
English (en)
French (fr)
Japanese (ja)
Inventor
拓也 松田
新也 北川
義之 岡本
Current Assignee (The listed assignees may be inaccurate. Google has not performed a legal analysis and makes no representation or warranty as to the accuracy of the list.)
Denso Corp
Original Assignee
Denso Corp
Priority date (The priority date is an assumption and is not a legal conclusion. Google has not performed a legal analysis and makes no representation as to the accuracy of the date listed.)
Filing date
Publication date
Application filed by Denso Corp filed Critical Denso Corp
Priority to US15/758,887 priority Critical patent/US11024787B2/en
Priority to CN201680053445.3A priority patent/CN108028616A/zh
Priority to EP16846434.5A priority patent/EP3352367B1/en
Publication of WO2017047563A1 publication Critical patent/WO2017047563A1/ja
Anticipated expiration legal-status Critical
Ceased legal-status Critical Current

Links

Images

Classifications

    • FMECHANICAL ENGINEERING; LIGHTING; HEATING; WEAPONS; BLASTING
    • F01MACHINES OR ENGINES IN GENERAL; ENGINE PLANTS IN GENERAL; STEAM ENGINES
    • F01NGAS-FLOW SILENCERS OR EXHAUST APPARATUS FOR MACHINES OR ENGINES IN GENERAL; GAS-FLOW SILENCERS OR EXHAUST APPARATUS FOR INTERNAL-COMBUSTION ENGINES
    • F01N5/00Exhaust or silencing apparatus combined or associated with devices profiting by exhaust energy
    • F01N5/02Exhaust or silencing apparatus combined or associated with devices profiting by exhaust energy the devices using heat
    • F01N5/025Exhaust or silencing apparatus combined or associated with devices profiting by exhaust energy the devices using heat the device being thermoelectric generators
    • HELECTRICITY
    • H10SEMICONDUCTOR DEVICES; ELECTRIC SOLID-STATE DEVICES NOT OTHERWISE PROVIDED FOR
    • H10NELECTRIC SOLID-STATE DEVICES NOT OTHERWISE PROVIDED FOR
    • H10N10/00Thermoelectric devices comprising a junction of dissimilar materials, i.e. devices exhibiting Seebeck or Peltier effects
    • H10N10/10Thermoelectric devices comprising a junction of dissimilar materials, i.e. devices exhibiting Seebeck or Peltier effects operating with only the Peltier or Seebeck effects
    • H10N10/13Thermoelectric devices comprising a junction of dissimilar materials, i.e. devices exhibiting Seebeck or Peltier effects operating with only the Peltier or Seebeck effects characterised by the heat-exchanging means at the junction
    • HELECTRICITY
    • H02GENERATION; CONVERSION OR DISTRIBUTION OF ELECTRIC POWER
    • H02NELECTRIC MACHINES NOT OTHERWISE PROVIDED FOR
    • H02N11/00Generators or motors not provided for elsewhere; Alleged perpetua mobilia obtained by electric or magnetic means
    • HELECTRICITY
    • H02GENERATION; CONVERSION OR DISTRIBUTION OF ELECTRIC POWER
    • H02NELECTRIC MACHINES NOT OTHERWISE PROVIDED FOR
    • H02N11/00Generators or motors not provided for elsewhere; Alleged perpetua mobilia obtained by electric or magnetic means
    • H02N11/002Generators
    • HELECTRICITY
    • H10SEMICONDUCTOR DEVICES; ELECTRIC SOLID-STATE DEVICES NOT OTHERWISE PROVIDED FOR
    • H10NELECTRIC SOLID-STATE DEVICES NOT OTHERWISE PROVIDED FOR
    • H10N10/00Thermoelectric devices comprising a junction of dissimilar materials, i.e. devices exhibiting Seebeck or Peltier effects
    • H10N10/01Manufacture or treatment
    • HELECTRICITY
    • H10SEMICONDUCTOR DEVICES; ELECTRIC SOLID-STATE DEVICES NOT OTHERWISE PROVIDED FOR
    • H10NELECTRIC SOLID-STATE DEVICES NOT OTHERWISE PROVIDED FOR
    • H10N10/00Thermoelectric devices comprising a junction of dissimilar materials, i.e. devices exhibiting Seebeck or Peltier effects
    • H10N10/10Thermoelectric devices comprising a junction of dissimilar materials, i.e. devices exhibiting Seebeck or Peltier effects operating with only the Peltier or Seebeck effects
    • H10N10/17Thermoelectric devices comprising a junction of dissimilar materials, i.e. devices exhibiting Seebeck or Peltier effects operating with only the Peltier or Seebeck effects characterised by the structure or configuration of the cell or thermocouple forming the device
    • YGENERAL TAGGING OF NEW TECHNOLOGICAL DEVELOPMENTS; GENERAL TAGGING OF CROSS-SECTIONAL TECHNOLOGIES SPANNING OVER SEVERAL SECTIONS OF THE IPC; TECHNICAL SUBJECTS COVERED BY FORMER USPC CROSS-REFERENCE ART COLLECTIONS [XRACs] AND DIGESTS
    • Y02TECHNOLOGIES OR APPLICATIONS FOR MITIGATION OR ADAPTATION AGAINST CLIMATE CHANGE
    • Y02TCLIMATE CHANGE MITIGATION TECHNOLOGIES RELATED TO TRANSPORTATION
    • Y02T10/00Road transport of goods or passengers
    • Y02T10/10Internal combustion engine [ICE] based vehicles
    • Y02T10/12Improving ICE efficiencies

Definitions

  • thermoelectric generator that performs thermoelectric generation using a high-temperature fluid and a low-temperature fluid.
  • present invention relates to a thermoelectric power generation apparatus that uses exhaust of a vehicle.
  • thermoelectric generator described in Patent Document 1.
  • this apparatus it is possible to press and fix many thermoelectric modules with a small number of low-temperature cooling medium blocks and fastening members.
  • many thermoelectric modules can be installed between the tube of the high-temperature medium flow path and the block of the cooling medium flow path in a proper pressing state with a few fastening points.
  • thermoelectric modules are arranged on both surfaces of each of the radially arranged high-temperature medium flow paths, and the thermoelectric modules are sandwiched between each high-temperature medium flow path.
  • a medium flow path is installed.
  • thermoelectric module is sandwiched and fixed between the high temperature medium flow path and the low temperature medium flow path through a fastening member such as a bolt through the low temperature medium flow path in a direction crossing the flow direction of the high temperature medium.
  • Patent Document 1 a fastening member such as a bolt for fastening is newly required, the number of parts increases, and the material cost and manufacturing cost of the product increase.
  • such an increase in the number of parts increases the heat capacity that does not contribute to the heat exchange performance.
  • a decrease in the amount of effective heat transfer in the initial operation of the power generation device and a decrease in the amount of power generation associated therewith occur, and sufficient performance cannot be obtained.
  • the surface pressure at the pressure contact portion is reduced due to the loosening of the bolt, stable power generation performance may not be exhibited. Descriptions of patent documents listed as prior art can be introduced or incorporated by reference as explanations of technical elements described in this specification.
  • the present disclosure aims to provide a thermoelectric power generation device that can suppress a decrease in power generation performance.
  • a first power generation in which a duct in which a first fluid flows and an outer surface opposite to each other in contact with the duct are provided, and a thermoelectric generator is provided in the inside.
  • a first outer plate and a second outer plate which are in contact with the outer surface of the respective power generating module on the side opposite to the duct and welded to each other; the first outer plate and the second outer plate; Outer fins provided on the outer surfaces of the outer plates on the side opposite to the respective thermoelectric modules, and flowing with the second fluid having a temperature higher than that of the first fluid in contact with each other, and a portion between each power generation module and the duct; The portions between the respective power generation modules and the first outer plate and the second outer plate are in contact with each other under pressure, and the duct has a larger coefficient of thermal expansion than the first outer plate and the second outer plate. Characterized by being made of material . Note that two power generation modules are not necessarily required. At least one power generation module may be provided.
  • the duct expands due to the heat of the first fluid.
  • the duct is formed of a material having a larger coefficient of thermal expansion than the first outer plate and the second outer plate. Due to the expansion of the duct, pressure is further applied to a portion between the power generation module and the duct and a portion between the power generation module and the first outer plate and the second outer plate, and a gap is generated in each portion (each pressure contact portion). This can be further suppressed. As a result, heat from the duct, the first outer plate, and the second outer plate is well guided to the power generation module via each pressure contact portion, and a decrease in power generation efficiency can be suppressed.
  • thermoelectric generator in 1st Embodiment It is a partial cross section block diagram of the thermoelectric generator in 1st Embodiment. It is a perspective view of the thermoelectric generator in a 1st embodiment. It is a top view of the thermoelectric power generator seen from the arrow Z3 direction of FIG. 1 in 1st Embodiment. It is the right view seen from the arrow Z4 direction of FIG. 3 in 1st Embodiment. It is a perspective view explaining the rigidity of the outside fin in a 1st embodiment. It is a partial enlarged view of the outside fin in a 1st embodiment.
  • thermoelectric generator in 2nd Embodiment It is a front view of the thermoelectric power generator in 3rd Embodiment. It is a front view of the thermoelectric power generator in 4th Embodiment. It is a partial front view of the thermoelectric generator in 5th Embodiment.
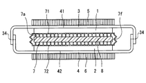
  • FIG. 1 is a partial cross-sectional configuration diagram of a thermoelectric generator 100.
  • the power generation modules 1 and 2 are housed in a flat box-shaped airtight case to prevent oxidation of the element. Therefore, the power generation modules 1 and 2 can be seen only as plate-like boxes in appearance, but a large number of P-type semiconductor elements and N-type semiconductor elements are alternately arranged inside an airtight case made of thin stainless steel. It is connected in a net shape.
  • the power generation module generates power by having one surface in contact with the high temperature portion and the other surface in contact with the low temperature portion.
  • the power generation modules 1 and 2 are distinguished, they are also referred to as a first power generation module 1 and a second power generation module 2.
  • first outer plate 3 and the second outer plate 4 One surface of each of the power generation modules 1 and 2 is in contact with the first outer plate 3 and the second outer plate 4 forming the high temperature portion via pressure contact portions 41 and 42.
  • the first outer plate 3 and the second outer plate 4 may be collectively referred to simply as the outer plates 3 and 4.
  • the first outer plate 3 and the second outer plate 4 are bent so that both end portions are welded to each other.
  • the bent portions 3a and 4a which are the bent portions are welded to each other by seam welding or laser welding continuously welded in the duct 7 along the direction in which the low-temperature fluid constituting the first fluid flows. It is joined. By this welding, an internal space 30 surrounded by the first outer plate 3 and the second outer plate 4 is formed. In the internal space 30 surrounded by the first outer plate 3 and the second outer plate 4, the power generation modules 1, 2 and the duct 7 are accommodated.
  • the duct 7 is made of aluminum, and a low-temperature fluid composed of cooling water of an automobile engine flows through the duct 7.
  • the duct 7 has flat outer surfaces.
  • the thermal expansion coefficient of aluminum is 23.1
  • the thermal expansion coefficient of stainless steel 444T which is the material of the outer plates 3 and 4 is 11.5 as an example.
  • the thermal expansion coefficient is a coefficient that increases by ⁇ ⁇ m when the temperature rises by 1 ° C. per meter.
  • the thermal expansion coefficient ⁇ is 11.5, the temperature increases by 11.5 ⁇ m per meter when the temperature of 1 ° C. rises. Therefore, the duct 7 has a larger thermal expansion coefficient than the stainless steel outer plates 3 and 4. Since zinc is 30.2, duralumin is 21.6, brass is 17.5, copper is 16.5, and magnesium is 25.4, these materials or composites of these materials are also used for the duct 7. Can be used as
  • the first outer plate 3 and the second outer plate 4 are made of a stainless steel plate having a smaller coefficient of thermal expansion than aluminum.
  • Outer fins 5 and 6 are provided on the side of the outer plates 3 and 4 opposite to the power generation module (above and below in FIG. 1), respectively.
  • Exhaust of the automobile engine that becomes a high-temperature fluid flows in contact with the outer fins 5 and 6.
  • the inner surface which is the other surface of the power generation modules 1 and 2 is in contact with the outer surface of the duct 7 forming the low temperature part.
  • the inside of the duct 7 is divided into a plurality of divided passages, and engine cooling water that becomes a low-temperature fluid flows through the divided passages.
  • FIG. 1 shows a thermoelectric power generation apparatus 100 composed of one power generation unit
  • a power generation unit is usually configured by stacking a plurality. Also in this case, the high-temperature fluid flows in contact with the outer fins 5 and 6 positioned between the stacked power generation units 100.
  • the first outer plate 3 and the second outer plate 4 are pressurized as indicated by arrows Y11 to Y14 so that the bent portions 3a and 4a overlap each other during assembly.
  • the bent portions 3a and 4a are welded to each other at the welded portion 34 in a line by seam welding or laser welding. Accordingly, the first outer plate 3 and the second outer plate 4 are subjected to stress that sandwiches the power generation modules 1 and 2 to complete the product.
  • the power generation modules 1 and 2 are in close contact with the first outer plate 3, the second outer plate 4, and the duct 7. That is, the applied pressure due to the stress acts between the duct 7 and the power generation modules 1 and 2 and between the power generation modules 1 and 2 and the first outer plate 3 and the second outer plate 4, and the pressure contact portion therebetween.
  • 41, 71, 72, and 42 (also referred to as pressure contact portions 41 to 42) are formed.
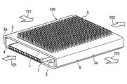
  • FIG. 2 is a perspective view of the entire thermoelectric generator 100.
  • the power generation apparatus 100 is a laminated body configured with an outer fin 5, a first outer plate 3, a power generation module 1, a duct 7, a power generation module 2, a second outer plate 4, and an outer fin 6 from the upper side to the lower side in FIG. It is.
  • a low temperature fluid flows in the duct 7 as indicated by arrows Y21 and Y22.
  • the high temperature fluid flows as indicated by arrows Y21 and Y22 while contacting the outer fins 5 and 6, and the high temperature fluid and the outer fins 5 and 6 exchange heat.
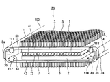
  • FIG. 3 shows a planar configuration of the thermoelectric generator 100 as viewed from the direction of arrow Z3 in FIG.
  • FIG. 4 shows the right side as seen from the direction of arrow Z4 in FIG.
  • the direction of arrow Y31 in FIG. 3 is the direction in which the high-temperature fluid flows. Further, the engine coolant that becomes a low temperature fluid flows orthogonally to the high temperature fluid as indicated by an arrow Y32 in FIG.
  • the low-temperature fluid flows through the inside of the duct 7 having a plurality of divided rectangular channels installed in the center of FIG.
  • the power generation modules 1 and 2 are installed on one surface side and the other surface side of the duct 7.
  • the pair of power generation modules 1 and 2 sandwich the duct 7 on the inside, and the outside is sandwiched between the first outer plate 3 and the second outer plate 4.
  • the width W4 between the outer fins 5 and 6 is 35 mm as an example.
  • FIG. 5 is a perspective view for explaining the rigidity of the outer fins 5 and 6.
  • the outer fins 5 and 6 are composed of a set of a plurality of wave portions.
  • the outer fins 5 and 6 are easy to expand and contract in the direction of extending in a wave shape of the wave portion, and have low rigidity.
  • the outer fins 5 and 6 are strengthened with the direction of the arrow Y31 in which the high-temperature fluid flows as the direction in which the wave portions overlap, and the rigidity is weakened with the direction perpendicular to the direction as extending in the wave shape of the wave portions. ing.
  • FIG. 6 is a partially enlarged view of the outer fin 5.
  • the outer fin 5 bent into a wave shape has a low rigidity in the wave traveling direction and a high rigidity in the wave overlapping direction.
  • the rigidity of the first outer plate 3 is also strengthened.
  • a gap that hinders heat transfer is less likely to occur between the first outer plate 3, the second outer plate 4, and the power generation modules 1 and 2.
  • offset fins in which positions of adjacent fins are separated by being slightly offset are adopted, but not limited to this, wave fins that are not offset are used. May be.
  • a heat conducting member such as a graphite sheet may be sandwiched between the pressure contact portions 41 to 42 where the gap may be generated.
  • the heat conductive member absorbs a certain level difference or unevenness that causes a gap in the pressure contact portions 41 to 42, and maintains the heat conductivity. can do.
  • the coefficient of thermal expansion of the heat conducting member sandwiched between the pressure contact portions 41 to 42 is preferably as large as possible.
  • the first embodiment includes a duct 7 through which a first fluid flows, and power generation modules 1 and 2 that are in contact with the opposing outer surfaces of the duct 7 and in which thermoelectric power generation elements are provided. Moreover, it has the 1st outer plate 3 and the 2nd outer plate 4 which were respectively contacted and joined to the outer side which is the anti-duct side of each electric power generation module 1,2.
  • outer fins 5 and 6 that are provided on the outer sides of the first outer plate 3 and the second outer plate 4 on the side opposite to the thermoelectric module, respectively, and through which the second fluid flows.
  • Pressure contact portions 41 to 42 are formed between the power generation modules 1 and 2 and the duct 7 and between the power generation modules 1 and 2 and the first outer plate 3 and the second outer plate 4, respectively.
  • the duct 7 is formed of a material having a larger coefficient of thermal expansion than the first outer plate 3 and the second outer plate 4. . According to this, the duct 7 is expanded by the heat of the first fluid. Therefore, the pressure of the pressure contact portions 41 to 42 is maintained by the synergistic effect of the duct expansion and the bending stress, and there is no gap in the pressure contact portions 41 to 42. For this reason, heat from the duct 7, the first outer plate 3, and the second outer plate 4 is well guided to the power generation modules 1 and 2 through the pressure contact portions 41 to 42, and the power generation efficiency does not decrease.
  • FIG. 7 shows a front configuration of a thermoelectric power generator showing the second embodiment.
  • the first power generation module 1 and the second power generation module 1 that are disposed above and below the duct 7 by thermal expansion are enlarged by increasing the vertical dimension of the duct 7 disposed at the center.
  • a pressure applied based on thermal expansion is easily applied to the power generation module 2.
  • the aspect ratio is the ratio of the long side to the short side in the rectangle.
  • the inside of the duct 7 is divided into a plurality of divided passages 7a, and the sectional shape of each divided passage 7a is rectangular.
  • the engine coolant flows in a divided manner in each of the divided passages 7a, and heat exchange is performed between the engine coolant and the duct 7, and thus the power generation modules 1 and 2, through the inner wall of the divided passage 7a.
  • the power generation modules 1 and 2 generate power based on a temperature difference between the low temperature on the duct 7 side and the high temperature on the first outer plate 3 and the second outer plate 4 side.
  • the ratio of the long side to the short side which is the aspect ratio in the cross-sectional shape of the division passage 7a of the duct 7, is approximately square 1 as shown in FIG.
  • the aspect ratio in the second embodiment is a rectangle exceeding 1, and the extending direction of the long side is the vertical direction of the duct 7 that is the direction connecting the power generation modules 1 and 2.
  • the shape of the plurality of divided passages of the duct 7 is rectangular, but this shape may be an oval shape having the longest diameter and a short diameter orthogonal to the long diameter, or a vertically long shape such as a D-shape.
  • the oval shape referred to here includes roughly an oval shape, an oval shape, and an oval shape.
  • the longitudinal direction such as the direction in which the long side extends or the direction in which the longest diameter extends is the vertical direction of the duct 7, that is, the direction connecting the power generation module 1 and the power generation module 2. In the case of D-shape, the horizontal direction with a large diameter is the vertical direction.
  • a plurality of divided passages 7a are formed in the duct 7, and the sectional shape of each divided passage 7a is a vertically long shape such as a rectangle, an oval shape, a D shape, etc.
  • the fluid flows separately in each of the dividing passages.
  • the sectional shape of the divided passage is a vertically long shape such as a rectangle, an oval shape, or a D-shape.
  • the longitudinal direction such as the long side of the rectangle and the direction in which the longest diameter of the oval extends is the direction connecting the power generation module 1 and the power generation module 2.
  • the duct 7 is likely to thermally expand greatly in the longitudinal direction such as the long side in the divided passage 7a and the direction in which the longest diameter extends.
  • pressure is easily applied to the pressure contact portions 41 to 42 due to thermal expansion of the duct 7 in the longitudinal direction.
  • the generation of gaps in the pressure contact portions 41 to 42 is suppressed, and heat from the duct 7, the first outer plate 3, and the second outer plate 4 in the power generation modules 1 and 2 passes through the pressure contact portions 41 to 42. Therefore, the reduction in power generation efficiency can be suppressed.
  • a third embodiment will be described. A different part from above-described embodiment is demonstrated. In FIG.
  • the first power generation module 1 and the second power generation module 2 are disposed between the first outer plate 3 and the second outer plate 4 in contact with the first outer plate 3 and the second outer plate 4. is doing.
  • the duct 7 is arrange
  • FIG. A central member 8 having a higher coefficient of thermal expansion than those of the first duct 701 and the second duct 702 is disposed between the first duct 701 and the second duct 702. Since the central member 8 does not interrupt the heat transfer path necessary for power generation, the heat resistance of the heat transfer path does not increase.
  • the central member 8 can be made of synthetic resin or ceramic having a large thermal expansion coefficient in addition to metal.
  • the duct 7 includes a first duct 701 and a second duct 702 that are arranged to face each other.
  • a central member 8 made of a material having a larger thermal expansion coefficient than those of the ducts 701 and 702 is inserted between the first duct 701 and the second duct 702.
  • Such a duct can be easily constructed by extrusion.
  • a central member 8 having a larger coefficient of thermal expansion than the duct is disposed at the center of the duct 7.
  • the duct 7 constitutes an aluminum fluid passage for flowing engine cooling water.
  • the duct 7 is an assembly of a plurality of divided flow paths, and the engine cooling water flows through each rectangular flow path.
  • a central member 8 having a thermal expansion coefficient larger than that of the duct 7 is provided so as to cross at least a part of the rectangular flow path.
  • bellows portions are formed on the side walls at both ends of the duct 7 to become flexible wall portions 7 f that extend due to thermal expansion of the central member 8.
  • the central member having a large coefficient of thermal expansion can be made of synthetic resin or ceramic.
  • the central member 8 made of a material having a larger thermal expansion coefficient than that of the duct 7 is inserted into the central portion of the duct 7. According to this, the duct 7 expands and expands due to the restraint of the outer plates 3 and 4 by the welded portion 34 and the thermal expansion of the central member 8, thereby applying pressure to the pressure contact portions 41 to 42. As a result, the generation of gaps in the pressure contact portions 41 to 42 is suppressed, and heat from the duct 7 and the first outer plate 3 and the second outer plate 4 is generated in the power generation modules 1 and 2 via the pressure contact portions 41 to 42. Well guided.
  • a flexible wall portion 7f that extends due to thermal expansion of the central member 8 is formed on the side wall of the duct. According to this, since the flexible wall portion 7 f easily extends due to the thermal expansion of the central member 8, the duct 7 easily extends in the vertical direction of FIG. 9 due to the thermal expansion of the central member 8. As a result, pressure is applied to the pressure contact portions 41 to 42 and a gap that inhibits heat transfer in the pressure contact portions 41 to 42 is suppressed. As a result, the heat from the duct 7, the first outer plate 3, and the second outer plate 4 is well guided to the power generation modules 1 and 2, and the power generation efficiency is hardly reduced. (Fifth embodiment) Next, a fifth embodiment will be described. In the fifth embodiment of FIG.
  • the side walls on the upper and lower sides of the duct 7 are in close contact with the first power generation module 1 and the second power generation module 2. Further, the first power generation module 1 and the second power generation module 2 are in contact with the first outer plate 3 and the second outer plate 4 via the inclusions 9 on the side opposite to the duct 7.
  • the inclusions 9 are only shown on the first outer plate 3 side, but are also present on the second outer plate 4 side.
  • the inclusion 9 may be a material having a high thermal conductivity and a high thermal expansion coefficient. For example, a graphite sheet called a graphite sheet may be used.
  • the inclusion 9 such as a graphite sheet excellent in heat conduction between the first outer plate 3 and the first power generation module 1 and between the second outer plate 4 and the second power generation module 2. It is comprised across.
  • the thickness of the graphite sheet may not be uniform. In short, it is only necessary to apply a uniform stress to the power generation modules 1 and 2 as much as possible so that uniform heat conduction is achieved.
  • the first outer plate 3 is made smaller than the second outer plate 4 and the first outer plate 3 is put on the second outer plate 4.
  • the first outer plate 3 and the second outer plate 4 may be the same size and may be assembled with their positions shifted from each other.
  • the first outer plate 3 and the second outer plate 4 are welded by the welding portion 34, and the inner space 30 surrounded by the first outer plate 3 and the second outer plate 4 is formed. Sealed.
  • the sealing may not be performed completely, and the high-temperature fluid that is a high-temperature gas may not be adversely affected on the power generation modules 1 and 2 in the internal space 30. That is, spot welding at multiple points may be used.
  • the power generation modules 1 and 2 are covered with an airtight case made of stainless steel, and a large number of P-type semiconductor elements and N-type semiconductor elements are alternately connected in a net-like manner inside the airtight case. ing.
  • the airtight case is not essential.
  • the internal space 30 may be sealed with a cover or the like.
  • the portions of the first outer plate 3 and the second outer plate 4 that are in contact with the power generation modules 1 and 2 are flat surfaces, but may have any curved shape. In short, a uniform stress should be applied to the power generation modules 1 and 2 as much as possible.
  • a low-temperature fin for exchanging heat with a low-temperature fluid may be provided in the duct 7.
  • the flow path of the low-temperature fluid in the duct 7 is divided, but the division is not essential.
  • the low-temperature fin may be formed integrally with the duct 7.
  • the low-temperature fins may be fins or rugged fins protruding from the inner wall surface of the duct 7.
  • the outer fins 5 and 6 made of stainless steel or aluminum are joined to the outer sides of the outer plates 3 and 4 made of iron plate or stainless steel plate by brazing or the like, but the outer fins 5 and 6 are joined to the outer plate. It may be formed integrally with 3 and 4 continuously. In this case, the outer fins 5 and 6 may be hook-shaped fins that protrude or protrude from the surfaces of the outer plates 3 and 4.
  • thermoelectric power generation apparatus 100 shown in the first embodiment When the thermoelectric power generation apparatus 100 shown in the first embodiment is used as one unit and a plurality of units are stacked to constitute the entire thermoelectric power generation apparatus, each unit is inserted into a frame that holds the unit. Then, the high-temperature fluid flows into the outer fins 5 and 6 between the units, and the low-temperature fluid is divided into the ducts 7.
  • thermoelectric generator Although the example of the exhaust of the automobile engine as the high-temperature fluid and the example of the engine cooling water as the low-temperature fluid are shown as the thermoelectric generator, the high-temperature gas of other industrial boilers may be used. Can be used as the thermoelectric generator
  • At least one power generation module may be provided.

Landscapes

  • Engineering & Computer Science (AREA)
  • Chemical & Material Sciences (AREA)
  • Combustion & Propulsion (AREA)
  • Mechanical Engineering (AREA)
  • General Engineering & Computer Science (AREA)
  • Manufacturing & Machinery (AREA)
  • General Electrical Machinery Utilizing Piezoelectricity, Electrostriction Or Magnetostriction (AREA)
  • Hybrid Cells (AREA)
  • Cooling Or The Like Of Electrical Apparatus (AREA)
PCT/JP2016/076910 2015-09-16 2016-09-13 熱電発電装置 Ceased WO2017047563A1 (ja)

Priority Applications (3)

Application Number Priority Date Filing Date Title
US15/758,887 US11024787B2 (en) 2015-09-16 2016-09-13 Thermoelectric power generation device
CN201680053445.3A CN108028616A (zh) 2015-09-16 2016-09-13 热电发电装置
EP16846434.5A EP3352367B1 (en) 2015-09-16 2016-09-13 Thermoelectric power generation device

Applications Claiming Priority (2)

Application Number Priority Date Filing Date Title
JP2015-183256 2015-09-16
JP2015183256A JP6358209B2 (ja) 2015-09-16 2015-09-16 熱電発電装置

Publications (1)

Publication Number Publication Date
WO2017047563A1 true WO2017047563A1 (ja) 2017-03-23

Family

ID=58288781

Family Applications (1)

Application Number Title Priority Date Filing Date
PCT/JP2016/076910 Ceased WO2017047563A1 (ja) 2015-09-16 2016-09-13 熱電発電装置

Country Status (5)

Country Link
US (1) US11024787B2 (enExample)
EP (1) EP3352367B1 (enExample)
JP (1) JP6358209B2 (enExample)
CN (1) CN108028616A (enExample)
WO (1) WO2017047563A1 (enExample)

Families Citing this family (3)

* Cited by examiner, † Cited by third party
Publication number Priority date Publication date Assignee Title
JP6777190B2 (ja) * 2019-05-08 2020-10-28 株式会社三洋物産 遊技機
KR102731580B1 (ko) 2019-12-03 2024-11-15 엘지이노텍 주식회사 발전장치
JP7533751B2 (ja) * 2022-12-26 2024-08-14 株式会社プロテリアル 排ガス用集熱部材およびそれを用いた熱電変換装置

Citations (4)

* Cited by examiner, † Cited by third party
Publication number Priority date Publication date Assignee Title
JPH1136981A (ja) * 1997-07-22 1999-02-09 Nissan Motor Co Ltd 排熱発電装置
JP2005223131A (ja) * 2004-02-05 2005-08-18 Toyota Motor Corp 内燃機関の熱電発電装置
WO2010084718A1 (ja) * 2009-01-21 2010-07-29 財団法人電力中央研究所 パッケージ熱電変換モジュール
JP2011101460A (ja) * 2009-11-04 2011-05-19 Toshiba Corp 熱電発電装置

Family Cites Families (18)

* Cited by examiner, † Cited by third party
Publication number Priority date Publication date Assignee Title
US20060157102A1 (en) * 2005-01-12 2006-07-20 Showa Denko K.K. Waste heat recovery system and thermoelectric conversion system
JP2006303037A (ja) * 2005-04-18 2006-11-02 Toyota Motor Corp 熱電発電装置
US7610993B2 (en) * 2005-08-26 2009-11-03 John Timothy Sullivan Flow-through mufflers with optional thermo-electric, sound cancellation, and tuning capabilities
WO2010112571A2 (de) * 2009-04-02 2010-10-07 Avl List Gmbh Thermoelektrische generatoreinheit
AT508401A1 (de) * 2009-07-09 2011-01-15 Avl List Gmbh Thermoelektrische generatoreinheit
JP5443952B2 (ja) 2009-11-18 2014-03-19 株式会社東芝 熱電発電装置
DE102009058674A1 (de) * 2009-12-16 2011-06-22 Behr GmbH & Co. KG, 70469 Thermoelektrische Einheit
JP4945649B2 (ja) 2010-03-02 2012-06-06 株式会社東芝 熱電発電装置および熱電発電システム
CN201966842U (zh) 2011-01-14 2011-09-07 江西纳米克热电电子股份有限公司 一种耐高温热电半导体发电装置
DE102011013622A1 (de) * 2011-03-11 2012-09-13 Faurecia Emissions Control Technologies, Germany Gmbh Thermoelektrische Generatoreinheit
DE102011076641B4 (de) * 2011-05-27 2023-02-23 Purem GmbH Wärmeübertragungsanordnung und Wärmeübertrager
US8933317B2 (en) * 2012-02-22 2015-01-13 Marlow Industries, Inc. Thermoelectric remote power source
US9306143B2 (en) * 2012-08-01 2016-04-05 Gentherm Incorporated High efficiency thermoelectric generation
DE102012214701A1 (de) * 2012-08-17 2014-02-20 Behr Gmbh & Co. Kg Thermoelektrische Vorrichtung
CN104919610A (zh) 2012-10-26 2015-09-16 日立化成株式会社 热电变换模块
KR101458421B1 (ko) * 2013-02-19 2014-11-07 백효정 더블 열전소자와 삼방밸브를 이용한 냉온수 매트용 냉온수 생성모듈, 상기 냉온수 생성모듈이 내장된 냉온수 보일러 및 냉온수 매트
JP6011485B2 (ja) * 2013-08-01 2016-10-19 トヨタ自動車株式会社 熱電発電装置
CN105071699B (zh) * 2015-08-06 2017-10-20 安溪县桃舟大富山林茶场 一种烟道热能发电装置

Patent Citations (4)

* Cited by examiner, † Cited by third party
Publication number Priority date Publication date Assignee Title
JPH1136981A (ja) * 1997-07-22 1999-02-09 Nissan Motor Co Ltd 排熱発電装置
JP2005223131A (ja) * 2004-02-05 2005-08-18 Toyota Motor Corp 内燃機関の熱電発電装置
WO2010084718A1 (ja) * 2009-01-21 2010-07-29 財団法人電力中央研究所 パッケージ熱電変換モジュール
JP2011101460A (ja) * 2009-11-04 2011-05-19 Toshiba Corp 熱電発電装置

Non-Patent Citations (1)

* Cited by examiner, † Cited by third party
Title
See also references of EP3352367A4 *

Also Published As

Publication number Publication date
JP2017060305A (ja) 2017-03-23
CN108028616A (zh) 2018-05-11
EP3352367A1 (en) 2018-07-25
EP3352367B1 (en) 2019-11-06
US11024787B2 (en) 2021-06-01
EP3352367A4 (en) 2019-02-06
US20180287035A1 (en) 2018-10-04
JP6358209B2 (ja) 2018-07-18

Similar Documents

Publication Publication Date Title
US10062826B2 (en) Thermoelectric device
JP5157681B2 (ja) 積層型冷却器
JP6081583B2 (ja) 熱電モジュール、熱交換器、排気システム及び内燃機関
US10777725B2 (en) Thermoelectric generator
CN104112817A (zh) 热电变换式发电装置
JP6390676B2 (ja) 熱電発電装置
JP6358209B2 (ja) 熱電発電装置
JP4432892B2 (ja) 半導体冷却構造
JP5909235B2 (ja) 特に自動車で電流を生成するための熱電装置
JP2017059821A5 (ja) 熱電発電装置
JP6331870B2 (ja) 積層式冷却器
JP6428749B2 (ja) 熱電発電装置
JP2008066459A (ja) 熱電素子モジュールおよびそれを用いた熱電変換装置
JP2010010195A (ja) 自動車用電子部品の冷却装置
WO2017212822A1 (ja) 熱電発電装置
JP2017060305A5 (enExample)
WO2017047562A1 (ja) 熱電発電装置及びその製造方法
WO2017126263A1 (ja) 熱電発電装置
CN108369987A (zh) 热电发电装置
WO2017126264A1 (ja) 熱電発電装置
JP2018191490A (ja) 熱電発電装置
JP2015138790A (ja) 熱電変換式発電装置

Legal Events

Date Code Title Description
121 Ep: the epo has been informed by wipo that ep was designated in this application

Ref document number: 16846434

Country of ref document: EP

Kind code of ref document: A1

WWE Wipo information: entry into national phase

Ref document number: 15758887

Country of ref document: US

NENP Non-entry into the national phase

Ref country code: DE

WWE Wipo information: entry into national phase

Ref document number: 2016846434

Country of ref document: EP