WO2017026169A1 - 電池パック - Google Patents

電池パック Download PDF

Info

Publication number
WO2017026169A1
WO2017026169A1 PCT/JP2016/067863 JP2016067863W WO2017026169A1 WO 2017026169 A1 WO2017026169 A1 WO 2017026169A1 JP 2016067863 W JP2016067863 W JP 2016067863W WO 2017026169 A1 WO2017026169 A1 WO 2017026169A1
Authority
WO
WIPO (PCT)
Prior art keywords
fluid
passage
battery
wall
side wall
Prior art date
Legal status (The legal status is an assumption and is not a legal conclusion. Google has not performed a legal analysis and makes no representation as to the accuracy of the status listed.)
Ceased
Application number
PCT/JP2016/067863
Other languages
English (en)
French (fr)
Japanese (ja)
Inventor
啓善 山本
井上 美光
山下 浩二
翔太 井口
Current Assignee (The listed assignees may be inaccurate. Google has not performed a legal analysis and makes no representation or warranty as to the accuracy of the list.)
Denso Corp
Original Assignee
Denso Corp
Priority date (The priority date is an assumption and is not a legal conclusion. Google has not performed a legal analysis and makes no representation as to the accuracy of the date listed.)
Filing date
Publication date
Application filed by Denso Corp filed Critical Denso Corp
Priority to US15/561,295 priority Critical patent/US10483604B2/en
Publication of WO2017026169A1 publication Critical patent/WO2017026169A1/ja
Anticipated expiration legal-status Critical
Ceased legal-status Critical Current

Links

Images

Classifications

    • HELECTRICITY
    • H01ELECTRIC ELEMENTS
    • H01MPROCESSES OR MEANS, e.g. BATTERIES, FOR THE DIRECT CONVERSION OF CHEMICAL ENERGY INTO ELECTRICAL ENERGY
    • H01M10/00Secondary cells; Manufacture thereof
    • H01M10/60Heating or cooling; Temperature control
    • H01M10/65Means for temperature control structurally associated with the cells
    • H01M10/655Solid structures for heat exchange or heat conduction
    • H01M10/6556Solid parts with flow channel passages or pipes for heat exchange
    • HELECTRICITY
    • H01ELECTRIC ELEMENTS
    • H01MPROCESSES OR MEANS, e.g. BATTERIES, FOR THE DIRECT CONVERSION OF CHEMICAL ENERGY INTO ELECTRICAL ENERGY
    • H01M10/00Secondary cells; Manufacture thereof
    • H01M10/60Heating or cooling; Temperature control
    • H01M10/61Types of temperature control
    • H01M10/613Cooling or keeping cold
    • HELECTRICITY
    • H01ELECTRIC ELEMENTS
    • H01MPROCESSES OR MEANS, e.g. BATTERIES, FOR THE DIRECT CONVERSION OF CHEMICAL ENERGY INTO ELECTRICAL ENERGY
    • H01M10/00Secondary cells; Manufacture thereof
    • H01M10/60Heating or cooling; Temperature control
    • H01M10/62Heating or cooling; Temperature control specially adapted for specific applications
    • H01M10/625Vehicles
    • HELECTRICITY
    • H01ELECTRIC ELEMENTS
    • H01MPROCESSES OR MEANS, e.g. BATTERIES, FOR THE DIRECT CONVERSION OF CHEMICAL ENERGY INTO ELECTRICAL ENERGY
    • H01M10/00Secondary cells; Manufacture thereof
    • H01M10/60Heating or cooling; Temperature control
    • H01M10/64Heating or cooling; Temperature control characterised by the shape of the cells
    • H01M10/647Prismatic or flat cells, e.g. pouch cells
    • HELECTRICITY
    • H01ELECTRIC ELEMENTS
    • H01MPROCESSES OR MEANS, e.g. BATTERIES, FOR THE DIRECT CONVERSION OF CHEMICAL ENERGY INTO ELECTRICAL ENERGY
    • H01M10/00Secondary cells; Manufacture thereof
    • H01M10/60Heating or cooling; Temperature control
    • H01M10/65Means for temperature control structurally associated with the cells
    • H01M10/655Solid structures for heat exchange or heat conduction
    • H01M10/6554Rods or plates
    • H01M10/6555Rods or plates arranged between the cells
    • HELECTRICITY
    • H01ELECTRIC ELEMENTS
    • H01MPROCESSES OR MEANS, e.g. BATTERIES, FOR THE DIRECT CONVERSION OF CHEMICAL ENERGY INTO ELECTRICAL ENERGY
    • H01M10/00Secondary cells; Manufacture thereof
    • H01M10/60Heating or cooling; Temperature control
    • H01M10/65Means for temperature control structurally associated with the cells
    • H01M10/656Means for temperature control structurally associated with the cells characterised by the type of heat-exchange fluid
    • H01M10/6561Gases
    • H01M10/6563Gases with forced flow, e.g. by blowers
    • HELECTRICITY
    • H01ELECTRIC ELEMENTS
    • H01MPROCESSES OR MEANS, e.g. BATTERIES, FOR THE DIRECT CONVERSION OF CHEMICAL ENERGY INTO ELECTRICAL ENERGY
    • H01M50/00Constructional details or processes of manufacture of the non-active parts of electrochemical cells other than fuel cells, e.g. hybrid cells
    • H01M50/20Mountings; Secondary casings or frames; Racks, modules or packs; Suspension devices; Shock absorbers; Transport or carrying devices; Holders
    • H01M50/204Racks, modules or packs for multiple batteries or multiple cells
    • H01M50/207Racks, modules or packs for multiple batteries or multiple cells characterised by their shape
    • H01M50/209Racks, modules or packs for multiple batteries or multiple cells characterised by their shape adapted for prismatic or rectangular cells
    • HELECTRICITY
    • H01ELECTRIC ELEMENTS
    • H01MPROCESSES OR MEANS, e.g. BATTERIES, FOR THE DIRECT CONVERSION OF CHEMICAL ENERGY INTO ELECTRICAL ENERGY
    • H01M50/00Constructional details or processes of manufacture of the non-active parts of electrochemical cells other than fuel cells, e.g. hybrid cells
    • H01M50/20Mountings; Secondary casings or frames; Racks, modules or packs; Suspension devices; Shock absorbers; Transport or carrying devices; Holders
    • H01M50/289Mountings; Secondary casings or frames; Racks, modules or packs; Suspension devices; Shock absorbers; Transport or carrying devices; Holders characterised by spacing elements or positioning means within frames, racks or packs
    • HELECTRICITY
    • H01ELECTRIC ELEMENTS
    • H01MPROCESSES OR MEANS, e.g. BATTERIES, FOR THE DIRECT CONVERSION OF CHEMICAL ENERGY INTO ELECTRICAL ENERGY
    • H01M2220/00Batteries for particular applications
    • H01M2220/20Batteries in motive systems, e.g. vehicle, ship, plane
    • YGENERAL TAGGING OF NEW TECHNOLOGICAL DEVELOPMENTS; GENERAL TAGGING OF CROSS-SECTIONAL TECHNOLOGIES SPANNING OVER SEVERAL SECTIONS OF THE IPC; TECHNICAL SUBJECTS COVERED BY FORMER USPC CROSS-REFERENCE ART COLLECTIONS [XRACs] AND DIGESTS
    • Y02TECHNOLOGIES OR APPLICATIONS FOR MITIGATION OR ADAPTATION AGAINST CLIMATE CHANGE
    • Y02EREDUCTION OF GREENHOUSE GAS [GHG] EMISSIONS, RELATED TO ENERGY GENERATION, TRANSMISSION OR DISTRIBUTION
    • Y02E60/00Enabling technologies; Technologies with a potential or indirect contribution to GHG emissions mitigation
    • Y02E60/10Energy storage using batteries

Definitions

  • the present disclosure relates to a battery pack having a plurality of battery cells housed inside a casing.
  • Patent Document 1 discloses a battery pack which accommodates a battery cell.
  • the battery pack of Patent Document 1 includes a plurality of batteries and a fan device that generates convection inside a housing mounted on an automobile. This battery pack forms a convection so that the air blown from the fan device contacts the battery in the casing, and circulates in the casing to cool the plurality of single cells.
  • the circulation path that returns from the blow-out portion of the fan device to the suction portion of the fan device through the periphery of the battery is defined so as to be forced to flow around all the batteries. Not a passage. Therefore, all the air blown by the fan device may return to the fan device as a shortcut without reaching around all the batteries. For this reason, it is difficult to distribute circulating air around each battery and absorb heat equally from each battery, and there is a possibility that effective heat dissipation through the housing wall cannot be performed.
  • This disclosure is intended to provide a battery pack capable of efficiently radiating heat from a casing and protecting the battery against an impact.
  • a battery pack includes a battery assembly including a plurality of batteries, a fluid driving member that drives a fluid that cools the battery assembly, a housing that houses the battery assembly and the fluid driving member, A fluid circulation path formed inside the housing, wherein the fluid flowing out from the fluid drive member exchanges heat with the battery, and then forms a series of fluid flow paths flowing into the fluid drive member; A plurality of beams provided integrally on the bottom wall of the housing and supporting the battery assembly from below.
  • the circulation passage is a first fluid passage provided between the wall of the housing and the battery assembly that serves as a heat radiating portion that contacts the fluid flowing out from the fluid driving member and releases heat to the outside of the housing.
  • the first fluid passage, the inter-battery passage, and the second fluid passage are a series of passages provided so that the fluid flowing through the first fluid passage passes through the inter-battery passage and then flows into the second fluid passage.
  • the second fluid passage is a passage surrounded by at least the beam, the bottom wall, and the lower end portion of the battery assembly.
  • the circulation passage is configured so that the fluid flowing through the first fluid passage passes through the inter-battery passage and then flows into the second fluid passage, the fluid that has flowed out of the fluid driving member is the first fluid. It can prevent flowing into the second fluid passage before passing through the passage. Therefore, the fluid that has flowed out of the fluid driving member flows through the first fluid passage and the inter-battery passage in order, and then flows into the fluid driving member through the second fluid passage. According to this, it becomes possible to dissipate heat to the outside of the housing when the fluid carrying the heat absorbed from the unit cells in the inter-battery passage flows through the first fluid passage. Can be implemented.
  • each beam functions as a reinforcing member, and the strength of the housing can be improved. Since the plurality of unit cells are installed on each beam, even if an impact is applied from the outside of the housing, the impact can be received by each beam. Therefore, it is possible to provide a battery pack capable of efficiently radiating heat from the casing and protecting the battery against impact.
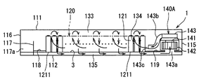
  • FIG. 2 is an arrow view in the II-II cross section of FIG. 1.
  • FIG. 3 is an arrow view in the III-III cross section of FIG. 1.
  • FIG. 4 is an arrow view in the IV-IV cross section of FIG. 1.
  • It is a disassembled perspective view which shows an internal fin.
  • It is a perspective view which shows an external fin.
  • It is a perspective view which shows the fluid flow in connection with the internal fin in a housing
  • the battery pack 1 of the first embodiment will be described with reference to FIGS.
  • the battery pack 1 is used in, for example, a hybrid vehicle using a motor driven by electric power charged in a battery and an internal combustion engine as a travel drive source, an electric vehicle using a motor as a travel drive source, and the like.
  • the plurality of single cells 121 included in the battery pack 1 are, for example, a nickel metal hydride secondary battery, a lithium ion secondary battery, an organic radical battery, or the like.
  • the battery pack 1 is installed in a pack accommodation space such as a trunk room of a vehicle or a back area of the trunk room provided below the trunk room.
  • the pack storage space may be a place where spare tires, tools, and the like can be stored, for example.
  • the battery pack 1 is installed in the battery pack accommodation space with the bottom wall 112 and the bottom wall side passage 135 positioned downward.
  • the battery pack 1 may be installed below a front seat or a rear seat provided in a vehicle cabin.
  • the battery pack 1 is installed below the front seat, the rear seat, and the like with the bottom wall 112 and the bottom wall side passage 135 positioned downward.
  • the space where the battery pack 1 is installed below the rear seat may be communicated with the trunk room back area below the trunk room.
  • the installation space can also be configured to communicate with the outside of the vehicle.
  • Fr indicates the vehicle front side
  • Rr indicates the vehicle rear side
  • RH indicates the vehicle right side
  • LH indicates the vehicle left side.
  • the direction Rr and the direction Fr are battery stacking directions.
  • the direction of Fr-Rr may be referred to as the front-rear direction or the battery stacking direction.
  • the direction of RH-LH may be referred to as the left-right direction.
  • the direction in which gravity acts is sometimes referred to as the up-down direction.
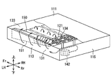
  • the battery pack 1 is formed by electrically connecting a casing 110 that forms a sealed internal space isolated from the outside, and a plurality of cells 121 that are housed in the casing 110 and are connected to be energized.
  • a battery assembly 120 configured. One or a plurality of battery assemblies 120 are housed in the housing 110 to form an assembled battery of the battery pack 1.
  • a housing 110 accommodates a circulation passage 130 through which a fluid that cools each unit cell 121 of the battery assembly 120 circulates and a blower 140 that circulates the fluid through the circulation passage 130.
  • An example of the battery assembly 120 is a battery stack in which a plurality of unit cells 121 are stacked and formed integrally with a main surface that is a surface having the largest surface area facing each other.
  • the first internal fins 150 and the second internal fins 151 are provided inside the casing 110, and the first external fins 160 and the second external fins 161 are provided outside the casing 110 ( (See FIGS. 5 and 6). Furthermore, as shown in FIG. 8, an external duct 170 having a blower 172 is provided outside the external fins 160 and 161 so as to cover the external fins 160 and 161.
  • the housing 110 includes two battery assemblies 120 arranged in the left-right direction, and two first blowers 140 ⁇ / b> A arranged in the left-right direction on the vehicle rear side of the battery assembly 120. And the second blower 140B.
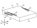
  • the casing 110 has a box shape composed of a plurality of walls surrounding the internal space, and is formed of a molded product of an aluminum plate or an iron plate.
  • the casing 110 is, for example, a rectangular parallelepiped flat in the vertical direction, and includes, for example, a top wall 111, a bottom wall 112, a side wall 113, a side wall 114, a side wall 115, and a side wall 116 that are six surfaces.
  • the housing 110 includes a partition wall 117 that partitions the inside, and a first beam 3 and a second beam 4 for reinforcement on the bottom wall 112. Further, the first beam 3 and the second beam 4 are provided with a blocking wall 118 and a blocking wall 119 on their upper surfaces.
  • the top wall 111 is a wall that forms the upper surface of the housing 110, and is a rectangular wall having long sides in the front-rear direction.
  • the bottom wall 112 is a wall that forms the lower surface of the housing 110, and has the same shape as the top wall 111.
  • the side wall 113 and the side wall 114 are walls that form the left and right surfaces of the casing 110, and are elongated rectangular walls having long sides in the front-rear direction.
  • the side wall 113 and the side wall 114 are in a positional relationship facing each other.
  • the side wall 115 and the side wall 116 are walls that form the front and rear surfaces of the housing 110, and are elongated rectangular walls having long sides in the left-right direction.
  • the side wall 115 and the side wall 116 are in a positional relationship facing each other.
  • the side walls 115 and 116 are provided so as to be orthogonal to the side walls 113 and 114.
  • the housing 110 may be manufactured by forming a space in the interior by joining and assembling a plurality of case bodies instead of using the walls 111 to 116. Moreover, you may make it form a some convex part or a recessed part in the surface of a predetermined wall among the several walls which form the housing
  • the direction along the long sides of the side walls 113 and 114 corresponds to the front-rear direction
  • the direction along the long sides of the side walls 115 and 116 corresponds to the left-right direction.
  • the partition wall 117 is a wall that is disposed near the side wall 116 inside the housing 110, is parallel to the side wall 116, and connects the side wall 113 and the side wall 114.
  • the partition wall 117 extends from the inner surface of the bottom wall 112 to an intermediate position in the vertical direction of the housing 110.
  • a space 117 a is formed between the partition wall 117 and the side wall 116.
  • a battery management unit is accommodated in the space 117a.
  • the battery management unit (Battery Management Unit) is configured to be communicable with various electronic control devices mounted on the vehicle.
  • the battery management unit is a device that manages at least the storage amount of the unit cell 121 and is an example of a battery control unit that performs control related to the unit cell 121.
  • the battery management unit may be a device that monitors current, voltage, temperature, and the like related to the unit cell 121 and manages an abnormal state, leakage, and the like of the unit cell 121.
  • the battery management unit receives a signal related to the current value detected by the current sensor. Similar to the vehicle ECU, the battery management unit includes an input circuit, a microcomputer, an output circuit, and the like. Battery information is stored as data in a memory member of the microcomputer. The stored battery information data includes, for example, the battery voltage, the charging current, the discharging current, and the battery temperature in the battery pack 1.
  • the battery management unit also functions as a control device that controls the operation of the first blower 140A, the second blower 140B, the blower 172, and the PTC heater 2.
  • the battery management unit receives temperature information detected by a temperature detector that detects the temperature of the unit cell 121.
  • the temperature detector is provided in each unit cell 121 or a predetermined unit cell 121 in the plurality of unit cells 121.
  • the temperature detector can be configured by a temperature detection line, a temperature sensor, or the like that outputs a signal to the battery management unit.
  • the battery management unit is configured to supply the first blower 140A, the second blower 140B, the blower 172, and the PTC heater 2. Control each operation.
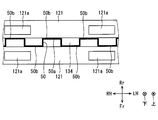
  • the first beam 3 and the second beam 4 are reinforcing members for improving the strength of the housing 110, and are arranged in the left-right direction inside the bottom wall 112.
  • the three beams are installed.
  • the three beams are the first beam 3 positioned near the side wall 113, the second beam 4 positioned in the middle portion between the side wall 113 and the side wall 114, and the first beam positioned near the side wall 114.
  • Each of the beams 3 and 4 has a long and narrow bar shape, and is installed on the bottom wall 112 such that the longitudinal direction thereof is directed in the front-rear direction in the housing 110 and is arranged at equal intervals in the left-right direction.
  • Each of the beams 3 and 4 is formed separately from the housing 110, and is, for example, a member having a rectangular or trapezoidal cross-sectional shape.
  • each of the beams 3 and 4 has a U-shaped or U-shaped cross section, and is fixed to the bottom wall 112 so that the opening portion faces downward.
  • a battery assembly 120 is placed on the upper surface of each beam 3, 4. Therefore, the beams 3 and 4 support the battery assembly 120 from below on the bottom wall 112 side of the casing 110.
  • the beams 3 and 4 are made of, for example, an aluminum material or an iron material.
  • the two first beams 3 are beams positioned at the outermost both sides in the left-right direction, and are installed along the side wall 113 and the side wall 114.
  • the first beam 3 is installed integrally in contact with the side wall 113 or the side wall 114 and the bottom wall 112, and functions to reinforce the side wall 113, the side wall 114, and the bottom wall 112.
  • the two first beams 3 and one second beam 4 are installed at equal intervals.
  • the distance between the center lines of the adjacent beams is set to be equal to the horizontal dimension of the unit cell 121.
  • the dimension between adjacent beams is set to be larger than the width dimension of one beam.
  • the width dimension of each beam 3, 4 is the length of each beam in the direction in which two first beams 3 and one second beam 4 are arranged.
  • the plate thickness of each beam 3, 4 is set to be thicker than the plate thickness of the bottom wall 112.
  • each beam 3 and 4 The length in the longitudinal direction of each beam 3 and 4 is set to be longer than the length in the stacking direction of the unit cells 121 in the entire battery assembly 120 as shown in FIG.
  • one end portion and the other end portion in the longitudinal direction of each beam 3, 4 extend so as to protrude outward in the front-rear direction from the battery assembly 120.
  • the outermost first beams 3 and the second beam 4 at the intermediate position are extended to the side wall 115 so that one end portion in the longitudinal direction is in contact with the side wall 115.
  • the other end in the longitudinal direction of each beam 3, 4 extends through the partition wall 117 and extends to the side wall 116 so as to contact the side wall 116.
  • the blocking wall 118 is a flat plate member, and is provided in each of the beams 3 and 4 to the outside in the front-rear direction, that is, to a position closer to the partition wall 117 than the area where the unit cells 121 are arranged.
  • the blocking wall 118 extends from the side wall 113 to the side wall 114 on the upper surface of each beam 3, 4 between the partition wall 117 and the battery assembly 120.
  • the space above the first beam 3 at both ends and the intermediate second beam 4 is blocked from the portion of the bottom wall 112 between the partition wall 117 and the battery assembly 120 by the blocking wall 118.
  • the blocking wall 118 is formed from an aluminum plate or an iron plate.
  • the blocking wall 119 is a flat plate member similar to the blocking wall 118 and is provided in each of the beams 3 and 4 to a position reaching the side wall 115 to the outside in the front-rear direction from the region where the unit cell 121 is disposed. Yes.
  • the blocking wall 119 extends from the side wall 113 to the side wall 114 on the upper surface of each beam 3, 4 between the side wall 115 and the battery assembly 120.
  • the space above the first beam 3 at both ends and the intermediate second beam 4 is blocked from the portion of the bottom wall 112 between the side wall 115 and the battery assembly 120 by the blocking wall 119.
  • the blocking wall 119 is formed from an aluminum plate or an iron plate.
  • the blocking wall 119 is provided with opening holes at positions corresponding to the suction ports 143a of the first blower 140A and the second blower 140B.
  • the two opening holes constitute two communication openings that allow the bottom wall side passage 135 and the two suction ports 143a to communicate with each other.
  • the unit cell 121 has a rectangular parallelepiped shape in which the outer case is flat in the front-rear direction, and includes electrode terminals 121a such as a positive electrode terminal and a negative electrode terminal that protrude outward from one end surface of the outer case.
  • the single battery 121 corresponds to a battery.
  • the battery assembly 120 is formed by stacking a plurality of unit cells 121 and constraining the stacked unit cells 121.
  • electrode terminals of different polarities in adjacent unit cells 121 are electrically connected by a conductive member such as a bus bar.
  • the connection between the bus bar and the electrode terminal is performed, for example, by screwing or welding. Therefore, the total terminal portions arranged at both ends of the plurality of unit cells 121 electrically connected by a bus bar or the like are supplied with electric power from the outside or discharged toward other electric devices.
  • the plurality of battery assemblies 120 are installed on the upper surfaces of the first beam 3 and the second beam 4.
  • the battery assembly 120 installed near the side wall 113 one end of the lower end 1211 on the side of the side wall 113 is supported from below by the first beam 3, and the other end of the lower end 1211 is the second beam. 4 is supported from below.
  • the battery assembly 120 installed near the side wall 114 has one end portion on the side wall 114 side of the lower end portion 1211 supported from below by the first beam 3, and the other end portion of the lower end portion 1211 is the second beam. 4 is supported from below.
  • each of the battery assembly 120 on the side wall 113 side and the battery assembly 120 on the side wall 114 side is supported by the first beam 3 and the second beam 4 at both ends in the left-right direction.
  • each first beam 3 is integrated with the bottom wall 112 and each battery assembly 120 in a state sandwiched between the bottom wall 112 and the battery assembly 120 on the side wall 113 side or the battery assembly 120 on the side wall 114 side.
  • the second beam 4 is integrated with the bottom wall 112 and the two battery assemblies 120 while being sandwiched between the bottom wall 112 and the two battery assemblies 120, thereby increasing the strength of the casing 110. It is increasing.
  • the circulation passage 130 is a passage that is formed inside the casing 110 and through which a fluid that exchanges heat around each unit cell 121 circulates, and includes a side wall-side passage 131, a side wall-side passage 132, a top wall-side passage 133, and a battery. A series of paths connecting the inter-passage path 134, the bottom wall side path 135, and the blower 140 is formed.
  • the side wall-side passage 131 is a first fluid passage that is orthogonal to both the top wall 111 and the bottom wall 112, extends parallel to the side wall 113, and is formed between the battery assembly 120 and the side wall 113.
  • the side wall-side passage 132 is a passage that is orthogonal to both the top wall 111 and the bottom wall 112, extends parallel to the side wall 114, and is formed between the battery assembly 120 and the side wall 114.
  • the top wall side passage 133 is a passage formed between the top wall 111 and the battery assembly 120 and extending parallel to the top wall 111.
  • the side wall side passage 131 and the top wall side passage 133 are connected inside the boundary portion between the top wall 111 and the side wall 113.
  • the side wall side passage 132 and the top wall side passage 133 are connected inside the boundary portion between the top wall 111 and the side wall 114. Therefore, the ceiling wall side passage 133 is a passage connected to both the side wall side passage 131 and the side wall side passage 132, and the fluid flowing through the side wall side passage 131 and the fluid flowing through the side wall side passage 132 can be mixed.
  • the inter-battery passage 134 is a passage formed between adjacent unit cells 121 in the battery assembly 120, and is a plurality of passages that connect the top wall side passage 133 and the bottom wall side passage 135. Therefore, the fluid flowing through the top wall side passage 133 is divided into the plurality of inter-battery passages 134 and merges in the bottom wall side passages 135 that have flowed out of the inter-battery passages 134.
  • the inflow portion of the inter-battery passage 134 is in a positional relationship facing the inflow portion of the bottom wall side passage 135 that is also the outflow portion of the inter-cell passage 134. Therefore, the fluid that has flowed into the inter-battery passage 134 from the top wall side passage 133 flows down and flows into the bottom wall side passage 135.
  • the bottom wall side passage 135 is formed as a space surrounded by at least the bottom wall 112, the lower end portion 1211 of the battery assembly 120, and the beams 3 and 4.
  • the bottom wall side passage 135 is a second fluid passage that is provided downstream of the inter-battery passage 134 and extends toward the inflow portion of the blower 140. Further, the bottom wall side passage 135 includes a space surrounded by the bottom wall 112, the blocking wall 118 and the beams 3 and 4, and a space surrounded by the bottom wall 112, the blocking wall 119 and the beams 3 and 4.
  • the bottom wall side passage 135 is a passage formed between the adjacent first beam 3 and the second beam 4 below each battery assembly 120.
  • the battery pack 1 is ,
  • Two bottom wall side passages 135 are arranged in the left-right direction and the passages extend in the front-rear direction or the battery stacking direction.
  • the two bottom wall side passages 135 constitute mutually independent passages in which no fluid enters and exits between the two passages.
  • the blower 140 is a fluid driving member that is housed in the housing 110 and forcibly circulates a heat exchange fluid in the circulation passage 130.
  • the blower 140 is configured to be disposed on the blocking wall 119 so that two of the first blower 140A and the second blower 140B are arranged.
  • the two blowers 140A and the blower 140B may be collectively referred to as the blower 140.
  • the fluid circulated in the circulation passage 130 for example, air, various gases, water, a refrigerant, or the like can be used.
  • the first blower 140A and the second blower 140B are installed between the side wall 115 and each battery assembly 120 inside the casing 110 so as to be symmetric with respect to the center line facing the front-rear direction of the casing 110.
  • the first blower 140A and the second blower 140B have a motor 141, a sirocco fan 142, and a fan casing 143, respectively.
  • the motor 141 is an electric device that rotationally drives the sirocco fan 142, and is provided above the sirocco fan 142.
  • the sirocco fan 142 is a centrifugal fan that sucks fluid in the direction of the rotation axis and blows out the fluid in the centrifugal direction.
  • the fan casing 143 is formed so as to cover the sirocco fan 142, and serves as an air guide member that sets the suction and discharge directions of the fluid by the sirocco fan 142.
  • the fan casing 143 includes a suction port 143a that opens below the sirocco fan 142, a blow-out duct 143b that guides the flow of the blown fluid, and a blow-out port 143c that opens at the tip of the blow-out duct 143b.
  • each blowing duct 143b extends once from the side surface of the sirocco fan 142 to the center side in the housing 110 and then makes a U-turn so as to be on the side wall side passage 131 side and the side wall side passage 132 side. Form a path to each of them.
  • the suction port 143a of the first blower 140A is disposed so as to correspond to the position of the communication opening of the blocking wall 119.
  • the suction port 143a of the second blower 140B is disposed so as to correspond to the position of the communication opening of the blocking wall 119.
  • the suction port 143a of the first blower 140A is connected to the bottom wall side passage 135 located on the side wall 114 side through the communication opening of the blocking wall 119.
  • the suction port 143 a of the second blower 140 ⁇ / b> B is connected to the bottom wall side passage 135 located on the side wall 113 side through the communication opening of the blocking wall 119.
  • the air outlet 143c of the first blower 140A is disposed so as to be connected to the side wall-side passage 131.
  • the air outlet 143c is located near the bottom wall 112 in the side wall-side passage 131, and is arranged to face the side wall 116 in the vicinity of the unit cell 121 that is closest to the side wall 115 among the plurality of unit cells 121 to be stacked.
  • the outlet 143c of the second blower 140B is arranged so as to be connected to the side wall passage 132.
  • the outlet 143c is located near the bottom wall 112 in the side wall passage 132 and faces the side wall 116 in the vicinity of the unit cell 121 closest to the side wall 115 among the stacked unit cells 121. Has been placed.
  • a heating device that heats the fluid to a predetermined temperature is provided at an intermediate position in the vertical direction in the fan casing 143.
  • a PTC heater 2 having a self-temperature control function is used as the heating device.
  • the first internal fin 150 is a fin for heat exchange that protrudes on the side of the side wall 113 and the inner surface of the side wall 114, and is used to dissipate the case through the side wall 113 and the side wall 114. Contribute. Therefore, the side wall 113 and the side wall 114 serve as a heat radiating portion that releases the heat to the outside of the housing 110 when the fluid flowing out from the first blower 140A and the second blower 140B comes into contact.
  • the second internal fin 151 is a heat exchange promoting fin that protrudes on the side wall 113 side and the side wall 114 side on the inner surface of the top wall 111, and contributes to heat radiation of the casing via the top wall 111.
  • the first internal fins 150 and the second internal fins 151 are formed from an aluminum material, an iron material, or the like that is excellent in thermal conductivity.
  • the first internal fins 150 are provided at two locations of the side wall 113 and the side wall 114 so as to be symmetric with respect to the center line facing the front-rear direction of the casing 110.
  • the second internal fins 151 are respectively provided on the side wall 113 side and the side wall 114 side of the top wall 111 so as to be symmetric with respect to the center line facing the front-rear direction of the casing 110.
  • straight fins that can set a flow resistance to a fluid relatively small are employed.
  • the straight fins are fins in which a large number of thin plate-like fin portions protruding vertically from the thin plate-like substrate portion are arranged in parallel, and a fluid passage is formed between the fin portions.
  • the substrate portion of the first internal fin 150 has an elongated right-angled triangle shape connecting the corner portion A, the corner portion B, and the corner portion C, and the corner portion B forms a substantially right angle.
  • the length of the long side AB extending in the front-rear direction is set to be equal to the length in the stacking direction of the cell stack 120A.
  • the length of the short side BC extending in the vertical direction is set to be slightly smaller than the vertical dimension of the side walls 113 and 114.
  • the board part is arranged so that the position in the front-rear direction corresponds to the position of the battery assembly 120.
  • the short side BC is located on the side wall 116 side
  • the corner A facing the short side BC is located on the side wall 115 side
  • the long side AB is arranged along the upper side of the side walls 113 and 114, and the substrate
  • the portions are joined to the inner surfaces of the side walls 113 and 114, respectively. Therefore, the oblique side CA of the substrate portion is a side inclined downward from the side wall 115 side toward the side wall 116 side.
  • the fin portion of the first internal fin 150 protrudes vertically from the substrate portion toward the plurality of unit cells 121, and the protruding tip portion has a plurality of single units so that more fluid flows through the fin portion.
  • the battery 121 extends to a position close to the side surface.
  • the plate surface of the fin portion is set to be inclined toward the side wall 116 from the lower side to the upper side with respect to the vertical direction.
  • the length of the fluid passage by a fin part becomes so long that it goes to the side wall 116 side from the side wall 115 side.
  • the substrate portion of the second internal fin 151 has an elongated triangular shape connecting the corner portion D, the corner portion E, and the corner portion F.
  • the length of the long side DE extending in the front-rear direction is set to be equal to the long side AB of the substrate portion of the first internal fin 150.
  • the substrate portions of the second internal fins 151 are arranged so that the position in the front-rear direction corresponds to the position of the first internal fins 150.
  • the short side EF is located on the side wall 115 side, the corner D facing the short side EF is located on the side wall 116 side, and the long side DE is arranged along the side of the top wall 111 in the front-rear direction.
  • the substrate portion of the second internal fin 151 is joined to the inner surface of the top wall 111 so as to be adjacent to the fin portion of the first internal fin 150.
  • the fin portion of the second internal fin 151 protrudes vertically from the substrate portion toward the plurality of unit cells 121, and the protruding tip portion has a plurality of protrusions so that more fluid flows through the fin portion. It extends to a position close to the upper surface of the unit cell 121.
  • the plate surface of the fin portion is set to be inclined toward the side wall 116 toward the center side of the housing 110 with respect to the left-right direction.
  • the length of the fluid passage by the fin portion is shortened from the side wall 115 side toward the side wall 116 side.
  • the fluid passage by the fin portion of the second internal fin 151 is connected to be continuous with the fluid passage by the fin portion of the first internal fin 150.
  • the first external fin 160 and the second external fin 161 are fins for promoting heat exchange provided outside the housing 110 as shown in FIG.
  • Each of the external fins 161 and 162 is formed of an aluminum material or an iron material having excellent thermal conductivity.
  • the first external fins 160 are respectively provided on the side wall 113 side and the side wall 114 side so as to be symmetric with respect to the center line facing the front-rear direction of the casing 110.
  • the second external fins 161 are respectively provided at two locations on the top wall 111 on the side wall 113 side and the side wall 114 side so as to be symmetric with respect to the center line facing the front-rear direction of the housing 110.
  • corrugated fins that can set heat transfer performance with respect to a fluid relatively large are employed for the external fins 160 and 161.
  • the corrugated fin has a wave shape as a whole, and a large number of louvers are formed on the wavy surfaces facing each other, and a fluid passage is formed between the wavy surfaces facing each other and between the louvers. Is done.
  • the external fins 160 and 161 may be straight fins such as the internal fins 150 and 151, corrugated fins without louvers, offset fins, or the like.
  • the first outer fins 160 are provided as a set of a plurality of, for example, two, and in the side wall 113 and the side wall 114, the wave continuation direction is the front-rear direction at a position corresponding to the first inner fin 150. And slightly offset to the side wall 116 side.
  • a plurality of, for example, two, second external fins 161 are provided as a set.
  • the second external fin 161 has, on the side wall 113 and side wall 114 side of the top wall 111, the direction in which the wave continues at the position corresponding to the second internal fin 151 is directed in the front-rear direction, and slightly more than the first external fin 160, It arrange
  • the external duct 170 is a duct that allows fluid to flow along the outer surface of the housing 110.
  • the fluid for example, air conditioned in the passenger compartment is used.
  • the external duct 170 has a flat cross-sectional shape and is provided on the outer surface of the housing 110, for example, the side wall 113, the side wall 114, the side wall 113 side, the side wall 114 side, and the side wall 115 of the top wall 111.
  • the external duct 170 includes the external fin 160 and the external fin 161.
  • the outer duct 170 has suction portions that suck in the conditioned air at both ends on the side wall 116 side.
  • a wind direction device 171 for diverting the sucked conditioned air to the lower side of the first external fin 160 and the center side of the housing 110 from the second external fin 161 is provided on the downstream side immediately after the suction portion.
  • a blower 172 is provided at the center on the side of the side wall 115 inside the external duct 170, and an upper part and a lower part of the blower 172 serve as blow-out portions that blow out conditioned air.
  • a turbo fan is used for example.
  • the inter-battery passage 134 is a passage formed between the stacked unit cells 121 and the unit cells 121 in the battery assembly 120, and is provided between the adjacent unit cells 121.
  • the spacer member 5 is formed. As shown in FIGS. 11 and 12, the spacer member 5 includes a partition wall portion 50 that partitions the unit cell 121 and the unit cell 121.
  • the spacer member 5 mainly includes a partition wall 50, side walls 51 provided so as to cover the side surfaces of the unit cells 121 at both ends of the partition wall 50, and each unit cell 121 positioned on both sides of the partition wall unit 50. And a regulating portion 52 that partially covers the upper surface.
  • the spacer member 5 is formed of resin, for example, and the respective parts are integrally formed.
  • the spacer member 5 also has a function of insulating between single cells located on both sides.
  • the partition wall 50 has a flat plate shape and is opposed to the main surface of the unit cell 121 and has a size covering the main surface.
  • the main surface of the unit cell 121 is the surface having the largest area in the flat unit cell 121.
  • the partition wall portion 50 is formed with a plurality of groove portions 50a each extending in the vertical direction with a length equivalent to the vertical length of the main surface.
  • the plurality of groove portions 50a are arranged in the left-right direction with a predetermined interval. Therefore, the partition wall part 50 has the flat part 50b elongate in the up-down direction located between the adjacent groove parts 50a and the groove parts 50a.
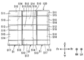
  • the restraining member 6 restrains both end surfaces of the battery assembly 120 in the stacking direction by applying a binding force that presses the battery assembly 120 in the stacking direction.
  • the side wall 51 covers the side surfaces of the unit cells 121 and restrains the plurality of unit cells 121 in a state where the battery assembly 120 is formed by alternately stacking the spacer members 5 and the unit cells 121. This is the part that contacts the member 6. Therefore, the side wall 51 also has a function of protecting the side surface of the unit cell 121 from the restraining member 6.
  • Side wall part 51 has one side wall part that occupies half on one side in the battery stacking direction and the other side wall part that occupies half on the other side.
  • one side wall portion is described as the vehicle front side
  • the other side wall portion is described as the vehicle rear side.
  • the other side wall portion of the spacer member 5 located on the vehicle front side is one of the spacer members 5 on the vehicle rear side located next to the spacer member 5 on the vehicle front side. It comes to be located inside the side wall. That is, the one side wall portion of the spacer member 5 on the vehicle rear side overlaps both wall portions so as to cover the other side wall portion of the spacer member 5 on the vehicle front side from the outside. For this reason, in each spacer member 5, one side wall part has a shape in which each part protrudes outward in the left-right direction as a whole than the other side wall part.
  • the side wall portion includes an upper convex portion 511, an intermediate convex portion 512, a lower convex portion 513, an upper flat portion 510 connecting the upper convex portion 511 and the intermediate convex portion 512, a lower convex portion 513, and an intermediate convex portion.
  • the lower flat portion 510 that connects the portion 512 is integrally formed.
  • the other side wall portion includes an upper convex portion 515, an intermediate convex portion 516, a lower convex portion 517, an upper flat portion 514 connecting the upper convex portion 515 and the intermediate convex portion 516, a lower convex portion 517, and an intermediate convex portion.
  • the lower flat portion 514 that connects the portion 516 is integrally formed.
  • Adjacent spacer members 5 are an upper convex portion 511, an intermediate convex portion 512, a lower convex portion 513, an upper flat portion 510, and a lower flat portion 510, which are an upper convex portion 515, an intermediate convex portion 516, and a lower convex portion, respectively.
  • 517, the upper flat part 514, and the lower flat part 514 are covered from the outside. That is, the upper convex portion 511 is a convex portion larger than the upper convex portion 515 and has a larger outward projecting dimension, and the lower convex portion 513 is larger than the lower convex portion 517 and has an outer projecting dimension. It is set large.
  • the intermediate convex portion 512 is a convex portion having a larger outward projecting dimension than the intermediate convex portion 516.
  • the side wall 51 constitutes a wall having a step in the battery stacking direction or the front-rear direction so that the one side wall protrudes outward from the other side wall.
  • the intermediate convex portion 512 is formed in an intermediate convex portion 516
  • the upper convex portion 511 is formed in an upper convex portion 515
  • the lower convex portion 513 is formed in a lower convex portion 517.
  • the upper flat portion 510 is provided at a position where the upper flat portion 514 can overlap
  • the lower flat portion 510 is provided at a position where the lower flat portion 514 can overlap inside.
  • the corresponding portions of the one side wall portion and the other side wall portion overlap each other, so that the strength of the side wall portion of the spacer member 5 stacked alternately with the unit cells 121 is improved. be able to.
  • the restraining member 6 spans the overlapping portion of the upper flat portion 510 and the upper flat portion 514 and the overlapping portion of the lower flat portion 510 and the lower flat portion 514 in the battery stacking direction. Is done. Therefore, the configuration in which the one side wall portion overlaps the other side wall portion also contributes to suppressing damage to the unit cell 121 by the restraining member 6.
  • the one side wall part and the other side wall part have an uneven shape in which convex and concave surfaces are alternately arranged in the vertical direction. Therefore, it is possible to prevent the adjacent spacer member 5 and the spacer member 5 from being displaced in the vertical direction. Further, since the side wall 51 has a step formed in the battery stacking direction by the one side wall and the other side wall, the displacement of the spacer member 5 in the battery stacking direction can be restricted, and the battery stacking direction between the members in the battery stacking direction can be restricted. Misalignment can also be prevented.
  • the regulating portion 52 is a plate-like portion that has a predetermined length in the left-right direction from the upper end portion of the partition wall portion 50 and protrudes on both sides in the battery stacking direction with respect to the partition wall portion 50.
  • the regulating portion 52 is provided at a position facing the central portion of the upper end surface of both the unit cells 121 sandwiching the spacer member 5 from both sides and contacting or slightly separating this portion. It is done. Therefore, the restricting portion 52 can restrict the upward displacement of the unit cell 121 as illustrated in FIGS. 9 and 10.
  • the restricting portion 52 is provided with a rib protruding upward from the surface thereof. The plurality of ribs contribute to improving the strength of the restricting portion 52 and contribute to increasing the displacement restricting force of the unit cell 121 by the restricting portion 52.
  • the upper convex portion 515 is provided with a ceiling wall portion 518 having a predetermined length in the battery stacking direction and protruding inward.
  • the lower convex portion 517 is provided with a bottom wall portion 519 having a predetermined length in the battery stacking direction and protruding inward.
  • the top wall portion 518 supports both end portions in the left-right direction on the upper end surface of the unit cell 121.
  • the bottom wall portion 519 supports both end portions in the left-right direction on the lower end surface of the unit cell 121.
  • the spacer member 5 can be held from above and below the unit cell 121 by the support force of the top wall portion 518 and the bottom wall portion 519.
  • the bottom wall portion 519 corresponds to the lower end portion 1211 of the battery assembly 120 supported from below by the first beam 3 and the second beam 4.
  • each spacer member 5 supports the adjacent unit cell 121 so as to surround the side surface, the upper surface and the lower surface thereof. Therefore, the spacer member 5 suppresses not only the battery stacking direction but also the displacement of the unit cell 121 in the vertical direction and the horizontal direction with respect to the spacer member 5, and the restraining force of the restraining member 6 is less likely to act. Provides support.
  • the unit cell 121 self-heats at the time of output from which current is taken out and at the time of input to be charged.
  • the unit cell 121 is affected by the temperature outside the housing 110 according to the season.
  • the battery management unit constantly monitors the temperature of the unit cell 121 using a temperature detector, and controls the operations of the first blower 140A, the second blower 140B, the blower 172, and the PTC heater 2 based on the temperature of the unit cell 121.
  • the battery management unit applies a voltage controlled to a duty ratio of an arbitrary value included in 0% to 100% with respect to the maximum voltage to the first blower 140A and the second blower 140B according to the temperature of the unit cell 121. Then, the rotation speed of the sirocco fan 142 is varied. Depending on the temperature of the unit cell 121, the PTC heater 2 may be operated together with the first fan 140A and the second fan 140B, or the fan 172 may be operated together with the first fan 140A and the second fan 140B.
  • the internal fluid in the housing 110 circulates in the circulation passage 130 as shown in FIGS.
  • the fluid is sucked in from the suction ports 143a of the first blower 140A and the second blower 140B, and the fluid blown out from the blowout port 143c through the blowout duct 143b is the side wall side passage 131 and the side wall side passage, respectively. Flows into 132.
  • each of the side wall side passage 131 and the side wall side passage 132 flows smoothly from the bottom wall 112 side toward the top wall 111 side along the inclined fin portions of the first internal fins 150.
  • Each of the side wall-side passage 131 and the side wall-side passage 132 is a flat cross-section passage extending long along its long side, and other top wall-side passages 133, It is smaller than the inter-battery passage 134 and the bottom wall side passage 135. For this reason, the flow velocity of the fluid can be secured to some extent, and here, the dynamic pressure is a dominant field. Therefore, in each of the side wall-side passage 131 and the side wall-side passage 132, the heat of the fluid accompanying the flow velocity is effectively transmitted to the first internal fin 150, and further released to the outside through the side wall 113 and the side wall 114.
  • the fluid flows smoothly into the fin portion of the second internal fin 151 continuously connected to the first internal fin 150 and flows into the top wall side passage 133 along this fin portion.
  • the inlet cross-sectional area when flowing into the top wall 111 is much larger than the inlet cross-sectional area when flowing into the side wall passage 131 and the side wall passage 132, and the flow velocity of the fluid is small.
  • static pressure is the dominant field. Therefore, the fluid that has flowed into the top wall side passage 133 from each of the side wall side passage 131 and the side wall side passage 132 easily reaches the top wall side passage 133 equally.
  • the fluid flowing into the top wall side passage 133 from the side wall side passage 131 mainly spreads above the battery assembly 120 on the side wall 113 side.
  • the fluid that flows into the top wall side passage 133 from the side wall side passage 132 mainly spreads above the battery assembly 120 on the side wall 114 side.
  • the heat of the fluid flowing into the ceiling wall side passage 133 is transmitted from the second internal fin 151 to the ceiling wall 111 or directly transmitted to the ceiling wall 111 and released to the outside.
  • the fluid flowing into the top wall side passage 133 passes through the inter-battery passages 134 and reaches the bottom wall side passage 135.
  • the side wall-side passage 131, the side wall-side passage 132, and the top wall-side passage 133 become positive pressure spaces by the blowout of the first blower 140A and the second blower 140B, respectively.
  • the bottom wall side passage 135 becomes a negative pressure space by suction of each of the first blower 140A and the second blower 140B, and fluid movement from the top wall side passage 133 side to the bottom wall side passage 135 side is caused by the pressure difference between the two. It will be done continuously.
  • the heat of each unit cell 121 is transferred to the fluid.
  • each bottom wall side passage 135 flows down between the beams along the bottom wall 112 and reaches the suction port 143a of the first blower 140A and the suction port 143a of the second blower 140B.
  • the heat of the fluid flowing down the bottom wall side passage 135 is transmitted to the bottom wall 112 and released to the outside.
  • the fluid circulates through the circulation passage 130 in the housing 110, so that the heat of the fluid, that is, the heat of the unit cell 121 is released to the outside from the side wall 113, the side wall 114, the top wall 111, and the bottom wall 112. .
  • heat exchange is promoted by the first internal fin 150 and the second internal fin 151 on the side wall 113, the side wall 114, and the top wall 111.
  • the PTC heater 2 is operated in addition to the operations of the first blower 140A and the second blower 140B as described above. At this time, the fluid flowing through the blowout duct 143 b is heated by the PTC heater 2. As the heated fluid circulates through the circulation passage 130 in the housing 110, each cell 121 is heated to a temperature at which it can operate properly by the heated fluid. Is done.
  • the blower 172 is operated in addition to the operations of the first blower 140A and the second blower 140B. In this case, the conditioned air in the passenger compartment is sucked into the external duct 170 from the suction portion of the external duct 170.
  • the conditioned air sucked into the external duct 170 is diverted by the wind direction device 171, and below the first external fin 160 and to the center side of the casing 110 of the second external fin 161. It is diverted towards.
  • the respective flows pass through and merge with each of the external fins 160 and 161, and are blown out from a blowing portion provided at the upper and lower portions of the blower 172.
  • the heat of the fluid in the housing 110 is air-conditioned through the first internal fins 150, the second internal fins 151, the side walls 113, the side walls 114, the top wall 111, the first external fins 160, and the second external fins 161. It is transmitted to the air and released to the outside. Therefore, heat exchange of the fluid in the housing 110 is further promoted by the external fins 160 and 161 in addition to the internal fins 150 and 151. Thereby, each cell 121 is forcibly cooled to an appropriate temperature in a short time.
  • the battery assembly 120, the circulation passage 130, the first blower 140A, and the second blower 140B are provided in the housing 110. Furthermore, by providing the PTC heater 2, the first internal fin 150, and the second internal fin 151, the temperature control and heating of each unit cell 121 without leaking the operation sound of the first blower 140 ⁇ / b> A and the second blower 140 ⁇ / b> B into the vehicle interior. Can be performed appropriately. Furthermore, by providing the first external fin 160, the second external fin 161, the external duct 170, and the blower 172, forced cooling at high temperatures can be performed.
  • the battery pack 1 includes a battery assembly 120, a fluid drive member that drives a fluid that cools the battery assembly 120, and a housing 110 that houses the battery assembly 120 and the fluid drive member.
  • a circulation passage 130 is provided inside the housing 110 to form a series of air flow paths for the fluid flowing out from the fluid driving member to exchange heat with the unit cells 121 and then flowing into the fluid driving member.
  • the battery pack 1 further includes a plurality of beams 3 and 4 that are integrally provided on the bottom wall 112 of the housing 110 and support the battery assembly 120 from below.
  • the circulation passage 130 includes a first fluid passage provided between the side walls 113 and 114 that dissipate heat from the fluid that has flowed out of the fluid driving member and the battery assembly 120, an inter-battery passage 134, and a second fluid passage. And comprising.
  • the second fluid passage is a passage that is provided downstream of the inter-battery passage 134 and extends toward the inflow portion of the fluid drive member. The fluid flowing through the first fluid passage flows through the inter-battery passage 134 and then flows into the second fluid passage.
  • the second fluid passage is a passage surrounded by at least the beams 3 and 4, the bottom wall 112, and the lower end portion 1211 of the battery assembly 120.
  • the circulation passage 130 is configured so that the fluid flowing through the first fluid passage passes through the inter-battery passage 134 and then flows into the second fluid passage. For this reason, it is possible to prevent the fluid that has flowed out of the fluid driving member from flowing into the second fluid passage before passing through the first fluid passage. Therefore, the fluid that has flowed out of the fluid driving member flows through the first fluid passage and the inter-battery passage 134 in order, and then flows into the fluid driving member through the second fluid passage. According to this, the fluid carrying the heat absorbed from the unit cell 121 in the inter-battery passage 134 can be circulated through the first fluid passage.
  • the battery pack 1 that can dissipate the housing can be provided.
  • the strength of the housing 110 can be improved by using the beams 3 and 4 as reinforcing members. Since the plurality of unit cells 121 are installed on the beams 3 and 4, even if an impact is applied from the outside of the housing 110, the cells 3 and 4 can receive the impact. The cell 121 can be protected from impact. Therefore, the battery pack 1 can achieve efficient heat dissipation from the casing and protection of the battery against impact.
  • the battery pack 1 realizes efficient heat dissipation from the housing, it is possible to suppress an increase in circulating air volume by operating the fluid drive member at a high output. Therefore, it is possible to obtain the battery pack 1 that can suppress noise to the outside of the casing and can suppress energy consumption such as power consumption for operating the fluid driving member.
  • the circulation passage 130 is configured such that the entire amount of the fluid flowing through the first fluid passage passes through the inter-battery passage 134 and then flows into the second fluid passage. For this reason, it is possible to prevent the fluid that has flowed out of the fluid driving member from flowing into the second fluid passage before passing through the first fluid passage. Accordingly, the fluid that has flowed out of the fluid drive member flows through the first fluid passage and the inter-battery passage 134 in order, and then all of the fluid flows into the fluid drive member through the second fluid passage.
  • the whole amount of the fluid that carries the heat absorbed from the unit cell 121 in the inter-battery passage 134 can be circulated through the first fluid passage.
  • the heat can be radiated to the outside of the housing 110, and the efficiency of heat dissipation from the housing through the housing 110 can be improved.
  • the bottom wall side passage 135 constituting a part of the circulation passage 130 is partitioned by using the walls forming the reinforcing beams 3 and 4 and the bottom wall 112. For this reason, the beam member for reinforcement can be utilized for passage formation, the number of members can be reduced, and the cost can be reduced by utilizing a beam having a simple shape. Therefore, the bottom wall side passage 135 can be constructed without installing a separate duct inside the housing 110.
  • each beam 3, 4 is used as a member for forming a part of the bottom wall side passage 135, and therefore, compared with the case where the beam is provided only for reinforcing the housing 110, Increase in size can be suppressed.
  • the battery assembly 120 includes a plurality of spacer members 5 that are interposed between the unit cells 121 and the unit cells 121 to form the inter-battery passages 134.
  • the spacer member 5 has a side wall 51 that covers a side surface of the battery assembly 120 that extends in the vertical direction of the unit cell 121.
  • the side wall 51 is a wall portion that defines the inter-battery passage 134 so that the fluid that flows into the inter-battery passage 134 from above the unit cell 121 flows downward and into the bottom wall side passage 135 that is the second fluid passage. It is.
  • the spacer having a function of forming the inter-battery passage 134, preventing a fluid shortcut from the first fluid passage to the second fluid passage, protecting the side wall of the battery assembly 120, and improving the strength.
  • the member 5 can be provided.
  • At least one of the plurality of beams 3 and 4 is provided in the casing 110 such that the end in the longitudinal direction is closer to the wall of the casing 110 than the battery assembly 120. According to this configuration, the end portions in the longitudinal direction of the first beam 3 and the second beam 4 extend outward from the region where the plurality of unit cells 121 are arranged. According to this, when an impact is applied to the battery pack 1, it is possible to increase a region where the impact is absorbed by the beam, so that the unit cell 121 can be more effectively protected.
  • At least one of the plurality of beams 3 and 4 is provided such that the end portion in the longitudinal direction is in contact with the wall of the casing 110.
  • it can be set as the structure where a clearance gap is not formed between the edge part of the longitudinal direction of the 1st beam 3 or the 2nd beam 4, and the wall of the housing
  • FIG. Thereby, when an impact is applied to the battery pack 1, it is possible to suppress a range in which the housing 110 is largely deformed due to the strength improvement effect provided by the beam. For example, it is possible to suppress damage to the electrical components in the housing 110 and the unit cell 121.
  • a battery pack 101 which is another form of the battery pack 1 of the first embodiment will be described with reference to FIGS. 15 to 17.
  • symbol as drawing of 1st Embodiment is a similar component, and there exists the same effect.
  • content different from the first embodiment will be described.
  • the battery pack 101 includes a communication path 8 in which a bottom wall side path 135 and a bottom wall side path 135 corresponding to each of two battery assemblies arranged in the left-right direction communicate with each other as compared with the battery pack 1.
  • the inner space surrounded by the inner surface of the second beam 104 and the bottom wall 112 has a bottom wall side passage 135 on the left side of the vehicle on one side and a bottom wall on the right side of the vehicle on the other side.
  • a communication passage 8 that communicates with the side passage 135 is formed.
  • the second beam 104 penetrates through each of the side walls of the second beam 104 facing the bottom wall-side passage 135 located on both sides of the second beam 104.
  • a hole 104a is provided.
  • the aforementioned inner space constitutes the communication passage 8 by being connected to each bottom wall side passage 135 by each through hole 104a. Therefore, the communication passage 8 functions as a part of the bottom wall side passage 135 located below the battery assembly 120.
  • the passage cross-sectional area of the bottom wall side passage 135 located downstream of the inter-battery passage 134 can be formed large. , Distribution resistance can be reduced.
  • an elastically deformable belt-like seal member 7 provided over the entire length of the battery assembly 120 in the battery stacking direction is provided.
  • One strip-shaped seal member 7 is also provided between the second beam 4 and the lower end portion 1211 of each battery assembly 120.
  • Each seal member 7 is elastically deformed, thereby improving adhesion to the battery assembly 120 and the beams 3 and 4 and contributing to separating the side wall side passage and the bottom wall side passage so that fluid does not enter and exit.
  • the seal member 7 can be formed of natural rubber, synthetic rubber, various packing materials, or the like.
  • the battery pack 101 includes the seal member 7 that prevents the fluid from flowing between the first beam 3 and the second beam 4 and each battery assembly 120.
  • the seal member 7 interposed between the first beam 3 and the battery assembly 120 is connected from the side wall side passage 131 or the side wall side passage 132 that is the first fluid passage to the bottom wall side passage 135 that is the second fluid passage. Block fluid inflow.
  • each of the side wall-side passage 131 and the side wall-side passage 132 is It is possible to prevent fluid from leaking into the bottom wall side passage 135.
  • the battery pack included in the battery pack is two, but is not limited to two. That is, when only one battery assembly included in the battery pack is accommodated inside the casing, when a plurality of battery assemblies are installed side by side in one direction, a plurality of battery assemblies are also provided in other directions intersecting the one direction. This includes cases where they are installed side by side.
  • the casing 110 forms a hexahedron and a rectangular parallelepiped, but the casing is not limited to this shape.
  • the casing 110 may be a polyhedron having more than six surfaces, or at least one surface may include a curved surface.
  • casing 110 may be formed in the dome shape in which a top wall contains a curved surface, and the longitudinal cross-sectional shape of a housing
  • the top wall is a wall having a positional relationship facing the bottom wall, and the shape thereof may include either a flat surface or a curved surface.
  • the side wall may be a wall extending from the bottom wall in a direction intersecting the bottom wall, or may be a wall extending from the top wall in a direction intersecting the top wall.
  • the boundary between the top wall and the side wall of the housing 110 may form a corner or a curved surface.
  • the boundary between the bottom wall and the side wall in the housing 110 may form a corner or a curved surface.
  • three beams are provided between the bottom wall and the battery assembly.
  • two or four or more beams may be provided.
  • each beam 3, 4 on the side wall 116 side may be set at a position equivalent to the end of the battery assembly 120.
  • each of the beams 3 and 4 may be a hollow member or a solid member.
  • each beam 3, 4 may be formed integrally by fixing a member different from the bottom wall to the bottom wall or side wall, or by forming a convex portion that projects the bottom wall into the housing. 3 and 4 may be formed.
  • the fluid is circulated through the circulation passage 130 using a plurality of blowers.
  • the fluid may be circulated through the circulation passage 130 using one blower.
  • an axial flow fan, a turbo fan, or the like can be used as the fan of the blower included in the battery pack.
  • the PTC heater 2 may be provided not only inside the fan casing 143 but also outside the fan casing 143 inside the housing 110.
  • the inner fin and the outer fin in the above-described embodiment may be those in which fins that are separate parts are fixed to the wall of the housing 110, or a part of the wall of the housing 110 is formed in a fin shape. It may be a fin.

Landscapes

  • Chemical & Material Sciences (AREA)
  • Chemical Kinetics & Catalysis (AREA)
  • Electrochemistry (AREA)
  • General Chemical & Material Sciences (AREA)
  • Engineering & Computer Science (AREA)
  • Manufacturing & Machinery (AREA)
  • Secondary Cells (AREA)
  • Battery Mounting, Suspending (AREA)
PCT/JP2016/067863 2015-08-07 2016-06-16 電池パック Ceased WO2017026169A1 (ja)

Priority Applications (1)

Application Number Priority Date Filing Date Title
US15/561,295 US10483604B2 (en) 2015-08-07 2016-06-16 Battery pack

Applications Claiming Priority (2)

Application Number Priority Date Filing Date Title
JP2015-157257 2015-08-07
JP2015157257A JP6384423B2 (ja) 2015-08-07 2015-08-07 電池パック

Publications (1)

Publication Number Publication Date
WO2017026169A1 true WO2017026169A1 (ja) 2017-02-16

Family

ID=57983011

Family Applications (1)

Application Number Title Priority Date Filing Date
PCT/JP2016/067863 Ceased WO2017026169A1 (ja) 2015-08-07 2016-06-16 電池パック

Country Status (3)

Country Link
US (1) US10483604B2 (enExample)
JP (1) JP6384423B2 (enExample)
WO (1) WO2017026169A1 (enExample)

Cited By (1)

* Cited by examiner, † Cited by third party
Publication number Priority date Publication date Assignee Title
JP2022029095A (ja) * 2020-08-04 2022-02-17 株式会社Gsユアサ 蓄電装置

Families Citing this family (24)

* Cited by examiner, † Cited by third party
Publication number Priority date Publication date Assignee Title
JP6678302B2 (ja) * 2015-07-24 2020-04-08 パナソニックIpマネジメント株式会社 温度調和ユニット、温度調和システム、車両
EP3309858B1 (en) * 2016-10-13 2019-07-10 Samsung SDI Co., Ltd. Battery module carrier, battery system and use of a modified h-beam as battery module carrier
US10756401B2 (en) * 2017-02-08 2020-08-25 Denso Corporation Power source apparatus and work machine having the same
JP6810634B2 (ja) * 2017-02-24 2021-01-06 株式会社エンビジョンAescジャパン 電池モジュール、及び電池システム
JP7091775B2 (ja) * 2018-03-30 2022-06-28 トヨタ自動車株式会社 電池パック
US10886582B2 (en) * 2018-06-13 2021-01-05 James O. Pinon Cooling fin spacer
KR102646854B1 (ko) * 2018-10-19 2024-03-11 삼성에스디아이 주식회사 배터리 모듈
KR102640329B1 (ko) 2018-10-19 2024-02-22 삼성에스디아이 주식회사 배터리 모듈
KR102646853B1 (ko) * 2018-10-19 2024-03-11 삼성에스디아이 주식회사 배터리 모듈
KR102717207B1 (ko) 2018-10-19 2024-10-11 삼성에스디아이 주식회사 배터리 모듈
KR102640327B1 (ko) * 2018-10-19 2024-02-22 삼성에스디아이 주식회사 배터리의 대형 모듈
KR102640328B1 (ko) * 2018-10-19 2024-02-22 삼성에스디아이 주식회사 배터리의 대형 모듈
DE102018219249A1 (de) * 2018-11-12 2020-05-14 Mahle Lnternational Gmbh Akkumulatoranordnung
AT522358B1 (de) * 2019-09-05 2020-10-15 Kreisel Electric Gmbh & Co Kg Vorrichtung mit mehreren, in einer Fügerichtung hintereinander angeordneten Batteriemodulen
DE102019127588B3 (de) * 2019-10-14 2020-12-10 Dr. Ing. H.C. F. Porsche Aktiengesellschaft Energiespeicheranordnung für ein Kraftfahrzeug und Kraftfahrzeug umfassend eine solche Energiespeicheranordnung
DE102019128476A1 (de) * 2019-10-22 2021-04-22 Dr. Ing. H.C. F. Porsche Aktiengesellschaft Traktionsbatteriesystem für ein Kraftfahrzeug
KR102883044B1 (ko) 2020-04-14 2025-11-06 삼성에스디아이 주식회사 배터리 팩
KR20230037269A (ko) * 2021-09-09 2023-03-16 에스케이온 주식회사 배터리 팩
US11443569B1 (en) * 2021-10-30 2022-09-13 Beta Air, Llc Systems and methods for battery management for a vehicle
TWI807765B (zh) * 2022-04-07 2023-07-01 新盛力科技股份有限公司 具有散熱循環功能的電池系統
FR3135569A1 (fr) * 2022-05-16 2023-11-17 Valeo Systemes Thermiques Espaceur inter-batteries et système de régulation thermique pour un ensemble de batteries.
DE102023119516A1 (de) * 2023-03-31 2024-10-02 Andreas Stihl Ag & Co. Kg Handgeführtes, im Einsatz tragbares Arbeitsgerät
CN119009239A (zh) * 2023-05-26 2024-11-22 厦门新能达科技有限公司 电池模组、电池组和用电设备
CN118367266B (zh) * 2024-06-17 2024-10-01 长安绿电科技有限公司 电池包及作战服

Citations (5)

* Cited by examiner, † Cited by third party
Publication number Priority date Publication date Assignee Title
JP2009009888A (ja) * 2007-06-29 2009-01-15 Sanyo Electric Co Ltd 車両用の電源装置
JP2013191305A (ja) * 2012-03-12 2013-09-26 Toyota Industries Corp 電池パック
JP2014036001A (ja) * 2012-08-10 2014-02-24 Hitachi Vehicle Energy Ltd 電池ブロック及びそれを有する電池モジュール
JP2015022905A (ja) * 2013-07-19 2015-02-02 株式会社ヴァレオジャパン 発熱体冷却装置及びその制御方法
JP2015072741A (ja) * 2013-10-01 2015-04-16 株式会社デンソー 電池パック

Family Cites Families (8)

* Cited by examiner, † Cited by third party
Publication number Priority date Publication date Assignee Title
US6569556B2 (en) * 2001-01-29 2003-05-27 General Motors Corporation Cooling system for a battery pack
JP5130955B2 (ja) 2008-02-29 2013-01-30 日産自動車株式会社 組電池
JP2010015955A (ja) 2008-07-07 2010-01-21 Toyota Motor Corp 蓄電装置
US20100275619A1 (en) * 2009-04-30 2010-11-04 Lg Chem, Ltd. Cooling system for a battery system and a method for cooling the battery system
US9093727B2 (en) * 2010-04-01 2015-07-28 GM Global Technology Operations LLC Cooling system for a battery pack
JP5892119B2 (ja) * 2013-08-01 2016-03-23 株式会社デンソー 電池冷却装置
US9780413B2 (en) 2013-08-01 2017-10-03 Denso Corporation Battery cooling system
JP6390549B2 (ja) 2015-08-07 2018-09-19 株式会社デンソー 電池パック

Patent Citations (5)

* Cited by examiner, † Cited by third party
Publication number Priority date Publication date Assignee Title
JP2009009888A (ja) * 2007-06-29 2009-01-15 Sanyo Electric Co Ltd 車両用の電源装置
JP2013191305A (ja) * 2012-03-12 2013-09-26 Toyota Industries Corp 電池パック
JP2014036001A (ja) * 2012-08-10 2014-02-24 Hitachi Vehicle Energy Ltd 電池ブロック及びそれを有する電池モジュール
JP2015022905A (ja) * 2013-07-19 2015-02-02 株式会社ヴァレオジャパン 発熱体冷却装置及びその制御方法
JP2015072741A (ja) * 2013-10-01 2015-04-16 株式会社デンソー 電池パック

Cited By (2)

* Cited by examiner, † Cited by third party
Publication number Priority date Publication date Assignee Title
JP2022029095A (ja) * 2020-08-04 2022-02-17 株式会社Gsユアサ 蓄電装置
JP7596661B2 (ja) 2020-08-04 2024-12-10 株式会社Gsユアサ 蓄電装置

Also Published As

Publication number Publication date
US10483604B2 (en) 2019-11-19
JP6384423B2 (ja) 2018-09-05
US20180102576A1 (en) 2018-04-12
JP2017037754A (ja) 2017-02-16

Similar Documents

Publication Publication Date Title
JP6384423B2 (ja) 電池パック
JP6330757B2 (ja) 電池パック
JP6256439B2 (ja) 電池パック
US10886581B2 (en) Battery pack
JP6390550B2 (ja) 電池パック
JP6405912B2 (ja) 電池パック
CN107851868B (zh) 电池组
JP6040843B2 (ja) 電池冷却装置
US20160181675A1 (en) Battery pack
JP6493166B2 (ja) 電池パック
JP4742514B2 (ja) 電池パックおよびその筐体
JP6390548B2 (ja) 電池パック
JP6507920B2 (ja) 電池パック
JP5835394B2 (ja) 電池冷却装置
JP6507951B2 (ja) 電池パック
JP6507921B2 (ja) 電池パック
JP6458709B2 (ja) 電池パック
JP6119529B2 (ja) 電池システム
JP6443298B2 (ja) 電池パック
KR100627312B1 (ko) 전지 모듈
JP7528890B2 (ja) 電池パック
JP6617665B2 (ja) 電池パック

Legal Events

Date Code Title Description
121 Ep: the epo has been informed by wipo that ep was designated in this application

Ref document number: 16834866

Country of ref document: EP

Kind code of ref document: A1

WWE Wipo information: entry into national phase

Ref document number: 15561295

Country of ref document: US

NENP Non-entry into the national phase

Ref country code: DE

122 Ep: pct application non-entry in european phase

Ref document number: 16834866

Country of ref document: EP

Kind code of ref document: A1