WO2016136442A1 - 画像処理装置 - Google Patents

画像処理装置 Download PDF

Info

Publication number
WO2016136442A1
WO2016136442A1 PCT/JP2016/053623 JP2016053623W WO2016136442A1 WO 2016136442 A1 WO2016136442 A1 WO 2016136442A1 JP 2016053623 W JP2016053623 W JP 2016053623W WO 2016136442 A1 WO2016136442 A1 WO 2016136442A1
Authority
WO
WIPO (PCT)
Prior art keywords
color
image
mask
pixel
lesion
Prior art date
Legal status (The legal status is an assumption and is not a legal conclusion. Google has not performed a legal analysis and makes no representation as to the accuracy of the status listed.)
Ceased
Application number
PCT/JP2016/053623
Other languages
English (en)
French (fr)
Japanese (ja)
Inventor
洋祐 池本
水口 直志
敦 小師
俊雄 橘
太田 紀子
Current Assignee (The listed assignees may be inaccurate. Google has not performed a legal analysis and makes no representation or warranty as to the accuracy of the list.)
Hoya Corp
Original Assignee
Hoya Corp
Priority date (The priority date is an assumption and is not a legal conclusion. Google has not performed a legal analysis and makes no representation as to the accuracy of the date listed.)
Filing date
Publication date
Application filed by Hoya Corp filed Critical Hoya Corp
Priority to CN201680000508.9A priority Critical patent/CN106068092B/zh
Priority to EP16728210.2A priority patent/EP3263006B1/en
Priority to US15/106,978 priority patent/US10231600B2/en
Publication of WO2016136442A1 publication Critical patent/WO2016136442A1/ja
Anticipated expiration legal-status Critical
Ceased legal-status Critical Current

Links

Images

Classifications

    • AHUMAN NECESSITIES
    • A61MEDICAL OR VETERINARY SCIENCE; HYGIENE
    • A61BDIAGNOSIS; SURGERY; IDENTIFICATION
    • A61B1/00Instruments for performing medical examinations of the interior of cavities or tubes of the body by visual or photographical inspection, e.g. endoscopes; Illuminating arrangements therefor
    • A61B1/00002Operational features of endoscopes
    • A61B1/00004Operational features of endoscopes characterised by electronic signal processing
    • A61B1/00009Operational features of endoscopes characterised by electronic signal processing of image signals during a use of endoscope
    • A61B1/000094Operational features of endoscopes characterised by electronic signal processing of image signals during a use of endoscope extracting biological structures
    • AHUMAN NECESSITIES
    • A61MEDICAL OR VETERINARY SCIENCE; HYGIENE
    • A61BDIAGNOSIS; SURGERY; IDENTIFICATION
    • A61B1/00Instruments for performing medical examinations of the interior of cavities or tubes of the body by visual or photographical inspection, e.g. endoscopes; Illuminating arrangements therefor
    • A61B1/00002Operational features of endoscopes
    • A61B1/00004Operational features of endoscopes characterised by electronic signal processing
    • A61B1/00009Operational features of endoscopes characterised by electronic signal processing of image signals during a use of endoscope
    • A61B1/000095Operational features of endoscopes characterised by electronic signal processing of image signals during a use of endoscope for image enhancement
    • AHUMAN NECESSITIES
    • A61MEDICAL OR VETERINARY SCIENCE; HYGIENE
    • A61BDIAGNOSIS; SURGERY; IDENTIFICATION
    • A61B1/00Instruments for performing medical examinations of the interior of cavities or tubes of the body by visual or photographical inspection, e.g. endoscopes; Illuminating arrangements therefor
    • A61B1/00002Operational features of endoscopes
    • A61B1/0002Operational features of endoscopes provided with data storages
    • AHUMAN NECESSITIES
    • A61MEDICAL OR VETERINARY SCIENCE; HYGIENE
    • A61BDIAGNOSIS; SURGERY; IDENTIFICATION
    • A61B1/00Instruments for performing medical examinations of the interior of cavities or tubes of the body by visual or photographical inspection, e.g. endoscopes; Illuminating arrangements therefor
    • A61B1/00002Operational features of endoscopes
    • A61B1/00039Operational features of endoscopes provided with input arrangements for the user
    • A61B1/0004Operational features of endoscopes provided with input arrangements for the user for electronic operation
    • AHUMAN NECESSITIES
    • A61MEDICAL OR VETERINARY SCIENCE; HYGIENE
    • A61BDIAGNOSIS; SURGERY; IDENTIFICATION
    • A61B1/00Instruments for performing medical examinations of the interior of cavities or tubes of the body by visual or photographical inspection, e.g. endoscopes; Illuminating arrangements therefor
    • A61B1/00002Operational features of endoscopes
    • A61B1/00043Operational features of endoscopes provided with output arrangements
    • A61B1/00045Display arrangement
    • A61B1/0005Display arrangement combining images e.g. side-by-side, superimposed or tiled
    • AHUMAN NECESSITIES
    • A61MEDICAL OR VETERINARY SCIENCE; HYGIENE
    • A61BDIAGNOSIS; SURGERY; IDENTIFICATION
    • A61B5/00Measuring for diagnostic purposes; Identification of persons
    • A61B5/0059Measuring for diagnostic purposes; Identification of persons using light, e.g. diagnosis by transillumination, diascopy, fluorescence
    • A61B5/0082Measuring for diagnostic purposes; Identification of persons using light, e.g. diagnosis by transillumination, diascopy, fluorescence adapted for particular medical purposes
    • A61B5/0084Measuring for diagnostic purposes; Identification of persons using light, e.g. diagnosis by transillumination, diascopy, fluorescence adapted for particular medical purposes for introduction into the body, e.g. by catheters
    • AHUMAN NECESSITIES
    • A61MEDICAL OR VETERINARY SCIENCE; HYGIENE
    • A61BDIAGNOSIS; SURGERY; IDENTIFICATION
    • A61B5/00Measuring for diagnostic purposes; Identification of persons
    • A61B5/103Measuring devices for testing the shape, pattern, colour, size or movement of the body or parts thereof, for diagnostic purposes
    • A61B5/1032Determining colour of tissue for diagnostic purposes
    • GPHYSICS
    • G06COMPUTING OR CALCULATING; COUNTING
    • G06TIMAGE DATA PROCESSING OR GENERATION, IN GENERAL
    • G06T7/00Image analysis
    • G06T7/0002Inspection of images, e.g. flaw detection
    • G06T7/0012Biomedical image inspection
    • GPHYSICS
    • G06COMPUTING OR CALCULATING; COUNTING
    • G06TIMAGE DATA PROCESSING OR GENERATION, IN GENERAL
    • G06T7/00Image analysis
    • G06T7/10Segmentation; Edge detection
    • G06T7/11Region-based segmentation
    • GPHYSICS
    • G06COMPUTING OR CALCULATING; COUNTING
    • G06TIMAGE DATA PROCESSING OR GENERATION, IN GENERAL
    • G06T2207/00Indexing scheme for image analysis or image enhancement
    • G06T2207/10Image acquisition modality
    • G06T2207/10024Color image
    • GPHYSICS
    • G06COMPUTING OR CALCULATING; COUNTING
    • G06TIMAGE DATA PROCESSING OR GENERATION, IN GENERAL
    • G06T2207/00Indexing scheme for image analysis or image enhancement
    • G06T2207/10Image acquisition modality
    • G06T2207/10068Endoscopic image
    • GPHYSICS
    • G06COMPUTING OR CALCULATING; COUNTING
    • G06TIMAGE DATA PROCESSING OR GENERATION, IN GENERAL
    • G06T2207/00Indexing scheme for image analysis or image enhancement
    • G06T2207/30Subject of image; Context of image processing
    • G06T2207/30004Biomedical image processing
    • G06T2207/30096Tumor; Lesion

Definitions

  • the present invention relates to an image processing apparatus for processing an image of a living tissue.
  • the lesioned part of living tissue exhibits a color different from that of a normal part.
  • color endoscope devices With the improvement in the performance of color endoscope devices, it has become possible to identify lesions slightly different in color from normal tissues.
  • an operator in order for an operator to accurately identify a lesion from a normal tissue due to a slight color difference on an endoscopic image, it is necessary to receive a long-term training under the guidance of an expert.
  • even a skilled operator cannot easily identify a lesion from a slight color difference, and requires careful work.
  • Patent Document 1 Japanese Patent Laid-Open No. 2014-18332
  • Patent Document 2 Japanese Patent Laid-Open No. 2014-18332
  • an electronic endoscope apparatus having a function of determining whether or not a subject is a lesioned part based on color information and changing a color of a pixel determined to be a lesioned part.
  • the present invention has been made in view of the above circumstances, and an object of the present invention is to provide an image processing apparatus capable of clearly indicating a suspected lesion while maintaining sufficient image information of the lesion. It is to be.
  • color image acquisition means for acquiring color image data representing a color image of a living tissue, and whether or not each pixel of the color image is a pixel of a lesion based on the color image data Image processing, comprising: a lesion determination unit that performs a determination; and a marking unit that adds a mark indicating the position of the lesion on the color image based on the determination result, wherein the mark is a mark through which the background color image is transparent
  • the lesion determination unit includes a score table generation unit that generates a score table including a score indicating the severity of the lesion of the living tissue for each pixel of the color image, and the marking unit includes Based on the score table, the color image may be provided with the mark indicating the position and severity of the lesion.
  • the marking means sets a mask that is a processing target area in the color image, calculates a representative value of the score in the mask, and marks the mask based on the representative value It is good.
  • the marking unit sets a mask having a predetermined initial size, calculates a representative value for the initial size mask, changes the mask size according to the representative value, and sets the size. It is good also as a structure which attaches a mark so that the changed mask may be inscribed.
  • the initial size may be a minimum mask size.
  • the marking means may add a number of marks corresponding to the representative value in the mask.
  • the marking unit may mark the color image while scanning the mask in the color image.
  • the marking unit may set the mask so that it does not overlap with another set mask.
  • the mark information already attached is not lost, and the accuracy of the mark information is maintained.
  • the representative value may be an arithmetic mean, a weighted average, a median, a mode, or a root mean square.
  • the means for generating the score table converts the color space of the color image data into a color space having one coordinate representing luminance or brightness and two coordinates representing color quality.
  • a configuration may be provided that includes color space conversion means for conversion and score calculation means for calculating the score of each pixel based on the color quality of each pixel of the color image data.
  • the means for generating the score table further comprises color enhancement means for performing color enhancement processing for increasing the contrast of the color quality in the boundary region of the pixel value range characteristic of the lesion
  • the score calculation means may be configured to calculate the score of each pixel based on the pixel value after the color enhancement processing.
  • the score calculation means may be configured to calculate the score of each pixel based on the distance from the reference point in the hue-saturation space or the chromaticity space.
  • the lesioned part may be an inflamed part and the reference point may be blood color.
  • the mark may be a symbol.
  • the mark may be a color having transmittance.
  • the mark may be a contour line of severity.
  • the color image may be an electronic endoscopic image.
  • a color image of a biological tissue is marked, and the shape and texture of the biological tissue can be grasped without referring to the color image before the marking. Diagnosis can be performed more easily and accurately.
  • FIG. 1 is a block diagram showing a schematic configuration of an electronic endoscope apparatus according to an embodiment of the present invention. It is the block diagram which showed schematic structure of the circuit regarding the image processing of the electronic endoscope apparatus which concerns on embodiment of this invention. It is a figure which shows schematic structure of the storage area of an image memory. It is a flowchart which shows the procedure of the process which an image processing circuit performs. It is an example of the gain curve used for TE processing. It is a flowchart which shows the procedure of an effective pixel determination process. It is a flowchart which shows the procedure of a lesion determination process. It is the scatter diagram which plotted the pixel value of the biological tissue image in HS coordinate space. It is a flowchart which shows the procedure of a score calculation process.
  • FIG. 1 is a block diagram showing a configuration of an electronic endoscope apparatus 1 according to the first embodiment of the present invention.
  • the electronic endoscope apparatus 1 includes an electronic scope 100, a processor 200, and a monitor 900.
  • the processor 200 includes a system controller 202 and a timing controller 204.
  • the system controller 202 executes various programs stored in the memory 212 and controls the entire electronic endoscope apparatus 1 in an integrated manner.
  • the system controller 202 is connected to the operation panel 214.
  • the system controller 202 changes each operation of the electronic endoscope apparatus 1 and parameters for each operation in accordance with an instruction from the operator input from the operation panel 214.
  • the timing controller 204 outputs a synchronization signal for adjusting the operation timing of each unit to each circuit in the electronic endoscope apparatus 1.
  • the lamp 208 emits the irradiation light L after being started by the lamp power igniter 206.
  • the lamp 208 is, for example, a high-intensity lamp such as a xenon lamp, a halogen lamp, a mercury lamp, or a metal halide lamp, or an LED (Light-Emitting-Diode).
  • the irradiation light L is broadband light (or white light including at least the visible light region) having a spectrum that mainly extends from the visible light region to the invisible infrared light region.
  • the irradiation light L emitted from the lamp 208 is condensed on the incident end face of the LCB (Light Carrying Bundle) 102 by the condenser lens 210 and is incident on the LCB 102.
  • LCB Light Carrying Bundle
  • the irradiation light L incident on the LCB 102 propagates through the LCB 102, is emitted from the exit end face of the LCB 102 disposed at the tip of the electronic scope 100, and is irradiated onto the subject via the light distribution lens 104.
  • the return light from the subject irradiated with the irradiation light L forms an optical image on the light receiving surface of the solid-state image sensor 108 via the objective lens 106.
  • the solid-state image sensor 108 is a single color CCD (Charge Coupled Device) image sensor of a complementary color checkered color difference line sequential method.
  • the solid-state image sensor 108 images an optical image of a subject formed on the light receiving surface and outputs an analog image signal. Specifically, the solid-state image sensor 108 accumulates an optical image formed by each pixel on the light receiving surface as a charge corresponding to the amount of light, and generates yellow Ye, cyan Cy, green G, and magenta Mg color signals. Then, the generated scanning lines are sequentially output by adding and mixing the color signals of two adjacent pixels in the vertical direction.
  • CCD Charge Coupled Device
  • the solid-state imaging element 108 is not limited to a CCD image sensor, and may be replaced with a CMOS (Complementary Metal Oxide Semiconductor) image sensor or other types of imaging devices.
  • the solid-state image sensor 108 may also be one equipped with a primary color filter (Bayer array filter).
  • a driver signal processing circuit 110 receives an analog imaging signal composed of the above scanning lines from the solid-state imaging device 108 in a field cycle.
  • field may be replaced with “frame”.
  • the field period and the frame period are 1/60 seconds and 1/30 seconds, respectively.
  • the driver signal processing circuit 110 performs predetermined processing on the analog imaging signal input from the solid-state imaging device 108 and outputs the processed signal to the image processing circuit 220 of the processor 200.
  • the driver signal processing circuit 110 also accesses the memory 120 and reads the unique information of the electronic scope 100.
  • the unique information of the electronic scope 100 recorded in the memory 120 includes, for example, the number and sensitivity of the solid-state image sensor 108, the operable field rate, the model number, and the like.
  • the driver signal processing circuit 110 outputs the unique information read from the memory 120 to the system controller 202.
  • the system controller 202 performs various calculations based on the unique information of the electronic scope 100 and generates a control signal.
  • the system controller 202 controls the operation and timing of various circuits in the processor 200 using the generated control signal so that processing suitable for the electronic scope connected to the processor 200 is performed.
  • the timing controller 204 generates a synchronization signal according to the timing control by the system controller 202.
  • the driver signal processing circuit 110 drives and controls the solid-state imaging device 108 at a timing synchronized with the field rate of the video signal generated by the processor 200 in accordance with the synchronization signal supplied from the timing controller 204.
  • the image processing circuit 220 generates image data based on the imaging signal output from the electronic scope 100 under the control of the system controller 202.
  • the image processing circuit 220 generates screen data for monitor display using the generated image data, converts the screen data into a video signal of a predetermined video format, and outputs the video signal.
  • the video signal is input to the monitor 900, and a color image of the subject is displayed on the display screen of the monitor 900.
  • FIG. 2 is a block diagram showing a schematic configuration of a circuit related to image processing of the electronic endoscope apparatus 1.
  • the driver signal processing circuit 110 includes a drive circuit 112 and an AFE (Analog Front End) 114.
  • the drive circuit 112 generates a drive signal for the solid-state image sensor 108 based on the synchronization signal.
  • the AFE 114 performs noise removal, signal amplification / gain correction, and A / D conversion on the analog imaging signal output from the solid-state imaging device 108, and outputs a digital imaging signal. Note that the solid-state imaging device 108 or the image processing circuit 220 may perform all or part of the processing performed by the AFE 114 in the present embodiment.
  • the image processing circuit 220 includes a basic processing unit 220a, an output circuit 220b, a TE (Tone enhancement) processing unit 221, an effective pixel determination unit 222, a color space conversion unit 223, a lesion determination unit 224, a score calculation unit 225, a marking A processing unit 226, an image memory 227, a display screen generation unit 228, and a memory 229 are provided. Processing performed by each unit of the image processing circuit 220 will be described later.
  • FIG. 3A is a diagram illustrating a schematic configuration of a storage area included in the image memory 227.
  • the image memory 227 of the present embodiment is provided with three storage areas P n , P e , and P m .
  • the storage area P n is an area for storing normal observation image data N (image data representing the normal observation image NP) generated by the basic processing unit 220a.
  • the storage area Pe is an area for storing tone-enhanced image data E (image data representing the tone-enhanced image EP) generated by the TE processing unit 221.
  • the storage area P m is an area in which marking image data M (image data representing the marking image MP) generated by the marking processing unit 226 is stored.
  • the memory 229 stores a flag table FT, a score table ST, a mask table MT, a hue correlation value table HCT, and a saturation correlation value table SCT.
  • the flag table FT and the score table ST are numerical tables composed of a flag F (x, y) and a score Sc (x, y) indicating the analysis result for each pixel (x, y) of the normal observation image data N, respectively. is there.
  • the flag F (x, y) is a parameter indicating the presence or absence of a lesion in the tissue imaged on the corresponding pixel (x, y)
  • the score Sc (x, y) indicates the severity of the lesion. Is the parameter shown.
  • the hue correlation value table HCT, the saturation correlation value table SCT, and the mask table MT will be described later.
  • FIG. 4 is a flowchart showing a procedure of processing performed by the image processing circuit 220.
  • the digital signal output from the AFE 114 is first subjected to general signal processing (basic processing S1) by the basic processing unit 220a, and normal observation image data N is generated.
  • the digital image pickup signal output from the AFE 114 is converted into the luminance signal Y and the color difference signals Cb and Cr, and the primary colors for separating the primary color signals R, G and B from the luminance signal Y and the color difference signals Cb and Cr.
  • Separation processing Separation processing, clamping processing for removing offset components, defect correction processing for correcting pixel values of defective pixels using pixel values of surrounding pixels, and imaging data (RAW data) consisting of single-color pixel values from full-color pixel values
  • RAW data imaging data
  • Compensates for demosaic processing (interpolation processing) that converts to image data, linear matrix processing that corrects the spectral characteristics of the image sensor using a color matrix, white balance processing that corrects the spectral characteristics of illumination light, and degradation of spatial frequency characteristics Contour correction etc. are included.
  • driver signal processing circuit 110 or the solid-state image sensor 108 performs all or one part of the process which the basic process part 220a performs in this embodiment.
  • the normal observation image data N generated by the basic processing unit 220a is input to the TE processing unit 221 and stored in the storage area P n of the image memory 227.
  • the electronic endoscope apparatus 1 of the present embodiment is configured to operate in two operation modes: an image analysis mode and a normal observation mode.
  • the operation mode is switched by a user operation on the operation unit 130 of the electronic scope 100 or the operation panel 214 of the processor 200. If the normal observation mode is set (S2: No), the process proceeds to S9.
  • TE (tone enhancement) processing S3 When the image analysis mode is selected (S2: Yes), the TE processing S221 by the TE processing unit 221 is performed next.
  • the TE process S3 performs gain adjustment that gives a non-linear gain (gain) to each primary color signal R, G, B of the normal observation image data N in order to increase the lesion determination accuracy, and is specific to the lesion to be determined.
  • gain gain
  • the primary color signals R ′, G ′, B ′ (tone-enhanced image data E) are given to each primary color signal R, G, B by applying a non-linear gain as shown in FIG. ) Is acquired.
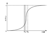
  • a non-linear gain as shown in FIG. 5
  • the gain curve in FIG. 5 from the boundary region R A characteristic gamut ulcers, inflammation over the boundary area R B of the characteristic color gamut, the slope is steeper.
  • the TE treatment S3 changes the color of the inflamed part to red, the ulcer part to white, and the normal part to green. Therefore, when the tone-enhanced image data E generated by the TE process S3 is displayed on the monitor 900, the lesioned part (inflamed part or ulcer part) is easier than when the normal observation image data N before the TE process S3 is displayed. It can be visually recognized.
  • the TE process S3 is an example of a color enhancement process applicable to the present invention. Instead of the TE process S3, the color quality, specifically, hue or saturation (or chromaticity) contrast is set. Other types of enhanced color enhancement processing may be used.
  • Effective pixel determination processing S4 When the TE process S3 is completed, an effective pixel determination process S4 by the effective pixel determination unit 222 is then performed on the tone enhanced image data E. Note that the TE process S3 may be omitted, and the effective pixel determination process S4 may be performed on the normal observation image data N.
  • FIG. 6 is a flowchart showing the procedure of the effective pixel determination process S4.
  • the effective pixel determination process S4 is a process for determining whether or not the pixel value is suitable for image analysis, and is sequentially performed for all the pixels (x, y) constituting the image data.
  • the effective pixel determination process S4 first, for each pixel (x, y), from the primary color signals R ′ (x, y), G ′ (x, y), B ′ (x, y) of the tone-enhanced image data E, The corrected luminance int (x, y) is calculated by the following formula 1 (S41).
  • the corrected luminance int (x, y) is not a simple average of the primary color signals R ′ (x, y), G ′ (x, y), B ′ (x, y), It is obtained as a weighted average based on the specific visual sensitivity characteristics of a human (operator).
  • appropriate exposure determination process S42 it is determined that the exposure is appropriate (S42: Yes) when at least one (or both) of the following two conditions (Equation 2 and Equation 3) is satisfied.
  • the upper limit value of the corrected luminance int (x, y) (total light amount) is defined by Equation 2, and each primary color signal R ′ (x, y), G ′ (x, y), B ′ ( A lower limit value of x, y) is defined.
  • the effective pixel determination unit 222 is stored in the memory 229.
  • the value of the flag F (x, y) corresponding to the pixel (x, y) in the flag table FT is rewritten to “1” (S43).
  • flag F (x, y) takes one of the flag values 0 to 2.
  • the definition of each flag value is as follows. 0: Invalid pixel data 1: Normal or not determined (Pixel data valid) 2: Lesions (inflammation)
  • the effective pixel determination unit 222 is determined. Rewrites the value of the flag F (x, y) in the flag table FT to “0” (S44).
  • process S45 it is determined whether or not the process has been completed for all the pixels (x, y). The above processes S41 to S45 are repeated until the processing of all the pixels (x, y) is completed.
  • the color space conversion process S5 is an HSI (Heu-Saturation-Intensity) defined by the three elements of hue (Hew), saturation (Saturation), and luminance (Intensity). This is a process of converting into a pixel value in space. Specifically, in the color space conversion process S5, primary color signals R ′ (x, y), G ′ (x, y), B ′ (x, y) of each pixel (x, y) of the tone-enhanced image data E. ) Is converted into hue H (x, y), saturation S (x, y), and luminance I (x, y).
  • HSI Heu-Saturation-Intensity
  • the data of the pixel (x, y) that is underexposed or excessively exposed is low in accuracy and lowers the reliability of the analysis result. Therefore, in the color space conversion process S5, the pixel (x, y) in which the value of the flag F (x, y) is set to “1” (that is, determined to be proper exposure in the above-described effective pixel determination process S4). Only done about.
  • Determination image data J ⁇ H comprising the hue H (x, y), saturation S (x, y) and luminance I (x, y) of each pixel (x, y) generated by the color space conversion unit 223 (X, y), S (x, y), I (x, y) ⁇ are input to the lesion determination unit 224.
  • a lesion determination process S6 using the determination image data J is then performed by the lesion determination unit 224.
  • the determination image data J is placed in any one of regions ⁇ and ⁇ (FIG. 8) described later on the HS space (hue-saturation space).
  • This is a process of determining the state of the biological tissue (whether or not it is an inflamed part) copied to the pixel depending on whether it is plotted.
  • the HS space is a space representing color quality (color elements excluding brightness and luminance) in the same manner as the chromaticity space.
  • the lesion determination unit 224 is performed on the chromaticity space (for example, a * b * space).
  • FIG. 7 is a flowchart showing the procedure of the lesion determination process S6.
  • the lesion determination process S6 is sequentially performed for all the pixels (x, y) constituting the image data.
  • the lesion determination processing S6 first, it is determined whether or not the data of each pixel (x, y) is valid with reference to the flag table FT (S61). If the value of the flag F (x, y) is “1” (pixel data valid), the inflammation determination process S62 is performed next. If the value of the flag F (x, y) is “0” (pixel data invalid), the process proceeds to the process S64 without performing the inflammation determination process S62.
  • FIG. 8 is a scatter diagram in which determination image data J acquired from endoscopic image data of a plurality of inflammatory bowel disease patients is plotted on the HS space.
  • the inflammation determination process S62 whether or not the determination image data J ⁇ (H (x, y), S (x, y) ⁇ ) of each pixel (x, y) is plotted in the region ⁇ in FIG. Specifically, when the determination image data J ⁇ (H (x, y), S (x, y) ⁇ ) satisfies both the following Expression 4 and Expression 5, The image data for determination J ⁇ (H (x, y), S (x, y) ⁇ ) satisfies at least one of Expression 4 and Expression 5.
  • ⁇ S1 , ⁇ H1 and ⁇ H2 are correction values that can be set by the operator, and these corrections The severity of judgment (sensitivity) and the like can be appropriately adjusted by setting the value.
  • process S64 it is determined whether or not the process has been completed for all the pixels (x, y). The above processes S61 to S64 are repeated until the processing of all the pixels (x, y) is completed.
  • the score calculation process S7 is a process for calculating a score Sc (x, y), which is an evaluation value of the severity of a lesion, based on the pixel value of the determination image data J.
  • the score calculation process S7 is sequentially performed for all the pixels (x, y) constituting the image data. Note that the score calculation algorithm described below is an example, and the present invention can be applied to the screen display of scores calculated by various algorithms.
  • FIG. 9 is a flowchart showing the procedure of the score calculation process S7.
  • the flag table FT is read, and it is determined whether or not the value of the flag F (x, y) corresponding to the pixel (x, y) is “2” (inflammation) ( S71).
  • I corr. (X, y): luminance after correction of judgment image data J S corr. (X, y): saturation after correction of judgment image data J I ref : blood sample data as a reference value Luminance S ref : Saturation of blood sample data as reference value ⁇ : Angle giving correlation coefficient (cos ⁇ ) between luminance value and saturation value of blood sample data Note that correlation coefficient between saturation and luminance of blood sample The (actual measurement value) was ⁇ 0.86, and ⁇ 149.32 (deg) was used.
  • the hue distance D HUE (x, y) is calculated by Equation 7 (S73).
  • the hue distance D HUE is a relative value of the hue of the determination image data J (x, y) with the hue H ref of the blood sample data as a reference.
  • the hue correlation value HCV (x, y) is determined from the hue distance D HUE (x, y) (S74).
  • the hue correlation value HCV (x, y) is a parameter having a strong correlation with the severity of the inflamed area.
  • FIG. 10A is a graph illustrating the relationship between the hue distance D HUE and the hue correlation value HCV.
  • the hue distance D HUE has a strong correlation with the severity of the inflamed area in a range within ⁇ 30 ° (hereinafter referred to as “hue approximate range R 11 ”), and other ranges (hereinafter referred to as “hue approximate outside range R”). 12 ”)) has little correlation.
  • the hue correlation value HCV (x, y) of the present embodiment is set to 0.0, which is the minimum value in the hue approximation outside range R 12 , and the hue distance D HUE (x, y) in the hue approximation range R 11 . ) Is set to increase linearly as it approaches 0 °.
  • the hue correlation value HCV (x, y) is standardized so that the minimum value is 0.0 and the maximum value is 1.0.
  • the relationship between the hue distance D HUE and the hue correlation value HCV shown in FIG. 10A is stored in the memory 229 as the hue correlation value table HCT.
  • the hue correlation value table HCT By referring to the hue correlation value table HCT, the hue correlation value HCV (x, y) corresponding to the hue distance D HUE (x, y) is acquired.
  • the saturation distance D SAT (x, y) is calculated by Equation 8 (S75).
  • the saturation distance D SAT (x, y) is a relative value of the saturation of the determination image data J (x, y) with reference to the saturation S ref of the blood sample data.
  • FIG. 10B is a graph illustrating the relationship between the saturation distance DSAT and the saturation correlation value SCV.
  • the saturation distance D SAT has a strong correlation with the severity of the inflamed area in a negative range (hereinafter referred to as “saturation approximate range R 22 ”) that is equal to or greater than a predetermined value, and a range that is less than or equal to a negative predetermined value ( (Hereinafter referred to as “saturation approximation outside range R 23 ”) has little correlation. Further, in a range where the saturation distance D SAT is zero or more, that is, a range where the saturation of the lesion pixel is not less than the saturation S ref of the blood sample data (hereinafter referred to as “saturation matching range R 21 ”), it is severe. The degree is considered extremely high.
  • the saturation correlation value SCV of the present embodiment (x, y) is set to 1.0 of the maximum value in the saturation range match R 21, to 0.0 of the minimum value in the saturation approximation out of range R 23 is set, it is set to increase linearly in saturation approximation range R 22.
  • the saturation correlation value SCV (x, y) is also a value that is standardized so that the minimum value is 0.0 and the maximum value is 1.0.
  • the relationship between the saturation distance DSAT and the saturation correlation value SCV shown in FIG. 10B is stored in the memory 229 as the saturation correlation value table SCT.
  • the saturation correlation value table SCT By referring to the saturation correlation value table SCT, the saturation correlation value SCV (x, y) corresponding to the saturation distance D SAT (x, y) is acquired.
  • a correlation value CV (x, y) between the color of the lesion pixel (x, y) and the blood color is obtained by multiplying the hue correlation value HCV (x, y) and the saturation correlation value SCV (x, y).
  • the correlation value CV (x, y) is also a standardized value so that the minimum value is 0.0 and the maximum value is 1.0. Further, the correlation value CV (x, y) is divided into 11 stages in increments of 0.1 points.
  • process S80 it is determined whether or not the process has been completed for all pixels (x, y). The above processes S71 to S80 are repeated until the processing of all the pixels (x, y) is completed.
  • the marking process S8 is a process for marking an image area in which lesion pixels are distributed with respect to the normal observation image NP so that the lesion part can be easily identified. Specifically, in the marking process 8 of the present embodiment, a symbol having a size corresponding to the severity in the image region (for example, “x” mark 330 in FIG. 16) is attached to the image region in which the lesion pixel is distributed. Is done.
  • FIG. 11 is a diagram for explaining how to proceed with the marking process S8 (scanning of the mask 310).
  • a mask 310 that is an image region of a predetermined size is set in the normal observation image NP (and the score table ST), and the pixels 311 ( The mark 330 is added to the image in the mask 310 according to the score Sc in FIG.
  • the size of the mask 310 (and the size of the mark 330 determined by the size of the mask) varies according to the score Sc of the pixel 311 in the mask 310.
  • FIG. 12 shows a mask 310 having an initial size set in advance.
  • the initial size of the mask 310 is set to 5 ⁇ 5 (the number of pixels in the horizontal direction ⁇ the number of pixels in the vertical direction).
  • the initial size of the mask 310 is set according to, for example, the visibility of the mark 330 attached to the image in the mask 310 (for example, depending on the complexity of the shape of the mark 330 and the number of pixels on the display screen of the monitor 910). Is done.
  • the initial size of the mask 310 is set to a minimum size so that as many marks 330 as possible can be displayed within a range in which good visibility of the marks 330 is ensured.
  • the mask size is determined based on the score Sc with reference to the mask table MT stored in the memory 229.
  • Table 1 is an example of a mask table MT used in the present embodiment.
  • the mask size is set so as to increase in proportion to the score Sc, with the initial value (5 ⁇ 5) as the lower limit.
  • the one at the upper left end (that is, the pixel having the smallest x coordinate and y coordinate) is referred to as a reference point 312.
  • the position (x m , y m ) of this reference point 312 is defined as the position of the mask 310. Note that any pixel in the mask 310 may be set as the reference point 312.
  • FIG. 13 is a flowchart showing the procedure of the marking process S8.
  • the marking process S8 first, the normal observation image data N (original image) stored in the storage area P n of the image memory 227 is duplicated and stored as an initial value of the marking image data M in the storage area P m .
  • the score table ST is read from the memory 229, and the reference point 312 is scanned on the score table ST (S81).
  • the marking processing unit 226 searches for a position (x, y) that satisfies both of the following conditions a and b while scanning the reference point 312 on the score table ST.
  • Condition a lesion pixel [score Sc (x, y) is 0.1 or more]
  • Condition b mark 310 already attached to mask 310 (more precisely, when mark 330 is attached) Do not overlap with mask 310)
  • an average score Sc Avg. which is an arithmetic average of the scores Sc (x, y) of the pixels in the mask . Is calculated (S83).
  • average score Sc Avg. Also, the value is normalized so that the minimum value is 0.0 and the maximum value is 1.0.
  • the average score Sc Avg. Can be replaced by other numerical values (for example, weighted average, median, mode, root mean square, etc.) representing the score Sc (x, y) in the mask.
  • process S86 it is determined whether or not scanning has been completed to the end of the score table ST.
  • the above processes S81 to S86 are repeated until all the scores Sc (x, y) are scanned.
  • the normal observation image data N (score table ST) in FIGS. 14 to 20 includes an image 320 of a lesion site composed of a plurality of lesion pixels 321.
  • the initial size (5 ⁇ 5) mask 310a (broken line frame in FIG. 15) is set with the lesion pixel 321a as a reference point (S82). .
  • Average score Sc Avg. Is 0.3, for example, from the mask table MT (Table 1), the average score Sc Avg.
  • the mask size 7 ⁇ 7 corresponding to the value of is obtained, and the size of the mask 310a is changed to 7 ⁇ 7 (solid line frame in FIG. 15) (S84).
  • a “x” mark 330a is attached to the marking image MP so as to be inscribed in the edge of the mask 310a (S85).
  • “x” is used as the mark 330, but the mark 330 includes any mark (letters, numbers, symbols, pictograms, patterns, etc., except for those that block the entire mask 310. .) Can be used.
  • the reference point 312 is scanned again (FIG. 16).
  • the above condition b is not satisfied, and thus scanning is skipped. Since there is no lesion pixel 321 that satisfies both the conditions a and b in the line of the lesion pixel 321a, the scan moves to the next lower line, and the lesion pixel 321b is detected. However, when the mask 310 is set starting from the lesion pixel 321b, it interferes with the previously set mask 310a. Therefore, scanning is continued without setting the mask 310 in the lesion pixel 321b. The lesion pixel 321c is detected immediately after skipping the previously set mask 310a.
  • an initial size (5 ⁇ 5) mask 310c (FIG. 17) is set starting from the lesion pixel 321c. Average score Sc Avg. However, if it is 0.1, for example, the corresponding mask size is not changed from the initial size (5 ⁇ 5), so the mask size is not updated, and an “x” mark 330c is attached so as to be inscribed in the edge of the mask 310c. Is done.
  • the display screen generation process S9 is a process for generating display screen data to be displayed on the monitor 900 using various image data stored in the image memory 227.
  • the display screen generation process S9 is performed by the display screen generation unit 228 of the image processing circuit 220. Done.
  • the display screen generation unit 228 can generate a plurality of types of display screen data under the control of the system controller 202.
  • the generated display screen data is subjected to processing such as gamma correction by the output circuit 220b, converted to a video signal of a predetermined video format, and output to the monitor 900 (output processing S10).
  • FIG. 21 is an example of a display screen generated by the display screen generation processing S9, and is an analysis mode observation screen 340 displayed during endoscopic observation in the image analysis mode.
  • the analysis mode observation screen 340 includes a date / time display area 341 for displaying the imaging date / time, a basic information display area 342 for displaying basic information related to the examination (for example, medical chart number, patient name, surgeon name), A normal image display area 344 for displaying the normal observation image NP (or tone-enhanced image EP) and an analysis image display area 345 for displaying the marking image MP (observation image after the marking process S8) are provided.
  • the surgeon observes the endoscope while looking at the analysis mode observation screen 340. Specifically, endoscopic observation is performed while viewing the normal observation image NP (or tone-enhanced image EP) displayed in the normal image display area 344 while referring to the marking image MP displayed in the analysis image display area 345. Do. By observing the marked part in the marking image MP with particular care, an accurate diagnosis can be performed without overlooking the lesion.
  • NP normal observation image
  • EP tone-enhanced image EP
  • the marking image MP is provided with a mark 330 through which the background normal observation image NP is transparent, endoscopic observation and diagnosis can be performed while viewing only the marking image MP. Therefore, for example, the analysis mode observation screen 340 including the large analysis image display area 345 without including the normal image display area 344 may be generated.
  • the marking image MP in the marking image MP, the mark 330 indicating the position and severity of the lesion is attached on the image 320 of the lesion. Even a shallow surgeon can easily perform an accurate diagnosis based on an endoscopic image without overlooking a lesion or misunderstanding the severity.
  • the marking image MP is provided with a mark 330 that does not completely cover the background (lesion site image 320) and allows a part of the background to pass through the gap (that is, has transparency). Thereby, since the shape and texture of a lesion part can be grasped also from marking image MP, it becomes possible to perform more efficient and more accurate diagnosis.
  • the marking image MP is generated by attaching the mark 330 to the normal observation image NP.
  • the mark 330 is attached to the tone-enhanced image EP and other images obtained by processing the normal observation image NP. It is good also as a structure which produces
  • FIG. 22 is a marking image MP of a first modification of the first embodiment of the present invention.
  • the average score Sc Avg. A configuration is adopted in which the mask size is changed according to the condition, and the severity is expressed by the size of the mark 330.
  • the first modified example not the mask size but the number of marks 330 attached in the mask 310 is the average score Sc Avg. Is set according to In this modification, the severity is expressed by the density of the mark 330.
  • FIG. 23 is a marking image MP of the second modified example of the first embodiment of the present invention.
  • a configuration is employed in which marking is performed on the normal observation image NP by attaching characters and symbols in the mask 310.
  • the average score Sc Avg is displayed by changing the color in the mask 310 (in other words, adding a color mark) to the normal observation image NP.
  • the normal observation image NP is not filled with a single color (transmittance 0%) in the mask, but a color that gives a predetermined transparency (for example, transmittance 80%).
  • a predetermined transparency for example, transmittance 80%.
  • the mask size is set as small as 1 ⁇ 1 (or each pixel without setting the mask). It can also be configured to perform processing.
  • the score Sc (x, y) and each pixel (x, y) of each pixel (x, y) are attached to the mask table MT (Table 1) in the first embodiment described above.
  • a display color table in which the correspondence relationship with the power color Col (x, y) is stored is used.
  • Table 3 shows an example of the display color table (24-bit color). It should be noted that an empty value (null value) indicating colorless and transparent is given to a pixel (x, y) whose score Sc (x, y) is zero (normal tissue). Not colored.
  • the designation of the color to be assigned to each pixel (x, y) is not limited to designation by RGB, but may be designated by other color expressions (for example, hue and / or saturation).
  • FIG. 24 is a flowchart illustrating the procedure of the marking process S8a according to the second embodiment.
  • the marking process S8a of the present embodiment is performed in place of the marking process S8 of the first embodiment described above. Further, the marking process S8a of the present embodiment is sequentially performed for all the pixels (x, y) constituting the normal observation image data N.
  • a display color table (Table 3) is stored on the memory 229 as in the second modification of the first embodiment described above.
  • the image memory 227 of the present embodiment stores color map image data CM (image data representing the color map image CMP) created in the marking process S8a.
  • a storage area Pc is provided (see FIG. 3B).
  • the marking process S8a first, the display color table stored in the memory 229 is referred to, and the color Col (x, y) applied to each pixel is determined based on the score Sc (x, y).
  • the color Col (x, y) of pixels other than the lesion pixel is set to be colorless and transparent (null value).
  • color map image data CM composed of the color Col (x, y) of each pixel (x, y) is generated and stored in the storage area P c of the memory 229 (S81a).
  • an image mixing process S82a is performed in which the color map image CMP is given transparency and is superimposed on the normal observation image NP.
  • the image mixing process S82a is a process of performing weighted averaging of the normal observation image data N and the color map image data CM. By performing the weighted average, the color map image CMP can be made transparent and can be superimposed on the normal observation image NP. Note that the weight of the normal observation image data N in the weighted average is determined by a preset transmittance of the color map image CMP. Marking image data M which has been generated by the image mixing process S82a is stored in the storage area P m of the image memory 227, the marking process S8a is completed.
  • the pixel value N (x, y) of the observation image data N becomes the pixel value M (x, y) of the marking image data M as it is.
  • FIG. 25A is a normal observation image NP that includes an image 320 of a lesioned part.
  • FIG. 25B is an image (transmittance 0%) in which the color map image CMP is directly superimposed on the normal observation image NP.
  • FIG. 25C shows a marking image MP generated by the image mixing process S82a of the present embodiment.
  • the marking image MP generated by the image mixing process S82a visually recognizes a site estimated to be a lesion and an estimated severity by a color map. Can be grasped easily. Further, since the color map has transparency, the shape and texture of the lesioned part can be grasped to some extent from the marking image MP, and diagnosis can be performed more easily.
  • the contour line CL of the core Sc (x, y) is displayed on the normal observation image NP so as to display the position of the lesioned part and the distribution of the severity with high visibility.
  • FIG. 26 is a diagram for explaining a process of creating a contour line CL in the third embodiment.
  • the display color table (Table 3) based on the core table ST generated from the normal observation image NP including the lesion image 320 shown in FIG.
  • a color map image CMP shown in 26 (b) is generated.
  • a contour line CL is generated by performing processing such as vector differentiation on the color map image data CM, for example, on the color map image CMP.
  • the marking image MP of the present embodiment shown in FIG. 26C is generated.
  • Embodiments of the present invention are not limited to those described above, and various modifications are possible within the scope of the technical idea of the present invention.
  • the embodiment of the present invention also includes contents appropriately combined with embodiments or the like clearly shown in the specification or obvious embodiments.
  • image analysis such as lesion determination is performed in the HSI space, but HSV based on hue, saturation, and value (or brightness) instead of the HSI space. It may be configured to perform image analysis in (HSB) space.
  • one coordinate representing luminance or lightness such as CIE 1976 L * a * b * color space and YCbCr color space, and two representing color quality (for example, hue and saturation, or chromaticity).
  • Image analysis can also be performed on other types of color spaces having coordinates.
  • the TE process S3 is performed on the RGB space.
  • the TE process S3 may be performed on the HSI space after the color space conversion process S5.
  • contrast enhancement processing for example, a histogram equalization method for enhancing contrast by widening the distribution width of the histogram
  • image sharpening processing using an unsharp mask filter for example, other types of image enhancement processing may be used.
  • the above embodiment is an example in which the present invention is applied to endoscopy for inflammatory bowel disease, but the present invention can naturally be applied to endoscopy for other diseases.
  • the above embodiment is an example in which only the severity of one kind of lesion (inflammation) is evaluated based on the observation image, and a mark corresponding to the severity is attached to the corresponding portion of the observation image.
  • a configuration may be adopted in which the severity is determined for each of a plurality of types of lesions (for example, inflammation and ulcers that are characteristic of inflammatory bowel disease), and a mark corresponding to the severity is attached to the corresponding portion of the observation image.
  • the display mode for example, the type and color of the symbol
  • only the lesioned part is marked, but conversely, only the healthy part may be marked. Moreover, it is good also as a structure which attaches a different mark to each of a lesioned part and a healthy part.
  • said embodiment displays the severity of a lesioned part using any one of a symbol, a contour line, and a display color
  • it combines two or more of these three types of display modes, and a lesioned part is combined.
  • You may display the severity of.
  • it is good also as a structure which displays a severity by the combination of 2 or more of the kind, magnitude
  • it is good also as a structure which displays a severity by the kind of a contour line (a continuous line, a broken line, a chain line, a wavy line, etc.), thickness, a color, or a combination of these two or more.
  • the above embodiment is an example in which the present invention is applied to an electronic endoscope apparatus which is a form of a digital camera, but other types of digital cameras (for example, a digital still camera and a digital video camera) are used.
  • the present invention can also be applied to such a system.
  • diagnosis support for a lesion in a body surface tissue and diagnosis support for brain tissue during craniotomy can be performed.

Landscapes

  • Health & Medical Sciences (AREA)
  • Life Sciences & Earth Sciences (AREA)
  • Engineering & Computer Science (AREA)
  • Surgery (AREA)
  • Physics & Mathematics (AREA)
  • Medical Informatics (AREA)
  • General Health & Medical Sciences (AREA)
  • Molecular Biology (AREA)
  • Biomedical Technology (AREA)
  • Heart & Thoracic Surgery (AREA)
  • Biophysics (AREA)
  • Pathology (AREA)
  • Animal Behavior & Ethology (AREA)
  • Public Health (AREA)
  • Veterinary Medicine (AREA)
  • Nuclear Medicine, Radiotherapy & Molecular Imaging (AREA)
  • Radiology & Medical Imaging (AREA)
  • Optics & Photonics (AREA)
  • Theoretical Computer Science (AREA)
  • Computer Vision & Pattern Recognition (AREA)
  • General Physics & Mathematics (AREA)
  • Signal Processing (AREA)
  • Quality & Reliability (AREA)
  • Dentistry (AREA)
  • Oral & Maxillofacial Surgery (AREA)
  • Endoscopes (AREA)
  • Image Processing (AREA)
PCT/JP2016/053623 2015-02-23 2016-02-08 画像処理装置 Ceased WO2016136442A1 (ja)

Priority Applications (3)

Application Number Priority Date Filing Date Title
CN201680000508.9A CN106068092B (zh) 2015-02-23 2016-02-08 图像处理装置
EP16728210.2A EP3263006B1 (en) 2015-02-23 2016-02-08 Image processing device
US15/106,978 US10231600B2 (en) 2015-02-23 2016-02-08 Image processing apparatus

Applications Claiming Priority (2)

Application Number Priority Date Filing Date Title
JP2015-032714 2015-02-23
JP2015032714A JP6584090B2 (ja) 2015-02-23 2015-02-23 画像処理装置

Publications (1)

Publication Number Publication Date
WO2016136442A1 true WO2016136442A1 (ja) 2016-09-01

Family

ID=56789399

Family Applications (1)

Application Number Title Priority Date Filing Date
PCT/JP2016/053623 Ceased WO2016136442A1 (ja) 2015-02-23 2016-02-08 画像処理装置

Country Status (5)

Country Link
US (1) US10231600B2 (enExample)
EP (1) EP3263006B1 (enExample)
JP (1) JP6584090B2 (enExample)
CN (1) CN106068092B (enExample)
WO (1) WO2016136442A1 (enExample)

Cited By (2)

* Cited by examiner, † Cited by third party
Publication number Priority date Publication date Assignee Title
WO2019142689A1 (ja) * 2018-01-19 2019-07-25 Hoya株式会社 電子内視鏡用プロセッサ及び電子内視鏡システム
US11602263B2 (en) 2016-10-12 2023-03-14 Olympus Corporation Insertion system, method and computer-readable storage medium for displaying attention state information over plurality of times

Families Citing this family (21)

* Cited by examiner, † Cited by third party
Publication number Priority date Publication date Assignee Title
WO2018144427A1 (en) * 2017-02-06 2018-08-09 Boston Scientific Scimed, Inc. Bladder mapping
US10806334B2 (en) 2017-02-28 2020-10-20 Verily Life Sciences Llc System and method for multiclass classification of images using a programmable light source
JP6850225B2 (ja) * 2017-09-01 2021-03-31 富士フイルム株式会社 医療画像処理装置、内視鏡装置、診断支援装置、及び、医療業務支援装置
KR101943011B1 (ko) 2018-01-22 2019-01-28 주식회사 뷰노 피검체의 의료 영상 판독을 지원하는 방법 및 이를 이용한 장치
WO2019146079A1 (ja) * 2018-01-26 2019-08-01 オリンパス株式会社 内視鏡画像処理装置、内視鏡画像処理方法及びプログラム
WO2019175032A1 (en) * 2018-03-14 2019-09-19 Koninklijke Philips N.V. Scoring intravascular lesions and stent deployment in medical intraluminal ultrasound imaging
JP7171254B2 (ja) 2018-06-13 2022-11-15 キヤノン株式会社 画像処理装置、撮像装置、および画像処理方法
CN109222859A (zh) * 2018-08-03 2019-01-18 广州高通影像技术有限公司 一种带有ai辅助诊断功能的智能内窥镜影像系统
CN109330566A (zh) * 2018-11-21 2019-02-15 佛山市第人民医院(中山大学附属佛山医院) 一种伤口监测方法及装置
JP7255288B2 (ja) * 2019-03-29 2023-04-11 ソニーグループ株式会社 画像処理システム、画像処理装置、及び画像処理方法
WO2020235502A1 (ja) * 2019-05-23 2020-11-26 富士フイルム株式会社 画像処理装置
CN111091536B (zh) * 2019-11-25 2023-04-07 腾讯科技(深圳)有限公司 医学图像处理方法、装置、设备、介质以及内窥镜
CN111358573B (zh) * 2020-02-26 2023-06-20 西安交通大学医学院第二附属医院 高光谱成像的术区快速检测、标记的设备及检测方法
AU2021281465A1 (en) 2020-05-23 2022-12-15 Inspire Medical Systems, Inc. Single or multiple nerve stimulation to treat sleep disordered breathing
CN115190775B (zh) * 2020-09-25 2026-02-27 豪雅株式会社 内窥镜用处理器以及内窥镜系统
US20240127434A1 (en) * 2021-02-26 2024-04-18 Nec Corporation Image processing device, image processing method and storage medium
CN113128402A (zh) * 2021-04-19 2021-07-16 国网江苏电动汽车服务有限公司 一种识别充换电设备安全状态的系统和方法
CA3231531A1 (en) 2021-09-10 2023-03-16 Boston Scientific Scimed, Inc. Method of robust surface and depth estimation
AU2022342001B2 (en) 2021-09-10 2025-06-05 Boston Scientific Scimed, Inc. Method of multiple image reconstruction and registration
CN117257204B (zh) * 2023-09-19 2024-05-07 深圳海业医疗科技有限公司 一种内窥镜控制组件控制方法及系统
CN119069118B (zh) * 2024-11-05 2025-07-22 深圳市生强科技有限公司 基于数字病理切片颜色识别的病变风险提示方法、系统及其应用

Citations (6)

* Cited by examiner, † Cited by third party
Publication number Priority date Publication date Assignee Title
JP2003033327A (ja) * 2001-07-24 2003-02-04 Fujitsu Ltd 画像情報による診断支援装置
JP2003260027A (ja) * 2003-02-06 2003-09-16 Olympus Optical Co Ltd 内視鏡用画像処理装置
JP2006025802A (ja) * 2003-06-17 2006-02-02 Olympus Corp 内視鏡装置
JP2011177419A (ja) * 2010-03-03 2011-09-15 Olympus Corp 蛍光観察装置
JP2014018332A (ja) 2012-07-17 2014-02-03 Hoya Corp 画像処理装置及び内視鏡装置
WO2014084134A1 (ja) * 2012-11-30 2014-06-05 オリンパス株式会社 観察装置

Family Cites Families (5)

* Cited by examiner, † Cited by third party
Publication number Priority date Publication date Assignee Title
US6947784B2 (en) * 2000-04-07 2005-09-20 The General Hospital Corporation System for digital bowel subtraction and polyp detection and related techniques
US20050027166A1 (en) * 2003-06-17 2005-02-03 Shinya Matsumoto Endoscope system for fluorescent observation
JP6027803B2 (ja) * 2012-07-17 2016-11-16 Hoya株式会社 画像処理装置及び内視鏡装置
JP5567168B2 (ja) * 2013-03-06 2014-08-06 富士フイルム株式会社 画像処理装置および内視鏡システム
JP6097629B2 (ja) * 2013-04-26 2017-03-15 Hoya株式会社 病変評価情報生成装置

Patent Citations (6)

* Cited by examiner, † Cited by third party
Publication number Priority date Publication date Assignee Title
JP2003033327A (ja) * 2001-07-24 2003-02-04 Fujitsu Ltd 画像情報による診断支援装置
JP2003260027A (ja) * 2003-02-06 2003-09-16 Olympus Optical Co Ltd 内視鏡用画像処理装置
JP2006025802A (ja) * 2003-06-17 2006-02-02 Olympus Corp 内視鏡装置
JP2011177419A (ja) * 2010-03-03 2011-09-15 Olympus Corp 蛍光観察装置
JP2014018332A (ja) 2012-07-17 2014-02-03 Hoya Corp 画像処理装置及び内視鏡装置
WO2014084134A1 (ja) * 2012-11-30 2014-06-05 オリンパス株式会社 観察装置

Non-Patent Citations (1)

* Cited by examiner, † Cited by third party
Title
See also references of EP3263006A4

Cited By (3)

* Cited by examiner, † Cited by third party
Publication number Priority date Publication date Assignee Title
US11602263B2 (en) 2016-10-12 2023-03-14 Olympus Corporation Insertion system, method and computer-readable storage medium for displaying attention state information over plurality of times
WO2019142689A1 (ja) * 2018-01-19 2019-07-25 Hoya株式会社 電子内視鏡用プロセッサ及び電子内視鏡システム
JPWO2019142689A1 (ja) * 2018-01-19 2020-12-17 Hoya株式会社 電子内視鏡用プロセッサ及び電子内視鏡システム

Also Published As

Publication number Publication date
EP3263006A4 (en) 2018-11-14
JP6584090B2 (ja) 2019-10-02
CN106068092A (zh) 2016-11-02
JP2016154588A (ja) 2016-09-01
EP3263006B1 (en) 2024-01-31
US10231600B2 (en) 2019-03-19
EP3263006C0 (en) 2024-01-31
EP3263006A1 (en) 2018-01-03
US20170112353A1 (en) 2017-04-27
CN106068092B (zh) 2018-05-25

Similar Documents

Publication Publication Date Title
JP6584090B2 (ja) 画像処理装置
JP6346576B2 (ja) 画像処理装置
US11701032B2 (en) Electronic endoscope processor and electronic endoscopic system
CN106102556B (zh) 图像处理装置
US8027533B2 (en) Method of automated image color calibration
CN112351724A (zh) 电子内窥镜系统
JP6907398B2 (ja) 内視鏡システム
JP6531202B2 (ja) 画像処理装置
CN112351723A (zh) 电子内窥镜系统与数据处理装置
CN112469323A (zh) 内窥镜系统
JP7084546B2 (ja) 内視鏡システム
CN109310299B (zh) 电子内窥镜用处理器以及电子内窥镜系统
JP7455716B2 (ja) 内視鏡用プロセッサ及び内視鏡システム
JP7455717B2 (ja) 内視鏡用プロセッサ及び内視鏡システム

Legal Events

Date Code Title Description
REEP Request for entry into the european phase

Ref document number: 2016728210

Country of ref document: EP

WWE Wipo information: entry into national phase

Ref document number: 15106978

Country of ref document: US

Ref document number: 2016728210

Country of ref document: EP

121 Ep: the epo has been informed by wipo that ep was designated in this application

Ref document number: 16728210

Country of ref document: EP

Kind code of ref document: A1

NENP Non-entry into the national phase

Ref country code: DE