WO2016098795A1 - X線検査方法及び装置 - Google Patents

X線検査方法及び装置 Download PDF

Info

Publication number
WO2016098795A1
WO2016098795A1 PCT/JP2015/085155 JP2015085155W WO2016098795A1 WO 2016098795 A1 WO2016098795 A1 WO 2016098795A1 JP 2015085155 W JP2015085155 W JP 2015085155W WO 2016098795 A1 WO2016098795 A1 WO 2016098795A1
Authority
WO
WIPO (PCT)
Prior art keywords
ray
sample
detection
respect
rays
Prior art date
Legal status (The legal status is an assumption and is not a legal conclusion. Google has not performed a legal analysis and makes no representation as to the accuracy of the status listed.)
Ceased
Application number
PCT/JP2015/085155
Other languages
English (en)
French (fr)
Japanese (ja)
Inventor
敏之 中尾
雄太 浦野
開鋒 帳
秀明 笹澤
Current Assignee (The listed assignees may be inaccurate. Google has not performed a legal analysis and makes no representation or warranty as to the accuracy of the list.)
Hitachi High Tech Corp
Original Assignee
Hitachi High Technologies Corp
Hitachi High Tech Corp
Priority date (The priority date is an assumption and is not a legal conclusion. Google has not performed a legal analysis and makes no representation as to the accuracy of the date listed.)
Filing date
Publication date
Application filed by Hitachi High Technologies Corp, Hitachi High Tech Corp filed Critical Hitachi High Technologies Corp
Priority to KR1020177010165A priority Critical patent/KR101920268B1/ko
Priority to US15/529,874 priority patent/US10352879B2/en
Publication of WO2016098795A1 publication Critical patent/WO2016098795A1/ja
Anticipated expiration legal-status Critical
Ceased legal-status Critical Current

Links

Images

Classifications

    • GPHYSICS
    • G01MEASURING; TESTING
    • G01NINVESTIGATING OR ANALYSING MATERIALS BY DETERMINING THEIR CHEMICAL OR PHYSICAL PROPERTIES
    • G01N23/00Investigating or analysing materials by the use of wave or particle radiation, e.g. X-rays or neutrons, not covered by groups G01N3/00 – G01N17/00, G01N21/00 or G01N22/00
    • G01N23/02Investigating or analysing materials by the use of wave or particle radiation, e.g. X-rays or neutrons, not covered by groups G01N3/00 – G01N17/00, G01N21/00 or G01N22/00 by transmitting the radiation through the material
    • G01N23/04Investigating or analysing materials by the use of wave or particle radiation, e.g. X-rays or neutrons, not covered by groups G01N3/00 – G01N17/00, G01N21/00 or G01N22/00 by transmitting the radiation through the material and forming images of the material
    • G01N23/044Investigating or analysing materials by the use of wave or particle radiation, e.g. X-rays or neutrons, not covered by groups G01N3/00 – G01N17/00, G01N21/00 or G01N22/00 by transmitting the radiation through the material and forming images of the material using laminography or tomosynthesis
    • GPHYSICS
    • G01MEASURING; TESTING
    • G01BMEASURING LENGTH, THICKNESS OR SIMILAR LINEAR DIMENSIONS; MEASURING ANGLES; MEASURING AREAS; MEASURING IRREGULARITIES OF SURFACES OR CONTOURS
    • G01B15/00Measuring arrangements characterised by the use of electromagnetic waves or particle radiation, e.g. by the use of microwaves, X-rays, gamma rays or electrons
    • G01B15/08Measuring arrangements characterised by the use of electromagnetic waves or particle radiation, e.g. by the use of microwaves, X-rays, gamma rays or electrons for measuring roughness or irregularity of surfaces
    • GPHYSICS
    • G01MEASURING; TESTING
    • G01NINVESTIGATING OR ANALYSING MATERIALS BY DETERMINING THEIR CHEMICAL OR PHYSICAL PROPERTIES
    • G01N23/00Investigating or analysing materials by the use of wave or particle radiation, e.g. X-rays or neutrons, not covered by groups G01N3/00 – G01N17/00, G01N21/00 or G01N22/00
    • G01N23/02Investigating or analysing materials by the use of wave or particle radiation, e.g. X-rays or neutrons, not covered by groups G01N3/00 – G01N17/00, G01N21/00 or G01N22/00 by transmitting the radiation through the material
    • G01N23/06Investigating or analysing materials by the use of wave or particle radiation, e.g. X-rays or neutrons, not covered by groups G01N3/00 – G01N17/00, G01N21/00 or G01N22/00 by transmitting the radiation through the material and measuring the absorption
    • G01N23/083Investigating or analysing materials by the use of wave or particle radiation, e.g. X-rays or neutrons, not covered by groups G01N3/00 – G01N17/00, G01N21/00 or G01N22/00 by transmitting the radiation through the material and measuring the absorption the radiation being X-rays
    • GPHYSICS
    • G01MEASURING; TESTING
    • G01NINVESTIGATING OR ANALYSING MATERIALS BY DETERMINING THEIR CHEMICAL OR PHYSICAL PROPERTIES
    • G01N23/00Investigating or analysing materials by the use of wave or particle radiation, e.g. X-rays or neutrons, not covered by groups G01N3/00 – G01N17/00, G01N21/00 or G01N22/00
    • G01N23/02Investigating or analysing materials by the use of wave or particle radiation, e.g. X-rays or neutrons, not covered by groups G01N3/00 – G01N17/00, G01N21/00 or G01N22/00 by transmitting the radiation through the material
    • G01N23/06Investigating or analysing materials by the use of wave or particle radiation, e.g. X-rays or neutrons, not covered by groups G01N3/00 – G01N17/00, G01N21/00 or G01N22/00 by transmitting the radiation through the material and measuring the absorption
    • G01N23/18Investigating the presence of flaws defects or foreign matter
    • GPHYSICS
    • G01MEASURING; TESTING
    • G01NINVESTIGATING OR ANALYSING MATERIALS BY DETERMINING THEIR CHEMICAL OR PHYSICAL PROPERTIES
    • G01N2223/00Investigating materials by wave or particle radiation
    • G01N2223/30Accessories, mechanical or electrical features
    • G01N2223/33Accessories, mechanical or electrical features scanning, i.e. relative motion for measurement of successive object-parts
    • G01N2223/3306Accessories, mechanical or electrical features scanning, i.e. relative motion for measurement of successive object-parts object rotates
    • GPHYSICS
    • G01MEASURING; TESTING
    • G01NINVESTIGATING OR ANALYSING MATERIALS BY DETERMINING THEIR CHEMICAL OR PHYSICAL PROPERTIES
    • G01N2223/00Investigating materials by wave or particle radiation
    • G01N2223/40Imaging
    • G01N2223/401Imaging image processing
    • GPHYSICS
    • G01MEASURING; TESTING
    • G01NINVESTIGATING OR ANALYSING MATERIALS BY DETERMINING THEIR CHEMICAL OR PHYSICAL PROPERTIES
    • G01N2223/00Investigating materials by wave or particle radiation
    • G01N2223/40Imaging
    • G01N2223/408Imaging display on monitor
    • GPHYSICS
    • G01MEASURING; TESTING
    • G01NINVESTIGATING OR ANALYSING MATERIALS BY DETERMINING THEIR CHEMICAL OR PHYSICAL PROPERTIES
    • G01N2223/00Investigating materials by wave or particle radiation
    • G01N2223/60Specific applications or type of materials
    • G01N2223/611Specific applications or type of materials patterned objects; electronic devices
    • G01N2223/6116Specific applications or type of materials patterned objects; electronic devices semiconductor wafer
    • GPHYSICS
    • G01MEASURING; TESTING
    • G01NINVESTIGATING OR ANALYSING MATERIALS BY DETERMINING THEIR CHEMICAL OR PHYSICAL PROPERTIES
    • G01N2223/00Investigating materials by wave or particle radiation
    • G01N2223/60Specific applications or type of materials
    • G01N2223/646Specific applications or type of materials flaws, defects
    • GPHYSICS
    • G01MEASURING; TESTING
    • G01NINVESTIGATING OR ANALYSING MATERIALS BY DETERMINING THEIR CHEMICAL OR PHYSICAL PROPERTIES
    • G01N2223/00Investigating materials by wave or particle radiation
    • G01N2223/60Specific applications or type of materials
    • G01N2223/646Specific applications or type of materials flaws, defects
    • G01N2223/6462Specific applications or type of materials flaws, defects microdefects

Definitions

  • the present invention relates to a semiconductor inspection apparatus and method.
  • TSV Through Si Via
  • the TSV has a diameter of about 20 ⁇ m and a depth of about 80 ⁇ m, is smaller than a microbump widely used in current 3D stacking, and has a high aspect ratio. For this reason, the void generated when forming the TSV by Cu plating tends to be a fatal defect, and the need for inspection of voids in the TSV is high.
  • a method of irradiating a semiconductor wafer (hereinafter referred to as a wafer) with X-rays and analyzing from the transmission image is widely used.
  • a technique for detecting voids by irradiating X-rays from an inclined direction is described.
  • Patent Document 1 describes a technique for obtaining a transmission image from at least six directions (azimuth angle directions) inclined by 45 degrees (elevation angle direction).
  • azimuth angle directions inclined by 45 degrees
  • elevation angle direction since a plurality of TSVs are formed at a narrow pitch, it is extremely difficult to avoid overlapping of transmission images even if an irradiation azimuth angle is arbitrarily selected without a selection criterion.
  • the present invention solves the above-described problems, and an X-ray transmission image that avoids overlapping of a plurality of TSVs can be obtained even for a sample (wafer) in which a plurality of TSVs are formed at a narrow pitch. It is an object of the present invention to provide an X-ray inspection method and apparatus capable of detecting a void as a defect with high accuracy and high speed.
  • X-rays emitted from an X-ray source are irradiated to a sample to be inspected on which a structure placed on a rotary stage is formed, and X-rays are irradiated.
  • the X-ray transmitted through the sample is detected by the X-ray detector, and the signal detected from the X-ray transmitted through the sample detected by the X-ray detector is processed by the image processing unit to form an X-ray transmission image.
  • the X-ray inspection method in which the X-ray transmission image formed by the image processing unit is processed by the defect determination unit and the defect is detected inside the sample, detecting the X-ray transmitted through the sample by the X-ray detector, The detection azimuth angle for the X-ray sample transmitted through the sample detected by the X-ray detector and the detection elevation angle for the X-ray source are determined based on information on the arrangement interval, depth, and planar shape of the structures formed on the sample.
  • the rotation of the rotary stage on which the sample is placed according to the determined detection azimuth angle Adjust the angle and to detect the X-rays transmitted through the sample in a state of setting the position of the detector to determine the detected elevation.
  • X-rays emitted from an X-ray source are irradiated to a sample to be inspected on which a structure placed on a rotary stage is formed, and X-rays are irradiated.
  • the X-ray transmitted through the sample is detected by the X-ray detector, and the X-ray detected through the sample detected by the X-ray detector is processed by the image processing unit to form an X-ray transmission image.
  • the X-ray inspection method for detecting defects in the sample by processing the X-ray transmission image formed by the image processing unit by the defect determination unit X-rays transmitted through the sample detected by the X-ray detector are detected.
  • An X-ray transmission image formed by processing the detected signal in the image processing unit is displayed on the screen, and the X-ray transmission image of the structure formed on the sample is overlapped on the screen displaying the X-ray transmission image.
  • X-ray detector so that the overlap of X-ray transmission images of the structure is minimized.
  • the sample was to determine the detected elevation angle for detecting azimuth and X-ray source to the sample of the transmitted X-ray.
  • a rotation stage that can be rotated in a plane by placing a sample to be inspected, and an X-ray source that irradiates the sample placed on the rotation stage with X-rays
  • An X-ray detector that detects X-rays irradiated by the X-ray source and transmitted through the sample
  • a peristaltic stage that adjusts an elevation angle of the X-ray detector with respect to a position of the X-ray source emitting X-rays
  • an X-ray An image processing unit that forms a X-ray transmission image by processing a signal obtained by detecting X-rays transmitted through the inside of the sample detected by the detector, and an X-ray transmission image formed by the image processing unit is processed to process the inside of the sample.
  • the control unit includes an arrangement interval, a depth, and a plane of structures formed on the sample. Based on shape information or X-ray transmission image formed by image processing unit The rotation angle of the rotary stage on which the sample is placed is controlled to set the detection azimuth angle of the X-ray detector with respect to the sample, and the peristaltic angle of the peristaltic stage with respect to the position of the X-ray source emitting X-ray source is controlled. The detection elevation angle with respect to the X-ray source of the detector is set.
  • an X-ray transmission image that avoids the overlapping of the plurality of TSVs can be obtained. It was possible to detect internal voids with high accuracy and high speed.
  • Example 1 of this invention It is a figure explaining the overlap of the TSV transmission image when a wafer is rotated in the wafer in-plane direction. It is an example of the X-ray detection image obtained when there is no overlap of transmission images. It is an example of GUI in Example 1 of this invention. It is a flowchart which shows the test
  • the present invention irradiates a region where a TSV of a wafer is formed from an angle inclined from a vertical direction on the surface of a wafer which is a sample to be inspected, and the diameter, depth, pitch, etc. of the TSV.
  • the present invention calculates the overlapping area from the brightness information of the picked-up image when the overlapping of adjacent TSV transmission images inevitably occurs, and faces the wafer so that the overlapping of the transmission images is minimized. By rotating in the inward direction, a transmission image is acquired and defect detection is performed.
  • FIG. 1A is a schematic diagram of an X-ray inspection apparatus 100.
  • the X-ray inspection apparatus 100 includes an X-ray source 1, a translation stage 3 and a rotation stage 4 for holding and moving a wafer 2 to be measured, an X-ray detector 5, a peristaltic stage 6, an X-ray shielding wall 7, An X-ray source controller 101, a stage controller 102, an X-ray detector controller 103, a control unit 104, and an input / output unit 105 are provided.
  • the X-ray source 1 is composed of an electron optical system and a target (not shown).
  • the electron optical system is a Schottky electron gun, and the target is composed of a tungsten thin film and a diamond thin film.
  • the translation stage 3 can move in the X-axis, Y-axis, and Z-axis directions, and the rotary stage 4 can rotate in the XY plane (hereinafter, the rotation direction of the rotary stage in the XY plane is defined as the ⁇ direction). ).
  • the central portions of the translation stage 3 and the rotary stage 4 are made of glass (not shown) that absorbs little X-rays.
  • the X-ray detector 5 is arranged at a position facing the X-ray source 1 with the translation stage 3 and the rotation stage 4 in between.
  • an image intensifier in which a scintillator, a phosphor, and a CCD are combined is used for the X-ray detector 5.
  • X-rays irradiated from the X-ray source 1 are absorbed by the wafer 2 arranged on the translation stage 3, and the transmitted X-rays are detected by the X-ray detector 5.
  • the distance between the X-ray detector 5 and the X-ray source 1 is fixed, and the magnification and field of view are changed by changing the position of the wafer 2 by the translation stage 3.
  • the X-ray detector 5 can be rotated in the XZ plane around the X-ray generation position of the X-ray source 1 by the peristaltic stage 6 (the rotation direction in the XZ plane is defined as the ⁇ direction), and its rotation angle Accordingly, the wafer 2 is translated by the translation stage 3 and adjusted so that the measurement area does not shift.
  • the X-ray source 1, translation stage 3, rotary stage 4, and X-ray detector 5 are arranged inside the X-ray shielding wall 6 so that X-rays do not leak outside.
  • the X-ray source controller 101 controls various parameters of the X-ray source 1 (tube voltage, tube current, applied magnetic field to the electron optical system, applied voltage, atmospheric pressure, etc.) and ON / OFF of X-ray generation, and the stage controller 102
  • the movement coordinates of the translation stage 3 and the rotation stage 4 are controlled, and the X-ray detector controller 103 reads data from the X-ray detector 5 and sets imaging conditions (sensitivity, average number of sheets, etc.).
  • the X-ray source controller 101, the stage controller 102, and the X-ray detector controller 103 are controlled by the control unit 104. Based on the inspection conditions input in advance to the control unit 104 through the GUI, an X-ray transmission image is taken while moving the wafer 2, and defects such as voids are determined based on the obtained transmission image, and the inspection result is input. This is displayed on the output unit 105.
  • FIG. 1B shows the configuration of the control unit 104.
  • the control unit 104 includes a wafer information input unit 1041, an input information capture unit 1042, a ⁇ calculation unit 1403, an image processing unit 1044, and a defect determination unit 1045.
  • the wafer information input unit 1041 inputs design information of the inspection target wafer through the network.
  • the input information fetch unit 1042 is information necessary to calculate the ⁇ direction, which is the rotation direction in the XY plane of the rotary stage, from the design information of the inspection target wafer obtained through the network by the wafer information input unit 1041. Capture.
  • the ⁇ calculation unit 1403 calculates the ⁇ direction, which is the rotation direction in the XY plane of the rotary stage, using the information acquired from the design information of the wafer to be inspected by the input information acquisition unit 1042.
  • the stage controller 102 controls the rotation angle of the ⁇ stage 4 based on the rotation nucleus angle in the ⁇ direction calculated by the ⁇ calculation unit 1403.
  • the image processing unit 1044 receives an X-ray detection signal transmitted through the wafer 2 detected by the X-ray detector 5 via the X-ray detector controller 103, and further receives the signals of the translation stage 3 and the rotary stage 4 from the stage controller 102. In response to the control signal, an X-ray transmission image of the wafer 2 is created.
  • the determination unit 1045 includes information on the X-ray transmission image of the wafer 2 created by the image processing unit 1044, information on the rotation direction ⁇ in the XY plane of the rotation stage calculated by the ⁇ calculation unit 1403, and the X-ray controller 101 The defect is determined using the output information, the output information of the stage controller 102, and the output information of the X-ray detector controller 103.
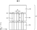
  • FIG. 2 is a plan view of the entire wafer 2 and a partially enlarged view of a region where TSVs are formed.
  • FIG. 3 is a cross-sectional view taken along line AA ′ in FIG.
  • a plurality of dies 10 are regularly formed on the wafer 2, and TSVs 11 are formed on a part of the dies 10.
  • the diameter of TSV11 is ⁇ , and is formed at a pitch of P X in the X axis direction and P y in the Y axis direction.
  • a first layer 13, a second layer 14, and a third layer 15 are laminated, and the respective layers are connected by TSV 11 and micro bumps 12.
  • the length of TSV11 is h.
  • the X-ray transmission image of the wafer 2 is obtained by tilting the position of the X-ray detector 5 in the XZ plane in the XZ plane around the X-ray generation position of the X-ray source 1 by the peristaltic stage 6.
  • the peristaltic stage 6 Explain when it was acquired.
  • description will be made with reference to an XZ sectional view in which only one TSV11 formed on the second layer 14 of the wafer 2 is taken out.
  • TSV is mainly made of Cu, and Cu has a larger atomic number than Si constituting most of the wafer 2, and therefore absorbs X-rays. That is, when the second layer 14 is irradiated with X-rays 200 and transmitted X-rays are detected by the X-ray detector 5, the region where TSV11 does not exist in the captured image becomes bright because X-ray absorption is small, and TSV11 is The existing region becomes dark because of the large X-ray absorption. Furthermore, if there is a void 20 inside TSV11, X-ray absorption is reduced in the void region, and only the void region becomes brighter than the surroundings, and the void can be detected with this brightness difference.
  • the number of pixels of the X-ray detector 5 that detects X-rays that have passed through the TSV11 region is small, and the corresponding pixels The absorption of X-rays incident on TSV11 becomes the maximum.
  • the brightness (the magnitude of the output signal) for each pixel number of the X-ray detector 5 (the number when a plurality of pixels arranged in a line of the X-ray detector 5 are counted in order from one end).
  • the output signal 301 from the pixel at the position corresponding to the TSV existence area becomes small as in the profile 30 in which is plotted, and the brightness of the image becomes very dark.
  • the absorption at the TSV 11 is very large in the first place, so the contrast between the detection signal 302 of the TSV 11 and the detection signal 303 of the void 20 is poor, and the detection image is processed. The detection performance of the void 20 is lowered.
  • the X-ray detector 5 is tilted in the ⁇ direction with respect to the wafer 2 to acquire an X-ray transmission image, whereby the brightness contrast of the void portion image with respect to the TSV region can be increased, and the detected image It becomes possible to improve the detection accuracy of the void 20 inside the TSV when the above is processed.
  • the length of the TSV transmission image detected by the X-ray detector 5 when the X-ray detector 5 is tilted in the ⁇ direction by the peristaltic stage 6 is calculated using FIG.
  • the diameter of TSV11 formed on the wafer 2 is ⁇ and the height is h. If the length of the TSV transmission image obtained by irradiating the X-ray 200 from the direction inclined by ⁇ is h ′, The following relational expression holds between these parameters.
  • FIG. 6 shows the relationship between the inclination angle ⁇ and the TSV transmission image length h ′ obtained from (Equation 1).
  • the length h ′ of the TSV transmission image is about 80 ⁇ m.
  • TSVs of TSV11-A, 11-B, 11-C, and 11-D there are four TSVs of TSV11-A, 11-B, 11-C, and 11-D, and the respective TSV transmission images 40, 41, 42, and 43 are detected by the X-ray detector 5. ing. At this time, the center coordinate of TSV11-A is (0,0), the center coordinate of TSV11-B is (0, Py), the center coordinate of TSV11-C is (Px, 0), and the center coordinate of TSV11-D is ( Px, Py) and coordinates are set.
  • the transmission image 40 passes between TSV11-C and TSV11-D, and it is possible to eliminate the overlapping of the transmission images.
  • the transmission image 40 passes between TSV11-B and TSV11-D, and it is possible to eliminate the overlapping of the transmission images.
  • TSV11-A and its TSV transmission image 40 have been described as an example. However, since TSVs are formed with the same shape and pitch, if a transmission image is acquired at the same rotation angle, other TSVs (11- With respect to B.11-C.11-D), transmission X-rays can be picked up without overlapping transmission images.
  • FIG. 9A and FIG. 9B show an example of the GUI.
  • the GUI screen includes an inspection mode window 110 for inspecting a wafer, a recipe creation window 111 for creating a recipe for inspection, a calibration window 112, and a load / unload window 113 for loading / unloading a wafer. Has two subwindows.
  • parameters such as tube voltage and probe current can be input, and an X-ray transmission image can be confirmed in real time in the transmission image display window 50. Moreover, it is possible to input a coordinate and observe a transmission image at an arbitrary place. If the wafer layout information is known, the wafer layout information can be imported from the pull-down menu 53, and the rotation angle automatic calculation button 54 can be pressed to automatically calculate the rotation angle without overlapping transmission images and set it as the rotation angle. It is. Of course, it is possible to manually input the rotation angle after automatic calculation and adjust the rotation angle.
  • FIG. 7 illustrates the method of setting the rotation angle assuming an ideal TSV transmission image.
  • the rotation angle is not actually formed as designed.
  • the transmission image is acquired by tilting the detector 5 with respect to the wafer 2 by the peristaltic stage 6, the wafer 2 and the detector 5 are not parallel.
  • the acquired image has a magnification difference depending on the location of the wafer 2.
  • the transmission image is displayed on the transmission image display window 50 to actually confirm the transmission image, and the rotation angle and the inclination angle are finely adjusted in the setting value display area 55. To be able to.
  • the transmission image display window 50 an arbitrary straight line 51 can be drawn, and its brightness profile 52 can be displayed.
  • the overlapping of the transmission images can be quantitatively confirmed by displaying the profile.
  • the recipe creation window 111 in addition to the parameters described in the calibration window 112, the wafer movement sequence, the setting of the brightness threshold for performing defect determination, etc. are set, and a recipe for inspecting the wafer is created. It has a function of saving (not shown). If the inspection conditions set under the conditions set in the calibration window 112 are suitable, the conditions set in the calibration window 112 can be reflected in the recipe creation window 111 to simplify recipe creation.
  • the recipe created in the recipe creation window 111 can be selected, and inspection can be started / stopped.
  • inspection results can be stored, read out and analyzed (not shown).
  • the wafer set in the X-ray inspection apparatus 100 can be unloaded and the wafer stored in the hoop can be loaded (not shown).
  • FIG. 10A shows an inspection flow according to this embodiment.
  • S150 An arbitrary wafer is set from the hoop set in the X-ray inspection apparatus 100. Alternatively, it may be set manually.
  • S151 Wafer layout information is registered. The rotation angle is calculated from this layout information. In addition, an area where TSV exists is extracted from the layout information, and a wafer movement sequence is set simultaneously. Since the position of the X-ray source 1 is fixed, when the wafer 2 is moved, the relative positions of the X-ray source 1 and the wafer 2 change, and the rotation angle also changes.
  • the wafer is appropriately rotated by the rotation stage 4 based on the coordinates of the translation stage 3, and a wafer movement sequence is set so that TSV transmission images do not overlap.
  • S152 A rotation angle is determined. As described above, the automatic calculation result and the optimal rotation angle may deviate due to factors such as a design error. In this case, the optimal angle is confirmed and reset on the calibration screen.
  • S153 Input inspection conditions such as tube voltage, tube current, and tilt angle.
  • S154 The wafer is inspected based on the conditions set up to S153, and an X-ray transmission image is acquired.
  • S155 Defect determination is performed based on the obtained transmission image.
  • the detailed processing flow of this step is shown in FIG. 10B.
  • brightness correction is performed by shading correction (S1551).
  • the TSV area is extracted from the density difference of the brightness-corrected image (S1552). Assuming that the TSV is a cylinder, it is possible to estimate how far the X-rays incident on each pixel have passed through the TSV (Cu) from the extracted TSV contour. Correction is performed (S1553). Then, with reference to the variation in brightness of the transmitted image after correction, a defect larger than a preset threshold is determined as a defect (S1554).
  • FIG. 10C shows an example of a screen 1560 displayed on the input / output unit 105.
  • a result display button 1565 is displayed.
  • this result display button 1565 is clicked on the screen, an entire wafer view 1561 is displayed, and the position information of the area 1562 where the detected defect exists is displayed thereon.
  • the target of the X-ray source 1 is described as an example of a tungsten thin film and a diamond thin film.
  • the present invention is not limited to this. Since the optimum X-ray energy differs depending on the measurement object, it can be appropriately changed in consideration of the characteristic X-ray energy and the like. Also, the configuration of the electron optical system is not limited to this.
  • the X-ray detector 5 is described as an example of an image intensifier in which a scintillator, a phosphor, and a CCD are combined.
  • the present invention is not limited to this. For example, if a flat panel display is used, a transmission image having no distortion can be obtained over the entire field of view, and inspection can be performed with a wide field of view.
  • the example in which the wafer 2 is composed of three layers has been described.
  • the present invention is not limited to this.
  • the example in which the diameter of the TSV is 20 ⁇ m, the length is 80 ⁇ m, and the formed pitches are 40 ⁇ m and 50 ⁇ m has been described, but the present invention is not limited to this.
  • an optimal rotation angle and inclination angle may be set for each wafer.
  • the GUI as shown in FIG. 9 has been described as an example, but the present invention is not limited to this. Further, the defect detection processing method has been described in the flow 155 of FIG. 10, but the processing method is not limited to this.
  • the example in which the TSV is formed according to one pattern on the entire wafer has been described as an example of calculating the rotation angle.
  • the present invention is not limited to this.
  • an optimum rotation angle is set for each area formed with the same pattern, and the rotation angle is changed for each area, and the inspection is performed. Just do it.
  • the present invention since micro bumps and Cu pillars are regularly formed in the same manner as TSV, it is possible to determine the optimum irradiation angle from information on shape, depth, and pitch.
  • a structure made of metal such as a wiring or a metal pattern has a large atomic number. Therefore, when these transmission images overlap, there is a possibility that the detection accuracy is lowered and erroneous detection is caused. Therefore, the rotation angle may be set so that these structures do not overlap.
  • the measurement target is described as an example of a wafer, but the measurement object is not limited to this.
  • the present invention can be applied to a measurement object in which a complicated pattern is engraved, such as a chip after dicing or a MEMS (Mechanical-Electrical-Micro-System).
  • the tilt angle ⁇ may be changed by rotating the X-ray source 1 and the X-ray detector 5 around the measurement location of the wafer 2 while maintaining the facing positional relationship.
  • the tilt angle ⁇ may be changed by tilting the wafer 2.
  • the X-ray irradiation angle may be changed by rotating the X-ray detector 5 in the ⁇ direction in the XY plane and moving the translation stage 3 in accordance therewith.
  • the translation stage 3 is fixed, and the X-ray source 1 and the X-ray detector 5 are maintained while maintaining the positional relationship in which the X-ray source 1 and the X-ray detector 5 face each other around the measurement location of the wafer 2.
  • the X-ray irradiation angle may be changed by rotating the line detector 5 in the ⁇ direction within the XY plane.
  • the present invention is not limited to this. You may test
  • the schematic diagram of the X-ray inspection apparatus 100 is the same as that shown in FIG. In the first embodiment, the description has been given in the case where the transmission images of adjacent TSVs do not overlap if the rotation angle is optimized. However, depending on the design layout, the transmission images may inevitably overlap. Conceivable. In this case, the inspection may be performed by setting the rotation angle at which the overlap of transmission images is minimized. As shown in FIG. 8, when a histogram of a captured image in which there is no overlap of transmission images between TSVs is created, the peak often becomes two histograms as shown in FIG.
  • the peak 60 corresponds to the output of the pixel that has detected the X-ray that has passed through the TSV region
  • the peak 61 corresponds to the output of the pixel that has detected the X-ray that has passed through other than the TSV region.
  • the histogram often has three histograms as shown in FIG.
  • the peak 62 corresponds to the output of a pixel in which the transmission images overlap and become darker than a single TSV transmission image.
  • FIG. 15 shows a processing procedure for determining the rotation angle ⁇ of the wafer 2 that minimizes the overlap of transmission images.
  • the rotation angle is determined by the following procedure.
  • S1501 A transmission image of an area where TSV exists is captured.
  • S1502 A histogram of brightness of each pixel is created from the transmission image.
  • S1503 A peak 61 corresponding to the output of a pixel that has detected an X-ray that has passed through a region other than the TSV region is excluded with human eyes. Alternatively, a fixed threshold is set in advance and the peak 61 is excluded.
  • S1504 A threshold 63 is set. At this time, the threshold 63 may be set manually or automatically. When setting automatically, it may be set by the discriminant identification method, the mode method, the Kittler method, or the like.
  • S1505 Count the number of pixels whose brightness is smaller than the threshold 63.
  • S1506 It is checked whether the number of pixels whose brightness is smaller than the threshold 63 counted this time is larger than the number of pixels counted last time.
  • S1507 If the number of pixels has not increased, the rotation angle ( ⁇ ) of the wafer 2 is changed and S1501 to S1506 are repeated.
  • S1508 If the number of pixels increases in the check of S1506, the rotation angle with the minimum number of pixels smaller than the threshold 63 is set as the rotation angle ( ⁇ ) of the wafer 2 that minimizes the overlap of the transmission images. .
  • the check in S1506 may be performed to check whether the number of pixels whose brightness is lower than the threshold 63 has increased a predetermined number of times compared to the previously counted number of pixels.
  • the size may be fixed or changed for each image.
  • the threshold may be set manually for all images. Alternatively, a fixed threshold value may be set in advance and processing may be performed automatically.
  • the tube voltage and the tube current may be adjusted so as to facilitate separation. Further, the inspection conditions at this time do not have to be the same as those at the time of inspection.
  • the inspection result is displayed on the GUI so that the user can confirm it, thereby making it possible to avoid erroneous setting of the rotation angle.
  • the rotation angle is set with the number of pixels smaller than the threshold 63
  • the present invention is not limited to this.
  • the sum of the brightness of pixels having a threshold value of 63 or less may be calculated, and the rotation angle may be set based on this.
  • the schematic diagram of the X-ray inspection apparatus 100 is the same as that shown in FIG.
  • the first embodiment an example in which X-rays are irradiated from an inclined direction and inspection is performed in a state where there is no overlap of transmission images will be described
  • the rotation angle of the wafer 2 is set as the transmission image.
  • the inspection is performed by setting the rotation angle so as to minimize the overlap has been described.
  • the X-ray detector 5 may be inspected under the condition that the transmission angle of the X-ray detector 5 is reduced and the transmission image does not overlap with the transmission image of the adjacent TSV.
  • increasing the tilt angle ( ⁇ ) of the X-ray detector 5 increases the contrast of the transmitted image and makes it easier to detect voids in the TSV. If obtained, the inspection may be performed with the inclination angle reduced in this way.
  • the schematic diagram of the X-ray inspection apparatus 100 is the same as that shown in FIG. In the first embodiment, the example in which the layout information of the wafer 2 is input after the wafer is set and the rotation angle of the wafer 2 is set has been described. However, at the time before the wafer 2 is set, the layout is set. If the information is known, the rotation angle of the wafer 2 can be automatically calculated.
  • FIG. 16 shows an inspection flow.
  • S160 The layout information of the wafer to be inspected is registered.
  • the rotation angle is calculated from this layout information.
  • a rotation angle at which transmitted images do not overlap is set for each region in advance before setting the wafer, and a basic recipe is created.
  • the wafer movement sequence is also set at the same time. Since the position of the X-ray source 1 is fixed, when the wafer 2 is moved, the relative positions of the X-ray source 1 and the wafer 2 change, and the rotation angle also changes.
  • S161 A wafer whose layout information is registered in flow 160 is set from a hoop set in the X-ray inspection apparatus 100. Alternatively, it may be set manually.
  • the processing from S162 to S165 is the same as the processing from S153 to S156 described in FIG.
  • recipes can be created without using an actual wafer. For example, when inspecting a wafer in which the TSV arrangement interval is wide and it is clear that the TSV transmission image does not overlap as a result of theoretical calculation, the recipe creation time can be shortened by performing this embodiment. Become.
  • the schematic diagram of the X-ray inspection apparatus 100 is the same as that shown in FIG. In the first embodiment, the case where the layout information of the wafer 2 is known has been described. However, even if the wafer layout information is unknown, there is no overlap of the transmission images from the transmission images acquired before the recipe creation. Alternatively, the rotation angle that minimizes the overlap can be set.
  • FIG. 17 shows an inspection flow.
  • S170 An arbitrary wafer is set from the hoop set in the X-ray inspection apparatus 100. Alternatively, it may be set manually.
  • S171 First, in order to measure the layout of the entire wafer, an X-ray transmission image is acquired at a low magnification. At this time, X-rays are irradiated from the vertical direction of the wafer to obtain a transmission image. When there are a plurality of transmission images to be acquired, the transmission images may be acquired so that there are overlapping regions in each image, and the plurality of images may be integrated.
  • S172 Extract the region where the TSV exists from the entire layout acquired in S171, calculate the region where the same pattern is formed according to the diameter and arrangement interval of the TSV, and according to the pattern, Perform grouping.
  • a TSV extraction method for example, the following method may be used. Threshold processing is performed on the transmission image, and a binarized image is calculated. Further, since the TSV has a cylindrical shape, a circular shape region is extracted from the binarized image, the diameter and center coordinates thereof are calculated, and the diameter and the arrangement interval are calculated.
  • S173 First, the stage is moved so that the TSV of the first group enters the field of view.
  • An X-ray irradiation angle is set in the vertical direction of the wafer, and a transmission image is acquired at a higher magnification than in the flow 170.
  • the magnification may be set so that at least four TSVs (2 ⁇ 2) are included.
  • S174 From the image acquired in S173, the TSV diameter and arrangement interval (X-axis direction, Y-axis direction) are calculated.
  • S175 The rotation angle is calculated by the method described in the first embodiment or the second embodiment.
  • S176 If the rotation angle setting is completed for all the groups divided in S172, the process proceeds to S178. If not completed, the process proceeds to S177.
  • S177 The stage is moved so that the TSVs of the groups for which the rotation angle has not yet been set fall within the field of view, and S173 to S175 are repeated.
  • S178 Input inspection conditions such as tube voltage, tube current, and tilt angle. Further, a wafer movement sequence during inspection is also set.
  • S179 to S181 are the same as S154 to S156 shown in FIG.
  • the X-ray is irradiated only from the vertical direction of the wafer.
  • the X-ray is irradiated from the inclined direction in addition to the vertical direction, and a recipe is created from these two transmission images. You may do.
  • FIG. 18 shows an inspection flow.
  • S200 Same as S150 described in FIG.
  • S201 Same as S170 described in FIG.
  • S202 Same as S171 described in FIG.
  • S203 First, the stage is moved so that the TSV of the first group enters the field of view.
  • An X-ray irradiation angle is set in the vertical direction of the wafer, and a transmission image is acquired at a higher magnification than in the flow 170.
  • the magnification may be set so that at least four TSVs (2 ⁇ 2) are included.
  • X-rays are tilted and irradiated, and a second transmission image is acquired under the condition that the same TSV is within the field of view.
  • S204 The diameter, arrangement interval (X-axis direction, Y-axis direction), and depth of the TSV are calculated from the two images acquired in S203.
  • S205 The rotation angle and the inclination angle are calculated by the method described in the first to third embodiments.
  • S206 If the setting of the rotation angle and the inclination angle is completed for all the groups divided in S202, the process proceeds to S208. If not completed, the process proceeds to S207.
  • S207 The stage is moved so that the TSVs of the groups for which the rotation angle and the tilt angle have not been set yet fall within the field of view, and S203 to S205 are repeated.
  • S208 Input inspection conditions such as tube voltage and tube current. Further, a wafer movement sequence during inspection is also set. Steps S209 to S211 are the same as steps S154 to S156 described with reference to FIG.
  • the present invention can be applied to an X-ray inspection apparatus that inspects a semiconductor device being manufactured using X-rays in the process of manufacturing the semiconductor device.

Landscapes

  • Health & Medical Sciences (AREA)
  • Physics & Mathematics (AREA)
  • General Physics & Mathematics (AREA)
  • Chemical & Material Sciences (AREA)
  • Life Sciences & Earth Sciences (AREA)
  • Analytical Chemistry (AREA)
  • Biochemistry (AREA)
  • General Health & Medical Sciences (AREA)
  • Immunology (AREA)
  • Pathology (AREA)
  • Toxicology (AREA)
  • Electromagnetism (AREA)
  • Analysing Materials By The Use Of Radiation (AREA)
  • Length-Measuring Devices Using Wave Or Particle Radiation (AREA)
PCT/JP2015/085155 2014-12-19 2015-12-16 X線検査方法及び装置 Ceased WO2016098795A1 (ja)

Priority Applications (2)

Application Number Priority Date Filing Date Title
KR1020177010165A KR101920268B1 (ko) 2014-12-19 2015-12-16 X선 검사 방법 및 장치
US15/529,874 US10352879B2 (en) 2014-12-19 2015-12-16 X-ray inspection method and device

Applications Claiming Priority (2)

Application Number Priority Date Filing Date Title
JP2014-257691 2014-12-19
JP2014257691A JP6258845B2 (ja) 2014-12-19 2014-12-19 X線検査方法及び装置

Publications (1)

Publication Number Publication Date
WO2016098795A1 true WO2016098795A1 (ja) 2016-06-23

Family

ID=56126680

Family Applications (1)

Application Number Title Priority Date Filing Date
PCT/JP2015/085155 Ceased WO2016098795A1 (ja) 2014-12-19 2015-12-16 X線検査方法及び装置

Country Status (4)

Country Link
US (1) US10352879B2 (enExample)
JP (1) JP6258845B2 (enExample)
KR (1) KR101920268B1 (enExample)
WO (1) WO2016098795A1 (enExample)

Cited By (1)

* Cited by examiner, † Cited by third party
Publication number Priority date Publication date Assignee Title
WO2018003018A1 (ja) * 2016-06-28 2018-01-04 株式会社日立ハイテクノロジーズ X線検査方法及び装置

Families Citing this family (5)

* Cited by examiner, † Cited by third party
Publication number Priority date Publication date Assignee Title
JP6698576B2 (ja) 2017-03-31 2020-05-27 セメス株式会社Semes Co., Ltd. X線検査装置
JP6643271B2 (ja) 2017-03-31 2020-02-12 セメス株式会社Semes Co., Ltd. X線検査装置
JP7150638B2 (ja) * 2019-02-27 2022-10-11 キオクシア株式会社 半導体欠陥検査装置、及び、半導体欠陥検査方法
CN110231353A (zh) * 2019-05-17 2019-09-13 中国石油化工股份有限公司 基于x射线数字成像技术的翅片管检测方法
CN116499401A (zh) * 2023-06-29 2023-07-28 深圳市圭华智能科技有限公司 基于X-ray的晶圆级玻璃通孔TGV检测装置及方法

Citations (4)

* Cited by examiner, † Cited by third party
Publication number Priority date Publication date Assignee Title
US20030095631A1 (en) * 2001-11-21 2003-05-22 Rosner S. Jeffrey System for collecting multiple x-ray image exposures of a sample using a sparse configuration
JP2009085923A (ja) * 2007-10-03 2009-04-23 Toyota Motor Corp ボイド検査方法
JP2009174972A (ja) * 2008-01-24 2009-08-06 Shimadzu Corp X線透視による3次元観測方法およびx線透視装置
JP2013130392A (ja) * 2011-10-26 2013-07-04 Topcon Corp X線非破壊検査装置

Family Cites Families (6)

* Cited by examiner, † Cited by third party
Publication number Priority date Publication date Assignee Title
US6917668B2 (en) * 2000-11-13 2005-07-12 Digitome Corporation Ray tracing kernel calibration
KR20050037086A (ko) * 2003-10-17 2005-04-21 삼성전자주식회사 X선 회절 분석기 및 이 분석기의 측정 위치 보정방법
US8391581B2 (en) * 2007-12-27 2013-03-05 Omron Corporation X-ray inspecting apparatus and X-ray inspecting method
JP4914514B2 (ja) * 2010-07-02 2012-04-11 株式会社リガク 蛍光x線分析装置および方法
JP5956730B2 (ja) * 2011-08-05 2016-07-27 株式会社日立ハイテクサイエンス X線分析装置及び方法
US9588066B2 (en) * 2014-01-23 2017-03-07 Revera, Incorporated Methods and systems for measuring periodic structures using multi-angle X-ray reflectance scatterometry (XRS)

Patent Citations (4)

* Cited by examiner, † Cited by third party
Publication number Priority date Publication date Assignee Title
US20030095631A1 (en) * 2001-11-21 2003-05-22 Rosner S. Jeffrey System for collecting multiple x-ray image exposures of a sample using a sparse configuration
JP2009085923A (ja) * 2007-10-03 2009-04-23 Toyota Motor Corp ボイド検査方法
JP2009174972A (ja) * 2008-01-24 2009-08-06 Shimadzu Corp X線透視による3次元観測方法およびx線透視装置
JP2013130392A (ja) * 2011-10-26 2013-07-04 Topcon Corp X線非破壊検査装置

Cited By (1)

* Cited by examiner, † Cited by third party
Publication number Priority date Publication date Assignee Title
WO2018003018A1 (ja) * 2016-06-28 2018-01-04 株式会社日立ハイテクノロジーズ X線検査方法及び装置

Also Published As

Publication number Publication date
JP2016118445A (ja) 2016-06-30
KR20170058398A (ko) 2017-05-26
US10352879B2 (en) 2019-07-16
KR101920268B1 (ko) 2018-11-20
JP6258845B2 (ja) 2018-01-10
US20170261441A1 (en) 2017-09-14

Similar Documents

Publication Publication Date Title
JP6258845B2 (ja) X線検査方法及び装置
TWI840585B (zh) 自動化高速x射線檢驗方法、電腦可讀取非暫態儲存媒體及電子系統
TWI613436B (zh) 缺陷判定方法、及x射線檢查裝置
JP3993817B2 (ja) 欠陥組成分析方法及び装置
US9177757B2 (en) Charged particle beam apparatus
KR101654825B1 (ko) 기판의 밀집 검사 부위의 엑스레이 검사 방법
TW201519346A (zh) 使用精確缺陷位置調整晶圓檢查配方
WO2013153891A1 (ja) 荷電粒子線装置
US20210055098A1 (en) Charged Particle Beam System and Overlay Shift Amount Measurement Method
TW201611148A (zh) 用於在一單一檢驗程序中之多個程序步驟之檢驗
CN103165492B (zh) 一种晶圆的tsv的光学显微图像检测方法
Wolz et al. X‐ray microscopy and automatic detection of defects in through silicon vias in three‐dimensional integrated circuits
JP6145133B2 (ja) 荷電粒子線装置
US11150198B2 (en) Method for inspecting ball grid array-type semiconductor chip package
JPWO2012132273A1 (ja) 外観検査方法およびその装置
WO2018003018A1 (ja) X線検査方法及び装置
TWI688763B (zh) 用於缺陷之分類的系統及方法
KR101862346B1 (ko) 고밀도 집적 회로 기판의 검사 장치 및 그에 의한 검사 방법
JP5386519B2 (ja) 半導体検査装置、及び荷電粒子線の画像、或いは光学条件の選択装置
WO2019163136A1 (ja) X線検査方法
JP5163731B2 (ja) 欠陥候補の画像表示方法
JP6719272B2 (ja) X線検査装置
JP2014067863A (ja) 基板のベベル部の検査方法及び記録媒体
Ghaffarian 3D X-ray CT for BGA/CGA Workmanship Defect Detection

Legal Events

Date Code Title Description
121 Ep: the epo has been informed by wipo that ep was designated in this application

Ref document number: 15869997

Country of ref document: EP

Kind code of ref document: A1

ENP Entry into the national phase

Ref document number: 20177010165

Country of ref document: KR

Kind code of ref document: A

WWE Wipo information: entry into national phase

Ref document number: 15529874

Country of ref document: US

NENP Non-entry into the national phase

Ref country code: DE

122 Ep: pct application non-entry in european phase

Ref document number: 15869997

Country of ref document: EP

Kind code of ref document: A1