WO2016084293A1 - ポップアップ装置 - Google Patents

ポップアップ装置 Download PDF

Info

Publication number
WO2016084293A1
WO2016084293A1 PCT/JP2015/004900 JP2015004900W WO2016084293A1 WO 2016084293 A1 WO2016084293 A1 WO 2016084293A1 JP 2015004900 W JP2015004900 W JP 2015004900W WO 2016084293 A1 WO2016084293 A1 WO 2016084293A1
Authority
WO
WIPO (PCT)
Prior art keywords
pop
vehicle door
check
cam
link
Prior art date
Legal status (The legal status is an assumption and is not a legal conclusion. Google has not performed a legal analysis and makes no representation as to the accuracy of the status listed.)
Ceased
Application number
PCT/JP2015/004900
Other languages
English (en)
French (fr)
Japanese (ja)
Inventor
鈴木 信太郎
誠雄 関
Current Assignee (The listed assignees may be inaccurate. Google has not performed a legal analysis and makes no representation or warranty as to the accuracy of the list.)
Aisin Corp
Original Assignee
Aisin Seiki Co Ltd
Priority date (The priority date is an assumption and is not a legal conclusion. Google has not performed a legal analysis and makes no representation as to the accuracy of the date listed.)
Filing date
Publication date
Application filed by Aisin Seiki Co Ltd filed Critical Aisin Seiki Co Ltd
Priority to CN201580064743.8A priority Critical patent/CN107000554A/zh
Priority to US15/526,523 priority patent/US20170306678A1/en
Publication of WO2016084293A1 publication Critical patent/WO2016084293A1/ja
Anticipated expiration legal-status Critical
Ceased legal-status Critical Current

Links

Images

Classifications

    • EFIXED CONSTRUCTIONS
    • E05LOCKS; KEYS; WINDOW OR DOOR FITTINGS; SAFES
    • E05FDEVICES FOR MOVING WINGS INTO OPEN OR CLOSED POSITION; CHECKS FOR WINGS; WING FITTINGS NOT OTHERWISE PROVIDED FOR, CONCERNED WITH THE FUNCTIONING OF THE WING
    • E05F1/00Closers or openers for wings, not otherwise provided for in this subclass
    • BPERFORMING OPERATIONS; TRANSPORTING
    • B60VEHICLES IN GENERAL
    • B60JWINDOWS, WINDSCREENS, NON-FIXED ROOFS, DOORS, OR SIMILAR DEVICES FOR VEHICLES; REMOVABLE EXTERNAL PROTECTIVE COVERINGS SPECIALLY ADAPTED FOR VEHICLES
    • B60J5/00Doors
    • B60J5/04Doors arranged at the vehicle sides
    • B60J5/0493Appurtenances
    • EFIXED CONSTRUCTIONS
    • E05LOCKS; KEYS; WINDOW OR DOOR FITTINGS; SAFES
    • E05BLOCKS; ACCESSORIES THEREFOR; HANDCUFFS
    • E05B81/00Power-actuated vehicle locks
    • E05B81/12Power-actuated vehicle locks characterised by the function or purpose of the powered actuators
    • E05B81/20Power-actuated vehicle locks characterised by the function or purpose of the powered actuators for assisting final closing or for initiating opening
    • EFIXED CONSTRUCTIONS
    • E05LOCKS; KEYS; WINDOW OR DOOR FITTINGS; SAFES
    • E05CBOLTS OR FASTENING DEVICES FOR WINGS, SPECIALLY FOR DOORS OR WINDOWS
    • E05C17/00Devices for holding wings open; Devices for limiting opening of wings or for holding wings open by a movable member extending between frame and wing; Braking devices, stops or buffers, combined therewith
    • E05C17/02Devices for holding wings open; Devices for limiting opening of wings or for holding wings open by a movable member extending between frame and wing; Braking devices, stops or buffers, combined therewith by mechanical means
    • E05C17/04Devices for holding wings open; Devices for limiting opening of wings or for holding wings open by a movable member extending between frame and wing; Braking devices, stops or buffers, combined therewith by mechanical means with a movable bar or equivalent member extending between frame and wing
    • E05C17/12Devices for holding wings open; Devices for limiting opening of wings or for holding wings open by a movable member extending between frame and wing; Braking devices, stops or buffers, combined therewith by mechanical means with a movable bar or equivalent member extending between frame and wing consisting of a single rod
    • E05C17/20Devices for holding wings open; Devices for limiting opening of wings or for holding wings open by a movable member extending between frame and wing; Braking devices, stops or buffers, combined therewith by mechanical means with a movable bar or equivalent member extending between frame and wing consisting of a single rod sliding through a guide
    • E05C17/203Devices for holding wings open; Devices for limiting opening of wings or for holding wings open by a movable member extending between frame and wing; Braking devices, stops or buffers, combined therewith by mechanical means with a movable bar or equivalent member extending between frame and wing consisting of a single rod sliding through a guide concealed, e.g. for vehicles
    • EFIXED CONSTRUCTIONS
    • E05LOCKS; KEYS; WINDOW OR DOOR FITTINGS; SAFES
    • E05FDEVICES FOR MOVING WINGS INTO OPEN OR CLOSED POSITION; CHECKS FOR WINGS; WING FITTINGS NOT OTHERWISE PROVIDED FOR, CONCERNED WITH THE FUNCTIONING OF THE WING
    • E05F5/00Braking devices, e.g. checks; Stops; Buffers
    • EFIXED CONSTRUCTIONS
    • E05LOCKS; KEYS; WINDOW OR DOOR FITTINGS; SAFES
    • E05YINDEXING SCHEME ASSOCIATED WITH SUBCLASSES E05D AND E05F, RELATING TO CONSTRUCTION ELEMENTS, ELECTRIC CONTROL, POWER SUPPLY, POWER SIGNAL OR TRANSMISSION, USER INTERFACES, MOUNTING OR COUPLING, DETAILS, ACCESSORIES, AUXILIARY OPERATIONS NOT OTHERWISE PROVIDED FOR, APPLICATION THEREOF
    • E05Y2201/00Constructional elements; Accessories therefor
    • E05Y2201/60Suspension or transmission members; Accessories therefor
    • E05Y2201/622Suspension or transmission members elements
    • E05Y2201/638Cams; Ramps
    • EFIXED CONSTRUCTIONS
    • E05LOCKS; KEYS; WINDOW OR DOOR FITTINGS; SAFES
    • E05YINDEXING SCHEME ASSOCIATED WITH SUBCLASSES E05D AND E05F, RELATING TO CONSTRUCTION ELEMENTS, ELECTRIC CONTROL, POWER SUPPLY, POWER SIGNAL OR TRANSMISSION, USER INTERFACES, MOUNTING OR COUPLING, DETAILS, ACCESSORIES, AUXILIARY OPERATIONS NOT OTHERWISE PROVIDED FOR, APPLICATION THEREOF
    • E05Y2201/00Constructional elements; Accessories therefor
    • E05Y2201/60Suspension or transmission members; Accessories therefor
    • E05Y2201/622Suspension or transmission members elements
    • E05Y2201/686Rods, links
    • EFIXED CONSTRUCTIONS
    • E05LOCKS; KEYS; WINDOW OR DOOR FITTINGS; SAFES
    • E05YINDEXING SCHEME ASSOCIATED WITH SUBCLASSES E05D AND E05F, RELATING TO CONSTRUCTION ELEMENTS, ELECTRIC CONTROL, POWER SUPPLY, POWER SIGNAL OR TRANSMISSION, USER INTERFACES, MOUNTING OR COUPLING, DETAILS, ACCESSORIES, AUXILIARY OPERATIONS NOT OTHERWISE PROVIDED FOR, APPLICATION THEREOF
    • E05Y2900/00Application of doors, windows, wings or fittings thereof
    • E05Y2900/50Application of doors, windows, wings or fittings thereof for vehicles
    • E05Y2900/53Type of wing
    • E05Y2900/531Doors

Definitions

  • the present invention relates to a pop-up device that opens a vehicle door by a slight angle when opening a vehicle door in a vehicle such as a passenger car.
  • FIG. 10 is a view of the state in which the vehicle door 2 is opened as viewed from the rear of the vehicle.
  • FIG. 11A and FIG. 11B have shown the state from which the vehicle door of the front seat of the vehicle right side opened with respect to the advancing direction from the vehicle upper side.
  • the vehicle door 2 is supported by the body 3 so as to be rotatable about a rotation shaft 4 in a hinge portion 2 a disposed on the front side of the vehicle door 2.
  • FIG. 11A when the operator of the vehicle door 2 opens the vehicle door 2, the vehicle door 2 moves so that the vehicle door is displaced by a pop-up amount of a slight distance (Lp). A pop-up that opens the vehicle door 2 by a slight angle is possible.
  • FIG. 11B the operator of the vehicle door can open the vehicle door as usual.
  • a vehicle door opening / closing device described in Patent Literature 1 or an automobile door control device described in Patent Literature 2 is used to control the hinge 2a of the vehicle door 2 by electrical control. It is also possible to adjust the opening by rotating the part with a motor.
  • the configuration of the control device becomes complicated for controlling the motor, and the weight increases because the control device is mounted.
  • Patent Literature 3 discloses a vehicle door pop-up device.
  • the door checker corresponds to the plate 21 of Patent Document 4.
  • the check plate 6 of the door checker of Patent Document 3 corresponds to the check link 57 in FIG. 12 of the present application.
  • the pop-up device can be realized by arranging a mechanism that pushes the end of the automobile door checker on the side opposite to the side pivoted on the body. .
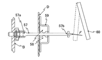
  • a typical example of the pop-up device similarly to the door checker described in Patent Document 3, one end 57a of the elongated check link 57 is rotatably supported by the body B of the vehicle.
  • the check link 57 is inserted into a door check case 59 supported by the body B, and the upper and lower surfaces are pressed by a pressing member 58 disposed in the door check case 59.
  • the door check case 59 is attached to the vehicle door D.
  • the door check link 57 and the door check case 59 are arranged so that they can move relative to each other.
  • the opening of the vehicle door is adjusted by holding the plate 21 with the stopper 22.
  • the pop-up device for example, on the side of the end 57b opposite to the check link 57 and in the direction in which the check link 57 extends, as a force applying member not described in Patent Document 3 and Patent Document 4. It is possible to arrange a pop-up lever 60 that can be moved.
  • the pop-up lever 60 applies a force to the end portion 57 b of the check link 57.
  • the vehicle door D is closed when the vehicle door D is positioned closer to the body B, and the vehicle door D is open when the vehicle door D is separated from the body B.
  • the pop-up of the vehicle door D is realized by rotating the other end portion 57 b of the check link 57 and applying a force (F) by the pop-up lever 60.
  • the door check case 60 is moved relative to the check link 57 along the check link 57 by the inertial force P. Moving.
  • the vehicle door D fixed to the door check case 60 moves by a slight pop-up distance toward the other end 57b of the check link 57, and the vehicle door D opens slightly.
  • the pop-up sequence be configured so that force can be applied to the other end portion of the check link with a pop-up lever by a simple configuration without using electrical control.
  • the vehicle door pop-up device is attached to the vehicle body, one end of which is disposed on the other end side of the check link configured to be rotatably supported by the vehicle body, and the rotation A pop-up lever that rotates about a rotation axis of the pop-up lever, and a pop-up arm that applies a force so as to perform the relative movement of the check link in a direction in which the vehicle door opens on one end side of the pop-up lever.
  • the crank lever moves along the outer peripheral surface of the cam portion when the cam portion rotates around the cam shaft and rotates in one direction of the outer peripheral surface of the cam portion and the cam portion.
  • the pop-up arm solves the problem with a pop-up device that applies force to the check link to urge the relative movement to pop up the vehicle door.
  • FIG. 1 is a diagram showing a pop-up device of the present invention in Embodiment 1.
  • the pop-up device includes a pop-up lever 1, a cam portion 15, a check link 7, and a door check 9.
  • the vehicle door 2 is supported by the body 3 so as to be rotatable around the rotation shaft 4 in a hinge portion 2 a disposed on the front side of the vehicle door 2 as in the conventional case.
  • a check link 7 is attached in the vicinity of the hinge portion 2 a of the vehicle door 2 in order to adjust the opening degree of the vehicle door 2.
  • the check link 7 has a long and thin shape, and one end 7a of the check link 7 is rotatably supported by the body 3.
  • the other end 7b of the check link 7 on the opposite side to the one end 7a side supported by the body 3 is inserted into the vehicle door 2 from the hole in the wall surface of the vehicle door 2 on the side where the hinge portion 2a of the vehicle door 2 is arranged. Has been inserted.
  • the pop-up lever 1 is attached to the other end 7b side of the check link 7 where the check link 7 extends.
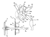
  • the vehicle door 2 has a latch mechanism 25 having a latch claw 25a on the end surface of the vehicle door 2 on the side opposite to the hinge 2a and a hook 25b on the corresponding body portion so that the vehicle door does not open when closed. is doing.
  • the latch mechanism 25 is engaged with the body 3 in a state where the vehicle door 2 is closed by engaging the latch claw 25a with the hook 25b. In this state, the vehicle door 2 is not opened.
  • the engagement between the latch claw 25a and the hook 25b is released, the engagement between the vehicle door 2 and the body 3 is released.
  • the latch mechanism 25 is released by the latch release device 2b.
  • One end of a first wire member 21 made of an elongated member such as a wire is connected to the lever of the latch release device.
  • the other end of the first wire member 21 is connected to one end of the latch release link 22.
  • the other end of the latch release link 22 is connected to one end of a second wire member 23 which is similarly formed of an elongated member such as a wire.
  • the second line member 23 is connected to a latch claw 25 a of the latch mechanism 25.
  • the latch release link 22 is rotatable so as to swing around the rotation shaft 26.
  • a pendulum member 24 is attached to the latch release link 22 so as to be rotatable around a swing shaft 24a so as to be swingable in the direction in which the latch release link 22 rotates.
  • a protrusion 24 a protrudes from the pendulum member 24.
  • the rotation of the latch release link 22 is described as a part of a series of operations of the pop-up, but separately from the pop-up, the vehicle door 2 and the body 3 are rotated by the rotation of the latch release link 22. It is also possible to perform only locking and release thereof with the cam portion.
  • a door check 9 having a through hole is fixed to the inner wall 2b of the vehicle door 2.
  • the check link 7 is inserted into the through hole 9a of the door check 9 so that the door check 9 is positioned between the one end 7a and the other end 7b of the check link 7.
  • a pressing member 8 that presses the surface of the check link 7 is disposed inside the door check 9.
  • the door check 9 slides while the pressing member 8 presses the sliding surface of the check link 7. That is, the door check 9 can move relative to the check link 7 between one end 7 a and the other end 7 b of the check link 7.
  • the pop-up lever 1 is attached so as to be rotatable around the rotation shaft 1a.
  • One end of the pop-up lever 1 is disposed so as to be positioned at a location extending from the other end 7b of the check link 7 in a separated state so that a pressing force can be applied to the other end 7b of the check link 7.
  • 7 functions as a pressing portion 4c that presses the other end 7b of 7.
  • a crank lever 10 is attached to the other end side of the pop-up lever 1.
  • a driven portion 10 a is disposed at the end opposite to the side on which the pop-up lever 1 is attached. When the driven portion 10a is pushed, the pop-up lever 1 rotates around the rotation shaft 1a.
  • the cam portion 15 is rotatably attached around the cam shaft 15a, and has an outer peripheral surface on the outer periphery of the cam portion 15.
  • the driven portion 10a of the crank lever 10 can move along the outer peripheral surface.
  • the cam portion 15 can typically include a first cam member 16 and a second cam member 17. In the present embodiment, an example in which the first cam member 16 and the second cam member 17 are provided will be described.
  • the first cam member 16 has a first outer peripheral portion 16a having a circumferential surface whose radius is the first distance R1 from the cam shaft 15a, and a circumferential surface whose radius is the third distance R3 from the cam shaft 15a.
  • the first distance R1 to the third distance R3 are constants, and the second distance R2 is a variable that increases at a constant rate from the first distance R1 to the third distance R3.
  • the driven portion 10a of the crank lever 10 is positioned so as to be in contact with the track of the first outer peripheral portion 16a and the second outer peripheral portion 16b of the first cam member 16. Therefore, the driven portion 10a of the crank lever 10 is movable along at least the first outer peripheral portion 16a and the second outer peripheral portion 16b of the first cam member 16.
  • the driven portion 10a of the crank lever 10 moves from its original position along with it.
  • the angle of the crank lever 10 changes and the pop-up lever 1 rotates around the rotation axis 1a.
  • the portion of the third distance R3 between the first cam member 16 and the second cam member 17 is not necessarily in contact with the driven portion 10a of the crank lever 10, but may be set to contact. Even if they are brought into contact with each other, according to the rotation of the first cam member 16, the driven portion 10a of the crank lever 10 is fixed at a constant third distance from the cam shaft 15a for a fixed time corresponding to the portion of the third distance R3. R3 is maintained, and the state where the angle of the crank lever 10 is not changed is maintained.
  • the second cam member 17 is a cam having a smaller radius than the first cam member 16.
  • the second cam member 17 typically has at least a part of the outer peripheral surface of the first cam member 16 that coincides with the outer peripheral surface having a circumferential surface having a radius of the third distance R3 from the cam shaft 15a. have.
  • the second cam member 17 is a cam having an outer peripheral shape having a radius portion smaller than the third distance R3 in the other portion.
  • the first cam member 16 and the second cam member 17 are coaxially overlapped with the cam shaft 15a so as to have an outer peripheral shape having a radius portion smaller than the third distance R3. It is attached.
  • the first cam member 16 and the second cam member 17 rotate as a unit.
  • the protrusion 24a of the pendulum member 24 of the latch release link 22 is located on the outer peripheral track portion having a radius portion smaller than the third distance R3 between the first cam member 16 and the second cam member 17.
  • the position of the protrusion 24a of the pendulum member 24 of the latch release link 22 is set so as to be located at a position that is smaller than the third distance R3 from the cam shaft 15a. Since the second cam member 17 has an outer peripheral shape having a radius portion smaller than the third distance R3 at portions other than the portion having the third distance R3, the second cam member 17 has the third distance R3.
  • the protrusion 24a When the outer peripheral portion having a point comes to the position of the protrusion 24a, the protrusion 24a is pushed by the outer peripheral portion having the third distance R3, and the pendulum member 24 rotates. As a result, the end of the pendulum member 24 a pushes up the latch release link 22 and rotates the latch release link 22 around the rotation shaft 26. Accordingly, even if the first wire member 21 is not pulled, the second wire member 23 pulls the latch claw 25a of the latch mechanism 25, and the latch claw 25a is disengaged from the hook 25b of the body portion, so that the engagement is released. it can.
  • the contact points of the limit switch 31 and the limit switch 32 are arranged on the outer peripheral track portion having a radius smaller than the third distance R3 between the first cam member 16 and the second cam member 17.
  • the limit switch 32 is arranged so that the contact point is located at a position where the tip of the third distance R3 comes after the cam portion 15 finishes the rotation of the pop-up lever 1 and the latch release link 22.
  • the limit switch 32 is set so that the rotation direction of the cam portion 15 is reversed when turned on.
  • the cam portion 15 is returned to the initial state.
  • the cam portion 15 is set to stop when the rear end of the third distance R3 part presses the limit switch 31 again. can do.
  • FIGS. 1 to 4 are views before pop-up, showing a state in which the vehicle door 2 is closed.
  • FIG. 5 to FIG. 7 show the state during the pop-up operation.
  • 8 and 9 show a state after the pop-up operation is completed until the cam portion 15 returns to the initial position.
  • the pop-up lever 1 is located away from the check link 7.
  • the driven portion 10a of the crank lever 10 is located at a location corresponding to the third distance R3 of the cam portion 15.
  • the cam portion 15 When the operator of the vehicle door 2 turns on the pop-up device, the cam portion 15 first moves around the cam shaft 15a after the second outer peripheral portion 16b of the first cam member 16 comes into contact with the driven portion 10a of the crank lever 10 first. Rotation is started in a direction in contact with one outer peripheral portion 16a. Once the rotation starts, the cam portion 15 rotates in the same direction without stopping until the limit switch 31 or the limit switch 32 operates. As the cam portion 15 rotates around the cam shaft 15a, before the second outer peripheral portion 16b of the first cam member 16 comes into contact with the driven portion 10a of the crank lever 10, as shown in FIG. The tip of the portion corresponding to the third distance R3 contacts the pendulum member 24. Then, as shown in FIG.
  • the second outer peripheral portion 16b of the first cam member 16 contacts the driven portion 10a of the crank lever 10 as shown in FIG. Touch. This is the starting point of the pop-up operation (S03 in FIG. 2). Since the second outer peripheral portion 16b is a portion where the distance from the cam shaft 15 to the outer peripheral surface increases at a constant rate, the driven portion 10a of the crank lever 10 moves away from the cam shaft 15 as the cam portion 15 rotates. And the attitude angle of the crank lever 10 changes. Due to the change in the posture angle, the pop-up lever 1 rotates around the rotation axis 1a. The driven portion 10a of the crank lever 10 is located on the second outer peripheral portion 16b at any position between FIG. 5 and FIG.
  • the driven portion 10a of the crank lever 10 moves from the first outer peripheral portion 16a of the first cam member 16 to the second outer peripheral portion 16b, and the pop-up arm 1 moves in the opposite direction to that during pop-up.
  • the driven portion 10a of the crank lever 10 is separated from the outer peripheral portion of the cam portion 15, and the pop-up arm 1 is completely stored (S09 in FIG. 2).
  • the limit switch 31 is turned on at a location corresponding to the third distance R3 of the cam portion 15, the rotation of the motor that has been rotating the cam portion 15 at this time stops, and a series of pop-up operations ends.
  • the second cam member 17 is used to rotate the latch release link 22 and the limit switch, but the first cam member 16 may perform the rotation. It can be freely set by the operation timing of the latch release link 22, the operation timing of the pop-up lever 1, and the timing of the limit switch operation.
  • the start time of S03 in FIG. 2 can be simultaneous with respect to S02 in FIG. 2, or the start of S03 in FIG. 2 can be set before S02 in FIG.
  • the example which attached the 2nd cam member 16 and the 2nd cam member 17 coaxially with the cam shaft was demonstrated, it can also be rotated on a different axis

Landscapes

  • Engineering & Computer Science (AREA)
  • Mechanical Engineering (AREA)
  • Lock And Its Accessories (AREA)
PCT/JP2015/004900 2014-11-27 2015-09-28 ポップアップ装置 Ceased WO2016084293A1 (ja)

Priority Applications (2)

Application Number Priority Date Filing Date Title
CN201580064743.8A CN107000554A (zh) 2014-11-27 2015-09-28 弹出装置
US15/526,523 US20170306678A1 (en) 2014-11-27 2015-09-28 Popup device

Applications Claiming Priority (2)

Application Number Priority Date Filing Date Title
JP2014240535A JP2016101815A (ja) 2014-11-27 2014-11-27 ポップアップ装置
JP2014-240535 2014-11-27

Publications (1)

Publication Number Publication Date
WO2016084293A1 true WO2016084293A1 (ja) 2016-06-02

Family

ID=56073893

Family Applications (1)

Application Number Title Priority Date Filing Date
PCT/JP2015/004900 Ceased WO2016084293A1 (ja) 2014-11-27 2015-09-28 ポップアップ装置

Country Status (4)

Country Link
US (1) US20170306678A1 (enExample)
JP (1) JP2016101815A (enExample)
CN (1) CN107000554A (enExample)
WO (1) WO2016084293A1 (enExample)

Families Citing this family (3)

* Cited by examiner, † Cited by third party
Publication number Priority date Publication date Assignee Title
CN109515131B (zh) * 2018-12-17 2024-05-17 吉林大学 一种汽车车门智能防冻及解冻系统
JP2021059965A (ja) * 2019-10-09 2021-04-15 アイシン精機株式会社 車両用ドアチェック装置
CN114475177B (zh) * 2022-01-14 2023-07-21 岚图汽车科技有限公司 一种可安装在车门上的防夹手装置

Citations (3)

* Cited by examiner, † Cited by third party
Publication number Priority date Publication date Assignee Title
JPH0350186U (enExample) * 1989-09-22 1991-05-16
JP2005256313A (ja) * 2004-03-09 2005-09-22 Oi Seisakusho Co Ltd 車両用ドア開扉装置
JP2007100342A (ja) * 2005-10-03 2007-04-19 Honda Motor Co Ltd ドアの開閉部構造

Family Cites Families (1)

* Cited by examiner, † Cited by third party
Publication number Priority date Publication date Assignee Title
JP6007745B2 (ja) * 2012-11-20 2016-10-12 アイシン精機株式会社 ドア駆動装置

Patent Citations (3)

* Cited by examiner, † Cited by third party
Publication number Priority date Publication date Assignee Title
JPH0350186U (enExample) * 1989-09-22 1991-05-16
JP2005256313A (ja) * 2004-03-09 2005-09-22 Oi Seisakusho Co Ltd 車両用ドア開扉装置
JP2007100342A (ja) * 2005-10-03 2007-04-19 Honda Motor Co Ltd ドアの開閉部構造

Also Published As

Publication number Publication date
US20170306678A1 (en) 2017-10-26
CN107000554A (zh) 2017-08-01
JP2016101815A (ja) 2016-06-02

Similar Documents

Publication Publication Date Title
JP6427803B2 (ja) 自動車用ドアラッチ装置
JP2018109345A5 (enExample)
CN105637162A (zh) 机动车门把手
CN105188478A (zh) 用于可动的家具部件的驱动装置
JP2015532952A (ja) 自動車ドアロック
WO2021049213A1 (ja) 車両のハンドル装置
JP2017193303A (ja) 車両用コンソール装置
WO2015064001A1 (ja) 車両用ドアのポップアップ機構
WO2016084293A1 (ja) ポップアップ装置
JP7026648B2 (ja) 車両のドアハンドル装置
JP2019534962A (ja) 可変のトリガ切替え点を有するロック解除ユニット
WO2016084292A1 (ja) ポップアップ装置
JP6406541B2 (ja) 車両ドア開度調整装置
JP2019090196A (ja) 車両用ドア開閉操作装置
JP6536890B2 (ja) 車両ドア開閉システム
JP6104752B2 (ja) ポップアップ機能付ドアハンドル装置
JP2020084457A (ja) 車両用アウトサイドドアハンドル
JP2016101815A5 (enExample)
JP7452245B2 (ja) ロック装置
JP6562327B2 (ja) 車両用コンソール装置
JP6017333B2 (ja) 車両用収納装置
US20210301566A1 (en) Lid lock unit attachment structure
JP2018043540A (ja) シート操作システム及び線状部材作動装置
JP6127758B2 (ja) 車両用リンク装置、及びそのリンク装置を使用した車両のスロープ装置
WO2016084818A1 (ja) 車両用スライドドア装置

Legal Events

Date Code Title Description
121 Ep: the epo has been informed by wipo that ep was designated in this application

Ref document number: 15862472

Country of ref document: EP

Kind code of ref document: A1

WWE Wipo information: entry into national phase

Ref document number: 15526523

Country of ref document: US

NENP Non-entry into the national phase

Ref country code: DE

122 Ep: pct application non-entry in european phase

Ref document number: 15862472

Country of ref document: EP

Kind code of ref document: A1