WO2016079936A1 - 熱管理装置 - Google Patents

熱管理装置 Download PDF

Info

Publication number
WO2016079936A1
WO2016079936A1 PCT/JP2015/005513 JP2015005513W WO2016079936A1 WO 2016079936 A1 WO2016079936 A1 WO 2016079936A1 JP 2015005513 W JP2015005513 W JP 2015005513W WO 2016079936 A1 WO2016079936 A1 WO 2016079936A1
Authority
WO
WIPO (PCT)
Prior art keywords
heat
flow rate
cooling water
heat medium
amount
Prior art date
Legal status (The legal status is an assumption and is not a legal conclusion. Google has not performed a legal analysis and makes no representation as to the accuracy of the status listed.)
Ceased
Application number
PCT/JP2015/005513
Other languages
English (en)
French (fr)
Japanese (ja)
Inventor
功嗣 三浦
加藤 吉毅
賢吾 杉村
梯 伸治
Current Assignee (The listed assignees may be inaccurate. Google has not performed a legal analysis and makes no representation or warranty as to the accuracy of the list.)
Denso Corp
Original Assignee
Denso Corp
Priority date (The priority date is an assumption and is not a legal conclusion. Google has not performed a legal analysis and makes no representation as to the accuracy of the date listed.)
Filing date
Publication date
Application filed by Denso Corp filed Critical Denso Corp
Priority to US15/524,401 priority Critical patent/US10500924B2/en
Priority to DE112015005219.4T priority patent/DE112015005219T5/de
Publication of WO2016079936A1 publication Critical patent/WO2016079936A1/ja
Anticipated expiration legal-status Critical
Ceased legal-status Critical Current

Links

Images

Classifications

    • BPERFORMING OPERATIONS; TRANSPORTING
    • B60VEHICLES IN GENERAL
    • B60HARRANGEMENTS OF HEATING, COOLING, VENTILATING OR OTHER AIR-TREATING DEVICES SPECIALLY ADAPTED FOR PASSENGER OR GOODS SPACES OF VEHICLES
    • B60H1/00Heating, cooling or ventilating devices
    • B60H1/32Cooling devices
    • B60H1/3204Cooling devices using compression
    • B60H1/323Cooling devices using compression characterised by comprising auxiliary or multiple systems, e.g. plurality of evaporators, or by involving auxiliary cooling devices
    • BPERFORMING OPERATIONS; TRANSPORTING
    • B60VEHICLES IN GENERAL
    • B60HARRANGEMENTS OF HEATING, COOLING, VENTILATING OR OTHER AIR-TREATING DEVICES SPECIALLY ADAPTED FOR PASSENGER OR GOODS SPACES OF VEHICLES
    • B60H1/00Heating, cooling or ventilating devices
    • B60H1/00642Control systems or circuits; Control members or indication devices for heating, cooling or ventilating devices
    • B60H1/00735Control systems or circuits characterised by their input, i.e. by the detection, measurement or calculation of particular conditions, e.g. signal treatment, dynamic models
    • B60H1/00764Control systems or circuits characterised by their input, i.e. by the detection, measurement or calculation of particular conditions, e.g. signal treatment, dynamic models the input being a vehicle driving condition, e.g. speed
    • BPERFORMING OPERATIONS; TRANSPORTING
    • B60VEHICLES IN GENERAL
    • B60HARRANGEMENTS OF HEATING, COOLING, VENTILATING OR OTHER AIR-TREATING DEVICES SPECIALLY ADAPTED FOR PASSENGER OR GOODS SPACES OF VEHICLES
    • B60H1/00Heating, cooling or ventilating devices
    • B60H1/32Cooling devices
    • B60H1/3204Cooling devices using compression
    • B60H1/3205Control means therefor
    • B60H1/3213Control means therefor for increasing the efficiency in a vehicle heat pump
    • BPERFORMING OPERATIONS; TRANSPORTING
    • B60VEHICLES IN GENERAL
    • B60HARRANGEMENTS OF HEATING, COOLING, VENTILATING OR OTHER AIR-TREATING DEVICES SPECIALLY ADAPTED FOR PASSENGER OR GOODS SPACES OF VEHICLES
    • B60H1/00Heating, cooling or ventilating devices
    • B60H1/32Cooling devices
    • B60H1/3204Cooling devices using compression
    • B60H1/3228Cooling devices using compression characterised by refrigerant circuit configurations
    • B60H1/32284Cooling devices using compression characterised by refrigerant circuit configurations comprising two or more secondary circuits, e.g. at evaporator and condenser side
    • BPERFORMING OPERATIONS; TRANSPORTING
    • B60VEHICLES IN GENERAL
    • B60KARRANGEMENT OR MOUNTING OF PROPULSION UNITS OR OF TRANSMISSIONS IN VEHICLES; ARRANGEMENT OR MOUNTING OF PLURAL DIVERSE PRIME-MOVERS IN VEHICLES; AUXILIARY DRIVES FOR VEHICLES; INSTRUMENTATION OR DASHBOARDS FOR VEHICLES; ARRANGEMENTS IN CONNECTION WITH COOLING, AIR INTAKE, GAS EXHAUST OR FUEL SUPPLY OF PROPULSION UNITS IN VEHICLES
    • B60K11/00Arrangement in connection with cooling of propulsion units
    • B60K11/02Arrangement in connection with cooling of propulsion units with liquid cooling
    • BPERFORMING OPERATIONS; TRANSPORTING
    • B60VEHICLES IN GENERAL
    • B60KARRANGEMENT OR MOUNTING OF PROPULSION UNITS OR OF TRANSMISSIONS IN VEHICLES; ARRANGEMENT OR MOUNTING OF PLURAL DIVERSE PRIME-MOVERS IN VEHICLES; AUXILIARY DRIVES FOR VEHICLES; INSTRUMENTATION OR DASHBOARDS FOR VEHICLES; ARRANGEMENTS IN CONNECTION WITH COOLING, AIR INTAKE, GAS EXHAUST OR FUEL SUPPLY OF PROPULSION UNITS IN VEHICLES
    • B60K11/00Arrangement in connection with cooling of propulsion units
    • B60K11/02Arrangement in connection with cooling of propulsion units with liquid cooling
    • B60K11/04Arrangement or mounting of radiators, radiator shutters, or radiator blinds
    • FMECHANICAL ENGINEERING; LIGHTING; HEATING; WEAPONS; BLASTING
    • F25REFRIGERATION OR COOLING; COMBINED HEATING AND REFRIGERATION SYSTEMS; HEAT PUMP SYSTEMS; MANUFACTURE OR STORAGE OF ICE; LIQUEFACTION SOLIDIFICATION OF GASES
    • F25BREFRIGERATION MACHINES, PLANTS OR SYSTEMS; COMBINED HEATING AND REFRIGERATION SYSTEMS; HEAT PUMP SYSTEMS
    • F25B1/00Compression machines, plants or systems with non-reversible cycle
    • FMECHANICAL ENGINEERING; LIGHTING; HEATING; WEAPONS; BLASTING
    • F25REFRIGERATION OR COOLING; COMBINED HEATING AND REFRIGERATION SYSTEMS; HEAT PUMP SYSTEMS; MANUFACTURE OR STORAGE OF ICE; LIQUEFACTION SOLIDIFICATION OF GASES
    • F25BREFRIGERATION MACHINES, PLANTS OR SYSTEMS; COMBINED HEATING AND REFRIGERATION SYSTEMS; HEAT PUMP SYSTEMS
    • F25B1/00Compression machines, plants or systems with non-reversible cycle
    • F25B1/10Compression machines, plants or systems with non-reversible cycle with multi-stage compression
    • FMECHANICAL ENGINEERING; LIGHTING; HEATING; WEAPONS; BLASTING
    • F25REFRIGERATION OR COOLING; COMBINED HEATING AND REFRIGERATION SYSTEMS; HEAT PUMP SYSTEMS; MANUFACTURE OR STORAGE OF ICE; LIQUEFACTION SOLIDIFICATION OF GASES
    • F25BREFRIGERATION MACHINES, PLANTS OR SYSTEMS; COMBINED HEATING AND REFRIGERATION SYSTEMS; HEAT PUMP SYSTEMS
    • F25B2339/00Details of evaporators; Details of condensers
    • F25B2339/04Details of condensers
    • F25B2339/047Water-cooled condensers
    • FMECHANICAL ENGINEERING; LIGHTING; HEATING; WEAPONS; BLASTING
    • F25REFRIGERATION OR COOLING; COMBINED HEATING AND REFRIGERATION SYSTEMS; HEAT PUMP SYSTEMS; MANUFACTURE OR STORAGE OF ICE; LIQUEFACTION SOLIDIFICATION OF GASES
    • F25BREFRIGERATION MACHINES, PLANTS OR SYSTEMS; COMBINED HEATING AND REFRIGERATION SYSTEMS; HEAT PUMP SYSTEMS
    • F25B2500/00Problems to be solved
    • F25B2500/26Problems to be solved characterised by the startup of the refrigeration cycle
    • FMECHANICAL ENGINEERING; LIGHTING; HEATING; WEAPONS; BLASTING
    • F25REFRIGERATION OR COOLING; COMBINED HEATING AND REFRIGERATION SYSTEMS; HEAT PUMP SYSTEMS; MANUFACTURE OR STORAGE OF ICE; LIQUEFACTION SOLIDIFICATION OF GASES
    • F25BREFRIGERATION MACHINES, PLANTS OR SYSTEMS; COMBINED HEATING AND REFRIGERATION SYSTEMS; HEAT PUMP SYSTEMS
    • F25B2600/00Control issues
    • F25B2600/02Compressor control
    • F25B2600/025Compressor control by controlling speed
    • F25B2600/0251Compressor control by controlling speed with on-off operation

Definitions

  • This disclosure relates to a heat management device in which a heat medium circulates.
  • Non-Patent Document 1 describes a thermal management device in which an intercooler, a condenser, and a radiator are arranged in the same cooling water circuit.
  • the intercooler is a heat exchanger that cools the intake air by dissipating heat from the intake air of the engine to the cooling water.
  • the condenser is a heat exchanger that cools the refrigerant by dissipating heat from the refrigerant of the refrigeration cycle to the cooling water.
  • the radiator is a heat exchanger that cools the cooling water by exchanging heat between the cooling water heat-exchanged by the intercooler and the condenser and the outside air.
  • the present disclosure has a heat dissipating capability in the heat dissipating device when the heat dissipating amount of one heat dissipating device increases.
  • the purpose is to suppress the shortage.
  • a vehicle heat management apparatus includes two or more heat radiating devices that radiate heat to a heat medium, and heat medium air heat that causes heat exchange between the heat medium radiated by the two or more heat radiating devices and air.
  • the flow rate adjusting device that adjusts the flow rate of the heat medium flowing through one of the two or more heat radiating devices, and the heat medium in the one heat radiating device, And a control device that controls the operation of the flow rate adjusting device so that the flow rate of the heat medium flowing through the heat radiating device is increased.
  • thermo management apparatus for vehicles in 1st Embodiment It is a whole block diagram of the thermal management apparatus for vehicles in 1st Embodiment. It is a flowchart which shows the control processing which the control apparatus of the thermal management apparatus for vehicles in 1st Embodiment performs. It is a time chart which shows the operation result of the thermal management apparatus for vehicles in a 1st embodiment. It is a flowchart which shows the control processing which the control apparatus of the thermal management apparatus for vehicles in 2nd Embodiment performs. It is a whole block diagram of the thermal management apparatus for vehicles in 3rd Embodiment. It is a whole block diagram of the thermal management apparatus for vehicles in 4th Embodiment. It is a whole block diagram of the thermal management apparatus for vehicles in the 1st modification of 4th Embodiment.
  • thermal management apparatus for vehicles in the 2nd modification of 4th Embodiment It is a whole block diagram of the thermal management apparatus for vehicles in the 1st example of 5th Embodiment. It is a block diagram of the thermal management apparatus for vehicles in the 2nd example of 5th Embodiment. It is a whole block diagram of the thermal management apparatus for vehicles in the modification of 5th Embodiment. It is a whole block diagram of the thermal management apparatus for vehicles in 6th Embodiment. It is a whole block diagram of the thermal management apparatus for vehicles in the modification of 6th Embodiment.
  • the first embodiment will be described below with reference to FIGS.
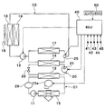
  • the vehicle thermal management device shown in FIG. 1 is used to adjust various devices and vehicle interior space provided in the vehicle to appropriate temperatures.
  • the vehicle thermal management device includes a first pump 11, a second pump 12, a chiller 13, a condenser 14, a cooler core 15, a radiator 16 and an intercooler 17.
  • the first pump 11 and the second pump 12 are electric pumps that suck and discharge cooling water (heat medium).
  • the cooling water is a fluid as a heat medium.
  • a liquid containing at least ethylene glycol, dimethylpolysiloxane or nanofluid, or an antifreeze liquid is used as the cooling water.
  • the chiller 13, the condenser 14, the cooler core 15, the radiator 16, and the intercooler 17 are cooling water distribution devices (heat medium distribution devices) through which cooling water flows.
  • the chiller 13 exchanges heat between the low-pressure side refrigerant of the refrigeration cycle 20 and the cooling water, thereby absorbing the heat of the cooling water into the low-pressure side refrigerant and cooling the cooling water (heat exchanger cooling heat exchange). ).
  • the condenser 14 is a high-pressure side heat exchanger (heat dissipating device) that radiates heat of the high-pressure side refrigerant to the cooling water by exchanging heat between the high-pressure side refrigerant of the refrigeration cycle 20 and the cooling water.
  • heat dissipating device heat dissipating device
  • the refrigeration cycle 20 is a vapor compression refrigerator that includes a compressor 21, a condenser 14, an expansion valve 22, and a chiller 13.
  • a chlorofluorocarbon refrigerant is used as the refrigerant, and a subcritical refrigeration cycle in which the high-pressure side refrigerant pressure does not exceed the critical pressure of the refrigerant is configured.
  • the compressor 21 is an electric compressor driven by electric power supplied from a battery, or a variable capacity compressor driven by an engine, and sucks, compresses and discharges the refrigerant of the refrigeration cycle 20.
  • the condenser 14 is a condenser that condenses the high-pressure side refrigerant by exchanging heat between the high-pressure side refrigerant discharged from the compressor 21 and the cooling water.
  • the expansion valve 22 is a decompression device that decompresses and expands the liquid-phase refrigerant that has flowed out of the capacitor 14.
  • the chiller 13 is an evaporator that evaporates the low-pressure side refrigerant by exchanging heat between the low-pressure side refrigerant decompressed and expanded by the expansion valve 22 and the cooling water.
  • the cooler core 15 is an air cooling heat exchanger that cools air by exchanging heat between the cooling water cooled by the chiller 13 and the air blown into the vehicle interior.
  • the cooler core 15 is accommodated in a casing of an indoor air conditioning unit (not shown).
  • the indoor air conditioning unit has a function of adjusting the temperature of the air blown by the indoor blower 15a and blowing it out to the vehicle interior (air conditioning target space).
  • the indoor air conditioning unit is arranged inside the instrument panel (instrument panel) at the forefront of the passenger compartment.
  • the casing forms an outer shell of the indoor air conditioning unit and forms an air passage through which the air blown by the indoor blower 15a flows.
  • the indoor blower 15a is an electric blower that drives a centrifugal multiblade fan (sirocco fan) with an electric motor.
  • the radiator 16 is a radiator (heat medium air heat exchanger) that radiates the heat of the cooling water to the outside air by exchanging heat between the cooling water and the outside air (vehicle exterior air).
  • the radiator 16 is disposed in an engine room (not shown) of the vehicle. Outside air is blown to the radiator 16 by the outdoor blower 18. A traveling wind can be applied to the radiator 16 when the vehicle is traveling.
  • the outdoor blower 18 blows outside air toward the radiator 16.
  • the outdoor blower 18 is an electric blower that drives a fan with an electric motor.
  • the outside air blown by the outdoor blower 18 flows in series through the radiator 16 and the engine radiator 19.
  • the engine radiator 19 is a radiator that dissipates heat of the engine cooling water to the outside air by exchanging heat between the engine cooling water and the outside air, and is disposed in the engine room of the vehicle.
  • the engine cooling water is an engine cooling heat medium that cools the engine (not shown) of the vehicle.
  • the intercooler 17 is an intake air cooler (intake heat medium heat exchanger) that cools the supercharged intake air by exchanging heat between the supercharged intake air that has been compressed by a turbocharger (not shown) and becomes high temperature and the cooling water. is there.
  • a turbocharger is a supercharger that supercharges intake air (intake air) of an engine.
  • the intercooler 17 is a heat radiating device that radiates heat of the intake air to the cooling water.
  • the first pump 11, the chiller 13, and the cooler core 15 are disposed in the first cooling water circuit C1 (first heat medium circuit).
  • the first cooling water circuit C ⁇ b> 1 is configured such that cooling water (first heat medium) circulates in the order of the first pump 11 ⁇ the cooler core 15 ⁇ the chiller 13 ⁇ the first pump 11.
  • the second pump 12, the condenser 14, the radiator 16, and the intercooler 17 are disposed in the second cooling water circuit C2 (second heat medium circuit).
  • the condenser 14 and the intercooler 17 are arranged in parallel with each other in the cooling water flow of the second cooling water circuit C2.
  • the second cooling water circuit C2 is configured such that the cooling water (second heat medium) circulates in the order of the second pump 12 ⁇ the condenser 14 and the intercooler 17 (parallel) ⁇ the radiator 16 ⁇ the second pump 12.
  • a three-way valve 25 is disposed in the second cooling water circuit C2.
  • the three-way valve 25 is disposed at a junction where the cooling water that has flowed through the condenser 14 and the cooling water that has flowed through the intercooler 17 merge, and the cooling water flow path on the condenser 14 side and the cooling water flow path on the intercooler 17 side Adjust the opening ratio of.
  • the three-way valve 25 is a flow rate adjusting device that adjusts the flow rate ratio between the cooling water flowing through the condenser 14 and the cooling water flowing through the intercooler 17.
  • the three-way valve 25 is a flow rate adjusting device that adjusts the flow rate of the cooling water flowing through the intercooler 17.
  • the control device 40 is composed of a well-known microcomputer including a CPU, a ROM, a RAM and the like and its peripheral circuits, performs various calculations and processing based on an air conditioning control program stored in the ROM, and is connected to the output side. Controls the operation of controlled devices.
  • Controlled devices such as the first pump 11, the second pump 12, the outdoor blower 18, the compressor 21, the three-way valve 25, and the indoor blower 15a are connected to the output side of the control device 40.
  • the control device 40 is integrally configured with a control unit (hardware and software) that controls various devices to be controlled connected to the output side.
  • a control unit hardware and software
  • a second pump control unit that controls the operation of the second pump 12 in the control device 40
  • a blower control unit that controls the operation of the indoor blower 15a
  • a compressor control unit that controls the operation of the compressor 21, and a three-way valve
  • a three-way valve control unit and the like for controlling the operation of are integrally configured.
  • the control unit that controls the operation of each control target device may be configured separately from the control device 40.
  • Detecting signals of sensor groups such as an accelerator sensor 41, a brake sensor 42, a shift sensor 43, a vehicle speed sensor 44, and a coolant temperature sensor 45 are input to the input side of the control device 40.
  • Accelerator sensor 41 detects the accelerator opening (the amount by which the driver steps on the accelerator pedal).
  • the brake sensor 42 detects whether or not the driver is stepping on the brake pedal.
  • the shift sensor 43 detects the shift range of the transmission.
  • the vehicle speed sensor 44 detects a vehicle speed (vehicle traveling speed).
  • the cooling water temperature sensor 45 detects the temperature of the cooling water in the second cooling water circuit C2.
  • Various signals from the engine control device 50 are input to the input side of the control device 40.
  • the engine control device 50 controls the operation of the engine.
  • Various signals input from the engine control device 50 to the control device 40 include, for example, a signal indicating the engine operating / stopped state, a signal indicating the throttle opening, a signal for increasing the fuel injection amount, and the engine speed.
  • control device 40 operates the first pump 11, the second pump 12, and the compressor 21, the refrigerant circulates in the refrigeration cycle 20, and cooling water is supplied to each of the first cooling water circuit C1 and the second cooling water circuit C2. Circulate.
  • the cooling water in the first cooling water circuit C1 is cooled.
  • the refrigerant that has absorbed heat by the chiller 13 dissipates heat to the cooling water of the second cooling water circuit C2 by the capacitor 14. Thereby, the refrigerant of the refrigeration cycle 20 is cooled.
  • the cooling water in the second cooling water circuit C2 is radiated from the supercharged intake air by the intercooler 17. Thereby, the supercharged intake air is cooled.
  • the cooling water radiated from the refrigerant by the condenser 14 and the cooling water radiated from the supercharged intake air by the intercooler 17 are radiated to the outside air by the radiator 16. Thereby, the cooling water of the 2nd cooling water circuit C2 is cooled.
  • the cooling water of the first cooling water circuit C1 cooled by the chiller 13 absorbs heat from the air blown into the vehicle interior by the cooler core 15. Thereby, the air blown into the passenger compartment is cooled.
  • the air cooled by the cooler core 15 is blown out into the passenger compartment. Thereby, the vehicle interior is cooled.
  • the chiller 13 indirectly exchanges heat between the refrigerant decompressed and expanded by the expansion valve 22 and the air blown into the vehicle compartment via the cooling water of the first cooling water circuit C1 and blows it into the vehicle compartment.
  • the air to be cooled The air to be cooled.
  • the control device 40 executes the control process shown in the flowchart of FIG. First, in step S100, it is estimated whether or not the amount of heat released from the supercharged intake air to the cooling water in the intercooler 17 increases.
  • the accelerator opening is expected to increase, for example, the following cases may be mentioned. (1) When the vehicle speed is 0 km / h. (2) When the driver is not stepping on the accelerator. (3) When the driver is stepping on the brake. (4) When the driver changes the shift range from other than D range (drive range) to D range.
  • step S100 If it is estimated in step S100 that the amount of heat released by the intercooler 17 does not increase, step S100 is repeated. On the other hand, when it is estimated that the heat release amount in the intercooler 17 is increased, the process proceeds to step S110, and the intake air cooling priority control that prioritizes the intake air cooling in the intercooler 17 is performed. Specifically, the following control is performed. (1) The operation of the three-way valve 25 is controlled so that the cooling water flows to the intercooler 17 and the cooling water does not flow to the condenser 14. (2) The compressor 21 is stopped. (3) The air is cooled by the cooler core 15 using the cold storage function (heat capacity) of the first cooling water circuit C1.
  • the flow rate of the cooling water flowing through the intercooler 17 is increased, the intake air cooling capacity in the intercooler 17 can be increased.
  • the cooling water does not flow to the condenser 14, the refrigerant cannot be cooled by the condenser 14.
  • the compressor 21 is stopped, the refrigerant pressure of the refrigeration cycle 20 can be prevented from rising excessively.
  • the compressor 21 When the compressor 21 is stopped, the refrigerant does not flow into the chiller 13 so that the cooling water cannot be cooled by the chiller 13. However, since the air is cooled by the cooler core 15 using the cold storage function of the first cooling water circuit C1, the vehicle The cooling comfort in the room can be maintained.
  • the cold storage function of the first cooling water circuit C1 is realized by the cooling water hose (cooling water piping member) of the first cooling water circuit C1, the cooling water inside the chiller 13, and the cooling water inside the cooler core 15.
  • the cold storage function of the first cooling water circuit C1 can be enhanced.
  • the cold storage material is paraffin or sodium acetate hydrate.
  • step S130 When the compressor 21 is stopped in step S130, at least one of the flow rate of the cooling water flowing through the cooler core 15 and the flow rate of the air flowing through the cooler core 15 is decreased immediately after the compressor 21 is stopped, and the passage of time. It is preferable to make it larger. This is because the cold storage function of the first cooling water circuit C1 can be used for a long time. The reason will be described below.
  • the solid line indicates a case where the flow rate of at least one of the cooling water or air flowing through the cooler core 15 is increased with time
  • the two-dot chain line indicates the cooling water flowing through the cooler core 15 and The case where the flow rate of air is made constant is shown.
  • the heat passage rate Kf in the cooler core 15 is also made constant.
  • the heat passage rate Kf in the cooler core 15 is a heat exchange amount per 1 ° C. temperature difference between the inlet air and the inlet cooling water in the cooler core 15. As the flow rate of the cooling water flowing through the cooler core 15 increases, the heat passage rate Kf in the cooler core 15 increases. As the flow rate of the air flowing through the cooler core 15 increases, the heat passage rate Kf in the cooler core 15 increases.
  • the cooling capacity Q of the cooler core 15 (the heat of the cooler core 15 is low) because the temperature of the cooling water flowing into the cooler core 15 is low immediately after the compressor 21 is stopped.
  • the cooling capacity Q of the cooler core 15 decreases.
  • the cooling capacity Q of the cooler core 15 exceeds the required cooling capacity Qr (one-dot chain line in FIG. 3) and becomes excessive.
  • the heat passage rate Kf in the cooler core 15 is also decreased immediately after the compressor 21 is stopped. Grows over time.
  • the cooling capacity Q of the cooler core 15 can be kept small immediately after the compressor 21 is stopped. Therefore, it is possible to suppress the cooling capacity Q of the cooler core 15 from becoming excessive, to moderate the temperature rise of the cooling water in the first cooling water circuit C1, and as a result, the time during which the necessary cooling capacity Qr can be ensured (cooling available) Time).
  • step S120 it is determined whether or not to cancel the estimation performed in step S100. That is, it is determined whether or not to cancel the estimation that the amount of heat released by the intercooler 17 increases. In other words, it is determined whether or not it can be estimated that the amount of heat released by the intercooler 17 is reduced.
  • the estimation that the heat radiation amount in the intercooler 17 increases is canceled.
  • the accelerator opening is expected to decrease, for example, there is a case where the driver changes the shift range from the D range (drive range) to other than the D range.
  • the estimation that the heat dissipation amount in the intercooler 17 increases may be canceled.
  • Step S120 when it is determined not to cancel the estimation that the heat dissipation amount in the intercooler 17 is increased, Step S120 is repeated. On the other hand, if it is determined to cancel the estimation that the heat dissipation amount in the intercooler 17 is increased, the process proceeds to step S130, the intake air cooling priority control is canceled, and the process returns to step S100.
  • step S130 the following control is performed.
  • the operation of the three-way valve 25 is controlled so that the cooling water flows through both the intercooler 17 and the condenser 14.
  • the compressor 21 is operated.
  • the air is cooled by the cooler core 15 without using the cold storage function of the first cooling water circuit C1.
  • the intake air is cooled by the intercooler 17 and the refrigerant can be cooled by the condenser 14, the air can be cooled by the cooler core 15 by cooling the cooling water with the refrigerant in the chiller 13. Therefore, the vehicle interior can be cooled without using the cold storage function of the first coolant circuit C1.
  • steps S100 and S110 when the control device 40 can estimate that the amount of heat released to the cooling water in the intercooler 17 is increased, the flow rate of the cooling water flowing through the intercooler 17 is increased.
  • the operation of the three-way valve 25 is controlled. Specifically, the operation of the three-way valve 25 is controlled so that the flow rate ratio of the cooling water flowing through the intercooler 17 increases.
  • the flow rate of the cooling water flowing through the intercooler 17 can be increased. Therefore, when the amount of heat radiation to the cooling water in the intercooler 17 increases, it is possible to suppress a shortage of the heat radiation capability in the intercooler 17.
  • the control device 40 controls the operation of the three-way valve 25 so that the flow rate of the cooling water in the intercooler 17 is increased, and then to the cooling water in the intercooler 17.
  • the operation of the three-way valve 25 is controlled so that the flow rate of the cooling water flowing through the intercooler 17 decreases.
  • the operation of the three-way valve 25 is controlled so that the flow rate of the cooling water flowing through the intercooler 17 decreases.
  • steps S100 and S110 when the control device 40 can estimate that the amount of heat released to the cooling water in the intercooler 17 increases, the three-way valve prevents the cooling water from flowing into the condenser 14. 25 operations are controlled.
  • the flow rate of the cooling water flowing through the intercooler 17 can be increased as much as possible, so the amount of heat released to the cooling water in the intercooler 17 increases. In this case, it is possible to suppress the shortage of the heat dissipation capability in the intercooler 17 as much as possible.
  • the control device 40 reduces the refrigerant discharge capacity of the compressor 21 when it can be estimated that the amount of heat released to the cooling water in the intercooler 17 increases. Specifically, the compressor 21 is stopped.
  • the amount of heat radiation required for the capacitor 14 when the flow rate of the cooling water flowing through the intercooler 17 is increased to increase the amount of heat radiation to the cooling water in the intercooler 17 can be reduced. It can further be suppressed that the heat dissipating capacity in 17 is insufficient. Moreover, since the heat radiation amount required for the capacitor 14 can be reduced, it is possible to suppress an excessive increase in the refrigerant pressure of the refrigeration cycle 20.
  • control device 40 can estimate that the amount of heat released to the cooling water in the intercooler 17 decreases after controlling the operation of the three-way valve 25 so that the flow rate of the cooling water in the intercooler 17 increases.
  • the refrigerant discharge capacity of the compressor 21 is increased. Specifically, the compressor 21 is started.
  • the cold energy stored in the first cooling water circuit C1 is used to enter the vehicle interior. Cool the blown air.
  • the compressor 21 is stopped when it can be estimated that the amount of heat radiation to the cooling water in the intercooler 17 can be increased, the air blown into the vehicle interior can be cooled, so that the cooling comfort in the vehicle interior is maintained. it can.
  • the intercooler 17 and the condenser 14 are arranged in parallel with each other in the flow of the cooling water.
  • the flow rate of the cooling water flowing through the intercooler 17 when the flow rate of the cooling water flowing through the intercooler 17 is increased, the flow rate of the cooling water flowing through the condenser 14 can be decreased. Therefore, since the heat radiation amount to the cooling water in the condenser 14 can be reduced, it is possible to further suppress the shortage of the heat radiation capability in the intercooler 17 when the heat radiation amount to the cooling water in the intercooler 17 increases.
  • the following control is performed in the intake air cooling priority control in step S110.
  • the operation of the three-way valve 25 is controlled so that the cooling water flows to the intercooler 17 and the cooling water does not flow to the condenser 14.
  • the compressor 21 is stopped.
  • the air is cooled by the cooler core 15 using the cold storage function of the first cooling water circuit C1.
  • the amount of air blown from the indoor blower 15a is reduced.
  • step S130 the following control is performed to cancel the intake air cooling priority control.
  • the operation of the three-way valve 25 is controlled so that the cooling water flows through both the intercooler 17 and the condenser 14.
  • the compressor 21 is operated.
  • the air is cooled by the cooler core 15 without using the cold storage function of the first cooling water circuit C1.
  • (4) Further increase the amount of air blown from the indoor blower 15a.
  • control device 40 when it can be estimated that the amount of heat radiation to the cooling water in the intercooler 17 increases, the control device 40 reduces the blowing capacity of the blower 15a.
  • control device 40 can estimate that the amount of heat released to the cooling water in the intercooler 17 decreases after controlling the operation of the three-way valve 25 so that the flow rate of the cooling water in the intercooler 17 increases. While increasing the refrigerant
  • the flow rate of the cooling water flowing through the intercooler 17 is adjusted by the three-way valve 25.
  • the cooling flowing through the intercooler 17 by the two-way valve 26 as shown in FIG. Adjust the water flow rate.
  • the two-way valve 26 is disposed in the cooling water flow path on the condenser 14 side among the cooling water flow path on the condenser 14 side and the cooling water flow path on the intercooler 17 side (two cooling water flow paths parallel to each other). The opening degree of the cooling water channel on the side is adjusted. The two-way valve 26 can open and close the cooling water flow path on the condenser 14 side.
  • the two-way valve 26 is a flow rate adjusting device that adjusts the flow rate ratio between the cooling water flowing through the condenser 14 and the cooling water flowing through the intercooler 17.
  • the two-way valve 26 is a flow rate adjusting device that adjusts the flow rate of the cooling water flowing through the intercooler 17. The operation of the two-way valve 26 is controlled by the control device 40.
  • the condenser 14 and the intercooler 17 are arranged in parallel with each other in the cooling water flow.
  • the condenser 14 and the intercooler 17 are in series with each other in the cooling water flow, as shown in FIG. Is arranged.
  • the intercooler 17 is arranged on the upstream side of the cooling water flow of the condenser 14.
  • the flow rate of the cooling water flowing through the intercooler 17 is adjusted by the three-way valve 25, but in this embodiment, the cooling water discharged from the second pump 12 by adjusting the rotation speed of the second pump 12.
  • the flow rate of the cooling water flowing through the intercooler 17 is adjusted by adjusting the flow rate of. That is, the second pump 12 is a flow rate adjusting device that adjusts the flow rate of the cooling water flowing through the intercooler 17.
  • control device 40 increases the discharge capacity of the cooling water in the second pump 12 when it can be estimated that the amount of heat released to the cooling water in the intercooler 17 increases.
  • control device 40 can estimate that the amount of heat released to the cooling water in the intercooler 17 decreases after controlling the operation of the second pump 12 so that the flow rate of the cooling water in the intercooler 17 increases. The cooling water discharge capacity of the second pump 12 is decreased.
  • the intercooler 17 may be arranged on the downstream side of the condenser water flow of the condenser 14 as in the first modification example.
  • the capacitor bypass passage 27 and the bypass three-way valve 28 may be provided.
  • the capacitor bypass channel 27 is a channel through which cooling water flows bypassing the capacitor 14.
  • the bypass three-way valve 28 is disposed at the junction of the condenser 14 side cooling water passage and the capacitor bypass passage 27, and adjusts the opening ratio between the condenser 14 side cooling water passage and the capacitor bypass passage 27. .
  • bypass three-way valve 28 is a flow rate ratio adjusting device that adjusts the flow rate ratio between the cooling water flowing through the condenser 14 and the cooling water flowing through the capacitor bypass passage 27.
  • the regenerator material 29 is disposed in the first cooling water circuit C1.
  • the cold storage material 29 is a cold storage device that stores cold heat supplied from the refrigerant in the chiller 13.
  • the cold storage material 29 is paraffin or sodium acetate hydrate.
  • the regenerator material 29 is disposed on the downstream side of the chiller 13 in the coolant flow. That is, the cool storage material 29 is arranged in series with the cooler core 15 in the cooling water flow.
  • the regenerator material 29 is disposed on the upstream side of the cooling water flow of the chiller 13. That is, the cool storage material 29 is arranged in series with the cooler core 15 in the cooling water flow.
  • the regenerator material 29 is arranged in the cooler core bypass flow path 30.
  • the cooler core bypass channel 30 is a channel through which cooling water flows bypassing the cooler core 15. Therefore, the cool storage material 29 is arranged in parallel with the cooler core 15 in the cooling water flow.
  • the air blown into the vehicle interior is cooled using the cold energy stored in the cold storage material 29.
  • the cooling comfort in the passenger compartment can be further maintained when the compressor 21 is stopped.
  • the heat radiating device 31 is disposed in the second cooling water circuit C2.
  • the heat dissipation device 31 is a device that radiates heat to the cooling water of the second cooling water circuit C2.
  • the heat radiating device 31 is arranged in parallel with the condenser 14 and the intercooler 17 in the cooling water flow.
  • the heat radiating device 31 is a cooling water flow that is in thermal communication with the traveling motor, battery, inverter, or DC-DC converter.
  • a cooling water flow that is in thermal communication with the traveling motor, battery, inverter, or DC-DC converter.
  • the battery is a power storage device that stores power to be supplied to the traveling motor.
  • the inverter is a power conversion device that converts DC power supplied from a battery into AC power and outputs the AC power to a traveling motor.
  • the DC-DC converter is a DC voltage converter that converts DC voltage.
  • the opening degree of the cooling water flow path on the condenser 14 side is adjusted by a two-way valve 26.
  • the opening degree of the cooling water passage on the side of the heat radiating device 31 is also adjusted by the two-way valve 26.
  • the flow rate distribution ratio of the heat dissipating device 31, the intercooler 17 and the condenser 14 arranged in parallel is adjusted.
  • the flow rate distribution ratio of the heat dissipating device 31, the intercooler 17, and the condenser 14 arranged in parallel may be adjusted simultaneously by one four-way valve 32.
  • steps S110 and S111 shown in FIGS. 2 and 4 the cooling water is prevented from flowing through the condenser 14 and the compressor 21 is stopped, but the flow rate of the cooling water flowing through the condenser 14 is changed.
  • the number of rotations of the compressor 21 may be decreased while decreasing.
  • step S110 and S111 priority is given to the intake air cooling in the intercooler 17; however, in step S100, it is estimated whether or not the heat radiation amount in various heat generating devices increases in place of the intercooler 17. However, when it is estimated that the amount of heat released by various heat generating devices is increased, control that prioritizes cooling of the various heat generating devices may be performed in steps S110 and S111.
  • the various heat generating devices are cooled in thermal communication with the traveling motor, battery, inverter, or DC-DC converter. Water channel or heat exchanger.
  • the heat generating device is a cooling water passage or heat exchanger that is in thermal communication with the traveling motor
  • the cooling capacity of the traveling motor is improved, so that the upper limit temperature of the traveling motor is not reached, and drivability Will improve.
  • the electric loss is reduced and the motor efficiency is improved by lowering the temperature of the traveling motor.
  • the heat generating device is a cooling water flow path or a heat exchanger that is in thermal communication with the battery, the cooling capacity of the battery is improved, so that the battery does not reach the upper limit temperature and drivability is improved.
  • the heat radiating device 31 is a cooling water flow path or a heat exchanger that is in thermal communication with the inverter, the cooling capacity of the inverter is improved, so that the upper limit temperature of the inverter is not reached and drivability is improved. In addition, since the electric loss is reduced when the temperature of the inverter is lowered, the efficiency of the inverter is improved.
  • the heat generating device is a cooling water flow path or heat exchanger that is in thermal communication with the DC-DC converter
  • the cooling capacity of the DC-DC converter is improved, so that the upper limit temperature of the DC-DC converter is not reached. , Conversion capacity is no longer limited.
  • the temperature of the DC-DC converter is lowered, the electrical loss is reduced and the efficiency of the DC-DC converter can be improved.
  • the low-pressure side heat exchanger of the refrigeration cycle 20 is the chiller 13 that exchanges heat between the refrigerant decompressed and expanded by the expansion valve 22 and the cooling water of the first cooling water circuit C1.
  • the low pressure side heat exchanger of the cycle 20 may be an evaporator that exchanges heat between the refrigerant decompressed and expanded by the expansion valve 22 and the air blown into the vehicle interior.
  • the low-pressure side heat exchanger 13 of the refrigeration cycle 20 uses the refrigerant decompressed and expanded by the expansion valve 22 and the air blown into the vehicle compartment via the cooling water of the first cooling water circuit C1.
  • the low pressure side heat exchanger 13 of the refrigeration cycle 20 directly exchanges heat between the refrigerant decompressed and expanded by the expansion valve 22 and the air blown into the passenger compartment. You may come to let me.
  • the first cooling water circuit C1 and the second cooling water circuit C2 are connected via a switching valve, and the switching valve is connected to the first cooling water circuit C1 and the second cooling water circuit C2. Switching between the cooling water drawn and discharged by the first pump 11 and the cooling water drawn and discharged by the second pump 12 for each of the arranged cooling water circulation devices. It may be.
  • the cooling water is used as the heat medium flowing through the first cooling water circuit C1 and the second cooling water circuit C2, but various media such as oil may be used as the heat medium.
  • the heat medium ethylene glycol antifreeze, water, air maintained at a certain temperature or higher may be used.
  • Nanofluid may be used as the heat medium.
  • a nanofluid is a fluid in which nanoparticles having a particle size of the order of nanometers are mixed.
  • antifreeze liquid ethylene glycol
  • the effect of improving the thermal conductivity in a specific temperature range the effect of increasing the heat capacity of the heat medium, the effect of preventing the corrosion of metal pipes and the deterioration of rubber pipes, and the heat medium at an extremely low temperature
  • liquidity of can be acquired.
  • Such an effect varies depending on the particle configuration, particle shape, blending ratio, and additional substance of the nanoparticles.
  • the thermal conductivity can be improved, it is possible to obtain the same cooling efficiency even with a small amount of heat medium as compared with the cooling water using ethylene glycol.
  • the amount of heat stored in the heat medium itself can be increased.
  • the aspect ratio of the nanoparticles is preferably 50 or more. This is because sufficient thermal conductivity can be obtained.
  • the aspect ratio is a shape index that represents the ratio of the vertical and horizontal dimensions of the nanoparticles.
  • Nanoparticles containing any of Au, Ag, Cu and C can be used. Specifically, Au nanoparticle, Ag nanowire, CNT (carbon nanotube), graphene, graphite core-shell nanoparticle (a structure such as a carbon nanotube surrounding the above atom is included as a constituent atom of the nanoparticle. Particles), Au nanoparticle-containing CNTs, and the like can be used.
  • a chlorofluorocarbon refrigerant is used as the refrigerant.
  • the type of the refrigerant is not limited to this, and natural refrigerant such as carbon dioxide, hydrocarbon refrigerant, or the like is used. May be.
  • the refrigeration cycle 20 of the above embodiment constitutes a subcritical refrigeration cycle in which the high-pressure side refrigerant pressure does not exceed the critical pressure of the refrigerant, but the supercritical refrigeration cycle in which the high-pressure side refrigerant pressure exceeds the critical pressure of the refrigerant. You may comprise.

Landscapes

  • Engineering & Computer Science (AREA)
  • Mechanical Engineering (AREA)
  • Physics & Mathematics (AREA)
  • Thermal Sciences (AREA)
  • Chemical & Material Sciences (AREA)
  • Combustion & Propulsion (AREA)
  • Transportation (AREA)
  • General Engineering & Computer Science (AREA)
  • Cooling, Air Intake And Gas Exhaust, And Fuel Tank Arrangements In Propulsion Units (AREA)
  • Air-Conditioning For Vehicles (AREA)
PCT/JP2015/005513 2014-11-19 2015-11-03 熱管理装置 Ceased WO2016079936A1 (ja)

Priority Applications (2)

Application Number Priority Date Filing Date Title
US15/524,401 US10500924B2 (en) 2014-11-19 2015-11-03 Thermal management device
DE112015005219.4T DE112015005219T5 (de) 2014-11-19 2015-11-03 Wärmemanagementvorrichtung

Applications Claiming Priority (2)

Application Number Priority Date Filing Date Title
JP2014-234800 2014-11-19
JP2014234800A JP6375893B2 (ja) 2014-11-19 2014-11-19 熱管理装置

Publications (1)

Publication Number Publication Date
WO2016079936A1 true WO2016079936A1 (ja) 2016-05-26

Family

ID=56013512

Family Applications (1)

Application Number Title Priority Date Filing Date
PCT/JP2015/005513 Ceased WO2016079936A1 (ja) 2014-11-19 2015-11-03 熱管理装置

Country Status (4)

Country Link
US (1) US10500924B2 (enExample)
JP (1) JP6375893B2 (enExample)
DE (1) DE112015005219T5 (enExample)
WO (1) WO2016079936A1 (enExample)

Families Citing this family (17)

* Cited by examiner, † Cited by third party
Publication number Priority date Publication date Assignee Title
JP6197745B2 (ja) * 2013-07-31 2017-09-20 株式会社デンソー 車両用冷凍サイクル装置
JP6565744B2 (ja) * 2016-03-10 2019-08-28 株式会社デンソー 空調装置
US10690042B2 (en) * 2016-09-27 2020-06-23 Ford Global Technologies, Llc Methods and systems for coolant system
US10093147B2 (en) * 2016-09-27 2018-10-09 Ford Global Technologies, Llc Methods and systems for coolant system
US11002179B2 (en) 2016-09-27 2021-05-11 Ford Global Technologies, Llc Methods and systems for control of coolant flow through an engine coolant system
US10124647B2 (en) * 2016-09-27 2018-11-13 Ford Global Technologies, Llc Methods and systems for coolant system
US20210285694A1 (en) * 2017-04-13 2021-09-16 Clay Manley Method of Using Catalyzed Graphene with Nanoparticle Reacting Agent to Improve the Efficiency of a Thermal Vapor Compression System
US10493819B2 (en) * 2018-01-19 2019-12-03 Ford Global Technologies, Llc System and method for heating passenger cabin with combination of inverter waste heat and refrigerant
US11059351B2 (en) * 2018-04-25 2021-07-13 Ford Global Technologies, Llc System and method for heating passenger cabin with combination of power electronics and electric machine waste heat
JP7095512B2 (ja) * 2018-09-13 2022-07-05 トヨタ自動車株式会社 ハイブリッド車両の冷却システム
FR3091337B1 (fr) * 2018-12-27 2021-03-05 Groupe BENARD Système de production de froid
US20200208927A1 (en) 2018-12-27 2020-07-02 Trane International Inc. Fluid control for a variable flow fluid circuit in an hvacr system
JP7151575B2 (ja) * 2019-03-20 2022-10-12 トヨタ自動車株式会社 熱要求調停装置
JP7063940B2 (ja) * 2019-06-28 2022-05-09 ダイキン工業株式会社 冷凍装置
US11207949B2 (en) * 2020-01-07 2021-12-28 Ford Global Technologies, Llc Multi-compressor refrigerant system
CN115195399B (zh) * 2022-07-19 2025-05-27 岚图汽车科技有限公司 车辆热管理系统、方法和相关装置
JP2024030575A (ja) * 2022-08-24 2024-03-07 サンデン株式会社 車両用熱管理装置

Citations (7)

* Cited by examiner, † Cited by third party
Publication number Priority date Publication date Assignee Title
JP2004074824A (ja) * 2002-08-09 2004-03-11 Toyota Motor Corp 車両用空調装置
JP2004332699A (ja) * 2003-05-12 2004-11-25 Nissan Motor Co Ltd 車両用冷却装置
JP2007283830A (ja) * 2006-04-13 2007-11-01 Toyota Motor Corp 車両用空調装置
US20120216983A1 (en) * 2011-02-25 2012-08-30 Alliance For Sustainable Energy, Llc Parallel integrated thermal management
JP2012201295A (ja) * 2011-03-28 2012-10-22 Denso Corp 車両用空調装置
JP2013139251A (ja) * 2011-12-05 2013-07-18 Denso Corp 熱交換システム
US20140262195A1 (en) * 2013-03-13 2014-09-18 Hyundai Motor Company System and method for controlling flow rate of coolant of green car

Family Cites Families (7)

* Cited by examiner, † Cited by third party
Publication number Priority date Publication date Assignee Title
JP3952545B2 (ja) * 1997-07-24 2007-08-01 株式会社デンソー 車両用空調装置
US6640889B1 (en) * 2002-03-04 2003-11-04 Visteon Global Technologies, Inc. Dual loop heat and air conditioning system
JP2006177632A (ja) * 2004-12-24 2006-07-06 Denso Corp 冷凍サイクル
DE102009043316A1 (de) * 2009-09-28 2011-03-31 Valeo Klimasysteme Gmbh Verfahren zur Steuerung der Innenraumtemperatur eines elektrisch betriebenen Fahrzeugs und Klimaanlagensystem
JP2012111299A (ja) * 2010-11-23 2012-06-14 Denso Corp 車両用冷却システム
JP5861495B2 (ja) * 2011-04-18 2016-02-16 株式会社デンソー 車両用温度調整装置、および車載用熱システム
JP6167892B2 (ja) 2013-06-06 2017-07-26 株式会社デンソー 車両用空調装置

Patent Citations (7)

* Cited by examiner, † Cited by third party
Publication number Priority date Publication date Assignee Title
JP2004074824A (ja) * 2002-08-09 2004-03-11 Toyota Motor Corp 車両用空調装置
JP2004332699A (ja) * 2003-05-12 2004-11-25 Nissan Motor Co Ltd 車両用冷却装置
JP2007283830A (ja) * 2006-04-13 2007-11-01 Toyota Motor Corp 車両用空調装置
US20120216983A1 (en) * 2011-02-25 2012-08-30 Alliance For Sustainable Energy, Llc Parallel integrated thermal management
JP2012201295A (ja) * 2011-03-28 2012-10-22 Denso Corp 車両用空調装置
JP2013139251A (ja) * 2011-12-05 2013-07-18 Denso Corp 熱交換システム
US20140262195A1 (en) * 2013-03-13 2014-09-18 Hyundai Motor Company System and method for controlling flow rate of coolant of green car

Also Published As

Publication number Publication date
JP2016097744A (ja) 2016-05-30
US10500924B2 (en) 2019-12-10
US20170349030A1 (en) 2017-12-07
DE112015005219T5 (de) 2017-07-27
JP6375893B2 (ja) 2018-08-22

Similar Documents

Publication Publication Date Title
JP6375893B2 (ja) 熱管理装置
CN105324259B (zh) 车辆用热管理系统
CN108369042B (zh) 制冷循环装置
US9650940B2 (en) Thermal management system for vehicles
CN108369047B (zh) 制冷循环装置
JP6303615B2 (ja) 車両用熱管理システム
JP6197671B2 (ja) 空調装置
JP6112039B2 (ja) 車両用熱管理システム
JP5949668B2 (ja) 車両用熱管理システム
JP6083304B2 (ja) 車両用熱管理システム
US20160178253A1 (en) Air conditioning device for vehicle
WO2014196138A1 (ja) 車両用熱管理システム
WO2015122137A1 (ja) 車両用熱管理システム
JP6365434B2 (ja) 車両用熱管理装置
WO2015115050A1 (ja) 車両用熱管理システム
JP2014218211A (ja) 車両用熱管理システム
WO2017056868A1 (ja) 車両用熱管理装置
WO2016117309A1 (ja) 車両用冷凍サイクル装置
JP2017047888A (ja) 車両用熱管理装置
JP6350236B2 (ja) 空調装置
WO2017038593A1 (ja) 車両用熱管理装置
JP6451212B2 (ja) 冷却装置

Legal Events

Date Code Title Description
121 Ep: the epo has been informed by wipo that ep was designated in this application

Ref document number: 15860447

Country of ref document: EP

Kind code of ref document: A1

WWE Wipo information: entry into national phase

Ref document number: 15524401

Country of ref document: US

WWE Wipo information: entry into national phase

Ref document number: 112015005219

Country of ref document: DE

122 Ep: pct application non-entry in european phase

Ref document number: 15860447

Country of ref document: EP

Kind code of ref document: A1