WO2016031464A1 - ガス混合装置 - Google Patents

ガス混合装置 Download PDF

Info

Publication number
WO2016031464A1
WO2016031464A1 PCT/JP2015/071241 JP2015071241W WO2016031464A1 WO 2016031464 A1 WO2016031464 A1 WO 2016031464A1 JP 2015071241 W JP2015071241 W JP 2015071241W WO 2016031464 A1 WO2016031464 A1 WO 2016031464A1
Authority
WO
WIPO (PCT)
Prior art keywords
flow path
gas
mixing
throttle
casing
Prior art date
Legal status (The legal status is an assumption and is not a legal conclusion. Google has not performed a legal analysis and makes no representation as to the accuracy of the status listed.)
Ceased
Application number
PCT/JP2015/071241
Other languages
English (en)
French (fr)
Japanese (ja)
Inventor
巌 畠
豊嶋 博
加藤 隆志
浩 満尾
Current Assignee (The listed assignees may be inaccurate. Google has not performed a legal analysis and makes no representation or warranty as to the accuracy of the list.)
Kaisho Co Ltd
Original Assignee
Kaisho Co Ltd
Priority date (The priority date is an assumption and is not a legal conclusion. Google has not performed a legal analysis and makes no representation as to the accuracy of the date listed.)
Filing date
Publication date
Application filed by Kaisho Co Ltd filed Critical Kaisho Co Ltd
Priority to CN201580028621.3A priority Critical patent/CN106457174B/zh
Publication of WO2016031464A1 publication Critical patent/WO2016031464A1/ja
Anticipated expiration legal-status Critical
Ceased legal-status Critical Current

Links

Images

Classifications

    • BPERFORMING OPERATIONS; TRANSPORTING
    • B01PHYSICAL OR CHEMICAL PROCESSES OR APPARATUS IN GENERAL
    • B01FMIXING, e.g. DISSOLVING, EMULSIFYING OR DISPERSING
    • B01F23/00Mixing according to the phases to be mixed, e.g. dispersing or emulsifying
    • B01F23/20Mixing gases with liquids
    • BPERFORMING OPERATIONS; TRANSPORTING
    • B01PHYSICAL OR CHEMICAL PROCESSES OR APPARATUS IN GENERAL
    • B01FMIXING, e.g. DISSOLVING, EMULSIFYING OR DISPERSING
    • B01F25/00Flow mixers; Mixers for falling materials, e.g. solid particles
    • BPERFORMING OPERATIONS; TRANSPORTING
    • B01PHYSICAL OR CHEMICAL PROCESSES OR APPARATUS IN GENERAL
    • B01FMIXING, e.g. DISSOLVING, EMULSIFYING OR DISPERSING
    • B01F25/00Flow mixers; Mixers for falling materials, e.g. solid particles
    • B01F25/20Jet mixers, i.e. mixers using high-speed fluid streams
    • BPERFORMING OPERATIONS; TRANSPORTING
    • B01PHYSICAL OR CHEMICAL PROCESSES OR APPARATUS IN GENERAL
    • B01FMIXING, e.g. DISSOLVING, EMULSIFYING OR DISPERSING
    • B01F25/00Flow mixers; Mixers for falling materials, e.g. solid particles
    • B01F25/40Static mixers

Definitions

  • This invention relates to a gas mixing device for mixing a liquid and a gas.
  • Carbonated water in which carbon dioxide gas is dissolved in a liquid such as water or warm water has been used for various purposes.
  • Carbonated water has been found to be effective in relieving fatigue and promoting blood circulation, and is often used in the fields of medicine and beauty.
  • Carbonated water can be used for beverages, for example, can be used for bathing, and can be used for washing hair.
  • the carbonated water can be expected to have a higher effect as the gas particles are smaller and the concentration in the solution is higher.
  • Patent Document 1 discloses an apparatus that mixes hot water and carbon dioxide gas by injecting pressurized hot water into a container and supplying carbon dioxide gas from a carbon dioxide gas cylinder.
  • Patent Document 2 while circulating the hot water of a bathtub, the apparatus which raises the carbon dioxide gas density
  • An object of the present invention is to provide a gas mixing apparatus that can generate carbonated water having a high concentration and small particles and that can be miniaturized.
  • the present invention is a gas mixing device that is disposed in a pipe through which a fluid flows and has an axial direction and a radial direction orthogonal to each other, and a circumferential direction, and includes a liquid supply port, a gas supply port, the liquid supply port, and the A first mixing unit located downstream of the gas supply port for mixing the supplied liquid and gas by physical impact; and further physically mixing the liquid and the gas located downstream of the first mixing unit.
  • a second mixing section for reducing gas particles by applying an impact wherein the first mixing section includes a first throttle section, a first flow path located downstream of the first throttle section, and the first mixing section.
  • a first wall portion that is located downstream of one flow path and extends in a direction intersecting the fluid flow direction, and a cross-sectional area in a direction intersecting the flow direction of the first constriction portion is that of the first flow path.
  • the second mixing unit is positioned downstream of the second flow path, the second flow path located downstream of the first flow path, the second flow path positioned downstream of the second flow path, and the second flow path.
  • a second wall portion extending in a direction intersecting with the fluid flow direction, and a cross-sectional area in a direction intersecting with the flow direction of the second throttle portion is smaller than that of the second flow path.
  • a third mixing unit is further provided downstream of the second mixing unit, and the third mixing unit includes a third restricting unit positioned downstream of the second flow path, and the second mixing unit.
  • a third flow path positioned downstream of the third throttle section, and a third wall section positioned downstream of the third flow path and extending in a direction intersecting the fluid flow direction, and the flow of the third throttle section A cross-sectional area in a direction crossing the direction may be smaller than that of the third flow path.
  • a third mixing unit is further provided downstream of the second mixing unit, and the third mixing unit includes a third throttle unit having a smaller diameter than the second flow path, and the third throttle unit.
  • a third flow path having a larger diameter than the portion and a third wall portion positioned downstream of the third flow path and extending in a direction intersecting the axial direction may be provided.
  • a premixing unit may be further provided upstream of the first mixing unit, and the premixing unit may be formed by a recess provided on the radially inner side of the partition wall.
  • the first mixing section is defined by a plurality of partition walls arranged along the inner periphery of the pipe, and the first flow path is formed in the axial direction.
  • the second mixing portion may be provided on the annular wall, and the second mixing portion may be provided on the annular wall.
  • the partition may be provided to be inclined with respect to the axial direction.
  • the casing may further include a casing having a cylindrical portion that houses the first mixing portion and the second mixing portion, and the casing may be disposed in a watertight manner on an inner periphery of the pipe.
  • the casing may include a plurality of casing parts that can be divided in the axial direction.
  • the liquid and the gas can be mixed by the physical impact by the first wall portion and the second wall portion, so that the entire device can be miniaturized. Furthermore, by providing the first throttle part and the second throttle part, the flow velocity can be increased downstream of them, and the impact when colliding with the first wall part and the second wall part can be increased, Gas particles can be made smaller.
  • FIG. 4 is a sectional view taken along line IV-IV in FIG. 2.
  • FIG. 5 is a sectional view taken along line VV in FIG. 2. Sectional drawing of what divided the casing and showed the gas mixing apparatus which concerns on 2nd Embodiment of this invention.
  • the front view of the 1st casing part of the gas mixing apparatus which concerns on 3rd Embodiment of this invention.
  • FIG. 12 The front view of the 1st casing part of the gas mixing apparatus which concerns on 4th Embodiment of this invention.
  • the side view of FIG. FIG. 12 is a sectional view taken along line XII-XII in FIG. 11.
  • the front view of the 3rd casing part of the gas mixing apparatus which concerns on 5th Embodiment of this invention.
  • the side view of FIG. FIG. 15 is a sectional view taken along line XV-XV in FIG. 14.
  • the perspective view of the 3rd casing part of the gas mixing apparatus which concerns on 6th Embodiment of this invention.
  • the figure seen from the downstream of FIG. FIG. 17 is a sectional view taken along line XIX-XIX in FIG. 16.
  • (First embodiment) 1 to 5 show a first embodiment of the present invention.
  • the gas mixing device 1 has an axial direction X and a radial direction Y that are orthogonal to each other, a circumferential direction Z that is centered on the axial direction X, and a center line 2 that extends in the axial direction X.
  • the gas mixing device 1 is provided inside a pipe 3 such as a water pipe. In the pipe 3, a liquid such as water or warm water flows from upstream to downstream.
  • the gas mixing device 1 includes a liquid supply port 4 located upstream and a discharge port 6 located downstream, and a gas supply port 5 to which a gas such as carbon dioxide gas is supplied in the vicinity of the liquid supply port 4.
  • the liquid supply port 4 is provided on the center line 2, and the liquid is supplied downstream.
  • the gas supply port 5 is located downstream of the liquid supply port 4, and gas is supplied from the outer peripheral surface of the pipe 3 to the inside thereof. The liquid and gas are supplied at a high pressure via a pump or the like (not shown).
  • the gas mixing device 1 includes a casing 10 having a cylindrical portion extending along the inner peripheral surface of the pipe 3.
  • the shape and size of the casing 10 are determined so as to be kept watertight with respect to the inner peripheral surface of the pipe 3.
  • the pipe 3 has a cylindrical shape
  • the casing 10 has a first surface 10A located upstream, a second surface 10B located downstream, and a circumferential surface 10C.
  • the first surface 10 ⁇ / b> A and the second surface 10 ⁇ / b> B are cylindrical.
  • the outer diameter of the casing 10 is slightly smaller than the inner diameter of the pipe 3, and the dimensional relationship is such that the inner peripheral surface of the pipe 3 and the peripheral surface 10C of the casing 10 are in close contact with each other.
  • a packing material such as an O-ring can be separately used between them.
  • the pipe 3 includes an enlarged diameter portion 31 that accommodates the casing 10.
  • the enlarged diameter portion 31 has a larger dimension in the radial direction Y than the liquid supply port 4 and the discharge port 6. Further, the dimension in the axial direction X of the enlarged diameter portion 31 is larger than the dimension in the axial direction X of the casing 10. Therefore, in the enlarged diameter portion 31, the front chamber 11 is formed between the liquid supply port 4 and the first surface 10A, and the rear chamber 12 is formed between the discharge port 6 and the second surface 10B.
  • the liquid supply port 4 and the gas supply port 5 communicate with the front chamber 11, and the liquid and gas are supplied to the front chamber 11.
  • the first surface 10A of the casing 10 is provided with a plurality of first throttle portions 13 extending in the axial direction X.
  • the first throttle portion 13 is defined by a plurality of partition walls 14 that are spaced apart in the circumferential direction Z, and draws an arc along the circumferential surface 10 ⁇ / b> C. They are provided symmetrically.
  • the partition wall 14 extends substantially parallel to the axial direction X, and the first diaphragm 13 also extends substantially parallel to the axial direction X.
  • the cross-sectional area in the direction intersecting the fluid flow direction of the first throttle portion 13, here the cross-sectional area in the radial direction Y, is smaller than the inner diameter of the pipe 3 and the casing 10, that is, the dimension in the radial direction Y, respectively.
  • the plurality of first throttle parts 13 communicate with the first flow path 16 downstream thereof.
  • the first flow path 16 has a so-called donut shape having an annular shape in the circumferential direction Z, and is defined by the circumferential surface 10 ⁇ / b> C of the casing 10 and an annular wall 17 located inside the radial direction Y thereof.
  • the cross-sectional area in the direction intersecting the flow direction of the first flow path 16, here, the cross-sectional area in the radial direction Y is larger than that of the first throttle portion 13.
  • a first wall 18 is provided at the end of the first flow path 16 on the second surface 10B side.
  • the first wall 18 is provided orthogonal to the axial direction X and closes the end of the first flow path 16.
  • the first wall portion 18 is not necessarily required to be orthogonal to the axial direction X, and may extend in a direction intersecting the axial direction X. However, it is desirable to intersect at an angle that is orthogonal or substantially orthogonal to the axial direction X.
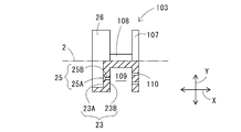
  • the annular wall 17 has a cylindrical shape extending along the center line 2, and the inside thereof becomes a cavity to form the second flow path 22.
  • the annular wall 17 is provided with a second throttle portion 21 that penetrates the annular wall 17 in the radial direction Y. That is, the first flow path 16 and the second flow path 22 are communicated with each other by the second throttle portion 21.
  • the second throttle portion 21 is formed by a through hole provided in the annular wall 17, and a plurality of the second throttle portions 21 are provided apart from each other in the circumferential direction Z of the annular wall 17.
  • the second throttle portion 21 is preferably located on the first surface 10A side from the midpoint of the annular wall 17 in the axial direction X, and the plurality of second throttle portions 21 are provided symmetrically with respect to the center line 2. It is desirable.
  • a second flow path 22 extending in the axial direction X is formed inside the annular wall 17.
  • the cross-sectional area in the direction crossing the flow direction of the second flow path 22, here the cross-sectional area in the radial direction Y, is the cross-sectional area in the direction crossing the flow direction of the second throttle part 21, here the cross-sectional area in the axial direction X Bigger than.
  • the second wall portion 23 is provided downstream of the second flow path 22.
  • the second wall portion 23 extends in the direction intersecting the fluid flow direction, that is, in the radial direction Y, and is provided away from the annular wall 17 in the axial direction X. More specifically, the second wall portion 23 is provided orthogonal to the axial direction X. Note that the second wall portion 23 is not essential to be orthogonal to the axial direction X, and may extend in a direction intersecting the axial direction X. However, it is desirable to intersect at an angle that is orthogonal or substantially orthogonal to the axial direction X.
  • the dimension of the second wall portion 23 in the radial direction Y is the same as or larger than that of the second flow path 22.
  • An annular recess 24 is formed around the second wall portion 23.
  • the annular recess 24 is provided so as to have a so-called donut shape along the circumferential surface 10C of the casing 10, and a third throttle portion 25 communicating with the rear chamber 12 is provided at the bottom 24A.
  • a plurality of third diaphragm portions 25 are provided apart from each other in the circumferential direction Z, and an arc is drawn along the circumferential surface 10 ⁇ / b> C and provided symmetrically with respect to the center line 2.
  • the cross-sectional area in the direction intersecting the flow direction of the third throttle portion 25, here the cross-sectional area in the radial direction Y, is smaller than that of the rear chamber 12.
  • the rear chamber 12 communicates with the discharge port 6.
  • a step portion 32 is formed between the enlarged diameter portion 31 of the pipe 3 and the discharge port 6 having a smaller diameter than the enlarged diameter portion 31.
  • the rear chamber 12 constitutes the third flow path, and the step portion 32 constitutes the third wall portion.
  • the step portion 32 functioning as the third wall portion desirably intersects at an angle perpendicular to or substantially perpendicular to the axial direction X.
  • liquid such as water or warm water is supplied to the front chamber 11 via the liquid supply port 4, and gas such as carbon dioxide gas is supplied via the gas supply port 5.
  • gas such as carbon dioxide gas is supplied via the gas supply port 5.
  • the liquid is supplied at about 0.2 to 0.45 MPa, and the gas is supplied at about 0.3 to 0.5 MPa.
  • the gas also flows along the flow. That is, the liquid flows downstream as a mixed fluid containing gas.
  • the premixing part of this invention is comprised by the recessed part 15 at least.
  • the mixed fluid that has collided with the bottom 15 ⁇ / b> A of the recess 15 flows from the recess 15 into the first throttle 13. Since the first flow path 16 is provided downstream of the first throttle 13 and the first wall 18 is provided in the first flow path 16, the mixed fluid collides with the first wall 18. Since the cross-sectional area in the flow direction of the first flow path 16 is larger than that of the first throttle section 13, the mixed fluid that has passed through the first throttle section 13 has a higher flow velocity in the first flow path 16 and the first wall. The impact when colliding with the portion 18 can be increased. That is, the liquid and the gas can be further mixed, and the refinement of the gas can be promoted. At least the first throttle portion 13, the first flow path 16, and the first wall portion 18 constitute a first mixing portion of the present invention.
  • the mixed fluid that has collided with the first wall portion 18 flows into the second flow path 22 via the second throttle portion 21. Since the second throttle portion 21 is provided symmetrically with respect to the center line 2, the mixed fluid discharged from the second throttle portions 21 at positions facing each other collides and is mixed in the second flow path 22. The mixed fluid in the second flow path 22 collides with the second wall portion 23 located downstream thereof, and is further mixed. Since the cross-sectional area in the flow direction of the second flow path 22 is larger than that of the second throttle section 21, the mixed fluid that has passed through the second throttle section 21 has a higher speed in the second flow path 22.
  • the mixed fluid that has collided with the second wall portion 23 flows into the rear chamber 12 through the third throttle portion 25 and collides with the step portion 32. Since the cross-sectional area in the flow direction of the rear chamber 12 is larger than that of the third throttle portion 25, the mixed fluid that has passed through the third throttle portion 25 becomes faster in the rear chamber 12 and collides with the step portion 32. The impact can be increased. That is, the rear chamber 12 functions as a third flow path, and the step portion 32 functions as a third wall portion. Since the mixed fluid can collide with the stepped portion 32 in this way, the liquid and the gas can be further mixed, and the gas can be miniaturized.
  • the third mixing portion of the present invention is constituted by the third restricting portion 25, the third flow path constituted by the rear chamber 12, and the third wall portion constituted by the step portion 32.
  • the mixed fluid that has passed through the premixing unit, the first mixing unit, the second mixing unit, and the third mixing unit is discharged from the gas mixing device 1 through the discharge port 6.
  • the discharge port 6 can be connected to a tap or the like of a water supply, and the mixed fluid can be discharged when the tap is opened.
  • the mixed fluid discharged from such a gas mixing device 1 has small gas bubbles and can be expected to have high efficacy due to the liquid containing the gas, and is preferably used for drinking water, bath water, showers, and the like. Can do.
  • FIG. 6 shows a second embodiment of the gas mixing device 1.
  • the same components as those in the first embodiment are denoted by the same reference numerals as those in the first embodiment, and detailed description thereof is omitted.
  • the second embodiment is characterized in that the casing 10 is divided into a plurality of units in the axial direction X. That is, in the first embodiment, the casing 10 is continuously formed in the axial direction X, but in the second embodiment, the casing 10 can be divided in the axial direction X. Specifically, the casing 10 is configured by combining the first casing portion 101, the second casing portion 102, and the third casing portion 103.
  • the first casing portion 101 includes the first surface 10A, the first throttle portion 13, the partition wall 14, and the concave portion 15, and includes the fitting convex portion 104 protruding from the bottom portion 15A of the concave portion 15.
  • the second casing part 102 includes a first flow path 16, an annular wall 17, a first wall part 18, a second throttle part 21, and a second flow path 22, and is fitted to a surface facing the first casing part 101.
  • a recess 105 is provided.
  • the third casing portion 103 includes a second wall portion 23, an annular recess 24, a third throttle portion 25, and a second surface 10B.
  • the second casing part 102 and the third casing part 103 are connected to each other in a watertight manner via an O-ring 111.
  • the casing 10 By dividing the casing 10 into a plurality of pieces, for example, it can be made easy to cast when casting with a mold.
  • the number of divisions and the division position of the casing 10 can be changed as appropriate.
  • an O-ring may be interposed between the first casing portion 101 and the second casing portion 102.
  • FIG. 7 to 9 show a third embodiment.
  • This 3rd embodiment shows other examples of the 1st casing part 101 in a 2nd embodiment.
  • the configuration other than the first casing portion 101 is the same as that of the second embodiment.
  • a plurality of plate-like partition walls 14 extending from the peripheral surface 10 ⁇ / b> C to the center line 2 are provided to be inclined with respect to the axial direction X. More specifically, the spiral is arranged with respect to the center line 2. Between the circumferential directions Z of the partition walls 14, first throttle portions 13 are respectively formed.
  • the fluid supplied to the first casing portion 101 flows downstream so as to be swirled by the partition wall 14 when passing through the first throttle portion 13.
  • the vortex By generating the vortex in this way, it is possible to promote the mixing of the liquid and the gas when passing through the first throttle portion 13.
  • the casing 10 has been described using the divided second embodiment.
  • the components in the third embodiment are added to the integrated one of the first example in which the casing 10 is not divided. You may combine.
  • the number of the partition walls 14 and the inclination angle can be appropriately changed depending on, for example, the speed and pressure of the fluid. In this embodiment, eight partitions 14 are provided.
  • (Fourth embodiment) 10 to 12 show a fourth embodiment.
  • This 4th embodiment shows other examples of the 1st casing part 101 in a 2nd embodiment.
  • the configuration other than the first casing portion 101 is the same as that of the second embodiment.
  • a plurality of plate-like partition walls 14 extending from the peripheral surface 10 ⁇ / b> C to the center line 2 are provided to be inclined with respect to the axial direction X. More specifically, the spiral is arranged with respect to the center line 2. Between the circumferential directions Z of the partition walls 14, first throttle portions 13 are respectively formed.
  • the partition wall 14 is provided with a plurality of small holes 106.
  • the small hole 106 penetrates the partition wall 14 in the axial direction X. Further, the small holes 106 adjacent in the circumferential direction Z have different dimensions from the center line 2. That is, it arrange
  • the fluid can be supplied downstream through the small hole 106, and an excessive pressure increase upstream of the first casing portion 101 can be prevented. That is, when the partition wall 14 is formed in a spiral shape and the number of the partition walls 14 is increased, the discharge amount from the first throttling portion 13 may be reduced and an excessive pressure increase may be caused. By providing the hole 106, this concern can be eliminated.
  • the casing 10 has been described by using the divided second embodiment, but this component may be combined with the integrated type shown in the first embodiment in which the casing 10 is not divided. .
  • the number of the partition walls 14 and the inclination angle can be appropriately changed depending on, for example, the speed and pressure of the fluid.
  • 20 partitions 14 are provided.
  • (Fifth embodiment) 13 to 15 show a fifth embodiment.
  • the fifth embodiment shows another example of the third casing portion 103 in the second embodiment.
  • the configuration other than the third casing portion 103 is the same as that of the second embodiment.
  • a second wall portion 23 extending in the radial direction Y on the inner periphery of the pipe 3 and a third wall portion 107 disposed substantially in parallel with the second wall portion 23 are provided.
  • the second wall portion 23 and the third wall portion 107 have a circular shape that is substantially the same shape and the same size as the inner periphery of the pipe 3, are in watertight contact with the inner periphery of the pipe 3, and extend in the axial direction X. Are connected to each other.
  • the third diaphragm 25 is formed in the second wall 23 by a plurality of small holes.
  • the mixed fluid that has passed through the third restricting portion 25 further repeats physical collision with the third wall portion 107 and is agitated to further mix the liquid and gas.
  • a third flow path 109 is formed between the second wall portion 23 and the third wall portion 107.
  • a plurality of small holes 110 are formed in the third wall portion 107.
  • the mixed fluid in the third flow path 109 is discharged from the discharge port 6 through the small hole 110. By passing through the small holes 110, the liquid and gas of the mixed fluid are further mixed, and gas atomization is promoted.
  • the third throttle part 25 provided in the second wall part 23 and the small hole 110 provided in the third wall part 107 are arranged so that their positions do not overlap each other in the axial direction X.
  • the positions of the third throttle portion 25 and the small hole 110 in the axial direction X are arranged with a shift of about 30 ° in the circumferential direction Z with respect to the center line 2.
  • (Sixth embodiment) 16 to 19 show a sixth embodiment.
  • the sixth embodiment shows another example of the third casing portion 103 in the fifth embodiment. Constituent elements similar to those of the fifth embodiment are denoted by the same reference numerals as those of the fifth embodiment, and detailed description thereof is omitted.
  • positioned substantially parallel to the 2nd wall part 23 are provided.
  • the second wall portion 23 and the third wall portion 107 have a circular shape that is substantially the same shape and the same size as the inner periphery of the pipe 3, are in watertight contact with the inner periphery of the pipe 3, and extend in the axial direction X. Are connected to each other.
  • a third flow path 109 is formed between the second wall portion 23 and the third wall portion 107.
  • the third diaphragm 25 is formed in the second wall 23 by a plurality of small holes.
  • the diameter of the third throttle portion 25 on the upstream surface 23A of the second wall portion 23 is larger than the diameter on the downstream surface 23B.
  • the third throttle portion 25 has a conical portion 25A that decreases in diameter from the upstream surface 23A toward the downstream surface 23B, and a cylindrical portion that extends from the conical portion 25A to the downstream surface 23B and has a substantially constant diameter. 25B.
  • the second wall 23 is further provided with a spacer 26 that rises in the axial direction X from the second wall 23 to the upstream side.
  • the spacer 26 is provided along the inner periphery of the pipe 3 substantially perpendicularly from the periphery of the second wall portion 23.
  • a plurality of small holes 110 are formed in the third wall portion 107.
  • the diameter of the small hole 110 is substantially constant.
  • the third throttle portion 25 provided in the second wall portion 23 and the small hole 110 provided in the third wall portion 107 are arranged so as to be shifted so that their positions do not overlap with each other in the axial direction X.
  • the positions of the third throttle portion 25 and the small hole 110 in the axial direction X are arranged with a shift of about 30 ° in the circumferential direction Z with respect to the center line 2.
  • first casing part 101 the second casing part 102, and the third casing part 103 in the second to fifth embodiments can be changed as appropriate.
  • it can also be set as the integral type in which the casing 10 is not divided
  • the first mixing unit and the second mixing unit are accommodated in the same casing 10, whereby the entire apparatus can be reduced in size. Furthermore, by enclosing the premixing unit and the third mixing unit in the same casing 10, it is possible to avoid an increase in size of the device and maintain a downsized device.
  • the casing 10 is not an essential component and may be omitted. In that case, the premixing unit, the first mixing unit, the second mixing unit, the third mixing unit, and the like are individually watertightly arranged in the pipe 3.
  • the dimensions of the first restrictor 13, the second restrictor 21, the first flow path 16, the second flow path 22, the third restrictor 25, and the like can be appropriately changed depending on the overall dimensions, the pressure of the liquid and gas, and the like. is there.
  • a plurality of the first diaphragm unit 13, the second diaphragm unit 21, and the third diaphragm unit 25 are provided.
  • the present invention is not limited to this, and one each may be provided.
  • synthetic resins and metals can be used, and ordinary materials in the technical field of the present invention can be used without limitation, and are not limited to those listed. Absent.

Landscapes

  • Chemical & Material Sciences (AREA)
  • Chemical Kinetics & Catalysis (AREA)
  • Dispersion Chemistry (AREA)
  • Accessories For Mixers (AREA)
PCT/JP2015/071241 2014-08-27 2015-07-27 ガス混合装置 Ceased WO2016031464A1 (ja)

Priority Applications (1)

Application Number Priority Date Filing Date Title
CN201580028621.3A CN106457174B (zh) 2014-08-27 2015-07-27 气体混合装置

Applications Claiming Priority (4)

Application Number Priority Date Filing Date Title
JP2014-172463 2014-08-27
JP2014172463 2014-08-27
JP2014264463A JP6128397B2 (ja) 2014-08-27 2014-12-26 ガス混合装置
JP2014-264463 2014-12-26

Publications (1)

Publication Number Publication Date
WO2016031464A1 true WO2016031464A1 (ja) 2016-03-03

Family

ID=55399365

Family Applications (1)

Application Number Title Priority Date Filing Date
PCT/JP2015/071241 Ceased WO2016031464A1 (ja) 2014-08-27 2015-07-27 ガス混合装置

Country Status (3)

Country Link
JP (1) JP6128397B2 (enExample)
CN (1) CN106457174B (enExample)
WO (1) WO2016031464A1 (enExample)

Cited By (1)

* Cited by examiner, † Cited by third party
Publication number Priority date Publication date Assignee Title
CN109475828A (zh) * 2016-07-28 2019-03-15 株式会社水改质 纳米气泡生成喷嘴和纳米气泡生成装置

Families Citing this family (3)

* Cited by examiner, † Cited by third party
Publication number Priority date Publication date Assignee Title
JP2017209611A (ja) * 2016-05-24 2017-11-30 株式会社ダンレイ 気液混合装置
JP7213126B2 (ja) * 2019-04-12 2023-01-26 Kyb株式会社 気泡含有液体製造装置
JP7569754B2 (ja) * 2021-06-15 2024-10-18 株式会社富士計器 微細気泡水生成器を備えた洗濯機用ホース及びシャワー用ホース

Citations (5)

* Cited by examiner, † Cited by third party
Publication number Priority date Publication date Assignee Title
JP2001335520A (ja) * 2000-05-31 2001-12-04 Asahi Glass Co Ltd クロルヒドリンの製造方法
WO2010107077A1 (ja) * 2009-03-18 2010-09-23 株式会社ミューカンパニーリミテド マイクロバブル発生装置、活性汚泥の曝気処理システム及びバラスト水の殺菌処理システム
JP2011011154A (ja) * 2009-07-02 2011-01-20 Gijutsu Kaihatsu Sogo Kenkyusho:Kk 気液混合圧送システム
WO2011121631A1 (ja) * 2010-03-29 2011-10-06 株式会社技術開発総合研究所 気液供給装置
JP2013529130A (ja) * 2010-05-03 2013-07-18 アパイク インコーポレイテッド 高エネルギー衝突を用いた水への二酸化炭素の可溶化方法

Family Cites Families (6)

* Cited by examiner, † Cited by third party
Publication number Priority date Publication date Assignee Title
JP2001038180A (ja) * 1999-07-28 2001-02-13 Toyo Seigyo:Kk 気体の液体への混合装置
JP2002018257A (ja) * 2000-07-03 2002-01-22 Hikoroku Sugiura マイクロミキサー
JP2002143658A (ja) * 2000-11-13 2002-05-21 Teruji Sasaki 気泡水製造装置
CN200966986Y (zh) * 2006-09-04 2007-10-31 协禧微机电科技(昆山)有限公司 气液混合器
JP2008149209A (ja) * 2006-12-14 2008-07-03 Marcom:Kk 微細気泡発生器および微細気泡供給システム
US8696193B2 (en) * 2009-03-06 2014-04-15 Ehrfeld Mikrotechnik Bts Gmbh Coaxial compact static mixer and use thereof

Patent Citations (5)

* Cited by examiner, † Cited by third party
Publication number Priority date Publication date Assignee Title
JP2001335520A (ja) * 2000-05-31 2001-12-04 Asahi Glass Co Ltd クロルヒドリンの製造方法
WO2010107077A1 (ja) * 2009-03-18 2010-09-23 株式会社ミューカンパニーリミテド マイクロバブル発生装置、活性汚泥の曝気処理システム及びバラスト水の殺菌処理システム
JP2011011154A (ja) * 2009-07-02 2011-01-20 Gijutsu Kaihatsu Sogo Kenkyusho:Kk 気液混合圧送システム
WO2011121631A1 (ja) * 2010-03-29 2011-10-06 株式会社技術開発総合研究所 気液供給装置
JP2013529130A (ja) * 2010-05-03 2013-07-18 アパイク インコーポレイテッド 高エネルギー衝突を用いた水への二酸化炭素の可溶化方法

Cited By (2)

* Cited by examiner, † Cited by third party
Publication number Priority date Publication date Assignee Title
CN109475828A (zh) * 2016-07-28 2019-03-15 株式会社水改质 纳米气泡生成喷嘴和纳米气泡生成装置
EP3482820A4 (en) * 2016-07-28 2019-11-13 Aqua Solution Co., Ltd. NOZZLE FOR GENERATING NANOBLASES AND DEVICE FOR PRODUCING NANOBLASES

Also Published As

Publication number Publication date
JP2016047517A (ja) 2016-04-07
CN106457174A (zh) 2017-02-22
CN106457174B (zh) 2018-08-07
JP6128397B2 (ja) 2017-05-17

Similar Documents

Publication Publication Date Title
CN106132523B (zh) 循环流式气泡产生喷嘴
JP6128397B2 (ja) ガス混合装置
WO2012073435A1 (ja) バブル発生器
JP3202305U (ja) 微小気泡発生装置及び微小気泡発生装置組
JP6048841B2 (ja) 微細気泡発生器
WO2014057660A1 (ja) シャワーヘッド
JP2017063831A (ja) マイクロバブルシャワー装置
WO2013183723A1 (ja) シャワーヘッド
JP6681770B2 (ja) バブル発生器およびバブル発生器具
US9266126B2 (en) Water spray plate
CN212791473U (zh) 出水装置
JP2020151390A (ja) シャワーヘッド
JP2010022919A (ja) 微細気泡発生ノズル
JP3656074B2 (ja) 微細気泡風呂装置及びその気泡発生用ノズル
KR101633235B1 (ko) 마이크로 버블 발생장치
JP4259989B2 (ja) 混合用アタッチメント
KR101584234B1 (ko) 샤워기 헤드
JP2010155191A (ja) 微細気泡発生装置
JP2014083411A (ja) シャワーヘッド
JP2008000685A (ja) 気水混合流発生装置
JP2020031785A (ja) シャワーヘッド装置
JP2019098207A (ja) 微細気泡発生装置および洗濯機
JP5397047B2 (ja) 泡沫吐出装置
KR102603862B1 (ko) 미세버블 발생 장치
US20150231029A1 (en) Nozzles

Legal Events

Date Code Title Description
121 Ep: the epo has been informed by wipo that ep was designated in this application

Ref document number: 15834824

Country of ref document: EP

Kind code of ref document: A1

NENP Non-entry into the national phase

Ref country code: DE

122 Ep: pct application non-entry in european phase

Ref document number: 15834824

Country of ref document: EP

Kind code of ref document: A1