WO2015186494A1 - コネクタ - Google Patents

コネクタ Download PDF

Info

Publication number
WO2015186494A1
WO2015186494A1 PCT/JP2015/064087 JP2015064087W WO2015186494A1 WO 2015186494 A1 WO2015186494 A1 WO 2015186494A1 JP 2015064087 W JP2015064087 W JP 2015064087W WO 2015186494 A1 WO2015186494 A1 WO 2015186494A1
Authority
WO
WIPO (PCT)
Prior art keywords
connector
shell
pad
contact portion
contact
Prior art date
Legal status (The legal status is an assumption and is not a legal conclusion. Google has not performed a legal analysis and makes no representation as to the accuracy of the status listed.)
Ceased
Application number
PCT/JP2015/064087
Other languages
English (en)
French (fr)
Japanese (ja)
Inventor
陽平 横山
Current Assignee (The listed assignees may be inaccurate. Google has not performed a legal analysis and makes no representation or warranty as to the accuracy of the list.)
Japan Aviation Electronics Industry Ltd
Original Assignee
Japan Aviation Electronics Industry Ltd
Priority date (The priority date is an assumption and is not a legal conclusion. Google has not performed a legal analysis and makes no representation as to the accuracy of the date listed.)
Filing date
Publication date
Application filed by Japan Aviation Electronics Industry Ltd filed Critical Japan Aviation Electronics Industry Ltd
Priority to US15/308,912 priority Critical patent/US9748687B2/en
Priority to KR1020167031192A priority patent/KR101857903B1/ko
Priority to CN201580025395.3A priority patent/CN106463892B/zh
Publication of WO2015186494A1 publication Critical patent/WO2015186494A1/ja
Anticipated expiration legal-status Critical
Ceased legal-status Critical Current

Links

Images

Classifications

    • HELECTRICITY
    • H01ELECTRIC ELEMENTS
    • H01RELECTRICALLY-CONDUCTIVE CONNECTIONS; STRUCTURAL ASSOCIATIONS OF A PLURALITY OF MUTUALLY-INSULATED ELECTRICAL CONNECTING ELEMENTS; COUPLING DEVICES; CURRENT COLLECTORS
    • H01R13/00Details of coupling devices of the kinds covered by groups H01R12/70 or H01R24/00 - H01R33/00
    • H01R13/46Bases; Cases
    • H01R13/502Bases; Cases composed of different pieces
    • HELECTRICITY
    • H01ELECTRIC ELEMENTS
    • H01RELECTRICALLY-CONDUCTIVE CONNECTIONS; STRUCTURAL ASSOCIATIONS OF A PLURALITY OF MUTUALLY-INSULATED ELECTRICAL CONNECTING ELEMENTS; COUPLING DEVICES; CURRENT COLLECTORS
    • H01R13/00Details of coupling devices of the kinds covered by groups H01R12/70 or H01R24/00 - H01R33/00
    • H01R13/648Protective earth or shield arrangements on coupling devices, e.g. anti-static shielding  
    • HELECTRICITY
    • H01ELECTRIC ELEMENTS
    • H01RELECTRICALLY-CONDUCTIVE CONNECTIONS; STRUCTURAL ASSOCIATIONS OF A PLURALITY OF MUTUALLY-INSULATED ELECTRICAL CONNECTING ELEMENTS; COUPLING DEVICES; CURRENT COLLECTORS
    • H01R13/00Details of coupling devices of the kinds covered by groups H01R12/70 or H01R24/00 - H01R33/00
    • H01R13/648Protective earth or shield arrangements on coupling devices, e.g. anti-static shielding  
    • H01R13/658High frequency shielding arrangements, e.g. against EMI [Electro-Magnetic Interference] or EMP [Electro-Magnetic Pulse]
    • H01R13/6581Shield structure
    • HELECTRICITY
    • H01ELECTRIC ELEMENTS
    • H01RELECTRICALLY-CONDUCTIVE CONNECTIONS; STRUCTURAL ASSOCIATIONS OF A PLURALITY OF MUTUALLY-INSULATED ELECTRICAL CONNECTING ELEMENTS; COUPLING DEVICES; CURRENT COLLECTORS
    • H01R13/00Details of coupling devices of the kinds covered by groups H01R12/70 or H01R24/00 - H01R33/00
    • H01R13/648Protective earth or shield arrangements on coupling devices, e.g. anti-static shielding  
    • H01R13/658High frequency shielding arrangements, e.g. against EMI [Electro-Magnetic Interference] or EMP [Electro-Magnetic Pulse]
    • H01R13/6581Shield structure
    • H01R13/6582Shield structure with resilient means for engaging mating connector
    • HELECTRICITY
    • H01ELECTRIC ELEMENTS
    • H01RELECTRICALLY-CONDUCTIVE CONNECTIONS; STRUCTURAL ASSOCIATIONS OF A PLURALITY OF MUTUALLY-INSULATED ELECTRICAL CONNECTING ELEMENTS; COUPLING DEVICES; CURRENT COLLECTORS
    • H01R24/00Two-part coupling devices, or either of their cooperating parts, characterised by their overall structure
    • H01R24/60Contacts spaced along planar side wall transverse to longitudinal axis of engagement
    • HELECTRICITY
    • H01ELECTRIC ELEMENTS
    • H01RELECTRICALLY-CONDUCTIVE CONNECTIONS; STRUCTURAL ASSOCIATIONS OF A PLURALITY OF MUTUALLY-INSULATED ELECTRICAL CONNECTING ELEMENTS; COUPLING DEVICES; CURRENT COLLECTORS
    • H01R4/00Electrically-conductive connections between two or more conductive members in direct contact, i.e. touching one another; Means for effecting or maintaining such contact; Electrically-conductive connections having two or more spaced connecting locations for conductors and using contact members penetrating insulation
    • H01R4/02Soldered or welded connections
    • HELECTRICITY
    • H01ELECTRIC ELEMENTS
    • H01RELECTRICALLY-CONDUCTIVE CONNECTIONS; STRUCTURAL ASSOCIATIONS OF A PLURALITY OF MUTUALLY-INSULATED ELECTRICAL CONNECTING ELEMENTS; COUPLING DEVICES; CURRENT COLLECTORS
    • H01R2107/00Four or more poles
    • HELECTRICITY
    • H01ELECTRIC ELEMENTS
    • H01RELECTRICALLY-CONDUCTIVE CONNECTIONS; STRUCTURAL ASSOCIATIONS OF A PLURALITY OF MUTUALLY-INSULATED ELECTRICAL CONNECTING ELEMENTS; COUPLING DEVICES; CURRENT COLLECTORS
    • H01R24/00Two-part coupling devices, or either of their cooperating parts, characterised by their overall structure
    • H01R24/28Coupling parts carrying pins, blades or analogous contacts and secured only to wire or cable

Definitions

  • the present invention relates to a connector including a shell and shielding means positioned behind the shell.
  • the connector 900 of Patent Document 1 includes a shell (front shell) 910 and a back shell 920 that functions as a shield means located behind the shell 910.
  • a paddle card (relay board) 950 and the like are arranged in the back shell 920.
  • the elements housed in the backshell may differ depending on the purpose and usage of the connector. For example, in order to mount an integrated circuit (IC) on a paddle card, it may be desired to change the outer shape and size of the backshell. Considering the cost, it is desirable to deal with it by changing only the back shell, but there is a problem that the posture of the back shell is not stable if only the back shell is changed.
  • IC integrated circuit
  • an object of the present invention is to provide a connector having a simple structure that can stabilize the posture of the back shell.
  • the connector includes a front shell and a back shell.
  • the back shell at least partially overlaps the front shell in a predetermined direction orthogonal to the front-rear direction.
  • the front shell is provided with a first contact portion and a fixed portion.
  • the first contact portion surrounds the fixed portion in a plane orthogonal to the predetermined direction.
  • the back shell is provided with an opening and a second contact portion.
  • the second contact portion surrounds the opening in a plane orthogonal to the predetermined direction.
  • the second contact portion is in contact with the first contact portion in the predetermined direction, so that the fixed portion is visible in the opening in the predetermined direction and the back shell with respect to the front shell. Positioning has been made.
  • the fixed portion and the second contact portion can be fixed to each other through the opening using a conductive fixing agent.
  • the fixed portion of the front shell and the second contact portion of the back shell through the opening of the back shell can be fixed using a conductive fixing agent such as solder.
  • Positioning of the back shell relative to the front shell is performed by the back shell and the front shell, so that the posture of the back shell can be changed without changing the structure of the connector holding member according to the change in the size and shape of the back shell. Can be stabilized.
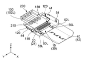
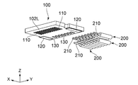
  • FIG. 2 is an exploded top perspective view showing the connector of FIG. 1.
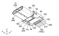
  • FIG. 3 is an exploded bottom perspective view showing the connector of FIG. 2.
  • It is sectional drawing which shows the connector of FIG. 1 along the V--V line.
  • It is a top perspective view showing a paddle card and a cable.
  • FIG. 7 is a bottom perspective view showing the paddle card and cable of FIG. 6.
  • It is a top view which shows the structure provided with the connector main body and front shell of FIG. 3, and the paddle card and cable of FIG.
  • It is a front upper surface perspective view which shows the structure of FIG. It is a rear upper surface perspective view which shows the structure of FIG.
  • FIG. 9 is a rear bottom perspective view showing the structure of FIG. 8. It is an enlarged top view which shows a part of structure of FIG. It is a top perspective view which shows the other connector from which the connector of FIG. 1 differs only in a back shell.
  • FIG. 15 is a bottom perspective view showing the connector of FIG. 14. It is a rear view which shows the connector of FIG. FIG. 15 is an exploded top perspective view showing the connector of FIG. 14.
  • FIG. 15 is an exploded bottom perspective view showing the connector of FIG. 14.
  • FIG. 10 is another perspective view showing the connector of Patent Document 1. A part of the back shell is removed, so that the structure inside the back shell can be visually recognized.
  • a connector 10 according to an embodiment of the present invention is to be fitted with a mating connector (not shown) in the front-rear direction.
  • the front-rear direction is shown as the X direction in the figure. Further, the front is the + X direction, and the rear is the ⁇ X direction.
  • the connector 10 includes a connector main body 15, a front shell 40, and a back shell 60.
  • the front shell 40 is also simply called a shell.
  • the front shell 40 partially covers the connector body 15.
  • the back shell 60 at least partially overlaps the front shell 40 in a predetermined direction orthogonal to the front-rear direction.
  • the predetermined direction is the vertical direction.
  • the vertical direction is shown as the Z direction in the figure.
  • the upper direction is the + Z direction
  • the lower direction is the -Z direction.
  • a paddle card (relay board) 100 is attached to the rear side of the connector main body 15.
  • the back shell 60 is attached to the front shell 40 so as to cover the paddle card 100.
  • the connector main body 15 includes a plurality of contacts 20 and a holding member 30 made of an insulator that holds them. As shown in FIGS. 3 and 4, each contact 20 has a contact portion 22 connected to a mating contact (not shown) of a mating connector (not shown). Further, as shown in FIGS. 8 to 13, each contact 20 has a connection portion 24 connected to the paddle card 100.
  • the front shell 40 has a main portion 42 and two protruding portions 44.
  • the main portion 42 partially covers the connector main body 15.
  • Each protruding portion 44 protrudes rearward from the main portion 42 in the front-rear direction.
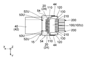
  • the main portion 42 of the front shell 40 is provided with first contact portions 50U and 50L, fixed portions 52U and 52L, and two side protrusions 54.
  • first contact portions 50U and 50L there are two first contact portions 50U.
  • Each first contact portion 50U is formed in a region above and behind the main portion 42.
  • the fixed portions 52U are completely surrounded by the first contact portions 50U in the orthogonal plane orthogonal to the predetermined direction.
  • the orthogonal plane in the present embodiment is an XY plane.
  • the first contact portions 50U surround the fixed portion 52U in the orthogonal plane.
  • the first contact part 50U and the fixed part 52U of the present embodiment are formed as part of the same plate-like part.
  • Each first contact portion 50 ⁇ / b> L is formed in a region below and behind the main portion 42.
  • the fixed portions 52L are completely surrounded by the first contact portions 50L in the orthogonal plane.
  • each of the first contact portions 50L surrounds the fixed portion 52L in the orthogonal plane.
  • the fixed portion 52L protrudes from the first contact portion 50L in a predetermined direction. Specifically, the fixed portion 52L protrudes below the first contact portion 50L.
  • Each of the side protrusions 54 is formed by cutting and raising part of both side portions of the main portion 42 in the lateral direction.
  • Each side protrusion 54 protrudes outward in the lateral direction.
  • the horizontal direction is the Y direction.
  • the projecting portion 44 has a flat plate shape and is disposed so as to extend in a plane defined by an orthogonal direction orthogonal to the front-rear direction and the front-rear direction.
  • the orthogonal direction is the vertical direction, that is, the Z direction.
  • the plane defined by the orthogonal direction and the front-rear direction is the XZ plane.
  • the predetermined direction and the orthogonal direction are equal to each other. However, the present invention is not limited to this, and the predetermined direction and the orthogonal direction may be different from each other. As can be understood from FIGS.
  • the protrusion 44 has a size larger than the thickness of the paddle card 100 in the orthogonal direction (the size of the paddle card 100 in the Z direction).
  • each of the protrusions 44 protrudes to both outer sides of the paddle card 100 in the orthogonal direction (that is, outward in the vertical direction).
  • the back shell 60 includes two members, an upper member 70 and a lower member 80.
  • the upper member 70 is provided with two openings 72, two second contact portions 74, two side openings 76, and two side protrusions 78. It has been.
  • the second contact portion 74 surrounds the periphery of the opening 72 in the orthogonal plane. That is, the opening 72 is completely surrounded by the second contact portion 74 in the orthogonal plane.
  • a pair of side openings 76 and side protrusions 78 are formed on each side of the upper member 70.
  • the side opening 76 penetrates the upper member 70 in the lateral direction.
  • the side protrusions 78 are formed by cutting and raising the side portions of the upper member 70.
  • the side protrusions 78 are located rearward from the corresponding side openings 76 in the front-rear direction and protrude outward in the lateral direction.
  • the lower member 80 is provided with two openings 82, two second contact portions 84, and two side openings 86.
  • the second contact portion 84 surrounds the opening 82 in the orthogonal plane. That is, the openings 82 are completely surrounded by the second contact portions 84 in the orthogonal plane.
  • the side openings 86 respectively penetrate the side portions of the lower member 80 in the lateral direction.
  • the paddle card 100 protrudes rearward from the main portion 42 of the front shell 40 in the front-rear direction.
  • the paddle card 100 has two main surfaces, an upper surface 102U and a lower surface 102L.
  • the upper surface 102U and the lower surface 102L intersect with the orthogonal direction.
  • a plurality of first pads 110, two second pads 120, and a plurality of third pads 130 are formed on the upper surface 102U of the paddle card 100.
  • a plurality of first pads 110, two second pads 120, and a plurality of third pads 130 are also formed on the lower surface 102L of the paddle card 100.
  • the first pad 110 is a part connected to the connection part 24 of the contact 20 by solder.
  • the second pad 120 is a part that is fixed to the protrusion 44 of the front shell 40 by solder.
  • the third pad 130 is a part connected to the core wire 210 of the cable 200 by solder.
  • the second pad 120 is located behind the first pad 110 in the front-rear direction and is spaced apart from the first pad 110 in the lateral direction. In other words, the first pad 110 is located between the second pads 120 in the lateral direction.
  • the third pad 130 is located at least partially behind the second pad 120 in the front-rear direction and is located further inside than the second pad 120 in the lateral direction. That is, the third pad 130 is positioned between the second pads 120 in the lateral direction.
  • the paddle card 100 is provided with a total of four second pads 120.
  • One pair of one second pad 120 on the upper surface 102U and one second pad 120 on the lower surface 102L corresponds to one protrusion 44.
  • Each protrusion 44 is arranged side by side with two second pads 120 constituting one corresponding pair.
  • the protruding portion 44 has a size larger than the thickness (size in the Z direction) of the paddle card 100 in the vertical direction.
  • the protruding portion 44 protrudes from the paddle card 100 in both the upper and lower portions.
  • Each protrusion 44 extends in the XZ plane, and each second pad 120 extends in the XY plane. That is, the surface where the protrusion 44 extends and the surface where the second pad 120 extends intersect.
  • Each protrusion 44 is fixed to two second pads 120 constituting one corresponding pair by soldering.
  • a force may be applied to the paddle card 100 due to the cable 200 being twisted. Even in such a case, since the second pad 120 is physically connected and fixed to the protruding portion 44 of the front shell 40 by soldering, the connection portion 24 of the contact 20 and the first pad 110 are fixed. It is possible to reduce the concentration of the load on the connection part.
  • connection between the second pad 120 and the protrusion 44 is the same as the connection process for connecting the connection part 24 of the contact 20 to the first pad 110 and the connection process for connecting the core wire 210 of the cable 200 to the third pad 130. It can be done in the process. Therefore, it is not necessary to separately perform a process only for connecting the second pad 120 and the protruding portion 44, and the manufacturing cost does not increase significantly.
  • the back shell 60 is attached to the rear portion of the front shell 40 as follows. First, the upper member 70 of the back shell 60 is put on the rear portion of the front shell 40 from above, and the side protrusions 54 of the front shell 40 are fitted into the side openings 76 of the upper member 70. Thereafter, the lower member 80 of the back shell 60 is put on the rear portion of the front shell 40 from the lower side, and the side protrusion 78 of the upper member 70 is fitted into the side opening 86 of the lower member 80. In this manner, the back shell 60 is attached to the rear portion of the front shell 40.
  • the second contact portion 74 is in contact with the first contact portion 50U and the second contact portion 84 is in contact with the first contact portion 50L in a predetermined direction.
  • the second contact portion 74 is in surface contact with the first contact portion 50U
  • the second contact portion 84 is in surface contact with the first contact portion 50L.
  • the fixed portion 52U overlaps the opening 72, and the fixed portion 52L overlaps the opening 82. Further, the lower fixed portion 52L is located in the opening 82 in the orthogonal plane. That is, the fixed portion 52 ⁇ / b> L protrudes into the opening 82.
  • the fixed portion 52U and the second contact portion 74 are fixed using the solder through the opening 72, and the fixed portion 52L and the second contact portion 84 are fixed using the solder through the opening 82, thereby providing a back shell. 60 can be connected to the front shell 40.
  • the fixed portion 52L protrudes into the opening 82, so that the fixed portion 52L and the lower surface of the second contact portion 84 are in contact with each other.
  • the distance can be shortened. Therefore, according to the present embodiment, it is easy to connect the fixed portion 52L and the second contact portion 84 with solder.
  • the connector 10A includes a back shell 60A.
  • the back shell 60A shown in FIGS. 14 to 18 is particularly large in a predetermined direction as compared with the back shell 60 shown in FIGS.
  • the connector 10A differs only in the connector 10 and the back shell 60A described above, and the connector body 15 and the front shell are different. 40 has the same structure.
  • the back shell 60A includes two plate-like main portions 90A and 92A orthogonal to a predetermined direction.
  • the back shell 60A includes two members, an upper member 70A and a lower member 80A.
  • the main portion 90A is provided on the upper member 70A
  • the main portion 92A is provided on the lower member 80A.
  • the distance between the main portion 90A and the main portion 92A is larger than that of the back shell 60 shown in FIGS. 1 and 2 described above. That is, the back shell 60A has a size different from that of the back shell 60 of FIGS. 1 and 2 in a predetermined direction.
  • the back shell 60A is provided with connecting portions 94A and 96A.
  • the upper member 70A of the back shell 60A has a main part 90A and a connecting part 94A.
  • the main portion 90A is located away from the opening 72 and the second contact portion 74 in a predetermined direction.
  • the connecting portion 94A connects the second contact portion 74 and the main portion 90A.
  • the lower member 80A of the back shell 60A has a main part 92A and a connecting part 96A.
  • the main portion 92A is located away from the opening 82 and the second contact portion 84 in a predetermined direction.
  • the connecting portion 96A connects the second contact portion 84 and the main portion 92A.
  • the connecting portions 94A and 96A have a cylindrical shape having a trapezoidal cross section in a plane including a predetermined direction (for example, a plane such as an XZ plane or a YZ plane). . More specifically, the connecting portions 94A and 96A of the present embodiment have a cylindrical shape whose side surfaces are trapezoidal. Even if the size of the back shell 60A in the predetermined direction is changed by changing the height (size in the Z direction) of the connecting portions 94A and 96A, the second contact portions 74 and 84 of the first contact portions 50U and 50L. The relative positional relationship with respect to can be made the same as in the case of the back shell 60 of FIGS. 1 and 2 described above.
  • first contact portions 50U and 50L are brought into contact with the second contact portions 74 and 84, and the fixed portions 52U and 52L are fixed to the second contact portions 74 and 84 through the openings 72 and 82 by soldering.
  • the posture of the shell 60A can be stabilized.
  • solder is used for the connection between the front shell 40 and the back shell 60, 60A.
  • the present invention is not limited to this, and other conductive fixings are used instead of the solder.
  • An agent may be used.
  • the first contact portion 50U and the fixed portion 52U are formed as a part of the same plate-like portion, but the fixed portion 52U protrudes above the first contact portion 50U. May be. Further, in the above-described embodiment, the fixed portion 52L protrudes below the first contact portion 50L, but the first contact portion 50L and the fixed portion 52L are part of the same plate-like portion. It may be formed.
  • the second pad 120 is formed on the upper surface 102U and the lower surface 102L of the paddle card 100.
  • the second pad 120 is formed on a side surface (an edge perpendicular to the lateral direction) of the paddle card 100. May be.
  • the present invention is based on Japanese Patent Application No. 2014-115217 filed with the Japan Patent Office on June 3, 2014, the contents of which are hereby incorporated by reference.

Landscapes

  • Details Of Connecting Devices For Male And Female Coupling (AREA)
  • Coupling Device And Connection With Printed Circuit (AREA)
PCT/JP2015/064087 2014-06-03 2015-05-15 コネクタ Ceased WO2015186494A1 (ja)

Priority Applications (3)

Application Number Priority Date Filing Date Title
US15/308,912 US9748687B2 (en) 2014-06-03 2015-05-15 Shielding connector
KR1020167031192A KR101857903B1 (ko) 2014-06-03 2015-05-15 커넥터
CN201580025395.3A CN106463892B (zh) 2014-06-03 2015-05-15 连接器

Applications Claiming Priority (2)

Application Number Priority Date Filing Date Title
JP2014115217A JP6422675B2 (ja) 2014-06-03 2014-06-03 コネクタ
JP2014-115217 2014-06-03

Publications (1)

Publication Number Publication Date
WO2015186494A1 true WO2015186494A1 (ja) 2015-12-10

Family

ID=54766570

Family Applications (1)

Application Number Title Priority Date Filing Date
PCT/JP2015/064087 Ceased WO2015186494A1 (ja) 2014-06-03 2015-05-15 コネクタ

Country Status (6)

Country Link
US (1) US9748687B2 (enExample)
JP (1) JP6422675B2 (enExample)
KR (1) KR101857903B1 (enExample)
CN (1) CN106463892B (enExample)
TW (1) TWI610498B (enExample)
WO (1) WO2015186494A1 (enExample)

Families Citing this family (16)

* Cited by examiner, † Cited by third party
Publication number Priority date Publication date Assignee Title
JP6293580B2 (ja) * 2014-06-03 2018-03-14 日本航空電子工業株式会社 コネクタ
US20220006247A1 (en) * 2014-06-24 2022-01-06 Chou Hsien Tsai Reversible dual-position electric connector
JP1565266S (enExample) * 2016-03-14 2016-12-12
JP6344576B2 (ja) * 2016-04-26 2018-06-20 第一精工株式会社 Usbコネクタ
CN107978901A (zh) * 2016-10-21 2018-05-01 富士康(昆山)电脑接插件有限公司 线缆连接器组件
CN207098100U (zh) * 2016-12-08 2018-03-13 番禺得意精密电子工业有限公司 线缆连接器组件
CN109256236B (zh) * 2017-07-13 2021-06-18 富士康(昆山)电脑接插件有限公司 线缆及线缆连接器组件
US20210013681A1 (en) * 2018-04-04 2021-01-14 Sumitomo Electric Industries, Ltd. Connector
JP6996465B2 (ja) 2018-09-27 2022-01-17 住友電装株式会社 シールド端子
CN110970763B (zh) * 2018-09-28 2021-08-20 富士康(昆山)电脑接插件有限公司 电连接器
EP3888199A4 (en) * 2018-11-28 2022-07-13 Microsoft Technology Licensing, LLC CELLLESS ELECTRICAL CONNECTOR AND METHOD FOR ITS MANUFACTURE
CN209561731U (zh) * 2018-11-30 2019-10-29 东莞富强电子有限公司 连接器插头
JP1663226S (enExample) * 2020-01-16 2020-07-06
JP7670561B2 (ja) * 2021-06-28 2025-04-30 日本航空電子工業株式会社 コネクタ
CN114300881B (zh) 2021-11-29 2025-04-04 贸联电子(昆山)有限公司 电连接器用机壳及电连接器
EP4672510A1 (en) * 2024-06-28 2025-12-31 Positronic Industries, Inc. ASSEMBLY OF THE REAR SHELL WITHOUT FIXING ELEMENTS

Citations (4)

* Cited by examiner, † Cited by third party
Publication number Priority date Publication date Assignee Title
JPH0472465U (enExample) * 1990-10-31 1992-06-25
JPH11260490A (ja) * 1997-12-30 1999-09-24 Molex Inc シ―ルドコネクタ装置
JP2013004639A (ja) * 2011-06-15 2013-01-07 Hosiden Corp シールドケース、シールドケースを備えたコネクタ及びコネクタを備えたケーブルアッセンブリ
US20130323970A1 (en) * 2012-05-31 2013-12-05 Hon Hai Precision Industry Co., Ltd. Cable assembly with improved terminal structure

Family Cites Families (8)

* Cited by examiner, † Cited by third party
Publication number Priority date Publication date Assignee Title
JP2003092171A (ja) * 2001-09-17 2003-03-28 Jst Mfg Co Ltd 伝送装置
US7410366B2 (en) * 2006-08-25 2008-08-12 Hon Hai Precision Ind. Co., Ltd. Electrical connector assembly with reduced crosstalk and electromaganectic interference
KR100870991B1 (ko) 2007-01-30 2008-12-01 주식회사 비에스이 세라믹 패키지를 이용한 콘덴서 마이크로폰
TWI371147B (en) 2007-08-20 2012-08-21 Hon Hai Prec Ind Co Ltd Electrical connector
JP4429354B2 (ja) 2007-11-16 2010-03-10 日本航空電子工業株式会社 ロック付きコネクタ
JP5568291B2 (ja) * 2009-12-11 2014-08-06 ホシデン株式会社 多極プラグ
JP2013182753A (ja) 2012-03-01 2013-09-12 Hosiden Corp マイクロusbプラグ
CN103401085B (zh) * 2013-08-07 2016-09-07 深圳市得润电子股份有限公司 一种用于高清视频/音频播放设备的hdmi接口

Patent Citations (4)

* Cited by examiner, † Cited by third party
Publication number Priority date Publication date Assignee Title
JPH0472465U (enExample) * 1990-10-31 1992-06-25
JPH11260490A (ja) * 1997-12-30 1999-09-24 Molex Inc シ―ルドコネクタ装置
JP2013004639A (ja) * 2011-06-15 2013-01-07 Hosiden Corp シールドケース、シールドケースを備えたコネクタ及びコネクタを備えたケーブルアッセンブリ
US20130323970A1 (en) * 2012-05-31 2013-12-05 Hon Hai Precision Industry Co., Ltd. Cable assembly with improved terminal structure

Also Published As

Publication number Publication date
KR20160140948A (ko) 2016-12-07
US9748687B2 (en) 2017-08-29
JP6422675B2 (ja) 2018-11-14
JP2015230770A (ja) 2015-12-21
CN106463892B (zh) 2019-04-02
TW201607165A (zh) 2016-02-16
CN106463892A (zh) 2017-02-22
US20170093076A1 (en) 2017-03-30
TWI610498B (zh) 2018-01-01
KR101857903B1 (ko) 2018-05-14

Similar Documents

Publication Publication Date Title
WO2015186494A1 (ja) コネクタ
CN113675677B (zh) 连接器组装体
JP6342185B2 (ja) コネクタ
JP4522440B2 (ja) 基板搭載用コネクタ及びその相手方コネクタ並びにそれらを備えた電子機器
TWI462411B (zh) 同軸連接器插頭及其製造方法
US9455532B2 (en) Connector
TWM518837U (zh) 連接器結構之改良
JP2017208165A (ja) プラグコネクタ及びこれとレセプタクルコネクタとを有するコネクタ組立体
TWI668924B (zh) 連接器
JP4301414B2 (ja) 回路基板用電気コネクタ
EP2955791B1 (en) Connector for being mounted on the edge of a pcb, having a rear back metal portion , which corrects the centre of mass
US9263833B2 (en) Electrical connector having shielding shell with rear wall
CN105140686A (zh) 插座电连接器
CN105633659B (zh) 基板用端子和带有端子的基板
CN108352659A (zh) 连接器的连接构造
CN108781526A (zh) 电子设备
KR101324656B1 (ko) 쉘의 구조가 개선된 인터페이스 커넥터
KR101807388B1 (ko) 커넥터 장치
CN112351629B (zh) 电子设备
JP2019016476A (ja) 回路基板と基板用コネクタの接続構造及び基板用コネクタ
KR101748849B1 (ko) 차량용 기판블록
JP5367120B2 (ja) コネクタ
JP2014010982A (ja) シールドコネクタ組立体
JP2018101744A (ja) 電子装置
TWM488776U (zh) 整合式連接器

Legal Events

Date Code Title Description
121 Ep: the epo has been informed by wipo that ep was designated in this application

Ref document number: 15803181

Country of ref document: EP

Kind code of ref document: A1

WWE Wipo information: entry into national phase

Ref document number: 15308912

Country of ref document: US

ENP Entry into the national phase

Ref document number: 20167031192

Country of ref document: KR

Kind code of ref document: A

NENP Non-entry into the national phase

Ref country code: DE

122 Ep: pct application non-entry in european phase

Ref document number: 15803181

Country of ref document: EP

Kind code of ref document: A1