WO2015166660A1 - ウォータジャケット用スペーサの製造方法 - Google Patents

ウォータジャケット用スペーサの製造方法 Download PDF

Info

Publication number
WO2015166660A1
WO2015166660A1 PCT/JP2015/002275 JP2015002275W WO2015166660A1 WO 2015166660 A1 WO2015166660 A1 WO 2015166660A1 JP 2015002275 W JP2015002275 W JP 2015002275W WO 2015166660 A1 WO2015166660 A1 WO 2015166660A1
Authority
WO
WIPO (PCT)
Prior art keywords
spacer
water jacket
peripheral surface
water
side wall
Prior art date
Legal status (The legal status is an assumption and is not a legal conclusion. Google has not performed a legal analysis and makes no representation as to the accuracy of the status listed.)
Ceased
Application number
PCT/JP2015/002275
Other languages
English (en)
French (fr)
Japanese (ja)
Inventor
佳史 藤田
章太 内田
中村 健一
Current Assignee (The listed assignees may be inaccurate. Google has not performed a legal analysis and makes no representation or warranty as to the accuracy of the list.)
Nichias Corp
Original Assignee
Nichias Corp
Priority date (The priority date is an assumption and is not a legal conclusion. Google has not performed a legal analysis and makes no representation as to the accuracy of the date listed.)
Filing date
Publication date
Application filed by Nichias Corp filed Critical Nichias Corp
Priority to EP15785220.3A priority Critical patent/EP3139024B1/en
Priority to CN201580022996.9A priority patent/CN106460718B/zh
Priority to US15/307,156 priority patent/US10513065B2/en
Publication of WO2015166660A1 publication Critical patent/WO2015166660A1/ja
Anticipated expiration legal-status Critical
Priority to US16/684,657 priority patent/US20200078994A1/en
Ceased legal-status Critical Current

Links

Images

Classifications

    • BPERFORMING OPERATIONS; TRANSPORTING
    • B29WORKING OF PLASTICS; WORKING OF SUBSTANCES IN A PLASTIC STATE IN GENERAL
    • B29CSHAPING OR JOINING OF PLASTICS; SHAPING OF MATERIAL IN A PLASTIC STATE, NOT OTHERWISE PROVIDED FOR; AFTER-TREATMENT OF THE SHAPED PRODUCTS, e.g. REPAIRING
    • B29C45/00Injection moulding, i.e. forcing the required volume of moulding material through a nozzle into a closed mould; Apparatus therefor
    • B29C45/0025Preventing defects on the moulded article, e.g. weld lines, shrinkage marks
    • BPERFORMING OPERATIONS; TRANSPORTING
    • B29WORKING OF PLASTICS; WORKING OF SUBSTANCES IN A PLASTIC STATE IN GENERAL
    • B29CSHAPING OR JOINING OF PLASTICS; SHAPING OF MATERIAL IN A PLASTIC STATE, NOT OTHERWISE PROVIDED FOR; AFTER-TREATMENT OF THE SHAPED PRODUCTS, e.g. REPAIRING
    • B29C37/00Component parts, details, accessories or auxiliary operations, not covered by group B29C33/00 or B29C35/00
    • B29C37/005Compensating volume or shape change during moulding, in general
    • BPERFORMING OPERATIONS; TRANSPORTING
    • B29WORKING OF PLASTICS; WORKING OF SUBSTANCES IN A PLASTIC STATE IN GENERAL
    • B29CSHAPING OR JOINING OF PLASTICS; SHAPING OF MATERIAL IN A PLASTIC STATE, NOT OTHERWISE PROVIDED FOR; AFTER-TREATMENT OF THE SHAPED PRODUCTS, e.g. REPAIRING
    • B29C45/00Injection moulding, i.e. forcing the required volume of moulding material through a nozzle into a closed mould; Apparatus therefor
    • B29C45/17Component parts, details or accessories; Auxiliary operations
    • B29C45/26Moulds
    • B29C45/27Sprue channels ; Runner channels or runner nozzles
    • BPERFORMING OPERATIONS; TRANSPORTING
    • B29WORKING OF PLASTICS; WORKING OF SUBSTANCES IN A PLASTIC STATE IN GENERAL
    • B29CSHAPING OR JOINING OF PLASTICS; SHAPING OF MATERIAL IN A PLASTIC STATE, NOT OTHERWISE PROVIDED FOR; AFTER-TREATMENT OF THE SHAPED PRODUCTS, e.g. REPAIRING
    • B29C45/00Injection moulding, i.e. forcing the required volume of moulding material through a nozzle into a closed mould; Apparatus therefor
    • B29C45/17Component parts, details or accessories; Auxiliary operations
    • B29C45/26Moulds
    • B29C45/27Sprue channels ; Runner channels or runner nozzles
    • B29C45/2701Details not specific to hot or cold runner channels
    • B29C45/2708Gates
    • BPERFORMING OPERATIONS; TRANSPORTING
    • B29WORKING OF PLASTICS; WORKING OF SUBSTANCES IN A PLASTIC STATE IN GENERAL
    • B29CSHAPING OR JOINING OF PLASTICS; SHAPING OF MATERIAL IN A PLASTIC STATE, NOT OTHERWISE PROVIDED FOR; AFTER-TREATMENT OF THE SHAPED PRODUCTS, e.g. REPAIRING
    • B29C45/00Injection moulding, i.e. forcing the required volume of moulding material through a nozzle into a closed mould; Apparatus therefor
    • B29C45/0025Preventing defects on the moulded article, e.g. weld lines, shrinkage marks
    • B29C2045/0027Gate or gate mark locations
    • BPERFORMING OPERATIONS; TRANSPORTING
    • B29WORKING OF PLASTICS; WORKING OF SUBSTANCES IN A PLASTIC STATE IN GENERAL
    • B29CSHAPING OR JOINING OF PLASTICS; SHAPING OF MATERIAL IN A PLASTIC STATE, NOT OTHERWISE PROVIDED FOR; AFTER-TREATMENT OF THE SHAPED PRODUCTS, e.g. REPAIRING
    • B29C45/00Injection moulding, i.e. forcing the required volume of moulding material through a nozzle into a closed mould; Apparatus therefor
    • B29C45/0025Preventing defects on the moulded article, e.g. weld lines, shrinkage marks
    • B29C2045/0034Mould parting lines
    • BPERFORMING OPERATIONS; TRANSPORTING
    • B29WORKING OF PLASTICS; WORKING OF SUBSTANCES IN A PLASTIC STATE IN GENERAL
    • B29CSHAPING OR JOINING OF PLASTICS; SHAPING OF MATERIAL IN A PLASTIC STATE, NOT OTHERWISE PROVIDED FOR; AFTER-TREATMENT OF THE SHAPED PRODUCTS, e.g. REPAIRING
    • B29C45/00Injection moulding, i.e. forcing the required volume of moulding material through a nozzle into a closed mould; Apparatus therefor
    • B29C2045/0086Runner trees, i.e. several articles connected by a runner
    • BPERFORMING OPERATIONS; TRANSPORTING
    • B29WORKING OF PLASTICS; WORKING OF SUBSTANCES IN A PLASTIC STATE IN GENERAL
    • B29CSHAPING OR JOINING OF PLASTICS; SHAPING OF MATERIAL IN A PLASTIC STATE, NOT OTHERWISE PROVIDED FOR; AFTER-TREATMENT OF THE SHAPED PRODUCTS, e.g. REPAIRING
    • B29C2793/00Shaping techniques involving a cutting or machining operation
    • B29C2793/009Shaping techniques involving a cutting or machining operation after shaping
    • BPERFORMING OPERATIONS; TRANSPORTING
    • B29WORKING OF PLASTICS; WORKING OF SUBSTANCES IN A PLASTIC STATE IN GENERAL
    • B29CSHAPING OR JOINING OF PLASTICS; SHAPING OF MATERIAL IN A PLASTIC STATE, NOT OTHERWISE PROVIDED FOR; AFTER-TREATMENT OF THE SHAPED PRODUCTS, e.g. REPAIRING
    • B29C33/00Moulds or cores; Details thereof or accessories therefor
    • B29C33/0061Moulds or cores; Details thereof or accessories therefor characterised by the configuration of the material feeding channel
    • B29C33/0066Moulds or cores; Details thereof or accessories therefor characterised by the configuration of the material feeding channel with a subdivided channel for feeding the material to a plurality of locations
    • BPERFORMING OPERATIONS; TRANSPORTING
    • B29WORKING OF PLASTICS; WORKING OF SUBSTANCES IN A PLASTIC STATE IN GENERAL
    • B29CSHAPING OR JOINING OF PLASTICS; SHAPING OF MATERIAL IN A PLASTIC STATE, NOT OTHERWISE PROVIDED FOR; AFTER-TREATMENT OF THE SHAPED PRODUCTS, e.g. REPAIRING
    • B29C45/00Injection moulding, i.e. forcing the required volume of moulding material through a nozzle into a closed mould; Apparatus therefor
    • B29C45/0053Injection moulding, i.e. forcing the required volume of moulding material through a nozzle into a closed mould; Apparatus therefor combined with a final operation, e.g. shaping
    • B29C45/006Joining parts moulded in separate cavities
    • BPERFORMING OPERATIONS; TRANSPORTING
    • B29WORKING OF PLASTICS; WORKING OF SUBSTANCES IN A PLASTIC STATE IN GENERAL
    • B29CSHAPING OR JOINING OF PLASTICS; SHAPING OF MATERIAL IN A PLASTIC STATE, NOT OTHERWISE PROVIDED FOR; AFTER-TREATMENT OF THE SHAPED PRODUCTS, e.g. REPAIRING
    • B29C45/00Injection moulding, i.e. forcing the required volume of moulding material through a nozzle into a closed mould; Apparatus therefor
    • B29C45/17Component parts, details or accessories; Auxiliary operations
    • B29C45/72Heating or cooling
    • B29C45/7207Heating or cooling of the moulded articles
    • BPERFORMING OPERATIONS; TRANSPORTING
    • B29WORKING OF PLASTICS; WORKING OF SUBSTANCES IN A PLASTIC STATE IN GENERAL
    • B29KINDEXING SCHEME ASSOCIATED WITH SUBCLASSES B29B, B29C OR B29D, RELATING TO MOULDING MATERIALS OR TO MATERIALS FOR MOULDS, REINFORCEMENTS, FILLERS OR PREFORMED PARTS, e.g. INSERTS
    • B29K2023/00Use of polyalkenes or derivatives thereof as moulding material
    • B29K2023/10Polymers of propylene
    • B29K2023/12PP, i.e. polypropylene
    • BPERFORMING OPERATIONS; TRANSPORTING
    • B29WORKING OF PLASTICS; WORKING OF SUBSTANCES IN A PLASTIC STATE IN GENERAL
    • B29KINDEXING SCHEME ASSOCIATED WITH SUBCLASSES B29B, B29C OR B29D, RELATING TO MOULDING MATERIALS OR TO MATERIALS FOR MOULDS, REINFORCEMENTS, FILLERS OR PREFORMED PARTS, e.g. INSERTS
    • B29K2077/00Use of PA, i.e. polyamides, e.g. polyesteramides or derivatives thereof, as moulding material
    • BPERFORMING OPERATIONS; TRANSPORTING
    • B29WORKING OF PLASTICS; WORKING OF SUBSTANCES IN A PLASTIC STATE IN GENERAL
    • B29KINDEXING SCHEME ASSOCIATED WITH SUBCLASSES B29B, B29C OR B29D, RELATING TO MOULDING MATERIALS OR TO MATERIALS FOR MOULDS, REINFORCEMENTS, FILLERS OR PREFORMED PARTS, e.g. INSERTS
    • B29K2081/00Use of polymers having sulfur, with or without nitrogen, oxygen or carbon only, in the main chain, as moulding material
    • B29K2081/04Polysulfides, e.g. PPS, i.e. polyphenylene sulfide or derivatives thereof
    • BPERFORMING OPERATIONS; TRANSPORTING
    • B29WORKING OF PLASTICS; WORKING OF SUBSTANCES IN A PLASTIC STATE IN GENERAL
    • B29LINDEXING SCHEME ASSOCIATED WITH SUBCLASS B29C, RELATING TO PARTICULAR ARTICLES
    • B29L2031/00Other particular articles
    • B29L2031/748Machines or parts thereof not otherwise provided for
    • B29L2031/749Motors
    • FMECHANICAL ENGINEERING; LIGHTING; HEATING; WEAPONS; BLASTING
    • F02COMBUSTION ENGINES; HOT-GAS OR COMBUSTION-PRODUCT ENGINE PLANTS
    • F02FCYLINDERS, PISTONS OR CASINGS, FOR COMBUSTION ENGINES; ARRANGEMENTS OF SEALINGS IN COMBUSTION ENGINES
    • F02F1/00Cylinders; Cylinder heads 
    • F02F1/02Cylinders; Cylinder heads  having cooling means
    • F02F1/10Cylinders; Cylinder heads  having cooling means for liquid cooling
    • F02F1/14Cylinders with means for directing, guiding or distributing liquid stream

Definitions

  • the present invention relates to a method for manufacturing a water jacket spacer to be assembled inside a water jacket provided in a water-cooled internal combustion engine.
  • a water jacket as a cooling water circulation path is formed around the bore wall of the cylinder bore.
  • a spacer water The flow of the cooling water is controlled by inserting and assembling the jacket spacer.
  • Such a water jacket spacer is generally manufactured by injection molding using a predetermined resin material.
  • Patent Document 1 in a cooling step after molding without using a jig for shape correction.
  • the opposed portions of the cylindrical spacer main body portion that can be inserted into the water jacket are connected to each other by a bridging portion, the shape is maintained after molding, and then the bridging portion is excised. Proposed.
  • the runner that guides the molten resin to the gate is used as a bridging portion.
  • the gate G is arranged on the parting line PL with the piece divided.
  • the gap between the wall surface of the water jacket and the spacer is generally closer to the inner peripheral side of the spacer than the gap formed on the outer peripheral side of the spacer when assembled in the water jacket to keep the bore wall warm. In many cases, the formed gap is narrowed. For this reason, the method of Patent Document 1 also has a problem that the burrs remaining after the gate cut on the inner peripheral surface of the spacer body and the burrs formed along the parting lines are strictly controlled.
  • the tool for that purpose when cutting the bridging portion that connects the opposing portions of the spacer main body, the tool for that purpose must be inserted inside the spacer main body so as not to interfere with the spacer main body. In addition, it was necessary to devise the handling of tools.
  • the present invention has been made in view of the above circumstances, and in designing a water jacket spacer that is assembled inside a water jacket and controls the flow of cooling water by injection molding, there are design restrictions due to draft angle.
  • An object of the present invention is to provide a method for producing a spacer for a water jacket that can prevent deformation in a cooling step after molding, while producing it with good productivity without receiving it.
  • a method for manufacturing a water jacket spacer according to the present invention is a method for manufacturing a water jacket spacer that is assembled in a water jacket provided in a water-cooled internal combustion engine and controls the flow of cooling water, and the water jacket spacer.
  • the resin flow path has a plurality of arc-shaped peripheral surface portions connected to each other through a constricted portion, and a plurality of gates are arranged along the longitudinal direction at a position corresponding to the outer peripheral surface of the side wall portions.
  • the water jacket spacer when the water jacket spacer is manufactured by injection molding, the water jacket spacer is manufactured in the cooling process after molding while being manufactured with high productivity without being restricted by design due to the draft. Deformation can be prevented.
  • FIG. 1 It is a perspective view which shows the outline of an example of the spacer for water jackets manufactured by embodiment of this invention. It is explanatory drawing which shows the outline of the spacer for water jackets manufactured by embodiment of this invention, (a) is a top view, (b) is a front view, (c) is a side view. It is explanatory drawing which shows an example of the internal combustion engine with which the spacer for water jackets manufactured by embodiment of this invention is assembled
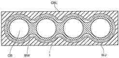
  • the spacer 1 manufactured according to the present embodiment has a cylinder block CBL and a cylinder head (not shown), and four cylinder bores CB arranged in series are formed in the cylinder block CBL. It is assembled inside a water jacket WJ provided in a water-cooled in-line 4-cylinder engine for automobiles.
  • FIG. 3 is an explanatory view showing an example of a water-cooled internal combustion engine to which the spacer 1 is assembled. In the figure, the spacer 1 is indicated by a two-dot chain line.
  • the bore walls BW of a plurality (four in the illustrated example) of the cylinder bores CB are formed so as to be continuously integrated in a constricted shape between adjacent cylinder bores CB.
  • a water jacket WJ as a cooling water circulation path is formed around the wall BW.
  • the spacer 1 has a shape that can be inserted into the water jacket WJ, and usually has a constricted portion having a constricted shape along a bore wall BW that is constricted between adjacent cylinder bores CB.
  • the specific shape is not particularly limited, although a plurality of (four in the illustrated example) cylindrical portions are integrally formed in a hollow shape.
  • the spacer 1 is appropriately designed so that the temperature distribution of the bore wall BW can be optimized by controlling the flow of cooling water flowing in the water jacket WJ by being inserted and assembled into the water jacket WJ. can do.
  • a shape that can be partially inserted into the water jacket WJ can also be used.
  • FIG. 1 and FIG. 2 show a schematic shape of the spacer 1 manufactured in the present embodiment.
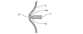
  • the spacer 1 has a shape in which a plurality of arc-shaped peripheral surface portions 2 connected to each other via a constricted portion 3 face each other and are connected to an arc-shaped end surface portion 5 at both longitudinal ends.
  • a plurality of gates 6 serving as inflow ports for the resin material filled in the cavity are arranged along the longitudinal direction at a position corresponding to the outer peripheral surface of the side wall portion 4. It is molded by injection molding a predetermined resin material using an injection mold for which a resin flow path is designed.
  • the runner 7 connected to the gate 6 is cooled in a comb-like state, and then the runner 7 is removed. To do.
  • the runner 7 which has been connected to the outer peripheral surface of the side wall portion 4 of the spacer 1 in a comb-like shape suppresses deformation of the spacer 1 in a softened state immediately after ejection, and the spacer 1 is cooled.
  • the shape of the spacer 1 can be maintained until it solidifies.
  • the runner 7 connected to the side wall portion 4 of the spacer 1 in a comb-tooth shape is cut off after the spacer 1 is sufficiently solidified and there is no risk of deformation.
  • FIG. 4 is a schematic diagram illustrating an example of a mold used in the present embodiment.
  • FIG. 5 is a schematic diagram showing an example in which the spacer 1 manufactured according to the present embodiment is assembled to the water jacket WJ.
  • the burrs remaining in the spacer 1 after the gate cut and the burrs formed along the parting line PL are not formed on the inner peripheral side of the spacer 1, the management thereof is facilitated. Furthermore, since the gate cutting process is also performed on the outer peripheral surface side of the spacer 1, it is easy to handle a tool for that purpose.
  • the spacer 1 in the cooling process after molding is manufactured with high productivity without being restricted by design due to a draft. Can be prevented from being deformed.
  • FIG. 6 Another example of the spacer 1 manufactured according to the present embodiment is shown in FIG. 6.
  • the branch portion of the runner 7 is used.
  • a fire-like reinforcing portion 7a can be formed.
  • the gates 6 are arranged at positions corresponding to the center in the height direction of the side wall 4 of the spacer 1. In this way, the deformation of the spacer 1 in the cooling step after molding can be more effectively prevented.
  • the height of the side wall portion 4 on which the gates 6 are arranged is arranged. The position of the direction is not limited to this.
  • the gates 6 are arranged at positions corresponding to the arcuate peripheral surface portion 2 of the side wall portion 4. By doing so, the resin pressure in the vicinity of the exit of the gate 6 is hardly lowered and filling failure can be suppressed. However, on the other hand, there is a concern that flow defects such as welds may occur in the constricted portion 3. Is done. For this reason, when it is necessary to avoid a flow failure such as a weld in the constricted portion 3, the gates 6 may be arranged at positions corresponding to the constricted portion 3 of the side wall portion 4.
  • the position at which the gates 6 are arranged can be appropriately designed from the viewpoint of moldability in consideration of the flow of the resin and the like, and the position corresponding to the arcuate peripheral surface portion 2 of the side wall portion 4 as necessary.
  • the gate 6 may be disposed at both the position corresponding to the constricted portion 3 of the side wall portion 4.
  • the resin material is not particularly limited, and examples thereof include polypropylene, polyamide, polyphenylsulfone, and the like, but a resin material excellent in heat resistance, water resistance, antifreeze liquid resistance, wear resistance, and the like is used. It can be selected appropriately.
  • the spacer 1 can be formed into a shape that can be partially inserted into the water jacket WJ as described above.
  • the spacer 1 is formed on a part of the water jacket WJ on the side where the cooling water flows.
  • the spacer 1 is connected to the plurality of arc-shaped peripheral surface portions 2 via the constricted portions 3. If it is the shape which has the side wall part 4 (refer FIG.7 and FIG.8), the deformation
  • the water jacket spacer used in the water-cooled in-line four-cylinder engine for automobiles has been described as an example, but the present invention is also applicable to other in-line multi-cylinder engines such as an in-line three-cylinder engine. You can also. Further, the present invention can be applied not only to an in-line engine but also to a V-type engine and a horizontally opposed engine, and can be widely applied to a water-cooled internal combustion engine having a water jacket.
  • FIG. 9 (a) to 9 (d) show a modified example in which the present invention is applied to an in-line three-cylinder engine.
  • the spacer 1 has a side wall portion in which three arc-shaped peripheral surface portions 2 are connected via a constricted portion 3.
  • FIG. 4 is arranged to face each other, and has a shape connected to the arcuate end surface portion 5 at both ends in the longitudinal direction.
  • FIG. 9A gates are arranged along the longitudinal direction at a position corresponding to the arcuate peripheral surface portion 2 of one side wall portion 4 arranged to face the runner 7 on one side wall portion 4.
  • FIG. 9B shows an example in which the gates 6 are arranged along the longitudinal direction at positions corresponding to the arcuate peripheral surface portions 2 of both side wall portions 4 arranged to face each other.
  • runners 7 are connected to both side wall portions 4 in a comb-teeth shape.
  • FIG. 9C shows the arrangement of the gates along the longitudinal direction at positions corresponding to the constricted portions 3 of the one side wall portion 4 arranged opposite to each other.
  • FIG. 9D shows an example in which the gates 6 are arranged along the longitudinal direction at positions corresponding to the constricted portions 3 of both the side wall portions 4 arranged opposite to each other.
  • a runner 7 is connected to the side wall portion 4 in a comb shape.
  • FIGS. 9E to 9H show an example in which a divided molded body 1a obtained by dividing the spacer 1 into two along the longitudinal direction is formed, and the two divided molded bodies 1a are combined to form the spacer 1.
  • FIG. 9E to 9H show an example in which a divided molded body 1a obtained by dividing the spacer 1 into two along the longitudinal direction is formed, and the two divided molded bodies 1a are combined to form the spacer 1.
  • FIG. 9 (e) shows an example in which the runners 7 are connected in a comb shape by arranging gates along the longitudinal direction at positions corresponding to the outer peripheral surface of the arc-shaped peripheral surface portion 2 of the side wall portion 4 of the divided molded body 1a.
  • two divided molded bodies 1a can be taken.
  • FIG. 9G shows that the runners 7 are arranged by arranging gates along the longitudinal direction at positions corresponding to the outer circumferential surfaces of the arcuate circumferential surface portion 2 and the constricted portion 3 on both ends of the side wall portion 4 of the divided molded body 1a.
  • two divided molded bodies 1a can be taken.
  • the spacer 1 is formed by combining the divided molded bodies 1a divided in the longitudinal direction, but the spacer 1 is divided at an arbitrary portion.
  • a plurality of divided molded bodies can be combined.
  • the present invention is applied to mold the divided molded body. Deformation in the subsequent cooling step can be suppressed.
  • the spacer 1 has a shape that can be partially inserted into the water jacket WJ, by applying the present invention in the same manner as the example shown in FIGS. 9 (e) to 9 (h), Deformation in the cooling process can be suppressed.
  • the spacer 1 has a shape having a side wall portion 4 in which a plurality of arc-shaped peripheral surface portions 2 are connected via a constricted portion 3. If there is no portion that is undercut when the mold is opened, for example, an injection mold having a mold structure in which the outer peripheral side of the side wall portion 4 is molded by a fixed mold and the inner peripheral side of the side wall portion 4 is molded by a movable mold.
  • the spacer 1 can be molded by the molding die.
  • the gates 6 may be arranged at positions corresponding to both end edges of the spacer 1. Even in this case, it is not necessary to provide a draft on the inner peripheral surface of the spacer 1. .
  • the restriction due to the draft angle when designing the spacer 1 so that the temperature distribution of the bore wall BW can be optimized is eased, and burrs remaining on the spacer 1 after the gate cut, Since the burrs formed along the contour lines are not formed on the inner peripheral side of the spacer 1, the management thereof becomes easy. Furthermore, it becomes easy to handle a tool for the gate cutting process.

Landscapes

  • Engineering & Computer Science (AREA)
  • Manufacturing & Machinery (AREA)
  • Mechanical Engineering (AREA)
  • Moulds For Moulding Plastics Or The Like (AREA)
  • Cylinder Crankcases Of Internal Combustion Engines (AREA)
  • Injection Moulding Of Plastics Or The Like (AREA)
PCT/JP2015/002275 2014-04-30 2015-04-28 ウォータジャケット用スペーサの製造方法 Ceased WO2015166660A1 (ja)

Priority Applications (4)

Application Number Priority Date Filing Date Title
EP15785220.3A EP3139024B1 (en) 2014-04-30 2015-04-28 Method for producing water jacket spacer
CN201580022996.9A CN106460718B (zh) 2014-04-30 2015-04-28 水套用间隔件的制造方法
US15/307,156 US10513065B2 (en) 2014-04-30 2015-04-28 Method for producing water jacket spacer
US16/684,657 US20200078994A1 (en) 2014-04-30 2019-11-15 Method for producing water jacket spacer

Applications Claiming Priority (4)

Application Number Priority Date Filing Date Title
JP2014093697 2014-04-30
JP2014-093697 2014-04-30
JP2015006451A JP6362548B2 (ja) 2014-04-30 2015-01-16 ウォータジャケット用スペーサの製造方法
JP2015-006451 2015-01-16

Related Child Applications (2)

Application Number Title Priority Date Filing Date
US15/307,156 A-371-Of-International US10513065B2 (en) 2014-04-30 2015-04-28 Method for producing water jacket spacer
US16/684,657 Continuation US20200078994A1 (en) 2014-04-30 2019-11-15 Method for producing water jacket spacer

Publications (1)

Publication Number Publication Date
WO2015166660A1 true WO2015166660A1 (ja) 2015-11-05

Family

ID=54358403

Family Applications (1)

Application Number Title Priority Date Filing Date
PCT/JP2015/002275 Ceased WO2015166660A1 (ja) 2014-04-30 2015-04-28 ウォータジャケット用スペーサの製造方法

Country Status (5)

Country Link
US (2) US10513065B2 (enExample)
EP (1) EP3139024B1 (enExample)
JP (1) JP6362548B2 (enExample)
CN (1) CN106460718B (enExample)
WO (1) WO2015166660A1 (enExample)

Cited By (1)

* Cited by examiner, † Cited by third party
Publication number Priority date Publication date Assignee Title
WO2018097057A1 (ja) * 2016-11-22 2018-05-31 内山工業株式会社 スペーサ

Families Citing this family (10)

* Cited by examiner, † Cited by third party
Publication number Priority date Publication date Assignee Title
JP6395697B2 (ja) * 2015-01-16 2018-09-26 ニチアス株式会社 ウォータージャケットスペーサの製造方法
WO2016114332A1 (ja) * 2015-01-16 2016-07-21 ニチアス株式会社 ウォータージャケットスペーサの製造方法
WO2016114333A1 (ja) * 2015-01-16 2016-07-21 ニチアス株式会社 ウォータジャケット用スペーサの製造方法
JP6745520B2 (ja) * 2016-05-10 2020-08-26 内山工業株式会社 スペーサの製造方法
CN108131213B (zh) * 2018-01-24 2019-11-22 东风柳州汽车有限公司 四冲程水冷汽油发动机冷却水套
JP7129203B2 (ja) 2018-04-24 2022-09-01 キヤノン株式会社 ポリゴンミラー、偏向器、光走査装置、および画像形成装置
JP7126048B2 (ja) * 2018-08-08 2022-08-26 パナソニックIpマネジメント株式会社 超音波流量計
JP7201990B2 (ja) * 2018-10-25 2023-01-11 内山工業株式会社 スペーサ及びその製造方法
JP7445951B2 (ja) * 2019-01-10 2024-03-08 内山工業株式会社 スペーサ
JP7464245B2 (ja) * 2019-01-29 2024-04-09 内山工業株式会社 スペーサ及びその製造方法

Citations (2)

* Cited by examiner, † Cited by third party
Publication number Priority date Publication date Assignee Title
JP2005105878A (ja) * 2003-09-29 2005-04-21 Uchiyama Mfg Corp ウォータジャケット用スペーサの製造方法
JP2012036742A (ja) * 2010-08-03 2012-02-23 Honda Motor Co Ltd スペーサ

Family Cites Families (10)

* Cited by examiner, † Cited by third party
Publication number Priority date Publication date Assignee Title
GB8428640D0 (en) 1984-11-13 1984-12-19 Avon Ind Polymers Valve for respirator
JPH06173675A (ja) 1992-12-04 1994-06-21 Kubota Corp 多気筒水冷エンジンの冷却装置
JP4017584B2 (ja) * 2003-10-17 2007-12-05 トヨタ自動車株式会社 シリンダブロックの冷却構造
US20060180153A1 (en) 2005-01-27 2006-08-17 Bernie Schaub Assembly for mounting a device to a mask
JP4845620B2 (ja) 2006-07-21 2011-12-28 トヨタ自動車株式会社 内燃機関冷却用熱媒体流路区画部材、内燃機関冷却構造及び内燃機関冷却構造形成方法
JP4851258B2 (ja) 2006-07-31 2012-01-11 トヨタ自動車株式会社 内燃機関冷却用熱媒体流路区画部材、内燃機関冷却機構及び内燃機関冷却機構形成方法
JP2010005819A (ja) * 2008-06-24 2010-01-14 Suzuki Motor Corp 成形用金型及び成形品の製造方法
US8955516B2 (en) 2009-04-08 2015-02-17 Scott Technologies, Inc. Face seals for respirators and method of manufacturing respirators
CN102072001B (zh) 2009-11-19 2013-06-19 本田技研工业株式会社 内燃机的冷却结构
JP5610290B2 (ja) 2010-11-29 2014-10-22 内山工業株式会社 ウォータジャケットスペーサ

Patent Citations (2)

* Cited by examiner, † Cited by third party
Publication number Priority date Publication date Assignee Title
JP2005105878A (ja) * 2003-09-29 2005-04-21 Uchiyama Mfg Corp ウォータジャケット用スペーサの製造方法
JP2012036742A (ja) * 2010-08-03 2012-02-23 Honda Motor Co Ltd スペーサ

Cited By (2)

* Cited by examiner, † Cited by third party
Publication number Priority date Publication date Assignee Title
WO2018097057A1 (ja) * 2016-11-22 2018-05-31 内山工業株式会社 スペーサ
JP2018084167A (ja) * 2016-11-22 2018-05-31 内山工業株式会社 スペーサ

Also Published As

Publication number Publication date
CN106460718B (zh) 2019-07-23
US20200078994A1 (en) 2020-03-12
EP3139024A4 (en) 2017-11-01
EP3139024B1 (en) 2019-08-21
EP3139024A1 (en) 2017-03-08
CN106460718A (zh) 2017-02-22
JP2015222071A (ja) 2015-12-10
US10513065B2 (en) 2019-12-24
JP6362548B2 (ja) 2018-07-25
US20170043513A1 (en) 2017-02-16

Similar Documents

Publication Publication Date Title
JP6362548B2 (ja) ウォータジャケット用スペーサの製造方法
JP5563726B1 (ja) 重力鋳造用金型
JP5139926B2 (ja) バルブゲート構造
JP4056958B2 (ja) ウォータジャケット用スペーサの製造方法
US6298899B1 (en) Water jacket core
JP6328094B2 (ja) ウォータジャケット用スペーサの製造方法
JP2015222071A5 (enExample)
JP5442349B2 (ja) 金型の冷却プレート及びその製造方法
US20130230616A1 (en) Split thread insert
WO2017212565A1 (ja) 低圧鋳造用金型
WO2015037506A1 (ja) スペーサ
JP6745520B2 (ja) スペーサの製造方法
BR0314859A (pt) Disposição de macho de molde para fabricação de um bloco de motor de cilindro com região de refrigeração à água separada
JP5768705B2 (ja) シリンダヘッド鋳造用鋳型
WO2016114333A1 (ja) ウォータジャケット用スペーサの製造方法
JP5726985B2 (ja) 鋳造用金型
CN113351830B (zh) 用于车辆加热器的金属铸造式热交换器壳体的制造方法
KR20030091906A (ko) 자동차 써모스타트의 하우징 주조용 코어 및 코어금형그리고 하우징 주조용 금형
JPH0711951Y2 (ja) 射出成形用金型
JP4583019B2 (ja) 成形用金型の製造方法
WO2016114332A1 (ja) ウォータージャケットスペーサの製造方法
JP2000229334A (ja) 成形用金型

Legal Events

Date Code Title Description
121 Ep: the epo has been informed by wipo that ep was designated in this application

Ref document number: 15785220

Country of ref document: EP

Kind code of ref document: A1

REEP Request for entry into the european phase

Ref document number: 2015785220

Country of ref document: EP

WWE Wipo information: entry into national phase

Ref document number: 15307156

Country of ref document: US

Ref document number: 2015785220

Country of ref document: EP

NENP Non-entry into the national phase

Ref country code: DE