WO2015146480A1 - 電着塗料組成物および電着塗装方法 - Google Patents

電着塗料組成物および電着塗装方法 Download PDF

Info

Publication number
WO2015146480A1
WO2015146480A1 PCT/JP2015/055804 JP2015055804W WO2015146480A1 WO 2015146480 A1 WO2015146480 A1 WO 2015146480A1 JP 2015055804 W JP2015055804 W JP 2015055804W WO 2015146480 A1 WO2015146480 A1 WO 2015146480A1
Authority
WO
WIPO (PCT)
Prior art keywords
electrodeposition coating
coating composition
acid
resin
coating film
Prior art date
Legal status (The legal status is an assumption and is not a legal conclusion. Google has not performed a legal analysis and makes no representation as to the accuracy of the status listed.)
Ceased
Application number
PCT/JP2015/055804
Other languages
English (en)
French (fr)
Japanese (ja)
Inventor
俊雄 印部
洋平 田合
治広 宮前
Current Assignee (The listed assignees may be inaccurate. Google has not performed a legal analysis and makes no representation or warranty as to the accuracy of the list.)
Nippon Paint Automotive Coatings Co Ltd
Original Assignee
Nippon Paint Automotive Coatings Co Ltd
Priority date (The priority date is an assumption and is not a legal conclusion. Google has not performed a legal analysis and makes no representation as to the accuracy of the date listed.)
Filing date
Publication date
Application filed by Nippon Paint Automotive Coatings Co Ltd filed Critical Nippon Paint Automotive Coatings Co Ltd
Priority to CN201580027759.1A priority Critical patent/CN106459670A/zh
Priority to US15/128,155 priority patent/US11041079B2/en
Priority to EP15768905.0A priority patent/EP3124564B1/en
Publication of WO2015146480A1 publication Critical patent/WO2015146480A1/ja
Anticipated expiration legal-status Critical
Ceased legal-status Critical Current

Links

Images

Classifications

    • CCHEMISTRY; METALLURGY
    • C09DYES; PAINTS; POLISHES; NATURAL RESINS; ADHESIVES; COMPOSITIONS NOT OTHERWISE PROVIDED FOR; APPLICATIONS OF MATERIALS NOT OTHERWISE PROVIDED FOR
    • C09DCOATING COMPOSITIONS, e.g. PAINTS, VARNISHES OR LACQUERS; FILLING PASTES; CHEMICAL PAINT OR INK REMOVERS; INKS; CORRECTING FLUIDS; WOODSTAINS; PASTES OR SOLIDS FOR COLOURING OR PRINTING; USE OF MATERIALS THEREFOR
    • C09D163/00Coating compositions based on epoxy resins; Coating compositions based on derivatives of epoxy resins
    • CCHEMISTRY; METALLURGY
    • C09DYES; PAINTS; POLISHES; NATURAL RESINS; ADHESIVES; COMPOSITIONS NOT OTHERWISE PROVIDED FOR; APPLICATIONS OF MATERIALS NOT OTHERWISE PROVIDED FOR
    • C09DCOATING COMPOSITIONS, e.g. PAINTS, VARNISHES OR LACQUERS; FILLING PASTES; CHEMICAL PAINT OR INK REMOVERS; INKS; CORRECTING FLUIDS; WOODSTAINS; PASTES OR SOLIDS FOR COLOURING OR PRINTING; USE OF MATERIALS THEREFOR
    • C09D5/00Coating compositions, e.g. paints, varnishes or lacquers, characterised by their physical nature or the effects produced; Filling pastes
    • C09D5/44Coating compositions, e.g. paints, varnishes or lacquers, characterised by their physical nature or the effects produced; Filling pastes for electrophoretic applications
    • CCHEMISTRY; METALLURGY
    • C08ORGANIC MACROMOLECULAR COMPOUNDS; THEIR PREPARATION OR CHEMICAL WORKING-UP; COMPOSITIONS BASED THEREON
    • C08GMACROMOLECULAR COMPOUNDS OBTAINED OTHERWISE THAN BY REACTIONS ONLY INVOLVING UNSATURATED CARBON-TO-CARBON BONDS
    • C08G18/00Polymeric products of isocyanates or isothiocyanates
    • C08G18/06Polymeric products of isocyanates or isothiocyanates with compounds having active hydrogen
    • C08G18/28Polymeric products of isocyanates or isothiocyanates with compounds having active hydrogen characterised by the compounds used containing active hydrogen
    • C08G18/40High-molecular-weight compounds
    • C08G18/58Epoxy resins
    • C08G18/584Epoxy resins having nitrogen
    • CCHEMISTRY; METALLURGY
    • C08ORGANIC MACROMOLECULAR COMPOUNDS; THEIR PREPARATION OR CHEMICAL WORKING-UP; COMPOSITIONS BASED THEREON
    • C08GMACROMOLECULAR COMPOUNDS OBTAINED OTHERWISE THAN BY REACTIONS ONLY INVOLVING UNSATURATED CARBON-TO-CARBON BONDS
    • C08G18/00Polymeric products of isocyanates or isothiocyanates
    • C08G18/06Polymeric products of isocyanates or isothiocyanates with compounds having active hydrogen
    • C08G18/70Polymeric products of isocyanates or isothiocyanates with compounds having active hydrogen characterised by the isocyanates or isothiocyanates used
    • C08G18/72Polyisocyanates or polyisothiocyanates
    • C08G18/80Masked polyisocyanates
    • C08G18/8061Masked polyisocyanates masked with compounds having only one group containing active hydrogen
    • C08G18/807Masked polyisocyanates masked with compounds having only one group containing active hydrogen with nitrogen containing compounds
    • C08G18/8074Lactams
    • CCHEMISTRY; METALLURGY
    • C08ORGANIC MACROMOLECULAR COMPOUNDS; THEIR PREPARATION OR CHEMICAL WORKING-UP; COMPOSITIONS BASED THEREON
    • C08GMACROMOLECULAR COMPOUNDS OBTAINED OTHERWISE THAN BY REACTIONS ONLY INVOLVING UNSATURATED CARBON-TO-CARBON BONDS
    • C08G18/00Polymeric products of isocyanates or isothiocyanates
    • C08G18/06Polymeric products of isocyanates or isothiocyanates with compounds having active hydrogen
    • C08G18/70Polymeric products of isocyanates or isothiocyanates with compounds having active hydrogen characterised by the isocyanates or isothiocyanates used
    • C08G18/72Polyisocyanates or polyisothiocyanates
    • C08G18/80Masked polyisocyanates
    • C08G18/8061Masked polyisocyanates masked with compounds having only one group containing active hydrogen
    • C08G18/807Masked polyisocyanates masked with compounds having only one group containing active hydrogen with nitrogen containing compounds
    • C08G18/8077Oximes
    • CCHEMISTRY; METALLURGY
    • C08ORGANIC MACROMOLECULAR COMPOUNDS; THEIR PREPARATION OR CHEMICAL WORKING-UP; COMPOSITIONS BASED THEREON
    • C08GMACROMOLECULAR COMPOUNDS OBTAINED OTHERWISE THAN BY REACTIONS ONLY INVOLVING UNSATURATED CARBON-TO-CARBON BONDS
    • C08G59/00Polycondensates containing more than one epoxy group per molecule; Macromolecules obtained by polymerising compounds containing more than one epoxy group per molecule using curing agents or catalysts which react with the epoxy groups
    • C08G59/18Macromolecules obtained by polymerising compounds containing more than one epoxy group per molecule using curing agents or catalysts which react with the epoxy groups ; e.g. general methods of curing
    • C08G59/182Macromolecules obtained by polymerising compounds containing more than one epoxy group per molecule using curing agents or catalysts which react with the epoxy groups ; e.g. general methods of curing using pre-adducts of epoxy compounds with curing agents
    • C08G59/184Macromolecules obtained by polymerising compounds containing more than one epoxy group per molecule using curing agents or catalysts which react with the epoxy groups ; e.g. general methods of curing using pre-adducts of epoxy compounds with curing agents with amines
    • CCHEMISTRY; METALLURGY
    • C08ORGANIC MACROMOLECULAR COMPOUNDS; THEIR PREPARATION OR CHEMICAL WORKING-UP; COMPOSITIONS BASED THEREON
    • C08GMACROMOLECULAR COMPOUNDS OBTAINED OTHERWISE THAN BY REACTIONS ONLY INVOLVING UNSATURATED CARBON-TO-CARBON BONDS
    • C08G59/00Polycondensates containing more than one epoxy group per molecule; Macromolecules obtained by polymerising compounds containing more than one epoxy group per molecule using curing agents or catalysts which react with the epoxy groups
    • C08G59/18Macromolecules obtained by polymerising compounds containing more than one epoxy group per molecule using curing agents or catalysts which react with the epoxy groups ; e.g. general methods of curing
    • C08G59/40Macromolecules obtained by polymerising compounds containing more than one epoxy group per molecule using curing agents or catalysts which react with the epoxy groups ; e.g. general methods of curing characterised by the curing agents used
    • C08G59/50Amines
    • CCHEMISTRY; METALLURGY
    • C09DYES; PAINTS; POLISHES; NATURAL RESINS; ADHESIVES; COMPOSITIONS NOT OTHERWISE PROVIDED FOR; APPLICATIONS OF MATERIALS NOT OTHERWISE PROVIDED FOR
    • C09DCOATING COMPOSITIONS, e.g. PAINTS, VARNISHES OR LACQUERS; FILLING PASTES; CHEMICAL PAINT OR INK REMOVERS; INKS; CORRECTING FLUIDS; WOODSTAINS; PASTES OR SOLIDS FOR COLOURING OR PRINTING; USE OF MATERIALS THEREFOR
    • C09D175/00Coating compositions based on polyureas or polyurethanes; Coating compositions based on derivatives of such polymers
    • C09D175/02Polyureas
    • CCHEMISTRY; METALLURGY
    • C09DYES; PAINTS; POLISHES; NATURAL RESINS; ADHESIVES; COMPOSITIONS NOT OTHERWISE PROVIDED FOR; APPLICATIONS OF MATERIALS NOT OTHERWISE PROVIDED FOR
    • C09DCOATING COMPOSITIONS, e.g. PAINTS, VARNISHES OR LACQUERS; FILLING PASTES; CHEMICAL PAINT OR INK REMOVERS; INKS; CORRECTING FLUIDS; WOODSTAINS; PASTES OR SOLIDS FOR COLOURING OR PRINTING; USE OF MATERIALS THEREFOR
    • C09D175/00Coating compositions based on polyureas or polyurethanes; Coating compositions based on derivatives of such polymers
    • C09D175/04Polyurethanes
    • CCHEMISTRY; METALLURGY
    • C09DYES; PAINTS; POLISHES; NATURAL RESINS; ADHESIVES; COMPOSITIONS NOT OTHERWISE PROVIDED FOR; APPLICATIONS OF MATERIALS NOT OTHERWISE PROVIDED FOR
    • C09DCOATING COMPOSITIONS, e.g. PAINTS, VARNISHES OR LACQUERS; FILLING PASTES; CHEMICAL PAINT OR INK REMOVERS; INKS; CORRECTING FLUIDS; WOODSTAINS; PASTES OR SOLIDS FOR COLOURING OR PRINTING; USE OF MATERIALS THEREFOR
    • C09D201/00Coating compositions based on unspecified macromolecular compounds
    • CCHEMISTRY; METALLURGY
    • C09DYES; PAINTS; POLISHES; NATURAL RESINS; ADHESIVES; COMPOSITIONS NOT OTHERWISE PROVIDED FOR; APPLICATIONS OF MATERIALS NOT OTHERWISE PROVIDED FOR
    • C09DCOATING COMPOSITIONS, e.g. PAINTS, VARNISHES OR LACQUERS; FILLING PASTES; CHEMICAL PAINT OR INK REMOVERS; INKS; CORRECTING FLUIDS; WOODSTAINS; PASTES OR SOLIDS FOR COLOURING OR PRINTING; USE OF MATERIALS THEREFOR
    • C09D5/00Coating compositions, e.g. paints, varnishes or lacquers, characterised by their physical nature or the effects produced; Filling pastes
    • C09D5/08Anti-corrosive paints
    • CCHEMISTRY; METALLURGY
    • C09DYES; PAINTS; POLISHES; NATURAL RESINS; ADHESIVES; COMPOSITIONS NOT OTHERWISE PROVIDED FOR; APPLICATIONS OF MATERIALS NOT OTHERWISE PROVIDED FOR
    • C09DCOATING COMPOSITIONS, e.g. PAINTS, VARNISHES OR LACQUERS; FILLING PASTES; CHEMICAL PAINT OR INK REMOVERS; INKS; CORRECTING FLUIDS; WOODSTAINS; PASTES OR SOLIDS FOR COLOURING OR PRINTING; USE OF MATERIALS THEREFOR
    • C09D5/00Coating compositions, e.g. paints, varnishes or lacquers, characterised by their physical nature or the effects produced; Filling pastes
    • C09D5/44Coating compositions, e.g. paints, varnishes or lacquers, characterised by their physical nature or the effects produced; Filling pastes for electrophoretic applications
    • C09D5/4419Coating compositions, e.g. paints, varnishes or lacquers, characterised by their physical nature or the effects produced; Filling pastes for electrophoretic applications with polymers obtained otherwise than by polymerisation reactions only involving carbon-to-carbon unsaturated bonds
    • C09D5/443Polyepoxides
    • CCHEMISTRY; METALLURGY
    • C09DYES; PAINTS; POLISHES; NATURAL RESINS; ADHESIVES; COMPOSITIONS NOT OTHERWISE PROVIDED FOR; APPLICATIONS OF MATERIALS NOT OTHERWISE PROVIDED FOR
    • C09DCOATING COMPOSITIONS, e.g. PAINTS, VARNISHES OR LACQUERS; FILLING PASTES; CHEMICAL PAINT OR INK REMOVERS; INKS; CORRECTING FLUIDS; WOODSTAINS; PASTES OR SOLIDS FOR COLOURING OR PRINTING; USE OF MATERIALS THEREFOR
    • C09D5/00Coating compositions, e.g. paints, varnishes or lacquers, characterised by their physical nature or the effects produced; Filling pastes
    • C09D5/44Coating compositions, e.g. paints, varnishes or lacquers, characterised by their physical nature or the effects produced; Filling pastes for electrophoretic applications
    • C09D5/4419Coating compositions, e.g. paints, varnishes or lacquers, characterised by their physical nature or the effects produced; Filling pastes for electrophoretic applications with polymers obtained otherwise than by polymerisation reactions only involving carbon-to-carbon unsaturated bonds
    • C09D5/443Polyepoxides
    • C09D5/4457Polyepoxides containing special additives, e.g. pigments, polymeric particles
    • CCHEMISTRY; METALLURGY
    • C25ELECTROLYTIC OR ELECTROPHORETIC PROCESSES; APPARATUS THEREFOR
    • C25DPROCESSES FOR THE ELECTROLYTIC OR ELECTROPHORETIC PRODUCTION OF COATINGS; ELECTROFORMING; APPARATUS THEREFOR
    • C25D13/00Electrophoretic coating characterised by the process
    • C25D13/04Electrophoretic coating characterised by the process with organic material
    • C25D13/06Electrophoretic coating characterised by the process with organic material with polymers
    • CCHEMISTRY; METALLURGY
    • C25ELECTROLYTIC OR ELECTROPHORETIC PROCESSES; APPARATUS THEREFOR
    • C25DPROCESSES FOR THE ELECTROLYTIC OR ELECTROPHORETIC PRODUCTION OF COATINGS; ELECTROFORMING; APPARATUS THEREFOR
    • C25D13/00Electrophoretic coating characterised by the process
    • C25D13/10Electrophoretic coating characterised by the process characterised by the additives used
    • CCHEMISTRY; METALLURGY
    • C08ORGANIC MACROMOLECULAR COMPOUNDS; THEIR PREPARATION OR CHEMICAL WORKING-UP; COMPOSITIONS BASED THEREON
    • C08KUse of inorganic or non-macromolecular organic substances as compounding ingredients
    • C08K3/00Use of inorganic substances as compounding ingredients
    • C08K3/18Oxygen-containing compounds, e.g. metal carbonyls
    • C08K3/20Oxides; Hydroxides
    • C08K3/22Oxides; Hydroxides of metals
    • C08K2003/2296Oxides; Hydroxides of metals of zinc
    • CCHEMISTRY; METALLURGY
    • C08ORGANIC MACROMOLECULAR COMPOUNDS; THEIR PREPARATION OR CHEMICAL WORKING-UP; COMPOSITIONS BASED THEREON
    • C08KUse of inorganic or non-macromolecular organic substances as compounding ingredients
    • C08K3/00Use of inorganic substances as compounding ingredients
    • C08K3/10Metal compounds
    • CCHEMISTRY; METALLURGY
    • C08ORGANIC MACROMOLECULAR COMPOUNDS; THEIR PREPARATION OR CHEMICAL WORKING-UP; COMPOSITIONS BASED THEREON
    • C08KUse of inorganic or non-macromolecular organic substances as compounding ingredients
    • C08K3/00Use of inorganic substances as compounding ingredients
    • C08K3/18Oxygen-containing compounds, e.g. metal carbonyls
    • C08K3/24Acids; Salts thereof
    • CCHEMISTRY; METALLURGY
    • C25ELECTROLYTIC OR ELECTROPHORETIC PROCESSES; APPARATUS THEREFOR
    • C25DPROCESSES FOR THE ELECTROLYTIC OR ELECTROPHORETIC PRODUCTION OF COATINGS; ELECTROFORMING; APPARATUS THEREFOR
    • C25D13/00Electrophoretic coating characterised by the process
    • C25D13/12Electrophoretic coating characterised by the process characterised by the article coated
    • C25D13/16Wires; Strips; Foils

Definitions

  • the present invention relates to an electrodeposition coating composition and an electrodeposition coating method capable of obtaining a cured electrodeposition coating film that exhibits excellent throwing power and has a good coating film appearance.
  • Cationic electrodeposition coating is a coating method performed by immersing an object to be coated in a cationic electrodeposition coating composition as a cathode and applying a voltage. In this method, even an object to be coated having a complicated shape can be applied to the details, and can be applied automatically and continuously. It has been widely put into practical use as an undercoating method for objects to be coated. Furthermore, electrodeposition coating can give high anticorrosive properties to the object to be coated, and is excellent in the protective effect of the object to be coated.
  • Such a substrate to be subjected to cationic electrodeposition coating is usually subjected to chemical conversion treatment before electrodeposition coating.
  • chemical conversion treatment By performing the chemical conversion treatment, properties such as corrosion resistance and coating film adhesion can be improved.
  • a chemical conversion treatment agent a zinc phosphate chemical conversion treatment agent is widely used.
  • the zinc phosphate chemical conversion treatment agent is a highly reactive treatment agent having a high metal ion and acid concentration, there is a disadvantage that the economical efficiency and workability in wastewater treatment are inferior.
  • metal surface treatment is performed using a zinc phosphate chemical conversion treatment agent, salts that are insoluble in water are generated and deposited as precipitates. Such a precipitate is generally called sludge.
  • the zinc phosphate chemical conversion treatment agent In the case of using a zinc phosphate chemical conversion treatment agent, there is a problem of generation of costs necessary for removing and discarding the sludge generated in the coating process. Furthermore, phosphate ions contained in the zinc phosphate chemical conversion treatment agent may cause eutrophication to the environment, which may cause a load on the environment. Therefore, the zinc phosphate chemical conversion treatment agent also has a problem that a great deal of labor is required for the treatment of the waste liquid. Furthermore, in the metal surface treatment with a zinc phosphate chemical conversion treatment agent, it is necessary to adjust the surface, and there is a problem that the process becomes long.
  • the film thickness of the chemical conversion treatment film formed with the zirconium chemical conversion treatment agent is generally about 1/10 to 1/30 compared with the film thickness of the chemical conversion treatment film formed with the zinc phosphate chemical conversion treatment agent. Very thin.
  • the coating-film external appearance of the obtained cured electrodeposition coating film will be inferior because the film thickness of the chemical conversion treatment film formed with a zirconium chemical conversion treatment agent is so thin.
  • the thin film of the chemical conversion film is also a factor that lowers the throwing power of the electrodeposition coating composition.
  • “throwing power” refers to the property that a coating film is sequentially formed on an unattached portion of an object to be coated. When the throwing power is lowered, there is a problem that the performance of forming a coating film to every corner of an object to be coated is deteriorated in electrodeposition coating. In chemical conversion treatment and electrodeposition coating, which are undercoat coatings, since high throwing power is required, the problem of reduced throwing power can be a serious problem.
  • One method for improving the throwing power of the electrodeposition coating composition is to reduce the neutralization rate of the resin emulsion contained in the electrodeposition coating composition.
  • the coating film is deposited at an early stage, and there is an advantage that throwing power is improved by quickly forming an electric resistance at the coating film deposition portion.
  • an electrical resistance is quickly formed in the coating film deposition portion, an excessive current flow may occur, and gas pinholes may be generated.
  • improving throwing power and suppressing the occurrence of gas pinholes are contradictory, and it is technically necessary to balance these performances. It was difficult.
  • Patent Document 1 Japanese Patent Application Laid-Open No. 2004-269627 (Patent Document 1) exists as a patent document that mentions the electrical conductivity and throwing power of a paint.
  • this cationic electrodeposition coating composition is not sufficient for both throwing power and gas pinability.
  • This electrodeposition coating composition also contains a sulfonium-modified epoxy resin, and the coating composition is different from the electrodeposition coating composition of the present invention.
  • JP 2011-84729 A discloses an amino group-containing modified epoxy resin (A), a blocked polyisocyanate curing agent (B), a metal compound (C), and a nitrogen oxide ion (E).
  • a cationic electrodeposition coating composition comprising the cationic electrodeposition coating composition, wherein the metal compound (C) is 10 to 10, as the mass of the metal element with respect to the mass of the cationic electrodeposition coating composition.
  • An electrodeposition coating composition containing 000 ppm and containing 50 to 10,000 ppm of nitrogen oxide ions (E) is described.
  • the conductivity of the electrodeposition coating composition is increased, and the coating viscosity of the electrodeposition coating film is also increased.
  • the electrical conductivity of the electrodeposition coating composition is increased and the coating film viscosity of the electrodeposition coating film is increased, there is a problem that an appearance abnormality of the coating film such as a gas pinhole occurs during electrodeposition coating.
  • the present invention solves the above-mentioned conventional problems, and the object is to obtain a cured electrodeposition coating film that expresses excellent throwing power and has a good coating film appearance.
  • the object is to provide an electrodeposition coating composition and an electrodeposition coating method.
  • An electrodeposition coating composition comprising: The electrodeposition coating composition has an acid milligram equivalent (MEQ (A)) of 27 or more with respect to 100 g of resin solid content of the electrodeposition coating composition, The coulomb efficiency of the electrodeposition coating composition is 30 mg / C or less, The film resistance of an uncured electrodeposition coating film having a thickness of 15 ⁇ m formed using the electrodeposition coating composition is 400 k ⁇ ⁇ cm 2 or more, The electrodeposition coating film obtained from the electrodeposition coating composition has a coating film viscosity at 50 ° C.
  • MEQ acid milligram equivalent
  • the electrodeposition coating composition is the electrodeposition coating composition, Electrodeposition painting method. [7] In the electrodeposition coating, the electrodeposited coating composition is immersed in the electrodeposition coating composition to form an electrodeposition coating film, and the resulting electrodeposition coating film is heated to form a cured electrodeposition coating film. A method of improving the appearance of the cured electrodeposition coating film, The electrodeposition coating composition is the electrodeposition coating composition, Method.
  • an uncured electrodeposition coating film before baking and curing is referred to as an “electrodeposition coating film”, and a coating film after baking and curing is referred to as a “cured electrodeposition coating film”.
  • the electrodeposition coating composition of the present invention is characterized in that a cured electrodeposition coating film that exhibits excellent throwing power and has a good coating film appearance can be obtained.
  • the electrodeposition coating composition of the present invention further includes, for example, a zinc phosphate chemical conversion treatment agent, even in the case of electrodeposition coating on a coating having a thin chemical conversion treatment film formed by a zirconium chemical conversion treatment agent. Similar to the case of coating on the treated article, it has a feature that a cured electrodeposition coating film having a good coating film appearance can be obtained.
  • the electrodeposition coating composition of the present invention has the characteristics of improving the throwing power and suppressing the occurrence of gas pinholes, which are in a contradictory relationship.
  • the electrodeposition coating composition of the present invention contains at least one (A) selected from the group consisting of a zinc compound (A-1) and a bismuth compound (A-2).
  • A zinc compound
  • At least one selected from the group consisting of zinc methanesulfonate and zinc acetate is more preferable to use at least one selected from the group consisting of zinc methanesulfonate and zinc acetate as the zinc compound (A-1).
  • amine compounds By reacting such a resin with an amine compound, the oxirane ring in the resin is opened and an amino group is introduced.
  • amine compounds are butylamine, octylamine, diethylamine, dibutylamine, methylbutylamine, monoethanolamine, diethanolamine, N-methylethanolamine, triethylamine, N, N-dimethylbenzylamine, N, N-dimethyl.
  • primary amines such as ethanolamine, secondary amines or tertiary amines and / or their acid salts.
  • the aminated resin (B) of the present invention comprises a resin obtained by reacting a bisphenol A alkylene oxide adduct (b-1), an epoxy resin (b-2) and a bisphenol compound (b-3), an amine compound, A resin obtained by reacting is preferred.
  • the reaction of the bisphenol A alkylene oxide adduct (b-1), the epoxy resin (b-2) and the bisphenol compound (b-3) can be performed by any commonly used method.
  • a reaction method for example, a method in which all of these components (b-1), (b-2) and (b-3) are mixed and reacted, a method in which these components are mixed and reacted in an arbitrary combination order, etc. Is mentioned.
  • These components are bisphenol A alkylene oxide adduct (b-1) 10 to 80% by mass, preferably 15 to 75% by mass; epoxy resin (b-2) 20 to 80% by mass, preferably 30 to 75% by mass.
  • bisphenol compound (b-3) in an amount of 5 to 50% by mass, preferably 7 to 30% by mass.
  • an aminated resin having a number average molecular weight of 1,000 to 5,000, an amine value of 20 to 100 mgKOH / g, and a hydroxyl value of 50 to 400 mgKOH / g By using (B), there is an advantage that excellent corrosion resistance can be imparted to the article to be coated.
  • the electrodeposition coating composition of the present invention contains at least one (A) selected from the group consisting of a zinc compound (A-1) and a bismuth compound (A-2).
  • A a weak interaction occurs between a metal component and a polar functional group such as a hydroxyl group and / or an amino group in the resin component.
  • the electrical resistance value of the coating film is increased without increasing the viscosity of the deposited uncured coating film, and the throwing power is improved.
  • the present invention by adjusting the properties of the aminated resin (B) and the resin emulsion containing the aminated resin (B) and the curing agent (C), etc. The coating film viscosity at 50 ° C.
  • sealants include monovalent alkyl (or aromatic) alcohols such as n-butanol, n-hexyl alcohol, 2-ethylhexanol, lauryl alcohol, phenol carbinol, methylphenyl carbinol; ethylene glycol mono Cellosolves such as hexyl ether and ethylene glycol mono 2-ethylhexyl ether; Polyether type terminal diols such as polyethylene glycol, polypropylene glycol and polytetramethylene ether glycol phenol; ethylene glycol, propylene glycol, 1,4-butanediol, etc.
  • monovalent alkyl (or aromatic) alcohols such as n-butanol, n-hexyl alcohol, 2-ethylhexanol, lauryl alcohol, phenol carbinol, methylphenyl carbinol
  • ethylene glycol mono Cellosolves such as hexyl ether and ethylene glycol mono 2-
  • the blocking ratio of the blocked isocyanate curing agent is preferably 100%. Thereby, there exists an advantage that the storage stability of an electrodeposition coating composition becomes favorable.
  • the blocked isocyanate curing agent preferably used as the curing agent (C) reacts preferentially with the primary amine of the aminated resin (B) and further reacts with the hydroxyl group to be cured.
  • the remaining hydroxyl group derived from the amination resin (B) It is thought to improve the adhesion with the coating film.
  • the electrodeposition coating composition of the present invention preferably contains a plasticizer.
  • the zinc compound (A-1) and bismuth compound (A-2) contained in the electrodeposition coating composition are taken into the electrodeposition coating film.
  • these metal components form hydrogen bonds with the coating film forming resin.
  • the internal stress in the coating film increases, and the physical properties of the coating film tend to be hard. For this reason, an internal stress can be reduced and the plasticity of an electrodeposition coating film can be improved by containing a plasticizer in an electrodeposition coating composition.
  • the plasticizer is preferably an alkylene oxide adduct. Among the alkylene oxide adducts, an ethylene oxide adduct and a propylene oxide adduct are more preferable.
  • the addition method is not particularly limited.
  • a plasticizer When a plasticizer is contained, it is preferably 0.1 to 25% by mass, preferably 1 to 10% by mass, based on the total resin solid content of the coating film-forming resin contained in the electrodeposition coating composition. Is more preferable.
  • the electrodeposition coating composition of the present invention preferably contains a chelating acid.
  • the chelating acid include at least one selected from the group consisting of sulfonic acid, organic phosphonic acid, organic carboxylic acid, amino acid, aminocarboxylic acid, sugar acid, and carboxyl group-containing vinyl resin.
  • fatty acids having 3 to 20 carbon atoms examples include propionic acid, butyric acid (butyric acid), dimethylolpropionic acid (DMPA), isobutyric acid, valeric acid, isovaleric acid, caproic acid, enanthic acid, caprylic acid, pelargonic acid, Examples include capric acid, lauric acid, myristic acid, pentadecylic acid, palmitic acid, margaric acid, stearic acid, and oleic acid.
  • the aromatic carboxylic acid having 6 to 20 carbon atoms examples include salicylic acid, gallic acid, benzoic acid, phthalic acid, and cinnamic acid.
  • amino acids as chelating acids include aspartic acid, glutamic acid, glycine, alanine, valine, leucine, isoleucine, serine, threonine, cysteine, methionine, asparagine, glutamine, proline, phenylalanine, tyrosine, and tryptophan.
  • aspartic acid and glycine are preferable.
  • a pigment When a pigment is used as a component of an electrodeposition coating composition, it is generally preferable to disperse the pigment in a high concentration in an aqueous solvent in advance to obtain a paste (pigment dispersion paste). This is because the pigment is in a powder form, and it is difficult to disperse in a single step in a low concentration uniform state used in the electrodeposition coating composition.
  • a paste is generally called a pigment dispersion paste.
  • the electrodeposition coating composition of the present invention comprises additives commonly used in the coating field, such as ethylene glycol monobutyl ether, ethylene glycol monohexyl ether, ethylene glycol monoethylhexyl ether, propylene glycol monobutyl ether.
  • Organic solvents such as dipropylene glycol monobutyl ether and propylene glycol monophenyl ether, surfactants such as anti-drying agents and antifoaming agents, viscosity modifiers such as acrylic resin fine particles, anti-fogging agents, vanadium salts, copper, iron,
  • An inorganic rust preventive agent such as manganese, magnesium, or calcium salt may be included as necessary.
  • a known auxiliary complexing agent, buffering agent, smoothing agent, stress relaxation agent, brightening agent, semi-glossing agent, antioxidant, ultraviolet absorber and the like may be included depending on the purpose.
  • the electrodeposition coating composition of the present invention is not limited to the above-mentioned aminated resin (B), but may be an aminated resin not corresponding to the above-mentioned aminated resin (B), and / or other A film-forming resin component that is not aminated may also be included.
  • examples of other non-aminated film-forming resin components include urethane resins, butadiene resins, phenol resins, xylene resins, and the like. Phenol resins and xylene resins are preferred as other film-forming resin components that can be included in the electrodeposition coating composition.
  • the phenol resin and xylene resin include xylene resins having 2 or more and 10 or less aromatic rings.
  • the amount of the curing agent (C) is sufficient to react with active hydrogen-containing functional groups such as primary, secondary amino groups and hydroxyl groups in the aminated resin (B) during curing to give a good cured coating film. Amount is needed.
  • a preferable amount of the curing agent (C) is 90/10 to 50 in terms of a solid mass ratio (aminated resin (B) / curing agent (C)) of the aminated resin (B) and the curing agent (C). / 50, more preferably in the range of 80/20 to 65/35.
  • the electrodeposition coating composition of the present invention has a total of 27 or more milligram equivalents (MEQ (A)) of all acids per 100 g of resin solid content of the electrodeposition coating composition.
  • the MEQ (A) is preferably 27 to 45, more preferably 30 to 40.
  • the milligram equivalent (MEQ (A)) of the acid when the milligram equivalent (MEQ (A)) of the acid is in the above range, the cohesive force of the resin emulsion is controlled, and the coating viscosity of the electrodeposition coating film is lowered. Can be designed. Thereby, there exists an advantage that the external appearance of the coating film obtained improves. Furthermore, there is an advantage that throwing power is improved and excellent corrosion resistance can be obtained.
  • the milligram equivalent (MEQ (A)) of the acid with respect to 100 g of the resin solid content of the electrodeposition coating composition can be adjusted by the amount of the neutralizing acid and the amount of acid components such as chelating acid as required.
  • the neutralizing acid is more preferably used in an amount of 10 to 100%, preferably 20 to 70%, as the equivalent ratio of the neutralizing acid to the equivalent of the amino group of the aminated resin (B). More preferably, it is used.
  • the equivalent ratio of the neutralized acid to the equivalent of the amino group of the aminated resin (A) is defined as the neutralization rate.
  • the neutralization rate is 10% or more, affinity for water is ensured and water dispersibility is improved.
  • the electrodeposition coating composition used in the present invention contains substantially neither an organic tin compound nor an organic lead compound.
  • “the electrodeposition coating composition is substantially free of either an organic tin compound or an organic lead compound” means that the concentration of the organic lead compound contained in the electrodeposition coating composition is 50 ppm as a lead metal element. It means that the concentration of the organic tin compound does not exceed 50 ppm as a tin metal element.
  • the electrodeposition coating composition of the present invention contains a zinc compound (A-1) and / or a bismuth compound (A-2). Therefore, it is not necessary to use an organic lead compound or an organic tin compound as a curing catalyst. Thereby, the electrodeposition coating composition which does not contain any of an organic tin compound and an organic lead compound can be prepared.
  • the resistance of the coating film is reduced even in the portion where the electrodeposition coating film is deposited, compared with the case where a zinc phosphate-based chemical conversion treatment film is formed.
  • the value will be low. This is a factor that reduces throwing power.
  • the electrical resistance of the coating film depositing portion is simply improved for the purpose of improving throwing power, a coating film abnormality such as a gas pinhole occurs.
  • the electrodeposition coating composition of the present invention includes at least one (A) selected from the group consisting of the zinc compound (A-1) and the bismuth compound (A-2) as described above, Moreover, when the milligram equivalent (MEQ (A)) of the acid with respect to 100 g of the resin solid content of the electrodeposition coating composition is 27 or more, an uncured electrode having a thickness of 15 ⁇ m is formed using the electrodeposition coating composition.
  • the film resistance of the coated film is 400 k ⁇ ⁇ cm 2 or more, more preferably in the range of 400 to 1500 k ⁇ ⁇ cm 2 . When the film resistance of the electrodeposition coating film satisfies the above conditions, the throwing power is improved.
  • the electrodeposition coating composition of the present invention has low Coulomb efficiency, it is difficult for spark discharge to occur in the generated hydrogen gas during electrodeposition coating deposition, and coating film abnormalities such as gas pinholes are not generated. It is suppressed and the coating film appearance of the obtained cured electrodeposition coating film becomes good.
  • the film resistance value of the coating film is obtained from the following equation by measuring the residual current (mA) at the final coating voltage (V).
  • Film resistance (k ⁇ ⁇ cm 2 ) Coating area (cm 2 ) ⁇ Voltage (V) / Residual current (mA)
  • the electrodeposition coating composition of the present invention has a Coulomb efficiency of 30 mg / C in a state in which an object to be coated is immersed in the electrodeposition coating composition and electrodeposition coating is performed so that the thickness of the cured electrodeposition coating film is 15 ⁇ m. It is as follows.
  • the coulombic efficiency indicates the ratio of the amount (mg) of the deposited paint to the amount of electric charge (coulomb) consumed by flowing an electric current. Since the electrodeposition coating composition of the present invention contains a zinc compound (A-1) and / or a bismuth compound (A-2), the electric conductivity of the electrodeposition coating composition tends to be higher than that of the conventional one. is there. In such an electrodeposition coating composition, by designing the Coulomb efficiency in the above range, it is possible to maintain a good coating appearance while ensuring good throwing power.
  • the coulomb efficiency is more preferably 15 to 25 mg / C.
  • a method for adjusting the Coulomb efficiency at the time of electrodeposition coating with a film thickness of 15 ⁇ m to the above range for example, a method using the above-mentioned specific neutralizing acid, or a product obtained by plastically modifying an alkylene oxide adduct as the aminated resin (B)
  • the method used, the method of adjusting the amine value, number average molecular weight and hydroxyl value of the aminated resin (B) to the above ranges, the method of adjusting by adding an alkylene oxide adduct, etc., the bismuth compound (A-2) dispersed in water The method used in the state of a mold colloid is mentioned.
  • Coulomb efficiency is an index representing the precipitation of paint solids. That is, the unit charge amount (coulomb) consumed by passing an electric current and the amount (mg) of the deposited coating material per unit thickness of the deposited coating film.
  • the coulomb efficiency is measured by immersing the object to be coated in an electrodeposition coating composition and applying the electrodeposition coating at a constant voltage (150V and 200V) so that the thickness of the cured electrodeposition coating film is 15 ⁇ m.
  • Coulomb efficiency (mg / C) (Weight after painting-Weight before painting) (mg) / Integrated coulomb (C)
  • the electric conductivity of the electrodeposition coating composition of the present invention is preferably 1500 to 3000 ⁇ S / cm, and more preferably 1600 to 2500 ⁇ S / cm. If it is less than 1500 ⁇ S / cm, sufficient throwing power may not be improved. On the other hand, if it exceeds 3000 ⁇ S / cm, gas pinholes are generated and the appearance of the coating film surface may be deteriorated.
  • the electrical conductivity can be measured in accordance with JIS K 0130 (General Rules for Electrical Conductivity Measurement Method) using a commercially available electrical conductivity meter.
  • the coating viscosity at 50 ° C. of the electrodeposition coating obtained using the electrodeposition coating composition of the present invention is 3000 Pa ⁇ s or less.
  • the uncured electrodeposition coating film obtained by precipitation from the electrodeposition coating composition has a coating film viscosity at 50 ° C. of not more than 3000 Pa ⁇ s, which increases the diameter of the current path when a voltage is applied. Occurrence of coating film abnormalities such as the above is suppressed, and the coating film appearance of the resulting cured electrodeposition coating film is improved.
  • the viscosity of the coating film is more preferably 1000 to 2500 Pa ⁇ s, and further preferably 1200 to 2000 Pa ⁇ s.
  • the reason for measuring the viscosity of the electrodeposition coating film at 50 ° C. is as follows.
  • An electrodeposition coating film is a coating film deposited on the surface of an object to be coated by application of a voltage.
  • the electrodeposition coating film deposited on the surface of the object to be coated is heated to cause a heat flow to lower the viscosity, and the coating film surface becomes smooth.
  • the blocking agent of the blocked isocyanate curing agent contained in the electrodeposition coating film is thermally dissociated, and this undergoes a crosslinking reaction with hydroxyl groups, amino groups, etc. in the cationic epoxy resin, and the coating film viscosity rapidly increases.
  • the electrodeposition coating film is cured to form a cured electrodeposition coating film. That is, the viscosity of the electrodeposition coating film is once lowered by heating, and then the viscosity is increased.
  • the temperature of 50 ° C. is a temperature preferable for the measurement of the viscosity of the coating film from the above properties of the electrodeposition coating composition, and is a temperature at which no crosslinking of the coating film forming resin occurs, that is, an uncured electrodeposition coating film It is considered that the temperature is appropriate for judging the properties at the time of precipitation.
  • the electrodeposition coating composition of the present invention as a method for adjusting the coating viscosity at 50 ° C. of the uncured electrodeposition coating obtained by precipitation from the electrodeposition coating composition to 3000 Pa ⁇ s or less, for example, A method using a neutralized acid, a method using a specific structure as the aminated resin (B), a method of adjusting the number average molecular weight and hydroxyl value of the aminated resin (B) to the above ranges, a bismuth compound (A- 2) Method of using water-dispersed colloid, method of adjusting the amount of solvent contained in the electrodeposition coating composition, method of adjusting the mixing ratio of the aminated resin (B) and the curing agent (C) Etc.
  • a method using a neutralized acid a method using a specific structure as the aminated resin (B), a method of adjusting the number average molecular weight and hydroxyl value of the aminated resin (B) to the above ranges, a bismuth compound (A- 2) Method of
  • the coating-film viscosity of an electrodeposition coating film can be measured as follows. First, electrodeposition coating is carried out for 180 seconds so that the film thickness is about 15 ⁇ m to form an electrodeposition coating film, which is washed with water to remove the excessively deposited electrodeposition coating composition. Next, after removing excess water adhering to the surface of the electrodeposition coating film, the coating film is immediately peeled off from the object to be coated without drying, thereby preparing a sample of an uncured coating film. The sample thus obtained can be measured for coating film viscosity at 50 ° C. using a dynamic viscoelasticity measuring apparatus. As the dynamic viscoelasticity measuring device, for example, a rotational dynamic viscoelasticity measuring device “Rheosol® G-3000” (manufactured by UBM) can be used.
  • a voltage of 50 to 450 V is generally applied between the cathode and the anode. Thereby, an electrodeposition coating film deposits on a to-be-coated article.
  • the bath temperature of the coating composition is usually adjusted to 10 to 45 ° C.
  • the electrodeposition coating method of the present invention includes a process of immersing an object to be coated in an electrodeposition paint composition, and a process of applying a voltage between the above object to be coated as a cathode and an anode to deposit a coating film. Composed.
  • the time for applying the voltage varies depending on the electrodeposition conditions, but can generally be 2 to 5 minutes.
  • the film thickness of the electrodeposition coating after heat curing is preferably 5 to 40 ⁇ m, more preferably 10 to 25 ⁇ m. If the film thickness is less than 5 ⁇ m, the corrosion resistance may be insufficient. On the other hand, if it exceeds 40 ⁇ m, it leads to waste of paint.
  • the electrodeposition coating film obtained as described above is heated by heating at 120 to 260 ° C., preferably 140 to 220 ° C. for 10 to 30 minutes after completion of the electrodeposition process, or after washing with water. A cured electrodeposition coating is formed.
  • the electrodeposition coating composition of the present invention By using the electrodeposition coating composition of the present invention, there is an advantage that excellent corrosion resistance can be obtained even when electrodeposition coating is performed on an article subjected to zirconium chemical conversion treatment.
  • the chemical conversion treatment film formed with the zirconium chemical conversion treatment agent is much thinner than the film thickness of the chemical conversion treatment film formed with the zinc phosphate chemical conversion treatment agent.
  • unevenness in thickness of the formed chemical conversion treatment film may occur. When such thickness unevenness exists, the surface resistance of the object to be coated is not uniform.
  • electrodeposition coating in which resin components and the like are deposited by applying voltage the surface resistance of the object to be coated is non-uniform, resulting in reduced throwing power and poor appearance of the coating film such as gas pinholes. There is a bug.
  • the electrodeposition coating composition of the present invention there is an advantage that an excellent throwing power is exhibited and a cured electrodeposition coating film having a good coating film appearance can be obtained.
  • Zirconium chemical conversion treatment agent has an advantage that there is little burden on the environment because it does not substantially contain phosphate ions. Further, the zirconium chemical conversion treatment agent has an advantage that the generation amount of sludge (sludge) can be reduced. In the chemical conversion treatment using the zirconium chemical conversion treatment agent, the surface adjustment step is not required, and therefore there is an advantage that the chemical conversion treatment of the object to be coated can be performed with fewer steps.
  • Production Example 1-1 Production of Aminated Resin (1) 58 parts of methyl isobutyl ketone, 940 parts of bisphenol A type epoxy resin (trade name DER-331J, manufactured by Dow Chemical Company), 388 parts of bisphenol A, 65 parts of octylic acid, dimethylbenzyl After adding 2 parts of amine and maintaining the temperature in the reaction vessel at 140 ° C. until the epoxy equivalent reached 1300 g / eq, the reaction vessel was cooled until the temperature in the reaction vessel reached 120 ° C.
  • bisphenol A type epoxy resin trade name DER-331J, manufactured by Dow Chemical Company
  • the number average molecular weight was calculated based on the molecular weight of standard polystyrene from a chromatogram measured with a gel permeation chromatograph according to the method described in JIS K 0124-83.
  • As the gel permeation chromatograph “HLC8120GPC” (manufactured by Tosoh Corporation) was used.
  • As the column four columns of “TSKgel G-4000HXL”, “TSKgel G-3000HXL”, “TSKgel G-2500HXL”, “TSKgel G-2000HXL” (both manufactured by Tosoh Corporation, trade name) were used.
  • Mobile phase Tetrahydrofuran
  • measurement temperature 40 ° C.
  • flow rate 1 ml / min
  • detector under the conditions of RI.
  • Production Example 1-2 Production of Aminated Resin (2) 58 parts of methyl isobutyl ketone, 940 parts of bisphenol A type epoxy resin (trade name DER-331J, manufactured by Dow Chemical Company), 380 parts of bisphenol A, 76 parts of octylic acid, dimethylbenzyl After adding 2 parts of amine and maintaining the temperature in the reaction vessel at 140 ° C. until the epoxy equivalent reached 1300 g / eq, the reaction vessel was cooled until the temperature in the reaction vessel reached 120 ° C.
  • bisphenol A type epoxy resin trade name DER-331J, manufactured by Dow Chemical Company
  • Production Example 1-4 Production of Aminated Resin (4) 58 parts of methyl isobutyl ketone, 940 parts of bisphenol A type epoxy resin (trade name DER-331J, manufactured by Dow Chemical Company), 388 parts of bisphenol A, 114 parts of octylic acid, dimethylbenzyl 2 parts of amine was added, the temperature in the reaction vessel was maintained at 140 ° C., and the reaction was continued until the epoxy equivalent reached 1920 g / eq, and then the reaction vessel was cooled until the temperature in the reaction vessel reached 120 ° C.
  • bisphenol A type epoxy resin trade name DER-331J, manufactured by Dow Chemical Company
  • Production Example 2-1 Production of Blocked Isocyanate Curing Agent (1) 1680 parts of hexamethylene diisocyanate (HDI) and 732 parts of MIBK were charged into a reaction vessel and heated to 60 ° C. A solution obtained by dissolving 346 parts of trimethylolpropane in 1067 parts of MEK oxime was added dropwise at 60 ° C. over 2 hours. Further, after heating at 75 ° C. for 4 hours, in the measurement of IR spectrum, it was confirmed that the absorption based on the isocyanate group disappeared, and after standing to cool, 27 parts of MIBK was added to add a blocked isocyanate curing agent (1 )
  • Production Example 2-2 Production of Blocked Isocyanate Curing Agent (2) 1,340 parts of 4,4′-diphenylmethane diisocyanate and 277 parts of MIBK were charged into a reaction vessel and heated to 80 ° C., and then 226 parts of ⁇ -caprolactam was added to 944 parts of butyl cellosolve. What was dissolved in was dropped at 80 ° C. over 2 hours. Furthermore, after heating at 100 degreeC for 4 hours, in the measurement of IR spectrum, it confirmed that the absorption based on an isocyanate group disappeared, and after standing to cool, MIBK349 parts were added and block isocyanate hardening
  • ethylene glycol mono n-butyl ether 157 was added. Then, it was cooled to 85-95 ° C. and made uniform. Next, 277 parts of diethylenetriamine diketimine (a methyl isobutyl ketone solution having a solid content of 73%) was added and stirred at 120 ° C. for 1 hour, and 13 parts of ethylene glycol mono-n-butyl ether was added to produce an aminated resin.
  • Production Example 4-1 Production of Electrodeposition Paint Resin Emulsion (Em1) 350 parts (solid content) of the aminated resin (1) obtained in Production Example 1-1 and the blocked isocyanate curing agent obtained in Production Example 2-1 ( 1) 75 parts (solid content) and the blocked isocyanate curing agent (2) obtained in Production Example 2-1 were mixed with 75 parts (solid content), and ethylene glycol mono-2-ethylhexyl ether was mixed with 3 parts of solid content. % (15 parts). Next, formic acid is neutralized by adding MEQ (A) to 24, ion-exchanged water is added to slowly dilute, and then methyl isobutyl ketone is removed under reduced pressure so that the solid content is 40%. A resin emulsion (Em1) was obtained.
  • Production Example 4-2 Production of Electrodeposition Paint Resin Emulsion (Em2) Production was carried out in the same manner as in Production Example 4-1, except that aminated resin (2) was used instead of aminated resin (1). A resin emulsion (Em2) was obtained.
  • Production Example 4-4 Production of Electrodeposition Paint Resin Emulsion (Em4) Aminated resin (3) was used instead of aminated resin (1), and dimethylolpropionic acid (DMPA) was used instead of formic acid, A resin emulsion (Em4) was obtained in the same manner as in Production Example 4-1, except that MEQ (A) was added to 24 and neutralized.
  • DMPA dimethylolpropionic acid
  • Production Example 4-5 Production of Electrodeposition Paint Resin Emulsion (Em5) Instead of aminated resin (1), aminated resin (4) was used, and dimethylolpropionic acid (DMPA) was used instead of formic acid, A resin emulsion (Em5) was obtained in the same manner as in Production Example 4-1, except that the MEQ (A) was added to 24 and neutralized.
  • DMPA dimethylolpropionic acid
  • Production Example 4-6 Production of Electrodeposition Paint Resin Emulsion (Em6) Aminated resin (5) was used instead of aminated resin (1), and dimethylolpropionic acid (DMPA) was used instead of formic acid.
  • a resin emulsion (Em6) was obtained in the same manner as in Production Example 4-1, except that it was neutralized by adding MEQ (A) to 24.
  • Production Example 5-1 Production of Pigment Dispersion Paste for Electrodeposition Paint (1) Using a sand mill, based on the formulation shown in the following Table 1 containing the pigment dispersion resin obtained in Production Example 3, 40 Dispersion was carried out until the volume average particle diameter D50 was 0.6 ⁇ m at 0 ° C. to obtain a pigment dispersion paste (1) (solid content 49%).
  • the volume average particle diameter D50 is measured by diluting the dispersion with ion-exchanged water so that the signal level is suitable using a laser Doppler particle size analyzer (manufactured by Nikkiso Co., Ltd., “Microtrac UPA150”). The particle diameter D50 was measured.
  • Production Example 5-2 Production of Pigment Dispersion Paste (2) for Electrodeposition Paint
  • a pigment dispersion paste (2) for electrodeposition paint was produced in the same manner as in Production Example 5-2, except that dioctyl tin oxide was not used. .
  • Production Example 6-1 Production of zinc methanesulfonate Add 119 parts of ion exchange water, 32.6 parts of zinc oxide (reagent), 110 parts of 70% methanesulfonic acid (manufactured by BASF) to a stainless steel container, and stir at 60 ° C. for 1 hour. Thus, zinc methanesulfonate having a zinc concentration of 10% was prepared.
  • Production Example 6-2 Production of zinc acetate 176 parts of ion-exchanged water, 32.6 parts of zinc oxide (reagent), 53 parts of 90% acetic acid (reagent) were added to a stainless steel container and stirred at 60 ° C. for 1 hour to obtain a zinc concentration. 10% zinc acetate was made.
  • Production Example 6-3 Production of bismuth lactate To a stainless steel container, 241 parts of ion exchange water, 11.7 parts of bismuth oxide (reagent), 9.0 parts of 50% lactic acid (reagent) are added, and stirred at 60 ° C. for 1 hour. Bismuth lactate having a bismuth concentration of 4% was prepared in the form of an aqueous dispersion colloid.
  • Production Example 6-4 Production of glycine-containing bismuth lactate
  • 241 parts of ion-exchanged water 11.7 parts of bismuth oxide (reagent), 9.0 parts of 50% lactic acid (reagent) and 3.8 parts of glycine (reagent)
  • the resultant was added and stirred at 60 ° C. for 1 hour to prepare glycine-containing bismuth lactate having a bismuth concentration of 4%, which was in the form of an aqueous dispersion colloid.
  • Production Example 6-5 Production of bismuth dimethylolpropionate To a stainless steel container, 241 parts of ion-exchanged water, 11.7 parts of bismuth oxide (reagent), 6.7 parts of dimethylolpropionic acid (DMPA, reagent) were added, and 60 ° C. By stirring for 1 hour, bismuth dimethylolpropionate having a bismuth concentration of 4% in the form of an aqueous dispersion colloid was prepared.
  • DMPA dimethylolpropionic acid
  • Example 1 To the stainless steel container, 2065 parts of ion-exchanged water and 8 parts of zinc acetate having a zinc concentration of 10% in Production Example 6-2 as a zinc compound (A1) were added. Next, 1600 parts of electrodeposition paint resin emulsion (EmA) of Production Example 4-2 and 327 parts of pigment (Pigment Dispersion Paste 1 of Production Example 5-1) were added, and then aged at 40 ° C. for 16 hours. A composition was prepared.
  • EmA electrodeposition paint resin emulsion
  • Pigment Dispersion Paste 1 of Production Example 5-1 pigment
  • a cold-rolled steel sheet (JIS G3141, SPCC-SD) was degreased by being immersed in Surf Cleaner EC90 (manufactured by Nippon Paint Co., Ltd.) at 40 ° C. for 2 minutes. Next, it was immersed in Surfdyne EC3200 (made by Nippon Paint Co., Ltd.) at 40 ° C. for 90 seconds. After washing with deionized water, the required amount of 2-ethylhexyl glycol was added to the obtained electrodeposition coating composition so that the film thickness of the electrodeposition coating film after curing was 15 ⁇ m, and then all the steel sheets were buried.
  • the milligram equivalent (MEQ (A)) of acid As the characteristics of the obtained electrodeposition coating composition, the milligram equivalent (MEQ (A)) of acid, Coulomb efficiency, electrical conductivity, coating resistance, and coating viscosity were measured. The measurement method will be described below. The measurement results are shown in the following table.
  • Milligram equivalent of acid (MEQ (A)) per 100 g of resin solid content of the electrodeposition coating composition About 10 g of the electrodeposition coating composition was accurately weighed and dissolved in about 50 ml of a solvent (THF: tetrahydrofuran), and then potentiometric titration was performed using a 1/10 N NaOH solution, whereby the acid contained in the electrodeposition coating composition The amount was quantified and measured.
  • a solvent THF: tetrahydrofuran
  • the coulomb efficiency (15 ⁇ m) of the electrodeposition coating composition and the mass of the cold-rolled steel sheet subjected to coating resistance zirconium conversion treatment were measured.
  • the steel plate was immersed in the electrodeposition coating composition, and was electrodeposited at a constant coating voltage (150 V and 200 V) so that the thickness of the cured electrodeposition coating film was 15 ⁇ m.
  • the coulomb value and residual current value after electrodeposition coating were measured.
  • the mass of the cured electrodeposition coating film obtained by baking and curing the obtained electrodeposition coating film was measured. Using these measured values, the Coulomb efficiency (15 ⁇ m) and the coating film resistance value were obtained from the following formula.
  • the electrical conductivity of the electrodeposition coating composition was measured using a CM-30S (electric conductivity meter) manufactured by Toa Denpa Kogyo Co., Ltd. and JIS K0130 (general rules for measuring electrical conductivity).
  • the liquid temperature was measured at 25 ° C.
  • Examples 2 to 10 and Comparative Examples 1 to 4 An electrodeposition coating composition was prepared in the same manner as in Example 1 except that the formulation shown in the following table was changed. Using the obtained electrodeposition coating composition, coating was performed in the same manner as in Example 1 to obtain an electrodeposition coated plate.
  • the blending amounts of the electrodeposition coating composition shown in the following table the blending amounts of the zinc compound (A-1) and the bismuth compound (A-2) are relative ratios (compound masses) to 100 parts by weight of the electrodeposition coating composition.
  • the compounding amount of the resin emulsion and the pigment is the solid content concentration of each component with respect to 100 parts by mass of the electrodeposition coating composition.
  • Cured electrodeposition coating (painted horizontal appearance) The cold-rolled steel sheet subjected to the zirconium chemical conversion treatment was placed and immersed so that the steel sheet surface was arranged in the horizontal direction with respect to the liquid level of the electrodeposition coating composition. While stirring the electrodeposition coating composition at 300 rpm, the voltage was increased over 30 seconds, and the voltage was applied under the condition that it was held for 150 seconds after reaching 180 V to deposit an uncured electrodeposition coating film on the steel sheet. I let you. The uncured electrodeposition coating film thus obtained was heat-cured at 160 ° C. for 15 minutes to obtain an electrodeposition coated plate having a cured electrodeposition coating film.
  • the surface roughness of the obtained cured electrodeposition coating film was measured according to JIS-B0601, using an evaluation type surface roughness measuring machine (manufactured by Mitsutoyo, SURFTEST SJ-201P). (Ra) was measured. Measurement was performed 7 times using a sample with a 2.5 mm width cut-off (number of sections: 5), and an Ra value was obtained by an average of vertical erasure. It can be said that the smaller the Ra value, the less the unevenness and the better the coating film appearance.
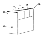
  • the throwing power was evaluated by a so-called four-sheet box method. That is, as shown in FIG. 1, four cold-rolled steel plates (JIS G3141 SPCC-SD) 11 to 14 treated with the zirconium chemical conversion treatment agent used in each of the examples or comparative examples were placed at an interval of 20 mm. Were prepared in parallel, and a box 10 was prepared in which the lower and bottom surfaces of both sides were sealed with an insulator such as cloth adhesive tape. The steel plates 11 to 13 other than the steel plate 14 are provided with a through hole 15 of 8 mm ⁇ at the bottom.
  • JIS G3141 SPCC-SD cold-rolled steel plates
  • the steel plates 11 to 13 other than the steel plate 14 are provided with a through hole 15 of 8 mm ⁇ at the bottom.
  • the paint 21 was stirred with a magnetic stirrer (not shown).
  • the steel plates 11 to 14 were electrically connected, and the counter electrode 22 was arranged so that the distance from the nearest steel plate 11 was 150 mm.
  • a voltage was applied with the steel plates 11 to 14 as cathodes and the counter electrode 22 as an anode, and electrodeposition coating was performed on the cold-rolled steel sheets subjected to the zirconium chemical conversion treatment.
  • the coating was performed by increasing the voltage to a voltage at which the film thickness of the coating film formed on the A surface of the steel plate 11 reached 15 ⁇ m within 30 seconds from the start of application, and then maintaining the voltage for 150 seconds in normal electrodeposition.
  • Gas pinhole generation evaluation A voltage was applied to an alloyed hot-dip galvanized steel sheet that had been subjected to zirconium chemical conversion treatment over 30 seconds, and reached 160 V and then held for 150 seconds. The electrodeposition coating film was deposited. The obtained electrodeposition coating film was washed with water and baked at 160 ° C. for 10 minutes. The obtained cured electrodeposition coating film was visually observed to determine the presence or absence of gas pinholes. The same coating was performed in increments of 10V up to 260V, and the presence or absence of gas pinholes was determined. It is evaluated that the higher the voltage at which the gas pinhole is generated, the less the gas pinhole is generated and the better performance.
  • Cold- rolled steel sheet subjected to low-temperature bake corrosion resistance evaluation zirconium conversion treatment is immersed in the electrodeposition coating composition, the voltage is increased over 30 seconds, and the voltage is applied under the condition that the voltage reaches 180 V and is held for 150 seconds, An uncured electrodeposition coating was deposited on the steel plate.
  • the steel sheet having an uncured electrodeposition coating film was allowed to stand at room temperature for 5 minutes, washed with water, and then heat-cured at 160 ° C. for 15 minutes to obtain an electrodeposition coating sheet having a cured electrodeposition coating film.
  • the cured electrodeposition coating film on the electrodeposition coating plate was scratched with a knife so as to reach the substrate, and this coating plate was immersed in 5% saline at 50 ° C. for 480 hours.
  • Evaluation criteria are as follows. Evaluation criteria A: The maximum width of rust or blister is less than 2.5mm from the cut part (both sides) B: The maximum width of rust or swelling is 2.5 mm or more and less than 5 mm from the cut part (both sides) C: The maximum width of rust or swelling is 5 mm or more and less than 10 mm from the cut part (both sides) D: The maximum width of rust or swelling is 10 mm or more and less than 15 mm from the cut part (both sides) E: The maximum width of rust or blister is 15mm or more from the cut part (both sides)
  • edge rust prevention property The evaluation of this test was carried out by coating not on the cold-rolled steel sheet but on an L-shaped spare blade (LB10K: manufactured by Olfa Corporation).
  • the L-type exclusive blade was degreased by being immersed in Surf Cleaner EC90 (manufactured by Nippon Paint Co., Ltd.) at 40 ° C. for 2 minutes. Next, it was immersed in Surfdyne EC3200 (made by Nippon Paint Co., Ltd.) at 40 ° C. for 90 seconds. After deionized water washing, it was immersed in an electrodeposition coating composition, and was electrodeposited under the same conditions as the above electrodeposition coating to form a cured electrodeposition coating film. Next, a salt spray test (35 ° C.
  • the electrodeposition coating composition of Comparative Example 1 is an example in which neither the zinc compound (A-1) nor the bismuth compound (A-2) is contained, and the MEQ (A) is less than 27. In this comparative example, the occurrence of unevenness in polishing and unevenness in drying was confirmed, and it was confirmed that the deposition of the electrodeposition coating film was uneven.
  • the electrodeposition coating composition of Comparative Example 1 also contained neither zinc compound (A-1) nor bismuth compound (A-2), so it was confirmed that the corrosion resistance and edge rust resistance were inferior.
  • the electrodeposition coating composition of Comparative Example 2 is an example in which MEQ (A) is less than 27. Also in this comparative example, occurrence of sharpening unevenness and drying unevenness was confirmed, and it was confirmed that deposition of the electrodeposition coating film was uneven. It was confirmed that the electrodeposition coating compositions of Comparative Examples 3 and 4 were significantly inferior in throwing power as compared to the examples. In these comparative examples, it was also confirmed that the 50 ° C. coating film viscosity was high and the gas pinhole generation suppressing performance was poor.
  • the electrodeposition coating composition of the present invention is characterized in that a cured electrodeposition coating film that exhibits excellent throwing power and has a good coating film appearance can be obtained.
  • the electrodeposition coating composition of the present invention further includes, for example, a zinc phosphate chemical conversion treatment agent, even in the case of electrodeposition coating on a coating having a thin chemical conversion treatment film formed by a zirconium chemical conversion treatment agent. Similar to the case of coating on the treated article, it has a feature that a cured electrodeposition coating film having a good coating film appearance can be obtained.
  • a cured electrodeposition coating film having a good coating film appearance and excellent corrosion resistance can be applied to an object to be coated using a zirconium chemical conversion treatment agent having a low environmental load. Can be formed.
  • the zirconium chemical conversion treatment agent also has an advantage that the generation amount of sludge (sludge) can be reduced.
  • the surface adjustment step is not required, and therefore there is an advantage that the chemical conversion treatment of the object to be coated can be performed with fewer steps.

Landscapes

  • Chemical & Material Sciences (AREA)
  • Organic Chemistry (AREA)
  • Life Sciences & Earth Sciences (AREA)
  • Chemical Kinetics & Catalysis (AREA)
  • Health & Medical Sciences (AREA)
  • Materials Engineering (AREA)
  • Engineering & Computer Science (AREA)
  • Wood Science & Technology (AREA)
  • Medicinal Chemistry (AREA)
  • Polymers & Plastics (AREA)
  • Molecular Biology (AREA)
  • Electrochemistry (AREA)
  • Metallurgy (AREA)
  • Paints Or Removers (AREA)
  • Epoxy Resins (AREA)
PCT/JP2015/055804 2014-03-25 2015-02-27 電着塗料組成物および電着塗装方法 Ceased WO2015146480A1 (ja)

Priority Applications (3)

Application Number Priority Date Filing Date Title
CN201580027759.1A CN106459670A (zh) 2014-03-25 2015-02-27 电沉积涂料组合物和电沉积涂布方法
US15/128,155 US11041079B2 (en) 2014-03-25 2015-02-27 Electrodeposition coating composition and electrodeposition coating method
EP15768905.0A EP3124564B1 (en) 2014-03-25 2015-02-27 Electrodeposition coating composition and electrodeposition coating method

Applications Claiming Priority (2)

Application Number Priority Date Filing Date Title
JP2014061243A JP6406842B2 (ja) 2014-03-25 2014-03-25 電着塗料組成物および電着塗装方法
JP2014-061243 2014-03-25

Publications (1)

Publication Number Publication Date
WO2015146480A1 true WO2015146480A1 (ja) 2015-10-01

Family

ID=54195011

Family Applications (1)

Application Number Title Priority Date Filing Date
PCT/JP2015/055804 Ceased WO2015146480A1 (ja) 2014-03-25 2015-02-27 電着塗料組成物および電着塗装方法

Country Status (5)

Country Link
US (1) US11041079B2 (enExample)
EP (1) EP3124564B1 (enExample)
JP (1) JP6406842B2 (enExample)
CN (1) CN106459670A (enExample)
WO (1) WO2015146480A1 (enExample)

Cited By (1)

* Cited by examiner, † Cited by third party
Publication number Priority date Publication date Assignee Title
KR20200120503A (ko) * 2019-04-11 2020-10-21 에스피티에스 테크놀러지스 리미티드 기판을 프로세싱하기 위한 장치 및 방법

Families Citing this family (7)

* Cited by examiner, † Cited by third party
Publication number Priority date Publication date Assignee Title
CN108027333B (zh) 2015-09-16 2021-06-25 Koa株式会社 氢传感器
JP5933088B1 (ja) * 2015-09-17 2016-06-08 神東アクサルタコーティングシステムズ株式会社 カチオン電着塗料組成物を被塗物に塗装するための方法
JP6718301B2 (ja) * 2016-05-11 2020-07-08 神東アクサルタコーティングシステムズ株式会社 ジルコニウム化成皮膜処理を施した被塗物にカチオン電着塗料組成物を塗装するための方法
KR101786346B1 (ko) 2016-05-20 2017-10-17 현대자동차주식회사 클래드강 코팅 방법 및 코팅액
JP6058191B1 (ja) * 2016-05-27 2017-01-11 日本ペイント・インダストリアルコ−ティングス株式会社 硬化電着塗膜の形成方法
RU2692370C1 (ru) * 2018-10-29 2019-06-24 Федеральное государственное бюджетное учреждение науки Институт химии твердого тела и механохимии Сибирского отделения Российской академии наук Способ получения висмут лактата
EP4095202A1 (en) * 2021-05-28 2022-11-30 Axalta Coating Systems GmbH Electrocoating composition

Citations (6)

* Cited by examiner, † Cited by third party
Publication number Priority date Publication date Assignee Title
JP2006348316A (ja) * 2005-06-13 2006-12-28 Nippon Paint Co Ltd 電着塗膜形成方法
JP2010037481A (ja) * 2008-08-07 2010-02-18 Nippon Paint Co Ltd カチオン電着塗料組成物およびカチオン電着塗装方法
JP2010095678A (ja) * 2008-10-20 2010-04-30 Nippon Paint Co Ltd カチオン電着塗料組成物および複層塗膜形成方法
WO2012153850A1 (ja) * 2011-05-12 2012-11-15 日本ペイント株式会社 狭いクリアランス部にまで塗装可能なカチオン電着塗料組成物及びそれを用いた電着塗膜形成方法
WO2013035765A1 (ja) * 2011-09-07 2013-03-14 日本ペイント株式会社 電着塗料組成物
JP2013056961A (ja) * 2011-09-07 2013-03-28 Nippon Paint Co Ltd 電着塗料組成物および化成処理を施していない被塗物に電着塗膜を形成する方法

Family Cites Families (11)

* Cited by examiner, † Cited by third party
Publication number Priority date Publication date Assignee Title
AT398987B (de) 1993-09-07 1995-02-27 Vianova Kunstharz Ag Verfahren zur herstellung von wismutsalze enthaltenden zubereitungen und deren verwendung als katalysatorkomponente in kathodisch abscheidbaren elektrotauchlacken
JP2001140097A (ja) * 1999-11-18 2001-05-22 Nippon Paint Co Ltd 複層電着塗膜およびこの塗膜を含む多層塗膜の形成方法
JP2001192611A (ja) * 2000-01-07 2001-07-17 Nippon Paint Co Ltd カチオン電着塗料組成物
JP4527944B2 (ja) 2003-03-06 2010-08-18 マツダ株式会社 無鉛性カチオン電着塗料組成物
CA2461067C (en) 2004-03-09 2009-08-18 Kansai Paint Co., Ltd. Coating film-forming method
JP2006249556A (ja) 2005-03-14 2006-09-21 Nippon Paint Co Ltd 電着塗膜形成方法
DE102006059123A1 (de) * 2005-12-27 2007-06-28 Kansai Paint Co., Ltd., Amagasaki Anstrichmittel für die Elektroabscheidung
JP2008037889A (ja) * 2006-08-01 2008-02-21 Nippon Paint Co Ltd カチオン電着塗料用電導度制御剤およびそれを用いるカチオン電着塗料の電気電導度調整方法
JP5634145B2 (ja) 2009-07-31 2014-12-03 関西ペイント株式会社 カチオン電着塗料組成物
JP5725757B2 (ja) * 2009-09-15 2015-05-27 関西ペイント株式会社 カチオン電着塗料組成物
JP5473983B2 (ja) * 2011-04-28 2014-04-16 トヨタ自動車株式会社 カチオン電着塗料組成物及び塗装物品

Patent Citations (6)

* Cited by examiner, † Cited by third party
Publication number Priority date Publication date Assignee Title
JP2006348316A (ja) * 2005-06-13 2006-12-28 Nippon Paint Co Ltd 電着塗膜形成方法
JP2010037481A (ja) * 2008-08-07 2010-02-18 Nippon Paint Co Ltd カチオン電着塗料組成物およびカチオン電着塗装方法
JP2010095678A (ja) * 2008-10-20 2010-04-30 Nippon Paint Co Ltd カチオン電着塗料組成物および複層塗膜形成方法
WO2012153850A1 (ja) * 2011-05-12 2012-11-15 日本ペイント株式会社 狭いクリアランス部にまで塗装可能なカチオン電着塗料組成物及びそれを用いた電着塗膜形成方法
WO2013035765A1 (ja) * 2011-09-07 2013-03-14 日本ペイント株式会社 電着塗料組成物
JP2013056961A (ja) * 2011-09-07 2013-03-28 Nippon Paint Co Ltd 電着塗料組成物および化成処理を施していない被塗物に電着塗膜を形成する方法

Non-Patent Citations (1)

* Cited by examiner, † Cited by third party
Title
See also references of EP3124564A4 *

Cited By (4)

* Cited by examiner, † Cited by third party
Publication number Priority date Publication date Assignee Title
KR20200120503A (ko) * 2019-04-11 2020-10-21 에스피티에스 테크놀러지스 리미티드 기판을 프로세싱하기 위한 장치 및 방법
JP2020180369A (ja) * 2019-04-11 2020-11-05 エスピーティーエス テクノロジーズ リミティド 基板処理装置及び方法
JP7630232B2 (ja) 2019-04-11 2025-02-17 エスピーティーエス テクノロジーズ リミティド 基板処理装置及び方法
KR102802743B1 (ko) 2019-04-11 2025-04-30 에스피티에스 테크놀러지스 리미티드 기판을 프로세싱하기 위한 장치 및 방법

Also Published As

Publication number Publication date
JP6406842B2 (ja) 2018-10-17
EP3124564A4 (en) 2017-10-25
EP3124564B1 (en) 2020-10-21
US20170158882A1 (en) 2017-06-08
EP3124564A1 (en) 2017-02-01
JP2015183106A (ja) 2015-10-22
US11041079B2 (en) 2021-06-22
CN106459670A (zh) 2017-02-22

Similar Documents

Publication Publication Date Title
JP6406842B2 (ja) 電着塗料組成物および電着塗装方法
JP6161243B2 (ja) 電着塗料組成物
JP2010095678A (ja) カチオン電着塗料組成物および複層塗膜形成方法
JP5809491B2 (ja) 電着塗料組成物および化成処理を施していない被塗物に電着塗膜を形成する方法
JP6933645B2 (ja) カチオン電着塗料組成物
WO2016143706A1 (ja) カチオン電着塗料組成物の調製方法
JP6172976B2 (ja) 電着塗料組成物
JP2009179859A (ja) 複層塗膜形成方法
JP4088371B2 (ja) カチオン電着塗料組成物
JP5750013B2 (ja) 電着塗料組成物および化成処理を施していない被塗物に電着塗膜を形成する方法
JP2024149621A (ja) カチオン電着塗料組成物
WO2018174134A1 (ja) カチオン電着塗料組成物
JP7587394B2 (ja) カチオン電着塗料組成物
JP7064291B2 (ja) カチオン電着塗料組成物
WO2017051901A1 (ja) カチオン電着塗料組成物の調製方法
JP7333198B2 (ja) カチオン電着塗料組成物の調製方法
JP2010037481A (ja) カチオン電着塗料組成物およびカチオン電着塗装方法
JP5996338B2 (ja) 電着塗料組成物
JP7744882B2 (ja) カチオン電着塗料組成物、カチオン電着塗膜および塗装方法
JP6085499B2 (ja) 電着塗装方法
JP6615552B2 (ja) カチオン電着塗料組成物
JP2020020009A (ja) カチオン性電着塗料の塗装方法
JP6718301B2 (ja) ジルコニウム化成皮膜処理を施した被塗物にカチオン電着塗料組成物を塗装するための方法
JP2016033238A (ja) 電着塗装方法
JP2008069228A (ja) 電着塗料及び電着塗膜

Legal Events

Date Code Title Description
121 Ep: the epo has been informed by wipo that ep was designated in this application

Ref document number: 15768905

Country of ref document: EP

Kind code of ref document: A1

WWE Wipo information: entry into national phase

Ref document number: 15128155

Country of ref document: US

NENP Non-entry into the national phase

Ref country code: DE

REEP Request for entry into the european phase

Ref document number: 2015768905

Country of ref document: EP

WWE Wipo information: entry into national phase

Ref document number: 2015768905

Country of ref document: EP