WO2015141451A1 - コネクタ - Google Patents

コネクタ Download PDF

Info

Publication number
WO2015141451A1
WO2015141451A1 PCT/JP2015/056032 JP2015056032W WO2015141451A1 WO 2015141451 A1 WO2015141451 A1 WO 2015141451A1 JP 2015056032 W JP2015056032 W JP 2015056032W WO 2015141451 A1 WO2015141451 A1 WO 2015141451A1
Authority
WO
WIPO (PCT)
Prior art keywords
connector
shell
contact
folded
rear direction
Prior art date
Legal status (The legal status is an assumption and is not a legal conclusion. Google has not performed a legal analysis and makes no representation as to the accuracy of the status listed.)
Ceased
Application number
PCT/JP2015/056032
Other languages
English (en)
French (fr)
Japanese (ja)
Inventor
孝芳 小宅
Current Assignee (The listed assignees may be inaccurate. Google has not performed a legal analysis and makes no representation or warranty as to the accuracy of the list.)
Japan Aviation Electronics Industry Ltd
Original Assignee
Japan Aviation Electronics Industry Ltd
Priority date (The priority date is an assumption and is not a legal conclusion. Google has not performed a legal analysis and makes no representation as to the accuracy of the date listed.)
Filing date
Publication date
Application filed by Japan Aviation Electronics Industry Ltd filed Critical Japan Aviation Electronics Industry Ltd
Priority to CN201580013839.1A priority Critical patent/CN106104945B/zh
Publication of WO2015141451A1 publication Critical patent/WO2015141451A1/ja
Anticipated expiration legal-status Critical
Ceased legal-status Critical Current

Links

Images

Classifications

    • HELECTRICITY
    • H01ELECTRIC ELEMENTS
    • H01RELECTRICALLY-CONDUCTIVE CONNECTIONS; STRUCTURAL ASSOCIATIONS OF A PLURALITY OF MUTUALLY-INSULATED ELECTRICAL CONNECTING ELEMENTS; COUPLING DEVICES; CURRENT COLLECTORS
    • H01R13/00Details of coupling devices of the kinds covered by groups H01R12/70 or H01R24/00 - H01R33/00
    • H01R13/648Protective earth or shield arrangements on coupling devices, e.g. anti-static shielding  
    • H01R13/658High frequency shielding arrangements, e.g. against EMI [Electro-Magnetic Interference] or EMP [Electro-Magnetic Pulse]
    • H01R13/6581Shield structure
    • H01R13/6582Shield structure with resilient means for engaging mating connector
    • HELECTRICITY
    • H01ELECTRIC ELEMENTS
    • H01RELECTRICALLY-CONDUCTIVE CONNECTIONS; STRUCTURAL ASSOCIATIONS OF A PLURALITY OF MUTUALLY-INSULATED ELECTRICAL CONNECTING ELEMENTS; COUPLING DEVICES; CURRENT COLLECTORS
    • H01R12/00Structural associations of a plurality of mutually-insulated electrical connecting elements, specially adapted for printed circuits, e.g. printed circuit boards [PCB], flat or ribbon cables, or like generally planar structures, e.g. terminal strips, terminal blocks; Coupling devices specially adapted for printed circuits, flat or ribbon cables, or like generally planar structures; Terminals specially adapted for contact with, or insertion into, printed circuits, flat or ribbon cables, or like generally planar structures
    • H01R12/70Coupling devices
    • H01R12/71Coupling devices for rigid printing circuits or like structures
    • H01R12/72Coupling devices for rigid printing circuits or like structures coupling with the edge of the rigid printed circuits or like structures
    • H01R12/721Coupling devices for rigid printing circuits or like structures coupling with the edge of the rigid printed circuits or like structures cooperating directly with the edge of the rigid printed circuits
    • HELECTRICITY
    • H01ELECTRIC ELEMENTS
    • H01RELECTRICALLY-CONDUCTIVE CONNECTIONS; STRUCTURAL ASSOCIATIONS OF A PLURALITY OF MUTUALLY-INSULATED ELECTRICAL CONNECTING ELEMENTS; COUPLING DEVICES; CURRENT COLLECTORS
    • H01R24/00Two-part coupling devices, or either of their cooperating parts, characterised by their overall structure
    • H01R24/60Contacts spaced along planar side wall transverse to longitudinal axis of engagement

Definitions

  • the present invention relates to a connector provided with a shell having a shell contact portion that contacts a part of the mating connector.
  • a connector (not shown) disclosed in Patent Document 1 includes this type of shell.
  • the shell 900 of Patent Document 1 includes a main portion 910 having a front end 912, a folded portion 920 folded from the front end 912, and a spring portion 930 extending from the folded portion 920.
  • the spring portion 930 is provided with a contact 932 that contacts a mating shell (not shown).
  • the position of the contact 932 is too far from the front end 912 of the shell 900. For this reason, the contact (not shown) of the connector (not shown) and the contact (not shown) of the mating connector (not shown) before the contact 932 is connected to the mating shell (not shown). May connect to each other.
  • an object of the present invention is to provide a connector having a structure in which the position of the contact is close to the front end of the shell.
  • the connector includes a contact, a holding member that holds the contact, a shell, and a front protective member that is separate from the holding member.
  • the shell has a shell main portion and a shell contact portion.
  • the shell main portion at least partially covers the holding member.
  • the shell contact portion is integrally formed with the shell main portion.
  • the shell main part has a front end.
  • the front end of the shell main portion includes a raised end portion.
  • the shell contact portion has a folded portion and a spring portion.
  • the folded portion protrudes forward in the front-rear direction from the starting end portion of the shell, and has a U-shaped cross section in a plane including the front-rear direction.
  • the spring part includes a first part extending backward from the folded part, a second part extending forward, and a connecting part that connects the first part and the second part to each other. Yes.
  • the second part is provided with a contact point that contacts a part of the mating connector.
  • the front protection member is attached to the shell and has at least a protection part positioned in front of the folded part.
  • the spring part according to the present invention has a first part extending backward from the folded part and a second part extending forward. Accordingly, the path length between the folded portion and the contact can be increased while bringing the contact close to the front end of the shell.
  • the protection part according to the present invention is located in front of the folded part and protects the folded part. Thereby, it is possible to prevent the operator from hooking a finger or the like on the folded portion.
  • FIG. 6 is a cross-sectional view showing the shell and the front protection member of FIG. 5 along the line VI--VI.
  • FIG. 4 is an enlarged perspective view showing a front end of the connector shell of FIG. 3 and its vicinity.
  • FIG. 8 is an enlarged perspective view showing the shell of FIG. FIG. 8 is another enlarged perspective view showing the shell of FIG. 10 is a perspective view showing a part of a shell of Patent Document 1.
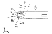
  • the connector 1 according to the embodiment of the present invention is connected to a cable (not shown) through a paddle board 5. Further, the connector 1 is a mating connector (not shown) inserted at least partially from the ⁇ X side (front side) to the + X side (rear side) (backward) in the X direction (front-rear direction). And is to be fitted.
  • the illustrated connector 1 includes a plurality of contacts 10 made of a conductor, a holding member 20 made of an insulator, a ground member 30 made of a conductor, a metal shell 40, and a front protective member 90 made of an insulator. And.
  • the holding member 20 includes a main member 22 and two sub members 24. Each of the sub members 24 holds one row of contacts 10.
  • the main member 22 accommodates the ground member 30 and the two sub members 24 together.
  • the ground member 30 is sandwiched between two sub members 24 in the main member 22.
  • the shell 40 is formed by pressing a single metal plate and then bending the pressed metal plate.
  • the shell 40 has a shell main portion 50 and a shell contact portion 60.
  • the shell main portion 50 covers the holding member 20.
  • the shell contact portion 60 is formed integrally with the shell main portion 50.
  • the shell main portion 50 has a substantially cylindrical shape extending in the X direction.
  • the shell main portion 50 has a shape that is long in the Y direction (pitch direction), that is, a shape that is crushed in the Z direction (vertical direction).
  • the front end 52 ( ⁇ X side end portion) of the shell main portion 50 includes a plurality of starting end portions 54 and a plurality of adjacent portions 56.
  • the adjacent portion 56 is located adjacent to the starting end portion 54.
  • the adjacent portion 56 has a size larger than that of the starting end portion 54 in the YZ plane orthogonal to the X direction.
  • the starting end portion 54 and the adjacent portion 56 are divided into two sets.
  • One set is located on the + Z side (upper side) of the shell main portion 50, and the other set is located on the ⁇ Z side (lower side) of the shell main portion 50.
  • the group located on the + Z side has two starting end portions 54 and three adjacent portions 56.
  • the group located on the ⁇ Z side has two starting end portions 54 and three adjacent portions 56.
  • the shell contact portion 60 of the present embodiment is composed of two parts, a + Z side (upper side) part and a ⁇ Z side (lower side) part. Each of the two portions extends from the front end 52 of the shell main portion 50. Specifically, each of the two portions of the shell contact portion 60 includes two folded portions 62 and a spring portion 70.
  • each of the folded-back portions 62 has a U-shaped cross section in the XZ plane. Each of the folded portions 62 protrudes in the ⁇ X direction (forward) from the starting end portion 54 of the shell main portion 50.
  • Each of the spring parts 70 has two first parts 72, three second parts 74, and a connecting part 76 that connects the first part 72 and the second part 74 to each other in the Y direction.
  • Each of the first portions 72 extends from the folded portion 62 in the + X direction (toward the rear).
  • the illustrated first portion 72 has a relatively small and elongated plate shape.
  • the connecting portion 76 extends from the + X side end (rear end) of the first portion 72 in the Y direction, and has a relatively large and slender plate shape.
  • Each of the second portions 74 extends from the connecting portion 76 in the ⁇ X direction (toward the front).
  • the plurality of second parts 74 included in the common spring part 70 are spaced apart from each other in the Y direction.
  • the second portion 74 and the first portion 72 are located at different positions in the Y direction.
  • Each of the second parts 74 is formed by bending a plate wider than the first part 72 so as to have a V-shape.
  • the second part 74 is provided with a contact 80 and an invitation part 82.
  • the contact 80 is the apex of the second part 74 on the inner side in the Z direction.
  • the contact 80 is in contact with a part of a counterpart connector (not shown) (specifically, a counterpart ground portion, a counterpart shield portion, a counterpart shell, etc.).
  • the invitation portion 82 is located on the ⁇ X side (front) of the contact 80.
  • the invitation portion 82 has a surface that intersects the X direction.
  • the second part 74 corresponds to the adjacent part 56.
  • the second portion 74 can be made relatively long. If the adjacent part 56 is positioned behind the start part 54, the second part 74 can be made longer. However, in this case, a large opening may be formed at the front end of the shell 40. Therefore, as in the present embodiment, the position of the adjacent portion 56 in the X direction is preferably the same as the position of the starting end portion 54 in the X direction.
  • the front end 84 of the second portion 74 (that is, the front end of the invitation portion 82) is located on the ⁇ X side (forward) of the start end portion 54.
  • the contact 80 is located relatively forward.
  • the entire spring portion 70 functions as a support spring that elastically supports the contact 80.
  • the spring length of the support spring is determined by the path length from the folded portion 62 to the contact 80. Compared with a spring that simply extends toward the + X side of the shell 40, the spring portion 70 of the present embodiment can obtain a sufficient spring length while the contact point 80 is positioned relatively on the front side.
  • a plurality of second parts 74 are spaced apart from each other in the Y direction.
  • the plurality of contacts 80 are located at different positions in the Y direction. Therefore, the contact 80 can be reliably brought into contact with the mating connector (not shown) without being affected by variations in the shape of the mating connector (not shown). In other words, the contact 80 according to the present embodiment exhibits high contact reliability.
  • each of the contacts 80 has a size larger than that of the folded portion 62 in the Y direction. Therefore, the shell 40 can contact a ground portion (not shown) of a mating connector (not shown) with a relatively large area.
  • the front protective member 90 forms a closed circuit in the YZ plane orthogonal to the X direction.
  • the front protection member 90 is closed in the YZ plane.
  • the front protection member 90 has a flat annular shape when viewed from the ⁇ X side (front side).
  • the front protection member 90 has a flat front end 92.
  • the front end 92 of the front protective member 90 of the present embodiment forms a surface parallel to the YZ plane.
  • the front protective member 90 includes a plurality of protection portions 94 and a plurality of buckling prevention portions 96.
  • the protection part 94 is located on the ⁇ X side (front) of the folded part 62, respectively.
  • the protective portion 94 of the present embodiment completely hides the folded portion 62 when the connector 1 is viewed from the ⁇ X side (front).
  • the protection part 94 of the front protection member 90 protects the folded part 62 as described above. For this reason, it can prevent that the folding
  • the buckling prevention portions 96 are provided corresponding to the second portions 74, respectively. More specifically, as shown in FIG. 6, the buckling prevention portion 96 is located on the ⁇ X side (front) of the front end 84 of the second portion 74 (that is, the front end of the invitation portion 82). As can be understood from FIGS. 2, 4, and 6, the buckling prevention portion 96 according to the present embodiment has the front end 84 of the second portion 74 when the connector 1 is viewed from the ⁇ X side (front). It is completely hidden. Therefore, when the connector 1 and the mating connector (not shown) are fitted, a part of the mating connector (not shown) hits the front end 84 of the second portion 74 and the second portion 74 buckles. Can be prevented.
  • the holding member 20 of the above-described embodiment is divided into a total of three members including the main member 22 and the two sub members 24, the present invention is not limited to this.
  • the holding member 20 may be composed of a single member.
  • the connector 1 of the above-described embodiment includes the ground member 30, the present invention is not limited to this.
  • the connector 1 may not include the ground member 30.
  • the shell contact portion 60 of the above-described embodiment is divided into an upper part and a lower part, the present invention is not limited to this.
  • the shell contact part 60 may have only the upper part.
  • the upper portion may be pressed against the lower side of the shell main portion 50.
  • the shell contact portion 60 includes the plurality of folded portions 62 and the plurality of contacts 80
  • the present invention is not limited to this.
  • the number of the folded portions 62 and the number of the contacts 80 may each be one.
  • it is preferable that the number of the folded portions 62 and the number of the contacts 80 are each 2 or more.
  • first part 72 and the second part 74 in the above-described embodiment are located at different positions in the Y direction, the present invention is not limited to this.
  • the first part 72 and the second part 74 may be provided so as to overlap each other in the Z direction.
  • the first portion 72 and the second portion 74 are positioned at different positions in the Y direction as in this embodiment, so that the relatively low profile is achieved. It is preferable to constitute a spring.
  • the front protection member 90 of the above-described embodiment forms a closed circuit
  • the present invention is not limited to this.
  • the front protection member 90 may be divided into two members. These two members may protect the + Z side (upper side) portion of the shell contact portion 60 and the ⁇ Z side (lower side) portion of the shell contact portion 60, respectively.
  • the front protection member 90 forms a closed circuit.
  • the front protective member 90 of the above-described embodiment has the flat front end 92
  • the present invention is not limited to this.
  • the front protection member 90 may have some unevenness.
  • the front end 92 is preferably flat.
  • the protection part 94 of the above-described embodiment completely hides the folded part 62 when the connector 1 is viewed from the ⁇ X side (front)
  • the present invention is not limited to this.
  • the protective part 94 is positioned on the ⁇ X side (front) of the folded part 62 to prevent the folded part 62 from being caught, the folded part 62 is not seen when the connector 1 is viewed from the ⁇ X side (front). It may be partially visible.
  • the present invention is based on Japanese Patent Application No. 2014-054780 filed with the Japan Patent Office on March 18, 2014, the contents of which are incorporated herein by reference.

Landscapes

  • Details Of Connecting Devices For Male And Female Coupling (AREA)
PCT/JP2015/056032 2014-03-18 2015-03-02 コネクタ Ceased WO2015141451A1 (ja)

Priority Applications (1)

Application Number Priority Date Filing Date Title
CN201580013839.1A CN106104945B (zh) 2014-03-18 2015-03-02 连接器

Applications Claiming Priority (2)

Application Number Priority Date Filing Date Title
JP2014054780A JP6247572B2 (ja) 2014-03-18 2014-03-18 コネクタ
JP2014-054780 2014-03-18

Publications (1)

Publication Number Publication Date
WO2015141451A1 true WO2015141451A1 (ja) 2015-09-24

Family

ID=54144426

Family Applications (1)

Application Number Title Priority Date Filing Date
PCT/JP2015/056032 Ceased WO2015141451A1 (ja) 2014-03-18 2015-03-02 コネクタ

Country Status (4)

Country Link
JP (1) JP6247572B2 (enExample)
CN (1) CN106104945B (enExample)
TW (1) TWI525927B (enExample)
WO (1) WO2015141451A1 (enExample)

Families Citing this family (3)

* Cited by examiner, † Cited by third party
Publication number Priority date Publication date Assignee Title
US9698537B2 (en) 2014-06-02 2017-07-04 Japan Aviation Electronics Industry, Limited Connector
CN205944586U (zh) 2016-07-26 2017-02-08 番禺得意精密电子工业有限公司 电连接器组件
CN112753137B (zh) * 2018-10-09 2024-07-05 申泰公司 缆线连接器系统

Citations (6)

* Cited by examiner, † Cited by third party
Publication number Priority date Publication date Assignee Title
JPH08130052A (ja) * 1994-10-28 1996-05-21 Smk Corp 角型コネクタのソケット
JP2002164133A (ja) * 2000-11-28 2002-06-07 Jst Mfg Co Ltd モジュラジャック
JP3112259U (ja) * 2004-08-19 2005-08-04 鴻海精密工業股▲ふん▼有限公司 電気コネクタ
JP2007157378A (ja) * 2005-12-01 2007-06-21 Molex Inc コネクタ用シールドケース
US20090247014A1 (en) * 2008-03-25 2009-10-01 Hon Hai Precision Ind. Co., Ltd. Electrical connector having a shell with a portion retained in an insulative housing
JP3173526U (ja) * 2011-08-30 2012-02-09 東莞宇球電子有限公司 Lvdsコネクタ

Family Cites Families (3)

* Cited by examiner, † Cited by third party
Publication number Priority date Publication date Assignee Title
US5057028A (en) * 1986-11-18 1991-10-15 E. I. Du Pont De Nemours And Company Receptacle having a nosepeice to receive cantilevered spring contacts
US20130048367A1 (en) * 2011-08-22 2013-02-28 Zlatan Ljubijankic Emi shielding members for connector cage
US8684769B2 (en) * 2012-05-24 2014-04-01 Hon Hai Precision Industry Co., Ltd. Electrical connector having terminal portions in specific arrangement and a grounding plate for excellent high-frequency characteristics

Patent Citations (6)

* Cited by examiner, † Cited by third party
Publication number Priority date Publication date Assignee Title
JPH08130052A (ja) * 1994-10-28 1996-05-21 Smk Corp 角型コネクタのソケット
JP2002164133A (ja) * 2000-11-28 2002-06-07 Jst Mfg Co Ltd モジュラジャック
JP3112259U (ja) * 2004-08-19 2005-08-04 鴻海精密工業股▲ふん▼有限公司 電気コネクタ
JP2007157378A (ja) * 2005-12-01 2007-06-21 Molex Inc コネクタ用シールドケース
US20090247014A1 (en) * 2008-03-25 2009-10-01 Hon Hai Precision Ind. Co., Ltd. Electrical connector having a shell with a portion retained in an insulative housing
JP3173526U (ja) * 2011-08-30 2012-02-09 東莞宇球電子有限公司 Lvdsコネクタ

Also Published As

Publication number Publication date
CN106104945A (zh) 2016-11-09
TW201547113A (zh) 2015-12-16
JP2015176853A (ja) 2015-10-05
JP6247572B2 (ja) 2017-12-13
CN106104945B (zh) 2018-10-02
TWI525927B (zh) 2016-03-11

Similar Documents

Publication Publication Date Title
US9548553B2 (en) Terminal with front end protection
JP6265857B2 (ja) コネクタ及びコネクタ組立体
KR101226382B1 (ko) 단자 피팅
KR101797951B1 (ko) 커넥터
JP2011222263A (ja) 端子金具の接続構造
JP5454447B2 (ja) コネクタ
US9419385B2 (en) Cable connector assembly with improved shell
WO2015186491A1 (ja) コネクタ
RU2016132579A (ru) Электрический соединитель с гарантией положения клемм
JP2017084625A5 (enExample)
JP2019067726A5 (enExample)
WO2015141451A1 (ja) コネクタ
JP6776085B2 (ja) コネクタ
CN204633052U (zh) 电连接器及其线缆组件
US9595770B2 (en) Terminal fitting
JP2016018595A5 (enExample)
US10263355B2 (en) Female terminal having a projection provided on a lower edge of a front covering wall to a position to overlap a bottom wall
US8979585B2 (en) Connector
US8568170B2 (en) Electrical connector
JP2015176853A5 (enExample)
JP4769738B2 (ja) コネクタ
US20140256181A1 (en) Universal serial bus connector
JP2017091717A (ja) コネクタ
JP7222694B2 (ja) コンタクトおよびコネクタ
JP5910369B2 (ja) コネクタ

Legal Events

Date Code Title Description
121 Ep: the epo has been informed by wipo that ep was designated in this application

Ref document number: 15764664

Country of ref document: EP

Kind code of ref document: A1

NENP Non-entry into the national phase

Ref country code: DE

122 Ep: pct application non-entry in european phase

Ref document number: 15764664

Country of ref document: EP

Kind code of ref document: A1