WO2015140847A1 - シート製造装置およびシートの製造方法 - Google Patents

シート製造装置およびシートの製造方法 Download PDF

Info

Publication number
WO2015140847A1
WO2015140847A1 PCT/JP2014/004951 JP2014004951W WO2015140847A1 WO 2015140847 A1 WO2015140847 A1 WO 2015140847A1 JP 2014004951 W JP2014004951 W JP 2014004951W WO 2015140847 A1 WO2015140847 A1 WO 2015140847A1
Authority
WO
WIPO (PCT)
Prior art keywords
unit
sieve
sieving
defibrated material
speed
Prior art date
Legal status (The legal status is an assumption and is not a legal conclusion. Google has not performed a legal analysis and makes no representation as to the accuracy of the status listed.)
Ceased
Application number
PCT/JP2014/004951
Other languages
English (en)
French (fr)
Japanese (ja)
Inventor
裕生 小口
芳信 門別
中村 昌英
Current Assignee (The listed assignees may be inaccurate. Google has not performed a legal analysis and makes no representation or warranty as to the accuracy of the list.)
Seiko Epson Corp
Original Assignee
Seiko Epson Corp
Priority date (The priority date is an assumption and is not a legal conclusion. Google has not performed a legal analysis and makes no representation as to the accuracy of the date listed.)
Filing date
Publication date
Application filed by Seiko Epson Corp filed Critical Seiko Epson Corp
Priority to EP14886133.9A priority Critical patent/EP3121322B1/en
Priority to CN201480077297.XA priority patent/CN106103825B/zh
Priority to US15/115,312 priority patent/US10647020B2/en
Publication of WO2015140847A1 publication Critical patent/WO2015140847A1/ja
Anticipated expiration legal-status Critical
Ceased legal-status Critical Current

Links

Images

Classifications

    • BPERFORMING OPERATIONS; TRANSPORTING
    • B27WORKING OR PRESERVING WOOD OR SIMILAR MATERIAL; NAILING OR STAPLING MACHINES IN GENERAL
    • B27NMANUFACTURE BY DRY PROCESSES OF ARTICLES, WITH OR WITHOUT ORGANIC BINDING AGENTS, MADE FROM PARTICLES OR FIBRES CONSISTING OF WOOD OR OTHER LIGNOCELLULOSIC OR LIKE ORGANIC MATERIAL
    • B27N3/00Manufacture of substantially flat articles, e.g. boards, from particles or fibres
    • B27N3/007Manufacture of substantially flat articles, e.g. boards, from particles or fibres and at least partly composed of recycled material
    • BPERFORMING OPERATIONS; TRANSPORTING
    • B07SEPARATING SOLIDS FROM SOLIDS; SORTING
    • B07BSEPARATING SOLIDS FROM SOLIDS BY SIEVING, SCREENING, SIFTING OR BY USING GAS CURRENTS; SEPARATING BY OTHER DRY METHODS APPLICABLE TO BULK MATERIAL, e.g. LOOSE ARTICLES FIT TO BE HANDLED LIKE BULK MATERIAL
    • B07B1/00Sieving, screening, sifting, or sorting solid materials using networks, gratings, grids, or the like
    • B07B1/18Drum screens
    • B07B1/22Revolving drums
    • BPERFORMING OPERATIONS; TRANSPORTING
    • B07SEPARATING SOLIDS FROM SOLIDS; SORTING
    • B07BSEPARATING SOLIDS FROM SOLIDS BY SIEVING, SCREENING, SIFTING OR BY USING GAS CURRENTS; SEPARATING BY OTHER DRY METHODS APPLICABLE TO BULK MATERIAL, e.g. LOOSE ARTICLES FIT TO BE HANDLED LIKE BULK MATERIAL
    • B07B13/00Grading or sorting solid materials by dry methods, not otherwise provided for; Sorting articles otherwise than by indirectly controlled devices
    • B07B13/14Details or accessories
    • B07B13/16Feed or discharge arrangements
    • BPERFORMING OPERATIONS; TRANSPORTING
    • B07SEPARATING SOLIDS FROM SOLIDS; SORTING
    • B07BSEPARATING SOLIDS FROM SOLIDS BY SIEVING, SCREENING, SIFTING OR BY USING GAS CURRENTS; SEPARATING BY OTHER DRY METHODS APPLICABLE TO BULK MATERIAL, e.g. LOOSE ARTICLES FIT TO BE HANDLED LIKE BULK MATERIAL
    • B07B13/00Grading or sorting solid materials by dry methods, not otherwise provided for; Sorting articles otherwise than by indirectly controlled devices
    • B07B13/14Details or accessories
    • B07B13/18Control
    • BPERFORMING OPERATIONS; TRANSPORTING
    • B07SEPARATING SOLIDS FROM SOLIDS; SORTING
    • B07BSEPARATING SOLIDS FROM SOLIDS BY SIEVING, SCREENING, SIFTING OR BY USING GAS CURRENTS; SEPARATING BY OTHER DRY METHODS APPLICABLE TO BULK MATERIAL, e.g. LOOSE ARTICLES FIT TO BE HANDLED LIKE BULK MATERIAL
    • B07B9/00Combinations of apparatus for screening or sifting or for separating solids from solids using gas currents; General arrangement of plant, e.g. flow sheets
    • B07B9/02Combinations of similar or different apparatus for separating solids from solids using gas currents
    • BPERFORMING OPERATIONS; TRANSPORTING
    • B27WORKING OR PRESERVING WOOD OR SIMILAR MATERIAL; NAILING OR STAPLING MACHINES IN GENERAL
    • B27NMANUFACTURE BY DRY PROCESSES OF ARTICLES, WITH OR WITHOUT ORGANIC BINDING AGENTS, MADE FROM PARTICLES OR FIBRES CONSISTING OF WOOD OR OTHER LIGNOCELLULOSIC OR LIKE ORGANIC MATERIAL
    • B27N3/00Manufacture of substantially flat articles, e.g. boards, from particles or fibres
    • B27N3/04Manufacture of substantially flat articles, e.g. boards, from particles or fibres from fibres
    • BPERFORMING OPERATIONS; TRANSPORTING
    • B27WORKING OR PRESERVING WOOD OR SIMILAR MATERIAL; NAILING OR STAPLING MACHINES IN GENERAL
    • B27NMANUFACTURE BY DRY PROCESSES OF ARTICLES, WITH OR WITHOUT ORGANIC BINDING AGENTS, MADE FROM PARTICLES OR FIBRES CONSISTING OF WOOD OR OTHER LIGNOCELLULOSIC OR LIKE ORGANIC MATERIAL
    • B27N3/00Manufacture of substantially flat articles, e.g. boards, from particles or fibres

Definitions

  • the present invention relates to a sheet manufacturing apparatus and a sheet manufacturing method.
  • a so-called wet method is employed in which a raw material containing fibers is poured into water, disaggregated mainly by mechanical action, and re-made (for example, see Patent Document 1).
  • a wet type sheet manufacturing apparatus requires a large amount of water, and the apparatus becomes large. Furthermore, it takes time and effort to maintain the water treatment facility, and energy related to the drying process increases.
  • Patent Document 2 a dry-type sheet manufacturing apparatus that uses as little water as possible has been proposed (see, for example, Patent Document 2).
  • Patent Document 2 a piece of paper is defibrated in a dry defibrating machine, and the defibrated material (fibers) is passed through a small hole screen on the surface of the forming drum and deposited on a mesh belt to form a paper. It is described.
  • Patent Document 1 describes that in the operation stop mode, the supply of a new paper material into the head box is stopped, and after the entire amount of the paper material remaining in the head box is made, the operation is stopped.
  • Patent Document 2 does not describe any control at the time of operation stop, but when the technical matter described in Patent Document 1 is applied to the dry sheet manufacturing apparatus exemplified in Patent Document 2, After all the materials are discharged, the operation will be stopped. In this case, when the apparatus is stopped, it takes time until all the material in the forming drum is discharged, and when the apparatus is activated, it takes time to accumulate the material in the forming drum and stably discharge the material.
  • the present invention has been made to solve at least a part of the above-described problems, and can be realized as the following aspects or application examples.
  • One aspect of the sheet manufacturing apparatus introduces at least a part of a defibrated material that has been defibrated, moves at a first speed, and then defibrated material from a plurality of openings provided in a body portion
  • a sheet production apparatus comprising: a sieve part that passes through the sieve part; and a molding part that molds a sheet using the passing material that has passed through the opening of the sieve part, wherein the sheet is introduced into the sieve part.
  • the sieving portion is stopped in a state where the defibrated material is stored.
  • the state in which the defibrated material is stored inside the sieve part means that when the sieve part is moved in that state, the defibrated substance inside the sieve part passes through the opening. It is said that defibrated material remains inside.
  • the defibrated material is stored inside the sieving portion by stopping the movement of the main body portion in a state where the defibrated material is introduced into the sieving portion. It is good also as a state.
  • the main body portion in a state where the defibrated material is introduced into the sieve portion, the main body portion is moved at a speed lower than the first speed, so that the inside of the sieve portion.
  • the defibrated material may be stored.
  • the amount of the defibrated material that passes through the opening is reduced by making the moving speed of the main body portion lower than the first speed in a state where the defibrated material is introduced into the sieve portion.
  • the defibrated material can be stored inside the sieving portion.
  • the main body part in a state where the defibrated material is introduced into the sieve part, the main body part is moved at a speed higher than the first speed, and the defibrated part is placed inside the sieve part.
  • the movement of the main body may be stopped in a state where the fines are stored.
  • the defibration that is introduced before the sieving portion is stopped by making the moving speed of the main body portion higher than the first speed while the defibrated material is being introduced into the sieving portion. Even when the amount of material decreases, the amount of defibrated material that passes through the opening can be maintained, and the quality of the manufactured sheet can be maintained. In addition, when the defibrated material is stored inside the sieve part (before all of the defibrated material inside the sieve part passes through the opening), the time until the device stops is stopped. Can be shortened.
  • At least a part of the defibrated material that has been defibrated is introduced into a sieve part, and the body part of the sieve part is moved at a first speed so as to move the body part.
  • a method of manufacturing a sheet comprising: passing the defibrated material from a plurality of openings provided in the sheet; and forming a sheet using the passing material that has passed through the opening of the sieving portion. The sieve part is stopped in a state where the introduced defibrated material is stored inside the sieve part.
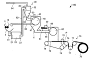
  • FIG. 1 is a diagram schematically illustrating a sheet manufacturing apparatus 100 according to the present embodiment.
  • the sheet manufacturing apparatus 100 includes a supply unit 10, a defibrating unit 20, a classification unit 30, a first sieve unit 40, a resin supply unit 50, a second sieve unit 60, and molding. Part 70.
  • the supply unit 10 (crushing unit) supplies raw materials such as pulp sheets and input sheets (for example, A4-sized waste paper) to the defibrating unit 20 while cutting them in the air into fine pieces.
  • the shape and size of the strip are not particularly limited, for example, it is a strip of several cm square.
  • the supply unit 10 has a crushing blade 11, and can feed and supply the input raw material to the downstream by the rotating crushing blade 11 while cutting.
  • the supply part 10 has a function as a crushing part which cuts a raw material (material containing a fiber) and a function as a supply part which supplies a raw material, only the function as a supply part may be sufficient. In addition, you may have a crushing part and a supply part separately.
  • a sheet feeding unit that supplies the raw material in a sheet form may be provided separately.
  • the strips cut by the supply unit 10 are received by the hopper 15 and then conveyed to the defibrating unit 20 via the first conveyance unit 81.
  • the first transport unit 81 communicates with the introduction port 21 of the defibrating unit 20.
  • the shapes of the first transport unit 81 and second to sixth transport units 82 to 86 to be described later are, for example, tubular.
  • the defibrating unit 20 performs a defibrating process on the fine pieces (defibrated material).
  • the defibrating unit 20 generates fibers that have been unraveled into a fibrous shape by defibrating the strip.
  • defibration treatment refers to unraveling a strip formed by binding a plurality of fibers into individual fibers. What has passed through the defibrating unit 20 is referred to as “defibrated material”.
  • the “defibrated material” includes resin particles separated from the fibers when unraveling the fibers (resin for binding multiple fibers), ink, toner, and anti-bleeding material. In some cases, the ink particles may be included.
  • the “defibrated material” is at least a part of what has passed through the defibrating unit 20, and what is added after passing through the defibrating unit 20 may be mixed. Further, the “defibrated material” refers to what is defibrated by the defibrating unit 20.
  • the defibrating unit 20 separates resin particles and ink particles such as ink, toner, and a bleeding prevention material adhering to the strip from the fiber. Resin particles and ink particles are discharged from the discharge port 22 together with the defibrated material. The defibrating unit 20 performs a defibrating process on the strip introduced from the introduction port 21 with a rotary blade. The defibrating unit 20 performs defibration in a dry manner in the air.
  • the defibrating unit 20 preferably has a mechanism for generating an air flow.
  • the defibrating unit 20 can suck the fine pieces together with the airflow from the introduction port 21 by the airflow generated by itself, perform the defibrating process, and convey the strip to the discharge port 22.
  • the defibrated material discharged from the discharge port 22 is introduced into the classification unit 30 via the second transport unit 82.
  • the classifying unit 30 separates and removes resin particles and ink particles from the defibrated material.
  • an airflow classifier is used as the classification unit 30.
  • the airflow classifier generates a swirling airflow and separates it according to the size and density of what is classified as centrifugal force, and the classification point can be adjusted by adjusting the velocity and centrifugal force of the airflow.
  • a cyclone, an elbow jet, an eddy classifier, or the like is used as the classification unit 30.
  • the structure of the cyclone is simple, it can be suitably used as the classification unit 30. Below, the case where a cyclone is used as the classification part 30 is demonstrated.
  • the classifying unit 30 has at least an introduction port 31, a lower discharge port 34 provided at the lower part, and an upper discharge port 35 provided at the upper part.
  • the airflow on which the defibrated material introduced from the introduction port 31 is moved in a circumferential direction.
  • centrifugal force is applied to the introduced defibrated material, so that the fiber material (disentanglement) Fiber) and waste (resin particles, ink particles) having a lower density than the fiber material.
  • the fiber material is discharged from the lower discharge port 34 and is introduced into the introduction port 46 of the first sieve unit 40 through the third transport unit 83.
  • the waste is discharged from the upper discharge port 35 to the outside of the classification unit 30 through the fourth transport unit 84.
  • the classification part 30 isolate
  • a relatively small thing or a low density thing of a textile thing may be discharged outside with waste.
  • waste that is relatively dense or entangled with the fiber may be introduced into the first sieve unit 40 together with the fiber.
  • what is discharged from the lower discharge port 34 (those containing a long fiber more than waste) is called “fiber”, and what is discharged from the upper discharge port 35 (a proportion containing long fibers is a fiber). Less waste) is called "waste”.
  • the classification part 30 may be abbreviate
  • the first sieving part 40 is a fiber product separated by the classifying unit 30 (if the classifying unit 30 is omitted, the defibrated material that has been defibrated by the defibrating unit 20) Sorting in the air into “passage” that passes through one sieve section 40 and “residue” that does not pass through.
  • FIG. 2 is a perspective view schematically showing the first sieving portion 40.
  • the main body 48 of the first sieving part 40 includes a net part 41, disk parts 44 and 45, an inlet 46, and a discharge outlet 47.
  • the main body 48 is a rotary sieve in which a cylindrical net 41 is rotated (an example of movement) around a rotation axis Q by a motor (not shown).
  • the net part 41 has a plurality of openings 42, and the inside of the net part 41 is hollow. As the mesh part 41 rotates, the fiber material introduced into the mesh part 41 passes through the opening 42 and passes through the opening 42 and does not pass through the opening 42.
  • the 1st sieve part 40 can select the fiber (passage
  • the mesh part 41 is composed of a wire mesh such as a plain weave wire mesh or a welded wire mesh.
  • Punching metal may be used.
  • the opening is a hole formed by extending a cut formed in a metal plate.
  • the opening is a hole formed in a metal plate with a press or the like.
  • the member which has an opening with materials other than a metal.
  • the main body portion of the first sieving portion 40 reciprocates (an example of movement) and allows the fibrous material to pass through the plurality of openings.
  • the disc parts 44 and 45 of the first sieve part 40 are arranged in two openings formed at the end parts by making the net part 41 cylindrical.
  • the disk portion 44 is provided with an introduction port 46 for introducing a fiber material
  • the disk portion 45 is provided with a discharge port 47 for discharging a residue.
  • the 1st sieve part 40 rotates, the net
  • the disc parts 44 and 45 are in contact with the end part of the net part 41 so that the net part 41 can rotate.
  • the disk portions 44 and 45 and the mesh portion 41 are in contact with each other without any gap, thereby preventing the fiber in the mesh portion 41 from leaking outside.
  • Residue that has not passed through the opening 42 of the first sieving part 40 is discharged from the discharge port 47, transported to the hopper 15 via the fifth transport part 85 as a return channel, and again to the defibrating part 20. Returned.
  • the passing material that has passed through the opening 42 of the first sieving part 40 is received by the hopper 16 and then conveyed to the inlet 66 of the second sieving part 60 via the sixth conveying part 86.
  • the sixth transport unit 86 is provided with a supply port 51 for supplying a resin that binds fibers (bonds defibrated materials).
  • the resin supply unit 50 supplies resin in the air from the supply port 51 to the sixth transport unit 86. That is, the resin supply unit 50 is configured so that the passing material that has passed through the opening of the first sieve unit 40 travels along the path from the first sieve unit 40 to the second sieve unit 60 (the first sieve unit 40 and the second sieve unit 60). In between).
  • the resin supply part 50 if resin can be supplied to the 6th conveyance part 86, A screw feeder, a circle feeder, etc. are used.
  • the resin supplied from the resin supply unit 50 is a resin for binding a plurality of fibers. When the resin is supplied to the sixth transport unit 86, the plurality of fibers are not bound.
  • the resin is cured when passing through the molding unit 70 described later, and binds a plurality of fibers.
  • the resin is a thermoplastic resin or a thermosetting resin, and may be fibrous or powdery.
  • the amount of resin supplied from the resin supply unit 50 is appropriately set according to the type of sheet to be manufactured.
  • a colorant for coloring the fibers and an aggregation preventing material for preventing aggregation of the fibers may be supplied depending on the type of the sheet to be produced.
  • the resin supply unit 50 may be omitted as a configuration of the sheet manufacturing apparatus 100.
  • the resin supplied from the resin supply unit 50 is mixed with the passing material that has passed through the opening of the first sieving unit 40 by a mixing unit (not shown) provided in the sixth transport unit 86.
  • the mixing unit generates an air flow for transporting the passing material and the resin to the second sieving unit 60 while mixing them.
  • the second sieving part 60 (an example of a sieving part) loosens tangled passing objects. Furthermore, when the resin supplied from the resin supply unit 50 is in a fibrous form, the second sieve unit 60 loosens the entangled resin. Moreover, the 2nd sieve part 60 deposits a passage material and resin uniformly on the depositing part 72 mentioned later. In other words, the term “unwind” includes the action of breaking up intertwined things and the action of depositing them uniformly. If there is no entanglement, the film is uniformly deposited.
  • the second sieving part 60 is a rotary sieve in which a cylindrical mesh part is rotated by a motor (not shown).
  • the “sieving” used as the second sieving unit 60 may not have a function of selecting a specific object. That is, the “sieving” used as the second sieving part 60 means that having a mesh part having a plurality of openings, and the second sieving part 60 is a fiber material introduced into the second sieving part. All of the resin may be discharged to the outside through the opening. In this case, the size of the opening of the second sieving portion is set to be equal to or larger than the size of the opening of the first sieving portion 40. The difference in configuration between the second sieve unit 60 and the first sieve unit 40 is that the second sieve unit 60 does not have a discharge port (a portion corresponding to the discharge port 47 of the first sieve unit 40). .
  • the main body part of the second sieving part 60 may be constituted by a flat sieve having a plurality of openings and reciprocating.
  • any one of the first sieving part 40 and the second sieving part 60 may be omitted.
  • the mixture of the passing material (fiber) and the resin that has passed through the first sieve part 40 is transferred from the inlet 66 to the second sieve part 60 composed of a cylindrical mesh part. Introduced inside.
  • the mixture introduced into the second sieving part 60 moves to the mesh part side by centrifugal force.
  • the mixture introduced into the second sieving part 60 may contain entangled fibers and resin, and the entangled fibers and resin are loosened in the air by the rotating mesh part.
  • the loosened fibers and resin pass through the openings.
  • the fibers and the resin that have passed through the openings pass through the air and are uniformly deposited on the deposition portion 72 described later.
  • the fiber and the resin that have passed through the opening of the second sieving part 60 are deposited on the deposition part 72 of the molding part 70.
  • the forming unit 70 includes a deposition unit 72, a stretching roller 74, a heater roller 76, a tension roller 77, and a take-up roller 78.
  • the forming unit 70 forms a sheet using the passing material (fiber material and resin) that has passed through the second sieve unit 60.
  • the depositing part 72 of the molding part 70 receives and deposits the fibrous material and resin that have passed through the opening of the second sieve part 60 to generate a deposit.
  • the deposit part 72 is located below the second sieve part 60.
  • the accumulation unit 72 is, for example, a mesh belt. A mesh stretched by a stretch roller 74 is formed on the mesh belt.
  • the deposition unit 72 moves as the stretching roller 74 rotates. As the deposit 72 moves continuously, the defibrated material and the resin continuously fall from the second sieve 60, thereby forming a web having a uniform thickness on the deposit 72.
  • a suction device (not shown) for sucking deposits from below is provided below the deposit section 72.
  • the suction device is located below the second sieve part via the deposition part 72, and generates a downward airflow (an airflow directed from the second sieve part 60 to the deposition part 72).
  • a downward airflow an airflow directed from the second sieve part 60 to the deposition part 72.
  • the suction device can form a downflow in the defibrated material and the resin dropping path, and can prevent the defibrated material and the resin from being entangled during the dropping.
  • the defibrated material and the resin deposited on the deposition unit 72 of the molding unit 70 are heated and pressurized by passing through the heater roller 76 as the deposition unit 72 moves.
  • the resin functions as a binder to bind the fibers together, is thinned by pressurization, and further passes through a calendar roller (not shown) to smooth the surface, whereby the sheet P is formed.
  • the sheet P is wound up by a winding roller 78.
  • the sheet P can be manufactured.
  • FIG. 3 shows a functional block diagram of the sheet manufacturing apparatus 100.
  • the sheet manufacturing apparatus 100 includes a control unit 110 including a CPU and a storage unit (ROM, RAM), and an operation unit 120 for inputting operation information.
  • a control unit 110 including a CPU and a storage unit (ROM, RAM), and an operation unit 120 for inputting operation information.
  • the control unit 110 outputs control signals to the first to fourth drivers (motor drivers) 111 to 114.
  • the first driver 111 drives the supply unit 10 by controlling the motor of the supply unit 10 based on the control signal.
  • the second driver 112 controls the motor of the defibrating unit 20 based on the control signal to drive the defibrating unit 20.
  • the third driver 113 controls the motor of the first sieving unit 40 based on the control signal to drive the first sieving unit 40.
  • the fourth driver 114 controls the motor of the second sieving unit 60 based on the control signal to drive the second sieving unit 60.
  • the control unit 110 outputs a control signal to the first to fourth drivers 111 to 114 to drive various motors when receiving operation information instructing activation (start of manufacture) from the operation unit 120.
  • a control signal is output to the first to fourth drivers 111 to 114 to stop driving of various motors.
  • the control unit 110 outputs a control signal to the third driver 113 to control the moving speed of the first sieving unit 40 (rotational speed of the net unit 41), and outputs the control signal to the fourth driver 114. Then, the moving speed of the second sieving part 60 (the rotational speed of the mesh part) is controlled.
  • the first sieve when the apparatus is stopped (when manufacturing of the sheet is stopped), the first sieve is stored in a state where the defibrated material is stored in the main body portions of the first sieve unit 40 and the second sieve unit 60. The unit 40 and the second sieve unit 60 are stopped.
  • FIG. 4 is a flowchart showing a flow of stop control in the first embodiment.
  • control unit 110 outputs a control signal to the first driver 111 to stop the supply unit 10 (step S10).
  • control unit 110 outputs control signals to the third driver 113 and the fourth driver 114 to stop the rotation (an example of movement) of the first sieve unit 40 and the second sieve unit 60 (step). S12).
  • control part 110 outputs a control signal to the 2nd driver 112, and stops the defibrating part 20 (step S14).
  • the defibrated material (fibers) is connected to the first sieving unit 40 from the defibrating unit 20 and a pipe between the defibrating unit 20 and the fiber. Is introduced. Then, by stopping the rotation of the first sieving unit 40 in step S12, the defibrated material is not discharged from the first sieving unit 40 (the defibrated material does not pass through the opening of the first sieving unit 40). As described above, in a state where the defibrated material is introduced into the first sieving portion 40, the defibrated material can be stored inside the first sieving portion 40 by stopping the rotation of the first sieving portion 40. it can.
  • the defibrating unit 20 and the first sieve unit 40 are driven even if the supply unit 10 is stopped in step S10, the first sieve unit 40 and the first sieve unit 40 are included in the second sieve unit 60.
  • a defibrated material (fiber material and resin) is introduced from the pipe between the two. Then, by stopping the rotation of the second sieving unit 60 in step S12, the defibrated material is not discharged from the second sieving unit 60 (the defibrated material does not pass through the opening of the second sieving unit 60).
  • the defibrated material can be stored in the second sieving part 60 by stopping the rotation of the second sieving part 60. it can.
  • the apparatus is stopped. Can be shortened. Moreover, since the defibrated material has already accumulated in the inside of the 1st sieve part 40 and the 2nd sieve part 60 at the time of the next apparatus start-up, sufficient quantity of defibrated material from the beginning of manufacture is the 1st sieve part 40. And it can supply to the downstream of the 2nd sieve part 60, while being able to shorten the starting time of an apparatus, the quality of a sheet
  • step S12 the first sieving part 40 and the second sieving part 60 may be stopped simultaneously, or after the first sieving part 40 is stopped, the second sieving part 60 may be stopped,
  • the reverse is also possible. These can be changed within a range in which the defibrated material is stored in the first sieve portion 40 and the second sieve portion 60.
  • step S14 it is desirable that the defibrating unit 20 is stopped in step S14 after the defibrated material stored in the defibrating unit 20 is completely discharged. This is because if the defibrating unit 20 is driven in a state where it is stored in the defibrating unit 20 at the time of activation, it may become a load and the starting torque may not be sufficient. For this reason, it is desirable to shift the stop of the supply part 10 of step S10 and the stop of the defibrating part 20 of step S14 only by the time which can discharge the defibrated material in the defibrating part 20. In the meantime, what is necessary is just to stop in the state which the defibrated material accumulated in the 1st sieve part 40 and the 2nd sieve part 60.
  • FIG. 5 is a flowchart showing the flow of stop control in the second embodiment.
  • control unit 110 outputs a control signal to the first driver 111 to stop the supply unit 10 (step S20).
  • the control unit 110 outputs a control signal to the third driver 113 to change the rotation speed of the first sieve unit 40 to a speed lower than the speed during normal operation (first speed) (
  • a control signal is output to the fourth driver 114, and the rotation speed of the second sieving unit 60 is changed to a speed lower than the speed during normal operation (step S24).
  • control part 110 outputs a control signal to the 3rd driver 113 and the 4th driver 114, and stops rotation of the 1st sieve part 40 and the 2nd sieve part 60 (step S26).
  • the control part 110 outputs a control signal to the 2nd driver 112, and stops the defibrating part 20 (step S28).
  • the defibrated material is introduced into the first sieving unit 40 from the defibrating unit 20 or a pipe between the defibrating unit 20. Is done.
  • the defibrated material introduced into the first sieving part 40 after the defibrated substance is stored in the first sieving part 40 becomes the first sieving part 40. There is a possibility of clogging at the upstream side or inside the first sieving section 40, resulting in poor conveyance.
  • step S22 the first sieve unit 40 is rotated at a lower speed than usual so that the defibrated material from the upstream side is introduced into the first sieve unit 40 without clogging, and The amount of defibrated material discharged from the first sieving unit 40 is reduced, and the defibrated material is stored inside the first sieving unit 40.
  • step S24 the second sieve 60 is rotated at a lower speed than usual so that the defibrated material from the upstream side is introduced into the second sieve 60 without clogging, and the second sieve 60 The amount of defibrated material discharged from the sewage is reduced, and the defibrated material is stored inside the second sieve unit 60.
  • Step S26 discharge of the defibrated material from the 1st sieve part 40 and the 2nd sieve part 60 is stopped, and the 1st sieve part
  • the defibrated material can be stored inside the 40 and the second sieve part 60.
  • the time until the device stops can be shortened, and the startup time of the device can be shortened. Furthermore, in the second embodiment, the defibrated material can be stored in the first sieve portion 40 and the second sieve portion 60 while suppressing the occurrence of conveyance failure.
  • the stop of the supply part 10 and the defibrating part 20 it is the same as the idea described in the 1st Example.
  • FIG. 6 is a flowchart showing the flow of stop control in the third embodiment.
  • control unit 110 outputs a control signal to the first driver 111 to stop the supply unit 10 (step S30).
  • the control unit 110 outputs a control signal to the third driver 113 to change the rotation speed of the first sieving unit 40 to a speed lower than the speed during normal operation (step S32).
  • a control signal is output to the driver 114, and the rotation speed of the second sieving unit 60 is changed to a speed higher than the speed during normal operation (step S34).
  • control part 110 outputs a control signal to the 3rd driver 113 and the 4th driver 114, and stops rotation of the 1st sieve part 40 and the 2nd sieve part 60 (step S36).
  • the control part 110 outputs a control signal to the 2nd driver 112, and stops the defibrating part 20 (step S38).
  • the third embodiment is different from the second embodiment in that the second sieving unit 60 is rotated at a higher speed than usual after the supply unit 10 is stopped.
  • the amount of defibrated material introduced into the second sieving unit 60 decreases, so that the defibrated material discharged from the second sieving unit 60
  • the amount is also reduced, and the amount of deposits deposited on the deposit part 72 is reduced.
  • the amount of defibrated material discharged from the second sieving part 60 increases as the amount of defibrated material accumulated in the second sieving part 60 increases, and as the rotational speed of the second sieving part 60 increases. Become.
  • the third embodiment even if the amount of defibrated material introduced into the second sieving part 60 is reduced by rotating the second sieving part 60 at a higher speed than usual in Step S34, The amount of defibrated material discharged from the sieving part 60 is not changed. Thereby, even during the stop control of the apparatus, the quality (thickness) of the manufactured sheet can be maintained.
  • step S36 before all the defibrated material inside the 2nd sieve part 60 is discharged
  • the amount of defibrated material introduced into the second sieving part 60 is so small that the amount of defibrated material discharged from the second sieving part 60 cannot be maintained even when the second sieving part 60 is rotated at high speed. At that time, the rotation of the second sieve unit 60 is stopped.
  • FIG. 7 is a flowchart showing the flow of stop control in the fourth embodiment.
  • control unit 110 outputs a control signal to the first driver 111 to stop the supply unit 10 (step S40).
  • the control part 110 outputs a control signal to the 3rd driver 113, and changes the rotational speed of the 1st sieve part 40 to a speed higher than the speed at the time of normal operation (step S42).
  • the control unit 110 outputs a control signal to the fourth driver 114, and changes the rotation speed of the second sieving unit 60 to a speed higher than the speed during normal operation (step S44).
  • the control part 110 outputs a control signal to the 3rd driver 113 and the 4th driver 114, and stops rotation of the 1st sieve part 40 and the 2nd sieve part 60 (step S46).
  • the control unit 110 outputs a control signal to the second driver 112 to stop the defibrating unit 20 (step S48).
  • the first sieving unit 40 is rotated at a higher speed than usual, and then the second sieving unit 60 is rotated at a higher speed than usual. Different from the embodiment.
  • the supply unit 10 is stopped, the amount of defibrated material introduced into the first sieving unit 40 decreases, and thus the amount of defibrated material discharged from the first sieving unit 40 also decreases.
  • the amount of defibrated material discharged from the first sieve unit 40 is not changed by rotating the first sieve unit 40 at a higher speed than usual in step S42.
  • the amount of defibrated material introduced into the second sieving part 60 is initially maintained by rotating the first sieving part 40 at a high speed, the supply part 10 is stopped gradually. It will decrease. Therefore, in the fourth embodiment, even if the amount of defibrated material introduced into the second sieving part 60 is reduced by rotating the second sieving part 60 at a higher speed than usual in Step S44, The amount of defibrated material discharged from the sieving part 60 is not changed. Thereby, even during the stop control of the apparatus, the quality (thickness) of the manufactured sheet can be maintained.
  • step S46 before all of the defibrated material inside the first sieving part 40 and the second sieving part 60 are discharged (the defibrated material is inside the first sieving part 40 and the second sieving part 60).
  • the rotation of the first sieve unit 40 and the second sieve unit 60 is stopped.
  • FIG. 8 is a flowchart showing the flow of activation control in the fifth embodiment.
  • control unit 110 outputs a control signal to the second driver 112 to activate the defibrating unit 20 (step S50).
  • control part 110 outputs a control signal to the 3rd driver 113, starts the 1st sieve part 40, and rotates it at the speed
  • control part 110 outputs a control signal to the 1st driver 111, and starts the supply part 10 (step S54).
  • the control unit 110 outputs a control signal to the fourth driver 114 to activate the second sieving unit 60 and rotate it at the speed during normal operation (step S56).
  • the defibrating unit 20 Since no material is stored in the defibrating unit 20, the defibrating unit 20 is first activated. Next, in preparation for the defibrated material from the defibrating unit 20 being introduced into the classification unit 30 and the first sieving unit 40, the first sieving unit 40 is activated. Then, the supply part 10 is started and the 2nd sieve part 60 is started. It takes time until a sufficient amount of defibrated material is supplied downstream from the defibrating unit 20 after the supply unit 10 is activated. However, as described above, the first sieve portion 40 and the second sieve portion 60 are stopped in a state where defibrated material is stored.
  • the defibrated material starts in the state where the defibrated material is stored inside the first sieve part 40 and the second sieve part 60. Thereby, it is not necessary to stop until the defibrated material is stored inside the first sieve part 40 and the second sieve part 60. And the defibrated material can be supplied to the downstream side of the 1st sieve part 40 and the 2nd sieve part 60 from the beginning of manufacture, and while starting time of an apparatus can be shortened, the quality of a sheet
  • the 1st sieve part 40 since the 1st sieve part 40 is started before starting the supply part 10, the 1st sieve part 40 will be started in the state in which the defibrated material is not introduced into the 1st sieve part 40.
  • the activation of the second sieving unit 60 may be activated in a state where the defibrated material is not introduced from the first sieving unit 40.
  • FIG. 9 is a flowchart showing the flow of start control in the sixth embodiment.
  • control unit 110 outputs a control signal to the second driver 112 to activate the defibrating unit 20 (step S60).
  • control unit 110 outputs a control signal to the third driver 113 to activate the first sieving unit 40 and rotate it at a speed during low-speed operation (a speed lower than the speed during normal operation) (Ste S62).
  • control part 110 outputs a control signal to the 1st driver 111, and starts the supply part 10 (step S64).
  • control unit 110 outputs a control signal to the fourth driver 114 to activate the second sieving unit 60 and rotate it at a speed during high-speed operation (a speed higher than the speed during normal operation) ( Step S66).
  • control part 110 outputs a control signal to the 3rd driver 113 and the 4th driver 114, and changes the rotational speed of the 1st sieve part 40 and the 2nd sieve part 60 to the speed at the time of normal driving
  • the sixth embodiment is different from the fifth embodiment in that the first sieving unit 40 is started at a speed during low-speed operation and the second sieving unit 60 is started at a speed during high-speed operation. Until the sufficient amount of defibrated material from the defibrating unit 20 is supplied downstream, the amount of defibrated material introduced into the second sieving unit 60 is small, so the second sieving unit 60 is started at high speed operation. By doing so, the amount of defibrated material discharged from the second sieving part 60 is prevented from fluctuating.
  • the first sieving part 40 is activated at a low speed operation, and the defibrated material from the upstream side is removed from the first sieving part 40.
  • the defibrated material can be supplied from the first sieving portion 40 to the second sieving portion 60 when the defibrated material inside the second sieving portion 60 disappears.
  • the first sieving unit 40 and the second sieving unit 60 are changed to normal operation.
  • the defibrated material can be supplied to the downstream side of the second sieving part 60 from the beginning of production, the start-up time of the apparatus can be shortened, and the quality of the sheet from the beginning of production can be reduced. It can be stabilized.
  • FIG. 10 is a flowchart showing the flow of activation control in the seventh embodiment.
  • control unit 110 outputs a control signal to the second driver 112 to activate the defibrating unit 20 (step S70).
  • control unit 110 outputs a control signal to the third driver 113 to activate the first sieving unit 40 and rotate it at a speed during high-speed operation (a speed higher than the speed during normal operation) (Ste S72).
  • the control part 110 outputs a control signal to the 1st driver 111, and starts the supply part 10 (step S74).
  • the control unit 110 outputs a control signal to the fourth driver 114, activates the second sieving unit 60, and rotates it at the speed during normal operation (step S76).
  • the control part 110 outputs a control signal to the 3rd driver 113, and changes the rotational speed of the 1st sieve part 40 to the speed at the time of normal driving
  • the seventh embodiment differs from the fifth embodiment in that the first sieving unit 40 is started at a speed during high-speed operation. Until a sufficient amount of defibrated material is supplied downstream from the defibrating unit 20, the amount of defibrated material introduced into the first sieving unit 40 is small, so the first sieving unit 40 is activated at high speed. By doing so, the amount of defibrated material discharged from the first sieving part 40 is prevented from fluctuating. Then, when a sufficient amount of defibrated material is supplied from the defibrating unit 20 to the downstream side, the first sieving unit 40 is changed to normal operation.
  • a defibrated material can be supplied to the downstream side of the 1st sieve part 40 and the 2nd sieve part 60 from the beginning of manufacture, and while starting time of an apparatus can be shortened, manufacture start The sheet quality can be stabilized from the beginning.
  • FIG. 11 is a flowchart showing the flow of activation control in the eighth embodiment.
  • control unit 110 outputs a control signal to the second driver 112 to activate the defibrating unit 20 (step S80).
  • control unit 110 outputs a control signal to the third driver 113 to activate the first sieving unit 40 and rotate it at a speed during low-speed operation (a speed lower than the speed during normal operation) (Ste S82).
  • control part 110 outputs a control signal to the 1st driver 111, and starts the supply part 10 (step S84).
  • control unit 110 outputs a control signal to the fourth driver 114, activates the second sieving unit 60, and rotates it at the speed during low-speed operation (step S86).
  • control part 110 outputs a control signal to the 3rd driver 113 and the 4th driver 114, and changes the rotational speed of the 1st sieve part 40 and the 2nd sieve part 60 to the speed at the time of normal driving
  • the eighth embodiment differs from the fifth embodiment in that the first sieving unit 40 and the second sieving unit 60 are started at a speed during low-speed operation. Since it takes time to supply a sufficient amount of defibrated material from the defibrating unit 20 to the downstream side, starting the first sieving unit 40 and the second sieving unit 60 at a low speed operation, When the defibrated material is stored in the first sieve portion 40 and the second sieve portion 60 and a sufficient amount of defibrated material is supplied from the defibrating portion 20 to the downstream side, the first defibrated material is stored. The sieve unit 40 and the second sieve unit 60 are changed to normal operation. By doing in this way, a sufficient amount of defibrated material can be discharged from the second sieving part 60 immediately after the second sieving part 60 is changed to normal operation, and the quality of the sheet can be stabilized.
  • steps S82 and S86 at least one of the first sieve unit 40 and the second sieve unit 60 remains stopped instead of starting the first sieve unit 40 and the second sieve unit 60 at low speed operation. (At least one of steps S82 and S86 is omitted).
  • the present invention includes substantially the same configuration (configuration with the same function, method and result, or configuration with the same purpose and effect) as the configuration described in the embodiment.
  • the invention includes a configuration in which a non-essential part of the configuration described in the embodiment is replaced.
  • the present invention includes a configuration that exhibits the same operational effects as the configuration described in the embodiment or a configuration that can achieve the same object.
  • the invention includes a configuration in which a known technique is added to the configuration described in the embodiment.
  • the sheet manufactured by the sheet manufacturing apparatus 100 mainly indicates a sheet shape. However, it is not limited to a sheet shape, and may be a board shape or a web shape.
  • the sheet in this specification is divided into paper and non-woven fabric.
  • the paper includes a mode in which pulp or used paper is used as a raw material and is formed into a thin sheet, and includes recording paper for writing and printing, wallpaper, wrapping paper, colored paper, drawing paper, Kent paper, and the like.
  • Nonwoven fabric is thicker than paper or low in strength, and includes general nonwoven fabric, fiber board, tissue paper, kitchen paper, cleaner, filter, liquid absorbent material, sound absorber, cushioning material, mat, and the like.
  • the raw material may be plant fibers such as cellulose, chemical fibers such as PET (polyethylene terephthalate) and polyester, and animal fibers such as wool and silk.
  • a moisture sprayer for spraying and adding moisture to the deposit deposited in the deposition unit 72 may be provided.
  • seat P can be made high.
  • the spray addition of moisture is performed on the deposit before passing through the heater roller 76.
  • Starch, PVA (polyvinyl alcohol), or the like may be added to the moisture sprayed by the moisture sprayer. Thereby, the strength of the sheet P can be further increased.
  • the sheet P may be cut into a desired size by a cutting machine (not shown) and stacked on a stacker or the like.
  • the sheet manufacturing apparatus 100 may not have a function as a crushing unit in the supply unit 10. For example, if the material is roughly crushed with an existing shredder or the like, the crushing function becomes unnecessary.
  • the 5th conveyance part 85 as a return channel may not be.
  • the residue may be collected and discarded without returning to the defibrating unit 20. Further, if the defibrating unit 20 has such a performance that no residue is left, the fifth transport unit 85 is not necessary.

Landscapes

  • Life Sciences & Earth Sciences (AREA)
  • Engineering & Computer Science (AREA)
  • Manufacturing & Machinery (AREA)
  • Wood Science & Technology (AREA)
  • Forests & Forestry (AREA)
  • Nonwoven Fabrics (AREA)
  • Dry Formation Of Fiberboard And The Like (AREA)
PCT/JP2014/004951 2014-03-20 2014-09-26 シート製造装置およびシートの製造方法 Ceased WO2015140847A1 (ja)

Priority Applications (3)

Application Number Priority Date Filing Date Title
EP14886133.9A EP3121322B1 (en) 2014-03-20 2014-09-26 Sheet manufacturing apparatus and sheet manufacturing method
CN201480077297.XA CN106103825B (zh) 2014-03-20 2014-09-26 片材制造装置以及片材的制造方法
US15/115,312 US10647020B2 (en) 2014-03-20 2014-09-26 Sheet manufacturing apparatus and sheet manufacturing method

Applications Claiming Priority (2)

Application Number Priority Date Filing Date Title
JP2014057689A JP6065864B2 (ja) 2014-03-20 2014-03-20 シート製造装置およびシートの製造方法
JP2014-057689 2014-03-20

Publications (1)

Publication Number Publication Date
WO2015140847A1 true WO2015140847A1 (ja) 2015-09-24

Family

ID=54143873

Family Applications (1)

Application Number Title Priority Date Filing Date
PCT/JP2014/004951 Ceased WO2015140847A1 (ja) 2014-03-20 2014-09-26 シート製造装置およびシートの製造方法

Country Status (6)

Country Link
US (1) US10647020B2 (enExample)
EP (1) EP3121322B1 (enExample)
JP (1) JP6065864B2 (enExample)
CN (2) CN108014991B (enExample)
TW (2) TWI688693B (enExample)
WO (1) WO2015140847A1 (enExample)

Cited By (3)

* Cited by examiner, † Cited by third party
Publication number Priority date Publication date Assignee Title
JP2018156510A (ja) * 2017-03-21 2018-10-04 セイコーエプソン株式会社 シート製造装置およびシート製造システム
CN109642371A (zh) * 2016-08-31 2019-04-16 精工爱普生株式会社 薄片制造装置及薄片制造装置的控制方法
EP3508634A4 (en) * 2016-08-31 2020-05-20 Seiko Epson Corporation SHEET MANUFACTURING DEVICE, AND CONTROL METHOD OF SHEET MANUFACTURING DEVICE

Families Citing this family (5)

* Cited by examiner, † Cited by third party
Publication number Priority date Publication date Assignee Title
JP6269235B2 (ja) * 2014-03-26 2018-01-31 セイコーエプソン株式会社 シート製造装置
JP6879106B2 (ja) * 2017-07-31 2021-06-02 セイコーエプソン株式会社 解繊物製造装置、及びシート製造装置
JP7006293B2 (ja) * 2018-01-18 2022-01-24 セイコーエプソン株式会社 繊維処理装置
JP7035551B2 (ja) * 2018-01-18 2022-03-15 セイコーエプソン株式会社 繊維処理装置、繊維原料再生装置、および、繊維処理装置の制御方法
JP7211022B2 (ja) * 2018-11-07 2023-01-24 セイコーエプソン株式会社 ウェブ製造装置およびシート製造装置

Citations (2)

* Cited by examiner, † Cited by third party
Publication number Priority date Publication date Assignee Title
JP2003520912A (ja) * 2000-01-28 2003-07-08 スキャン−ウェブ・アイ/エス 繊維材料を乾式分散させる装置
JP2013147772A (ja) * 2012-01-20 2013-08-01 Oji Holdings Corp 古紙解繊物の製造方法

Family Cites Families (33)

* Cited by examiner, † Cited by third party
Publication number Priority date Publication date Assignee Title
US2347716A (en) * 1939-07-19 1944-05-02 Black Clawson Co Apparatus for screening paper stock
BE560130A (enExample) * 1956-08-28
FR1187111A (fr) 1956-11-02 1959-09-07 Interwood A G Procédé et installation pour la fabrication en continu de plaques en matière fibreuse et plaques conformes à celles ainsi obtenues
US3642139A (en) * 1968-08-12 1972-02-15 Peter C Wilson Apparatus for centrifugally removing liquid from a mixture
NL7513121A (nl) 1975-11-10 1977-05-12 Elisabet Catharina Appels Teke Werkwijze en inrichting voor het vervaardigen van vezelvliezen langs de natte weg.
US4218414A (en) * 1977-02-04 1980-08-19 Mo Och Domsjo Ab Method for shredding and dry-defibrating compressed cellulose pulp and forming a batt of the resulting cellulosic fibrous material
US4455195A (en) * 1982-01-05 1984-06-19 James River Corporation Fibrous filter media and process for producing same
US4674966A (en) 1984-04-02 1987-06-23 Winkler & Dunnebier Apparatus for forming fibrous pads
US4640810A (en) * 1984-06-12 1987-02-03 Scan Web Of North America, Inc. System for producing an air laid web
US5064689A (en) * 1989-03-20 1991-11-12 Weyerhaeuser Company Method of treating discontinuous fibers
DE19616623B4 (de) * 1996-04-25 2004-12-23 Der Grüne Punkt - Duales System Deutschland Ag Vorrichtung zur Trennung von zähelastischen Materialien wie Kunststoffen und von unter mechanischer Beanspruchung zerfasernden Stoffen wie Papier
US5981405A (en) * 1997-07-29 1999-11-09 ChangGun Kuack Mugwort-impregnated sheet and method for making the same
JPH11147209A (ja) 1997-11-17 1999-06-02 Kimura Chem Plants Co Ltd 繊維板及び繊維板の製造方法
JP2001140184A (ja) * 1999-11-09 2001-05-22 Kobayashi Eng Works Ltd 円網抄紙機における製品プロファイル調整方法及び装置
EP1299588B1 (en) 2000-05-31 2004-03-10 M & J Fibretech A/S Plant and method for dryly producing a non-woven fibre web of short and long fibres, a cotton fibre web containing cotton linters pulp (clp)
JP3723726B2 (ja) * 2000-08-31 2005-12-07 ユニ・チャーム株式会社 弾性伸縮性複合シートの製造方法
CN1244389C (zh) * 2000-09-29 2006-03-08 宝工业有限公司 过滤材料的清洗方法及过滤装置
US6709613B2 (en) 2001-12-21 2004-03-23 Kimberly-Clark Worldwide, Inc. Particulate addition method and apparatus
WO2005044529A1 (en) 2003-11-07 2005-05-19 Formfiber Denmark Aps A fibre distribution device for dry forming a fibrous product
DE202006005788U1 (de) * 2006-04-08 2006-06-22 Sim Automation Gmbh & Co. Kg Vorrichtung zum Vereinzeln von Teilen
CN200988875Y (zh) * 2006-12-08 2007-12-12 上海嘉翰轻工机械有限公司 高速宽幅成型器
US7846299B2 (en) * 2007-04-30 2010-12-07 Honeywell Asca Inc. Apparatus and method for controlling product grade changes in a paper machine or other machine
WO2009048859A1 (en) 2007-10-09 2009-04-16 3M Innovative Properties Company Method of making mounting mats for mounting pollution control element
IES20080241A2 (en) 2008-03-31 2009-09-30 Lagan Technology Ltd A method of operating an asphalt plant
JP2010023412A (ja) * 2008-07-23 2010-02-04 Nippon Valqua Ind Ltd 軟質シートの製造方法
US8091711B2 (en) * 2009-06-24 2012-01-10 Atomic Energy Council-Institute Of Nuclear Energy Research Dynamically adaptive trommel screen system
JP5720255B2 (ja) * 2011-01-12 2015-05-20 セイコーエプソン株式会社 紙再生装置及び紙再生方法
WO2012095928A1 (ja) * 2011-01-12 2012-07-19 セイコーエプソン株式会社 紙再生装置及び紙再生方法
CN102605664A (zh) 2011-01-20 2012-07-25 侯俊民 一种环保造纸工艺及设备
JP5832157B2 (ja) * 2011-06-24 2015-12-16 デュプロ精工株式会社 古紙再生処理装置
JP5846839B2 (ja) * 2011-10-14 2016-01-20 デュプロ精工株式会社 抄紙装置
JP6263931B2 (ja) 2013-10-01 2018-01-24 セイコーエプソン株式会社 シート製造装置およびシートの製造方法
JP6127882B2 (ja) * 2013-10-01 2017-05-17 セイコーエプソン株式会社 シート製造装置およびシートの製造方法

Patent Citations (2)

* Cited by examiner, † Cited by third party
Publication number Priority date Publication date Assignee Title
JP2003520912A (ja) * 2000-01-28 2003-07-08 スキャン−ウェブ・アイ/エス 繊維材料を乾式分散させる装置
JP2013147772A (ja) * 2012-01-20 2013-08-01 Oji Holdings Corp 古紙解繊物の製造方法

Non-Patent Citations (1)

* Cited by examiner, † Cited by third party
Title
See also references of EP3121322A4 *

Cited By (4)

* Cited by examiner, † Cited by third party
Publication number Priority date Publication date Assignee Title
CN109642371A (zh) * 2016-08-31 2019-04-16 精工爱普生株式会社 薄片制造装置及薄片制造装置的控制方法
EP3508635A4 (en) * 2016-08-31 2020-05-20 Seiko Epson Corporation Sheet manufacturing device, and control method of sheet manufacturing device
EP3508634A4 (en) * 2016-08-31 2020-05-20 Seiko Epson Corporation SHEET MANUFACTURING DEVICE, AND CONTROL METHOD OF SHEET MANUFACTURING DEVICE
JP2018156510A (ja) * 2017-03-21 2018-10-04 セイコーエプソン株式会社 シート製造装置およびシート製造システム

Also Published As

Publication number Publication date
EP3121322A1 (en) 2017-01-25
CN106103825A (zh) 2016-11-09
TWI617716B (zh) 2018-03-11
TW201819717A (zh) 2018-06-01
US20170001330A1 (en) 2017-01-05
US10647020B2 (en) 2020-05-12
TW201536984A (zh) 2015-10-01
EP3121322B1 (en) 2019-04-03
CN108014991B (zh) 2020-12-29
TWI688693B (zh) 2020-03-21
EP3121322A4 (en) 2017-11-15
JP2015182225A (ja) 2015-10-22
CN106103825B (zh) 2018-01-05
JP6065864B2 (ja) 2017-01-25
CN108014991A (zh) 2018-05-11

Similar Documents

Publication Publication Date Title
JP6248690B2 (ja) シート製造装置およびシートの製造方法
JP6252232B2 (ja) シート製造装置およびシートの製造方法
JP6065864B2 (ja) シート製造装置およびシートの製造方法
JP6127882B2 (ja) シート製造装置およびシートの製造方法
JP6361209B2 (ja) シート製造装置、シート製造方法及びシート
JP2015066933A (ja) シート製造装置およびシートの製造方法
JPWO2017094514A1 (ja) シート製造装置、シート製造装置の制御方法、シート製造方法
JP2016120656A (ja) シート製造装置、シート製造方法
JP6414154B2 (ja) シート製造装置およびシートの製造方法
JP2015160409A (ja) シート製造装置
JP6414153B2 (ja) シート製造装置およびシートの製造方法
JP6361772B2 (ja) シート製造装置およびシートの製造方法
JP2017094525A (ja) シート製造装置
JP2015178686A (ja) シート製造装置及びシート製造方法
JP2016065339A (ja) シート製造装置、シート製造方法

Legal Events

Date Code Title Description
121 Ep: the epo has been informed by wipo that ep was designated in this application

Ref document number: 14886133

Country of ref document: EP

Kind code of ref document: A1

WWE Wipo information: entry into national phase

Ref document number: 15115312

Country of ref document: US

REEP Request for entry into the european phase

Ref document number: 2014886133

Country of ref document: EP

WWE Wipo information: entry into national phase

Ref document number: 2014886133

Country of ref document: EP

NENP Non-entry into the national phase

Ref country code: DE

REG Reference to national code

Ref country code: BR

Ref legal event code: B01A

Ref document number: 112016021617

Country of ref document: BR

ENP Entry into the national phase

Ref document number: 112016021617

Country of ref document: BR

Kind code of ref document: A2

Effective date: 20160920