WO2015114888A1 - 熱交換器の製造方法及び拡径治具 - Google Patents

熱交換器の製造方法及び拡径治具 Download PDF

Info

Publication number
WO2015114888A1
WO2015114888A1 PCT/JP2014/077473 JP2014077473W WO2015114888A1 WO 2015114888 A1 WO2015114888 A1 WO 2015114888A1 JP 2014077473 W JP2014077473 W JP 2014077473W WO 2015114888 A1 WO2015114888 A1 WO 2015114888A1
Authority
WO
WIPO (PCT)
Prior art keywords
tubular body
diameter
metal plate
heat exchanger
diameter expansion
Prior art date
Legal status (The legal status is an assumption and is not a legal conclusion. Google has not performed a legal analysis and makes no representation as to the accuracy of the status listed.)
Ceased
Application number
PCT/JP2014/077473
Other languages
English (en)
French (fr)
Japanese (ja)
Inventor
直哉 後藤
琢磨 遠藤
Current Assignee (The listed assignees may be inaccurate. Google has not performed a legal analysis and makes no representation or warranty as to the accuracy of the list.)
Sanoh Industrial Co Ltd
Original Assignee
Sanoh Industrial Co Ltd
Priority date (The priority date is an assumption and is not a legal conclusion. Google has not performed a legal analysis and makes no representation as to the accuracy of the date listed.)
Filing date
Publication date
Application filed by Sanoh Industrial Co Ltd filed Critical Sanoh Industrial Co Ltd
Priority to DE112014006290.1T priority Critical patent/DE112014006290T5/de
Priority to CN201480074426.XA priority patent/CN105939797A/zh
Priority to US15/115,069 priority patent/US20160361749A1/en
Publication of WO2015114888A1 publication Critical patent/WO2015114888A1/ja
Anticipated expiration legal-status Critical
Ceased legal-status Critical Current

Links

Images

Classifications

    • BPERFORMING OPERATIONS; TRANSPORTING
    • B21MECHANICAL METAL-WORKING WITHOUT ESSENTIALLY REMOVING MATERIAL; PUNCHING METAL
    • B21DWORKING OR PROCESSING OF SHEET METAL OR METAL TUBES, RODS OR PROFILES WITHOUT ESSENTIALLY REMOVING MATERIAL; PUNCHING METAL
    • B21D39/00Application of procedures in order to connect objects or parts, e.g. coating with sheet metal otherwise than by plating; Tube expanders
    • B21D39/08Tube expanders
    • B21D39/20Tube expanders with mandrels, e.g. expandable
    • BPERFORMING OPERATIONS; TRANSPORTING
    • B21MECHANICAL METAL-WORKING WITHOUT ESSENTIALLY REMOVING MATERIAL; PUNCHING METAL
    • B21CMANUFACTURE OF METAL SHEETS, WIRE, RODS, TUBES, PROFILES OR LIKE SEMI-MANUFACTURED PRODUCTS OTHERWISE THAN BY ROLLING; AUXILIARY OPERATIONS USED IN CONNECTION WITH METAL-WORKING WITHOUT ESSENTIALLY REMOVING MATERIAL
    • B21C37/00Manufacture of metal sheets, rods, wire, tubes, profiles or like semi-manufactured products, not otherwise provided for; Manufacture of tubes of special shape
    • B21C37/06Manufacture of metal sheets, rods, wire, tubes, profiles or like semi-manufactured products, not otherwise provided for; Manufacture of tubes of special shape of tubes or metal hoses; Combined procedures for making tubes, e.g. for making multi-wall tubes
    • B21C37/08Making tubes with welded or soldered seams
    • B21C37/09Making tubes with welded or soldered seams of coated strip material ; Making multi-wall tubes
    • BPERFORMING OPERATIONS; TRANSPORTING
    • B21MECHANICAL METAL-WORKING WITHOUT ESSENTIALLY REMOVING MATERIAL; PUNCHING METAL
    • B21CMANUFACTURE OF METAL SHEETS, WIRE, RODS, TUBES, PROFILES OR LIKE SEMI-MANUFACTURED PRODUCTS OTHERWISE THAN BY ROLLING; AUXILIARY OPERATIONS USED IN CONNECTION WITH METAL-WORKING WITHOUT ESSENTIALLY REMOVING MATERIAL
    • B21C37/00Manufacture of metal sheets, rods, wire, tubes, profiles or like semi-manufactured products, not otherwise provided for; Manufacture of tubes of special shape
    • B21C37/06Manufacture of metal sheets, rods, wire, tubes, profiles or like semi-manufactured products, not otherwise provided for; Manufacture of tubes of special shape of tubes or metal hoses; Combined procedures for making tubes, e.g. for making multi-wall tubes
    • B21C37/15Making tubes of special shape; Making tube fittings
    • B21C37/20Making helical or similar guides in or on tubes without removing material, e.g. by drawing same over mandrels, by pushing same through dies ; Making tubes with angled walls, ribbed tubes or tubes with decorated walls
    • B21C37/202Making helical or similar guides in or on tubes without removing material, e.g. by drawing same over mandrels, by pushing same through dies ; Making tubes with angled walls, ribbed tubes or tubes with decorated walls with guides parallel to the tube axis
    • BPERFORMING OPERATIONS; TRANSPORTING
    • B21MECHANICAL METAL-WORKING WITHOUT ESSENTIALLY REMOVING MATERIAL; PUNCHING METAL
    • B21DWORKING OR PROCESSING OF SHEET METAL OR METAL TUBES, RODS OR PROFILES WITHOUT ESSENTIALLY REMOVING MATERIAL; PUNCHING METAL
    • B21D53/00Making other particular articles
    • B21D53/02Making other particular articles heat exchangers or parts thereof, e.g. radiators, condensers fins, headers
    • B21D53/08Making other particular articles heat exchangers or parts thereof, e.g. radiators, condensers fins, headers of both metal tubes and sheet metal
    • B21D53/085Making other particular articles heat exchangers or parts thereof, e.g. radiators, condensers fins, headers of both metal tubes and sheet metal with fins places on zig-zag tubes or parallel tubes
    • BPERFORMING OPERATIONS; TRANSPORTING
    • B23MACHINE TOOLS; METAL-WORKING NOT OTHERWISE PROVIDED FOR
    • B23KSOLDERING OR UNSOLDERING; WELDING; CLADDING OR PLATING BY SOLDERING OR WELDING; CUTTING BY APPLYING HEAT LOCALLY, e.g. FLAME CUTTING; WORKING BY LASER BEAM
    • B23K1/00Soldering, e.g. brazing, or unsoldering
    • B23K1/14Soldering, e.g. brazing, or unsoldering specially adapted for soldering seams
    • B23K1/16Soldering, e.g. brazing, or unsoldering specially adapted for soldering seams longitudinal seams, e.g. of shells
    • FMECHANICAL ENGINEERING; LIGHTING; HEATING; WEAPONS; BLASTING
    • F28HEAT EXCHANGE IN GENERAL
    • F28FDETAILS OF HEAT-EXCHANGE AND HEAT-TRANSFER APPARATUS, OF GENERAL APPLICATION
    • F28F1/00Tubular elements; Assemblies of tubular elements
    • F28F1/10Tubular elements and assemblies thereof with means for increasing heat-transfer area, e.g. with fins, with projections, with recesses
    • F28F1/12Tubular elements and assemblies thereof with means for increasing heat-transfer area, e.g. with fins, with projections, with recesses the means being only outside the tubular element
    • F28F1/24Tubular elements and assemblies thereof with means for increasing heat-transfer area, e.g. with fins, with projections, with recesses the means being only outside the tubular element and extending transversely
    • F28F1/30Tubular elements and assemblies thereof with means for increasing heat-transfer area, e.g. with fins, with projections, with recesses the means being only outside the tubular element and extending transversely the means being attachable to the element

Definitions

  • an object of the present invention is to provide a heat exchanger manufacturing method and a diameter expansion jig capable of reducing a load required for diameter expansion of a tubular body.
  • a roll for inserting a diameter expansion jig having an outer diameter larger than the inner diameter of the tubular body before diameter expansion into the tubular body before diameter expansion is provided.
  • the metal plate wound in a shape is forcibly loosened to expand the diameter of the tubular body. That is, the diameter of the tubular body can be easily increased by using a diameter expansion jig having an outer diameter larger than the inner diameter of the tubular body before diameter expansion.
  • the tubular body is formed by winding a metal plate made of aluminum in a roll shape, the heat transfer efficiency between the tubular body and the fluid passing through the inside of the tubular body is increased. While securing, the weight can be reduced and the cost can be reduced.
  • the metal plate is made of aluminum, for example, the load required for expanding the diameter of the tubular body can be reduced as compared with a metal plate made of a material that is not easily deformed, such as an iron plate.
  • the diameter of the tubular body is increased by the diameter expanding jig, the deformation (collapse deformation) of the uneven portion formed on the inner peripheral surface of the tubular body can be further suppressed.
  • the method for producing a heat exchanger according to a fifth aspect of the present invention is the method for producing a heat exchanger according to any one of the second to fourth aspects, wherein the diameter expansion jig is an inner part of the tubular body.
  • a cylindrical main body portion inserted into the outer peripheral surface of the main body portion and spaced from the outer peripheral surface of the main body portion, and protrudes from the end side in the insertion direction of the main body portion.
  • a rib that extends in the opposite direction to the insertion direction and contacts the inner peripheral surface of the tubular body, and is formed at a distal end portion of the rib in the insertion direction, from the outer peripheral surface of the main body portion toward the opposite side to the insertion direction.
  • a sloping portion in which the protruding height gradually increases.
  • the ribs constituting the diameter expansion jig contact the inner peripheral surface of the tubular body, the contact area between the diameter expansion jig and the inner peripheral surface of the tubular body is reduced. Therefore, resistance due to deformation of the tubular body when the diameter expansion jig is inserted into the tubular body can be reduced. Thereby, the load required to insert the diameter expansion jig into the tubular body can be reduced.
  • the rib is spirally formed so that the spiral direction is opposite to the winding direction of the metal plate wound in a roll shape toward the side opposite to the insertion direction of the main body. Therefore, when the diameter-enlarging jig is inserted into the tubular body, the metal plate wound in a roll shape by the rib receives a force opposite to the winding direction and is loosened. Thereby, the load required for diameter expansion of a tubular body can be made smaller.
  • a heat exchanger manufacturing method is the heat exchanger manufacturing method according to the fifth aspect, wherein the rib extends linearly toward the side opposite to the insertion direction of the main body portion, and is a roll.
  • the two ribs disposed on both sides of the end portion on the inner peripheral side of the metal plate wound in a shape have an interval between the contact portions in contact with the inner peripheral surface of the tubular body in the insertion direction. And spreading towards the opposite side.
  • each of the metal plates wound in a roll shape comes into contact with the inner peripheral surface of the tubular body of two ribs arranged on both sides across the end portion on the inner peripheral side. Since the interval between the contact portions of the metal plate is widened in the direction opposite to the insertion direction, when the diameter expansion jig is inserted into the tubular body, the metal plate wound in a roll shape by the two ribs The end portion on the inner peripheral side receives a force opposite to the winding direction and moves in the circumferential direction of the tubular body, and the metal plate wound in a roll shape is loosened. Thereby, the load required for diameter expansion of a tubular body can be made smaller.
  • the diameter expansion jig of the eighth aspect of the present invention is a diameter expansion jig for expanding the diameter of a tubular body formed by winding a metal plate in a roll shape, and is a circle inserted into the tubular body.
  • a columnar main body and an outer peripheral surface of the main body that are spaced apart in the circumferential direction, protrude from the outer peripheral surface of the main body, and are opposite to the insertion direction from the end in the insertion direction of the main body A rib contacting the inner peripheral surface of the tubular body, and a protrusion height from the outer peripheral surface of the main body portion toward the opposite side to the insertion direction. And an gradually increasing height, and the outer diameter is larger than the inner diameter of the tubular body.
  • the metal plate wound in a roll shape is forcibly loosened by being inserted into the tubular body.
  • the tubular body expands in diameter.
  • the rib contacts the inner peripheral surface of the tubular body when the diameter expanding jig is inserted, the contact area between the diameter expanding jig and the inner peripheral surface of the tubular body can be reduced.
  • resistance due to deformation of the tubular body when inserting the diameter expansion jig into the tubular body can be reduced.
  • the load required to insert the diameter expansion jig into the tubular body can be reduced.
  • the load required for expanding the diameter of the tubular body can be reduced.
  • the heat exchanger manufacturing method and the diameter expansion jig of the present invention can reduce the load required for the diameter expansion of the tubular body.
  • FIG. 2 is a cross-sectional view taken along line 2X-2X in FIG.
  • FIG. 3 is a cross-sectional view taken along line 3X-3X in FIG. 1.
  • It is a perspective view of the diameter expansion jig used with the manufacturing method of the heat exchanger of 1st Embodiment.
  • It is a front view of the diameter expansion jig shown in FIG. 4A.
  • It is a side view of the diameter expansion jig shown in FIG. 4A.
  • FIG. 6A It is sectional drawing along the axial direction of the tubular body of the heat exchanger manufactured by the manufacturing method of the heat exchanger of 1st Embodiment. It is a perspective view of the 1st modification of a diameter expansion jig used in a 1st embodiment. It is a front view of the diameter expansion jig of the 1st modification shown in Drawing 6A. It is a side view of the diameter expansion jig of the 1st modification shown in Drawing 6A. It is a perspective view of the 2nd modification of a diameter expansion jig used in a 1st embodiment. It is a front view of the diameter expansion jig of the 2nd modification shown in Drawing 7A.
  • FIG. 11 is a cross-sectional view taken along the axis perpendicular direction of the tubular body after diameter expansion for explaining the diameter expansion process of the manufacturing method of the heat exchanger of FIG. 10 (a view corresponding to the cross-sectional view taken along line 3X-3X in FIG. 1). .
  • the heat exchanger 20 manufactured by the manufacturing method of the heat exchanger of 1st Embodiment is shown.
  • the heat exchanger 20 of the present embodiment is mounted on an air conditioner and is used for heat exchange of a fluid used in a heat exchange unit of the air conditioner.
  • this invention is not limited to the said structure,
  • the heat exchanger 20 may be used for cooling of the refrigerant
  • coolant an example of a fluid
  • coolant an example of a fluid
  • the cooling water of the engine cooling device (an example of fluid) may be used for cooling. That is, the heat exchanger 20 of the present embodiment may be applied to any device as long as it is an application for exchanging heat from a fluid.
  • the heat transfer tube 30 is formed by bending a single metal plate 31. Specifically, the heat transfer tube 30 is formed by winding a metal plate 31 in a roll shape and joining the wound portions. Note that the heat transfer tube 30 of the present embodiment is a double-winding tube in which a metal plate 31 is double-wound.
  • a part of the inner surface 31B of the metal plate 31 wound in a roll shape is a tube inner surface 30B, and a part of the outer surface 31A of the metal plate 31 wound in a roll shape is a tube outer surface 30A.
  • an intermediate portion (intermediate portion in the winding direction) between the end portion 31C and the end portion 31D of the metal plate 31 wound in a roll shape is substantially crank-shaped.
  • the step portion 32 is formed by being bent.
  • One surface (surface constituting the inner surface 31B) of the stepped portion 32 formed in this way is an inner step surface 32B, and the other surface (surface constituting the outer surface 31A) is an outer step surface 32A.
  • a flat metal plate 31 having a core material covered with a coating material is prepared, and the metal plate 31 is wound into a roll shape to form a heat transfer tube 30 (heat transfer tube before diameter expansion) which is an example of a tubular body.
  • a heat transfer tube 30 heat transfer tube before diameter expansion
  • the metal plate 31 is wound into a roll shape using a roll forming machine, that is, the heat transfer tube 30 is formed by roll forming (roll forming).
  • the metal plate 31 is wound in a roll shape so that the outer diameter of the heat transfer tube 30 is smaller than the diameter of the through hole 42 formed in the fin 40 (see FIG. 1).
  • the metal plate 31 wound in a roll shape is inserted into the through hole 42 formed in the fin 40. Thereafter, the metal plate 31 wound in a roll shape is loosened to expand the diameter of the heat transfer tube 30, and the tube outer surface 30 ⁇ / b> A of the heat transfer tube 30 and the hole wall 42 ⁇ / b> A of the through hole 42 of the fin 40 are brought into contact with each other.
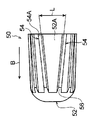
  • a diameter-enlarging jig 50 having an outer diameter larger than the inner diameter of the heat transfer tube 30 before diameter expansion is inserted into the heat transfer tube 30 before diameter expansion to form a roll.
  • the heat transfer tube 30 is expanded in diameter by forcibly loosening the metal plate 31 wound around.
  • the outer diameter of the diameter expansion jig 50 is set to a size that allows the heat transfer tube 30 to be expanded until the outer surface 30A of the tube comes into contact with the hole wall 42A.
  • the rib 54 extends linearly toward the side opposite to the insertion direction of the main body 52. Further, the two ribs 54 arranged on both sides of the end portion 31C of the metal plate 31 wound in a roll shape have an interval L between the contact portions contacting the inner surface 30B of the heat transfer tube 30 as the main body. The portion 52 extends toward the opposite side of the insertion direction.
  • the inclined portion 56 is configured such that the protruding height from the outer peripheral surface 52A of the main body 52 is gradually increased toward the side opposite to the insertion direction of the main body 52.
  • the diameter expansion jig 50 having an outer diameter larger than the inner diameter of the heat transfer pipe 30 before diameter expansion is placed inside the heat transfer pipe 30 before diameter expansion.
  • the metal plate 31 wound in a roll shape is forcibly loosened and the heat transfer tube 30 is expanded in diameter. That is, the heat transfer tube 30 can be easily expanded in diameter by using the diameter expansion jig 50 having an outer diameter larger than the inner diameter of the heat transfer tube 30 before the diameter expansion.
  • the rib 54 of the diameter expansion jig 50 comes into contact with the tube inner surface 30B of the heat transfer tube 30, so that the contact area between the diameter expansion jig 50 and the tube inner surface 30B of the heat transfer tube 30 is reduced. It is possible to reduce resistance due to deformation of the heat transfer tube 30 when the diameter expansion jig 50 is inserted into the heat transfer tube 30. Thereby, the load required to insert the diameter expansion jig 50 into the heat transfer tube 30 can be reduced.
  • each of the two ribs 54 disposed on both sides of the end portion 31C of the metal plate 31 wound in a roll shape comes into contact with the tube inner surface 30B of the heat transfer tube 30. Since the interval L between the contact portions is widened toward the side opposite to the insertion direction of the main body portion 52, when the diameter expansion jig 50 is inserted into the heat transfer tube 30, the two ribs 54 form a roll.
  • the end 31C of the wound metal plate 31 receives a force in the direction opposite to the winding direction and moves in the circumferential direction of the heat transfer tube 30 (shown by the arrow D direction in the figure), and the metal plate 31 wound in a roll shape Relaxed. Thereby, the load required for the diameter expansion of the heat exchanger tube 30 can be made smaller.
  • the diameter expansion jig 60 of the 1st modification, the diameter expansion jig 70 of the 2nd modification, and the diameter expansion jig 80 of the 3rd modification are manufacture of the heat exchanger 22 of 2nd Embodiment mentioned later. It may be used in the method.
  • the rib 64 protruding from the outer peripheral surface 52A of the main body portion 52 has an insertion direction from the end side in the insertion direction of the main body portion 52. It extends linearly along the opposite direction.
  • a plurality of ribs 64 are provided on the main body 52 at regular intervals in the circumferential direction. For this reason, when the diameter expansion jig 60 is inserted into the heat transfer tube 30 before the diameter expansion, the diameter expansion jig 60 is transferred before the diameter expansion without being limited by the position of the rib 64 of the diameter expansion jig 60. It can be inserted into the heat tube 30. Thereby, the complexity of the diameter expansion work of the heat exchanger tube 30 can be improved.
  • 6A to 6C indicates the top of the rib 64.
  • the metal plate 31 having the concavo-convex portion 92 formed on one plate surface is wound in a roll shape with the concavo-convex portion 92 inside, thereby forming a heat transfer tube 90 as an example of a tubular body (see FIG. 10).
  • the diameter of the heat transfer tube 90 is increased by the diameter expansion jig 50.
  • the deformation (collapse deformation) of the uneven portion 92 formed on the tube inner surface 90B can be suppressed. Thereby, the heat transfer efficiency between the heat transfer tube 90 and the fluid passing through the heat transfer tube 90 can be ensured.

Landscapes

  • Engineering & Computer Science (AREA)
  • Mechanical Engineering (AREA)
  • Physics & Mathematics (AREA)
  • Geometry (AREA)
  • Thermal Sciences (AREA)
  • General Engineering & Computer Science (AREA)
  • Heat-Exchange Devices With Radiators And Conduit Assemblies (AREA)
  • Details Of Heat-Exchange And Heat-Transfer (AREA)
PCT/JP2014/077473 2014-01-29 2014-10-15 熱交換器の製造方法及び拡径治具 Ceased WO2015114888A1 (ja)

Priority Applications (3)

Application Number Priority Date Filing Date Title
DE112014006290.1T DE112014006290T5 (de) 2014-01-29 2014-10-15 Wärmetauscher-Herstellverfahren und Durchmesser-Vergrößerungswerkzeug
CN201480074426.XA CN105939797A (zh) 2014-01-29 2014-10-15 热交换器的制造方法以及扩径治具
US15/115,069 US20160361749A1 (en) 2014-01-29 2014-10-15 Heat exchanger manufacturing method and diameter enlargement tool

Applications Claiming Priority (2)

Application Number Priority Date Filing Date Title
JP2014014650A JP6327868B2 (ja) 2014-01-29 2014-01-29 熱交換器の製造方法
JP2014-014650 2014-01-29

Publications (1)

Publication Number Publication Date
WO2015114888A1 true WO2015114888A1 (ja) 2015-08-06

Family

ID=53756488

Family Applications (1)

Application Number Title Priority Date Filing Date
PCT/JP2014/077473 Ceased WO2015114888A1 (ja) 2014-01-29 2014-10-15 熱交換器の製造方法及び拡径治具

Country Status (6)

Country Link
US (1) US20160361749A1 (enExample)
JP (1) JP6327868B2 (enExample)
CN (1) CN105939797A (enExample)
AR (1) AR099736A1 (enExample)
DE (1) DE112014006290T5 (enExample)
WO (1) WO2015114888A1 (enExample)

Cited By (1)

* Cited by examiner, † Cited by third party
Publication number Priority date Publication date Assignee Title
CN106040904A (zh) * 2016-07-28 2016-10-26 海信(广东)空调有限公司 一种管翅式换热器的生产方法及管翅式换热器

Families Citing this family (8)

* Cited by examiner, † Cited by third party
Publication number Priority date Publication date Assignee Title
US20180257124A1 (en) * 2015-09-02 2018-09-13 Gu Wang JUNG Pipe expanding punch
CN108067562B (zh) * 2016-11-14 2019-06-07 丹佛斯微通道换热器(嘉兴)有限公司 换热器的组装方法
JP7154747B2 (ja) * 2016-11-25 2022-10-18 株式会社デンソーエアクール 熱交換器および熱交換器の製造方法
EP3702715B1 (en) * 2017-10-27 2025-09-10 China Petroleum & Chemical Corporation Enhanced heat transfer pipe, and pyrolysis furnace and atmospheric and vacuum heating furnace comprising same
JP6913657B2 (ja) * 2018-07-26 2021-08-04 三桜工業株式会社 多重巻管の成形装置及び多重巻管の成形方法
JP7243104B2 (ja) * 2018-09-27 2023-03-22 株式会社ノーリツ 熱交換器およびその製造方法
US11835306B2 (en) * 2021-03-03 2023-12-05 Rheem Manufacturing Company Finned tube heat exchangers and methods for manufacturing same
CN114871532B (zh) * 2022-07-11 2022-10-11 四川空分设备(集团)有限责任公司 一种换热管与管板手工深孔焊方法

Citations (5)

* Cited by examiner, † Cited by third party
Publication number Priority date Publication date Assignee Title
JPS55130351A (en) * 1979-03-30 1980-10-09 Mitsubishi Electric Corp Production of heat exchange pipe
JPS6152948A (ja) * 1984-08-23 1986-03-15 Mitsubishi Heavy Ind Ltd 内面溝付管の製造方法
JPH04253534A (ja) * 1991-01-31 1992-09-09 Showa Alum Corp 熱交換器用チューブの拡管方法
JP2013202615A (ja) * 2012-03-27 2013-10-07 Mitsubishi Electric Corp 拡管ビレット、拡管装置、及び熱交換器
WO2014010387A1 (ja) * 2012-07-13 2014-01-16 住友軽金属工業株式会社 拡管用プラグ

Family Cites Families (11)

* Cited by examiner, † Cited by third party
Publication number Priority date Publication date Assignee Title
JPS5151557U (enExample) * 1974-10-18 1976-04-19
JPS5151557A (en) * 1974-10-30 1976-05-07 Imamura Seisakusho Kk Keekinadono hikansotaino kansoho
GB8625169D0 (en) * 1986-10-21 1986-11-26 Duma Packaging As Closure assembly
JPS63138962U (enExample) * 1987-02-26 1988-09-13
BE1005554A3 (fr) * 1991-12-10 1993-10-26 Bundy Internat Ltd Procede de fabrication d'un tube a paroi multiple.
JP3164272B2 (ja) * 1994-02-02 2001-05-08 ディン カーン ヒートパイプの製造方法およびその製造に用いる加工具
JP3784626B2 (ja) * 2000-09-20 2006-06-14 住友軽金属工業株式会社 内面溝付伝熱管を用いた熱交換器の製作方法
CN1317540C (zh) * 2002-03-18 2007-05-23 住友轻金属工业株式会社 使用内壁带槽的传热管的热交换器的制作方法
JP4597475B2 (ja) * 2002-12-12 2010-12-15 住友軽金属工業株式会社 熱交換器用クロスフィンチューブの製造方法及びクロスフィン型熱交換器
JP4297794B2 (ja) * 2003-02-20 2009-07-15 三菱電機株式会社 熱交換器の拡管装置
WO2005024171A2 (en) * 2003-09-05 2005-03-17 Enventure Global Technology, Llc Expandable tubular

Patent Citations (5)

* Cited by examiner, † Cited by third party
Publication number Priority date Publication date Assignee Title
JPS55130351A (en) * 1979-03-30 1980-10-09 Mitsubishi Electric Corp Production of heat exchange pipe
JPS6152948A (ja) * 1984-08-23 1986-03-15 Mitsubishi Heavy Ind Ltd 内面溝付管の製造方法
JPH04253534A (ja) * 1991-01-31 1992-09-09 Showa Alum Corp 熱交換器用チューブの拡管方法
JP2013202615A (ja) * 2012-03-27 2013-10-07 Mitsubishi Electric Corp 拡管ビレット、拡管装置、及び熱交換器
WO2014010387A1 (ja) * 2012-07-13 2014-01-16 住友軽金属工業株式会社 拡管用プラグ

Cited By (1)

* Cited by examiner, † Cited by third party
Publication number Priority date Publication date Assignee Title
CN106040904A (zh) * 2016-07-28 2016-10-26 海信(广东)空调有限公司 一种管翅式换热器的生产方法及管翅式换热器

Also Published As

Publication number Publication date
AR099736A1 (es) 2016-08-17
US20160361749A1 (en) 2016-12-15
JP2015139811A (ja) 2015-08-03
DE112014006290T5 (de) 2016-11-03
CN105939797A (zh) 2016-09-14
JP6327868B2 (ja) 2018-05-23

Similar Documents

Publication Publication Date Title
JP6327868B2 (ja) 熱交換器の製造方法
KR102085716B1 (ko) 열 교환기 및 그 제조 방법
JP5527169B2 (ja) 熱交換器用チューブ
US20160209127A1 (en) Heat Transfer Tube, Heat Transfer Tube Manufacturing Method, and Heat Exchanger
JP5094771B2 (ja) 熱交換器の製造方法及びその熱交換器を用いた空気調和機
JP5561928B2 (ja) 二重管式熱交換器
JP5709733B2 (ja) 二重管
JP2012097920A (ja) 熱交換器
KR20120038621A (ko) 열교환파이프의 제조방법
JP5645852B2 (ja) 管継手、熱交換器、及び熱交換器の製造方法
JP6958238B2 (ja) 熱交換器および熱交換器の製造方法
JP2014105951A (ja) 熱交換器
WO2020095797A1 (ja) 熱交換器および熱交換器の製造方法
JP2016097434A (ja) 熱交換器用チューブおよびその製造方法
WO2017080269A1 (zh) 换热器和换热管
JP2018124034A (ja) 熱交換器用チューブ
JP2013092335A (ja) 熱交換器用アルミニウム細管およびこれを用いた熱交換器
US20200088470A1 (en) Heat exchanger, heat exchanger manufacturing method, and air-conditioner including heat exchanger
JP6107686B2 (ja) フィンチューブ式熱交換器、その製造方法および空気調和機
JP2015163835A5 (enExample)
JP2006320910A (ja) 熱交換器用チューブおよびその製造方法
JP2006130558A (ja) 熱交換器の製造方法
JP2008064427A (ja) 熱交換器
JP2009150582A (ja) 熱交換器用偏平チューブ、熱交換器および熱交換器用偏平チューブの製造方法
JP2011127784A (ja) 沸騰用伝熱管及びその製造方法

Legal Events

Date Code Title Description
121 Ep: the epo has been informed by wipo that ep was designated in this application

Ref document number: 14880960

Country of ref document: EP

Kind code of ref document: A1

WWE Wipo information: entry into national phase

Ref document number: 15115069

Country of ref document: US

WWE Wipo information: entry into national phase

Ref document number: 112014006290

Country of ref document: DE

122 Ep: pct application non-entry in european phase

Ref document number: 14880960

Country of ref document: EP

Kind code of ref document: A1