WO2015107882A1 - インタークーラ - Google Patents

インタークーラ Download PDF

Info

Publication number
WO2015107882A1
WO2015107882A1 PCT/JP2015/000092 JP2015000092W WO2015107882A1 WO 2015107882 A1 WO2015107882 A1 WO 2015107882A1 JP 2015000092 W JP2015000092 W JP 2015000092W WO 2015107882 A1 WO2015107882 A1 WO 2015107882A1
Authority
WO
WIPO (PCT)
Prior art keywords
flow path
cooling medium
flow
intake air
cooling water
Prior art date
Legal status (The legal status is an assumption and is not a legal conclusion. Google has not performed a legal analysis and makes no representation as to the accuracy of the status listed.)
Ceased
Application number
PCT/JP2015/000092
Other languages
English (en)
French (fr)
Japanese (ja)
Inventor
真樹 原田
山中 章
荘史 齊藤
位司 安田
太一 浅野
Current Assignee (The listed assignees may be inaccurate. Google has not performed a legal analysis and makes no representation or warranty as to the accuracy of the list.)
Denso Corp
Original Assignee
Denso Corp
Priority date (The priority date is an assumption and is not a legal conclusion. Google has not performed a legal analysis and makes no representation as to the accuracy of the date listed.)
Filing date
Publication date
Application filed by Denso Corp filed Critical Denso Corp
Priority to CN201580004508.1A priority Critical patent/CN105917094B/zh
Priority to DE112015000390.8T priority patent/DE112015000390B4/de
Priority to US15/109,742 priority patent/US10060338B2/en
Publication of WO2015107882A1 publication Critical patent/WO2015107882A1/ja
Anticipated expiration legal-status Critical
Ceased legal-status Critical Current

Links

Images

Classifications

    • FMECHANICAL ENGINEERING; LIGHTING; HEATING; WEAPONS; BLASTING
    • F02COMBUSTION ENGINES; HOT-GAS OR COMBUSTION-PRODUCT ENGINE PLANTS
    • F02BINTERNAL-COMBUSTION PISTON ENGINES; COMBUSTION ENGINES IN GENERAL
    • F02B29/00Engines characterised by provision for charging or scavenging not provided for in groups F02B25/00, F02B27/00 or F02B33/00 - F02B39/00; Details thereof
    • F02B29/04Cooling of air intake supply
    • F02B29/0406Layout of the intake air cooling or coolant circuit
    • F02B29/0437Liquid cooled heat exchangers
    • F02B29/0443Layout of the coolant or refrigerant circuit
    • FMECHANICAL ENGINEERING; LIGHTING; HEATING; WEAPONS; BLASTING
    • F02COMBUSTION ENGINES; HOT-GAS OR COMBUSTION-PRODUCT ENGINE PLANTS
    • F02BINTERNAL-COMBUSTION PISTON ENGINES; COMBUSTION ENGINES IN GENERAL
    • F02B29/00Engines characterised by provision for charging or scavenging not provided for in groups F02B25/00, F02B27/00 or F02B33/00 - F02B39/00; Details thereof
    • F02B29/04Cooling of air intake supply
    • F02B29/045Constructional details of the heat exchangers, e.g. pipes, plates, ribs, insulation, materials, or manufacturing and assembly
    • F02B29/0462Liquid cooled heat exchangers
    • FMECHANICAL ENGINEERING; LIGHTING; HEATING; WEAPONS; BLASTING
    • F28HEAT EXCHANGE IN GENERAL
    • F28DHEAT-EXCHANGE APPARATUS, NOT PROVIDED FOR IN ANOTHER SUBCLASS, IN WHICH THE HEAT-EXCHANGE MEDIA DO NOT COME INTO DIRECT CONTACT
    • F28D9/00Heat-exchange apparatus having stationary plate-like or laminated conduit assemblies for both heat-exchange media, the media being in contact with different sides of a conduit wall
    • F28D9/0031Heat-exchange apparatus having stationary plate-like or laminated conduit assemblies for both heat-exchange media, the media being in contact with different sides of a conduit wall the conduits for one heat-exchange medium being formed by paired plates touching each other
    • F28D9/0043Heat-exchange apparatus having stationary plate-like or laminated conduit assemblies for both heat-exchange media, the media being in contact with different sides of a conduit wall the conduits for one heat-exchange medium being formed by paired plates touching each other the plates having openings therein for circulation of at least one heat-exchange medium from one conduit to another
    • FMECHANICAL ENGINEERING; LIGHTING; HEATING; WEAPONS; BLASTING
    • F28HEAT EXCHANGE IN GENERAL
    • F28DHEAT-EXCHANGE APPARATUS, NOT PROVIDED FOR IN ANOTHER SUBCLASS, IN WHICH THE HEAT-EXCHANGE MEDIA DO NOT COME INTO DIRECT CONTACT
    • F28D9/00Heat-exchange apparatus having stationary plate-like or laminated conduit assemblies for both heat-exchange media, the media being in contact with different sides of a conduit wall
    • F28D9/0031Heat-exchange apparatus having stationary plate-like or laminated conduit assemblies for both heat-exchange media, the media being in contact with different sides of a conduit wall the conduits for one heat-exchange medium being formed by paired plates touching each other
    • F28D9/0043Heat-exchange apparatus having stationary plate-like or laminated conduit assemblies for both heat-exchange media, the media being in contact with different sides of a conduit wall the conduits for one heat-exchange medium being formed by paired plates touching each other the plates having openings therein for circulation of at least one heat-exchange medium from one conduit to another
    • F28D9/0056Heat-exchange apparatus having stationary plate-like or laminated conduit assemblies for both heat-exchange media, the media being in contact with different sides of a conduit wall the conduits for one heat-exchange medium being formed by paired plates touching each other the plates having openings therein for circulation of at least one heat-exchange medium from one conduit to another with U-flow or serpentine-flow inside conduits; with centrally arranged openings on the plates
    • FMECHANICAL ENGINEERING; LIGHTING; HEATING; WEAPONS; BLASTING
    • F28HEAT EXCHANGE IN GENERAL
    • F28DHEAT-EXCHANGE APPARATUS, NOT PROVIDED FOR IN ANOTHER SUBCLASS, IN WHICH THE HEAT-EXCHANGE MEDIA DO NOT COME INTO DIRECT CONTACT
    • F28D9/00Heat-exchange apparatus having stationary plate-like or laminated conduit assemblies for both heat-exchange media, the media being in contact with different sides of a conduit wall
    • F28D9/0093Multi-circuit heat-exchangers, e.g. integrating different heat exchange sections in the same unit or heat-exchangers for more than two fluids
    • FMECHANICAL ENGINEERING; LIGHTING; HEATING; WEAPONS; BLASTING
    • F28HEAT EXCHANGE IN GENERAL
    • F28FDETAILS OF HEAT-EXCHANGE AND HEAT-TRANSFER APPARATUS, OF GENERAL APPLICATION
    • F28F13/00Arrangements for modifying heat-transfer, e.g. increasing, decreasing
    • F28F13/06Arrangements for modifying heat-transfer, e.g. increasing, decreasing by affecting the pattern of flow of the heat-exchange media
    • FMECHANICAL ENGINEERING; LIGHTING; HEATING; WEAPONS; BLASTING
    • F28HEAT EXCHANGE IN GENERAL
    • F28DHEAT-EXCHANGE APPARATUS, NOT PROVIDED FOR IN ANOTHER SUBCLASS, IN WHICH THE HEAT-EXCHANGE MEDIA DO NOT COME INTO DIRECT CONTACT
    • F28D21/00Heat-exchange apparatus not covered by any of the groups F28D1/00 - F28D20/00
    • F28D2021/0019Other heat exchangers for particular applications; Heat exchange systems not otherwise provided for
    • F28D2021/008Other heat exchangers for particular applications; Heat exchange systems not otherwise provided for for vehicles
    • F28D2021/0082Charged air coolers
    • FMECHANICAL ENGINEERING; LIGHTING; HEATING; WEAPONS; BLASTING
    • F28HEAT EXCHANGE IN GENERAL
    • F28FDETAILS OF HEAT-EXCHANGE AND HEAT-TRANSFER APPARATUS, OF GENERAL APPLICATION
    • F28F2210/00Heat exchange conduits
    • F28F2210/10Particular layout, e.g. for uniform temperature distribution
    • YGENERAL TAGGING OF NEW TECHNOLOGICAL DEVELOPMENTS; GENERAL TAGGING OF CROSS-SECTIONAL TECHNOLOGIES SPANNING OVER SEVERAL SECTIONS OF THE IPC; TECHNICAL SUBJECTS COVERED BY FORMER USPC CROSS-REFERENCE ART COLLECTIONS [XRACs] AND DIGESTS
    • Y02TECHNOLOGIES OR APPLICATIONS FOR MITIGATION OR ADAPTATION AGAINST CLIMATE CHANGE
    • Y02TCLIMATE CHANGE MITIGATION TECHNOLOGIES RELATED TO TRANSPORTATION
    • Y02T10/00Road transport of goods or passengers
    • Y02T10/10Internal combustion engine [ICE] based vehicles
    • Y02T10/12Improving ICE efficiencies

Definitions

  • This disclosure relates to an intercooler that cools supercharged intake air pressurized by a supercharger.
  • an intercooler that cools supercharged intake air by exchanging heat between supercharged air that is supercharged to an engine (internal combustion engine) by a supercharger and two types of cooling water having different temperatures has been disclosed.
  • the intercooler described in Patent Document 1 is configured such that high-temperature cooling water circulates upstream of a supercharged intake passage through which supercharged intake air passes, and low-temperature cooling water circulates downstream of the supercharged intake passage. ing.
  • the low temperature cooling water can be warmed up early by the heat of the high temperature cooling water. Furthermore, since the supercharged intake air can be pre-cooled with the high-temperature cooling water before being cooled with the low-temperature cooling water, the cooling performance of the supercharged intake air cooling system can be improved.
  • the temperature difference between the inlet portion and the outlet portion of the high-temperature cooling water flow path that is, the temperature difference between the one end portion and the other end portion in the flow direction of the high-temperature cooling water becomes large.
  • the temperature uniformity in warm air at the start of the engine is deteriorated, and the cooling performance cannot be sufficiently obtained by the precooling of the supercharged intake air, so that the cooling performance is lowered.
  • an object of the present disclosure to provide an intercooler that can improve the heat uniformity in warm air at the start of the engine and improve the cooling performance.
  • an intercooler that cools the supercharged intake air by performing heat exchange between the supercharged intake air that is supercharged to the engine by the supercharger and the cooling medium flows inside the flow path pipe.
  • a heat exchanging unit that exchanges heat between the cooling medium and the supercharged intake air flowing outside the flow path pipe is provided.
  • the cooling medium a first cooling medium and a second cooling medium having a temperature higher than that of the first cooling medium are used.
  • a first cooling medium flow path through which the first cooling medium flows and a second cooling medium flow path through which the second cooling medium flows are formed in the flow path pipe.
  • the flow path pipe has a first U-turn portion that makes a U-turn flow of the first cooling medium flowing through the first cooling medium flow path, and a first U-turn that makes a flow of the second cooling medium flowing through the second cooling medium flow path. It has a 2U turn part.
  • the second U-turn portion that makes the U-turn of the flow of the second cooling medium having a temperature higher than that of the first cooling medium is provided in the flow path pipe, so that the second time when viewed from the supercharging intake air flow direction.
  • the temperature difference between the one end portion and the other end portion in the flow direction of the cooling medium can be reduced. For this reason, the soaking
  • the cooling performance can be sufficiently improved by precooling the supercharged intake air, the cooling performance can be improved.
  • FIG. 6 is a characteristic diagram showing a relationship between a length in a supercharging intake air flow direction in a second cooling water flow path forming portion and a pressure loss in the second cooling water flow path. It is a schematic diagram which shows the inside of the flow-path pipe
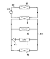
  • a supercharger (not shown) for supercharging intake air to the engine 1 is provided in an intake system of a vehicle engine (internal combustion engine) 1.
  • This supercharger is provided to supplement the maximum output of the engine 1. That is, in the vehicle in the present embodiment, the engine 1 has a small displacement for the purpose of improving fuel consumption, and the supercharger compensates for the decrease in the maximum output that accompanies this small displacement.
  • an intercooler 2 for cooling the engine intake air is provided on the downstream side of the intake air flow from the supercharger.
  • the intercooler 2 serves to cool the supercharged intake air compressed by the supercharger and improve the charging efficiency of the engine intake air.
  • the intercooler 2 is provided in a first cooling water circuit 30 through which the first cooling water circulates, and the first cooling water circulates inside the intercooler 2.
  • the second cooling water circulating through the second cooling water circuit 40 also circulates inside the intercooler 2.
  • the intercooler 2 heat-exchanges the supercharged intake air compressed by the supercharger with the first and second cooling waters to cool the supercharged intake air.
  • the first cooling water circuit 30 is provided with a water pump 31 that circulates the first cooling water. In the first cooling water circuit 30, heat of the first cooling water is transferred between the water pump 31 and the intercooler 2 to the outside air.
  • a first radiator (first radiator) 32 that dissipates heat and cools the first cooling water is provided.
  • the second cooling water circuit 40 is provided with a water pump 41, a second radiator (second radiator) 42, and a heater core (heating heat exchanger) 43.
  • the water pump 41 circulates the second cooling water in the second cooling water circuit 40.
  • the second radiator radiates the heat absorbed by the second cooling water from the engine 1 to the outside air.
  • the heater core 43 heats the blown air by exchanging heat between the blown air blown into the vehicle interior and the second cooling water.
  • the intercooler 2, the second radiator 42 and the heater core 43 are arranged in parallel in the second cooling water circuit 40.
  • the 1st cooling water of this embodiment is equivalent to the 1st cooling medium of this indication
  • the 2nd cooling water of this embodiment is equivalent to the 2nd cooling medium of this indication.
  • the first and second cooling water LLC (antifreeze), water or the like can be used.
  • the drive power of the water pumps 31 and 41 is transmitted from the engine 1, but an electric water pump may be used as the water pumps 31 and 41.
  • the intercooler 2 of the first embodiment includes a heat exchange section 23 in which a plurality of flow path pipes 21 and fins 22 joined between adjacent flow path pipes 21 are alternately stacked.
  • the heat exchanging unit 23 is configured to exchange heat between the first and second cooling water flowing inside the flow channel pipe 21 and the supercharged intake air flowing outside the flow channel pipe 21.
  • the fin 22 is a corrugated fin formed by bending a thin plate material into a wave shape, and is joined to the flat outer surface side of the flow path pipe 21 to enlarge the heat transfer area between the supercharged intake air and the first and second cooling water.
  • the heat exchange promotion part for this is comprised.
  • a first cooling water channel 211 through which the first cooling water flows and a second cooling water channel 212 through which the second cooling water flows are formed in the channel pipe 21.
  • the first cooling water channel 211 and the second cooling water channel 212 are arranged side by side in the supercharging intake air flow direction.
  • the first cooling water flow path 211 is disposed on the downstream side of the supercharging intake air flow with respect to the second cooling water flow path 212. That is, in the intercooler 2 of the present embodiment, the second cooling water flows in the upstream side of the supercharging intake passage through which the supercharging intake air passes, and the first cooling water flows in the downstream side of the supercharging intake passage. It is configured.
  • the flow path pipe 21 has a first U-turn part 213 for making a U-turn flow of the first cooling water flowing through the first cooling water flow path 211 and a U-turn for the flow of second cooling water flowing through the second cooling water flow path 212.
  • the second U-turn part 214 is provided.
  • each flow channel tube 21 has one first U-turn portion 213 and one second U-turn portion 214. For this reason, the first cooling water and the second cooling water flow in a substantially U shape in the flow channel pipe 21.
  • the intercooler 2 includes a first distribution tank unit (not shown) that distributes the first cooling water to the first cooling water channels 211 of the plurality of channel tubes 21, and the first cooling of the plurality of channel tubes 21.
  • the intercooler 2 includes a second distribution tank unit (not shown) that distributes the second cooling water to the second cooling water channels 212 of the plurality of channel tubes 21, and the second cooling of the plurality of channel tubes 21.
  • the flow path pipe 21 includes a first inlet portion 211 a that allows the first cooling water flow into the first cooling water flow path 211 and a first outlet portion 211 b that allows the first cooling water flow out from the first cooling water flow path 211. Yes.
  • the channel pipe 21 includes a second inlet portion 212 a that allows the second cooling water to flow into the second cooling water channel 212 and a second outlet portion 212 b that causes the second cooling water to flow out from the second cooling water channel 212. I have.
  • the first inlet portion 211a, the first outlet portion 211b, the second inlet portion 212a, and the second outlet portion 212b are configured by forming a through hole in the flow channel tube 21. Therefore, the 2nd entrance part 212a and the 2nd exit part 212b in this embodiment are equivalent to a penetration hole.
  • the first inlet portion 211a, the first outlet portion 211b, the second inlet portion 212a, and the second outlet portion 212b are arranged at one end in the longitudinal direction of the flow channel tube 21. Further, the first inlet portion 211a, the first outlet portion 211b, the second inlet portion 212a, and the second outlet portion 212b are arranged in this order from the downstream side of the supercharged intake air flow.
  • the first cooling water channel 211 includes two first main flow portions 211c extending in the longitudinal direction of the flow channel pipe 21 (left and right direction in the drawing), a first U-turn portion 213 connecting the two first main flow portions 211c, It has a first inlet forming part 211d in which one inlet part 211a is formed and a first outlet forming part 211e in which a first outlet part 211b is formed.
  • the flow path pipe 21 is provided with a first partition portion 24 that partitions between the two first main flow portions 211c and partitions between the first inlet forming portion 211d and the first outlet forming portion 211e.
  • the second cooling water passage 212 includes two second main flow portions 212c extending in the longitudinal direction of the flow passage tube 21, a second U-turn portion 214 that connects the two second main flow portions 212c, and a second inlet portion 212a. It has the 2nd exit formation part 212e in which the 2nd entrance formation part 212d formed and the 2nd exit part 212b are formed.
  • the flow path pipe 21 is provided with a second partition portion 25 that partitions the two second main flow portions 212c and partitions the second inlet forming portion 212d and the second outlet forming portion 212e.
  • the 2nd entrance formation part 212d and the 2nd exit formation part 212e in this embodiment are equivalent to the through-hole formation part.
  • the intercooler 2 of the present embodiment includes a plate member in which the channel pipe 21 and four tank portions communicating with the channel pipe 21 are formed by joining a pair of plate-like members 210 together in the middle.
  • a so-called drone cup type heat exchanger structure in which a plurality of the fins 22 are stacked and disposed is provided.
  • the flow path pipe 21 is formed by joining two opposing plate-like members 210.
  • a configuration corresponding to the four tank portions in this embodiment is formed by stacking a plurality of plate members and communicating the tank portions of the plate members with each other. can do.
  • An inner fin may be provided.
  • the length of the flow path pipe 21 in the supercharging intake air flow direction is D 2
  • the length of the flow path pipe 21 in the portion where the first cooling water flow path 211 is formed (hereinafter referred to as the first cooling water flow path forming portion).
  • the length in the supply / intake flow direction is D LT
  • the length in the supercharged intake flow direction in the part of the flow path pipe 21 where the second cooling water flow path 212 is formed (hereinafter referred to as the second cooling water flow path forming portion).
  • Is DHT the ratio of the lengths of the first cooling water flow path forming part and the second cooling water flow path forming part in the supercharging intake air flow direction is referred to as a flow path ratio (D HT / D LT ).
  • the length D LT turbocharged flow direction of the first coolant flow passage forming portion, of the first main portion 211c is twice the length of the turbocharged flow direction of the first partition portion 24 It is almost equal to the value obtained by adding the length in the supercharged intake air flow direction.
  • the length D HT turbocharged flow direction of the second coolant flow passage forming portion, the twice the length of the turbocharged flow direction of the second main portion 212c, turbocharged of the second partition part 25 It is almost equal to the value obtained by adding the length in the flow direction.
  • FIG. 4 shows the supercharged intake outlet temperature Tg2 of the intercooler 2 when the flow path ratio DHT / DLT is changed while the length D of the flow path pipe 21 in the supercharged intake flow direction is constant.
  • the vertical axis of FIG. 4 is based on the supercharging intake outlet temperature Tg2 of the intercooler 2 where the flow path ratio D HT / D LT is 0, that is, the second cooling water flow path 212 is not provided in the flow path pipe 21 (0 ° C. ), The supercharging intake outlet temperature Tg2.
  • the supercharged intake outlet temperature Tg2 can be lowered from the lowest temperature to a range of 1.5 ° C. Further, by setting the flow path ratio D HT / D LT in the range of 0.17 or more and 0.83 or less, the supercharged intake / outlet temperature Tg2 can be lowered from the lowest temperature to the range of 1 ° C. Furthermore, the supercharging intake outlet temperature Tg2 can be lowered from the lowest temperature to a range of 0.5 ° C. by setting the flow path ratio D HT / D LT in the range of 0.2 to 0.7.
  • the second cooling water flow path 212 of the intercooler 2 and the heater core 43 are arranged in parallel. For this reason, if the pressure loss of the 2nd cooling water flow path 212 of the intercooler 2 is too large, a cooling water may not flow into the intercooler 2 side, and there exists a possibility that the cooling performance of supercharging intake air may fall.
  • the flow rate Vw of the cooling water in the second cooling water channel 212 is 10 l / min or more.
  • the pressure loss of the 2nd cooling water flow path 212 is 50 kPa or less. Accordingly, as shown in FIG. 5, by a turbocharged flow direction length D HT to 20mm or more in the second coolant flow passage forming portion, the pressure loss of the second coolant passage 212 as follows 50 kPa, the The cooling water flow in the two cooling water flow paths 212 can be ensured.
  • the second U-turn portion 214 that makes the U-turn of the flow of the second cooling water whose temperature is higher than that of the first cooling water is provided in the flow path pipe 21, when viewed from the flow direction of the supercharged intake air
  • the temperature difference between the one end portion and the other end portion in the flow direction of the second cooling water can be reduced.
  • uniform-heating property in the warm air at the time of starting of the engine 1 can be improved.
  • the cooling performance can be sufficiently improved by precooling with the second cooling water of the supercharged intake air, the cooling performance can be improved.
  • the flow rate ratio D HT / D LT be in the range of 0.15 or more and 0.96 or less because the supercharged intake / outlet temperature Tg2 can be lowered. Further, it is more preferable that the flow rate ratio D HT / D LT be in the range of 0.17 or more and 0.83 or less because the supercharged intake / outlet temperature Tg2 can be further lowered. Furthermore, by setting the flow path ratio D HT / D LT in the range of 0.2 or more and 0.7 or less, the supercharged intake outlet temperature Tg2 can be further lowered, which is most desirable.
  • the second cooling water passage 212 A cooling water flow can be secured. Thereby, it becomes possible to improve cooling performance reliably.
  • the length D of the flow path pipe 21 in the supercharging intake air flow direction is too large, it becomes difficult to mount the intercooler 2 on the vehicle. Therefore, in practice, it is desirable that the length D of the flow path pipe 21 in the supercharged intake air flow direction be 200 mm or less.
  • the first inner fin 26 that divides the first cooling water channel 211 into a plurality of narrow channels and the second cooling water channel 212 include a plurality of outermost channels.
  • segmented into a flow path is provided.
  • the first inner fins 26 are respectively provided in the first main flow portions 211 c in the first cooling water channel 211.
  • the second inner fins 27 are respectively provided in the main flow portions 212 c in the second cooling water channel 212.
  • the length Dd of the second outlet forming portion 212e in the supercharging intake air flow direction is the length Hd of the second cooling water flow passage 212 in the supercharging intake air flow direction, that is, the second main flow portion.
  • the length 212d is longer than the length Hd in the supercharging intake air flow direction of 212c.
  • the length of the second inlet forming portion 212d in the supercharging intake air flow direction is also longer than the length Hd of the second main flow portion 212c in the supercharging intake air flow direction.
  • the length of the first outlet forming portion 211e in the supercharging intake air flow direction is shorter than the length of the first cooling water passage 211 in the supercharging intake air flow direction, that is, the length of the first main flow portion 211c in the supercharging intake air flow direction. It has become. Further, the length of the first inlet forming portion 211d in the supercharging intake air flow direction is also shorter than the length of the first main flow portion 211c in the supercharging intake air flow direction.
  • the first inlet forming portion 211d, the first outlet forming portion 211e, the second inlet forming portion 212d, and the second outlet forming portion 212e have the same length in the supercharging intake air flow direction.
  • the length Dd of the second inlet forming portion 212d and the second outlet forming portion 212e in the supercharged intake flow direction is set in the supercharged intake flow direction of the second main flow portion 212c, respectively. It is longer than the length Hd. According to this, even if the length Hd of the second main flow portion 212c in the supercharged intake flow direction is shortened, the length Dd of the second inlet formation portion 212d and the second outlet formation portion 212e in the supercharged intake flow direction is reduced. Since it is not necessary to shorten it, the space which forms the 2nd entrance part 212a and the 2nd exit part 212b can be secured.
  • the second inlet portion 212a and the second inlet portion 212a and the second main flow portion 212c are adjusted to the length Hd of the second main flow portion 212c in the supercharged intake flow direction.
  • the hole diameters of the second inlet portion 212a and the second outlet portion 212b are 10 mm or less, the flow resistance of the second cooling water flowing through the second inlet portion 212a and the second outlet portion 212b is reduced. Increases rapidly. Therefore, when the hole diameters of the second inlet portion 212a and the second outlet portion 212b are 10 mm or less, the length Dd of the second inlet forming portion 212d and the second outlet forming portion 212e in the supercharging intake air flow direction, respectively, It is particularly effective to make the second main flow portion 212c longer than the length Hd in the supercharging intake air flow direction.
  • a third embodiment will be described with reference to FIG.
  • the third embodiment is different from the first embodiment in the configuration of the flow channel 21.
  • the surface of the flow channel pipe 21 on which the first inlet portion 211a, the first outlet portion 211b, the second inlet portion 212a, and the second outlet portion 212b are disposed is referred to as an arrangement surface 200.
  • the arrangement surface 200 is orthogonal to the stacking direction of the plurality of flow channel tubes 21 (the direction perpendicular to the paper surface of FIG. 9).
  • the flow path pipe 21 is configured such that all of the central portions 211f, 211g, 212f, and 212g of the first inlet portion 211a, the first outlet portion 211b, the second inlet portion 212a, and the second outlet portion 212b are the same on the arrangement surface 200. It is comprised so that it may not be located on a line. That is, all of the central portions 211f, 211g, 212f, 212 of the four through holes forming the first inlet portion 211a, the first outlet portion 211b, the second inlet portion 212a, and the second outlet portion 212b are on the same straight line. Not placed.
  • the first inlet portion 211a, the first outlet portion 211b, the second inlet portion 212a, and the second outlet portion 212b are arranged such that all the central portions 211f, 211g, 212f, and 212g are located on the same straight line.
  • the length D of the flow path pipe 21 in the supercharging intake air flow direction is increased as follows.
  • the second cooling that circulates through the second inlet portion 212a and the second outlet portion 212b increases rapidly.
  • the length D of the second cooling water flow path forming portion in the supercharging intake air flow direction D HT is 35 mm or more in consideration of brazing allowance and the like.
  • the first inlet portion 211a, the first outlet portion 211b, the second inlet portion 212a, and the second outlet portion 212b are arranged so that all the central portions 211f, 211g, 212f, and 212g are located on the same straight line.
  • the length D in the supercharging intake air flow direction of the channel pipe 21 is required to be 70 mm or more in consideration of the desirable channel ratio D HT / D LT as described in the first embodiment. Therefore, it becomes impossible to shorten the length D of the flow path pipe 21 in the supercharged intake air flow direction.
  • the first inlet portion 211a, the first outlet portion 211b, the second inlet portion 212a, and the second outlet portion 212b are all connected to the central portions 211f, 211g, 212f, and 212g.
  • the present invention is not limited thereto, and the first U turn part 213 is provided in the flow path pipe 21.
  • Two or more may be provided, or two or more second U-turn portions 214 may be provided.
  • the two plate-like members 210 forming the flow path pipe 21 do not necessarily have to be a pair, but a cup-like plate-like member protruding to the supercharging intake passage side and the cup-like plate-like member are opposed to each other.
  • positioned as above may be sufficient.

Landscapes

  • Engineering & Computer Science (AREA)
  • Physics & Mathematics (AREA)
  • Thermal Sciences (AREA)
  • Mechanical Engineering (AREA)
  • General Engineering & Computer Science (AREA)
  • Chemical & Material Sciences (AREA)
  • Combustion & Propulsion (AREA)
  • Heat-Exchange Devices With Radiators And Conduit Assemblies (AREA)
  • Supercharger (AREA)
PCT/JP2015/000092 2014-01-14 2015-01-12 インタークーラ Ceased WO2015107882A1 (ja)

Priority Applications (3)

Application Number Priority Date Filing Date Title
CN201580004508.1A CN105917094B (zh) 2014-01-14 2015-01-12 中冷器
DE112015000390.8T DE112015000390B4 (de) 2014-01-14 2015-01-12 Ladeluftkühler
US15/109,742 US10060338B2 (en) 2014-01-14 2015-01-12 Intercooler

Applications Claiming Priority (4)

Application Number Priority Date Filing Date Title
JP2014004413 2014-01-14
JP2014-004413 2014-01-14
JP2014-219329 2014-10-28
JP2014219329A JP6281467B2 (ja) 2014-01-14 2014-10-28 インタークーラ

Publications (1)

Publication Number Publication Date
WO2015107882A1 true WO2015107882A1 (ja) 2015-07-23

Family

ID=53542779

Family Applications (1)

Application Number Title Priority Date Filing Date
PCT/JP2015/000092 Ceased WO2015107882A1 (ja) 2014-01-14 2015-01-12 インタークーラ

Country Status (5)

Country Link
US (1) US10060338B2 (enExample)
JP (1) JP6281467B2 (enExample)
CN (1) CN105917094B (enExample)
DE (1) DE112015000390B4 (enExample)
WO (1) WO2015107882A1 (enExample)

Cited By (4)

* Cited by examiner, † Cited by third party
Publication number Priority date Publication date Assignee Title
WO2018123335A1 (ja) * 2016-12-26 2018-07-05 株式会社デンソー インタークーラ
WO2018123334A1 (ja) * 2016-12-26 2018-07-05 株式会社デンソー インタークーラ
CN110832178A (zh) * 2017-07-05 2020-02-21 株式会社电装 中间冷却器
EP3671092A1 (en) * 2018-12-17 2020-06-24 Valeo Autosystemy SP. Z.O.O. Charge air cooler

Families Citing this family (13)

* Cited by examiner, † Cited by third party
Publication number Priority date Publication date Assignee Title
JP6318893B2 (ja) * 2014-06-16 2018-05-09 株式会社デンソー 吸気冷却装置
US9920686B2 (en) 2015-09-28 2018-03-20 Hanon Systems Water-cooled charge air cooler with integrated multi-stage cooling
JP6988057B2 (ja) * 2015-09-29 2022-01-05 株式会社東京精密 レーザー加工装置及びレーザー加工方法
MX2018009399A (es) * 2016-02-03 2019-01-10 Modine Mfg Co Intercambiador de calor de placas para refrigeración de baterias y conjunto de placas.
JP6409793B2 (ja) 2016-02-11 2018-10-24 株式会社デンソー インタークーラ
JP6432539B2 (ja) * 2016-02-12 2018-12-05 株式会社デンソー インタークーラ
JP6460281B2 (ja) * 2016-03-31 2019-01-30 株式会社デンソー インタークーラ
JP6607151B2 (ja) * 2016-07-11 2019-11-20 株式会社デンソー インタークーラ
JP6673159B2 (ja) * 2016-11-24 2020-03-25 株式会社デンソー 冷却回路
JP6601384B2 (ja) * 2016-12-26 2019-11-06 株式会社デンソー インタークーラ
JP2019158180A (ja) * 2018-03-08 2019-09-19 株式会社デンソー 車両用熱交換器
JP6806212B2 (ja) * 2019-10-01 2021-01-06 株式会社デンソー インタークーラ
WO2021176990A1 (ja) * 2020-03-03 2021-09-10 株式会社デンソー 燃料電池車両の冷却システム

Citations (5)

* Cited by examiner, † Cited by third party
Publication number Priority date Publication date Assignee Title
US20020011242A1 (en) * 1999-12-23 2002-01-31 Wolfgang Ruppel Charge air cooler and method of making and operating same
JP2003097277A (ja) * 2001-09-27 2003-04-03 Nissan Motor Co Ltd 内燃機関の吸気装置
WO2007074264A1 (fr) * 2005-12-22 2007-07-05 Renault S.A.S Dispositif de refroidissement de l'air d'admission et des gaz d'echappement recircules
EP2161429A2 (de) * 2008-09-09 2010-03-10 Behr GmbH & Co. KG Ansaugmodul für einen Verbrennungsmotor
JP2013145097A (ja) * 2012-01-16 2013-07-25 Denso Corp 熱交換装置

Family Cites Families (8)

* Cited by examiner, † Cited by third party
Publication number Priority date Publication date Assignee Title
JP4122670B2 (ja) * 1999-01-28 2008-07-23 株式会社デンソー 熱交換器
US6318455B1 (en) * 1999-07-14 2001-11-20 Mitsubishi Heavy Industries, Ltd. Heat exchanger
JP3966134B2 (ja) * 2002-09-17 2007-08-29 株式会社デンソー 熱交換器
DE102009051184A1 (de) * 2009-10-29 2011-05-05 Behr Gmbh & Co. Kg Wärmetauscher
DE102010063324A1 (de) 2010-12-17 2012-06-21 Behr Gmbh & Co. Kg Vorrichtung zur Kühlung von Ladeluft, System zum Konditionieren von Ladeluft und Ansaugmodul für einen Verbrennungsmotor
DE102011082797A1 (de) * 2011-09-15 2013-03-21 Behr Gmbh & Co. Kg Wärmeübertrager zum Kühlen von Ladeluft
FR2980840A1 (fr) * 2011-10-04 2013-04-05 Valeo Systemes Thermiques Plaque pour echangeur de chaleur et echangeur de chaleur muni de telles plaques
FR2993354B1 (fr) * 2012-07-13 2018-07-13 Delphi Automotive Systems Lux Refroidisseur d'air de suralimentation

Patent Citations (5)

* Cited by examiner, † Cited by third party
Publication number Priority date Publication date Assignee Title
US20020011242A1 (en) * 1999-12-23 2002-01-31 Wolfgang Ruppel Charge air cooler and method of making and operating same
JP2003097277A (ja) * 2001-09-27 2003-04-03 Nissan Motor Co Ltd 内燃機関の吸気装置
WO2007074264A1 (fr) * 2005-12-22 2007-07-05 Renault S.A.S Dispositif de refroidissement de l'air d'admission et des gaz d'echappement recircules
EP2161429A2 (de) * 2008-09-09 2010-03-10 Behr GmbH & Co. KG Ansaugmodul für einen Verbrennungsmotor
JP2013145097A (ja) * 2012-01-16 2013-07-25 Denso Corp 熱交換装置

Cited By (6)

* Cited by examiner, † Cited by third party
Publication number Priority date Publication date Assignee Title
WO2018123335A1 (ja) * 2016-12-26 2018-07-05 株式会社デンソー インタークーラ
WO2018123334A1 (ja) * 2016-12-26 2018-07-05 株式会社デンソー インタークーラ
JP2018105534A (ja) * 2016-12-26 2018-07-05 株式会社デンソー インタークーラ
CN110832178A (zh) * 2017-07-05 2020-02-21 株式会社电装 中间冷却器
EP3671092A1 (en) * 2018-12-17 2020-06-24 Valeo Autosystemy SP. Z.O.O. Charge air cooler
WO2020127009A1 (en) * 2018-12-17 2020-06-25 Valeo Autosystemy Sp. Z O.O. Charge air cooler

Also Published As

Publication number Publication date
DE112015000390B4 (de) 2020-09-03
DE112015000390T5 (de) 2016-10-06
CN105917094A (zh) 2016-08-31
JP2015155692A (ja) 2015-08-27
CN105917094B (zh) 2019-01-11
US20160326949A1 (en) 2016-11-10
JP6281467B2 (ja) 2018-02-21
US10060338B2 (en) 2018-08-28

Similar Documents

Publication Publication Date Title
JP6281467B2 (ja) インタークーラ
CN207622589U (zh) 热交换器
CN103975214B (zh) 热交换器板
JP2015155692A5 (enExample)
US9915481B2 (en) Fin for heat exchanger
KR20140114770A (ko) 열교환기
US20140246179A1 (en) Plate For A Heat Exchanger And Heat Exchanger Equipped With Such Plates
JP5906250B2 (ja) 熱交換器、及び関連する流動摂動体の形成方法
JP6708172B2 (ja) インタークーラ
CN105473972A (zh) 用于车辆的热交换器
JP2009068809A (ja) ハイブリッド型熱交換器
CN111347929A (zh) 集成式换热装置和具有其的车辆
KR20160009409A (ko) 통합형 열교환기
JP6481275B2 (ja) コルゲートフィン式熱交換器
JPWO2017169666A1 (ja) インタークーラ
KR101170689B1 (ko) 오일쿨러
JP5381394B2 (ja) 内燃機関のegrクーラー
US10612457B2 (en) Intercooler
US10655530B2 (en) Intercooler
JP2010106723A (ja) ハイブリッド型熱交換器
JP2016031178A (ja) コルゲートフィン式熱交換器
HUP0900399A2 (en) Plate-fin heat exchanger

Legal Events

Date Code Title Description
121 Ep: the epo has been informed by wipo that ep was designated in this application

Ref document number: 15737816

Country of ref document: EP

Kind code of ref document: A1

WWE Wipo information: entry into national phase

Ref document number: 15109742

Country of ref document: US

WWE Wipo information: entry into national phase

Ref document number: 112015000390

Country of ref document: DE

122 Ep: pct application non-entry in european phase

Ref document number: 15737816

Country of ref document: EP

Kind code of ref document: A1