WO2015105031A1 - インクジェット記録装置 - Google Patents

インクジェット記録装置 Download PDF

Info

Publication number
WO2015105031A1
WO2015105031A1 PCT/JP2014/084639 JP2014084639W WO2015105031A1 WO 2015105031 A1 WO2015105031 A1 WO 2015105031A1 JP 2014084639 W JP2014084639 W JP 2014084639W WO 2015105031 A1 WO2015105031 A1 WO 2015105031A1
Authority
WO
WIPO (PCT)
Prior art keywords
printing
ink
nozzle
print
recording apparatus
Prior art date
Legal status (The legal status is an assumption and is not a legal conclusion. Google has not performed a legal analysis and makes no representation as to the accuracy of the status listed.)
Ceased
Application number
PCT/JP2014/084639
Other languages
English (en)
French (fr)
Japanese (ja)
Inventor
裕子 栗原
河野 貴
Current Assignee (The listed assignees may be inaccurate. Google has not performed a legal analysis and makes no representation or warranty as to the accuracy of the list.)
Hitachi Industrial Equipment Systems Co Ltd
Original Assignee
Hitachi Industrial Equipment Systems Co Ltd
Priority date (The priority date is an assumption and is not a legal conclusion. Google has not performed a legal analysis and makes no representation as to the accuracy of the date listed.)
Filing date
Publication date
Application filed by Hitachi Industrial Equipment Systems Co Ltd filed Critical Hitachi Industrial Equipment Systems Co Ltd
Priority to US15/108,893 priority Critical patent/US9636911B2/en
Publication of WO2015105031A1 publication Critical patent/WO2015105031A1/ja
Anticipated expiration legal-status Critical
Ceased legal-status Critical Current

Links

Images

Classifications

    • BPERFORMING OPERATIONS; TRANSPORTING
    • B41PRINTING; LINING MACHINES; TYPEWRITERS; STAMPS
    • B41JTYPEWRITERS; SELECTIVE PRINTING MECHANISMS, i.e. MECHANISMS PRINTING OTHERWISE THAN FROM A FORME; CORRECTION OF TYPOGRAPHICAL ERRORS
    • B41J2/00Typewriters or selective printing mechanisms characterised by the printing or marking process for which they are designed
    • B41J2/005Typewriters or selective printing mechanisms characterised by the printing or marking process for which they are designed characterised by bringing liquid or particles selectively into contact with a printing material
    • B41J2/01Ink jet
    • B41J2/015Ink jet characterised by the jet generation process
    • B41J2/04Ink jet characterised by the jet generation process generating single droplets or particles on demand
    • B41J2/045Ink jet characterised by the jet generation process generating single droplets or particles on demand by pressure, e.g. electromechanical transducers
    • B41J2/04501Control methods or devices therefor, e.g. driver circuits, control circuits
    • B41J2/04555Control methods or devices therefor, e.g. driver circuits, control circuits detecting current
    • BPERFORMING OPERATIONS; TRANSPORTING
    • B41PRINTING; LINING MACHINES; TYPEWRITERS; STAMPS
    • B41JTYPEWRITERS; SELECTIVE PRINTING MECHANISMS, i.e. MECHANISMS PRINTING OTHERWISE THAN FROM A FORME; CORRECTION OF TYPOGRAPHICAL ERRORS
    • B41J2/00Typewriters or selective printing mechanisms characterised by the printing or marking process for which they are designed
    • B41J2/005Typewriters or selective printing mechanisms characterised by the printing or marking process for which they are designed characterised by bringing liquid or particles selectively into contact with a printing material
    • B41J2/01Ink jet
    • B41J2/015Ink jet characterised by the jet generation process
    • B41J2/02Ink jet characterised by the jet generation process generating a continuous ink jet
    • BPERFORMING OPERATIONS; TRANSPORTING
    • B41PRINTING; LINING MACHINES; TYPEWRITERS; STAMPS
    • B41JTYPEWRITERS; SELECTIVE PRINTING MECHANISMS, i.e. MECHANISMS PRINTING OTHERWISE THAN FROM A FORME; CORRECTION OF TYPOGRAPHICAL ERRORS
    • B41J2/00Typewriters or selective printing mechanisms characterised by the printing or marking process for which they are designed
    • B41J2/005Typewriters or selective printing mechanisms characterised by the printing or marking process for which they are designed characterised by bringing liquid or particles selectively into contact with a printing material
    • B41J2/01Ink jet
    • B41J2/015Ink jet characterised by the jet generation process
    • B41J2/04Ink jet characterised by the jet generation process generating single droplets or particles on demand
    • B41J2/045Ink jet characterised by the jet generation process generating single droplets or particles on demand by pressure, e.g. electromechanical transducers
    • B41J2/04501Control methods or devices therefor, e.g. driver circuits, control circuits
    • B41J2/04586Control methods or devices therefor, e.g. driver circuits, control circuits controlling heads of a type not covered by groups B41J2/04575 - B41J2/04585, or of an undefined type
    • BPERFORMING OPERATIONS; TRANSPORTING
    • B41PRINTING; LINING MACHINES; TYPEWRITERS; STAMPS
    • B41JTYPEWRITERS; SELECTIVE PRINTING MECHANISMS, i.e. MECHANISMS PRINTING OTHERWISE THAN FROM A FORME; CORRECTION OF TYPOGRAPHICAL ERRORS
    • B41J2/00Typewriters or selective printing mechanisms characterised by the printing or marking process for which they are designed
    • B41J2/005Typewriters or selective printing mechanisms characterised by the printing or marking process for which they are designed characterised by bringing liquid or particles selectively into contact with a printing material
    • B41J2/01Ink jet
    • B41J2/07Ink jet characterised by jet control
    • B41J2/075Ink jet characterised by jet control for many-valued deflection
    • B41J2/08Ink jet characterised by jet control for many-valued deflection charge-control type
    • BPERFORMING OPERATIONS; TRANSPORTING
    • B41PRINTING; LINING MACHINES; TYPEWRITERS; STAMPS
    • B41JTYPEWRITERS; SELECTIVE PRINTING MECHANISMS, i.e. MECHANISMS PRINTING OTHERWISE THAN FROM A FORME; CORRECTION OF TYPOGRAPHICAL ERRORS
    • B41J2/00Typewriters or selective printing mechanisms characterised by the printing or marking process for which they are designed
    • B41J2/005Typewriters or selective printing mechanisms characterised by the printing or marking process for which they are designed characterised by bringing liquid or particles selectively into contact with a printing material
    • B41J2/01Ink jet
    • B41J2/07Ink jet characterised by jet control
    • B41J2/12Ink jet characterised by jet control testing or correcting charge or deflection
    • BPERFORMING OPERATIONS; TRANSPORTING
    • B41PRINTING; LINING MACHINES; TYPEWRITERS; STAMPS
    • B41JTYPEWRITERS; SELECTIVE PRINTING MECHANISMS, i.e. MECHANISMS PRINTING OTHERWISE THAN FROM A FORME; CORRECTION OF TYPOGRAPHICAL ERRORS
    • B41J2/00Typewriters or selective printing mechanisms characterised by the printing or marking process for which they are designed
    • B41J2/005Typewriters or selective printing mechanisms characterised by the printing or marking process for which they are designed characterised by bringing liquid or particles selectively into contact with a printing material
    • B41J2/01Ink jet
    • B41J2/17Ink jet characterised by ink handling
    • B41J2/175Ink supply systems ; Circuit parts therefor
    • BPERFORMING OPERATIONS; TRANSPORTING
    • B41PRINTING; LINING MACHINES; TYPEWRITERS; STAMPS
    • B41JTYPEWRITERS; SELECTIVE PRINTING MECHANISMS, i.e. MECHANISMS PRINTING OTHERWISE THAN FROM A FORME; CORRECTION OF TYPOGRAPHICAL ERRORS
    • B41J2/00Typewriters or selective printing mechanisms characterised by the printing or marking process for which they are designed
    • B41J2/005Typewriters or selective printing mechanisms characterised by the printing or marking process for which they are designed characterised by bringing liquid or particles selectively into contact with a printing material
    • B41J2/01Ink jet
    • B41J2/015Ink jet characterised by the jet generation process
    • B41J2/02Ink jet characterised by the jet generation process generating a continuous ink jet
    • B41J2002/022Control methods or devices for continuous ink jet
    • BPERFORMING OPERATIONS; TRANSPORTING
    • B41PRINTING; LINING MACHINES; TYPEWRITERS; STAMPS
    • B41JTYPEWRITERS; SELECTIVE PRINTING MECHANISMS, i.e. MECHANISMS PRINTING OTHERWISE THAN FROM A FORME; CORRECTION OF TYPOGRAPHICAL ERRORS
    • B41J2/00Typewriters or selective printing mechanisms characterised by the printing or marking process for which they are designed
    • B41J2/005Typewriters or selective printing mechanisms characterised by the printing or marking process for which they are designed characterised by bringing liquid or particles selectively into contact with a printing material
    • B41J2/01Ink jet
    • B41J2/17Ink jet characterised by ink handling
    • B41J2/18Ink recirculation systems
    • B41J2/185Ink-collectors; Ink-catchers
    • B41J2002/1853Ink-collectors; Ink-catchers ink collectors for continuous Inkjet printers, e.g. gutters, mist suction means

Definitions

  • the present invention relates to a charge control type ink jet recording apparatus, and has two or more nozzles in a print head, and when performing printing by operating these simultaneously, a charging voltage, a deflection voltage,
  • the present invention relates to an ink jet recording apparatus that has a function of finely adjusting the ink pressure for each nozzle and can adjust the vertical landing position of ink particles when printing and the overall printing height.
  • Patent Document 1 Japanese Patent Laid-Open No. 2010-228402
  • Patent Document 2 Japanese Patent Laid-Open No. 2012-66422
  • Japanese Patent Application Laid-Open No. 2004-228561 describes control for correcting a deviation of a writing start position at which printing is started in an inkjet recording apparatus in which a plurality of nozzles are arranged vertically with respect to a printed matter.
  • Patent Document 2 describes a configuration having a flow path control function for improving the maintainability of ink particles ejected from nozzles in an inkjet recording apparatus in which a plurality of nozzles are arranged horizontally with respect to a printed matter. ing.
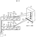
  • FIG. 1 is an external perspective view of an ink jet recording apparatus having a twin nozzle of the present invention.
  • FIG. 1B is a control block diagram of the ink jet recording apparatus of FIG. 1A.
  • the block diagram explaining printing operation at the time of arranging the twin nozzle of an ink-jet recording device in the lengthwise direction is shown.
  • the block diagram explaining printing operation at the time of arranging the twin nozzle of an ink-jet recording device in the horizontal direction is shown.
  • the block diagram explaining printing operation at the time of arranging the twin nozzle of an ink-jet recording device in the lengthwise direction, and arranging two supply pumps is shown.
  • a print element group that can be considered as individual differences of nozzles is shown.
  • the figure explaining the charging voltage of a printing element group is shown.
  • FIG. 1A shows an external perspective view of an inkjet recording apparatus having twin nozzles
  • FIG. 1B shows a system block diagram of the overall configuration of the inkjet recording apparatus shown in FIG. 1A
  • 1C is a configuration diagram for explaining the printing operation when the twin nozzles of the inkjet recording apparatus are arranged in the vertical direction
  • FIG. 1D is a configuration diagram for explaining the printing operation when the twin nozzles are arranged in the horizontal direction
  • FIG. 1E is a configuration diagram illustrating a printing operation when twin nozzles of an ink jet recording apparatus are arranged in the vertical direction and two supply pumps are arranged.
  • FIG. 1C shows a configuration of an ink jet recording apparatus in which two nozzles ⁇ and ⁇ are arranged side by side in the vertical direction, one ink supply pump and two recovery pumps are arranged.
  • the present invention is not limited to the one that exhibits the effect of maintaining the printing quality regardless of the number of nozzles and the nozzle arrangement position, and does not necessarily have all the configurations described above.

Landscapes

  • Particle Formation And Scattering Control In Inkjet Printers (AREA)
PCT/JP2014/084639 2014-01-08 2014-12-26 インクジェット記録装置 Ceased WO2015105031A1 (ja)

Priority Applications (1)

Application Number Priority Date Filing Date Title
US15/108,893 US9636911B2 (en) 2014-01-08 2014-12-26 Inkjet recording device

Applications Claiming Priority (2)

Application Number Priority Date Filing Date Title
JP2014001637A JP6338861B2 (ja) 2014-01-08 2014-01-08 インクジェット記録装置
JP2014-001637 2014-01-08

Publications (1)

Publication Number Publication Date
WO2015105031A1 true WO2015105031A1 (ja) 2015-07-16

Family

ID=53523864

Family Applications (1)

Application Number Title Priority Date Filing Date
PCT/JP2014/084639 Ceased WO2015105031A1 (ja) 2014-01-08 2014-12-26 インクジェット記録装置

Country Status (3)

Country Link
US (1) US9636911B2 (enExample)
JP (1) JP6338861B2 (enExample)
WO (1) WO2015105031A1 (enExample)

Cited By (2)

* Cited by examiner, † Cited by third party
Publication number Priority date Publication date Assignee Title
JP2018030232A (ja) * 2016-08-22 2018-03-01 株式会社日立産機システム インクジェット記録装置
JP2021178455A (ja) * 2020-05-13 2021-11-18 株式会社日立産機システム インクジェットプリンタおよびインクジェットプリンタ制御方法

Families Citing this family (2)

* Cited by examiner, † Cited by third party
Publication number Priority date Publication date Assignee Title
US20200189270A1 (en) * 2016-08-22 2020-06-18 Hitachi Industrial Equipment Systems Co., Ltd. Inkjet Recording Device and Inkjet Recording Device Control Method
JP6892148B2 (ja) * 2017-04-05 2021-06-23 株式会社日立産機システム インクジェット記録装置

Citations (8)

* Cited by examiner, † Cited by third party
Publication number Priority date Publication date Assignee Title
JPS5592984A (en) * 1978-12-30 1980-07-14 Ricoh Co Ltd Ink jet recorder
JPH05193139A (ja) * 1992-01-21 1993-08-03 Toray Ind Inc インクジェット印刷機
JPH0691998A (ja) * 1992-07-30 1994-04-05 Canon Inc 画像出力装置および該装置を具備した画像形成システムならびに画像出力方法および該方法によってプリントされたプリント物
JP2003191473A (ja) * 2001-12-25 2003-07-08 Keyence Corp インクジェット記録装置およびインクジェット記録装置の制御方法
JP2008502506A (ja) * 2004-06-17 2008-01-31 ヴィデオジェット テクノロジーズ インコーポレイテッド 位相整合に対する自動閾値調整のためのシステム及び方法
JP2010228402A (ja) * 2009-03-30 2010-10-14 Hitachi Industrial Equipment Systems Co Ltd インクジェット記録装置
JP2013515625A (ja) * 2009-12-23 2013-05-09 マーケム−イマージュ 連続インクジェットプリンタの流体回路の測定システム、流体回路、及びその測定システムを実行するように構成されたブロック
JP2015013385A (ja) * 2013-07-03 2015-01-22 株式会社日立産機システム インクジェット記録装置

Family Cites Families (8)

* Cited by examiner, † Cited by third party
Publication number Priority date Publication date Assignee Title
US4310846A (en) 1978-12-28 1982-01-12 Ricoh Company, Ltd. Deflection compensated ink ejection printing apparatus
US4442440A (en) * 1982-04-05 1984-04-10 Xerox Corporation Ink jet gutter method and apparatus
US4734705A (en) * 1986-08-11 1988-03-29 Xerox Corporation Ink jet printer with satellite droplet control
US5418557A (en) * 1991-10-03 1995-05-23 Videojet Systems International, Inc. Drop quality control system for jet printing
EP0645245B1 (en) 1993-07-30 1999-10-06 Canon Kabushiki Kaisha Image output apparatus and image formation system for correcting density unevenness
US6386673B1 (en) 1994-07-27 2002-05-14 Canon Kabushiki Kaisha Image output apparatus and image formation system for correcting density unevenness
ATE530342T1 (de) * 2008-01-28 2011-11-15 Hitachi Ind Equipment Sys Tintenstrahlaufzeichnungsvorrichtung
JP2012066422A (ja) 2010-09-22 2012-04-05 Hitachi Industrial Equipment Systems Co Ltd インクジェット記録装置

Patent Citations (8)

* Cited by examiner, † Cited by third party
Publication number Priority date Publication date Assignee Title
JPS5592984A (en) * 1978-12-30 1980-07-14 Ricoh Co Ltd Ink jet recorder
JPH05193139A (ja) * 1992-01-21 1993-08-03 Toray Ind Inc インクジェット印刷機
JPH0691998A (ja) * 1992-07-30 1994-04-05 Canon Inc 画像出力装置および該装置を具備した画像形成システムならびに画像出力方法および該方法によってプリントされたプリント物
JP2003191473A (ja) * 2001-12-25 2003-07-08 Keyence Corp インクジェット記録装置およびインクジェット記録装置の制御方法
JP2008502506A (ja) * 2004-06-17 2008-01-31 ヴィデオジェット テクノロジーズ インコーポレイテッド 位相整合に対する自動閾値調整のためのシステム及び方法
JP2010228402A (ja) * 2009-03-30 2010-10-14 Hitachi Industrial Equipment Systems Co Ltd インクジェット記録装置
JP2013515625A (ja) * 2009-12-23 2013-05-09 マーケム−イマージュ 連続インクジェットプリンタの流体回路の測定システム、流体回路、及びその測定システムを実行するように構成されたブロック
JP2015013385A (ja) * 2013-07-03 2015-01-22 株式会社日立産機システム インクジェット記録装置

Cited By (5)

* Cited by examiner, † Cited by third party
Publication number Priority date Publication date Assignee Title
JP2018030232A (ja) * 2016-08-22 2018-03-01 株式会社日立産機システム インクジェット記録装置
EP3431297A3 (en) * 2016-08-22 2019-04-24 Hitachi Industrial Equipment Systems Co., Ltd. Inkjet recording device
US10857787B2 (en) 2016-08-22 2020-12-08 Hitachi Industrial Equipment Systems Co., Ltd. Inkjet recording device
JP2021178455A (ja) * 2020-05-13 2021-11-18 株式会社日立産機システム インクジェットプリンタおよびインクジェットプリンタ制御方法
JP7462472B2 (ja) 2020-05-13 2024-04-05 株式会社日立産機システム インクジェットプリンタおよびインクジェットプリンタ制御方法

Also Published As

Publication number Publication date
JP2015128869A (ja) 2015-07-16
US20160325545A1 (en) 2016-11-10
US9636911B2 (en) 2017-05-02
JP6338861B2 (ja) 2018-06-06

Similar Documents

Publication Publication Date Title
JP6338861B2 (ja) インクジェット記録装置
JP2016185688A (ja) 印字検査装置、インクジェット記録システム、及びそれらに用いる印字歪補正方法
JP6114125B2 (ja) インクジェット記録装置
CN104520108B (zh) 喷墨记录装置和打印控制方法
US10500843B2 (en) Ink jet recording apparatus
US9016816B2 (en) System and method for per drop electrical signal waveform modulation for ink drop placement in inkjet printing
JP5759830B2 (ja) インクジェット記録装置
JP5743802B2 (ja) インクジェット記録装置
JP5364360B2 (ja) インクジェット記録装置
JP2006027161A (ja) 画像記録装置
CN111032358B (zh) 喷墨记录装置及其控制方法
JP7692855B2 (ja) インクジェットプリンタおよびインクジェットプリンタの制御方法
JP6169918B2 (ja) インクジェット記録装置
JP2010228402A (ja) インクジェット記録装置
JP6022391B2 (ja) インクジェット記録装置
JP5919159B2 (ja) インクジェット記録装置
JPH11198360A (ja) インクジェット記録装置
JP5227700B2 (ja) インクジェット記録装置
JP2014012416A (ja) インクジェット記録装置
JP2019217709A (ja) インクジェット記録装置およびインクジェット記録装置の制御方法
EP2862720B1 (en) Ink jet recording apparatus and method
JP2017124519A (ja) インクジェット印刷装置及びインクジェット印刷方法
US20240308234A1 (en) Printing apparatus, printing method, printing program and recording medium
CN110325367B (zh) 喷墨记录装置
JP4209613B2 (ja) インクジェット記録装置およびインクジェット記録装置の制御方法

Legal Events

Date Code Title Description
121 Ep: the epo has been informed by wipo that ep was designated in this application

Ref document number: 14877660

Country of ref document: EP

Kind code of ref document: A1

WWE Wipo information: entry into national phase

Ref document number: 15108893

Country of ref document: US

NENP Non-entry into the national phase

Ref country code: DE

122 Ep: pct application non-entry in european phase

Ref document number: 14877660

Country of ref document: EP

Kind code of ref document: A1