WO2015098073A1 - Semiconductor device and method for manufacturing the same - Google Patents

Semiconductor device and method for manufacturing the same Download PDF

Info

Publication number
WO2015098073A1
WO2015098073A1 PCT/JP2014/006359 JP2014006359W WO2015098073A1 WO 2015098073 A1 WO2015098073 A1 WO 2015098073A1 JP 2014006359 W JP2014006359 W JP 2014006359W WO 2015098073 A1 WO2015098073 A1 WO 2015098073A1
Authority
WO
WIPO (PCT)
Prior art keywords
layer
semiconductor device
mos transistor
type mos
oxide film
Prior art date
Legal status (The legal status is an assumption and is not a legal conclusion. Google has not performed a legal analysis and makes no representation as to the accuracy of the status listed.)
Ceased
Application number
PCT/JP2014/006359
Other languages
English (en)
French (fr)
Inventor
Ryota Sekiguchi
Toshihiko Ouchi
Current Assignee (The listed assignees may be inaccurate. Google has not performed a legal analysis and makes no representation or warranty as to the accuracy of the list.)
Canon Inc
Original Assignee
Canon Inc
Priority date (The priority date is an assumption and is not a legal conclusion. Google has not performed a legal analysis and makes no representation as to the accuracy of the date listed.)
Filing date
Publication date
Application filed by Canon Inc filed Critical Canon Inc
Priority to CN201480070810.2A priority Critical patent/CN105900235A/zh
Priority to EP14833293.5A priority patent/EP3087606A1/en
Priority to US15/106,996 priority patent/US9786806B2/en
Publication of WO2015098073A1 publication Critical patent/WO2015098073A1/en
Anticipated expiration legal-status Critical
Ceased legal-status Critical Current

Links

Images

Classifications

    • GPHYSICS
    • G01MEASURING; TESTING
    • G01JMEASUREMENT OF INTENSITY, VELOCITY, SPECTRAL CONTENT, POLARISATION, PHASE OR PULSE CHARACTERISTICS OF INFRARED, VISIBLE OR ULTRAVIOLET LIGHT; COLORIMETRY; RADIATION PYROMETRY
    • G01J1/00Photometry, e.g. photographic exposure meter
    • G01J1/42Photometry, e.g. photographic exposure meter using electric radiation detectors
    • G01J1/44Electric circuits
    • HELECTRICITY
    • H10SEMICONDUCTOR DEVICES; ELECTRIC SOLID-STATE DEVICES NOT OTHERWISE PROVIDED FOR
    • H10DINORGANIC ELECTRIC SEMICONDUCTOR DEVICES
    • H10D8/00Diodes
    • H10D8/01Manufacture or treatment
    • H10D8/051Manufacture or treatment of Schottky diodes
    • HELECTRICITY
    • H10SEMICONDUCTOR DEVICES; ELECTRIC SOLID-STATE DEVICES NOT OTHERWISE PROVIDED FOR
    • H10DINORGANIC ELECTRIC SEMICONDUCTOR DEVICES
    • H10D8/00Diodes
    • H10D8/60Schottky-barrier diodes 
    • HELECTRICITY
    • H10SEMICONDUCTOR DEVICES; ELECTRIC SOLID-STATE DEVICES NOT OTHERWISE PROVIDED FOR
    • H10DINORGANIC ELECTRIC SEMICONDUCTOR DEVICES
    • H10D84/00Integrated devices formed in or on semiconductor substrates that comprise only semiconducting layers, e.g. on Si wafers or on GaAs-on-Si wafers
    • H10D84/80Integrated devices formed in or on semiconductor substrates that comprise only semiconducting layers, e.g. on Si wafers or on GaAs-on-Si wafers characterised by the integration of at least one component covered by groups H10D12/00 or H10D30/00, e.g. integration of IGFETs
    • H10D84/811Combinations of field-effect devices and one or more diodes, capacitors or resistors
    • HELECTRICITY
    • H10SEMICONDUCTOR DEVICES; ELECTRIC SOLID-STATE DEVICES NOT OTHERWISE PROVIDED FOR
    • H10FINORGANIC SEMICONDUCTOR DEVICES SENSITIVE TO INFRARED RADIATION, LIGHT, ELECTROMAGNETIC RADIATION OF SHORTER WAVELENGTH OR CORPUSCULAR RADIATION
    • H10F30/00Individual radiation-sensitive semiconductor devices in which radiation controls the flow of current through the devices, e.g. photodetectors
    • H10F30/20Individual radiation-sensitive semiconductor devices in which radiation controls the flow of current through the devices, e.g. photodetectors the devices having potential barriers, e.g. phototransistors
    • H10F30/21Individual radiation-sensitive semiconductor devices in which radiation controls the flow of current through the devices, e.g. photodetectors the devices having potential barriers, e.g. phototransistors the devices being sensitive to infrared, visible or ultraviolet radiation
    • H10F30/22Individual radiation-sensitive semiconductor devices in which radiation controls the flow of current through the devices, e.g. photodetectors the devices having potential barriers, e.g. phototransistors the devices being sensitive to infrared, visible or ultraviolet radiation the devices having only one potential barrier, e.g. photodiodes
    • H10F30/227Individual radiation-sensitive semiconductor devices in which radiation controls the flow of current through the devices, e.g. photodetectors the devices having potential barriers, e.g. phototransistors the devices being sensitive to infrared, visible or ultraviolet radiation the devices having only one potential barrier, e.g. photodiodes the potential barrier being a Schottky barrier
    • H10F30/2275Individual radiation-sensitive semiconductor devices in which radiation controls the flow of current through the devices, e.g. photodetectors the devices having potential barriers, e.g. phototransistors the devices being sensitive to infrared, visible or ultraviolet radiation the devices having only one potential barrier, e.g. photodiodes the potential barrier being a Schottky barrier being a metal-semiconductor-metal [MSM] Schottky barrier
    • HELECTRICITY
    • H10SEMICONDUCTOR DEVICES; ELECTRIC SOLID-STATE DEVICES NOT OTHERWISE PROVIDED FOR
    • H10FINORGANIC SEMICONDUCTOR DEVICES SENSITIVE TO INFRARED RADIATION, LIGHT, ELECTROMAGNETIC RADIATION OF SHORTER WAVELENGTH OR CORPUSCULAR RADIATION
    • H10F30/00Individual radiation-sensitive semiconductor devices in which radiation controls the flow of current through the devices, e.g. photodetectors
    • H10F30/20Individual radiation-sensitive semiconductor devices in which radiation controls the flow of current through the devices, e.g. photodetectors the devices having potential barriers, e.g. phototransistors
    • H10F30/21Individual radiation-sensitive semiconductor devices in which radiation controls the flow of current through the devices, e.g. photodetectors the devices having potential barriers, e.g. phototransistors the devices being sensitive to infrared, visible or ultraviolet radiation
    • H10F30/28Individual radiation-sensitive semiconductor devices in which radiation controls the flow of current through the devices, e.g. photodetectors the devices having potential barriers, e.g. phototransistors the devices being sensitive to infrared, visible or ultraviolet radiation the devices being characterised by field-effect operation, e.g. junction field-effect phototransistors
    • H10F30/283Individual radiation-sensitive semiconductor devices in which radiation controls the flow of current through the devices, e.g. photodetectors the devices having potential barriers, e.g. phototransistors the devices being sensitive to infrared, visible or ultraviolet radiation the devices being characterised by field-effect operation, e.g. junction field-effect phototransistors the devices having Schottky gates
    • H10F30/2843Schottky gate FETs, e.g. photo MESFETs
    • HELECTRICITY
    • H10SEMICONDUCTOR DEVICES; ELECTRIC SOLID-STATE DEVICES NOT OTHERWISE PROVIDED FOR
    • H10FINORGANIC SEMICONDUCTOR DEVICES SENSITIVE TO INFRARED RADIATION, LIGHT, ELECTROMAGNETIC RADIATION OF SHORTER WAVELENGTH OR CORPUSCULAR RADIATION
    • H10F39/00Integrated devices, or assemblies of multiple devices, comprising at least one element covered by group H10F30/00, e.g. radiation detectors comprising photodiode arrays
    • H10F39/011Manufacture or treatment of image sensors covered by group H10F39/12
    • H10F39/014Manufacture or treatment of image sensors covered by group H10F39/12 of CMOS image sensors
    • HELECTRICITY
    • H10SEMICONDUCTOR DEVICES; ELECTRIC SOLID-STATE DEVICES NOT OTHERWISE PROVIDED FOR
    • H10FINORGANIC SEMICONDUCTOR DEVICES SENSITIVE TO INFRARED RADIATION, LIGHT, ELECTROMAGNETIC RADIATION OF SHORTER WAVELENGTH OR CORPUSCULAR RADIATION
    • H10F39/00Integrated devices, or assemblies of multiple devices, comprising at least one element covered by group H10F30/00, e.g. radiation detectors comprising photodiode arrays
    • H10F39/10Integrated devices
    • H10F39/12Image sensors
    • H10F39/18Complementary metal-oxide-semiconductor [CMOS] image sensors; Photodiode array image sensors
    • H10F39/184Infrared image sensors
    • HELECTRICITY
    • H10SEMICONDUCTOR DEVICES; ELECTRIC SOLID-STATE DEVICES NOT OTHERWISE PROVIDED FOR
    • H10FINORGANIC SEMICONDUCTOR DEVICES SENSITIVE TO INFRARED RADIATION, LIGHT, ELECTROMAGNETIC RADIATION OF SHORTER WAVELENGTH OR CORPUSCULAR RADIATION
    • H10F39/00Integrated devices, or assemblies of multiple devices, comprising at least one element covered by group H10F30/00, e.g. radiation detectors comprising photodiode arrays
    • H10F39/80Constructional details of image sensors
    • H10F39/807Pixel isolation structures
    • HELECTRICITY
    • H10SEMICONDUCTOR DEVICES; ELECTRIC SOLID-STATE DEVICES NOT OTHERWISE PROVIDED FOR
    • H10FINORGANIC SEMICONDUCTOR DEVICES SENSITIVE TO INFRARED RADIATION, LIGHT, ELECTROMAGNETIC RADIATION OF SHORTER WAVELENGTH OR CORPUSCULAR RADIATION
    • H10F71/00Manufacture or treatment of devices covered by this subclass
    • H10F71/121The active layers comprising only Group IV materials
    • GPHYSICS
    • G01MEASURING; TESTING
    • G01JMEASUREMENT OF INTENSITY, VELOCITY, SPECTRAL CONTENT, POLARISATION, PHASE OR PULSE CHARACTERISTICS OF INFRARED, VISIBLE OR ULTRAVIOLET LIGHT; COLORIMETRY; RADIATION PYROMETRY
    • G01J1/00Photometry, e.g. photographic exposure meter
    • G01J1/42Photometry, e.g. photographic exposure meter using electric radiation detectors
    • G01J1/44Electric circuits
    • G01J2001/4446Type of detector
    • GPHYSICS
    • G01MEASURING; TESTING
    • G01NINVESTIGATING OR ANALYSING MATERIALS BY DETERMINING THEIR CHEMICAL OR PHYSICAL PROPERTIES
    • G01N21/00Investigating or analysing materials by the use of optical means, i.e. using sub-millimetre waves, infrared, visible or ultraviolet light
    • G01N21/17Systems in which incident light is modified in accordance with the properties of the material investigated
    • G01N21/25Colour; Spectral properties, i.e. comparison of effect of material on the light at two or more different wavelengths or wavelength bands
    • G01N21/31Investigating relative effect of material at wavelengths characteristic of specific elements or molecules, e.g. atomic absorption spectrometry
    • G01N21/35Investigating relative effect of material at wavelengths characteristic of specific elements or molecules, e.g. atomic absorption spectrometry using infrared light
    • G01N21/3581Investigating relative effect of material at wavelengths characteristic of specific elements or molecules, e.g. atomic absorption spectrometry using infrared light using far infrared light; using Terahertz radiation
    • YGENERAL TAGGING OF NEW TECHNOLOGICAL DEVELOPMENTS; GENERAL TAGGING OF CROSS-SECTIONAL TECHNOLOGIES SPANNING OVER SEVERAL SECTIONS OF THE IPC; TECHNICAL SUBJECTS COVERED BY FORMER USPC CROSS-REFERENCE ART COLLECTIONS [XRACs] AND DIGESTS
    • Y02TECHNOLOGIES OR APPLICATIONS FOR MITIGATION OR ADAPTATION AGAINST CLIMATE CHANGE
    • Y02EREDUCTION OF GREENHOUSE GAS [GHG] EMISSIONS, RELATED TO ENERGY GENERATION, TRANSMISSION OR DISTRIBUTION
    • Y02E10/00Energy generation through renewable energy sources
    • Y02E10/50Photovoltaic [PV] energy
    • Y02E10/547Monocrystalline silicon PV cells
    • YGENERAL TAGGING OF NEW TECHNOLOGICAL DEVELOPMENTS; GENERAL TAGGING OF CROSS-SECTIONAL TECHNOLOGIES SPANNING OVER SEVERAL SECTIONS OF THE IPC; TECHNICAL SUBJECTS COVERED BY FORMER USPC CROSS-REFERENCE ART COLLECTIONS [XRACs] AND DIGESTS
    • Y02TECHNOLOGIES OR APPLICATIONS FOR MITIGATION OR ADAPTATION AGAINST CLIMATE CHANGE
    • Y02PCLIMATE CHANGE MITIGATION TECHNOLOGIES IN THE PRODUCTION OR PROCESSING OF GOODS
    • Y02P70/00Climate change mitigation technologies in the production process for final industrial or consumer products
    • Y02P70/50Manufacturing or production processes characterised by the final manufactured product

Definitions

  • the present invention relates to a semiconductor device and a method for manufacturing the same.
  • image forming apparatuses which detect electromagnetic waves in frequency bands lower than the visible light region and the near-infrared region and image the intensity thereof on a two-dimensionally arranged pixel basis, have been developed.
  • imaging elements in which detection elements are integrated in a two-dimensional array are favorably used for performing imaging in one shot. This is because an imaging time is reduced considerably as compared with the imaging time in the method in which the individual detection elements are scanned. In that case, it is necessary that, typically, the detection elements be integrated together with control elements and the like on the same substrate.
  • PTL 1 discloses a technology to integrate Schottkey barrier diodes for millimeter waves on the same substrate as the substrate of heterostructure field-effect transistors.
  • a Schottkey barrier diode layer and a heterostructure field-effect transistor layer are stacked by epitaxial growth on a substrate in that order and an isolation layer serving as both an etching stopper layer and an insulating layer is provided between the layers.
  • the Schottkey barrier diode is allowed to function as an element for detecting electromagnetic waves and, therefore, may be used for not only communications described in PTL 1 but also a millimeter wave imaging device by employing such a technology.
  • Si silicon
  • CMOS complementary metal oxide semiconductor
  • NPL 1 discloses a technology to integrate the Schottkey barrier diode and the CMOS on the same substrate by using a standard CMOS process.
  • the Schottkey barrier diode is formed by using the CMOS process, wherein in the CMOS process under 130 nm design rule, a technique to make a contact hole on an n-well structure and fill a metal into the contact hole is employed.
  • the Schottkey barrier diode is integrated on a Si substrate together with a 280-GHz receiving antenna and a first-stage low noise amplifier (LNA) and serves as a high-sensitivity, low-noise detection element.
  • LNA first-stage low noise amplifier
  • the semiconductor device in PTL 1 has a structure for the individual elements and the applicability to an imaging element having the large number of pixels, e.g., 100 pixels per line, is poor.
  • NPL 1 there are design limitations to the structure of the Schottkey barrier diode which can be formed by the CMOS process. Specifically, for example, change of the semiconductor material in a metal-semiconductor contact portion important for the Schottkey barrier diode is difficult, it is not possible to subject the semiconductor surface to a treatment, and the size and the material of the metal are not selectable. Consequently, it is difficult to adjust the rectification characteristics and electromagnetic wave detection characteristics to predetermined states, and a relatively large bias voltage may be required.
  • a semiconductor device is a semiconductor device including a silicon substrate and a detection element, a p-type MOS transistor, and an n-type MOS transistor which are arranged in an in-plane direction on the silicon substrate, wherein the detection element includes a semiconductor layer and electrodes, where a Schottkey barrier is disposed between the semiconductor layer and the electrodes, the semiconductor layer is arranged (i) just above a layer having the same composition and height as those of an impurity diffusion layer in the source or drain of the p-type MOS transistor, (ii) just above a layer having the same composition and height as those of an impurity diffusion layer in the source or drain of the n-type MOS transistor, (iii) just above a region, in the silicon substrate, having the same composition and height as those of a channel region, in the silicon substrate, just below a gate oxide film of the p-type MOS transistor or the n-type MOS transistor, or (iv) just above a region, in the silicon substrate
  • Fig. 1 is a sectional view showing part of a semiconductor device according to a first embodiment.
  • Fig. 2 is a sectional view showing part of a semiconductor device according to a second embodiment.
  • Fig. 3 is a sectional view showing part of a semiconductor device according to a third embodiment.
  • Fig. 4 is a sectional view showing part of a semiconductor device according to a fourth embodiment.
  • Fig. 5 is a sectional view showing part of a semiconductor device according to a fifth embodiment.
  • Fig. 6A is a sectional view illustrating a front end process in a LOCOS method as a standard CMOS process.
  • Fig. 6B is a sectional view illustrating the front end process in the LOCOS method as the standard CMOS process.
  • Fig. 6A is a sectional view illustrating a front end process in a LOCOS method as a standard CMOS process.
  • Fig. 6B is a sectional view illustrating the front end process in the
  • FIG. 6C is a sectional view illustrating the front end process in the LOCOS method as the standard CMOS process.
  • Fig. 6D is a sectional view illustrating the front end process in the LOCOS method as the standard CMOS process.
  • Fig. 6E is a sectional view illustrating the front end process in the LOCOS method as the standard CMOS process.
  • Fig. 6F is a sectional view illustrating the front end process in the LOCOS method as the standard CMOS process.
  • Fig. 6G is a sectional view illustrating the front end process in the LOCOS method as the standard CMOS process.
  • Fig. 6H is a sectional view illustrating the front end process in the LOCOS method as the standard CMOS process.
  • Fig. 6D is a sectional view illustrating the front end process in the LOCOS method as the standard CMOS process.
  • Fig. 6E is a sectional view illustrating the front end process in the LOCOS method as
  • FIG. 6I is a sectional view illustrating the front end process in the LOCOS method as the standard CMOS process.
  • Fig. 6J is a sectional view illustrating the front end process in the LOCOS method as the standard CMOS process.
  • Fig. 6K is a sectional view illustrating the front end process in the LOCOS method as the standard CMOS process.
  • Fig. 7A is a sectional view illustrating a front end process in a trench-type isolation method as a standard CMOS process.
  • Fig. 7B is a sectional view illustrating the front end process in the trench-type isolation method as the standard CMOS process.
  • Fig. 7C is a sectional view illustrating the front end process in the trench-type isolation method as the standard CMOS process.
  • FIG. 7D is a sectional view illustrating the front end process in the trench-type isolation method as the standard CMOS process.
  • Fig. 7E is a sectional view illustrating the front end process in the trench-type isolation method as the standard CMOS process.
  • Fig. 7F is a sectional view illustrating the front end process in the trench-type isolation method as the standard CMOS process.
  • Fig. 7G is a sectional view illustrating the front end process in the trench-type isolation method as the standard CMOS process.
  • Fig. 7H is a sectional view illustrating the front end process in the trench-type isolation method as the standard CMOS process.
  • Fig. 7I is a sectional view illustrating the front end process in the trench-type isolation method as the standard CMOS process.
  • FIG. 7J is a sectional view illustrating the front end process in the trench-type isolation method as the standard CMOS process.
  • Fig. 7K is a sectional view illustrating the front end process in the trench-type isolation method as the standard CMOS process.
  • Fig. 7L is a sectional view illustrating the front end process in the trench-type isolation method as the standard CMOS process.
  • Fig. 8A is a sectional view illustrating an n-well process serving as an element isolation technique in a standard CMOS process.
  • Fig. 8B is a sectional view illustrating a p-well process serving as an element isolation technique in a standard CMOS process.
  • FIG. 8C is a sectional view illustrating a twin-well process serving as an element isolation technique in a standard CMOS process.
  • Fig. 8D is a sectional view illustrating a triple-well process serving as an element isolation technique in a standard CMOS process.
  • Fig. 9A is a sectional view showing part of a semiconductor device according to Example 1.
  • Fig. 9B is a circuit diagram of an imaging element by using the semiconductor device according to Example 1.
  • Fig. 10A is a diagram showing the relationship between the height of the Schottkey barrier and the workfunction of a metal used for an electrode in the case where an epitaxial layer in Example 1 is a p-type semiconductor.
  • FIG. 10B is a diagram showing the relationship between the height of the Schottkey barrier and the workfunction of a metal used for an electrode in the case where an epitaxial layer in Example 1 is an n-type semiconductor.
  • Fig. 10C is a diagram showing the relationship between the Ge compound crystal mole fraction, the height of the Schottkey barrier, and the indirect band gap in the epitaxial layer in Example 1.
  • Fig. 11A is a sectional view illustrating a Schottkey barrier formation step of the semiconductor device in Example 1.
  • Fig. 11B is a sectional view illustrating a Schottkey barrier formation step of the semiconductor device in Example 1.
  • Fig. 11C is a sectional view illustrating a Schottkey barrier formation step of the semiconductor device in Example 1.
  • Fig. 11D is a sectional view illustrating a Schottkey barrier formation step of the semiconductor device in Example 1.
  • a method for manufacturing a semiconductor device realizes a semiconductor device which is CMOS-compatible and which includes a Schottkey barrier for rectification and electromagnetic wave detection.
  • an epitaxial layer is locally disposed just above a layer having the same composition and height as those of a specific layer formed by a standard CMOS process.
  • the local epitaxial layer is a semiconductor layer formed by epitaxial growth of a material and constitutes a Schottkey barrier of a detection element to detect electromagnetic waves.
  • the epitaxial layer is in the shape of islands in the in-plane direction of a Si substrate and is suitable for two-dimensional array detection elements because it is possible to two-dimensionally distribute on the substrate.
  • the term "the heights are the same” refers to that the upper surfaces thereof are present in the same plane parallel to a work surface of the substrate (usually one of two surfaces having the largest area).
  • a work surface of the substrate usually one of two surfaces having the largest area.
  • the epitaxial growth is performed between the front end process (process to form an integrated structure including a transistor, a polysilicon resistance element, a MOS capacitative element, and the like) in the standard CMOS process and the back end process (process to carry out metal wiring between transistors and various elements).
  • the front end process process to form an integrated structure including a transistor, a polysilicon resistance element, a MOS capacitative element, and the like
  • the back end process process to carry out metal wiring between transistors and various elements.
  • CMOS complementary metal-oxide-semiconductor
  • a heat treatment at a maximum temperature employed in the standard CMOS process for example, 1,000 degrees Celsius or higher and 1,100 degrees Celsius or lower employed in thermal oxidation or activation annealing after ion implantation.
  • Temperatures at which impurities in CMOS do not diffuse can be employed. For example, 800 degrees Celsius or higher and 900 degrees Celsius or lower are employed.
  • the epitaxial growth is performed before the front end process, it is difficult to leave the epitaxial layer by the standard CMOS process. Even when the epitaxial layer is left, the epitaxial layer is oxidized by a thermal oxidation step to form the MOS and it is impossible to use the outermost surface thereof for the Schottkey barrier.
  • the Schottkey barrier is formed by adding a Schottkey metal to the outermost surface of such an epitaxial layer.
  • the Schottkey barrier is used as a structure to obtain I-V (current-voltage) characteristics of a Schottkey barrier diode, although not limited to this.
  • the Schottkey barrier may be used as a structure to obtain metal semiconductor field effect transistor (MESFET). Both have voltage regions in which a current increases nonlinearly with respect to voltage application and may be used for rectification and detection of electromagnetic waves.
  • the Schottkey barrier forming step is performed between the front end process and the back end process in the standard CMOS process and, thereby, the semiconductor device, in which the CMOS and the detection element are integrated on the Si substrate, is formed by using the standard CMOS process. That is, a CMOS-compatible semiconductor device having an affinity for the standard CMOS process is provided.
  • the semiconductor device in which the epitaxial layer disposed just above a layer having the same composition and height as those of a specific layer formed by the CMOS process is used as part of the Schottkey barrier, may be provided.
  • the semiconductor device including the Schottkey barrier can be used for detecting, in particular, electromagnetic waves (hereafter may be simply referred to as "terahertz waves") containing at least part of frequency components in a frequency region from the millimeter wave band to the terahertz band (30 GHz or more and 30 THz or less).
  • the semiconductor device may be used for an imaging element to detect terahertz waves and perform imaging and an image forming apparatus by using the imaging element.
  • semiconductor devices adaptable to electromagnetic waves with frequencies lower than the visible light region and the near-infrared region other than the terahertz waves and imaging elements and image forming apparatuses by using the same may be provided.
  • CMOS-compatible semiconductor device in which the characteristics of the Schottkey barrier can be designed may be obtained by employing the above-described configuration.
  • an epitaxial layer containing materials other than Si may be integrated on the same substrate as the substrate of the CMOS.
  • the first example of the considered materials is silicon germanium (SiGe).
  • the barrier potential is controlled by a Ge compound crystal. Consequently, it becomes possible to adjust the impedance, e.g., resistance and capacitance, of the Schottkey barrier, so that the condition of impedance-matching to, for example, the receiving antenna to receive electromagnetic waves may be adjusted.
  • the second example is a III-V compound semiconductor, e.g., gallium arsenide (GaAs) or indium phosphide (InP).
  • III-V compound semiconductor has relatively high mobility and, therefore, a Schottkey barrier diode and a MESFET operable in the higher frequency side in the frequency region from the millimeter wave band to the terahertz band may be provided. Also, a semiconductor having a relatively narrow band gap may be selected and typically, an operation at a low bias voltage is possible.
  • the outermost surface of the epitaxial layer which does not suffer plasma damage, e.g., dry etching, may be used as part of the Schottkey barrier.
  • a stable Schottkey barrier may be formed by subjecting surface dangling bonds to hydrogen termination.
  • the material for the outermost layer of the semiconductor layer (epitaxial layer) and the material for a Schottkey metal serving as the electrode may be selected optionally.
  • lattice-mismatched semiconductor with a thickness less than or equal to the critical film thickness may be used.
  • the Schottkey barrier may be formed by using either the n-type semiconductor or the p-type semiconductor.
  • a conductivity type suitable for reduction in delay of the detection element or a conductivity type suitable for reduction in noise may be selected.
  • the semiconductor device which has such effects and which is formed by using the standard CMOS process may be produced relatively inexpensively in spite of higher performance than ever.
  • the base is the Si substrate, where 200-mm and 300-mm wafers are distributed at present, so that an increase in the number of pixels of the image forming apparatus adaptable to electromagnetic waves in frequency bands lower than the visible light region and the near-infrared region is facilitated.
  • Fig. 1 is a sectional view showing an integrated structure which is part of the semiconductor device according to the present embodiment.
  • the semiconductor device according to the present embodiment is obtained by carrying out metal wiring between transistors, Schottkey barrier diodes, and the like of the integrated structure shown in Fig. 1 through the back end process in the standard CMOS process. The configuration and a detailed manufacturing method of the semiconductor device will be described later.
  • the semiconductor device includes a detector element 101, a p-type MOS transistor (hereafter referred to as pMOS) 102, and an n-type MOS transistor (hereafter referred to as nMOS) 103. These constituents are arranged in an in-plane direction on a Si substrate (hereafter referred to as substrate) 11.
  • substrate Si substrate
  • a CMOS according to the present embodiment is constructed from the pMOS 102, the nMOS 103, and the like on the substrate 11 and is used as an image forming apparatus to control Schottkey barrier diode arrays two-dimensionally arranged in large numbers on the substrate 11 and process signals.
  • the pMOS 102 and nMOS 103 are produced by using the standard CMOS process.
  • the standard CMOS process has some variations and the present embodiment is an example of an n-well process in a local oxidation of Si (LOCOS) method. That is, a field oxide films (thermal oxide films for LOCOS) 12 to isolate elements and n-wells 13 are included.
  • LOCOS local oxidation of Si
  • Each of the pMOS 102 and the nMOS 103 includes source and drain, thermal oxide films (gate oxide films) 122 and 132, and polysilicons 123 and 133 serving as the gate.
  • the source and drain include impurity diffusion layers 121 and 131.
  • the thermal oxide films for LOCOS 12 are disposed between the pMOS 102 and the nMOS 103 and between the nMOS 103 and the detection element 101 to isolate the individual elements.
  • the detection element 101 is constructed on the substrate 11 to detect terahertz waves and includes the Schottkey barrier diode.
  • the detection element 101 includes two electrodes of an anode 113 and a cathode 114 and an epitaxial layer 112.
  • a Schottkey barrier is formed by adding the anode 113 and the cathode 114 serving as Schottkey metals to the outermost surface of the epitaxial layer 112.
  • the epitaxial layer 112 is a semiconductor layer epitaxially grown just above an impurity diffusion layer 111 having the same composition and height as those of an impurity diffusion layer 121 in the source or drain of the pMOS 102.
  • the epitaxial layer 112 is not limited to a single layer but may be a plurality of layers stacked.
  • the layers having the same composition and height on the substrate 11 are formed at the same time through the same steps in the CMOS process, although the places on the substrate 11 and the purposes are different from each other.
  • the term "form at the same time” does not necessarily refer to that the timings of formation of the individual layers are the same completely. That is, in formation of the semiconductor device, the layers having the same composition and height by performing the same step are assumed to be the layers having the same composition and height. That is, in the present embodiment, the impurity diffusion layer 111 formed at the same time with the impurity diffusion layer 121 or 131 formed for the purpose of forming the source or drain in the pMOS 102 is used as a seed layer to integrate diodes.
  • the compositions of the impurity diffusion layers are the same within the range of in-plane distribution on the substrate 11, and the heights in the in-plane direction are the same within the range of the scale controllable by the same thermal oxidation step and etching step.
  • the etching is predominant and even when the heights are the same, there is surface roughness on the order of, typically, several nanometers.
  • the surrounding structure is in the state in which only silicon, e.g., the substrate 11 and polysilicons 123 and 133, and glass, e.g., the thermal oxide film for LOCOS 12 and the gate oxide films 122 and 132 serving as thermal oxide films, are present.
  • the melting points of them are higher than the heat treatment temperature of the epitaxial growth, so that the surrounding structure has the resistance against the heat treatment at the time of the epitaxial growth. Consequently, the semiconductor device according to the present invention may be formed by using the front end process in the standard CMOS process and, therefore, may be called a CMOS-compatible semiconductor device.
  • the thus formed epitaxial layer 112 may be Si which lattice-matches the impurity diffusion layer 111 as a matter of course, although other materials may be employed. For example, it is possible to grow a crystal of GaAs having a lattice constant of 5.653 angstroms on the Si substrate 11 having a lattice constant of 5.430 angstroms by using a well-known technology. Also, lattice-mismatched SiGe or Ge, or GaAs through a SiGe buffer layer may be employed.
  • the lattice constant of the material contained in the epitaxial layer 112 is preferably within the range of 5.430 angstroms or more and 5.653 angstroms or less because a good-quality epitaxial layer 112 is formed on the Si substrate 11.
  • the place on the substrate 11, at which the growth occurs may be selected on the basis of differences in the lattice constant, other properties, and the structure between the impurity diffusion layer 111 serving as a seed layer and other portions. It is possible that selectivity of non-growth region is ensured by using a masking material, and it is also possible to locally leave the epitaxial layer 112 just above the impurity diffusion layer 111. At this time, the selectivity is enhanced by adjusting the growth conditions (for example, the substrate temperature, the raw material ratio, the pressure, and the like).
  • a chemical vapor deposition method (CVD method) or a metal-organic vapor phase epitaxy method (MOVPE method) may be selected.
  • CVD method chemical vapor deposition method
  • MOVPE method metal-organic vapor phase epitaxy method
  • small amounts of impurities may be mixed into the epitaxial layer, so that a molecular beam epitaxy method (MBE method) or the like including smaller amounts of impurities may be employed.
  • MBE method molecular beam epitaxy method
  • Schottkey electrodes or ohmic electrodes serving as the anode 113 and the cathode 114 are added to the epitaxial layer 112 and, thereby, a diode structure is completed.
  • the electrodes can be arranged on the outermost layer of the epitaxial layer 112.
  • the epitaxial layer 112 remains having an area smaller than the area of the impurity diffusion layer 111 serving as the seed layer. This is because an electric delay of terahertz wave in the diode is reduced.
  • the diode is of two electrodes on a surface type. The detection current passes in the vicinity of the anode and the cathode on the surface of the diode. Therefore, in the configuration, a noise can be small because the detection current does not pass easily through parts having incomplete lattice structures, most of which are present at the bottom portion of the epitaxial layer 112.
  • the formation is performed by using the front end process in the standard CMOS process.
  • the thermal oxide films for LOCOS 12 are always located between the detection element 101 and the pMOS 102 and between the detection element 101 and the nMOS 103 and serve as element isolation structures in the in-plane direction.
  • the impurity diffusion layer 111 is a p-type semiconductor, so that in the case where Si is selected for the epitaxial layer 112, element isolation from the pMOS 102, the nMOS 103, the Si substrate 11, and the like becomes possible by selecting the n-type, which is opposite to the p-type, as the conductive type.
  • the impurity diffusion layer 111 serving as the seed layer is not limited to the impurity diffusion layer 121 in the source or drain of the pMOS 102, but a modified example is also considered, wherein an n-type semiconductor having the same composition and height as those of the impurity diffusion layer 131 in the source or drain of the nMOS 103 is used.
  • the same element isolation is possible by using a structure, in which an n-type semiconductor is grown after a p-type semiconductor is grown, as the epitaxial layer.
  • the same structure may be formed by using ion implantation.
  • the semiconductor device according to the present invention is CMOS-compatible and the characteristics of the Schottkey barrier may be designed.
  • the configuration according to the present invention is an example in which the step to expose the seed layer 111 is relatively easy and the structure is simple.
  • the epitaxial layer 112 is grown just above the impurity diffusion layer 111 formed in the same step and at the same time with formation of the impurity diffusion layer 121. All the impurity diffusion layers 111, 121, and 131 are formed by subjecting the substrate 11 surface to ion implantation and activation annealing. Therefore, the impurity diffusion layer 111 before the epitaxial growth is part of the substrate 11 used in the front end process, and the epitaxial layer 112 is formed on the substrate 11 surface.
  • the epitaxial layer 112 has properties in which the film quality, e.g., the impurity concentration and the defect density, are substantially different depending on the growing method and the condition.
  • the substrate 11 surface follows the properties on the basis of a substrate formation method, e.g., a Czochralski method (CZ method) or a float zone technology method (FZ method).
  • the epitaxial layer 112 includes impurities, e.g., carbon, contained in the raw material gas in the case of the CVD method or MOVPE method or impurities remaining in a vacuum chamber in the case of the MBE method.
  • the layer having the same composition and height as those of the impurity diffusion layer 121 that is, the semiconductor layer (epitaxial layer) 112 grown on the impurity diffusion layer 111 is distinguishable from the semiconductor layer of the substrate 11 on the basis of the analysis and the electric characteristics.
  • impurities e.g., oxygen, and an amorphous layer may be present at the interface between the epitaxial layer 112 and the seed layer (impurity diffusion layer) 111. Consequently, the element produced by the manufacturing method according to the present invention has a structure specific to the manufacturing method.
  • FIG. 2 is a sectional view showing an integrated structure which is part of the semiconductor device according to the present embodiment.
  • the semiconductor device according to the present embodiment is obtained by carrying out metal wiring between transistors, diodes, and the like included in the integrated structure of the semiconductor device shown in Fig. 2 through the back end process in the standard CMOS process.
  • the configuration and a manufacturing method of the semiconductor device will be described later. The explanations of the same portions as those in the first embodiment will not be provided.
  • the semiconductor device includes a detector element 201, a pMOS 102, and an nMOS 103.
  • the detection element 201 is constructed on a substrate 11 and is a detection element to detect electromagnetic waves from the millimeter wave band to the terahertz band, as in the first embodiment.
  • the detection element 201 includes two electrodes of an anode 213 and a cathode 214 and an epitaxial layer 212.
  • a Schottkey barrier is formed by adding the anode 213 and the cathode 214 serving as Schottkey metals to the outermost surface of the epitaxial layer 212.
  • the epitaxial layer 212 is disposed on the surface of a region, in the substrate 11, having the same composition and height as those of a channel region, in the substrate 11, just below a gate oxide film 132 of the nMOS 103 by epitaxial growth.
  • the region to be provided with the epitaxial layer 212 may be just above the region, in the substrate 11, having the same composition and height as those of a channel region, in the substrate 11, just below a gate oxide film 122 of the pMOS 102.
  • the epitaxial layer 212 is not limited to a single layer but may be a plurality of layers stacked.
  • the regions having the same composition and height refer to regions which are formed through the same steps at the same time in the CMOS process, although the places on the substrate 11 and the purposes are different from each other.
  • the composition of the channel region, in the substrate 11, just below the gate oxide film 132 is the same as the composition of the channel region, in the substrate 11, just below the gate oxide film, which has been removed in Fig. 2, within the range of in-plane distribution on the substrate 11, and the heights in the in-plane direction are the same within the range of the scale controllable by the same thermal oxidation step.
  • the thermal oxidation step of the gate is very precise and, typically, it is possible to perform control within 1 nanometer or less.
  • the Si substrate 11 surface according to the present embodiment a region formed for the purpose of forming the channel region in the nMOS is used as the seed layer to integrate the detection element 201. Therefore, the substrate 11 surface in the state of having been subjected to the same process as with the gate oxide film 132 serves as the seed layer for the growth.
  • the surrounding structure is in the state in which only silicon and glass are present.
  • the melting points of them are very high, so that the resistance to the heat treatment in the epitaxial growth is exhibited. Consequently, it may be said that the semiconductor device by using the integrated structure shown in Fig. 2 is a CMOS-compatible semiconductor device which is formed by using the standard CMOS process, that is, which has affinity for the standard CMOS process.
  • the thermal oxide films for LOCOS 12 are located between the detection element 201 and the pMOS 102 and between the detection element 201 and the nMOS 103 and serve as element isolation structures in the in-plane direction.
  • the Si substrate 11 is a p-type semiconductor, so that in the case where Si is selected for the epitaxial layer 212, element isolation from the pMOS 102, the nMOS 103, the Si substrate 11, and the like becomes possible by selecting the n-type, which is opposite to the p-type, as the conductive type.
  • a modified example is also considered, wherein an n-well in the pMOS is used as the Si substrate 11 serving as the seed layer. In that case, the same element isolation is possible by growing a p-type semiconductor on an epitaxial layer and, thereafter, growing an n-type semiconductor to form the epitaxial layer 212.
  • the region, in the substrate, having the same composition and height as those of the channel region, in the substrate, just below the gate oxide film of the nMOS or pMOS is used as the seed layer in the epitaxial growth.
  • This seed layer is configured to obtain a best surface state with reduced defects and the like but is an example of a structure with relative difficulty of performing the exposure step because there is a need to remove a polysilicon gate and a gate thermal oxide film.
  • a portion excluding polysilicon gate (not shown in the drawing) in the nMOS concerned is masked by patterning through photolithography or the like and, thereafter, polysilicon (not shown in the drawing) and the thermal oxide film just below it are removed by using wet etching.
  • an etchant a mixed solution containing hydrofluoric acid and nitric acid may be used, where etching is inhibited by low-concentration impurity-doped single crystal silicon.
  • gate side-wall insulating films 215 may be used as side-etching inhibition structures. However, the gate side-wall insulating films 215 are unnecessary for the present configuration and, therefore, may be removed thereafter.
  • the epitaxial layer 212 is grown just above the region, in the substrate 11, formed at the same time through the same steps as the steps to form the channel region, in the substrate 11, just below the gate oxide film 132. Therefore, the region on which the epitaxial growth is performed is the channel region, is part of the substrate 11 used in the front end process, and is the surface.
  • the epitaxial layer 122 has properties in which the film quality, e.g., the impurity concentration and the defect density, are substantially different depending on the growing method and the condition.
  • the semiconductor device according to the present invention is CMOS-compatible and the characteristics of the Schottkey barrier may be designed.
  • FIG. 3 is a sectional view showing part of an integrated structure of the semiconductor device according to the present embodiment.
  • the semiconductor device according to the present embodiment is obtained by carrying out metal wiring between transistors, diodes, and the like included in the integrated structure of the semiconductor device shown in Fig. 3 through the back end process in the standard CMOS process.
  • the configuration and a manufacturing method of the semiconductor device will be described later. The explanations of the same portions as those in the above-described embodiments will not be provided.
  • the semiconductor device includes a detector element 301, a pMOS 102, and an nMOS 103.
  • the detection element 301 is constructed on a substrate 11 and is a detection element to detect electromagnetic waves from the millimeter wave band to the terahertz band, as in the first embodiment.
  • the detection element 301 includes two electrodes of an anode 313 and a cathode 314 and an epitaxial layer 312.
  • a Schottkey barrier is formed by adding the anode 313 and the cathode 314 serving as Schottkey metals to the outermost surface of the epitaxial layer 312.
  • the detection element 301 is constructed on a substrate 11 and is a detection element to detect electromagnetic waves from the millimeter wave band to the terahertz band, as in the first embodiment.
  • the epitaxial layer 312 is epitaxially grown just above a region, in the substrate 11, having the same composition and height as those of a region, in the substrate 11, just below an element isolation oxide film 12 formed between the pMOS 102 and the nMOS 103.
  • the epitaxial layer 312 is not limited to a single layer but may be a plurality of layers stacked.
  • the regions having the same composition and height refer to regions which are formed through the same steps at the same time in the CMOS process, although the places on the substrate and the purposes are different from each other.
  • the compositions of the regions, in the substrate 11, just below the element isolation oxide films 12 are the same within the range of in-plane distribution on the substrate 11, and the heights in the in-plane direction are the same within the range of the scale controllable by the thermal oxidation step (LOCOS method) or the etching step (trench-type isolation method).
  • LOC method thermal oxidation step
  • etching step trench-type isolation method
  • the Si substrate 11 surface according to the present embodiment a region just below the thermal oxide film for LOCOS 12 to perform element isolation is used as the seed layer to integrate the detection element 301. Therefore, the substrate 11 surface exposed by removing the thermal oxide film for LOCOS 12 serves as the seed layer for the epitaxial growth.
  • the surrounding structure is in the state in which only silicon and glass are present.
  • the melting points of them are very high, so that the resistance to the heat treatment in the epitaxial growth is exhibited. Consequently, it may be said that the semiconductor device by using the integrated structure shown in Fig. 3 is a CMOS-compatible semiconductor device which is formed by using the front end process in the standard CMOS process and which has affinity for the standard CMOS process.
  • the thermal oxide films for LOCOS 12 are located between the detection element 301 and the pMOS 102 and between the detection element 301 and the nMOS 103 and serve as element isolation structures in the in-plane direction.
  • the substrate 11 is a p-type semiconductor, so that in the case where Si is selected for the epitaxial layer 312, element isolation from the pMOS 102, the nMOS 103, the substrate 11, and the like becomes possible by selecting the n-type, which is opposite to the p-type, as the conductive type.
  • a modified example is also considered, wherein an n-well in the pMOS 102 is used as the substrate 11 serving as the seed layer. In that case, the same element isolation is possible by using a configuration, in which a p-type semiconductor is grown and, thereafter, an n-type semiconductor is grown, as the epitaxial layer 312.
  • the region, in the substrate 11, having the same composition and height as those of the region, in the substrate 11, just below the element isolation oxide film 12 formed between the pMOS 102 and the nMOS 103 is used as the seed layer in the epitaxial growth.
  • a good surface state with reduced defects is obtained, although the state in the second embodiment is not reached.
  • the exposure step to remove the oxide film 12 and expose the Si substrate 11 surface is relatively easy and the structure is simple, although those in the first embodiment are not reached.
  • the area of the detection element 301 on the substrate 11 may be saved. This is because part of the thermal oxide film for LOCOS 12 by the LOCOS method, in which the area becomes relatively large easily, is also used as the region for forming the detection element 301. Therefore, the present embodiment is convenient to make a pixel finer.
  • an image forming apparatus by using this has the same configuration as the configuration shown in Fig. 5 through the back end process in the CMOS process and, therefore, the explanation will not be provided.
  • the epitaxial layer 312 is grown just above the surface of the region, which is to be provided with the detection element 301 on the Si substrate 11, formed at the same time with formation of the substrate 11 surface just below the element isolation oxide film 12 disposed between the pMOS 102 and the nMOS 103. Therefore, the surface concerned before the epitaxial growth is the substrate surface used in the front end process.
  • the semiconductor layer has properties in which the film quality, e.g., the impurity concentration and the defect density, are substantially different depending on the growing method and the condition.
  • the semiconductor device according to the present invention is CMOS-compatible and the characteristics of the Schottkey barrier may be designed.
  • FIG. 4 is a sectional view showing part of an integrated structure of the semiconductor device according to the present embodiment.
  • the semiconductor device according to the present embodiment is obtained by carrying out metal wiring between transistors, MESFETs, and the like included in the integrated structure of the semiconductor device shown in Fig. 4 through the back end process in the standard CMOS process.
  • the configuration and a manufacturing method of the semiconductor device according to the present embodiment will be described later. The explanations of the same configurations as those in the above-described embodiments will not be provided.
  • the semiconductor device includes a detector element 401, a pMOS 402, and an nMOS 403.
  • the detection element 401 is a MESFET to detect terahertz waves.
  • the detection element 401 includes three electrodes of a source 413, a gate 416, and a drain 414 and an epitaxial layer 412 and constitutes a Schottkey barrier.
  • the epitaxial layer 412 is a semiconductor layer and is not limited to a single layer but may be a plurality of layers stacked.
  • the Schottkey barrier diode typically, the Schottkey barrier is disposed just below the anode with an n-type semiconductor or just below the cathode with a p-type semiconductor. However, in the case of the MESFET, the Schottkey barrier is disposed just below the gate.
  • the CMOS is configured to include the pMOS 402, the nMOS 403, and the like on the substrate 41 and is used for controlling MESFET arrays arranged in large numbers in the in-plane direction on the Si substrate 41 and processing signals, as an image forming apparatus.
  • the pMOS 402 and the nMOS 403 are produced by using the standard CMOS process.
  • the present embodiment is an example of a twin-well process in the trench-type isolation method. That is, the semiconductor device includes a field oxide films (CVD oxide films) 42 for element isolation, n-wells 43, and a p-well 44.
  • the conductive type of the substrate 41 is either p-type or n-type.
  • the pMOS 402 and the nMOS 403 include impurity diffusion layers 421 and 431, respectively, serving as the source and drain, thermal oxide films (gate oxide films) 422 and 432, respectively, and polysilicons 423 and 433, respectively, serving as the gates.
  • Oxide films 42 formed by the CVD method are disposed between the pMOS 402, the nMOS 403, and the detection element 401 to isolate the individual elements.
  • the epitaxial layer 412 is epitaxially grown just above an impurity diffusion layer 411 having the same composition and height as those of the impurity diffusion layer 421 in the source or drain of the pMOS 402.
  • the epitaxial layer 412 may be grown just above the impurity diffusion layer 411 having the same composition and height as those of the impurity diffusion layer 431 in the source or drain of the nMOS 403.
  • the element isolation is possible when the epitaxial layer 412 includes a layer having a conductive type different from the conductive type of the impurity diffusion layer 411.
  • SiGe is used as the epitaxial layer 412.
  • the element isolation is easy when a material, e.g., aluminum gallium arsenide (AlGaAs) or indium gallium arsenide (InGaAs), having a band gap larger than the band gaps of them is adopted.
  • AlGaAs aluminum gallium arsenide
  • InGaAs indium gallium arsenide
  • III-V compound semiconductor a technology to increase the resistivity by compensating for carriers with deep introduction of impurities or the like has been advanced, and the element isolation is possible without using a material having a large band gap.
  • the configuration as in the second embodiment may be considered. That is, the epitaxial layer 412 may be epitaxially grown on the surface of a region, in the substrate 41, having the same composition and height as those of a channel region, in the substrate 41, just below the thermal oxide film 422 or 432 of the pMOS 402 or nMOS 403. As in the second embodiment, with respect to the seed layer 41 in the epitaxial growth, this configuration obtains a good surface state with reduced defects and the like.
  • the epitaxial layer 412 may be grown on the surface of a region, in the substrate 41, having the same composition and height as those of a region, in the substrate 41, just below the oxide film 42.
  • the oxide film 42 may also be used as the region for forming the MESFET 401 and, therefore, the present embodiment is convenient to make a pixel finer.
  • the surrounding structure is in the state in which silicon and glass, e.g., the CVD oxide film 42 and the thermal oxide films 422 and 432, are present.
  • the source, the gate, the drain of each of the pMOS 402 and the nMOS 403 formed by the CMOS process according to the present embodiment are provided with the silicide 424 or silicide 434 to reduce the contact resistance in contact with a metal used in the back end process.
  • This is a compound crystal of Si and a metal and typical examples include tungsten silicide (WSi), titanium silicide (TiSi), cobalt silicide (CoSi), and nickel silicide (NiSi).
  • WSi tungsten silicide
  • TiSi titanium silicide
  • CoSi cobalt silicide
  • NiSi nickel silicide
  • each structure formed by using the front end process in the standard CMOS process according to the present embodiment has the resistance to the heat treatment for the epitaxial growth and physical stability. Therefore, the semiconductor device according to the present embodiment is CMOS-compatible and the characteristics of the Schottkey barrier may be designed.
  • the MESFET 401 structure is completed by adding a gate electrode 416, a source electrode 413, and a drain electrode 414 to the resulting epitaxial layer.
  • the gate electrode can be arranged on the outermost layer of the epitaxial layer 412.
  • an image forming apparatus by using this has the same configuration as the configuration shown in Fig. 5 through the back end process in the standard CMOS process and, therefore, the explanation will not be provided.
  • FIG. 5 is a sectional view showing part of the semiconductor device according to the present embodiment. Specifically, the integrated structure which is part of the semiconductor device according to the first embodiment is subjected to the back end process in the standard CMOS process, and a pixel including at least a detection element and a circuit to control detection signals and process the signals is illustrated. The explanations of the same configurations as those in the above-described embodiments will not be provided.
  • the semiconductor device includes a detection circuit 1001 (hereafter referred to as “circuit 1001”) and a control and signal processing circuit 1002 (hereafter referred to as “circuit 1002").
  • circuit 1001 detection circuit 1001
  • circuit 1002 control and signal processing circuit 1002
  • the circuit 1001 is a portion to detect terahertz waves and includes a detection element 101 and antennas formed from metal components 1621 and 1622.
  • the detection element 101 is electrically connected to the antennas 1621 and 1622 through vias 151 and 161 and electrodes 113 and 114.
  • the antennas 1621 and 1622 have the functions of capturing terahertz waves propagating in a free space and converting to a current and a voltage close to the impedance of a Schottkey barrier diode of the detection element 101.
  • the planar antenna pattern is formed from second metal wiring 162.
  • an antenna by using two metal layers composed of the first metal wiring 152 and the second metal wiring 162 may be employed.
  • the vias 151 and 161 are a metal and have the function of transmitting high-frequency electric signals from the antennas 1621 and 1622 to the detection element 101 with low losses.
  • the detection element 101 has a function of generating detection signals proportional to the intensity of terahertz waves received by the antennas 1621 and 1622 on the basis of rectification of the high-frequency electric signals.
  • the detection signals are taken out through the first metal wiring 152 on a first interlayer insulating film 15 or the second metal wiring 162 on a second interlayer insulating film 16 to the circuit 1002.
  • the circuit 1002 is an amplifier circuit and is constructed by electrically connecting the pMOS 102 and the nMOS 103 through the vias 151 and 161, the first metal wiring 152, and the second metal wiring 162. Furthermore, third metal wiring and fourth metal wiring may be used. In the present embodiment, the cross-sectional structure of only the CMOS portion of the circuit 1002 in which the pMOS 102 is connected to the nMOS 103 is shown. However, the amplifier circuit may be constructed in association with a resistance element, a capacitative element, and the like on the substrate 11. Such a circuit configuration may be used for amplifying electric signals from the circuit 1001.
  • the circuit 1002 is able to stop the output of signals at the command of an outside circuit and, therefore, is allowed to have a role of a pixel switch. Consequently, the circuit 1002 may be used for control to access and address an optional pixel in an imaging element having a large number of pixels, e.g., 100 pixels per line. For these reasons, the circuit 1002 is indispensable to the semiconductor device according to the present embodiment.
  • the circuit 1001 and the circuit 1002 are integrated at adjacent places on the same substrate 11.
  • foreign noises overlap the detection signals from the circuit 1001 easily, and this occurs considerably as the length of connection wiring between the circuit 1001 and the circuit 1002 increases. Therefore, in the configuration according to the present embodiment, the circuit 1001 can be connected to the circuit 1002 in the shortest distance, so that the S/N ratio of the detection signal is excellent.
  • an appropriate size of one side of a pixel is a half-wave length, so that the size of the pixel at 1 THz is 150 micrometers in the air.
  • the adjacently integrated circuit 1001 and the circuit 1002 can be connected easily in the distance less than or equal to a half-wave length in order to ensure excellent S/N.
  • the configuration to reduce foreign noises is easily constructed.
  • a low-floor level wiring e.g., the first metal wiring 152
  • a high-floor level wiring e.g., the second metal wiring 162
  • construction of the configuration capable of reducing foreign noises is difficult unless integration is performed on the same substrate 11.
  • the detection element 101 which has been subjected to a heat treatment, and silicon, e.g., the substrate 11 and polysilicons 123 and 133, are present in the surrounding structure.
  • silicon e.g., the substrate 11 and polysilicons 123 and 133
  • glass e.g., the thermal oxide film for LOCOS 12 and the thermal oxide films 122 and 132, which have been formed in the front end process in the CMOS process, are present.
  • a material accompanied with a heat treatment at a temperature lower than the temperatures experienced by such structures is adopted.
  • a plasma CVD oxynitride film, a tetra ethyl ortho silicate (TEOS) film, or the like is selected.
  • the film formation of them may be performed at a temperature sufficiently lower than the temperature of the thermal oxide film.
  • a CVD metal or a plating metal is selected.
  • the CVD-W method may fill the via with tungsten (W) by a heat treatment at about 400 degrees Celsius.
  • a Cu damascene method may be selected, where a via is filled with Cu without being accompanied with a special heat treatment.
  • metal wiring 152 and 162 relatively inexpensive, high-electrical conductivity Al, dual damascene method-compatible Cu, or the like is selected. Therefore, it may be said that it is possible to apply the back end process in the standard CMOS process to the semiconductor device according to the present embodiment.
  • Fig. 6A to Fig. 6K are sectional views illustrating an example of the front end process in a LOCOS method as the standard CMOS process.
  • Fig. 7A to Fig. 7L are sectional views illustrating an example of the front end process in the trench-type isolation method as the standard CMOS process.
  • the steps in the LOCOS method include the process shown in Fig. 6A to Fig. 6K.
  • a Si substrate is prepared, and cleaning of impurities distributed on the substrate surface (Fig. 6A), surface thermal oxidation to form a gate thermal oxide film (Fig. 6B), and ion implantation and activation annealing to form an n-well (Fig. 6C) are performed.
  • film formation of a nitride (SiN) film Fig. 6D
  • nitride film etching to form a bird's peak pattern Fig. 6E
  • formation of a field oxide film thermal oxide film for LOCOS, SiO
  • ion implantation and activation annealing to determine the threshold value voltage Vth of the pMOS and the nMOS (Fig. 6G) is performed and, then, film formation and etching of polysilicon serving as a gate are performed, so that the step shown in Fig. 6H is completed.
  • Ion implantation and activation annealing to form impurity diffusion layers serving as the source or the drain of the pMOS and the nMOS are performed and, thereby, the configuration shown in Fig. 6I is formed.
  • Film formation of the CVD oxide film (SiO) of the gate side-wall insulating film (Fig. 6J) and a step to expose the contact and, at the same time, form the gate side-wall insulating film (Fig. 6K) are performed, so that the front end process is completed.
  • the front end process in the trench-type isolation method includes the process shown in Fig. 7A to Fig. 7L.
  • a Si substrate is prepared, and cleaning of impurities distributed on the substrate surface (Fig. 7A), film formation of an oxide film and film formation of a nitride film to protect the substrate surface (Fig. 7B), and etching to form a trench pattern by using the nitride film as a mask (Fig. 7C) are performed.
  • a step shown in Fig. 7D is performed by film formation of a CVD oxide film (SiO) and the like and chemical mechanical polishing (CMP) to smooth the surface.
  • CMP chemical mechanical polishing
  • the nitride film (SiN) and the oxide film (SiO) are etched (Fig. 7E), so that a trench-type isolation structure, which is the largest feature of the trench-type isolation method, is formed by this method on the basis of shallow trench isolation (STI), where the trench is filled with the CVD oxide film.
  • STI shallow trench isolation
  • a gate thermal oxide film is formed by performing surface thermal oxidation (Fig. 7G), and film formation and etching of polysilicon serving as a gate (Fig. 7H) are performed. Ion implantation and activation annealing to form lightly doped drain (LDD) structures in the source and drain of the pMOS and the source and drain of the nMOS (Fig. 7I) are performed. Furthermore, formation of a gate side-wall insulating film (Fig. 7J) and ion implantation and activation annealing to form impurity diffusion layers serving as the source and drain of the pMOS and the source and drain of the nMOS (Fig. 7K) are performed. Subsequently, siliciding is performed, where in order to improve contact, Ti, Co, Ni, and the like are brought into contact and a heat treatment is performed, (Fig. 7L), so that the front end process is completed.
  • siliciding is performed, where in order to improve contact, Ti, Co, Ni, and the like are brought into contact
  • the ion implantation and the activation annealing to determine the threshold value voltage Vth, the step to form the LDD structure, and the siliciding step, as shown in Fig. 7L are steps to improve the functionality in association with the finer design rule of the CMOS and are not indispensable. Such steps may be incorporated into both the LOCOS method and the trench-type isolation method. Likewise, for example, the CMP step shown in Fig. 7D is not indispensable and may be replaced with a surface smoothing step on the basis of a previously known etch back method.
  • PMD pre metal dielectric
  • Fig. 8A shows an n-well process to form an n-well 83 on a p-type Si substrate 81 by an ion implantation method, diffusion method, or the like.
  • Fig. 8B shows a p-well process to form a p-well 84 on an n-type Si substrate 81.
  • Fig. 8C shows a twin-well process to form both the n-well 83 and the p-well 84 on the substrate 81.
  • Fig. 8D shows a triple-well process to form a well 85 having a conductive type opposite to the conductive type of the substrate and both the n-well 83 and the p-well 84 on the p-type substrate 81.
  • Each of the LOCOS method and the trench-type isolation method which are the standard CMOS processes, has eight variations on the basis of only the above-described combinations.
  • the standard CMOS process in the present specification is not limited to them.
  • CMOS processes on the basis of such changes in the order of steps, in the case where there are alternatives to the steps to form the same structure, CMOS processes on the basis of such substitution of the steps, CMOS processes in which steps to form structures effective in enhancing the functionality but not indispensable are added or omitted, CMOS processes in which steps to form a resistance element or a MOS capacitative element by using an impurity diffusion layer or polysilicon on the same substrate as with the pMOS or nMOS are added, and CMOS processes in which steps, e.g., substrate cleaning or surface treatment, not accompanied with a structure are added or omitted, and combinations thereof are considered to be the standard CMOS process in the present specification. Also, it is considered that the same goes for BiCMOS processes in which bipolar transistors adopting the above-described CMOS processes and the CMOS are integrated.
  • the semiconductor device according to the present embodiment is CMOS-compatible and the characteristics of the Schottkey barrier may be designed.
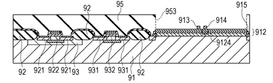
  • Fig. 9A is a sectional view of a semiconductor device which is part of the imaging element according to the present example.
  • Fig. 9B shows a circuit diagram of the imaging element in which such structures are arranged in a two-dimensional array and any pixel is able to be accessed optionally.
  • the semiconductor device included a detection circuit 9001 (hereafter referred to as "circuit 9001") and a control and signal processing circuit 9002 (hereafter referred to as "circuit 9002").
  • the circuit 9001 included a detection element 901 and antennas formed from metal components 9621 and 9622.
  • the detection element 901 was electrically connected to the antennas 9621 and 9622 through vias 951 and 961 and two electrodes 913 and 914.
  • the circuit 9002 was an amplifier circuit and was constructed by electrically connecting the pMOS 902 and the nMOS 903 through the vias 951 and 961, the first metal wiring 952, and the second metal wiring 962.
  • third metal wiring and fourth metal wiring may be used.
  • an 8-inch Si substrate having a diameter of 200 mm was used as a substrate 91.
  • a die semiconductor device
  • a high-resistivity substrate 91 was used, which had a resistivity of 20 ohm centimeter or more and which was produced by a MCZ method, so that absorption of terahertz waves by the substrate 91 was reduced.
  • the detection element 901 was a Schottkey barrier diode (hereafter referred to as diode) including an epitaxial layer 912, a Schottkey electrode 913, and an ohmic electrode 914.
  • An n-type SiGe compound crystal semiconductor was used as the outermost surface of the epitaxial layer 912.
  • the epitaxial layer 912 was configured to include a high-concentration doped Si layer (first layer) 9121, a high-concentration doped Si 0.86 Ge 0.14 layer (second layer) 9122, and a low-concentration doped Si 0.86 Ge 0.14 layer (third layer) 9123 sequentially from the substrate 91 side.
  • the first layer 9121 had an n-type carrier concentration of 2 by 10 19 cm -3 and a thickness of 500 nm.
  • the second layer 9122 had an n-type carrier concentration of 2 by 10 19 cm -3 and a thickness of 15 nm.
  • the third layer 9123 had an n-type carrier concentration of 5 by 10 17 cm -3 and a thickness of 60 nm.
  • the first layer 9121 also served as a buffer layer and, therefore, a relatively thick layer was used. This is because in the case where the surface of the seed layer was not perfect, the most lower portion of the epitaxial layer 912 did not become a perfect crystal easily.
  • a region, in the substrate 91, having the same composition and height as those of a channel region, in the silicon substrate 91, just below a gate oxide film of the pMOS 902 or nMOS 903 was used as the seed layer.
  • the second layer 9122 and the third layer 9123 were lattice-mismatched systems relative to the substrate 91. It was well known that dislocation, misfit, and the like of these layers were able to be reduced by using a low-temperature epitaxial growth technology. In this regard, selection of 1 by 10 17 cm -3 or more and 1 by 10 19 cm -3 or less as the carrier concentration of the third layer 9123 was convenient for forming the Schottkey barrier structure. The third layer 9123 was brought into contact with the Schottkey electrode 913 and, thereby, a Schottkey barrier was formed on the semiconductor 9123 side included in the epitaxial layer 912.
  • the ohmic electrode 914 was brought into electrical contact with the high-concentration doped layers 9121 and 9122 through a high-concentration ion implant region 9124.
  • a Ti metal (the thickness was 200 nm) was used as the material for the Schottkey electrode 913 and the ohmic electrode 914. In this manner, the detection element 901 was constructed.
  • the Ge compound crystal mole fraction in the low-concentration doped layer 9123 of the SiGe epitaxial layer 912 and the magnitude of the barrier potential when the material for the Schottkey electrode 913 was changed will be described.
  • An evaporation method was used for film formation of Ti, Al, Ni, and Pd serving as the Schottkey electrode 913 in order to reduce surface damage of the SiGe epitaxial layer 912.
  • Fig. 10A and Fig. 10B are diagrams showing the relationship between the Schottkey barrier height phi b and the metal workfunction of the metal used for the electrode.
  • the Schottkey barrier height phi b had the property of being decreased as the metal workfunction increased, as shown in Fig. 10A.
  • the Schottkey barrier height exhibited the property of being increased as the metal workfunction increased, as shown in Fig. 10B.
  • I-V (current-voltage) method was used for extraction of the Schottkey barrier height phi b.
  • the value of the metal workfunction was extracted from the table described in WALTER H. KOHL, "Materials and Techniques for ELECTRON TUBES", p. 526.
  • Fig. 10C is a diagram showing the relationship between the degree of compound crystal of Ge in the epitaxial layer 912 containing SiGe, the Schottkey barrier height phi b, and the indirect band gap Eg.
  • Fig. 10C also shows that the Schottkey barrier height phi b is able to be adjusted by the degree of compound crystal of Ge.
  • Fig. 10C shows an example of p-type semiconductor. The Ge compound crystal mole fraction is increased and the indirect band gap Eg is reduced because of SiGe, so that in accordance with the tendency, the Schottkey barrier height phi b decreases.
  • the Schottkey barrier height phi b is preferably 0.4 eV or less, and desirably 0.1 eV or more and 0.3 eV or less.
  • p-type semiconductors Si and SiGe can be combined with a Schottkey metal of Ni having a workfunction of 4.6 eV to Pd having a workfunction of 5.0 eV, and n-type semiconductors Si and SiGe can be combined with a Schottkey metal of Ti having a workfunction of 3.9 eV to Al having a workfunction of 4.2 eV.
  • the circuit 9001 was constructed by connecting the detection element 901 to the antennas 9621 and 9622.
  • a well-known log-periodic antenna independent of frequency was used for the antennas 9621 and 9622.
  • the detection element 901 was formed into the shape of islands.
  • the size of the island was specified to be about 50 square micrometers or less to detect electromagnetic waves in the frequency band of 0.5 THz or more and 3 THz or less, and one side of the epitaxial layer 912 was designed to measure about 7 micrometers.
  • One side of the channel serving as the seed layer of the epitaxial layer 912 was designed to measure about 500 micrometers which was almost the same as the size of one pixel.
  • the diameter of the Schottkey electrode 913 was designed to measure 0.6 micrometers and the distance between the Schottkey electrode 913 and the ohmic electrode 914 was designed to measure 1 micrometer.
  • the Schottkey electrode 913 and the ohmic electrode 914 were Ti electrodes formed by using Ti.
  • the Ti/Al/TiN wiring 952 (thickness 800 nm) and the Ti/Al/TiN wiring 962 (thickness 800 nm) were placed on a BPSG film 95 (thickness at the thickest place was 2 micrometers) and a TEOS film 96 (thickness 1.6 micrometers), respectively, to form antennas 9621 and 9622.
  • the vias 951 and 961 which had a diameter of 0.4 micrometers and which were filled with CVD-W, connected between the Ti electrodes 913 and 914 and the first wiring 952 and between the first wiring 952 and the second wiring 962, respectively.
  • the detection element 901 was connected to the antennas 9621 and 9622 with series resistance of 4 ohms.
  • the pMOS 902 and the nMOS 903 were produced by the n-well process in the LOCOS method.
  • silicide 924 or silicide 934 were adopted.
  • the pMOS 902 and the nMOS 903 were formed in such a way that the gate area became relatively large. This is for the purpose of reducing 1/f noises of the CMOS.
  • the gate length and the gate width of the pMOS 902 were designed to measure 0.6 micrometers and 240 micrometers, respectively.
  • the gate length and the gate width of the nMOS 903 were designed to measure 4.8 micrometers and 8 micrometers, respectively.
  • the MOS may be divided into, for example, a common centroid layout. They are well known technologies.
  • the Ti/Al/TiN wiring 952 (thickness 800 nm) and the Ti/Al/TiN wiring 962 (thickness 800 nm) were placed on the BPSG film 95 (thickness at the thickest place was 2 micrometers) and the TEOS film 96 (thickness 1.6 micrometers), respectively.
  • the vias 951 and 961 which had a diameter of 0.4 micrometers, connected between the source, the drain, and the gate of the pMOS 902 and the nMOS 903 and the first wiring 952 and between the first wiring 952 and the second wiring 962, respectively, with relatively low resistance. In this manner, the second circuit 9002 described below was formed.
  • the circuit 9002 according to the present embodiment was an LNA circuit designed by using a simple source grounded circuit.
  • the circuit 9002 served as an LNA with the amplification degree of 20 dB and the bandwidth of 10 MHz.
  • the bandwidth was relatively wide and, therefore, for example, noises were able to be reduced by disposing a filter circuit or the like downstream to limit the bandwidth. They are well-known technologies.
  • the circuit 9001 was directly connected to the input stage of the circuit 9002 to effect the zero bias operation of the detection element 901.
  • the circuit 9001 may be configured to be brought into non-zero bias operation by using capacitive coupling or the like.
  • resistance for protection or the like may be inserted into the input stage.
  • Such circuit configurations may be integrated on the same substrate 91 easily.
  • the imaging element according to the present example was configured to include the circuit 9001 and the circuit 9002 in one pixel, and they were two-dimensionally arrayed. Consequently, a mechanism to read a designated pixel was required.
  • Transistors 904 to access the pixels were transistors, which were connected to the individual pixels, on the same substrate 91, and served as selection switches to read signal voltages and charges of the individual pixels.
  • the imaging element included a y-address circuit 9004 and y-read line switches 9005.
  • the y-address circuit 9004 operated the y-read line switch 9005 of a read line 9006 to be addressed.
  • a y-address circuit 9007 operated a y-read line switch 9008 of a read line 9009 to be addressed.
  • the x-address circuit 9007 and the y-address circuit 9004 may be incorporated with read circuits (not shown in the drawing) of detection signals sent from the individual pixels sequentially.
  • the imaging element according to the present example was produced as described below.
  • An 8-inch Si substrate 91 was prepared and was subjected to the front end process by using the LOCOS method in the standard CMOS process. Specifically, in the front end process in the present example, the steps shown in Fig. 6A to Fig. 6K and the step shown in Fig. 7L were performed. As a result, an integrated structure of a semiconductor device was formed on the substrate 91.
  • the Schottkey barrier formation step which was part of the following steps was shown in Fig. 11A to Fig. 11D.
  • a BPSG film 95 of about 2.5 micrometers was formed as PMD, so as to cover all over the substrate 91 (Fig. 11A).
  • a portion indicated by dotted lines 953 shown in Fig. 11B was removed from the BPSG film 95, and an exposure step to expose part of a region of the substrate 91 surface was performed.
  • dry etching was used for the BPSG film and silicide, and wet etching was used for the polysilicon 913 and the gate oxide film 912, as described above.
  • a single crystal was able to be grown on only the exposed substrate 91 surface, although a polycrystal remained on the BPSG film 95.
  • this polycrystal was able to be removed by CMP thereafter.
  • the side surface on the BPSG film 95 side was an amorphous layer or a hollow, although this was able to be removed in island formation thereafter.
  • a high-concentration ion implant region 9124 was formed.
  • a donor e.g., phosphorus
  • a heat treatment at, for example, 800 degrees Celsius was performed as activation annealing after the ion implantation.
  • Diffusion of the impurities, e.g., boron, phosphorus, and arsenic, in the pMOS 902 and the nMOS 903 at 800 degrees Celsius was only on the order of several nanometers. This length was one-tenth or less of the gate length and, therefore, it was considered that diffusion did not occur substantially.
  • the high-concentration ion implant region 9124 may be formed after an oxide film, a nitride film, or the like is formed separately in such a way as to cancel the residual stress.
  • the outermost surface of the epitaxial layer 912 was subjected to hydrofluoric acid cleaning and surface dangling bonds were subjected to modification with hydrogen termination.
  • the electrodes 913 and 914 were formed by using a Ti metal, so that the Schottkey barrier, as shown in Fig. 11D, was formed.
  • the dry etching may be used for formation of the electrode and formation of the islands.
  • the BPSG film 95 of about 3 micrometers was formed, a diode serving as the detection element 901 was embedded and, thereafter, the BPSG film 95 was planarized by CMP.
  • the dotted line 953 indicates the boundary between the thus formed BPSG film in the circuit 9001 region and the BPSG film in the circuit 9002 serving as the amplifier circuit. They may be joined without a seam by using CMP.
  • the Schottkey barrier formation step in the present example was as described above.
  • a slender contact hole having a diameter of 0.4 micrometers was made in the BPSG film 95 by a Bosch process or the like and, thereafter, Ti/TiN liner films, 10 nm each, were formed for the purpose of protecting the inner wall of the contact hole.
  • the vias 951 were formed by filling CVD-W at 395 degrees Celsius into the contact hole.
  • CMP was performed again to planarize the BPSG film until the film thickness reached 2 micrometers while W on the BPSG film 95 was removed.
  • a film of Ti/Al/TiN was formed and a wiring pattern was formed by using dry etching, so that the first metal wiring 952 was formed.
  • the TEOS film 96 was formed having a film thickness somewhat larger than the final thickness of 1.6 micrometers.
  • the vias 961 were made in the same manner as making of the vias 951. Planarization was performed until the film thickness of the TEOS film 96 reached 1.6 micrometers and, thereafter, the second metal wiring 962 was formed by forming a Ti/Al/TiN wiring pattern in the same manner as formation of the above-described first metal wiring 952, so that the imaging element according to the present example was completed.
  • the thus formed imaging element according to the present example included a semiconductor device which was CMOS-compatible, where the characteristics of the Schottkey barrier were able to be designed.
  • An image forming apparatus including the imaging element according to the present example and an irradiation device to perform active illumination with millimeter waves or terahertz waves may be constructed.
  • an irradiation device to perform active illumination with millimeter waves or terahertz waves may be constructed.
  • background black body radiation energy is small in contrast to the infrared region and, therefore, active illumination is used usually.
  • irradiation device of electromagnetic waves may include electronic devices including negative resistance elements, e.g., resonant tunneling diodes, Esaki diodes, and Gunn diodes, optical devices, e.g., quantum cascade lasers, p-Ge lasers, and lead-salt lasers, and continuous light sources, e.g., free electron lasers.
  • pulsed light sources e.g., parametric oscillators, photoconductive elements, Cerenkov radiation LiNbO 3 generators, and light-terahertz wave transducers, such as, uni-travelling-carrier (UTC) photodiodes, may be mentioned.
  • parametric oscillators e.g., parametric oscillators, photoconductive elements, Cerenkov radiation LiNbO 3 generators, and light-terahertz wave transducers, such as, uni-travelling-carrier (UTC) photodiodes.
  • UTC uni-travelling-carrier
  • a subject is irradiated with an irradiation device.
  • Terahertz waves passed through the subject or reflected at the subject include the information of the subject, and the resulting terahertz waves are acquired by an imaging element.
  • an imaging element At that time, in the case where an objective lens is disposed between the imaging element and the specimen, a focal plane array type is constructed and, thereby, the image forming apparatus may pick up an image in one shot.
  • a contact type image forming apparatus is considered as another example.
  • the secondary information of the specimen may be obtained by contact of the specimen with the imaging element.
  • an objective lens is unnecessary.
  • the semiconductor device according to the present invention is applied to a sensor usable for production control, medical diagnostic imaging, safety control, and the like.

Landscapes

  • Physics & Mathematics (AREA)
  • General Physics & Mathematics (AREA)
  • Spectroscopy & Molecular Physics (AREA)
  • Electrodes Of Semiconductors (AREA)
  • Metal-Oxide And Bipolar Metal-Oxide Semiconductor Integrated Circuits (AREA)
  • Solid State Image Pick-Up Elements (AREA)
  • Semiconductor Integrated Circuits (AREA)
PCT/JP2014/006359 2013-12-25 2014-12-22 Semiconductor device and method for manufacturing the same Ceased WO2015098073A1 (en)

Priority Applications (3)

Application Number Priority Date Filing Date Title
CN201480070810.2A CN105900235A (zh) 2013-12-25 2014-12-22 半导体装置及其制造方法
EP14833293.5A EP3087606A1 (en) 2013-12-25 2014-12-22 Semiconductor device and method for manufacturing the same
US15/106,996 US9786806B2 (en) 2013-12-25 2014-12-22 Semiconductor device and method for manufacturing the same

Applications Claiming Priority (4)

Application Number Priority Date Filing Date Title
JP2013-267156 2013-12-25
JP2013267156 2013-12-25
JP2014-245236 2014-12-03
JP2014245236A JP2015144248A (ja) 2013-12-25 2014-12-03 半導体装置、及びその製造方法

Publications (1)

Publication Number Publication Date
WO2015098073A1 true WO2015098073A1 (en) 2015-07-02

Family

ID=52434918

Family Applications (1)

Application Number Title Priority Date Filing Date
PCT/JP2014/006359 Ceased WO2015098073A1 (en) 2013-12-25 2014-12-22 Semiconductor device and method for manufacturing the same

Country Status (5)

Country Link
US (1) US9786806B2 (enExample)
EP (1) EP3087606A1 (enExample)
JP (1) JP2015144248A (enExample)
CN (1) CN105900235A (enExample)
WO (1) WO2015098073A1 (enExample)

Families Citing this family (9)

* Cited by examiner, † Cited by third party
Publication number Priority date Publication date Assignee Title
JP6503093B2 (ja) * 2015-12-31 2019-04-17 ユニスト(ウルサン ナショナル インスティテュート オブ サイエンス アンド テクノロジー) ゲートメタルをアンテナとして活用したリング状のテラヘルツ波検出用電界効果トランジスタ
JP6812172B2 (ja) * 2016-08-30 2021-01-13 パイオニア株式会社 電磁波検出装置
DE102017103687B3 (de) * 2017-02-23 2018-04-26 Forschungsverbund Berlin E.V. Strahlungsdetektor und Verfahren zu dessen Herstellung
JP7516009B2 (ja) * 2019-02-20 2024-07-16 キヤノン株式会社 発振器、撮像装置
JP7516786B2 (ja) * 2019-06-21 2024-07-17 株式会社村田製作所 半導体装置及びその製造方法
JP7414428B2 (ja) * 2019-08-26 2024-01-16 キヤノン株式会社 発振器、照明装置、撮像装置および装置
TWI715311B (zh) 2019-11-26 2021-01-01 國立交通大學 具有寬能隙三五族汲極之金屬氧化物矽半導體場效電晶體及其製造方法
CN114203641A (zh) * 2021-12-08 2022-03-18 厦门吉顺芯微电子有限公司 一种cmos工艺集成肖特基器件的制程整合工艺
CN114242720A (zh) * 2021-12-13 2022-03-25 厦门市三安集成电路有限公司 一种氮化物器件和cmos器件集成结构及其制备方法

Citations (4)

* Cited by examiner, † Cited by third party
Publication number Priority date Publication date Assignee Title
US5926705A (en) * 1995-10-19 1999-07-20 Nec Corporation Method for manufacturing a semiconductor device with stabilization of a bipolar transistor and a schottky barrier diode
JP3312058B2 (ja) 1992-06-15 2002-08-05 ダイムラークライスラー アクチエンゲゼルシャフト ミリ波用モノリシック集積回路及び該集積回路の作製法
US20090057770A1 (en) * 2007-09-04 2009-03-05 Sung-Man Pang Semiconductor device and method of fabricating the same
WO2013008687A1 (en) * 2011-07-13 2013-01-17 Canon Kabushiki Kaisha Diode element and detecting device

Family Cites Families (6)

* Cited by examiner, † Cited by third party
Publication number Priority date Publication date Assignee Title
JP2870470B2 (ja) 1996-03-04 1999-03-17 ソニー株式会社 受光装置の製造方法
ATE401666T1 (de) * 2002-09-19 2008-08-15 Quantum Semiconductor Llc Licht-detektierende vorrichtung
JP4618786B2 (ja) * 2005-01-28 2011-01-26 キヤノン株式会社 固体撮像装置の製造方法
JP2007242894A (ja) * 2006-03-08 2007-09-20 Toshiba Corp 半導体装置およびその製造方法
JP2008306080A (ja) 2007-06-11 2008-12-18 Hitachi Ltd 光センサ素子、およびこれを用いた光センサ装置、画像表示装置
JP5506258B2 (ja) 2008-08-06 2014-05-28 キヤノン株式会社 整流素子

Patent Citations (4)

* Cited by examiner, † Cited by third party
Publication number Priority date Publication date Assignee Title
JP3312058B2 (ja) 1992-06-15 2002-08-05 ダイムラークライスラー アクチエンゲゼルシャフト ミリ波用モノリシック集積回路及び該集積回路の作製法
US5926705A (en) * 1995-10-19 1999-07-20 Nec Corporation Method for manufacturing a semiconductor device with stabilization of a bipolar transistor and a schottky barrier diode
US20090057770A1 (en) * 2007-09-04 2009-03-05 Sung-Man Pang Semiconductor device and method of fabricating the same
WO2013008687A1 (en) * 2011-07-13 2013-01-17 Canon Kabushiki Kaisha Diode element and detecting device

Non-Patent Citations (2)

* Cited by examiner, † Cited by third party
Title
R. HAN ET AL., IEEE JOURNAL OF SOLID-STATE CIRCUITS, vol. 46, no. 11, 2011, pages 2602
RUONAN HAN ET AL: "Terahertz image sensors using CMOS Schottky barrier diodes", SOC DESIGN CONFERENCE (ISOCC), 2012 INTERNATIONAL, IEEE, 4 November 2012 (2012-11-04), pages 254 - 257, XP032301910, ISBN: 978-1-4673-2989-7, DOI: 10.1109/ISOCC.2012.6407088 *

Also Published As

Publication number Publication date
CN105900235A (zh) 2016-08-24
US9786806B2 (en) 2017-10-10
EP3087606A1 (en) 2016-11-02
US20160351744A1 (en) 2016-12-01
JP2015144248A (ja) 2015-08-06

Similar Documents

Publication Publication Date Title
US9786806B2 (en) Semiconductor device and method for manufacturing the same
US10192886B2 (en) Creation of wide band gap material for integration to SOI thereof
JP4812281B2 (ja) 高移動度ヘテロ接合相補型電界効果トランジスタの製造方法
GB2538348B (en) Monolithic integrated photonics with lateral bipolar and bicmos
KR102175615B1 (ko) 얕은 트렌지 가장자리 도핑을 갖는 cmos 이미지 센서
US7351995B2 (en) Floating body germanium phototransistor having a photo absorption threshold bias region
US20220359604A1 (en) Capping structure along image sensor element to mitigate damage to active layer
US9064972B2 (en) Method of forming a gated diode structure for eliminating RIE damage from cap removal
US11004878B2 (en) Photodiodes integrated into a BiCMOS process
US10892374B2 (en) Method for fabrication of germanium photodiode with silicon cap
US11081610B2 (en) Anode up—cathode down silicon and germanium photodiode
CN109585449A (zh) 金属氧化物半导体场效晶体管装置
US11843034B2 (en) Lateral bipolar transistor
US7936041B2 (en) Schottky barrier diodes for millimeter wave SiGe BICMOS applications
US12396275B2 (en) Photo detection device
US20230395619A1 (en) Trenchless single-photon avalanche diodes
KR20070106372A (ko) 반도체 장치의 제조 방법
US20250234659A1 (en) Semiconductor structure including photodetector and manufacturing method thereof
US20240347561A1 (en) Visible to longwave infrared photodetector on silicon
US20250142984A1 (en) Deep trench isolation structures for a single-photon avalanche diode
US20260068337A1 (en) Pixel structure
KR20070021688A (ko) 과잉운반자의 드레인 효율을 높인 이종접합 반도체소자구조 및 이의 제조방법

Legal Events

Date Code Title Description
121 Ep: the epo has been informed by wipo that ep was designated in this application

Ref document number: 14833293

Country of ref document: EP

Kind code of ref document: A1

WWE Wipo information: entry into national phase

Ref document number: 15106996

Country of ref document: US

NENP Non-entry into the national phase

Ref country code: DE

REEP Request for entry into the european phase

Ref document number: 2014833293

Country of ref document: EP

WWE Wipo information: entry into national phase

Ref document number: 2014833293

Country of ref document: EP