WO2015079650A1 - Image forming apparatus and image forming system - Google Patents

Image forming apparatus and image forming system Download PDF

Info

Publication number
WO2015079650A1
WO2015079650A1 PCT/JP2014/005773 JP2014005773W WO2015079650A1 WO 2015079650 A1 WO2015079650 A1 WO 2015079650A1 JP 2014005773 W JP2014005773 W JP 2014005773W WO 2015079650 A1 WO2015079650 A1 WO 2015079650A1
Authority
WO
WIPO (PCT)
Prior art keywords
image
image forming
forming apparatus
threshold
heating apparatus
Prior art date
Legal status (The legal status is an assumption and is not a legal conclusion. Google has not performed a legal analysis and makes no representation as to the accuracy of the status listed.)
Ceased
Application number
PCT/JP2014/005773
Other languages
English (en)
French (fr)
Inventor
Satoru Taniguchi
Wataru Uchida
Hiroyuki Yamazaki
Toshifumi Kitamura
Current Assignee (The listed assignees may be inaccurate. Google has not performed a legal analysis and makes no representation or warranty as to the accuracy of the list.)
Canon Inc
Original Assignee
Canon Inc
Priority date (The priority date is an assumption and is not a legal conclusion. Google has not performed a legal analysis and makes no representation as to the accuracy of the date listed.)
Filing date
Publication date
Application filed by Canon Inc filed Critical Canon Inc
Priority to US15/039,823 priority Critical patent/US9772591B2/en
Publication of WO2015079650A1 publication Critical patent/WO2015079650A1/en
Anticipated expiration legal-status Critical
Ceased legal-status Critical Current

Links

Images

Classifications

    • GPHYSICS
    • G03PHOTOGRAPHY; CINEMATOGRAPHY; ANALOGOUS TECHNIQUES USING WAVES OTHER THAN OPTICAL WAVES; ELECTROGRAPHY; HOLOGRAPHY
    • G03GELECTROGRAPHY; ELECTROPHOTOGRAPHY; MAGNETOGRAPHY
    • G03G15/00Apparatus for electrographic processes using a charge pattern
    • G03G15/50Machine control of apparatus for electrographic processes using a charge pattern, e.g. regulating differents parts of the machine, multimode copiers, microprocessor control
    • G03G15/5016User-machine interface; Display panels; Control console
    • GPHYSICS
    • G03PHOTOGRAPHY; CINEMATOGRAPHY; ANALOGOUS TECHNIQUES USING WAVES OTHER THAN OPTICAL WAVES; ELECTROGRAPHY; HOLOGRAPHY
    • G03GELECTROGRAPHY; ELECTROPHOTOGRAPHY; MAGNETOGRAPHY
    • G03G15/00Apparatus for electrographic processes using a charge pattern
    • G03G15/50Machine control of apparatus for electrographic processes using a charge pattern, e.g. regulating differents parts of the machine, multimode copiers, microprocessor control
    • G03G15/5016User-machine interface; Display panels; Control console
    • G03G15/502User-machine interface; Display panels; Control console relating to the structure of the control menu, e.g. pop-up menus, help screens
    • GPHYSICS
    • G03PHOTOGRAPHY; CINEMATOGRAPHY; ANALOGOUS TECHNIQUES USING WAVES OTHER THAN OPTICAL WAVES; ELECTROGRAPHY; HOLOGRAPHY
    • G03GELECTROGRAPHY; ELECTROPHOTOGRAPHY; MAGNETOGRAPHY
    • G03G15/00Apparatus for electrographic processes using a charge pattern
    • G03G15/55Self-diagnostics; Malfunction or lifetime display
    • G03G15/553Monitoring or warning means for exhaustion or lifetime end of consumables, e.g. indication of insufficient copy sheet quantity for a job

Definitions

  • the present invention relates to an image forming apparatus, such as a copier and a printer.
  • An electrophotographic image forming apparatus consists mainly of a unit provided with a photoconductive drum, a developing apparatus, a transfer apparatus, a heating (i.e., fixing) apparatus, and the like.
  • a usage amount is previously set for each of these unit and apparatuses as replaceable parts.
  • a process cartridge provided with a photoconductive drum, a developing apparatus and the like is replaceable as a consumable supply.
  • a transfer apparatus, a heating apparatus, a feed roller and the like may also be set to be replaceable as replaceable parts.
  • a residual life prediction result i.e., a prediction result of a usage amount
  • a heating apparatus will be described as an exemplary replaceable part.
  • a heating apparatus for heating and fixing an image transferred to a recording material there has been a configuration provided with a heat roller as a heating member maintained at a predetermined temperature and a pressure roller as a pressurizing member pressed against the heat roller.
  • This configuration is called a heat roller system in which a recording material as a to-be-heated material is introduced in a nip portion formed by the heat roller and the pressure roller and conveyed in a nipped manner while being heated.
  • a heater as a heat source and a heat-resistant film (hereafter, referred to as a film) as a flexible endless belt that is conveyed while being disposed opposite to and pressed against the heater and a support (also referred to as a stay) of the heater are used.
  • This configuration is further provided with a pressure roller as a pressurizing member that makes the recording material as a to-be-heated material be in close contact with the heater via the film.
  • This configuration is called film heating system in which a non-fixed image formed and supported on a surface of the recording material is fixed by heat to the surface of the recording material by applying heat of the heater to the recording material via the film.
  • Whether such a heating apparatus has reached the end of its residual life can be determined by determining whether the number of sheets of the recording materials that have passed the heating apparatus, a cumulative value of driving time (i.e., rotation time) of the heating apparatus, and the like have become equal to or greater than previously set thresholds.
  • a method for cumulating a rotation time while weighting in accordance with a temperature of a heating apparatus see PTL 1
  • a method for cumulating the number of passed sheets while weighting in accordance with a passing state of a recording material see PTL 2
  • a residual life of a replaceable part described above can be determined by determining whether a parameter of a usage amount thereof is equal to or greater than a set threshold (e.g., in a case of a heating apparatus, the parameter is the number of passed sheets, a cumulative value of rotation time, and the like).
  • the threshold is set in advance in consideration of a range in which image quality, the conveying ability of a recording material, and the like can be satisfied based on a result of a durability test of the replaceable part.
  • image quality refers to as quality of a graphic image.
  • the graphic image is an image which includes a half tone used when a photograph, a graph and the like are printed.
  • quality of the graphic image is reduced.
  • a surface layer of a film or a surface layer of a pressure roller wears out and deteriorates, and the surface layers are locally damaged and the like. Then, total or partial poor fixing may occur and quality of the graphic image is reduced.
  • the heating apparatus will be described as an exemplary replaceable part, as the heating apparatus deteriorates over time and quality of the graphic image is reduced, it is determined that the heating apparatus has reached its end of the residual life and a threshold is set through experiments on parameter values at that time, such as the number of passed sheets, and the cumulative value of rotation time.
  • Required image quality levels vary depending on users: some users require graphic image quality as described above while other users may accept reduction in quality of a graphic image if quality of a text image, such as characters, is satisfactory. Some other users may even accept reduction in quality of the text image.
  • the heating apparatus even if the heating apparatus deteriorates over time and quality of the graphic image is reduced, the reduction in quality is caused by total or partial poor fixing. Therefore, in a text image with a print rate lower than that of a graphic image and in which poor fixing is less easily caused, quality of the image is maintained in many cases. That is, a residual life of a heating apparatus with satisfactory quality of text image is longer than a residual life of a heating apparatus with satisfactory quality of a graphic image.
  • the heating apparatus When the heating apparatus further deteriorates over time, poor fixing becomes remarkable also in the text image and the quality thereof becomes unsatisfactory. However, the conveying ability of the recording material in the heating apparatus at the time is not reduced and conveyance of the recording material does not become impossible.
  • a heating apparatus of a film heating system it is common to apply a highly heat resistant lubricant on a surface of a heater (i.e., an inner surface of the film) in order to secure slidability of the film.
  • the heating apparatus causes poor conveyance of the recording material for the first time.
  • the time at which conveying ability of the recording material becomes unsatisfactory is typically later than the time at which quality of a text image becomes unsatisfactory. That is, a residual life of a heating apparatus which satisfies conveying ability of a recording material is longer than a residual life of a heating apparatus which satisfies quality of a text image.
  • a residual life of a heating apparatus depends on a quality level required by or accepted by a user
  • the residual life has been uniformly set in accordance with a reference of satisfying quality of, for example, a graphic image. Therefore, for a user who outputs many graphic image, the set residual life is appropriate.
  • the end of the residual life will be notified at an early time.
  • the present invention provides an image forming apparatus capable of notifying a user a residual life of a replaceable part to user at more appropriate time depending on image quality required by the user.
  • An image forming apparatus of the present invention includes: a replaceable part used for image formation; an output unit configured to output information indicating that a usage amount of the replaceable part has reached a threshold; an input unit configured to input information; and a control unit configured to set the threshold in accordance with information about image quality input by the input unit.
  • An image forming system of the present invention includes an image forming apparatus and an input device connected to the image forming apparatus, in which the system includes: a replaceable part used for image formation; an output unit configured to output information indicating that a usage amount of the replaceable part has reached a threshold; and a control unit configured to set the threshold in accordance with information about image quality input by the input device.
  • a user can be notified of a residual life of a replaceable part at appropriate time depending on image quality required by the user.
  • Fig. 1 is a flowchart illustrating a mechanism of notification of a residual life of a first embodiment.
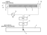
  • Fig. 2A is a schematic configuration diagram illustrating a main part of an image forming apparatus of the present invention.
  • Fig. 2B is a block diagram illustrating a connection relationship between a CPU which controls the image forming apparatus and each unit.
  • Fig. 3 is a schematic configuration diagram illustrating a main part of a heating apparatus of the present invention.
  • Fig. 4 is a front view of a heater and a diagram of an energizing control circuit of the heater of the present invention.
  • Fig. 5 is a cross-sectional view of the heater of the present invention.
  • Fig. 6 is a flowchart illustrating a mechanism of notification of a residual life of a second embodiment.
  • Fig. 7 is a diagram illustrating a schematic structure of an image forming system of the present invention.
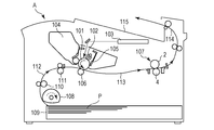
  • FIG. 2A is a schematic configuration diagram of an image forming apparatus A of the present embodiment.
  • the image forming apparatus A of the present embodiment is a laser printer as an electrophotographic printer.
  • the maximum size of paper that can be passed through the apparatus is A4 size (paper width: 210 mm).
  • the reference numeral 101 denotes a photoconductive drum as an image bearing member, which is driven to rotate counterclockwise at a predetermined peripheral speed (referred also to as a process speed) as illustrated by an arrow.
  • a predetermined peripheral speed referred also to as a process speed
  • the process speed is set to 300 mm/sec.
  • the reference numeral 102 denotes a charging roller as a charging unit which is in contact with the photoconductive drum.
  • the charging unit uniformly charges a surface of the photoconductive drum 101 to a predetermined polarity and a predetermined potential (referred also to primary charging).
  • the reference numeral 103 denotes a laser scanner as a latent image forming unit which forms an electrostatic latent image on the surface of the photosensitive member.
  • the laser scanner outputs laser light which has been on-off modulated based on pixel signals corresponding to image information input from an image scanner and an external device a computer and the like which are not illustrated.
  • the output laser light illuminates the photoconductive drum 101 and scan-exposes the charged surface of the photoconductive drum 101. This scanning exposure removes the charge of the exposed portion on the surface of the photoconductive drum 101 and an electrostatic latent image corresponding to the image information is formed on a surface of the photoconductive drum 101.
  • the reference numeral 104 denotes a developing apparatus.
  • a developer i.e., toner
  • toner is supplied to the electrostatic latent image formed on the photoconductive drum 101 from a developing roller as a development member, and is developed as a toner image.
  • a reversal development system in which toner is applied to an exposed portion of the electrostatic latent image and is developed is used.
  • the reference numeral 109 denotes a paper feeding cassette in which recording materials P are stored in a stacked manner.
  • a feed roller 108 is driven in accordance with signals that instruct start of feeding, and the recording material P in the paper feeding cassette 109 is fed one at a time.
  • the fed recording material P is conveyed by a conveying roller 110 and a resist roller 111, conveyed in a conveying path 112, and then introduced in a transfer region at a predetermined timing.
  • the transfer region is a contact nip portion formed by the photoconductive drum 101 and a transfer roller 106 as a transfer member which is rotated in contact with the photoconductive drum 101. That is, conveying timing of the recording material P is controlled by the resist roller 111 such that, when a leading end of a toner image on the photoconductive drum 101 arrives at the transfer region, a leading end of the recording material P arrives at the transfer region.
  • the recording material P conveyed to the transfer roller 106 is conveyed while being nipped by the photoconductive drum 101 and the transfer roller 106 and, in that state, a transfer voltage (also referred to as a transfer bias) controlled to a predetermined voltage from an unillustrated transfer power supply is applied to the transfer roller 106.
  • a transfer voltage also referred to as a transfer bias
  • the transfer roller 106 as the transfer member and the control of the transfer voltage will be described later.
  • a transfer bias of a polarity opposite to the polarity of the charge applied to the toner is applied to the transfer roller 106 and, thereby, the toner image on the photoconductive drum 101 is electrostatically transferred to a surface of the recording material P.
  • the recording material P to which the toner image has been transferred is separated from the photoconductive drum 101, conveyed through a sheet path 113, and conveyed to a heating apparatus 107, where the recording material P is heated and pressurized. After the recording material P is separated (i.e., after the toner image is transferred to the recording material P), toner that has not successfully been transferred or debris exist on the surface of the photoconductive drum 101. These toner and debris are removed by a cleaning device 105.
  • the recording material P which has passed through the heating apparatus 107 is conveyed in a sheet path 114 and discharged through a discharge port onto an output tray 115.
  • the photoconductive drum 101, the charging roller 102, the developing apparatus 104 and the cleaning device 105 constitute a process cartridge as a unitized image forming unit.
  • This process cartridge is detachably attached to the laser printer. For example, when the toner in the developing apparatus 104 is run out, a user can replace the process cartridge.
  • an elastic sponge roller is used as the transfer roller 106 as the transfer member.
  • the elastic sponge roller is fabricated by a core metal and a semi-conductive sponge elastic layer of a carbon, ion conductive filler, and the like formed thereon of which resistance is adjusted to about 1 x 10 6 ohms to 1 x 10 10 ohms.
  • an ion conductive transfer roller is used.
  • the transfer roller consists of a core metal and a roll-shaped conductive layer formed coaxially with and on the outer periphery of the core metal formed by reacting NBR rubber, a surfactant and the like.
  • the resistance value is in the range of 1 x 10 8 ohms to 5 x 10 8 ohms.
  • Fig. 2B is a schematic block diagram illustrating a connecting relationship of a CPU 11 which controls the image forming apparatus A and each part.
  • the CPU 11 instructs the laser scanner 103 to be driven and forms an electrostatic latent image on the photoconductive drum 101.
  • the CPU 11 drives a motor 200 to drive the conveying roller 110, the resist roller 111 and the photoconductive drum 101 to rotate. Therefore, the recording material P is conveyed to the conveying path 112, and then an image is formed.
  • the heating apparatus 107 is also driven. Driving control of the heating apparatus 107 is also performed in accordance with an instruction from the CPU 110. Details of the heating apparatus 107 will be described later.
  • a ROM 11a as a storage element is provided in the CPU 11.
  • a program for executing the control based on a later-described flowchart is stored in the ROM 11a in advance.
  • FIG. 3 is a schematic configuration diagram of the heating apparatus of the film heating system of the present embodiment.
  • This apparatus is a tensionless apparatus which is a well-known configuration.
  • the heating apparatus of the tensionless film heating system includes a heat-resistant film of an endless belt shape or a cylindrical shape. At least a part of a perimeter of the heat-resistant film is always in a tension free state (i.e., a state in which no tension is applied) and the film is driven to rotate by rotational driving force of a pressurizing member.
  • the reference numeral 1 denotes a stay which is a member having heat resistance and rigidity as a heater holding member and a film guide member.
  • the reference numeral 3 denotes a ceramic heater as a heating member which is supported at a lower portion of the stay 1 and disposed along a longitudinal direction of the stay 1.
  • the stay 1 which is an endless (i.e., cylindrical) heat-resistant film and is fit onto the stay 1, from outside, which is a film guide member including the heater 3.
  • An inner peripheral length of the endless heat-resistant film 2 is longer than an outer peripheral length of the stay 1 including the heater 3 by, for example, about 3 mm and, therefore, the film 2 is fit onto the stay 1 from outside with an extra length in the perimeter.
  • a highly heat resistant lubricant i.e., grease
  • the stay 1 may be made of, for example, highly heat resistant resin such as polyimide, polyamidoimide, PEEK, PPS and liquid crystal polymer, and a composite material of the resin listed above and ceramic, metal, glass and the like. Liquid crystal polymer is used in the present embodiment.
  • the film 2 may be made of a heat resistant single layer film, such as PTFE, PFA and FEP, of which thickness is equal to or smaller than 100 micrometers, and preferably is equal to or smaller than 50 micrometers and equal to or greater than 20 micrometers, or a composite layer film consisting of a film, such as polyimide, polyamidoimide, PEEK, PES and PPS, of which outer peripheral surface is coated with PTFE, PFA, FEP and the like. In the present embodiment, an about 50 micrometer-thick polyimide film of which outer peripheral surface is coated with PTFE is used. An outer diameter of the film 2 is set to 30 mm.
  • the reference numeral 4 denotes a pressure roller as a film outer surface contact driving unit which forms a pressure contact nip portion (fixing nip portion) N with the heater 3 which nips the film 2 therebetween and drives the film 2 to rotate.
  • the pressure roller 4 consists of a core metal 4a, an elastic body layer 4b and an outermost mold releasing layer 4c.
  • the pressure roller 4 is disposed such that the film 2 is nipped by using an unillustrated bearing unit and an urging unit at predetermined pressure and is pressed against a surface of the heater 3.
  • an aluminum core metal is used as the core metal 4a
  • silicone rubber is used as the elastic body layer 4b
  • an about 50 micrometer-thick PFA tube is used as the mold releasing layer 4c.
  • An outer diameter of the pressure roller 4 is set to 24 mm and a thickness of the elastic body layer 4b is set to about 3 mm.
  • the pressure roller 4 is rotated clockwise as illustrated by an arrow at a predetermined peripheral speed by a motor M which is a driving unit.
  • a motor M which is a driving unit.
  • rotational force acts on the film 2 by frictional force between the pressure roller 4 and an outer surface of the film 2 in the pressure contact nip portion N.
  • the film 2 is driven to rotate counterclockwise as illustrated by an arrow at substantially the same peripheral speed as a rotary peripheral speed of the pressure roller 4 with an inner surface side of the film 2 being in close contact with the surface of the heater 3 and sliding in the fixing nip portion N.
  • Fig. 4 is a front view of the heater 3 and a circuit diagram for energization control of the heater 3 in the present embodiment.
  • Fig. 5 is a cross-sectional view of the heater 3 in the present embodiment.
  • the heater 3 has an elongated shape with its longitudinal direction extending in a right angle direction with respect to the conveyance direction a of the recording material P as the to-be-heated material.
  • the heater 3 consists of a heat resistant, insulating and highly thermal conductive substrate 7, a heating resistor 6 formed on a front surface (i.e., film sliding surface) side of the substrate 7, a heat-resistant overcoat layer 8 protecting a surface of the heater on which the heating resistor 6 is formed, and power feeding electrodes 9 and 10 disposed at both end portions in a longitudinal direction of the heating resistor 6.
  • the heater 3 is an entirely low heat capacity heater.
  • the heating resistor 6 of the present embodiment is provided by screen-printing, on the substrate 7, a paste obtained by kneading Ag palladium, glass powder (i.e., an inorganic binder) and an organic binder.
  • the reference numeral 7 denotes a heat resistant and insulating heater substrate which is made of, for example, a ceramic material, such as aluminum oxide and aluminum nitride.
  • the reference numeral 8 denotes an overcoat layer of the heating resistor 6 which is provided to secure electrical insulation between the heating resistor 6 and the surface of the heater 3 and to secure the slidability of the film 2.
  • a heat resistant glass layer is used as the overcoat layer 8.
  • a silver screen-printing pattern is used for the power feeding electrodes 9 and 10. Since the power feeding electrodes 9 and 10 are provided in order to feed power to the heating resistor 6, resistance of the power feeding electrodes 9 and 10 is set to be sufficiently low as compared with that of the heating resistor 6.
  • the reference numeral 5 is a thermometric element provided to detect a temperature of the heater 3.
  • an external contact type thermistor separated from the heater 3 is used as the thermometric element.
  • This external contact type thermistor 5 is configured such that, for example, a heat insulating layer is provided on a support and an element of a chip thermistor is fixed thereon and, the element is made to contact with a back surface of the heater with predetermined pressure force with the element facing downward (i.e., the back surface of the heater side).
  • highly heat resistant liquid crystal polymer is used as a support and ceramic paper is laminated as a heat insulating layer.
  • the external contact type thermistor 5 is connected to the CPU 11.
  • the heater 3 described above is disposed to be fixed with the front surface side on which the heating resistor 6 and the overcoat layer 8 are formed facing downward and exposed, and supported at the lower portion of the stay 1.
  • the temperature of the heater 3 is increased when power is supplied from the power feeding electrodes 9 and 10 at the both end portions of the heating resistor 6 in the longitudinal direction and the heating resistor 6 is heated along its entire length.
  • the temperature is detected by the thermistor 5, output of the thermistor 5 is A/D converted and taken in the CPU 11, the power to be supplied to the heating resistor 6 is controlled by a triac 12 in accordance with the taken information and, therefore, temperature control of the heater 3 is performed.
  • the temperature of the heater 3 is kept to be constant by controlling the power so that the temperature of the heater 3 is increased when the temperature detected by the thermistor 5 is lower than a predetermined preset temperature and is lowered when temperature detected by the thermistor 5 is higher than a predetermined preset temperature.
  • This preset temperature is referred to as a fixing temperature.
  • the recording material P is conveyed to the pressure contact nip portion N formed by the heater 3 and the pressure roller 4 with the film 2 disposed therebetween.
  • the recording material P is conveyed in the pressure contact nip portion N in a nipped manner together with the film 2 and the heat of the heater 3 is applied to the recording material P via the film 2. Therefore, a toner image T transferred to the recording material P is fixed to the recording material P by heat.
  • the recording material P which has passed through the pressure contact nip portion N is conveyed to separate from the film 2 and is discharged outside of the apparatus.
  • the process cartridge, the transfer roller 106, the heating apparatus 107 and the feed roller 108 described above are detachably attached to a main body of the laser printer so as to be replaced by a user or a serviceperson and are set as replaceable parts.
  • the heating apparatus 107 as an exemplary replaceable part, a mechanism of determination of an end of a residual life and notification will be described.
  • a cumulative value of rotation time of the heating apparatus is used as a parameter for determining whether the heating apparatus 107 has reached an end of its residual life.
  • rotation time is counted and a cumulative value of the rotation time is stored in an unillustrated memory of the CPU 11. Whether the heating apparatus 107 has reached the end of its residual life is determined by determining whether the cumulative value of the rotation time is equal to or greater than a predetermined value (hereafter, referred to as a threshold) which is set in advance.
  • the cumulative value of the rotation time is used as the parameter in the present embodiment, a cumulative value of the number of passed sheets or a cumulative value of the number of times of rotation of the film 2 and the pressure roller 4 may also be used as the parameter.
  • these plurality of parameters may be cumulated independently and stored. In that case, when any of the parameters becomes equal to or greater than a predetermined value, it may be determined that the end of the residual life has come.
  • the parameter is cumulated, it is also possible to weight depending on conditions, such as the ambient temperature and humidity of the image forming apparatus (for example, in a case in which an environment sensor and the like is provided), a process speed (in the case of an apparatus having a plurality of process speeds), paper size, paper type (a difference in basic weight and surface property) and a fixing temperature.
  • a fixing temperature typically a surface layer of the film and a surface layer of the pressure roller tend to wear and deteriorate easily as the fixing temperature is higher.
  • a durability test is performed to check a state and image quality of the heating apparatus 107.
  • a cumulative value of the rotation time of the heating apparatus 107 with which quality of the graphic image is satisfactory is 200 hours. Therefore, the rotation time is cumulated from the beginning of the usage of the heating apparatus 107 and, when the cumulative value reaches 200 hours, it is determined that the heating apparatus has reached its end of the residual life (in a case in which the threshold to be determined as the end of the residual life has come has been set to 200 hours).
  • the residual life of the heating apparatus 107 regarding the graphic image and, as described above, the residual life regarding a text image or the cumulative value (i.e., residual life) with which conveying ability of the recording material is satisfactory are longer than 200 hours.
  • the residual life of the heating apparatus has been uniformly set to 200 hours irrespective of the quality acceptable by the user, the predetermined value determined as the end of the residual life is variable depending on the image quality that the user can accept in the present invention.
  • a degree of image quality level which the user can accept is defined as a "print level" in the present invention.
  • the print level is defined as follows. Print level 1: no defect exists in graphic images. Print level 2: no defect exists in text images (defects in the graphic images are accepted).
  • Print level 3 some defects exist in text images (defects in text images are accepted).
  • a durability test is performed to examine the rotation time (which is a threshold to be determined as the end of the residual life has come) of the heating apparatus with which each of the print level is satisfied. The result is shown in the following Table 1.
  • the threshold to be determined as the end of the residual life has come in the print level 2 can be set to be higher than the threshold to be determined as the end of the residual life has come in the print level 1.
  • the heating apparatus 107 As the heating apparatus 107 further deteriorates over time and the rotation time exceeds 300 hours, image quality even of a text image becomes unsatisfactory. However, some users want to continue printing even after some defects occurred in the text image. In this case, as described above, the conveying ability of the recording material in the heating apparatus 107 does not necessarily become unsatisfactory at that time, but the recording material can be conveyed normally and printing can be continued. Therefore, the threshold to be determined as the end of the residual life has come in the print level 3 can be set to be higher than the threshold to be determined as the end of the residual life has come in the print level 2.
  • the user inputs information about the print level from an operation panel as an operation unit or a computer connected to the laser printer, and a threshold to be determined as the end of the residual life has come in accordance with Table 1 is set based on the input information.
  • the print level is set in accordance with the fixing state of the image by the heating apparatus 107 in the present embodiment as an example, this is not restrictive.
  • the print level may also be set in accordance with a frequency with which a jam occurs that the user can accept and the like. It is also possible to set the print level by correlating the image quality level not with the heating apparatus 107 but with the photoconductive drum of the process cartridge or the cumulative usage amount of the developing apparatus.
  • Fig. 1 is a flowchart illustrating a mechanism of determination of an end of a residual life and notification of the heating apparatus 107 in the present embodiment.
  • an image sample stored in advance is automatically output to a ROM as a storage unit of the image forming apparatus (step S101).
  • three image samples are output automatically.
  • the first one is an image sample in which no defect exists in both images.
  • the second one is an image sample in which a defect exists in the graphic image (for example, density is locally low) while no defect exists in the text image.
  • the third one is an image sample in which defects exist in both images (for example, there is a partial lack of image in the text image).
  • the user checks this three image samples, determines to which level of the samples is acceptable, and inputs the information in the image forming apparatus.
  • the information to be input is the information about the selected image sample (i.e., the number 1 to 3).
  • the information about the image sample may be input from a computer connected to the laser printer.
  • the print level is determined based on the input information (step S102). The degree to which the user can accept among the three image samples corresponds to the print level to be set. The relationship is shown in Table 2.
  • a message encouraging the user to determine and input of the information is output (i.e., displayed) on an operation panel provided in the image forming apparatus and the user inputs the information on the operation panel.
  • a computer used by the user is connected to the image forming apparatus, it is also possible to let the user check the image samples on a monitor of the computer and input the information.
  • the cumulative value (i.e., the threshold to be determined as the end of the residual life) of the rotation time determined as the residual life in accordance with Table 1 is set (step S103).
  • the print level is determined in accordance with the information input by the user and the threshold corresponding to the input information is set in the present embodiment, it is also possible that, for example, a dealer who provides the user with the image forming apparatus grasps the user's status of use and sets the print level in advance before providing the image forming apparatus to the user.
  • the rotation time of the heating apparatus 107 is cumulated and stored as the user uses the apparatus (step S104). It is also possible to weight as described above at the time of cumulation. Then the cumulative time is compared with the threshold set in accordance with the print level (step S105). If the cumulative time is smaller than the threshold, the process returns to step S104. If the cumulative time is equal to or greater than the threshold, the user is notified that the heating apparatus 107 has reached the end of the residual life and is encouraged to replace the heating apparatus (step S106).
  • the print level is 2
  • the threshold to be determined as the end of the residual life is 300 hours.
  • the current cumulative time is set to X hours
  • the X hours is compared with 300 hours and, if X is smaller than 300, the process returns to step S104 and, if X is equal to or greater than 300, the process proceeds to step S106.
  • Determination of the residual life in step S105 may be performed constantly during the printing operation or may be performed at predetermined timing each time the printing job is completed. Notification of the residual life in step S106 is performed in the same manner.
  • a message notifying the user that the end of the residual life has come may be displayed on the operation panel of the image forming apparatus or may be displayed on the monitor in a case in which a computer is connected. Alternatively the message may be output by printing.
  • the cumulative time of the rotation time of the heating apparatus 107 is reset to 0 and the control after step S104 is performed.
  • the user or a serviceperson may be asked to input, in the image forming apparatus, information that replacement has been made or a mechanism capable of detecting that the heating apparatus 107 is new may be provided.
  • an electrical method such as a storage element (which detects using stored data), a fuse or the like may be used.
  • the print level may be set again by performing steps of outputting the image samples of step S101 and afterwards again at the timing at which the heating apparatus 107 is replaced with a new one.
  • determination of the end of the residual life of the heating apparatus and notification can be performed at appropriate timing in accordance with the image quality acceptable by the user. Therefore, notification of the residual life in accordance with the user's request becomes possible as compared with uniform determination of the residual life and notification of the related art.
  • a user who selected the print level 2 receives notification of the residual life later than the time of uniform setting of the related art (i.e., the same setting as that of the print level 1) and can use the heating apparatus for a longer time.
  • the heating apparatus has been described as the replaceable part in the present embodiment, regarding the residual life of other replaceable parts, such as the process cartridge, the transfer apparatus and the feed roller, or the main body of the image forming apparatus, a mechanism in which the residual life is variable depending on the level that the user can accept as described in the present embodiment may also be applied.
  • the heating apparatus is described as an example of the replaceable part.
  • an example in which a residual life is determined and notified independently for each of a plurality of replaceable parts will be described.
  • a heating apparatus 107 and a transfer roller 106 will be described as examples of the plurality of replaceable parts. Since a configuration of an image forming apparatus A of the present embodiment is the same as that of the first embodiment, description thereof will be omitted.
  • a cumulative value of rotation time of a transfer roller is used as a parameter for determining whether the transfer roller 106 has reached an end of a residual life.
  • the rotation time is counted and the cumulative value is stored in the CPU 11. This cumulative value is stored separately from the cumulative value of the rotation time of the heating apparatus 107. Then, whether the transfer roller 106 has reached an end of its residual life is determined by determining whether the cumulative value of the rotation time has become equal to or greater than a predetermined value (hereafter, referred also to as a threshold).
  • a predetermined value hereafter, referred also to as a threshold
  • a cumulative value of the rotation time is used as the parameter in the present embodiment
  • a cumulative value of the number of passed sheets and a cumulative value of the number of times of rotation of the transfer roller 106 may also be used as parameters. These plurality of parameters may be cumulated independently in parallel and are stored and, when any one of the parameters exceeds a threshold, it may be determined that an end of a residual life has come.
  • the parameter is cumulated, it is also possible to weight depending on conditions, such as the ambient temperature and humidity of the image forming apparatus (for example, in a case in which an environment sensor and the like is provided), a process speed (in the case of an apparatus having a plurality of process speeds), paper size and paper type.
  • the paper type here means recording materials different in basic weight and surface property.
  • the recording materials different in types such as regular paper, cardboard, thin paper, gross paper and rough paper, are exemplified.
  • a concept about cumulation of parameters of the transfer roller 106 in the present embodiment is the same as the concept about the parameter cumulation of the heating apparatus described in the first embodiment. Therefore, similarly to the first embodiment, the print levels are set in the following manner in the present embodiment.
  • a residual life corresponding to each print level is also set to the transfer roller 106.
  • Print level 1 no defect exists in graphic images.
  • Print level 2 no defect exists in text images (defects in the graphic images are accepted).
  • Print level 3 some defects exist in text images (defects in text images are accepted).
  • the transfer roller deteriorates over time, electrical resistance of an elastic layer increases and, when a certain threshold is exceeded, it becomes impossible to provide enough charge for holding toner on the recording material and it becomes impossible to satisfy transferability.
  • the following defects are caused: printing density in a graphic image becomes insufficient; or a text image becomes unclear due to toner scattering in an area other than a printing area. Since a print rate of the graphic image is higher than that of the text image and, therefore, higher transferability is required in the graphic image than in the text image, defects in the graphic image is caused earlier than defects in the text image as illustrated in Table 3.
  • a surface of the transfer roller wears and deteriorates, and a defect begins to occur in conveying ability of the recording material.
  • the user is asked to input information about the print level and a predetermined value determined as the end of the residual life for the heating apparatus is set in accordance with Table 1 described in the first embodiment, and a predetermined value determined as the end of the residual life for the transfer roller is set in accordance with Table 3, independently.
  • Table 1 the first embodiment
  • Table 3 the threshold to be determined as the end of the remaining life of the heating apparatus 107 and the threshold to be determined as the end of the remaining life of the transfer roller 106 are different values. From this, it is understood that the residual life of the replaceable part depends on the configuration (i.e., a material) thereof. That is, this also applies to the replaceable parts other than the heating apparatus and the transfer roller (for example, the process cartridge, the feed roller and the like). Of course, different replaceable parts may sometimes have the same threshold.
  • Fig. 6 is a flowchart illustrating a mechanism of determination of an end of a residual life and notification of the heating apparatus and the transfer roller in the present embodiment.
  • Steps S201 and S202 of Fig. 6 are the same as the configuration of Fig. 1 of the first embodiment.
  • the user is asked to select an acceptable image sample and input information and a print level is determined depending on the information (Table 2 of the first embodiment is used).
  • the rotation time of the heating apparatus i.e., the predetermined value determined as the end of the residual life determined as the residual life is set (step S203).
  • the threshold to be determined as the end of the remaining life of the heating apparatus is set to A hours.
  • the rotation time (which is the predetermined value determined as the end of the residual life) of the transfer roller determined as the residual life is set (step S204).
  • the threshold to be determined as the end of the remaining life of the transfer roller is set to B hours.
  • the print level is determined and a predetermined value A of the heating apparatus and a predetermined value B of the transfer roller are set in accordance with the print level.
  • the print level may also be determined by outputting image samples of each of the replaceable parts and asking the user to select and input acceptable image samples.
  • the print level is determined in accordance with the information input by the user and the threshold corresponding to the input information is set in the present embodiment, it is also possible that, for example, a dealer who provides the user with the image forming apparatus grasps the user's status of use and sets the print level in advance before providing the image forming apparatus to the user. Further, a selective method in which, for example, a dealer sets the print level of the heating apparatus in advance and the print level of the transfer roller is determined in accordance with information selected by a user may also be used.
  • the rotation time of the heating apparatus 107 and the rotation time of the transfer roller 107 are each cumulated and stored as the user uses the apparatus (step S205).
  • the current cumulative time of the heating apparatus 107 is set to X hours
  • the current cumulative time of the transfer roller 106 is set to Y hours
  • cumulation is performed separately. It is also possible to weight as described above at the time of cumulation. When weighting is performed, since the condition under which weighting is performed and the weighting value may sometimes differ between in the heating apparatus 107 and in the transfer roller 106, the X hours and the Y hours are different values from each other.
  • the rotation time of the heating apparatus 107 and the rotation time of the transfer roller 106 are different from each other during the printing operation. Therefore, the X hours and the Y hours are different values from each other.
  • the X hours and the Y hours are always the same value, it is not necessary to use different variables and the same variable may be used and managed.
  • the current cumulative time X of the heating apparatus 107 is compared with a threshold A which is set in accordance with the print level (step S206). If X is smaller than A, the process proceeds to step S208. If X is equal to or greater than A, it is determined that the heating apparatus has reached its end of the residual life, and the user is notified that the heating apparatus has reached its end of the residual life and is encouraged to replace the heating apparatus (step S207). After the notification that the heating apparatus has reached the end of the residual life is made, the process proceeds to step S208.
  • step S208 the residual life of the transfer roller 106 is determined.
  • the current cumulative time Y of the transfer roller is compared with a predetermined value V which is set in accordance with the print level. If Y is smaller than B, the process returns to step S205. If Y is equal to or greater than B, it is determined that the transfer roller 106 has reached its end of the residual life, and the user is notified that the transfer roller has reached its end of the residual life and is encouraged to replace the transfer roller (step S209).
  • the cumulative time (X or Y) of the replaced replaceable part is reset to 0 and the control step S205 and thereafter is performed.
  • determination of the end of the residual life of the heating apparatus and the transfer roller and notification can be performed at appropriate timing for each of the heating apparatus and the transfer roller in accordance with the image quality acceptable by the user. Therefore, some users receive notification of the residual life later than the time of uniform notification of the residual life of the related art and can use the heating apparatus and the transfer roller more efficiently.
  • the residual life management of the two replaceable parts i.e., the heating apparatus and the transfer roller
  • An image forming system may be configured by combining the image forming apparatus described in the first and the second embodiments and the computer connected to the image forming apparatus. For example, the user can select the image sample easily by using the computer connected to the image forming apparatus as an input unit and a display unit.
  • An example of the image forming system is illustrated in Fig. 7.
  • the user can set, from the computer 300, a threshold of each replaceable part using an unillustrated program and unillustrated software (also referred to as a driver) which enable setting of a state and a specification of the image forming apparatus 301.
  • an unillustrated program and unillustrated software also referred to as a driver
  • the levels can be set easily by displaying three image quality levels (302a, 302b and 302c of Fig. 7) on a monitor 300a of the computer and asking the user to select one from among the images.
  • This is not limited to the heating apparatus 107.
  • a screen on which the user can select a replaceable part may be displayed on the monitor of the computer and, when the user selects a replaceable part, images of image quality levels corresponding to the replaceable part may be displayed.
  • the same effect as that of the configuration described in the first and the second embodiments may be obtained by configuring the image forming system by the image forming apparatus and the computer connected to the image forming apparatus.
  • Such an image forming system may be constituted by a computer, a server and a printer which are connected by a public network, such as the Internet. In that case, it is possible to configure the system by a combination of a plurality of computers and a printer, a combination of a plurality of computers and a plurality of printers, and a combination of a computer and a plurality of printers.

Landscapes

  • Engineering & Computer Science (AREA)
  • Physics & Mathematics (AREA)
  • General Physics & Mathematics (AREA)
  • Microelectronics & Electronic Packaging (AREA)
  • Human Computer Interaction (AREA)
  • Control Or Security For Electrophotography (AREA)
  • Fixing For Electrophotography (AREA)
  • Electrostatic Charge, Transfer And Separation In Electrography (AREA)
PCT/JP2014/005773 2013-11-29 2014-11-18 Image forming apparatus and image forming system Ceased WO2015079650A1 (en)

Priority Applications (1)

Application Number Priority Date Filing Date Title
US15/039,823 US9772591B2 (en) 2013-11-29 2014-11-18 Image forming apparatus and image forming system

Applications Claiming Priority (2)

Application Number Priority Date Filing Date Title
JP2013-248443 2013-11-29
JP2013248443A JP6324041B2 (ja) 2013-11-29 2013-11-29 画像形成装置及び画像形成システム

Publications (1)

Publication Number Publication Date
WO2015079650A1 true WO2015079650A1 (en) 2015-06-04

Family

ID=52345480

Family Applications (1)

Application Number Title Priority Date Filing Date
PCT/JP2014/005773 Ceased WO2015079650A1 (en) 2013-11-29 2014-11-18 Image forming apparatus and image forming system

Country Status (3)

Country Link
US (1) US9772591B2 (enExample)
JP (1) JP6324041B2 (enExample)
WO (1) WO2015079650A1 (enExample)

Cited By (1)

* Cited by examiner, † Cited by third party
Publication number Priority date Publication date Assignee Title
CN108227439A (zh) * 2016-12-15 2018-06-29 柯尼卡美能达株式会社 图像形成装置、存储介质及图像形成系统

Families Citing this family (11)

* Cited by examiner, † Cited by third party
Publication number Priority date Publication date Assignee Title
JP6887793B2 (ja) * 2016-12-14 2021-06-16 キヤノン株式会社 画像形成装置
JP2018116223A (ja) * 2017-01-20 2018-07-26 キヤノン株式会社 画像形成装置
JP2018155903A (ja) * 2017-03-17 2018-10-04 コニカミノルタ株式会社 画像形成装置、画像形成装置の制御方法およびプログラム
EP3422109B1 (en) * 2017-06-16 2020-03-04 Konica Minolta, Inc. Image forming apparatus and lifetime judgment system
JP2019105699A (ja) * 2017-12-11 2019-06-27 京セラドキュメントソリューションズ株式会社 定着装置及び画像形成装置
JP2019105702A (ja) * 2017-12-11 2019-06-27 京セラドキュメントソリューションズ株式会社 定着装置及び画像形成装置
JP7056258B2 (ja) * 2018-03-14 2022-04-19 コニカミノルタ株式会社 画像形成装置及びプログラム
JP2020190643A (ja) * 2019-05-22 2020-11-26 キヤノン株式会社 画像形成装置およびその制御方法
JP2021018319A (ja) * 2019-07-19 2021-02-15 京セラドキュメントソリューションズ株式会社 画像形成装置
JP7468225B2 (ja) * 2020-07-29 2024-04-16 ブラザー工業株式会社 画像形成装置
JP7552422B2 (ja) * 2021-02-19 2024-09-18 コニカミノルタ株式会社 情報処理装置、情報処理方法、情報処理プログラム、および画像形成システム

Citations (3)

* Cited by examiner, † Cited by third party
Publication number Priority date Publication date Assignee Title
JP2000131978A (ja) 1998-10-27 2000-05-12 Canon Inc 画像形成装置
EP1316857A2 (en) * 2001-11-30 2003-06-04 Toshiba Tec Kabushiki Kaisha Image forming apparatus
JP2005115221A (ja) 2003-10-10 2005-04-28 Seiko Epson Corp 定着器の寿命判定方法およびその方法を用いた画像形成装置

Family Cites Families (8)

* Cited by examiner, † Cited by third party
Publication number Priority date Publication date Assignee Title
US7257337B2 (en) 2005-06-29 2007-08-14 Xerox Corporation Fuser image stress analysis system
JP2007025048A (ja) 2005-07-13 2007-02-01 Canon Inc 画像形成装置
US20070177439A1 (en) * 2006-01-31 2007-08-02 Yuka Saito Displaying supply information of an image forming apparatus
US20100259774A1 (en) * 2009-04-14 2010-10-14 Kabushiki Kaisha Toshiba Image forming condition setting device and image forming condition setting method
JP2011008120A (ja) 2009-06-26 2011-01-13 Ricoh Co Ltd 画像形成装置および画像形成装置の寿命部品判断処理方法
JP2011043825A (ja) 2009-08-19 2011-03-03 Toshiba Corp 画像形成装置及びその方法、画像形成プログラム
US8412066B2 (en) * 2010-06-30 2013-04-02 Ricoh Production Print Solutions LLC Test image print variations for print quality analysis
JP2012078684A (ja) * 2010-10-05 2012-04-19 Konica Minolta Business Technologies Inc 画像形成装置、画像形成システム及び部品交換方法

Patent Citations (3)

* Cited by examiner, † Cited by third party
Publication number Priority date Publication date Assignee Title
JP2000131978A (ja) 1998-10-27 2000-05-12 Canon Inc 画像形成装置
EP1316857A2 (en) * 2001-11-30 2003-06-04 Toshiba Tec Kabushiki Kaisha Image forming apparatus
JP2005115221A (ja) 2003-10-10 2005-04-28 Seiko Epson Corp 定着器の寿命判定方法およびその方法を用いた画像形成装置

Cited By (1)

* Cited by examiner, † Cited by third party
Publication number Priority date Publication date Assignee Title
CN108227439A (zh) * 2016-12-15 2018-06-29 柯尼卡美能达株式会社 图像形成装置、存储介质及图像形成系统

Also Published As

Publication number Publication date
US20160378034A1 (en) 2016-12-29
JP2015106076A (ja) 2015-06-08
JP6324041B2 (ja) 2018-05-16
US9772591B2 (en) 2017-09-26

Similar Documents

Publication Publication Date Title
US9772591B2 (en) Image forming apparatus and image forming system
JP5317550B2 (ja) 定着装置
JP7254508B2 (ja) 像加熱装置
JP6335580B2 (ja) 画像形成装置
JP5327510B2 (ja) 画像形成装置
JP5403894B2 (ja) 画像形成装置
US9128431B2 (en) Image forming apparatus for failure suppression
US8355659B2 (en) Fixing device and image forming apparatus having same
JP4742131B2 (ja) 定着装置、画像形成装置、定着装置の制御方法、制御プログラムおよびその記録媒体
JP7102255B2 (ja) 画像形成装置
JP2005107237A (ja) 画像形成装置
JP2025026496A (ja) 画像形成装置
JP4421486B2 (ja) 画像形成装置
JP6693471B2 (ja) 画像形成装置
JP2002311749A (ja) 画像形成装置
JP2020106674A (ja) 像加熱装置
JP6415044B2 (ja) 画像形成装置
JP2009186752A (ja) 画像形成装置
US12468247B2 (en) Fixing device configured to determine whether there is an abnormality based on estimated temperature values
JP2015138109A (ja) 画像形成装置
US12092976B2 (en) Fixing device and image forming apparatus with temperature sensor and controller
JP7306164B2 (ja) 定着装置、画像形成装置
JP2019148731A (ja) 画像形成装置
JP2020020848A (ja) 定着装置及び画像形成装置
JP6969340B2 (ja) 定着装置及び画像形成装置

Legal Events

Date Code Title Description
121 Ep: the epo has been informed by wipo that ep was designated in this application

Ref document number: 14825445

Country of ref document: EP

Kind code of ref document: A1

WWE Wipo information: entry into national phase

Ref document number: 15039823

Country of ref document: US

NENP Non-entry into the national phase

Ref country code: DE

122 Ep: pct application non-entry in european phase

Ref document number: 14825445

Country of ref document: EP

Kind code of ref document: A1