WO2015046006A1 - β-Ga2O3系単結晶膜の成長方法、及び結晶積層構造体 - Google Patents

β-Ga2O3系単結晶膜の成長方法、及び結晶積層構造体 Download PDF

Info

Publication number
WO2015046006A1
WO2015046006A1 PCT/JP2014/074659 JP2014074659W WO2015046006A1 WO 2015046006 A1 WO2015046006 A1 WO 2015046006A1 JP 2014074659 W JP2014074659 W JP 2014074659W WO 2015046006 A1 WO2015046006 A1 WO 2015046006A1
Authority
WO
WIPO (PCT)
Prior art keywords
crystal film
gas
single crystal
growing
substrate
Prior art date
Legal status (The legal status is an assumption and is not a legal conclusion. Google has not performed a legal analysis and makes no representation as to the accuracy of the status listed.)
Ceased
Application number
PCT/JP2014/074659
Other languages
English (en)
French (fr)
Japanese (ja)
Inventor
後藤 健
公平 佐々木
纐纈 明伯
熊谷 義直
尚 村上
Current Assignee (The listed assignees may be inaccurate. Google has not performed a legal analysis and makes no representation or warranty as to the accuracy of the list.)
Tamura Corp
Tokyo University of Agriculture and Technology NUC
University of Tokyo NUC
Original Assignee
Tamura Corp
Tokyo University of Agriculture and Technology NUC
University of Tokyo NUC
Priority date (The priority date is an assumption and is not a legal conclusion. Google has not performed a legal analysis and makes no representation as to the accuracy of the date listed.)
Filing date
Publication date
Application filed by Tamura Corp, Tokyo University of Agriculture and Technology NUC, University of Tokyo NUC filed Critical Tamura Corp
Priority to CN201480053760.7A priority Critical patent/CN105992841B/zh
Priority to US15/025,956 priority patent/US20160265137A1/en
Priority to EP14849461.0A priority patent/EP3054037B1/en
Priority to CN202111128251.4A priority patent/CN113832544B/zh
Publication of WO2015046006A1 publication Critical patent/WO2015046006A1/ja
Anticipated expiration legal-status Critical
Priority to US17/471,395 priority patent/US11982016B2/en
Ceased legal-status Critical Current

Links

Images

Classifications

    • CCHEMISTRY; METALLURGY
    • C30CRYSTAL GROWTH
    • C30BSINGLE-CRYSTAL GROWTH; UNIDIRECTIONAL SOLIDIFICATION OF EUTECTIC MATERIAL OR UNIDIRECTIONAL DEMIXING OF EUTECTOID MATERIAL; REFINING BY ZONE-MELTING OF MATERIAL; PRODUCTION OF A HOMOGENEOUS POLYCRYSTALLINE MATERIAL WITH DEFINED STRUCTURE; SINGLE CRYSTALS OR HOMOGENEOUS POLYCRYSTALLINE MATERIAL WITH DEFINED STRUCTURE; AFTER-TREATMENT OF SINGLE CRYSTALS OR A HOMOGENEOUS POLYCRYSTALLINE MATERIAL WITH DEFINED STRUCTURE; APPARATUS THEREFOR
    • C30B25/00Single-crystal growth by chemical reaction of reactive gases, e.g. chemical vapour-deposition growth
    • C30B25/02Epitaxial-layer growth
    • C30B25/16Controlling or regulating
    • C30B25/165Controlling or regulating the flow of the reactive gases
    • CCHEMISTRY; METALLURGY
    • C23COATING METALLIC MATERIAL; COATING MATERIAL WITH METALLIC MATERIAL; CHEMICAL SURFACE TREATMENT; DIFFUSION TREATMENT OF METALLIC MATERIAL; COATING BY VACUUM EVAPORATION, BY SPUTTERING, BY ION IMPLANTATION OR BY CHEMICAL VAPOUR DEPOSITION, IN GENERAL; INHIBITING CORROSION OF METALLIC MATERIAL OR INCRUSTATION IN GENERAL
    • C23CCOATING METALLIC MATERIAL; COATING MATERIAL WITH METALLIC MATERIAL; SURFACE TREATMENT OF METALLIC MATERIAL BY DIFFUSION INTO THE SURFACE, BY CHEMICAL CONVERSION OR SUBSTITUTION; COATING BY VACUUM EVAPORATION, BY SPUTTERING, BY ION IMPLANTATION OR BY CHEMICAL VAPOUR DEPOSITION, IN GENERAL
    • C23C16/00Chemical coating by decomposition of gaseous compounds, without leaving reaction products of surface material in the coating, i.e. chemical vapour deposition [CVD] processes
    • C23C16/22Chemical coating by decomposition of gaseous compounds, without leaving reaction products of surface material in the coating, i.e. chemical vapour deposition [CVD] processes characterised by the deposition of inorganic material, other than metallic material
    • C23C16/30Deposition of compounds, mixtures or solid solutions, e.g. borides, carbides, nitrides
    • C23C16/40Oxides
    • CCHEMISTRY; METALLURGY
    • C23COATING METALLIC MATERIAL; COATING MATERIAL WITH METALLIC MATERIAL; CHEMICAL SURFACE TREATMENT; DIFFUSION TREATMENT OF METALLIC MATERIAL; COATING BY VACUUM EVAPORATION, BY SPUTTERING, BY ION IMPLANTATION OR BY CHEMICAL VAPOUR DEPOSITION, IN GENERAL; INHIBITING CORROSION OF METALLIC MATERIAL OR INCRUSTATION IN GENERAL
    • C23CCOATING METALLIC MATERIAL; COATING MATERIAL WITH METALLIC MATERIAL; SURFACE TREATMENT OF METALLIC MATERIAL BY DIFFUSION INTO THE SURFACE, BY CHEMICAL CONVERSION OR SUBSTITUTION; COATING BY VACUUM EVAPORATION, BY SPUTTERING, BY ION IMPLANTATION OR BY CHEMICAL VAPOUR DEPOSITION, IN GENERAL
    • C23C16/00Chemical coating by decomposition of gaseous compounds, without leaving reaction products of surface material in the coating, i.e. chemical vapour deposition [CVD] processes
    • C23C16/44Chemical coating by decomposition of gaseous compounds, without leaving reaction products of surface material in the coating, i.e. chemical vapour deposition [CVD] processes characterised by the method of coating
    • C23C16/448Chemical coating by decomposition of gaseous compounds, without leaving reaction products of surface material in the coating, i.e. chemical vapour deposition [CVD] processes characterised by the method of coating characterised by the method used for generating reactive gas streams, e.g. by evaporation or sublimation of precursor materials
    • C23C16/4488Chemical coating by decomposition of gaseous compounds, without leaving reaction products of surface material in the coating, i.e. chemical vapour deposition [CVD] processes characterised by the method of coating characterised by the method used for generating reactive gas streams, e.g. by evaporation or sublimation of precursor materials by in situ generation of reactive gas by chemical or electrochemical reaction
    • CCHEMISTRY; METALLURGY
    • C30CRYSTAL GROWTH
    • C30BSINGLE-CRYSTAL GROWTH; UNIDIRECTIONAL SOLIDIFICATION OF EUTECTIC MATERIAL OR UNIDIRECTIONAL DEMIXING OF EUTECTOID MATERIAL; REFINING BY ZONE-MELTING OF MATERIAL; PRODUCTION OF A HOMOGENEOUS POLYCRYSTALLINE MATERIAL WITH DEFINED STRUCTURE; SINGLE CRYSTALS OR HOMOGENEOUS POLYCRYSTALLINE MATERIAL WITH DEFINED STRUCTURE; AFTER-TREATMENT OF SINGLE CRYSTALS OR A HOMOGENEOUS POLYCRYSTALLINE MATERIAL WITH DEFINED STRUCTURE; APPARATUS THEREFOR
    • C30B25/00Single-crystal growth by chemical reaction of reactive gases, e.g. chemical vapour-deposition growth
    • C30B25/02Epitaxial-layer growth
    • CCHEMISTRY; METALLURGY
    • C30CRYSTAL GROWTH
    • C30BSINGLE-CRYSTAL GROWTH; UNIDIRECTIONAL SOLIDIFICATION OF EUTECTIC MATERIAL OR UNIDIRECTIONAL DEMIXING OF EUTECTOID MATERIAL; REFINING BY ZONE-MELTING OF MATERIAL; PRODUCTION OF A HOMOGENEOUS POLYCRYSTALLINE MATERIAL WITH DEFINED STRUCTURE; SINGLE CRYSTALS OR HOMOGENEOUS POLYCRYSTALLINE MATERIAL WITH DEFINED STRUCTURE; AFTER-TREATMENT OF SINGLE CRYSTALS OR A HOMOGENEOUS POLYCRYSTALLINE MATERIAL WITH DEFINED STRUCTURE; APPARATUS THEREFOR
    • C30B29/00Single crystals or homogeneous polycrystalline material with defined structure characterised by the material or by their shape
    • C30B29/10Inorganic compounds or compositions
    • C30B29/16Oxides
    • HELECTRICITY
    • H01ELECTRIC ELEMENTS
    • H01LSEMICONDUCTOR DEVICES NOT COVERED BY CLASS H10
    • H01L21/00Processes or apparatus adapted for the manufacture or treatment of semiconductor or solid state devices or of parts thereof
    • H01L21/02Manufacture or treatment of semiconductor devices or of parts thereof
    • H01L21/02104Forming layers
    • H01L21/02365Forming inorganic semiconducting materials on a substrate
    • H01L21/02367Substrates
    • H01L21/0237Materials
    • H01L21/02414Oxide semiconducting materials not being Group 12/16 materials, e.g. ternary compounds
    • HELECTRICITY
    • H01ELECTRIC ELEMENTS
    • H01LSEMICONDUCTOR DEVICES NOT COVERED BY CLASS H10
    • H01L21/00Processes or apparatus adapted for the manufacture or treatment of semiconductor or solid state devices or of parts thereof
    • H01L21/02Manufacture or treatment of semiconductor devices or of parts thereof
    • H01L21/02104Forming layers
    • H01L21/02365Forming inorganic semiconducting materials on a substrate
    • H01L21/02367Substrates
    • H01L21/02433Crystal orientation
    • HELECTRICITY
    • H01ELECTRIC ELEMENTS
    • H01LSEMICONDUCTOR DEVICES NOT COVERED BY CLASS H10
    • H01L21/00Processes or apparatus adapted for the manufacture or treatment of semiconductor or solid state devices or of parts thereof
    • H01L21/02Manufacture or treatment of semiconductor devices or of parts thereof
    • H01L21/02104Forming layers
    • H01L21/02365Forming inorganic semiconducting materials on a substrate
    • H01L21/02518Deposited layers
    • H01L21/02521Materials
    • H01L21/02565Oxide semiconducting materials not being Group 12/16 materials, e.g. ternary compounds
    • HELECTRICITY
    • H01ELECTRIC ELEMENTS
    • H01LSEMICONDUCTOR DEVICES NOT COVERED BY CLASS H10
    • H01L21/00Processes or apparatus adapted for the manufacture or treatment of semiconductor or solid state devices or of parts thereof
    • H01L21/02Manufacture or treatment of semiconductor devices or of parts thereof
    • H01L21/02104Forming layers
    • H01L21/02365Forming inorganic semiconducting materials on a substrate
    • H01L21/02518Deposited layers
    • H01L21/0257Doping during depositing
    • H01L21/02573Conductivity type
    • H01L21/02576N-type
    • HELECTRICITY
    • H01ELECTRIC ELEMENTS
    • H01LSEMICONDUCTOR DEVICES NOT COVERED BY CLASS H10
    • H01L21/00Processes or apparatus adapted for the manufacture or treatment of semiconductor or solid state devices or of parts thereof
    • H01L21/02Manufacture or treatment of semiconductor devices or of parts thereof
    • H01L21/02104Forming layers
    • H01L21/02365Forming inorganic semiconducting materials on a substrate
    • H01L21/02518Deposited layers
    • H01L21/02587Structure
    • H01L21/0259Microstructure
    • HELECTRICITY
    • H01ELECTRIC ELEMENTS
    • H01LSEMICONDUCTOR DEVICES NOT COVERED BY CLASS H10
    • H01L21/00Processes or apparatus adapted for the manufacture or treatment of semiconductor or solid state devices or of parts thereof
    • H01L21/02Manufacture or treatment of semiconductor devices or of parts thereof
    • H01L21/02104Forming layers
    • H01L21/02365Forming inorganic semiconducting materials on a substrate
    • H01L21/02518Deposited layers
    • H01L21/02587Structure
    • H01L21/0259Microstructure
    • H01L21/02598Microstructure monocrystalline
    • HELECTRICITY
    • H01ELECTRIC ELEMENTS
    • H01LSEMICONDUCTOR DEVICES NOT COVERED BY CLASS H10
    • H01L21/00Processes or apparatus adapted for the manufacture or treatment of semiconductor or solid state devices or of parts thereof
    • H01L21/02Manufacture or treatment of semiconductor devices or of parts thereof
    • H01L21/02104Forming layers
    • H01L21/02365Forming inorganic semiconducting materials on a substrate
    • H01L21/02612Formation types
    • H01L21/02617Deposition types
    • H01L21/0262Reduction or decomposition of gaseous compounds, e.g. CVD
    • HELECTRICITY
    • H01ELECTRIC ELEMENTS
    • H01LSEMICONDUCTOR DEVICES NOT COVERED BY CLASS H10
    • H01L21/00Processes or apparatus adapted for the manufacture or treatment of semiconductor or solid state devices or of parts thereof
    • H01L21/02Manufacture or treatment of semiconductor devices or of parts thereof
    • H01L21/02104Forming layers
    • H01L21/02365Forming inorganic semiconducting materials on a substrate
    • H01L21/02612Formation types
    • H01L21/02617Deposition types
    • H01L21/02634Homoepitaxy
    • HELECTRICITY
    • H10SEMICONDUCTOR DEVICES; ELECTRIC SOLID-STATE DEVICES NOT OTHERWISE PROVIDED FOR
    • H10DINORGANIC ELECTRIC SEMICONDUCTOR DEVICES
    • H10D62/00Semiconductor bodies, or regions thereof, of devices having potential barriers
    • H10D62/40Crystalline structures
    • HELECTRICITY
    • H10SEMICONDUCTOR DEVICES; ELECTRIC SOLID-STATE DEVICES NOT OTHERWISE PROVIDED FOR
    • H10DINORGANIC ELECTRIC SEMICONDUCTOR DEVICES
    • H10D62/00Semiconductor bodies, or regions thereof, of devices having potential barriers
    • H10D62/80Semiconductor bodies, or regions thereof, of devices having potential barriers characterised by the materials
    • H10P14/24
    • H10P14/2918
    • H10P14/2926
    • H10P14/3434
    • H10P14/3442

Definitions

  • the present invention ⁇ -Ga 2 O 3 system method for growing a single crystal film ( ⁇ -Ga 2 O 3 -based single crystal film), and a crystalline layered structure.
  • MBE Molecular Beam Epitaxy
  • PLD Pulsed Laser Deposition
  • JP 2013-56803 A Japanese Patent No. 4565062
  • the MBE method performs crystal growth in a high vacuum chamber, it is difficult to increase the diameter of the ⁇ -Ga 2 O 3 single crystal film. In general, when the growth temperature is raised, a high-quality film can be obtained. However, since the re-evaporation of the source gas increases, a sufficient film formation rate cannot be obtained, which is not suitable for mass production.
  • the source (raw material supply source to the substrate) is a point source, and the growth rate is different between the source and other locations, so the in-plane distribution of film thickness tends to be non-uniform, Not suitable for growth of large area films.
  • the film formation rate is low and it takes a long time to grow a thick film, it is not suitable for mass production.
  • the sol-gel method With regard to the sol-gel method, the MOCVD method, and the mist CVD method, it is relatively easy to increase the diameter, but impurities contained in the used raw material are taken into the ⁇ -Ga 2 O 3 single crystal film during the epitaxial growth. It is difficult to obtain a high-purity single crystal film.
  • one of the objects of the present invention is to provide a ⁇ -Ga 2 O 3 single crystal film growth method capable of efficiently growing a high-quality and large-diameter ⁇ -Ga 2 O 3 single crystal film, And a crystal laminated structure having a ⁇ -Ga 2 O 3 single crystal film grown by the growth method.
  • one embodiment of the present invention provides the following [1] to [8] ⁇ -Ga 2 O 3 single crystal film growth methods.
  • the value of the ratio of the supply partial pressure of the oxygen-containing gas to the supply partial pressure of the gallium chloride gas when the ⁇ -Ga 2 O 3 single crystal film is grown is 0.5 or more.
  • the surface orientation of the main surface of the Ga 2 O 3 substrate is (010), ( ⁇ 201), (001), or (101), according to [1] or [2] A method of growing a ⁇ -Ga 2 O 3 single crystal film.
  • Another aspect of the present invention provides the following crystal laminated structure of [9] to [12].
  • method of growing ⁇ -Ga 2 O 3 single crystal film which can be grown ⁇ -Ga 2 O 3 single crystal film of a high quality and large diameter efficiently, and by their growth method A crystal multilayer structure having a grown ⁇ -Ga 2 O 3 single crystal film can be provided.
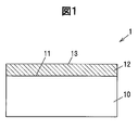
  • FIG. 1 is a vertical sectional view of a crystal multilayer structure according to an embodiment.
  • FIG. 2 is a vertical sectional view of the vapor phase growth apparatus according to the embodiment.
  • FIG. 3 shows the relationship between the growth driving force and the growth temperature of the Ga 2 O 3 crystal in each case where the gallium chloride-based gas is composed only of GaCl 3 gas and only the GaCl 3 gas obtained by thermal equilibrium calculation. It is a graph showing a relationship.
  • FIG. 4 shows the relationship between the equilibrium partial pressure of GaCl gas, GaCl 2 gas, GaCl 3 gas, and (GaCl 3 ) 2 gas obtained from the reaction of Ga and Cl 2 and the ambient temperature obtained by thermal equilibrium calculation. It is a graph.
  • FIG. 3 shows the relationship between the equilibrium partial pressure of GaCl gas, GaCl 2 gas, GaCl 3 gas, and (GaCl 3 ) 2 gas obtained from the reaction of Ga and Cl 2 and the ambient temperature obtained by thermal equilibrium calculation. It is a graph.
  • FIG. 5 is a graph showing the relationship between the equilibrium partial pressure of GaCl and the O 2 / GaCl supply partial pressure ratio when the ambient temperature of Ga 2 O 3 crystal growth is 1000 ° C. obtained by thermal equilibrium calculation.
  • FIG. 6 was obtained by a 2 ⁇ - ⁇ scan of a crystal laminated structure in which a Ga 2 O 3 single crystal film was epitaxially grown on the main surface of a Ga 2 O 3 substrate having a (010) plane orientation of the main surface. It is a graph showing an X-ray diffraction spectrum.
  • FIG. 7 shows a 2 ⁇ - ⁇ scan of a crystal stacked structure in which a Ga 2 O 3 single crystal film is epitaxially grown at 1000 ° C.
  • FIG. 8 is obtained by 2 ⁇ - ⁇ scanning of a crystal laminated structure in which a Ga 2 O 3 single crystal film is epitaxially grown on the main surface of a ⁇ -Ga 2 O 3 substrate having a (001) main surface orientation. It is a graph showing the acquired X-ray-diffraction spectrum.
  • FIG. 9 is obtained by a 2 ⁇ - ⁇ scan of a crystal laminated structure in which a Ga 2 O 3 single crystal film is epitaxially grown on a main surface of a ⁇ -Ga 2 O 3 substrate having a main surface orientation (101).
  • FIG. 10A is a graph showing the impurity concentration in the crystal stacked structure measured by secondary ion mass spectrometry (SIMS).
  • FIG. 10B is a graph showing the impurity concentration in the crystal stacked structure measured by secondary ion mass spectrometry (SIMS).
  • FIG. 11A shows a carrier concentration profile in the depth direction in a crystal laminated structure in which a ⁇ -Ga 2 O 3 crystal film is epitaxially grown on a ⁇ -Ga 2 O 3 substrate having a (001) principal plane orientation. It is a graph showing.
  • FIG. 10A is a graph showing the impurity concentration in the crystal stacked structure measured by secondary ion mass spectrometry (SIMS).
  • FIG. 11A shows a carrier concentration profile in the depth direction in a crystal laminated structure in which a ⁇ -Ga 2 O 3 crystal film is epitaxially grown on a ⁇ -Ga 2 O 3 substrate having a (001) principal plane orientation. It is a graph
  • FIG. 11B is a graph showing a withstand voltage characteristic of a crystal laminated structure in which a ⁇ -Ga 2 O 3 crystal film is epitaxially grown on a ⁇ -Ga 2 O 3 substrate having a (001) principal plane orientation.
  • FIG. 12 shows a profile of carrier concentration in the depth direction in a crystal laminated structure in which a ⁇ -Ga 2 O 3 crystal film is epitaxially grown on a ⁇ -Ga 2 O 3 substrate having a (010) principal plane orientation. It is a graph showing.
  • FIG. 1 is a vertical sectional view of a crystal multilayer structure 1 according to an embodiment.
  • the crystal laminated structure 1 includes a Ga 2 O 3 substrate 10 and a ⁇ -Ga 2 O 3 single crystal film 12 formed on the main surface 11 of the Ga 2 O 3 substrate 10 by epitaxial crystal growth.
  • the Ga 2 O 3 substrate 10 is a substrate made of a Ga 2 O 3 single crystal having a ⁇ -type crystal structure.
  • the Ga 2 O 3 single crystal refers to a Ga 2 O 3 single crystal or a Ga 2 O 3 single crystal to which an element such as Al or In is added.
  • Al and In are the added Ga 2 O 3 single crystal (Ga x Al y In (1 -xy)) 2 O 3 (0 ⁇ x ⁇ 1,0 ⁇ y ⁇ 1,0 ⁇ x + y ⁇ 1 ) Single crystal may be used.
  • the Ga 2 O 3 based substrate 10 may contain a conductive impurity such as Si.
  • the plane orientation of the main surface 11 of the Ga 2 O 3 based substrate 10 is, for example, (010), ( ⁇ 201), (001), or (101).
  • the Ga 2 O 3 substrate 10 is obtained by slicing, for example, a bulk crystal of a Ga 2 O 3 single crystal grown by a melt growth method such as an FZ (Floating Zone) method or an EFG (Edge Defined Film Fed Growth) method, It is formed by polishing the surface.
  • a melt growth method such as an FZ (Floating Zone) method or an EFG (Edge Defined Film Fed Growth) method
  • the ⁇ -Ga 2 O 3 single crystal film 12 is made of a Ga 2 O 3 single crystal having a ⁇ -type crystal structure. Further, the ⁇ -Ga 2 O 3 based single crystal film 12 may contain a conductivity type impurity such as Si.
  • FIG. 2 is a vertical sectional view of the vapor phase growth apparatus 2 according to the embodiment.
  • the vapor phase growth apparatus 2 is a vapor phase growth apparatus for HVPE (Halide Vapor Phase Epitaxy) method, and includes a first gas introduction port 21, a second gas introduction port 22, a third gas introduction port 23, and an exhaust.
  • a reaction chamber 20 having a port 24, and a first heating unit 26 and a second heating unit 27 which are installed around the reaction chamber 20 and heat a predetermined region in the reaction chamber 20.
  • HVPE Hydrode Vapor Phase Epitaxy
  • the HVPE method has a higher film formation rate than the PLD method or the like.
  • the uniformity of the in-plane distribution of film thickness is high, and a large-diameter film can be grown. For this reason, it is suitable for mass production of crystals.
  • the reaction chamber 20 is provided with a reaction vessel 25 in which a Ga raw material is accommodated, a raw material reaction region R1 in which a gallium raw material gas is generated, a Ga 2 O 3 -based substrate 10 and a ⁇ -Ga 2 O 3 -based material.
  • a crystal growth region R2 in which the single crystal film 12 is grown is provided.
  • the reaction chamber 20 is made of, for example, quartz glass.
  • reaction vessel 25 is, for example, quartz glass, and the Ga raw material accommodated in the reaction vessel 25 is metallic gallium.
  • the first heating unit 26 and the second heating unit 27 can heat the raw material reaction region R1 and the crystal growth region R2 of the reaction chamber 20, respectively.
  • the first heating unit 26 and the second heating unit 27 are, for example, resistance heating type or radiation heating type heating devices.
  • the first gas introduction port 21 uses a carrier gas (N 2 gas, Ar gas, or He gas), which is an inert gas, as a Cl-containing gas, which is Cl 2 gas or HCl gas, as a raw material reaction region R 1 of the reaction chamber 20. It is a port to introduce in.
  • the second gas introduction port 22 is used for adding a dopant such as Si to the oxygen-containing gas such as O 2 gas or H 2 O gas which is an oxygen source gas and the ⁇ -Ga 2 O 3 based single crystal film 12.
  • This is a port for introducing a chloride-based gas (for example, silicon tetrachloride) into the crystal growth region R2 of the reaction chamber 20 using a carrier gas (N 2 gas, Ar gas, or He gas) that is an inert gas.
  • a carrier gas N 2 gas, Ar gas, or He gas
  • the third gas introduction port 23 is a port for introducing a carrier gas (N 2 gas, Ar gas, or He gas), which is an inert gas, into the crystal growth region R 2 of the reaction chamber 20.
  • the raw material reaction region R1 of the reaction chamber 20 is heated using the first heating means 26, and the atmospheric temperature of the raw material reaction region R1 is maintained at a predetermined temperature.
  • a Cl-containing gas is introduced from the first gas introduction port 21 using a carrier gas, and in the raw material reaction region R1, the metal gallium in the reaction vessel 25 and the Cl-containing gas are reacted at the above atmospheric temperature, Generates gallium chloride gas.
  • the atmospheric temperature in the raw material reaction region R1 is such that the partial pressure of the GaCl gas is the highest among the gallium chloride-based gases generated by the reaction between the metal gallium in the reaction vessel 25 and the Cl-containing gas. Temperature is preferred.
  • the gallium chloride-based gas includes GaCl gas, GaCl 2 gas, GaCl 3 gas, (GaCl 3 ) 2 gas, and the like.
  • GaCl gas is a gas that can keep the growth driving force of the Ga 2 O 3 crystal up to the highest temperature among the gases contained in the gallium chloride-based gas. In order to obtain high-purity and high-quality Ga 2 O 3 crystals, growth at a high growth temperature is effective. Therefore, a gallium chloride-based gas with a high partial pressure of GaCl gas having a high growth driving force is generated at a high temperature. Is preferable for the growth of the ⁇ -Ga 2 O 3 single crystal film 12.
  • FIG. 3 shows the relationship between the growth driving force and the growth temperature of the Ga 2 O 3 crystal in each case where the gallium chloride-based gas is composed only of GaCl 3 gas and only the GaCl 3 gas obtained by thermal equilibrium calculation. It is a graph showing a relationship.
  • an inert gas such as N 2 is used as a carrier gas
  • the furnace pressure is 1 atm
  • the supply partial pressure of GaCl gas and GaCl 3 gas is 1 ⁇ 10 ⁇ 3 atm
  • the O 2 / GaCl partial pressure ratio is 10 It was.
  • the horizontal axis in FIG. 3 represents the growth temperature (° C.) of the Ga 2 O 3 crystal, and the vertical axis represents the crystal growth driving force (atm). The larger the value of the crystal growth driving force, the more efficiently the Ga 2 O 3 crystal grows.
  • FIG. 3 shows that the upper limit of the temperature at which the growth driving force is maintained is higher when GaCl gas is used as the Ga source gas than when GaCl 3 gas is used.
  • ⁇ -Ga 2 when O 3 system contains a hydrogen atmosphere for growing the single crystal film 12 ⁇ -Ga 2 O 3 system flatness and crystal growth driving force of the surface of the single crystal film 12 Since it decreases, it is preferable to use a Cl 2 gas containing no hydrogen as the Cl-containing gas.
  • FIG. 4 shows the relationship between the equilibrium partial pressure of GaCl gas, GaCl 2 gas, GaCl 3 gas, and (GaCl 3 ) 2 gas obtained from the reaction of Ga and Cl 2 and the ambient temperature during the reaction, obtained by thermal equilibrium calculation. It is a graph showing a relationship. Other calculation conditions were such that an inert gas such as N 2 was used as the carrier gas, the furnace pressure was 1 atm, and the supply partial pressure of Cl 2 gas was 3 ⁇ 10 ⁇ 3 atm.
  • the horizontal axis represents the ambient temperature (° C.), and the vertical axis represents the equilibrium partial pressure (atm). The higher the equilibrium partial pressure, the more gas is generated.
  • FIG. 4 shows that the equilibrium partial pressure of GaCl gas, which can particularly increase the growth driving force of Ga 2 O 3 crystal, is increased by reacting metal gallium with a Cl-containing gas at an atmospheric temperature of about 300 ° C. or higher. That is, the partial pressure ratio of GaCl gas in the gallium chloride-based gas is increased. From this, it can be said that it is preferable to react the metal gallium in the reaction vessel 25 and the Cl-containing gas in a state where the atmosphere temperature of the raw material reaction region R1 is maintained at 300 ° C. or higher by the first heating means 26.
  • the partial pressure ratio of GaCl gas is overwhelmingly high (the equilibrium partial pressure of GaCl gas is 4 orders of magnitude higher than GaCl 2 gas and 8 orders of magnitude higher than GaCl 3 gas). Gases other than gases hardly contribute to the growth of Ga 2 O 3 crystals.
  • the metal in the reaction vessel 25 is maintained in a state where the atmosphere temperature of the raw material reaction region R1 is kept at 1000 ° C. or lower. It is preferable to react gallium with a Cl-containing gas.
  • the gallium chloride-based gas generated in the raw material reaction region R1 and the oxygen-containing gas introduced from the second gas introduction port 22 are mixed, and Ga 2 O 3 is added to the mixed gas.
  • the system substrate 10 is exposed, and a ⁇ -Ga 2 O 3 system single crystal film 12 is epitaxially grown on the Ga 2 O 3 system substrate 10.
  • the pressure in the crystal growth region R2 in the furnace containing the reaction chamber 20 is maintained at, for example, 1 atm.
  • a source gas of the additive element for example, silicon tetrachloride (SiCl 4 (SiCl 4)
  • SiCl 4 silicon tetrachloride
  • the like are also introduced into the crystal growth region R2 together with the gallium chloride gas and the oxygen-containing gas.
  • ⁇ -Ga 2 when O 3 system contains a hydrogen atmosphere for growing the single crystal film 12 ⁇ -Ga 2 O 3 system flatness and crystal growth driving force of the surface of the single crystal film 12
  • O 2 gas not containing hydrogen it is preferable to use.
  • FIG. 5 is a graph showing the relationship between the equilibrium partial pressure of GaCl and the O 2 / GaCl supply partial pressure ratio when the ambient temperature of Ga 2 O 3 crystal growth is 1000 ° C. obtained by thermal equilibrium calculation.
  • the ratio of the O 2 gas supply partial pressure to the GaCl gas supply partial pressure is referred to as an O 2 / GaCl supply partial pressure ratio.
  • the supply partial pressure value of the GaCl gas is fixed to 1 ⁇ 10 ⁇ 3 atm, the inert gas such as N 2 is used as the carrier gas, the furnace pressure is set to 1 atm, and the O 2 gas supply is performed. The value of partial pressure was changed.
  • the horizontal axis of FIG. 5 represents the O 2 / GaCl supply partial pressure ratio, and the vertical axis represents the equilibrium partial pressure (atm) of GaCl gas.
  • FIG. 5 shows that the equilibrium partial pressure of GaCl gas rapidly decreases when the O 2 / GaCl supply partial pressure ratio becomes 0.5 or more.
  • the ratio of the O 2 gas supply partial pressure to the GaCl gas supply partial pressure in the crystal growth region R2 is 0.5 or more. In this state, it is preferable to grow the ⁇ -Ga 2 O 3 single crystal film 12.
  • FIG. 6 is obtained by a 2 ⁇ - ⁇ scan of a crystal laminated structure in which a Ga 2 O 3 single crystal film is epitaxially grown on the main surface of a ⁇ -Ga 2 O 3 substrate having a main surface orientation of (010). It is a graph showing the acquired X-ray-diffraction spectrum.
  • the growth conditions were such that the furnace pressure was 1 atm, the carrier gas was N 2 gas, the GaCl supply partial pressure was 5 ⁇ 10 ⁇ 4 atm, and the O 2 / GaCl supply partial pressure ratio was 5.
  • ⁇ -Ga 2 O 3 spectrum of the substrate shows a spectrum of a crystal stacked structure obtained by epitaxially growing an O 3 crystal film.
  • the thickness of the ⁇ -Ga 2 O 3 crystal film of these crystal laminated structures is about 300 to 1000 nm.
  • the ( ⁇ 313) plane due to the presence of non-oriented grains as seen in the spectrum of the crystal stack structure in which the ⁇ -Ga 2 O 3 crystal film is grown at growth temperatures of 800 and 850 ° C.
  • the ( ⁇ 204) plane and the ( ⁇ 712) plane or (512) plane diffraction peaks disappear in the spectrum of the crystal stack structure in which the ⁇ -Ga 2 O 3 crystal film is grown at a growth temperature of 900 ° C. or higher. .
  • the ⁇ -Ga 2 O 3 crystal film is grown at a growth temperature of 900 ° C. or higher even when the plane orientation of the main surface of the ⁇ -Ga 2 O 3 substrate is ( ⁇ 201), (001), or (101). Is grown to obtain a ⁇ -Ga 2 O 3 single crystal film. Further, even in the case of using the other Ga 2 O 3 system board in place of Ga 2 O 3 substrate, in the case of forming the other Ga 2 O 3 based crystal film in place of Ga 2 O 3 crystal film Even if it exists, the evaluation result similar to said evaluation result is obtained.
  • the plane orientation of the main surface of the Ga 2 O 3 substrate 10 is (010), ( ⁇ 201), (001), or (101), ⁇ -Ga 2 O 3 at a growth temperature of 900 ° C. or higher.
  • the single crystal film 12 is obtained.
  • FIG. 7 shows a 2 ⁇ - ⁇ of a crystal laminated structure in which a ⁇ -Ga 2 O 3 single crystal film is epitaxially grown on the main surface of a ⁇ -Ga 2 O 3 substrate having a main surface orientation of ( ⁇ 201). It is a graph showing the X-ray-diffraction spectrum obtained by the scan.
  • the growth conditions for this ⁇ -Ga 2 O 3 single crystal film are as follows: the furnace pressure is 1 atm, the carrier gas is N 2 gas, the GaCl supply partial pressure is 5 ⁇ 10 ⁇ 4 atm, and the O 2 / GaCl supply partial pressure ratio is 5.
  • the growth temperature was 1000 ° C.
  • FIG. 7 shows a spectrum of a ⁇ -Ga 2 O 3 substrate (without a ⁇ -Ga 2 O 3 crystal film) whose plane orientation of the main surface is ( ⁇ 201), and 1000 ° C. on the ⁇ -Ga 2 O 3 substrate.
  • 2 shows a spectrum of a crystal laminated structure obtained by epitaxially growing a ⁇ -Ga 2 O 3 crystal film. The thickness of the ⁇ -Ga 2 O 3 crystal film of this crystal laminated structure is about 300 nm.
  • FIG. 8 is obtained by 2 ⁇ - ⁇ scanning of a crystal laminated structure in which a Ga 2 O 3 single crystal film is epitaxially grown on the main surface of a ⁇ -Ga 2 O 3 substrate having a (001) main surface orientation. It is a graph showing the acquired X-ray-diffraction spectrum.
  • the growth conditions for this ⁇ -Ga 2 O 3 single crystal film are as follows: the furnace pressure is 1 atm, the carrier gas is N 2 gas, the GaCl supply partial pressure is 5 ⁇ 10 ⁇ 4 atm, and the O 2 / GaCl supply partial pressure ratio is 5.
  • the growth temperature was 1000 ° C.
  • FIG. 8 shows a spectrum of a ⁇ -Ga 2 O 3 substrate (without ⁇ -Ga 2 O 3 crystal film) whose plane orientation of the main surface is (001), and 1000 ° C. on the ⁇ -Ga 2 O 3 substrate.
  • 2 shows a spectrum of a crystal laminated structure obtained by epitaxially growing a ⁇ -Ga 2 O 3 crystal film. The thickness of the ⁇ -Ga 2 O 3 crystal film of this crystal laminated structure is approximately 6 ⁇ m.
  • FIG. 9 is obtained by a 2 ⁇ - ⁇ scan of a crystal laminated structure in which a Ga 2 O 3 single crystal film is epitaxially grown on a main surface of a ⁇ -Ga 2 O 3 substrate having a main surface orientation (101). It is a graph showing the acquired X-ray-diffraction spectrum.
  • the growth conditions for this ⁇ -Ga 2 O 3 single crystal film are as follows: the furnace pressure is 1 atm, the carrier gas is N 2 gas, the GaCl supply partial pressure is 5 ⁇ 10 ⁇ 4 atm, and the O 2 / GaCl supply partial pressure ratio is 5.
  • the growth temperature was 1000 ° C.
  • FIG. 9 shows the spectrum of a ⁇ -Ga 2 O 3 substrate (without ⁇ -Ga 2 O 3 crystal film) whose plane orientation is (101), and 1000 ° C. on the ⁇ -Ga 2 O 3 substrate.
  • 2 shows a spectrum of a crystal laminated structure obtained by epitaxially growing a ⁇ -Ga 2 O 3 crystal film. The thickness of the ⁇ -Ga 2 O 3 crystal film of this crystal laminated structure is about 4 ⁇ m.
  • the horizontal axis represents the angle 2 ⁇ (degree) formed by the X-ray incident azimuth and the reflection azimuth
  • the vertical axis represents the X-ray diffraction intensity (arbitrary unit).
  • the diffraction peak of the spectrum of the crystal laminated structure obtained by growing the ⁇ -Ga 2 O 3 crystal film at the growth temperature of 1000 ° C. is the diffraction of the spectrum of the ⁇ -Ga 2 O 3 substrate. It is consistent with the peak.
  • a ⁇ -Ga 2 O 3 crystal is grown at a growth temperature of 1000 ° C. on the main surface of a ⁇ -Ga 2 O 3 substrate whose plane orientation is ( ⁇ 201), (001), or (101). It shows that a ⁇ -Ga 2 O 3 single crystal film can be obtained by growing the film.
  • FIG. 10A and FIG. 10B are graphs showing the impurity concentration in the crystal multilayer structure measured by secondary ion mass spectrometry (SIMS).
  • the horizontal axis represents the depth ( ⁇ m) from the main surface 13 of the ⁇ -Ga 2 O 3 single crystal film of the crystal laminated structure
  • the vertical axis represents the concentration of each impurity (atoms / cm 3 ).
  • the depth of the interface between the ⁇ -Ga 2 O 3 substrate and the ⁇ -Ga 2 O 3 single crystal film of the crystal laminated structure is about 0.3 ⁇ m.
  • the horizontal arrow on the right side of FIGS. 10A and 10B represents the lower limit value in which the concentration of each impurity element can be measured.
  • the ⁇ -Ga 2 O 3 single crystal film of the crystal laminated structure used in this measurement has a growth temperature of 1000 ° C. on the main surface of the ⁇ -Ga 2 O 3 substrate whose main surface has a plane orientation of (010). It is a grown film.
  • FIG. 10A shows the concentration of C, Sn, and Si in the crystal stacked structure
  • FIG. 10B shows the concentration of H and Cl in the crystal stacked structure.
  • both impurity elements are close to the measurable lower limit of the concentration in the ⁇ -Ga 2 O 3 single crystal film, and are almost the same as the concentration in the Ga 2 O 3 substrate. This indicates that the ⁇ -Ga 2 O 3 single crystal film is a highly pure film.
  • the ⁇ -Ga 2 O 3 single crystal film contains approximately 5 ⁇ 10 16 (atoms / cm 3 ) or less of Cl. This is because the Ga 2 O 3 single crystal film is formed by the HVPE method using a Cl-containing gas. Normally, when a Ga 2 O 3 single crystal film is formed by a method other than the HVPE method, since a Cl-containing gas is not used, Cl is not contained in the Ga 2 O 3 single crystal film. ⁇ 10 16 (atoms / cm 3 ) or more of Cl is not contained.
  • FIG. 11A shows a carrier concentration profile in the depth direction in a crystal laminated structure in which a ⁇ -Ga 2 O 3 crystal film is epitaxially grown on a ⁇ -Ga 2 O 3 substrate having a (001) principal plane orientation. It is a graph showing.
  • the horizontal axis of FIG. 11A represents the depth ( ⁇ m) from the surface of the ⁇ -Ga 2 O 3 crystal film, and the vertical axis represents the carrier concentration, that is, the difference between the donor concentration N d , which is the net donor concentration, and the acceptor concentration N a . (Cm -3 ). Also, drawn curve in terms of in the figure, when the built-in potential when the relative dielectric constant of the ⁇ -Ga 2 O 3 10, contacting the Pt to ⁇ -Ga 2 O 3 and 1.5V It is a theoretical curve showing the relationship between donor concentration and depletion layer thickness.
  • an undoped ⁇ -Ga 2 O 3 crystal film having a thickness of about 15 ⁇ m is formed on an n-type ⁇ -Ga 2 O 3 substrate doped with Sn and having a plane orientation of (001) by HVPE. Then, it was epitaxially grown.
  • undoped means that the intended doping is not performed, and does not deny the entry of unintended impurities.
  • the ⁇ -Ga 2 O 3 substrate was a 10 mm square substrate having a thickness of 600 ⁇ m, and the carrier concentration was approximately 6 ⁇ 10 18 cm ⁇ 3 .
  • the growth conditions of the ⁇ -Ga 2 O 3 single crystal film are as follows: furnace pressure is 1 atm, carrier gas is N 2 gas, GaCl supply partial pressure is 5 ⁇ 10 ⁇ 4 atm, O 2 / GaCl supply partial pressure ratio is 5, The growth temperature was 1000 ° C.
  • the surface of the undoped ⁇ -Ga 2 O 3 crystal film was polished by 3 ⁇ m by CMP.
  • a Schottky electrode is formed on the ⁇ -Ga 2 O 3 crystal film and an ohmic electrode is formed on the ⁇ -Ga 2 O 3 substrate, and the CV measurement is performed by changing the bias voltage in the range of +0 to ⁇ 10V. went. Then, a profile of the carrier concentration in the depth direction was calculated from the result of CV measurement.
  • the Schottky electrode is a circular electrode having a diameter of 800 ⁇ m having a laminated structure in which a Pt film having a thickness of 15 nm, a Ti film having a thickness of 5 nm, and an Au film having a thickness of 250 nm are laminated in this order.
  • the ohmic electrode is a square electrode with a side of 10 mm having a laminated structure in which a Ti film having a thickness of 50 nm and an Au film having a thickness of 300 nm are laminated in this order.
  • FIG. 11A no measurement point exists in a region having a depth shallower than 12 ⁇ m, which is equal to the thickness of the ⁇ -Ga 2 O 3 crystal film, and the horizontal coordinate of all measurement points is 12 ⁇ m. This indicates that the entire region of the ⁇ -Ga 2 O 3 crystal film is depleted when the bias voltage is in the range of +0 to ⁇ 10V.
  • the entire region of the ⁇ -Ga 2 O 3 crystal film is depleted.
  • the donor concentration when the depletion layer thickness is 12 ⁇ m is approximately 1 ⁇ 10 13 cm ⁇ 3
  • the residual carrier concentration of the ⁇ -Ga 2 O 3 crystal film is 1 ⁇ 10 13 cm ⁇ 3. It is estimated that this is a very low value as follows.
  • the carrier concentration of the ⁇ -Ga 2 O 3 crystal film is 1 ⁇ 10 13 cm ⁇ 3 or less, for example, by doping a group IV element, the carrier concentration of the ⁇ -Ga 2 O 3 crystal film is reduced to 1 ⁇ It can be controlled in the range of 10 13 to 1 ⁇ 10 20 cm ⁇ 3 .
  • FIG. 11B is a graph showing a withstand voltage characteristic of the above-described crystal laminated structure.
  • the horizontal axis in FIG. 11B represents the applied voltage (V), and the vertical axis represents the current density (A / cm 2 ). Moreover, the straight line drawn by the point in a figure represents a measurement lower limit.
  • a Schottky electrode was formed on the ⁇ -Ga 2 O 3 crystal film and an ohmic electrode was formed on the ⁇ -Ga 2 O 3 substrate, and a voltage of 1000 V was applied to measure the current density.
  • the Schottky electrode is a circular electrode having a diameter of 200 ⁇ m and having a laminated structure in which a Pt film having a thickness of 15 nm, a Ti film having a thickness of 5 nm, and an Au film having a thickness of 250 nm are laminated in this order.
  • the ohmic electrode is a square electrode with a side of 10 mm having a laminated structure in which a Ti film having a thickness of 50 nm and an Au film having a thickness of 300 nm are laminated in this order.
  • FIG. 11B shows that even when a voltage of 1000 V is applied, the leakage current in the crystal stacked structure is as small as about 1 ⁇ 10 ⁇ 5 A / cm 2 and no dielectric breakdown occurs. This result is considered to be because the ⁇ -Ga 2 O 3 crystal film is a high-quality crystal film with few crystal defects and the donor concentration is low.
  • FIG. 12 shows a profile of carrier concentration in the depth direction in a crystal laminated structure in which a ⁇ -Ga 2 O 3 crystal film is epitaxially grown on a ⁇ -Ga 2 O 3 substrate having a (010) principal plane orientation. It is a graph showing.
  • the horizontal axis in FIG. 12 represents the depth ( ⁇ m) from the surface of the ⁇ -Ga 2 O 3 crystal film, and the vertical axis represents the difference between the carrier concentration, ie, the donor concentration N d , which is the net donor concentration, and the acceptor concentration N a . (Cm -3 ). Also, drawn curve in terms of in the figure, when the built-in potential when the relative dielectric constant of the ⁇ -Ga 2 O 3 10, contacting the Pt to ⁇ -Ga 2 O 3 and 1.5V It is a theoretical curve showing the relationship between donor concentration and depletion layer thickness.
  • an undoped ⁇ -Ga 2 O 3 crystal film is formed on an n-type ⁇ -Ga 2 O 3 substrate doped with Sn and having an orientation of (010) by an HVPE method at about 0.9 ⁇ m. Epitaxially grown to a thickness of.
  • the ⁇ -Ga 2 O 3 substrate was a square substrate having a thickness of 600 ⁇ m and a side of 10 mm, and the carrier concentration was approximately 6 ⁇ 10 18 cm ⁇ 3 .
  • the growth conditions of the ⁇ -Ga 2 O 3 single crystal film are as follows: furnace pressure is 1 atm, carrier gas is N 2 gas, GaCl supply partial pressure is 5 ⁇ 10 ⁇ 4 atm, O 2 / GaCl supply partial pressure ratio is 5, The growth temperature was 1000 ° C.
  • a Schottky electrode is formed on the undoped ⁇ -Ga 2 O 3 crystal film and an ohmic electrode is formed on the ⁇ -Ga 2 O 3 substrate, and the bias voltage is changed in the range of +0 to ⁇ 10V to change the CV Measurements were made. Then, a profile of the carrier concentration in the depth direction was calculated from the result of CV measurement.
  • the Schottky electrode is a circular electrode having a diameter of 400 ⁇ m having a laminated structure in which a Pt film having a thickness of 15 nm, a Ti film having a thickness of 5 nm, and an Au film having a thickness of 250 nm are laminated in this order.
  • the ohmic electrode is a square electrode with a side of 10 mm having a laminated structure in which a Ti film having a thickness of 50 nm and an Au film having a thickness of 300 nm are laminated in this order.
  • the horizontal coordinate of the measurement point when the bias voltage is 0 is 0.85 ⁇ m (the measurement point in the region deeper than 0.85 ⁇ m is the measurement point when the bias voltage is close to ⁇ 10 V).
  • the donor concentration when the depletion layer thickness is 0.85 ⁇ m is approximately 2.3 ⁇ 10 15 cm ⁇ 3
  • the residual carrier concentration of the ⁇ -Ga 2 O 3 crystal film is 3 ⁇ 10 6. It is estimated to be a very low value of 15 cm -3 or less.
  • the production conditions of the gallium source gas and the growth conditions of the ⁇ -Ga 2 O 3 based single crystal film are controlled, so that a high-quality and large-diameter ⁇ - A Ga 2 O 3 single crystal film can be grown efficiently.
  • the ⁇ -Ga 2 O 3 single crystal film is excellent in crystal quality, a high quality crystal film can be grown on the ⁇ -Ga 2 O 3 single crystal film. Therefore, the crystal stacked structure including the ⁇ -Ga 2 O 3 single crystal film according to this embodiment can be used for manufacturing a high-quality semiconductor device.

Landscapes

  • Chemical & Material Sciences (AREA)
  • Engineering & Computer Science (AREA)
  • Materials Engineering (AREA)
  • Organic Chemistry (AREA)
  • Metallurgy (AREA)
  • General Chemical & Material Sciences (AREA)
  • Crystallography & Structural Chemistry (AREA)
  • Physics & Mathematics (AREA)
  • Computer Hardware Design (AREA)
  • Power Engineering (AREA)
  • Manufacturing & Machinery (AREA)
  • Microelectronics & Electronic Packaging (AREA)
  • General Physics & Mathematics (AREA)
  • Condensed Matter Physics & Semiconductors (AREA)
  • Chemical Kinetics & Catalysis (AREA)
  • Inorganic Chemistry (AREA)
  • Mechanical Engineering (AREA)
  • Electrochemistry (AREA)
  • Crystals, And After-Treatments Of Crystals (AREA)
PCT/JP2014/074659 2013-09-30 2014-09-18 β-Ga2O3系単結晶膜の成長方法、及び結晶積層構造体 Ceased WO2015046006A1 (ja)

Priority Applications (5)

Application Number Priority Date Filing Date Title
CN201480053760.7A CN105992841B (zh) 2013-09-30 2014-09-18 β-Ga2O3系单晶膜的生长方法和晶体层叠结构体
US15/025,956 US20160265137A1 (en) 2013-09-30 2014-09-18 METHOD FOR GROWING BETA-Ga2O3-BASED SINGLE CRYSTAL FILM, AND CRYSTALLINE LAYERED STRUCTURE
EP14849461.0A EP3054037B1 (en) 2013-09-30 2014-09-18 Method for growing beta-ga2o3-based single crystal film
CN202111128251.4A CN113832544B (zh) 2013-09-30 2014-09-18 β-Ga2O3系单晶膜的生长方法和晶体层叠结构体
US17/471,395 US11982016B2 (en) 2013-09-30 2021-09-10 Method for growing beta-Ga2O3-based single crystal film, and crystalline layered structure

Applications Claiming Priority (4)

Application Number Priority Date Filing Date Title
JP2013203198 2013-09-30
JP2013-203198 2013-09-30
JP2014-088589 2014-04-22
JP2014088589A JP5984069B2 (ja) 2013-09-30 2014-04-22 β−Ga2O3系単結晶膜の成長方法、及び結晶積層構造体

Related Child Applications (2)

Application Number Title Priority Date Filing Date
US15/025,956 A-371-Of-International US20160265137A1 (en) 2013-09-30 2014-09-18 METHOD FOR GROWING BETA-Ga2O3-BASED SINGLE CRYSTAL FILM, AND CRYSTALLINE LAYERED STRUCTURE
US17/471,395 Continuation US11982016B2 (en) 2013-09-30 2021-09-10 Method for growing beta-Ga2O3-based single crystal film, and crystalline layered structure

Publications (1)

Publication Number Publication Date
WO2015046006A1 true WO2015046006A1 (ja) 2015-04-02

Family

ID=52743145

Family Applications (1)

Application Number Title Priority Date Filing Date
PCT/JP2014/074659 Ceased WO2015046006A1 (ja) 2013-09-30 2014-09-18 β-Ga2O3系単結晶膜の成長方法、及び結晶積層構造体

Country Status (6)

Country Link
US (2) US20160265137A1 (enExample)
EP (1) EP3054037B1 (enExample)
JP (1) JP5984069B2 (enExample)
CN (2) CN105992841B (enExample)
TW (2) TWI702300B (enExample)
WO (1) WO2015046006A1 (enExample)

Cited By (4)

* Cited by examiner, † Cited by third party
Publication number Priority date Publication date Assignee Title
JP2016204214A (ja) * 2015-04-23 2016-12-08 株式会社タムラ製作所 Ga2O3系結晶膜の形成方法、及び結晶積層構造体
JP2017007871A (ja) * 2015-06-16 2017-01-12 国立研究開発法人物質・材料研究機構 ε−Ga2O3単結晶、ε−Ga2O3の製造方法、および、それを用いた半導体素子
EP3396030A4 (en) * 2015-12-16 2019-07-24 Tamura Corporation SEMICONDUCTOR SUBSTRATE AND EPITACTIC WAFER AND METHOD FOR THE PRODUCTION THEREOF
CN111613525A (zh) * 2020-06-03 2020-09-01 西安电子科技大学 一种基于硅衬底上二维β-Ga2O3的制备方法

Families Citing this family (33)

* Cited by examiner, † Cited by third party
Publication number Priority date Publication date Assignee Title
JP5984069B2 (ja) 2013-09-30 2016-09-06 株式会社タムラ製作所 β−Ga2O3系単結晶膜の成長方法、及び結晶積層構造体
JP6253150B2 (ja) * 2014-05-09 2017-12-27 株式会社タムラ製作所 エピタキシャルウエハ及びその製造方法
JP6376600B2 (ja) 2015-03-20 2018-08-22 株式会社タムラ製作所 結晶積層構造体の製造方法
JP6758569B2 (ja) * 2015-03-20 2020-09-23 株式会社タムラ製作所 高耐圧ショットキーバリアダイオード
JP6705962B2 (ja) * 2016-06-03 2020-06-03 株式会社タムラ製作所 Ga2O3系結晶膜の成長方法及び結晶積層構造体
US11152208B2 (en) * 2016-09-15 2021-10-19 Flosfia Inc. Semiconductor film, method of forming semiconductor film, complex compound for doping, and method of doping
US10593544B2 (en) 2016-10-14 2020-03-17 Case Westen Reverse University Method for forming a thin film comprising an ultrawide bandgap oxide semiconductor
JP7008293B2 (ja) * 2017-04-27 2022-01-25 国立研究開発法人情報通信研究機構 Ga2O3系半導体素子
CN107587190A (zh) * 2017-08-14 2018-01-16 南京大学 一种制备GaN衬底材料的方法
CN107574479A (zh) * 2017-08-14 2018-01-12 南京大学 一种多功能氢化物气相外延生长系统及应用
CN109423690B (zh) * 2017-08-21 2022-09-16 株式会社Flosfia 用于制造结晶膜的方法
CN109423693B (zh) * 2017-08-21 2022-09-09 株式会社Flosfia 用于制造结晶膜的方法
JP7166522B2 (ja) * 2017-08-21 2022-11-08 株式会社Flosfia 結晶膜の製造方法
CN107983291A (zh) * 2017-10-28 2018-05-04 株洲冶炼集团股份有限公司 一种制备无水氯化镓的装置及其方法
CN108987257B (zh) * 2018-07-12 2021-03-30 南京南大光电工程研究院有限公司 利用卤化物气相外延法在Si衬底上生长Ga2O3薄膜的方法
CN109767990A (zh) * 2018-12-27 2019-05-17 山东大学 一种氧化镓表面载流子浓度调控的方法
KR102129390B1 (ko) * 2019-05-24 2020-07-02 한국세라믹기술원 HVPE 성장법을 이용하여 성장한 고품질 β-Ga2O3 박막 제조 방법
EP4023794A4 (en) 2019-08-27 2023-09-20 Shin-Etsu Chemical Co., Ltd. LAYER BODY AND METHOD FOR PRODUCING A LAYER BODY
JP6842128B2 (ja) * 2019-09-26 2021-03-17 国立研究開発法人物質・材料研究機構 α−Ga2O3単結晶の製造装置
CN110616456B (zh) * 2019-10-23 2021-05-04 南京大学 一种高质量κ相氧化镓外延薄膜的制备方法
CN110911270B (zh) * 2019-12-11 2022-03-25 吉林大学 一种高质量氧化镓薄膜及其同质外延生长方法
JP7580708B2 (ja) 2020-04-14 2024-11-12 株式会社ノベルクリスタルテクノロジー 半導体膜及びその製造方法
JP7672604B2 (ja) * 2020-09-15 2025-05-08 株式会社ノベルクリスタルテクノロジー β-Ga2O3系単結晶膜の製造方法
TR202019031A2 (tr) * 2020-11-25 2021-02-22 Univ Yildiz Teknik Yüksek kalitede hetero epitaksiyel monoklinik galyum oksit kristali büyütme metodu
CN113451435A (zh) * 2021-06-30 2021-09-28 南方科技大学 一种单晶氧化镓基日盲紫外光电探测器及其制备方法与应用
JP7158627B1 (ja) * 2021-09-03 2022-10-21 三菱電機株式会社 結晶積層構造体、半導体装置、及び、結晶積層構造体の製造方法
KR102546042B1 (ko) * 2021-12-22 2023-06-22 주식회사루미지엔테크 HVPE법에 따른 Ga2O3 결정막 증착방법, 증착장치 및 이를 사용한 Ga2O3 결정막 증착 기판
CN114059173B (zh) * 2022-01-17 2022-04-01 浙江大学杭州国际科创中心 一种制备氧化镓料棒的装置及方法
CN114823287B (zh) * 2022-04-29 2024-10-18 杭州富加镓业科技有限公司 一种在非故意掺杂衬底上制备同质外延氧化镓薄膜的方法及分子束外延设备
JP2024053416A (ja) * 2022-10-03 2024-04-15 株式会社ノベルクリスタルテクノロジー エピタキシャルウエハ及びその製造方法
CN116259527A (zh) * 2022-11-23 2023-06-13 中国电子科技集团公司第四十六研究所 一种精确控制n型氧化镓外延膜中Si含量的方法
CN116024545B (zh) * 2023-01-12 2025-09-09 中国科学院苏州纳米技术与纳米仿生研究所 一种单晶β-氧化镓纳米片的制备方法
WO2024236510A1 (en) * 2023-05-16 2024-11-21 Kyma Technologies, Inc. Method and apparatus for suppression of defects during gallium oxide epitaxy

Citations (4)

* Cited by examiner, † Cited by third party
Publication number Priority date Publication date Assignee Title
JP4565062B2 (ja) 2003-03-12 2010-10-20 学校法人早稲田大学 薄膜単結晶の成長方法
WO2013035842A1 (ja) * 2011-09-08 2013-03-14 株式会社タムラ製作所 Ga2O3系半導体素子
WO2013035845A1 (ja) * 2011-09-08 2013-03-14 株式会社タムラ製作所 Ga2O3系半導体素子
JP2013056803A (ja) 2011-09-08 2013-03-28 Tamura Seisakusho Co Ltd β−Ga2O3系単結晶膜の製造方法

Family Cites Families (16)

* Cited by examiner, † Cited by third party
Publication number Priority date Publication date Assignee Title
CA1071068A (en) * 1975-03-19 1980-02-05 Guy-Michel Jacob Method of manufacturing single crystals by growth from the vapour phase
KR100787272B1 (ko) 2003-02-24 2007-12-20 각코호진 와세다다이가쿠 Ga2O3계 발광 소자 및 그 제조 방법
JP4630986B2 (ja) * 2003-02-24 2011-02-09 学校法人早稲田大学 β−Ga2O3系単結晶成長方法
US7176115B2 (en) 2003-03-20 2007-02-13 Matsushita Electric Industrial Co., Ltd. Method of manufacturing Group III nitride substrate and semiconductor device
JP4588340B2 (ja) * 2003-03-20 2010-12-01 パナソニック株式会社 Iii族窒化物基板の製造方法
JP2005235961A (ja) * 2004-02-18 2005-09-02 Univ Waseda Ga2O3系単結晶の導電率制御方法
US7303632B2 (en) * 2004-05-26 2007-12-04 Cree, Inc. Vapor assisted growth of gallium nitride
GB2436398B (en) * 2006-03-23 2011-08-24 Univ Bath Growth method using nanostructure compliant layers and HVPE for producing high quality compound semiconductor materials
JP5311765B2 (ja) 2006-09-15 2013-10-09 住友化学株式会社 半導体エピタキシャル結晶基板およびその製造方法
JP2011142402A (ja) * 2010-01-05 2011-07-21 Toshiba Corp 出力回路
PL2570523T3 (pl) * 2010-05-12 2017-09-29 National University Corporation Tokyo University Of Agriculture And Technology Sposób wytwarzania gazowego trójchlorku galu oraz sposób wytwarzania kryształu półprzewodnika azotkowego
CN103781948B (zh) * 2011-09-08 2017-11-17 株式会社田村制作所 晶体层叠结构体及其制造方法
US9657410B2 (en) * 2011-11-29 2017-05-23 Tamura Corporation Method for producing Ga2O3 based crystal film
JP5984069B2 (ja) 2013-09-30 2016-09-06 株式会社タムラ製作所 β−Ga2O3系単結晶膜の成長方法、及び結晶積層構造体
JP5892495B2 (ja) * 2013-12-24 2016-03-23 株式会社タムラ製作所 Ga2O3系結晶膜の成膜方法、及び結晶積層構造体
JP6253150B2 (ja) * 2014-05-09 2017-12-27 株式会社タムラ製作所 エピタキシャルウエハ及びその製造方法

Patent Citations (4)

* Cited by examiner, † Cited by third party
Publication number Priority date Publication date Assignee Title
JP4565062B2 (ja) 2003-03-12 2010-10-20 学校法人早稲田大学 薄膜単結晶の成長方法
WO2013035842A1 (ja) * 2011-09-08 2013-03-14 株式会社タムラ製作所 Ga2O3系半導体素子
WO2013035845A1 (ja) * 2011-09-08 2013-03-14 株式会社タムラ製作所 Ga2O3系半導体素子
JP2013056803A (ja) 2011-09-08 2013-03-28 Tamura Seisakusho Co Ltd β−Ga2O3系単結晶膜の製造方法

Non-Patent Citations (1)

* Cited by examiner, † Cited by third party
Title
See also references of EP3054037A4

Cited By (5)

* Cited by examiner, † Cited by third party
Publication number Priority date Publication date Assignee Title
JP2016204214A (ja) * 2015-04-23 2016-12-08 株式会社タムラ製作所 Ga2O3系結晶膜の形成方法、及び結晶積層構造体
JP2017007871A (ja) * 2015-06-16 2017-01-12 国立研究開発法人物質・材料研究機構 ε−Ga2O3単結晶、ε−Ga2O3の製造方法、および、それを用いた半導体素子
EP3396030A4 (en) * 2015-12-16 2019-07-24 Tamura Corporation SEMICONDUCTOR SUBSTRATE AND EPITACTIC WAFER AND METHOD FOR THE PRODUCTION THEREOF
US10985016B2 (en) 2015-12-16 2021-04-20 Tamura Corporation Semiconductor substrate, and epitaxial wafer and method for producing same
CN111613525A (zh) * 2020-06-03 2020-09-01 西安电子科技大学 一种基于硅衬底上二维β-Ga2O3的制备方法

Also Published As

Publication number Publication date
TW202102698A (zh) 2021-01-16
JP5984069B2 (ja) 2016-09-06
TW201522680A (zh) 2015-06-16
CN105992841A (zh) 2016-10-05
JP2015091740A (ja) 2015-05-14
TWI702300B (zh) 2020-08-21
CN105992841B (zh) 2021-10-22
EP3054037B1 (en) 2025-08-27
US20210404086A1 (en) 2021-12-30
CN113832544A (zh) 2021-12-24
US11982016B2 (en) 2024-05-14
TWI727849B (zh) 2021-05-11
US20160265137A1 (en) 2016-09-15
EP3054037A4 (en) 2017-06-21
CN113832544B (zh) 2024-06-14
EP3054037A1 (en) 2016-08-10

Similar Documents

Publication Publication Date Title
US11982016B2 (en) Method for growing beta-Ga2O3-based single crystal film, and crystalline layered structure
Gogova et al. Homo-and heteroepitaxial growth of Sn-doped β-Ga 2 O 3 layers by MOVPE
US11047067B2 (en) Crystal laminate structure
JP6758569B2 (ja) 高耐圧ショットキーバリアダイオード
EP3396030B1 (en) Semiconductor substrate, and epitaxial wafer and method for producing same
JP6875708B2 (ja) 結晶積層構造体、及びそれを製造する方法
KR102785434B1 (ko) GaN 결정 및 기판
US10676841B2 (en) Semiconductor substrate, epitaxial wafer, and method for manufacturing epitaxial wafer

Legal Events

Date Code Title Description
121 Ep: the epo has been informed by wipo that ep was designated in this application

Ref document number: 14849461

Country of ref document: EP

Kind code of ref document: A1

DPE1 Request for preliminary examination filed after expiration of 19th month from priority date (pct application filed from 20040101)
NENP Non-entry into the national phase

Ref country code: DE

WWE Wipo information: entry into national phase

Ref document number: 15025956

Country of ref document: US

REEP Request for entry into the european phase

Ref document number: 2014849461

Country of ref document: EP

WWE Wipo information: entry into national phase

Ref document number: 2014849461

Country of ref document: EP

WWG Wipo information: grant in national office

Ref document number: 2014849461

Country of ref document: EP