WO2015016190A1 - 非水二次電池 - Google Patents

非水二次電池 Download PDF

Info

Publication number
WO2015016190A1
WO2015016190A1 PCT/JP2014/069853 JP2014069853W WO2015016190A1 WO 2015016190 A1 WO2015016190 A1 WO 2015016190A1 JP 2014069853 W JP2014069853 W JP 2014069853W WO 2015016190 A1 WO2015016190 A1 WO 2015016190A1
Authority
WO
WIPO (PCT)
Prior art keywords
group
active material
secondary battery
positive electrode
compound
Prior art date
Legal status (The legal status is an assumption and is not a legal conclusion. Google has not performed a legal analysis and makes no representation as to the accuracy of the status listed.)
Ceased
Application number
PCT/JP2014/069853
Other languages
English (en)
French (fr)
Japanese (ja)
Inventor
児玉 邦彦
郁雄 木下
吉憲 金澤
稔彦 八幡
Current Assignee (The listed assignees may be inaccurate. Google has not performed a legal analysis and makes no representation or warranty as to the accuracy of the list.)
Fujifilm Corp
Original Assignee
Fujifilm Corp
Priority date (The priority date is an assumption and is not a legal conclusion. Google has not performed a legal analysis and makes no representation as to the accuracy of the date listed.)
Filing date
Publication date
Application filed by Fujifilm Corp filed Critical Fujifilm Corp
Publication of WO2015016190A1 publication Critical patent/WO2015016190A1/ja
Anticipated expiration legal-status Critical
Ceased legal-status Critical Current

Links

Images

Classifications

    • HELECTRICITY
    • H01ELECTRIC ELEMENTS
    • H01MPROCESSES OR MEANS, e.g. BATTERIES, FOR THE DIRECT CONVERSION OF CHEMICAL ENERGY INTO ELECTRICAL ENERGY
    • H01M10/00Secondary cells; Manufacture thereof
    • H01M10/05Accumulators with non-aqueous electrolyte
    • H01M10/056Accumulators with non-aqueous electrolyte characterised by the materials used as electrolytes, e.g. mixed inorganic/organic electrolytes
    • H01M10/0564Accumulators with non-aqueous electrolyte characterised by the materials used as electrolytes, e.g. mixed inorganic/organic electrolytes the electrolyte being constituted of organic materials only
    • H01M10/0566Liquid materials
    • H01M10/0567Liquid materials characterised by the additives
    • HELECTRICITY
    • H01ELECTRIC ELEMENTS
    • H01MPROCESSES OR MEANS, e.g. BATTERIES, FOR THE DIRECT CONVERSION OF CHEMICAL ENERGY INTO ELECTRICAL ENERGY
    • H01M10/00Secondary cells; Manufacture thereof
    • H01M10/05Accumulators with non-aqueous electrolyte
    • H01M10/052Li-accumulators
    • HELECTRICITY
    • H01ELECTRIC ELEMENTS
    • H01MPROCESSES OR MEANS, e.g. BATTERIES, FOR THE DIRECT CONVERSION OF CHEMICAL ENERGY INTO ELECTRICAL ENERGY
    • H01M4/00Electrodes
    • H01M4/02Electrodes composed of, or comprising, active material
    • H01M4/13Electrodes for accumulators with non-aqueous electrolyte, e.g. for lithium-accumulators; Processes of manufacture thereof
    • H01M4/131Electrodes based on mixed oxides or hydroxides, or on mixtures of oxides or hydroxides, e.g. LiCoOx
    • HELECTRICITY
    • H01ELECTRIC ELEMENTS
    • H01MPROCESSES OR MEANS, e.g. BATTERIES, FOR THE DIRECT CONVERSION OF CHEMICAL ENERGY INTO ELECTRICAL ENERGY
    • H01M4/00Electrodes
    • H01M4/02Electrodes composed of, or comprising, active material
    • H01M4/36Selection of substances as active materials, active masses, active liquids
    • H01M4/362Composites
    • H01M4/366Composites as layered products
    • HELECTRICITY
    • H01ELECTRIC ELEMENTS
    • H01MPROCESSES OR MEANS, e.g. BATTERIES, FOR THE DIRECT CONVERSION OF CHEMICAL ENERGY INTO ELECTRICAL ENERGY
    • H01M4/00Electrodes
    • H01M4/02Electrodes composed of, or comprising, active material
    • H01M4/36Selection of substances as active materials, active masses, active liquids
    • H01M4/48Selection of substances as active materials, active masses, active liquids of inorganic oxides or hydroxides
    • H01M4/50Selection of substances as active materials, active masses, active liquids of inorganic oxides or hydroxides of manganese
    • H01M4/505Selection of substances as active materials, active masses, active liquids of inorganic oxides or hydroxides of manganese of mixed oxides or hydroxides containing manganese for inserting or intercalating light metals, e.g. LiMn2O4 or LiMn2OxFy
    • HELECTRICITY
    • H01ELECTRIC ELEMENTS
    • H01MPROCESSES OR MEANS, e.g. BATTERIES, FOR THE DIRECT CONVERSION OF CHEMICAL ENERGY INTO ELECTRICAL ENERGY
    • H01M4/00Electrodes
    • H01M4/02Electrodes composed of, or comprising, active material
    • H01M4/36Selection of substances as active materials, active masses, active liquids
    • H01M4/48Selection of substances as active materials, active masses, active liquids of inorganic oxides or hydroxides
    • H01M4/52Selection of substances as active materials, active masses, active liquids of inorganic oxides or hydroxides of nickel, cobalt or iron
    • H01M4/525Selection of substances as active materials, active masses, active liquids of inorganic oxides or hydroxides of nickel, cobalt or iron of mixed oxides or hydroxides containing iron, cobalt or nickel for inserting or intercalating light metals, e.g. LiNiO2, LiCoO2 or LiCoOxFy
    • YGENERAL TAGGING OF NEW TECHNOLOGICAL DEVELOPMENTS; GENERAL TAGGING OF CROSS-SECTIONAL TECHNOLOGIES SPANNING OVER SEVERAL SECTIONS OF THE IPC; TECHNICAL SUBJECTS COVERED BY FORMER USPC CROSS-REFERENCE ART COLLECTIONS [XRACs] AND DIGESTS
    • Y02TECHNOLOGIES OR APPLICATIONS FOR MITIGATION OR ADAPTATION AGAINST CLIMATE CHANGE
    • Y02EREDUCTION OF GREENHOUSE GAS [GHG] EMISSIONS, RELATED TO ENERGY GENERATION, TRANSMISSION OR DISTRIBUTION
    • Y02E60/00Enabling technologies; Technologies with a potential or indirect contribution to GHG emissions mitigation
    • Y02E60/10Energy storage using batteries

Definitions

  • the present invention relates to a non-aqueous secondary battery.
  • Lithium ion secondary batteries can achieve a large energy density in charge and discharge compared to lead batteries and nickel cadmium batteries. Utilizing this characteristic, application to portable electronic devices such as mobile phones and notebook personal computers is widespread. Accordingly, as a power source for portable electronic devices, development of a secondary battery that is particularly lightweight and capable of obtaining a high energy density is in progress. Furthermore, there is a strong demand for small size, light weight, long life, and reliability. High reliability is essential for applications such as electric vehicles and power storage equipment, which are expected to increase in capacity in the future, and there is a strong demand for both battery performance and reliability.
  • a combination of a carbonate solvent such as propylene carbonate or diethyl carbonate and an electrolyte salt such as lithium hexafluorophosphate is widely used. This is because they have high conductivity and are stable in potential.
  • the present invention provides an electrolyte solution for a non-aqueous secondary battery and a non-aqueous secondary battery that simultaneously satisfy high flame retardancy, durability at high temperature, and maintenance of battery characteristics in large current discharge at low temperature. For the purpose of provision.
  • a non-aqueous secondary battery having a positive electrode, a negative electrode, and a non-aqueous electrolyte, wherein the non-aqueous electrolyte contains a phosphorus-containing compound (A), and at least a part of the positive electrode active material is an active material in the positive electrode
  • a non-aqueous secondary battery comprising an active material composite coated with a metal derivative different from the component.
  • the phosphorus-containing compound is selected from a phosphate ester, a phosphate amide, and a phosphazene compound.
  • Rb 4 (n is 0 or 1, m is 0 or 1, Rb 4 is an alkyl group, an alkenyl group, an aryl group, or an aralkyl group.)
  • X is an oxygen atom, a sulfur atom, or N (Ra 12 ).
  • Ra 12 represents a hydrogen atom or a monovalent substituent.
  • Ra 21 each independently represents a monovalent substituent. The adjacent R 21 may form a ring together.
  • N represents an integer of 2 or more.
  • the structure of the formula (A2) is: The bond ends may be bonded to form a ring.)
  • [8] The nonaqueous secondary battery according to [7], wherein the compound having a structure represented by the formula (A2) is a compound represented by the following formula (A2-1) or (A2-2). (Ra 31 to Ra 36 and Ra 41 to Ra 48 are each independently synonymous with Ra 21. ) [9] Any of [1] to [8], wherein the positive electrode active material composite is prepared through a step of bringing the positive electrode active material into contact with a metal derivative or a precursor thereof and a step of heating to 200 ° C. or higher.
  • substituents and the like may be the same as or different from each other. Further, when a plurality of substituents and the like are close to each other, they may be bonded to each other or condensed to form a ring.
  • the nonaqueous electrolytic solution of the present invention can exhibit high flame retardancy while realizing durability under high temperature conditions in a secondary battery equipped with the same, and suppressing capacity deterioration in low temperature / large current discharge. Excellent effects such as. Furthermore, if necessary, it is compatible with a battery using a positive electrode material that can be used up to a high potential, and exhibits the above excellent performance.
  • the non-aqueous secondary battery of the present application has a positive electrode, a negative electrode, and a non-aqueous electrolyte.
  • the non-aqueous electrolyte contains a phosphorus-containing compound (A), and the positive electrode has a specific active material complex.
  • the phosphorus-containing compound (A) is not particularly limited, but a compound having at least one selected from P—O bond, P ⁇ O bond, PN bond, and P ⁇ N is preferable.
  • the phosphorus-containing compound (A) is preferably a compound represented by the following formula (A1) or a compound containing a structure represented by (A2).
  • X represents an oxygen atom, a sulfur atom, or N (Ra 14 ).
  • Ra 14 represents a hydrogen atom or a monovalent substituent.
  • the alkyl group in Ra 11 to Ra 13 preferably has 1 to 4 carbon atoms, and examples thereof include a methyl group, an ethyl group, a propyl group, an isopropyl group, and a butyl group.
  • the aralkyl group is preferably an aralkyl group having 7 to 20 carbon atoms, and more preferably an aralkyl group having 7 to 11 carbon atoms.
  • Alk is preferably an alkylene group having 1 to 6 carbon atoms
  • Ar is preferably an aryl group having 6 to 14 carbon atoms.
  • the alkoxy group preferably has 1 to 8 carbon atoms, and is an unsubstituted alkoxy group such as a methoxy group, an ethoxy group, or a butoxy group, 2,2,2-trifluoroethoxy group, 1,1,1,3,3,3- Examples include fluorine-substituted alkoxy groups such as hexafluoroisopropoxy group and perfluorobutylethyl group, methoxy group, 2,2,2-trifluoroethoxy group, 1,1,1,3,3,3-hexa A fluoroisopropoxy group is preferred.
  • the aralkyloxy group is preferably an aralkyloxy group having 7 to 20 carbon atoms, and more preferably an aralkyloxy group having 7 to 11 carbon atoms.
  • Alk is preferably an alkylene group having 1 to 6 carbon atoms
  • Ar is preferably an aryl group having 6 to 14 carbon atoms.
  • the aryloxy group is preferably a phenoxy group or a fluorine-substituted phenoxy group.
  • a halogen atom a chlorine atom and a fluorine atom are preferable, and a fluorine atom is more preferable.
  • the amino group is preferably a dialkylamino group, and a dialkylamino group having 2 to 8 carbon atoms in total, such as a dimethylamino group, a diethylamino group, or a dibutylamino group.
  • the monovalent substituent in Ra 14 is preferably an alkyl group (preferably having 1 to 6 carbon atoms), —S ( ⁇ O) 2 Ra 15 (Ra 15 is an alkyl group (preferably having 1 to 6 carbon atoms), or an aryl group.
  • Ra 11 to Ra 14 may have a substituent T as appropriate within the scope of the effects of the present invention, and examples thereof include substitution with a halogen atom (fluorine atom).
  • the alkyl group or the like may be a fluoroalkyl group.
  • Ra 21 each independently represents a monovalent substituent.
  • the substituents may form a ring.
  • n represents an integer of 2 or more, and bond ends may be bonded to form a ring.
  • Ra 21 is a halogen atom (particularly preferably a fluorine atom), an alkyl group (preferably having 1 to 12 carbon atoms, more preferably 1 to 6 carbon atoms, particularly preferably 1 to 3 carbon atoms), an alkoxy group (having 1 to 12 carbon atoms).
  • 1 to 6 is more preferable, 1 to 3 is particularly preferable, a thioalkoxy group (1 to 12 carbon atoms is preferable, 1 to 6 is more preferable, and 1 to 3 is particularly preferable), an aryloxy group (carbon number). 6-22 are preferred, 6-14 are more preferred), arylthio groups (preferably 6-22 carbon atoms, more preferred 6-14), aralkyl groups (preferably 7-23 carbon atoms, more preferably 7-15 carbon atoms). ) And amino groups (preferably having 0 to 6 carbon atoms, more preferably 0 to 3 carbon atoms).
  • Ra 21 is more preferably an alkoxy group, an aryloxy group, a halogen atom, or an amino group.
  • alkoxy group examples include unsubstituted alkoxy groups such as methoxy group, ethoxy group, and butoxy group, 2,2,2-trifluoroethoxy group, 1,1,1,3,3,3-hexafluoroisopropoxy group, perfluoro group.
  • a fluorine-substituted alkoxy group such as a butylethyl group is preferred.
  • the aryloxy group is preferably a phenoxy group or a fluorine-substituted phenoxy group.
  • Ra 21 is an amino group
  • Ra 23 is a monovalent substituent, and examples of the substituent T described below can be given.
  • Ra 23 is preferably an alkyl group having 1 to 12 carbon atoms, more preferably an alkyl group having 1 to 6 carbon atoms, and particularly preferably an alkyl group having 1 to 3 carbon atoms. Ra 23 may be bonded to each other or condensed to form a ring. At this time, a hetero atom such as a nitrogen atom, an oxygen atom, or a sulfur atom may be incorporated.
  • the ring to be formed is preferably a 5-membered ring or a 6-membered ring.
  • the 5-membered ring is preferably a compound containing a nitrogen-containing 5-membered ring, such as pyrrole, imidazole, pyrazole, indazole, indole, benzimidazole, pyrrolidine, imidazolidine, pyrazolidine, indoline, carbazole, or derivatives thereof (all N substitution).
  • a nitrogen-containing 5-membered ring such as pyrrole, imidazole, pyrazole, indazole, indole, benzimidazole, pyrrolidine, imidazolidine, pyrazolidine, indoline, carbazole, or derivatives thereof (all N substitution).
  • Examples of the 6-membered ring include piperidine, morpholine, piperazine, and derivatives thereof (all are N-substituted).
  • the compound having the structure represented by the above formula (A2) is preferably a compound represented by the following formula (A2-1) or the following formula (A2-2).
  • Ra 31 to Ra 36 have the same meaning as Ra 21 , preferably 3 to 6 (preferably 4 or 5, more preferably 5) of Ra 31 to Ra 36 are fluorine atoms, and 0 to 3 (Preferably 1 or 2, more preferably 1) is an alkoxy group, an aryloxy group, a halogen atom, or an amino group.
  • Ra 41 to Ra 48 have the same meaning as Ra 21 , preferably 5 to 8 (preferably 6 or 7, more preferably 7) of Ra 41 to Ra 46 are fluorine atoms, and 0 to 3 (Preferably 1 or 2, more preferably 1) is an alkoxy group, an aryloxy group, a halogen atom, or an amino group.
  • the alkoxy group preferably has 1 to 12 carbon atoms, more preferably 1 to 6 carbon atoms, and particularly preferably 1 to 3 carbon atoms.
  • the aryloxy group preferably has 6 to 22 carbon atoms, and more preferably 6 to 14 carbon atoms.
  • the amino group preferably has 0 to 6 carbon atoms, and more preferably 0 to 3 carbon atoms.
  • the said phosphorus containing compound may be used individually by 1 type, or may be used in combination of 2 or more type.
  • concentration of the phosphorus-containing compound in the electrolyte solution for a non-aqueous secondary battery is not particularly limited, but the amount including the electrolyte is preferably 0.5% by mass or more, and preferably 1% by mass or more with respect to the total amount. It is more preferable that the content is 3% by mass or more.
  • the upper limit is preferably 30% by mass or less, more preferably 20% by mass or less, and particularly preferably 10% by mass or less.
  • the electrolyte used in the electrolytic solution of the present invention is preferably a salt of a metal ion belonging to Group 1 or Group 2 of the Periodic Table.
  • the material is appropriately selected depending on the intended use of the electrolytic solution.
  • lithium salt, potassium salt, sodium salt, calcium salt, magnesium salt and the like can be mentioned.
  • lithium salt is preferable from the viewpoint of output.
  • a lithium salt may be selected as a metal ion salt.
  • the lithium salt normally used for the electrolyte of the nonaqueous electrolyte solution for lithium secondary batteries is preferable, For example, what is described below is preferable.
  • Inorganic lithium salts inorganic fluoride salts such as LiPF 6 , LiBF 4 , LiAsF 6 , LiSbF 6 ; perhalogenates such as LiClO 4 , LiBrO 4 , LiIO 4 ; inorganic chloride salts such as LiAlCl 4 etc.
  • (L-3) Oxalatoborate salt lithium bis (oxalato) borate, lithium difluorooxalatoborate and the like.
  • imide salts More preferred are imide salts.
  • Rf 1 and Rf 2 each represent a perfluoroalkyl group.
  • the electrolyte used for electrolyte solution may be used individually by 1 type, or may combine 2 or more types arbitrarily.
  • the electrolyte in the electrolytic solution (preferably a metal ion belonging to Group 1 or Group 2 of the periodic table or a metal salt thereof) is added in an amount so as to obtain a preferable salt concentration described in the method for preparing the electrolytic solution below. It is preferable.
  • the salt concentration is appropriately selected depending on the intended use of the electrolytic solution, but is generally 10% to 50% by mass, more preferably 15% to 30% by mass, based on the total mass of the electrolytic solution.
  • the molar concentration is preferably 0.5M to 1.5M.
  • concentration when evaluating as an ion density
  • the non-aqueous solvent used in the present invention is preferably an aprotic organic solvent, and more preferably an aprotic organic solvent having 2 to 10 carbon atoms.
  • the non-aqueous solvent is preferably a compound having an ether group, a carbonyl group, an ester group, or a carbonate group.
  • the said compound may have a substituent and the postscript substituent T is mentioned as the example.
  • non-aqueous solvent examples include ethylene carbonate, propylene carbonate, butylene carbonate, dimethyl carbonate, diethyl carbonate, ethyl methyl carbonate, methyl propyl carbonate, ⁇ -butyrolactone, ⁇ -valerolactone, 1,2-dimethoxyethane, tetrahydrofuran, 2 -Methyltetrahydrofuran, tetrahydropyran, 1,3-dioxolane, 4-methyl-1,3-dioxolane, 1,3-dioxane, 1,4-dioxane, methyl acetate, ethyl acetate, methyl propionate, ethyl propionate, butyric acid Methyl, methyl isobutyrate, methyl trimethylacetate, ethyl trimethylacetate, acetonitrile, glutaronitrile, adiponitrile, methoxyacetonitrile, 3-
  • ethylene carbonate, propylene carbonate, dimethyl carbonate, diethyl carbonate and ethyl methyl carbonate, and ⁇ -butyrolactone is preferable.
  • a high viscosity (high dielectric constant) solvent such as ethylene carbonate or propylene carbonate.
  • a combination of (for example, relative dielectric constant ⁇ ⁇ 30) and a low viscosity solvent (for example, viscosity ⁇ 1 mPa ⁇ s) such as dimethyl carbonate, ethyl methyl carbonate, or diethyl carbonate is more preferable. This is because the dissociation property of the electrolyte salt and the ion mobility are improved.
  • the non-aqueous solvent used in the present invention is not limited by the above examples.
  • the electrolytic solution of the present invention preferably contains various functional additives.
  • Examples of the function manifested by this additive include improved flame retardancy, improved cycle characteristics, and improved capacity characteristics.
  • Examples of functional additives that are preferably applied to the electrolyte of the present invention are shown below.
  • aromatic compounds examples include biphenyl compounds and alkyl-substituted benzene compounds.
  • the biphenyl compound has a partial structure in which two benzene rings are bonded by a single bond, and the benzene ring may have a substituent.
  • Preferred substituents are alkyl groups having 1 to 4 carbon atoms (for example, Methyl, ethyl, propyl, t-butyl, etc.) and aryl groups having 6 to 10 carbon atoms (eg, phenyl, naphthyl, etc.).
  • the biphenyl compound examples include biphenyl, o-terphenyl, m-terphenyl, p-terphenyl, 4-methylbiphenyl, 4-ethylbiphenyl, and 4-tert-butylbiphenyl.
  • the alkyl-substituted benzene compound is preferably a benzene compound substituted with an alkyl group having 1 to 10 carbon atoms, and specifically includes ethylbenzene, isopropylbenzene, cyclohexylbenzene, t-amylbenzene, t-butylbenzene, and tetrahydrohydronaphthalene. Can be mentioned.
  • the halogen atom contained in the halogen-containing compound is preferably a fluorine atom, a chlorine atom, or a bromine atom, and more preferably a fluorine atom.
  • the number of halogen atoms is preferably 1 to 6, more preferably 1 to 3.
  • the halogen-containing compound is preferably a carbonate compound substituted with a fluorine atom, a polyether compound having a fluorine atom, or a fluorine-substituted aromatic compound.
  • the halogen-substituted carbonate compound may be either linear or cyclic.
  • a cyclic carbonate compound having a high coordination property of an electrolyte salt for example, lithium ion
  • a 5-membered cyclic carbonate compound is particularly preferable.
  • Preferred specific examples of the halogen-substituted carbonate compound are shown below. Among these, compounds of Bex1 to Bex4 are particularly preferable, and Bex1 is particularly preferable.
  • the polymerizable compound is preferably a compound having a carbon-carbon double bond, and is selected from carbonate compounds having a double bond such as vinylene carbonate and vinyl ethylene carbonate, acrylate groups, methacrylate groups, cyanoacrylate groups, and ⁇ CF 3 acrylate groups.
  • a compound having a group and a compound having a styryl group are preferable, and a carbonate compound having a double bond or a compound having two or more polymerizable groups in the molecule is more preferable.
  • sulfur-containing compound a compound having —SO 2 —, —SO 3 —, —OS ( ⁇ O) O— bond is preferable, and cyclic sulfur-containing compounds such as propane sultone, propene sultone, ethylene sulfite, and sulfonic acid Esters are preferred.
  • sulfur-containing cyclic compound compounds represented by the following formulas (E1) and (E2) are preferable.
  • X 1 and X 2 each independently represent —O— or —C (Ra) (Rb) —.
  • Ra and Rb each independently represent a hydrogen atom or a substituent.
  • the substituent is preferably an alkyl group having 1 to 8 carbon atoms, a fluorine atom, or an aryl group having 6 to 12 carbon atoms.
  • represents an atomic group necessary for forming a 5- to 6-membered ring.
  • the skeleton of ⁇ may contain a sulfur atom, an oxygen atom, etc. in addition to a carbon atom.
  • may be substituted, and examples of the substituent include a substituent T, preferably an alkyl group, a fluorine atom, and an aryl group.
  • Silicon-containing compound As the silicon-containing compound, a compound represented by the following formula (F1) or (F2) is preferable.
  • R F1 represents an alkyl group, an alkenyl group, an acyl group, an acyloxy group, or an alkoxycarbonyl group.
  • R F2 represents an alkyl group, an alkenyl group, an alkynyl group, or an alkoxy group.
  • a plurality of R F1 and R F2 in one formula may be different or the same.
  • nitrile compound a compound represented by the following formula (G) is preferable.
  • R G1 to R G3 each independently represent a hydrogen atom, an alkyl group, an alkoxycarbonyl group, an aryloxycarbonyl group, a cyano group, a carbamoyl group, a sulfonyl group, a halogen atom, or a phosphonyl group.
  • examples of the substituent T can be referred to, and among them, a compound in which any one of R G1 to R G3 has a plurality of nitrile groups containing a cyano group is preferable.
  • -Ng represents an integer of 1-8.
  • Specific examples of the compound represented by the formula (G) include acetonitrile, propionitrile, isobutyronitrile, succinonitrile, malononitrile, glutaronitrile, adiponitrile, 2-methylglutanonitrile, hexanetricarbonitrile, propane. Tetracarbonitrile and the like are preferable. Particularly preferred are succinonitrile, malononitrile, glutaronitrile, adiponitrile, 2-methylglutanonitrile, hexanetricarbonitrile, and propanetetracarbonitrile.
  • Metal complex compound As the metal complex compound, a transition metal complex or a rare earth complex is preferable. Of these, complexes represented by any of the following formulas (H-1) to (H-3) are preferred.
  • X H and Y H are a methyl group, an n-butyl group, a bis (trimethylsilyl) amino group, and a thioisocyanate group, respectively, and X H and Y H are condensed to form a cyclic alkenyl group (butadiene group).
  • MH represents a transition element or a rare earth element. Specifically, MH is preferably Fe, Ru, Cr, V, Ta, Mo, Ti, Zr, Hf, Y, La, Ce, Sw, Nd, Lu, Er, Yb, and Gd.
  • n H and n H are integers satisfying 0 ⁇ m H + n H ⁇ 3.
  • n H + m H is preferably 1 or more.
  • the 2 or more groups defined therein may be different from each other.
  • the metal complex compound is also preferably a compound having a partial structure represented by the following formula (H-4).
  • MH represents a transition element or a rare earth element and is synonymous with formulas (H-1) to (H-3).
  • R 1H and R 2H are hydrogen, an alkyl group (preferably having a carbon number of 1 to 6), an alkenyl group (preferably having a carbon number of 2 to 6), an alkynyl group (preferably having a carbon number of 2 to 6), and an aryl group (preferably having a carbon number). Represents a heteroaryl group (preferably having a carbon number of 3 to 6), an alkylsilyl group (preferably having a carbon number of 1 to 6), or a halogen.
  • R 1H and R 2H may be linked to each other.
  • R 1H and R 2H may each be connected to form a ring.
  • Preferable examples of R 1H and R 2H include examples of the substituent T described later.
  • a methyl group, an ethyl group, and a trimethylsilyl group are preferable.
  • q H represents an integer of 1 to 4, preferably an integer of 2 to 4. More preferably, it is 2 or 4. When q H is 2 or more, where a plurality of groups as defined may be the same or different from each other.
  • the metal complex compound is also preferably a compound represented by any of the following formulas.
  • the central metal M h is, Ti, Zr, ZrO, Hf , V, Cr, Fe, Ce is particularly preferred, Ti, Zr, Hf, V , Cr is the most preferred.
  • R 3h , R 5h , R 7h to R 10h represent substituents.
  • an alkyl group, an alkoxy group, an aryl group, an alkenyl group, and a halogen atom are preferable.
  • R 33h , R 55h R 33h and R 55h represent a hydrogen atom or a substituent of R 3h .
  • Y h is preferably an alkyl group having 1 to 6 carbon atoms or a bis (trialkylsilyl) amino group, and more preferably a methyl group or a bis (trimethylsilyl) amino group.
  • ⁇ L h, m h, o h l h , m h , and o h represent an integer of 0 to 3, and an integer of 0 to 2 is preferable.
  • the plurality of structural portions defined therein may be the same as or different from each other.
  • L h is preferably an alkylene group or an arylene group, more preferably a cycloalkylene group having 3 to 6 carbon atoms or an arylene group having 6 to 14 carbon atoms, and further preferably cyclohexylene or phenylene.
  • a sulfonimide compound having a perfluoro group is preferable from the viewpoint of oxidation resistance, and specifically, a perfluorosulfoimide lithium compound may be mentioned.
  • Specific examples of the imide compound include the following structures, and Cex1 and Cex2 are more preferable.
  • the electrolytic solution of the present invention may contain at least one selected from the above, a negative electrode film forming agent, a flame retardant, an overcharge preventing agent and the like.
  • the content ratio of these functional additives in the nonaqueous electrolytic solution is not particularly limited, but is preferably 0.001% by mass to 10% by mass with respect to the entire nonaqueous electrolytic solution (including the electrolyte).
  • the above exemplary compounds may have an arbitrary substituent T.
  • substituent T include the following.
  • An alkyl group preferably an alkyl group having 1 to 20 carbon atoms, such as methyl, ethyl, isopropyl, t-butyl, pentyl, heptyl, 1-ethylpentyl, benzyl, 2-ethoxyethyl, 1-carboxymethyl, etc.
  • alkenyl A group preferably an alkenyl group having 2 to 20 carbon atoms such as vinyl, allyl, oleyl and the like
  • an alkynyl group preferably an alkynyl group having 2 to 20 carbon atoms such as ethynyl, butadiynyl, phenylethynyl and the like
  • a cycloalkyl group preferably a cycloalkyl group having 3 to 20 carbon atoms, such as cyclopropyl, cyclopentyl
  • the compound or substituent / linking group contains an alkyl group / alkylene group, alkenyl group / alkenylene group, etc.
  • these may be cyclic or chain-like, and may be linear or branched, and substituted as described above. It may be substituted or unsubstituted.
  • an aryl group, a heterocyclic group, etc. may be monocyclic or condensed and may be similarly substituted or unsubstituted.
  • the nonaqueous electrolytic solution of the present invention can be prepared by a conventional method by dissolving the above components in the nonaqueous electrolytic solution solvent, including an example in which a lithium salt is used as a metal ion salt.
  • non-water means substantially not containing water, and may contain a small amount of water as long as the effect of the invention is not hindered.
  • the concentration of water is preferably 200 ppm (mass basis) or less, more preferably 100 ppm or less, and still more preferably 20 ppm or less. Although there is no lower limit in particular, it is practical that it is 1 ppm or more considering inevitable mixing.
  • the viscosity of the electrolytic solution of the present invention is not particularly limited, but it is preferably 10 to 0.1 mPa ⁇ s, more preferably 5 to 0.5 mPa ⁇ s at 25 ° C.
  • the viscosity is a value measured by the following method. 1 mL of a sample is put into a rheometer (CLS 500) and measured using a Steel Cone (both manufactured by TA Instruments) having a diameter of 4 cm / 2 °. The sample is kept warm in advance until the temperature becomes constant at the measurement start temperature, and the measurement starts thereafter. The measurement temperature is 25 ° C.
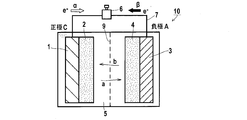
  • the lithium ion secondary battery 10 of this embodiment includes the electrolyte solution 5 for a non-aqueous secondary battery of the present invention and a positive electrode C capable of inserting and releasing lithium ions (a positive electrode current collector 1 and a positive electrode active material layer 2). And a negative electrode A (negative electrode current collector 3, negative electrode active material layer 4) capable of inserting and releasing lithium ions or dissolving and depositing lithium ions.
  • the separator 9 disposed between the positive electrode and the negative electrode, a current collecting terminal (not shown), an outer case, etc. ).
  • a protective element may be attached to at least one of the inside of the battery and the outside of the battery.
  • the battery shape to which the lithium secondary battery of the present embodiment is applied is not particularly limited, and examples thereof include a bottomed cylindrical shape, a bottomed square shape, a thin shape, a sheet shape, and a paper shape. Any of these may be used. Further, it may be of a different shape such as a horseshoe shape or a comb shape considering the shape of the system or device to be incorporated. Among them, from the viewpoint of efficiently releasing the heat inside the battery to the outside, a square shape such as a bottomed square shape or a thin shape having at least one surface that is relatively flat and has a large area is preferable.
  • FIG. 2 is an example of a bottomed cylindrical lithium secondary battery 100.
  • This battery is a bottomed cylindrical lithium secondary battery 100 in which a positive electrode sheet 14 and a negative electrode sheet 16 overlapped with a separator 12 are wound and accommodated in an outer can 18.
  • the 2S / T value is preferably 100 or more, and more preferably 200 or more. Enlarging the maximum surface improves characteristics such as cycle performance and high-temperature storage, even for high-power and large-capacity batteries, improves heat dissipation efficiency during abnormal heat generation, and suppresses the increase in internal pressure. Can be suppressed.
  • the lithium secondary battery according to the present embodiment is configured to include the electrolytic solution 5, the positive electrode and negative electrode electrode mixtures C and A, and the separator basic member 9, based on FIG. 1.
  • the electrode mixture is obtained by applying a dispersion of an active material and a conductive agent, a binder, a filler, etc. on a current collector (electrode substrate).
  • the active material is a positive electrode active material. It is preferable to use a negative electrode mixture in which the positive electrode mixture and the active material are a negative electrode active material.
  • each component in the dispersion (electrode composition) constituting the electrode mixture will be described.
  • a positive electrode active material composite body has the structure where at least one part of the positive electrode active material was coat
  • mixed element M b (elements of the first (Ia) group of the metal periodic table other than lithium, elements of the second (IIa) group, Al, Ga, In, Ge, Sn, Pb, Sb, Bi, Si , P, B, etc.) may be mixed.
  • the transition metal oxide include specific transition metal oxides including those represented by any of the following formulas (MA) to (MC), or other transition metal oxides such as V 2 O 5 and MnO 2. Is mentioned.
  • the positive electrode active material a particulate positive electrode active material may be used. Specifically, a transition metal oxide capable of reversibly inserting and releasing lithium ions can be used, but the specific transition metal oxide is preferably used.
  • the transition metal oxides, oxides containing the above transition element M a is preferably exemplified.
  • a mixed element M b (preferably Al) or the like may be mixed.
  • the mixing amount is preferably 0 to 30 mol% with respect to the amount of the transition metal. That the molar ratio of li / M a was synthesized were mixed so that 0.3 to 2.2, more preferably.
  • M 1 is as defined above Ma.
  • a represents 0 to 1.2, preferably 0.1 to 1.15, and more preferably 0.6 to 1.1.
  • b represents 1 to 3 and is preferably 2.
  • a part of M 1 may be substituted with the mixed element M b .
  • the transition metal oxide represented by the above formula (MA) typically has a layered rock salt structure.
  • the transition metal oxide is more preferably one represented by the following formulas.
  • g has the same meaning as a.
  • j represents 0.1 to 0.9.
  • i represents 0 to 1; However, 1-ji is 0 or more.
  • k has the same meaning as b above.
  • Specific examples of the transition metal compound include LiCoO 2 (lithium cobaltate [LCO]), LiNi 2 O 2 (lithium nickelate) LiNi 0.85 Co 0.01 Al 0.05 O 2 (nickel cobalt aluminum acid Lithium [NCA]), LiNi 0.33 Co 0.33 Mn 0.33 O 2 (lithium nickel manganese cobaltate [NMC]), LiNi 0.5 Mn 0.5 O 2 (lithium manganese nickelate).
  • the transition metal oxide represented by the formula (MA) partially overlaps, but when represented by changing the notation, those represented by the following are also preferable examples.
  • (I) Li g Ni x Mn y Co z O 2 (x> 0.2, y> 0.2, z ⁇ 0, x + y + z 1) Representative: Li g Ni 1/3 Mn 1/3 Co 1/3 O 2 Li g Ni 1/2 Mn 1/2 O 2
  • (Ii) Li g Ni x Co y Al z O 2 (x> 0.7, y>0.1,0.1> z ⁇ 0.05, x + y + z 1) Representative: Li g Ni 0.8 Co 0.15 Al 0.05 O 2
  • M 2 is as defined above Ma.
  • c represents 0 to 2, preferably 0.1 to 1.15, and more preferably 0.6 to 1.5.
  • d represents 3 to 5 and is preferably 4.
  • the transition metal oxide represented by the formula (MB) is more preferably one represented by the following formulas.
  • (MB-1) Li m Mn 2 O n
  • (MB-2) Li m Mn p Al 2-p O n
  • (MB-3) Li m Mn p Ni 2-p O n
  • m is synonymous with c.
  • n is synonymous with d.
  • p represents 0-2.
  • Specific examples of the transition metal compound are LiMn 2 O 4 and LiMn 1.5 Ni 0.5 O 4 .
  • Preferred examples of the transition metal oxide represented by the formula (MB) include those represented by the following.
  • an electrode containing Ni is more preferable from the viewpoint of high capacity and high output.
  • Transition metal oxide represented by formula (MC) As the lithium-containing transition metal oxide, it is also preferable to use a lithium-containing transition metal phosphor oxide, and among them, one represented by the following formula (MC) is also preferable. Li e M 3 (PO 4 ) f ... (MC)
  • e 0 to 2, preferably 0.1 to 1.15, and more preferably 0.5 to 1.5.
  • f represents 1 to 5, and preferably 0.5 to 2.
  • the M 3 represents one or more elements selected from V, Ti, Cr, Mn, Fe, Co, Ni, and Cu.
  • the M 3 are, in addition to the mixing element M b above, Ti, Cr, Zn, Zr, may be substituted by other metals such as Nb.
  • Specific examples include, for example, olivine-type iron phosphates such as LiFePO 4 and Li 3 Fe 2 (PO 4 ) 3 , iron pyrophosphates such as LiFeP 2 O 7 , cobalt phosphates such as LiCoPO 4 , and Li 3.
  • Monoclinic Nasicon type vanadium phosphate salts such as V 2 (PO 4 ) 3 (lithium vanadium phosphate) can be mentioned.
  • the a, c, g, m, and e values representing the composition of Li are values that change due to charge and discharge, and are typically evaluated as values in a stable state when Li is contained.
  • the composition of Li is shown as a specific value, but this also varies depending on the operation of the battery.
  • a positive electrode active material containing an element selected from Ni, Mn, and Co is preferably used, and a positive electrode active material containing Ni and / or Mn atoms is more preferably used. It is preferable to use a positive electrode active material containing both Ni and Mn atoms.
  • Specific examples of particularly preferable positive electrode active materials include the following.
  • the positive electrode active material is preferably a material that can maintain normal use at a positive electrode potential (Li / Li + standard) of 3.5 V or higher, more preferably 3.8 V or higher, and more preferably 4 V or higher. More preferably, it is more preferably 4.25V or more, and further preferably 4.3V or more. Although there is no upper limit in particular, it is practical that it is 5V or less. By setting it as the above range, cycle characteristics and high rate discharge characteristics can be improved.
  • being able to maintain normal use means that even when charging is performed at that voltage, the electrode material does not deteriorate and cannot be used, and this potential is also referred to as a normal usable potential.
  • positive electrode potential (negative electrode potential) + (battery voltage).
  • the negative electrode potential is 1.55V.
  • graphite is used as the negative electrode, the negative electrode potential is 0.1V. The battery voltage is observed during charging and the positive electrode potential is calculated.
  • the non-aqueous electrolyte of the present invention is particularly preferably used in combination with a positive electrode active material that can be used up to a high potential.
  • a positive electrode active material that can be used up to a high potential.
  • the cycle characteristics usually tend to be greatly reduced.
  • the nonaqueous electrolytic solution of the present invention can maintain good performance with this reduction suppressed. This is also an advantage according to a preferred embodiment of the present invention.
  • the average particle diameter of the positive electrode active material used is not particularly limited, but is preferably 0.1 ⁇ m to 50 ⁇ m.
  • the specific surface area is not particularly limited, but is preferably 0.01 m 2 / g to 50 m 2 / g by the BET method.
  • the pH of the supernatant when 5 g of the positive electrode active material is dissolved in 100 ml of distilled water is preferably 7 or more and 12 or less.
  • the positive electrode active material have a predetermined particle size
  • a well-known pulverizer or classifier is used.
  • a mortar, a ball mill, a vibration ball mill, a vibration mill, a satellite ball mill, a planetary ball mill, a swirling air flow type jet mill, a sieve, or the like is used.
  • the positive electrode active material obtained by the above firing method may be used after washing with water, an acidic aqueous solution, an alkaline aqueous solution, or an organic solvent.
  • the coating means that a metal derivative is present on the surface of the active material, and typically indicates that the metal derivative is present in an attached or bonded state. However, the metal derivative is partially included in the active material. Also good.
  • a metal derivative different from the metal contained in the active material is preferable.
  • an active material containing Ni and / or Mn and / or Co is preferable. From this viewpoint, as the metal derivative different from the active material component, a metal derivative containing no Ni, Mn, or Co is preferable.
  • Zr, Mg, Ti, Hf, V, Zn, Si, B, and Al are preferable as the metal species of the metal derivative.
  • the identification of these metal species can be detected by analysis using energy dispersive X-ray analysis (EDS), X-ray photoelectron spectroscopy (XPS), electron backscatter diffraction (EBSD), or the like.
  • EDS energy dispersive X-ray analysis
  • XPS X-ray photoelectron spectroscopy
  • EBSD electron backscatter diffraction
  • the metal derivative, the metal of the metal oxide or a lithium salt is preferable, MgO, ZrO 2, Al 2 O 3, TiO 2, ZnO, it is SiO 2, B 2 O 3 are particularly preferred.
  • These metal derivatives may be coated alone or may be bonded to the active material. When binding to the active material, the metal species are preferably bonded to the active material via an oxygen atom.
  • a metal derivative and / or a precursor of the metal derivative is attached to the active material surface.
  • a method for adhesion a method in which a precursor solution of a metal derivative is mixed with an active material and heated as necessary, and a method in which a precursor of the metal derivative or a vapor of the solution is brought into contact with the active material are preferable.
  • the metal derivative precursor is preferably a metal complex such as a metal alkoxide, metal acylate, or metallocene compound.
  • the mixing mass ratio of the positive electrode active material and the metal derivative or metal derivative precursor is 0.01 parts to 20 parts, preferably 0.1 parts to 10 parts by mass ratio of the metal derivative or metal derivative precursor to 100 parts of the positive electrode active material. Part, more preferably 1 part to 7 parts.
  • the metal derivative layer is provided on the positive electrode active material layer
  • the solvent when contained in the precursor composition of the metal derivative, it is preferably removed by heating at a normal pressure or a reduced pressure as necessary. Then, it is preferable to heat at a higher temperature to bond the active material more firmly.
  • the heating temperature is preferably from 100 ° C to 1000 ° C, more preferably from 200 to 800 ° C, even more preferably from 300 to 700 ° C, particularly preferably from 300 to 500 ° C.
  • water, acid, base or the like may be introduced. As a result, the reaction is promoted, and the active material and the metal derivative are bonded more firmly.
  • the average thickness of the metal derivative coating layer is preferably 500 nm or less, more preferably 200 nm or less, still more preferably 100 nm or less, and particularly preferably 50 nm or less.
  • the lower limit is preferably 1 nm or more, and more preferably 5 nm or more.
  • the compounding amount of the positive electrode active material composite is not particularly limited, but may be 60 to 98% by mass in 100% by mass of the solid component in the dispersion (mixture) for constituting the layer of the positive electrode active material composite. Preferably, it is 70 to 95% by mass.
  • Negative electrode active material As the negative electrode active material, those capable of reversibly inserting and releasing lithium ions are preferable, and there is no particular limitation. Carbonaceous materials, metal oxides such as tin oxide and silicon oxide, metal composite oxides, lithium Examples thereof include a single alloy and a lithium alloy such as a lithium aluminum alloy and a metal capable of forming an alloy with lithium such as Sn or Si.
  • carbonaceous materials or lithium composite oxides are preferably used from the viewpoint of reliability.
  • the metal composite oxide is preferably capable of occluding and releasing lithium, and preferably contains titanium and / or lithium as a constituent component from the viewpoint of high current density charge / discharge characteristics.
  • the carbonaceous material used as the negative electrode active material is a material substantially made of carbon.
  • Examples thereof include carbonaceous materials obtained by baking various synthetic resins such as artificial pitches such as petroleum pitch, natural graphite, and vapor-grown graphite, and PAN-based resins and furfuryl alcohol resins.
  • various carbon fibers such as PAN-based carbon fiber, cellulose-based carbon fiber, pitch-based carbon fiber, vapor-grown carbon fiber, dehydrated PVA-based carbon fiber, lignin carbon fiber, glassy carbon fiber, activated carbon fiber, mesophase micro
  • Examples thereof include spheres, graphite whiskers, and flat graphite.
  • carbonaceous materials can be divided into non-graphitizable carbon materials and graphite-based carbon materials depending on the degree of graphitization.
  • the carbonaceous material preferably has a face spacing, density, and crystallite size described in JP-A-62-222066, JP-A-2-6856, and 3-45473.
  • the carbonaceous material does not have to be a single material, and a mixture of natural graphite and artificial graphite described in JP-A-5-90844, graphite having a coating layer described in JP-A-6-4516, or the like is used. You can also.
  • the metal oxide and the metal composite oxide which are the negative electrode active materials used in the nonaqueous secondary battery of the present invention, contain at least one of them.
  • amorphous oxide is particularly preferable, and chalcogenite, which is a reaction product of a metal element and an element of Group 16 of the periodic table, is also preferably used.
  • chalcogenite which is a reaction product of a metal element and an element of Group 16 of the periodic table.
  • amorphous as used herein means an X-ray diffraction method using CuK ⁇ rays, which has a broad scattering band having a peak in the region of 20 ° to 40 ° in terms of 2 ⁇ , and is a crystalline diffraction line. You may have.
  • the strongest intensity of crystalline diffraction lines seen from 2 ° to 40 ° to 70 ° is 100 times the diffraction line intensity at the peak of the broad scattering band seen from 2 ° to 20 °. It is preferable that it is 5 times or less, and it is particularly preferable not to have a crystalline diffraction line.
  • amorphous metal oxides and chalcogenides are more preferable, and elements in groups 13 (IIIB) to 15 (VB) of the periodic table are preferable.
  • oxides and chalcogenides composed of one kind of Al, Ga, Si, Sn, Ge, Pb, Sb, Bi or a combination of two or more kinds thereof.
  • preferable amorphous oxides and chalcogenides include, for example, Ga 2 O 3 , SiO, GeO, SnO, SnO 2 , PbO, PbO 2 , Pb 2 O 3 , Pb 2 O 4 , Pb 3 O 4 , Sb 2 O 3 , Sb 2 O 4 , Sb 2 O 5 , Bi 2 O 3 , Bi 2 O 4 , SnSiO 3 , GeS, SnS, SnS 2 , PbS, PbS 2 , Sb 2 S 3 , Sb 2 S 5 , such as SnSiS 3 may preferably be mentioned. Moreover, these may be a complex oxide with lithium oxide, for example, Li 2 SnO 2 .
  • the negative electrode active material used preferably has an average particle size of 0.1 ⁇ m to 60 ⁇ m.
  • a well-known pulverizer or classifier is used.
  • a mortar, a ball mill, a sand mill, a vibrating ball mill, a satellite ball mill, a planetary ball mill, a swirling air flow type jet mill or a sieve is preferably used.
  • wet pulverization in the presence of water or an organic solvent such as methanol can be performed as necessary.
  • classification is preferably performed.
  • the classification method is not particularly limited, and a sieve, an air classifier, or the like can be used as necessary. Classification can be used both dry and wet.
  • the chemical formula of the compound obtained by the above firing method can be calculated from an inductively coupled plasma (ICP) emission spectroscopic analysis method as a measurement method, and from a mass difference between powders before and after firing as a simple method.
  • ICP inductively coupled plasma
  • the negative electrode active material that can be used in combination with the amorphous oxide negative electrode active material centering on Sn, Si, Ge, a carbon material capable of inserting and extracting lithium ions or lithium metal, lithium
  • Preferred examples include lithium alloys and metals that can form alloys with lithium.
  • the electrolyte of the present invention is preferably combined with a high potential negative electrode (preferably lithium / titanium oxide, a potential of 1.55 V vs. Li metal) and a low potential negative electrode (preferably a carbon material, a silicon-containing material, a potential of about 0). Excellent properties are exhibited in any combination with .1V vs. Li metal.
  • a high potential negative electrode preferably lithium / titanium oxide, a potential of 1.55 V vs. Li metal
  • a low potential negative electrode preferably a carbon material, a silicon-containing material, a potential of about 0. Excellent properties are exhibited in any combination with .1V vs. Li metal.
  • metal or metal oxide negative electrodes preferably Si, Si oxide, Si / Si oxide, Sn, Sn oxide, SnB x P y O z , Cu, which can be alloyed with lithium, which are being developed for higher capacity
  • metal or metal oxide negative electrodes preferably Si, Si oxide, Si / Si oxide, Sn, Sn oxide, SnB x P y O z , Cu, which can be alloyed with lithium, which are being developed for higher capacity
  • a negative electrode active material containing at least one selected from carbon, Si, titanium, and tin.
  • the nonaqueous electrolytic solution of the present invention is particularly preferably used in combination with a negative electrode suitable for high potential use.
  • the high potential negative electrode is often used in combination with the above high potential positive electrode, and can be suitably adapted to large capacity charge / discharge.
  • the conductive material is preferably an electron conductive material that does not cause a chemical change in the configured secondary battery, and a known conductive material can be arbitrarily used.
  • natural graphite scale-like graphite, scale-like graphite, earth-like graphite, etc.
  • artificial graphite carbon black, acetylene black, ketjen black, carbon fiber and metal powder (copper, nickel, aluminum, silver (Japanese Patent Laid-Open No. Sho 63-63)) 10148,554), etc.
  • metal fibers or polyphenylene derivatives (described in JP-A-59-20971) can be contained as one kind or a mixture thereof.
  • the addition amount of the conductive agent is preferably 11 to 50% by mass, and more preferably 2 to 30% by mass. In the case of carbon or graphite, 2 to 15% by mass is particularly preferable.
  • binders include polysaccharides, thermoplastic resins, and polymers having rubber elasticity. Among them, for example, starch, carboxymethyl cellulose, cellulose, diacetyl cellulose, methyl cellulose, hydroxyethyl cellulose, hydroxypropyl cellulose.
  • Water-soluble such as sodium alginate, polyacrylic acid, sodium polyacrylate, polyvinylphenol, polyvinyl methyl ether, polyvinyl alcohol, polyvinylpyrrolidone, polyacrylonitrile, polyacrylamide, polyhydroxy (meth) acrylate, styrene-maleic acid copolymer Polymer, polyvinyl chloride, polytetrafluoroethylene, polyvinylidene fluoride, tetrafluoroethylene-hexafluoropropylene copolymer, vinyl Redene fluoride-tetrafluoroethylene-hexafluoropropylene copolymer, polyethylene, polypropylene, ethylene-propylene-diene-polymer (EPDM), sulfonated EPDM, polyvinyl acetal resin, methyl methacrylate, 2-ethylhexyl acrylate, etc.
  • EPDM ethylene-propylene-diene-polymer
  • Binders can be used alone or in combination of two or more.
  • the amount of the binder added is small, the holding power and cohesive force of the electrode mixture are weakened. If the amount is too large, the electrode volume increases and the capacity per electrode unit volume or unit mass decreases. For this reason, the addition amount of the binder is preferably 1 to 30% by mass, and more preferably 2 to 10% by mass.
  • the electrode compound material may contain the filler.
  • the material forming the filler is preferably a fibrous material that does not cause a chemical change in the secondary battery of the present invention.
  • fibrous fillers made of materials such as olefin polymers such as polypropylene and polyethylene, glass, and carbon are used.
  • the addition amount of the filler is not particularly limited, but is preferably 0 to 30% by mass in the dispersion.
  • the positive / negative electrode current collector an electron conductor that does not cause a chemical change in the nonaqueous electrolyte secondary battery of the present invention is used.
  • the current collector of the positive electrode in addition to aluminum, stainless steel, nickel, titanium, etc., the surface of aluminum or stainless steel is preferably treated with carbon, nickel, titanium, or silver. Among them, aluminum and aluminum alloys are preferable. More preferred.
  • the negative electrode current collector aluminum, copper, stainless steel, nickel and titanium are preferable, and aluminum, copper and copper alloy are more preferable.
  • a film sheet shape is usually used, but a net, a punched material, a lath body, a porous body, a foamed body, a molded body of a fiber group, and the like can also be used.
  • the thickness of the current collector is not particularly limited, but is preferably 1 ⁇ m to 500 ⁇ m.
  • the current collector surface is roughened by surface treatment.
  • An electrode mixture of the lithium secondary battery is formed by a member appropriately selected from these materials.
  • the separator used in the non-aqueous secondary battery of the present invention is made of a material that mechanically insulates the positive electrode and the negative electrode, has ion permeability, and has oxidation / reduction resistance at the contact surface between the positive electrode and the negative electrode.
  • a material a porous polymer material, an inorganic material, an organic-inorganic hybrid material, glass fiber, or the like is used.
  • These separators preferably have a shutdown function for ensuring reliability, that is, a function of closing a gap at 80 ° C. or higher to increase resistance and blocking current, and a closing temperature is 90 ° C. or higher and 180 ° C. or lower. It is preferable.
  • the shape of the holes of the separator is usually circular or elliptical, and the size is 0.05 ⁇ m to 30 ⁇ m, preferably 0.1 ⁇ m to 20 ⁇ m. Furthermore, it may be a rod-like or irregular-shaped hole as in the case of making by a stretching method or a phase separation method.
  • the ratio of these gaps, that is, the porosity, is 20% to 90%, preferably 35% to 80%.
  • the polymer material may be a single material such as a cellulose nonwoven fabric, polyethylene, or polypropylene, or may be a material using two or more composite materials. What laminated
  • oxides such as alumina and silicon dioxide, nitrides such as aluminum nitride and silicon nitride, and sulfates such as barium sulfate and calcium sulfate are used, and those having a particle shape or fiber shape are used.
  • a thin film shape such as a non-woven fabric, a woven fabric, or a microporous film is used.
  • the thin film shape those having a pore diameter of 0.01 ⁇ m to 1 ⁇ m and a thickness of 5 ⁇ m to 50 ⁇ m are preferably used.
  • a separator formed by forming a composite porous layer containing the inorganic particles on the surface layer of the positive electrode and / or the negative electrode using a resin binder can be used.
  • alumina particles having a 90% particle diameter of less than 1 ⁇ m are formed on both surfaces of the positive electrode as a porous layer using a fluororesin binder.
  • the shape of the nonaqueous secondary battery of the present invention can be applied to any shape such as a sheet shape, a square shape, and a cylinder shape.
  • a positive electrode active material or a mixture of negative electrode active materials is mainly used after being applied (coated), dried and compressed on a current collector.
  • FIG. 2 shows an example of a bottomed cylindrical lithium secondary battery 100.
  • This battery is a bottomed cylindrical lithium secondary battery 100 in which a positive electrode sheet 14 and a negative electrode sheet 16 overlapped with a separator 12 are wound and accommodated in an outer can 18.
  • 20 is an insulating plate
  • 22 is a sealing plate
  • 24 is a positive electrode current collector
  • 26 is a gasket
  • 28 is a pressure sensitive valve body
  • 30 is a current interruption element.
  • each member corresponds to the whole drawing by reference numerals.
  • a negative electrode active material is mixed with a binder or filler used as desired in an organic solvent to prepare a slurry or paste negative electrode mixture.
  • the obtained negative electrode mixture is uniformly applied over the entire surface of both surfaces of the metal core as a current collector, and then the organic solvent is removed to form a negative electrode mixture layer.
  • the laminate of the current collector and the negative electrode composite material layer is rolled with a roll press or the like to prepare a predetermined thickness to obtain a negative electrode sheet (electrode sheet).
  • the coating method of each agent, the drying of the coated material, and the method of forming the positive and negative electrodes may be in accordance with conventional methods.
  • a cylindrical battery is taken as an example, but the present invention is not limited to this, for example, after the positive and negative electrode sheets produced by the above method are overlapped via a separator, After processing into a sheet battery as it is, or inserting it into a rectangular can after being folded and electrically connecting the can and the sheet, injecting an electrolyte and sealing the opening using a sealing plate A square battery may be formed.
  • the safety valve can be used as a sealing plate for sealing the opening.
  • the sealing member may be provided with various conventionally known safety elements.
  • a fuse, bimetal, PTC element, or the like is preferably used as the overcurrent prevention element.
  • a method of cutting the battery can a method of cracking the gasket, a method of cracking the sealing plate, or a method of cutting the lead plate can be used.
  • the charger may be provided with a protection circuit incorporating measures against overcharge and overdischarge, or may be connected independently.
  • a metal or alloy having electrical conductivity can be used.
  • metals such as iron, nickel, titanium, chromium, molybdenum, copper, and aluminum, or alloys thereof are preferably used.
  • a known method eg, direct current or alternating current electric welding, laser welding, ultrasonic welding
  • a welding method for the cap, can, sheet, and lead plate can be used as a welding method for the cap, can, sheet, and lead plate.
  • the sealing agent for sealing a conventionally known compound or mixture such as asphalt can be used.
  • Secondary batteries called lithium batteries are secondary batteries that use the insertion and extraction of lithium for charge / discharge reactions (lithium ion secondary batteries), and secondary batteries that use precipitation and dissolution of lithium (lithium metal secondary batteries). ).
  • lithium ion secondary batteries secondary batteries that use the insertion and extraction of lithium for charge / discharge reactions
  • lithium metal secondary batteries secondary batteries that use precipitation and dissolution of lithium
  • application as a lithium ion secondary battery is preferable. Since the nonaqueous secondary battery of the present invention can produce a secondary battery with good cycle performance, it is applied to various applications.
  • a notebook computer when installed in an electronic device, a notebook computer, a pen input personal computer, a mobile personal computer, an electronic book player, a mobile phone, a cordless phone, a pager, a handy terminal, a mobile fax machine, a mobile phone Copy, portable printer, headphone stereo, video movie, LCD TV, handy cleaner, portable CD, minidisc, electric shaver, transceiver, electronic notebook, calculator, memory card, portable tape recorder, radio, backup power supply, memory card, etc. It is done.
  • Other consumer products include automobiles, electric vehicles, motors, lighting equipment, toys, game equipment, road conditioners, watches, strobes, cameras, medical equipment (such as pacemakers, hearing aids, and shoulder grinders). Furthermore, it can be used for various military use and space use. Moreover, it can also combine with a solar cell.
  • Example 1 and Comparative Example 1> ⁇ Creation of positive electrode active material composite> ⁇ Creation example 1> Zirconium tetra-n-butoxide was mixed in 100 parts by mass of the positive electrode active material LiCoO 2 powder so as to be 2 parts by mass in a 1-butanol solution and reacted at room temperature for 2 hours. Butanol was distilled off under reduced pressure under heating, and the resulting solid was heated at 400 ° C. for 1 hour to obtain LiCoO 2 (LCO-1) coated with zirconium oxide.
  • LCO-1 LiCoO 2
  • the lithium titanate solethanol solution was added to 100 parts by mass of the positive electrode active material LiCoO 2 powder so that the lithium titanate was 1 part by mass, and the mixture was reacted at room temperature for 2 hours.
  • Ethanol was distilled off from the reaction solution under reduced pressure, and the resulting solid was heated at 350 ° C. for 30 minutes to obtain LiCoO 2 (LCO-4) coated with lithium titanate.
  • ⁇ Creation example 6> Covered with zirconium oxide in the same manner as in Preparation Example 1 except that the positive electrode active material was LiNi 1/3 Mn 1/3 Co 1/3 O 2 and zirconium tetra-n-butoxide was changed to 1% by mass with respect to the positive electrode active material. LiNi 1/3 Mn 1/3 Co 1/3 O 2 (NMC-1) was obtained.
  • ⁇ Creation example 7> Covered with zirconium oxide in the same manner as in Preparation Example 1 except that the positive electrode active material was LiNi 1/3 Mn 1/3 Co 1/3 O 2 and zirconium tetra-n-butoxide was changed to 5% by mass with respect to the positive electrode active material. LiNi 1/3 Mn 1/3 Co 1/3 O 2 (NMC-2) was obtained.
  • Example 8 LiNi 1/3 Mn 1/3 Co 1/3 O 2 coated with titanium oxide in the same manner as in Preparation Example 2 except that the positive electrode active material was LiNi 1/3 Mn 1/3 Co 1/3 O 2 (NMC-3) was obtained.
  • the flame retardancy of the prepared electrolyte was evaluated as follows at 25 ° C. in the atmosphere. The following test system was used for evaluation with reference to the UL-94HB horizontal combustion test. A glass filter paper (ADVANTEC GA-100) having a width of 13 mm and a length of 110 mm was cut out, and 1.5 ml of the prepared electrolyte was evenly dropped onto the glass filter paper. After the electrolyte solution was sufficiently infiltrated into the glass filter paper, the excess electrolyte solution was wiped and hung so as to be horizontal. The butane gas burner adjusted to a total flame length of 2 cm ignites for 3 seconds from the position where it touches the tip of the glass filter paper.
  • the arrival time was evaluated as follows. The time for the flame to reach from the ignition point to the other end of the electrolyte solution to which no additive was added was less than 5 seconds. 5 ... Ignition was not seen and it was nonflammable. 4 ... I ignited but immediately extinguished 3 . I ignited but extinguished before the flame reached from the ignition point to the other end 2 ... Time to reach the flame from the ignition point to the other end 10 seconds In the above, the combustion suppression effect is seen, but the level which does not lead to non-flammability and flame extinguishing 1... The flame reaches from the ignition point to the other end in less than 10 seconds and there is no combustion suppression effect.
  • Cathode active material active material described in Table 1 or coated active material 85% by mass, conductive additive: carbon black 7.5% by mass, binder: PVDF 7.5% by mass, negative electrode is active material: graphite It was prepared with 85% by mass, conductive assistant: 7.5% by mass of carbon black, and binder: 7.5% by mass of PVDF.
  • the separator is a polypropylene porous membrane having a thickness of 24 ⁇ m.
  • a 2032 type coin battery (1) was prepared using the above-described positive and negative electrodes and separator, and each of the prepared test electrolytes.
  • 1C represents a current value for discharging or charging the battery capacity in one hour
  • 0.2C represents 0.2 times
  • 0.5C represents 0.5 times
  • 2C represents twice the current value.
  • the capacity tends to deteriorate.
  • the capacity is likely to deteriorate, and a low temperature large current discharge combining the two becomes a more severe condition.
  • the temperature in the cycle test is also important. When charging and discharging are repeated at a high temperature, the oxidation-reduction decomposition of the electrolytic solution component is accelerated and the resistance is likely to increase.
  • the upper limit of the time was 2 hours.
  • the battery was subjected to 2C constant current discharge in a 10 ° C constant temperature bath until the battery voltage reached 2.75 V, and the 10 ° C / 2C discharge capacity (III) after the cycle test was measured.
  • Discharge capacity maintenance ratio after cycle test (II) / (I)
  • Low-temperature, large-current discharge capacity retention rate after cycle test (III) / (I)
  • the obtained discharge capacity retention rate was evaluated as follows. The larger the value, the higher the capacity is maintained even under severe test conditions.
  • Solvent EC Ethylene carbonate
  • EMC Ethyl methyl carbonate
  • DMC Dimethyl carbonate
  • GBL ⁇ -Butyrolactone
  • PC Propylene carbonate
  • FEC Fluoroethylene carbonate SN: Succinonitrile
  • TAB t-amylbenzene
  • Electrolytic solutions for each test were prepared by adding 1% by mass to the electrolytic solution and 2% by mass of t-amylbenzene with respect to the total electrolytic solution. All the prepared electrolyte solutions had a viscosity at 25 ° C. of 5 mPa ⁇ s or less, and the moisture content measured by the Karl Fischer method (JISK0113) was 20 ppm (mass basis) or less.
  • the separator is made of polypropylene and has a thickness of 25 ⁇ m. Using the positive and negative electrodes and the separator, a 2032 type coin battery (2) was produced.
  • the obtained discharge capacity retention rate was evaluated as follows. The larger the value, the higher the capacity is maintained even under severe test conditions.
  • the electrolytic solution of the present invention By using the electrolytic solution of the present invention, it is possible to suppress the capacity deterioration even under severe conditions such as low-temperature and large-current discharge, and to obtain an excellent effect of achieving both a combustion suppression effect.
  • the secondary battery in which LTO suitable for large current discharge is applied to the negative electrode active material also shows good performance.
  • a positive electrode used at a potential of 4.5 V or more such as lithium nickel manganate, or a battery using a Si-containing negative electrode or a tin-containing negative electrode expected to have a higher capacity than a carbon negative electrode. It can be assumed that an excellent effect is exhibited.
  • an active material composite in which zirconium oxide coated on the electrode was coated in place of magnesium oxide, hafnium oxide, vanadium oxide, and zinc oxide was used.
  • the same item a flame retardance, a discharge capacity maintenance factor, a low-temperature, large current discharge capacity maintenance factor
  • Any oxide coating was performed using alkoxide of each metal as a raw material.

Landscapes

  • Chemical & Material Sciences (AREA)
  • Chemical Kinetics & Catalysis (AREA)
  • Electrochemistry (AREA)
  • General Chemical & Material Sciences (AREA)
  • Engineering & Computer Science (AREA)
  • Manufacturing & Machinery (AREA)
  • Composite Materials (AREA)
  • Secondary Cells (AREA)
  • Materials Engineering (AREA)
  • Physics & Mathematics (AREA)
  • Condensed Matter Physics & Semiconductors (AREA)
  • General Physics & Mathematics (AREA)
  • Inorganic Chemistry (AREA)
  • Battery Electrode And Active Subsutance (AREA)
PCT/JP2014/069853 2013-07-29 2014-07-28 非水二次電池 Ceased WO2015016190A1 (ja)

Applications Claiming Priority (2)

Application Number Priority Date Filing Date Title
JP2013157184A JP6047458B2 (ja) 2013-07-29 2013-07-29 非水二次電池
JP2013-157184 2013-07-29

Publications (1)

Publication Number Publication Date
WO2015016190A1 true WO2015016190A1 (ja) 2015-02-05

Family

ID=52431723

Family Applications (1)

Application Number Title Priority Date Filing Date
PCT/JP2014/069853 Ceased WO2015016190A1 (ja) 2013-07-29 2014-07-28 非水二次電池

Country Status (2)

Country Link
JP (1) JP6047458B2 (enExample)
WO (1) WO2015016190A1 (enExample)

Cited By (6)

* Cited by examiner, † Cited by third party
Publication number Priority date Publication date Assignee Title
JP2017160107A (ja) * 2016-03-08 2017-09-14 日本化学工業株式会社 リン酸バナジウムリチウムの製造方法
WO2017154690A1 (ja) * 2016-03-08 2017-09-14 日本化学工業株式会社 リン酸バナジウムリチウムの製造方法
JPWO2020203871A1 (enExample) * 2019-03-29 2020-10-08
US20220158186A1 (en) * 2019-08-06 2022-05-19 Murata Manufacturing Co., Ltd. Positive electrode active material, positive electrode, and secondary battery
CN114902449A (zh) * 2020-01-31 2022-08-12 株式会社村田制作所 二次电池用正极活性物质、二次电池用正极及二次电池
US11554968B2 (en) 2019-09-11 2023-01-17 Nippon Chemical Industrial Co., Ltd. Positive electrode active substance for lithium secondary battery and lithium secondary battery

Families Citing this family (3)

* Cited by examiner, † Cited by third party
Publication number Priority date Publication date Assignee Title
JP6578189B2 (ja) * 2015-11-09 2019-09-18 マクセルホールディングス株式会社 非水二次電池用正極材料及びその製造方法、並びにその非水二次電池用正極材料を用いた非水二次電池用正極及びそれを用いた非水二次電池
JP7030865B2 (ja) * 2019-09-11 2022-03-07 日本化学工業株式会社 リチウム二次電池用正極活物質の製造方法
CN112018446B (zh) * 2020-09-27 2022-07-01 珠海冠宇电池股份有限公司 一种适用于硅碳体系锂离子电池的电解液

Citations (4)

* Cited by examiner, † Cited by third party
Publication number Priority date Publication date Assignee Title
JP2006351379A (ja) * 2005-06-16 2006-12-28 Matsushita Electric Ind Co Ltd リチウムイオン二次電池
JP2008533650A (ja) * 2004-12-16 2008-08-21 ユーシカゴ アーゴン リミテッド ライアビリティ カンパニー 安定化された電極を備える、長寿命リチウム電池
JP2012059404A (ja) * 2010-09-06 2012-03-22 Ntt Facilities Inc 非水電解液電池
WO2013047342A1 (ja) * 2011-09-26 2013-04-04 富士フイルム株式会社 非水二次電池用電解液及び二次電池

Family Cites Families (8)

* Cited by examiner, † Cited by third party
Publication number Priority date Publication date Assignee Title
JP5680468B2 (ja) * 2010-09-22 2015-03-04 富士フイルム株式会社 非水二次電池用電解液及びリチウム二次電池
US9406972B2 (en) * 2012-05-04 2016-08-02 Samsung Sdi Co., Ltd. Flame retardant monosubstituted pentafluorocyclotriphosphazene electrolyte additive and electrolyte including the same and rechargeable lithium battery including the same
JP5801765B2 (ja) * 2012-06-20 2015-10-28 富士フイルム株式会社 非水二次電池用電解液および非水電解液二次電池
JP5902047B2 (ja) * 2012-06-20 2016-04-13 富士フイルム株式会社 非水二次電池用電解液および非水電解液二次電池
JP2014078433A (ja) * 2012-10-11 2014-05-01 Fujifilm Corp 非水二次電池用電解液および非水電解液二次電池
JP2014078434A (ja) * 2012-10-11 2014-05-01 Fujifilm Corp 非水電解液二次電池
KR101733738B1 (ko) * 2013-01-16 2017-05-10 삼성에스디아이 주식회사 리튬 이차 전지용 전해액 및 이를 포함하는 리튬 이차 전지
WO2015016187A1 (ja) * 2013-07-29 2015-02-05 富士フイルム株式会社 非水二次電池用電解液および非水二次電池

Patent Citations (4)

* Cited by examiner, † Cited by third party
Publication number Priority date Publication date Assignee Title
JP2008533650A (ja) * 2004-12-16 2008-08-21 ユーシカゴ アーゴン リミテッド ライアビリティ カンパニー 安定化された電極を備える、長寿命リチウム電池
JP2006351379A (ja) * 2005-06-16 2006-12-28 Matsushita Electric Ind Co Ltd リチウムイオン二次電池
JP2012059404A (ja) * 2010-09-06 2012-03-22 Ntt Facilities Inc 非水電解液電池
WO2013047342A1 (ja) * 2011-09-26 2013-04-04 富士フイルム株式会社 非水二次電池用電解液及び二次電池

Cited By (10)

* Cited by examiner, † Cited by third party
Publication number Priority date Publication date Assignee Title
JP2017160107A (ja) * 2016-03-08 2017-09-14 日本化学工業株式会社 リン酸バナジウムリチウムの製造方法
WO2017154690A1 (ja) * 2016-03-08 2017-09-14 日本化学工業株式会社 リン酸バナジウムリチウムの製造方法
CN108778990A (zh) * 2016-03-08 2018-11-09 日本化学工业株式会社 磷酸钒锂的制造方法
JPWO2020203871A1 (enExample) * 2019-03-29 2020-10-08
WO2020203871A1 (ja) * 2019-03-29 2020-10-08 日本ゼオン株式会社 電気化学デバイス用電解質組成物および電気化学デバイス
JP7619259B2 (ja) 2019-03-29 2025-01-22 日本ゼオン株式会社 電気化学デバイス用電解質組成物および電気化学デバイス
US20220158186A1 (en) * 2019-08-06 2022-05-19 Murata Manufacturing Co., Ltd. Positive electrode active material, positive electrode, and secondary battery
US11554968B2 (en) 2019-09-11 2023-01-17 Nippon Chemical Industrial Co., Ltd. Positive electrode active substance for lithium secondary battery and lithium secondary battery
CN114902449A (zh) * 2020-01-31 2022-08-12 株式会社村田制作所 二次电池用正极活性物质、二次电池用正极及二次电池
CN114902449B (zh) * 2020-01-31 2024-05-07 株式会社村田制作所 二次电池用正极活性物质、二次电池用正极及二次电池

Also Published As

Publication number Publication date
JP2015026588A (ja) 2015-02-05
JP6047458B2 (ja) 2016-12-21

Similar Documents

Publication Publication Date Title
JP5992345B2 (ja) 非水二次電池および非水二次電池用電解液
JP6376709B2 (ja) 非水二次電池用電解液および非水二次電池、これらに用いられる添加剤
JP6047458B2 (ja) 非水二次電池
JP6071600B2 (ja) 非水二次電池用電解液および非水二次電池、電解液用添加剤
JP2014127354A (ja) 非水二次電池用電解液および非水二次電池、電解液用添加剤
JP5902034B2 (ja) 非水二次電池用電解液および非水二次電池
JP6154145B2 (ja) 非水二次電池用電解液および非水二次電池
JP6238411B2 (ja) 非水二次電池用電解液および非水二次電池
CN105393397B (zh) 非水电解液及非水二次电池
WO2015016187A1 (ja) 非水二次電池用電解液および非水二次電池
JP2015026589A (ja) 非水二次電池用電解液および非水二次電池
JP2015018667A (ja) 非水二次電池用電解液、非水二次電池及び非水電解液用添加剤
WO2014046283A1 (ja) 非水二次電池用電解液および非水二次電池
JP2016162523A (ja) 非水二次電池用電解液および非水二次電池
JPWO2018135395A1 (ja) 非水二次電池用電解液、非水二次電池及び金属錯体
JP2014013719A (ja) 非水二次電池用電解液及び二次電池
JP2014063668A (ja) 非水二次電池用電解液及び二次電池
JP6150987B2 (ja) 非水二次電池用電解液及び二次電池
JP6391028B2 (ja) 電解液、リチウムイオン電池およびリチウムイオンキャパシタ
JP2014192153A (ja) 非水二次電池用電解液、非水二次電池及び非水電解液用添加剤
JPWO2018016444A1 (ja) 非水二次電池用電解液および非水二次電池
WO2014156428A1 (ja) 非水二次電池用電解液及び非水二次電池
WO2016006404A1 (ja) 非水二次電池用電解液および非水二次電池、これらに用いられる添加剤
JP2015026587A (ja) 非水二次電池用電解液、非水二次電池電解液用添加剤及び非水二次電池

Legal Events

Date Code Title Description
121 Ep: the epo has been informed by wipo that ep was designated in this application

Ref document number: 14832639

Country of ref document: EP

Kind code of ref document: A1

NENP Non-entry into the national phase

Ref country code: DE

122 Ep: pct application non-entry in european phase

Ref document number: 14832639

Country of ref document: EP

Kind code of ref document: A1