WO2014196214A1 - インペラ、回転機械、および、回転機械の組立方法 - Google Patents

インペラ、回転機械、および、回転機械の組立方法 Download PDF

Info

Publication number
WO2014196214A1
WO2014196214A1 PCT/JP2014/050444 JP2014050444W WO2014196214A1 WO 2014196214 A1 WO2014196214 A1 WO 2014196214A1 JP 2014050444 W JP2014050444 W JP 2014050444W WO 2014196214 A1 WO2014196214 A1 WO 2014196214A1
Authority
WO
WIPO (PCT)
Prior art keywords
impeller
reinforcing member
main body
attaching
grip
Prior art date
Legal status (The legal status is an assumption and is not a legal conclusion. Google has not performed a legal analysis and makes no representation as to the accuracy of the status listed.)
Ceased
Application number
PCT/JP2014/050444
Other languages
English (en)
French (fr)
Japanese (ja)
Inventor
信頼 八木
大輔 平田
Current Assignee (The listed assignees may be inaccurate. Google has not performed a legal analysis and makes no representation or warranty as to the accuracy of the list.)
Mitsubishi Heavy Industries Ltd
Mitsubishi Heavy Industries Compressor Corp
Original Assignee
Mitsubishi Heavy Industries Ltd
Mitsubishi Heavy Industries Compressor Corp
Priority date (The priority date is an assumption and is not a legal conclusion. Google has not performed a legal analysis and makes no representation as to the accuracy of the date listed.)
Filing date
Publication date
Application filed by Mitsubishi Heavy Industries Ltd, Mitsubishi Heavy Industries Compressor Corp filed Critical Mitsubishi Heavy Industries Ltd
Priority to CN201480013679.6A priority Critical patent/CN105051373B/zh
Priority to EP14807357.0A priority patent/EP2955386B1/en
Priority to US14/774,248 priority patent/US10514045B2/en
Publication of WO2014196214A1 publication Critical patent/WO2014196214A1/ja
Anticipated expiration legal-status Critical
Ceased legal-status Critical Current

Links

Images

Classifications

    • FMECHANICAL ENGINEERING; LIGHTING; HEATING; WEAPONS; BLASTING
    • F04POSITIVE - DISPLACEMENT MACHINES FOR LIQUIDS; PUMPS FOR LIQUIDS OR ELASTIC FLUIDS
    • F04DNON-POSITIVE-DISPLACEMENT PUMPS
    • F04D29/00Details, component parts, or accessories
    • F04D29/60Mounting; Assembling; Disassembling
    • F04D29/62Mounting; Assembling; Disassembling of radial or helico-centrifugal pumps
    • F04D29/624Mounting; Assembling; Disassembling of radial or helico-centrifugal pumps especially adapted for elastic fluid pumps
    • F04D29/626Mounting or removal of fans
    • FMECHANICAL ENGINEERING; LIGHTING; HEATING; WEAPONS; BLASTING
    • F04POSITIVE - DISPLACEMENT MACHINES FOR LIQUIDS; PUMPS FOR LIQUIDS OR ELASTIC FLUIDS
    • F04DNON-POSITIVE-DISPLACEMENT PUMPS
    • F04D29/00Details, component parts, or accessories
    • F04D29/02Selection of particular materials
    • F04D29/023Selection of particular materials especially adapted for elastic fluid pumps
    • FMECHANICAL ENGINEERING; LIGHTING; HEATING; WEAPONS; BLASTING
    • F04POSITIVE - DISPLACEMENT MACHINES FOR LIQUIDS; PUMPS FOR LIQUIDS OR ELASTIC FLUIDS
    • F04DNON-POSITIVE-DISPLACEMENT PUMPS
    • F04D29/00Details, component parts, or accessories
    • F04D29/05Shafts or bearings, or assemblies thereof, specially adapted for elastic fluid pumps
    • F04D29/053Shafts
    • FMECHANICAL ENGINEERING; LIGHTING; HEATING; WEAPONS; BLASTING
    • F04POSITIVE - DISPLACEMENT MACHINES FOR LIQUIDS; PUMPS FOR LIQUIDS OR ELASTIC FLUIDS
    • F04DNON-POSITIVE-DISPLACEMENT PUMPS
    • F04D29/00Details, component parts, or accessories
    • F04D29/26Rotors specially for elastic fluids
    • F04D29/266Rotors specially for elastic fluids mounting compressor rotors on shafts
    • FMECHANICAL ENGINEERING; LIGHTING; HEATING; WEAPONS; BLASTING
    • F04POSITIVE - DISPLACEMENT MACHINES FOR LIQUIDS; PUMPS FOR LIQUIDS OR ELASTIC FLUIDS
    • F04DNON-POSITIVE-DISPLACEMENT PUMPS
    • F04D29/00Details, component parts, or accessories
    • F04D29/26Rotors specially for elastic fluids
    • F04D29/28Rotors specially for elastic fluids for centrifugal or helico-centrifugal pumps for radial-flow or helico-centrifugal pumps
    • F04D29/284Rotors specially for elastic fluids for centrifugal or helico-centrifugal pumps for radial-flow or helico-centrifugal pumps for compressors
    • FMECHANICAL ENGINEERING; LIGHTING; HEATING; WEAPONS; BLASTING
    • F04POSITIVE - DISPLACEMENT MACHINES FOR LIQUIDS; PUMPS FOR LIQUIDS OR ELASTIC FLUIDS
    • F04DNON-POSITIVE-DISPLACEMENT PUMPS
    • F04D29/00Details, component parts, or accessories
    • F04D29/60Mounting; Assembling; Disassembling
    • F04D29/62Mounting; Assembling; Disassembling of radial or helico-centrifugal pumps
    • F04D29/624Mounting; Assembling; Disassembling of radial or helico-centrifugal pumps especially adapted for elastic fluid pumps
    • FMECHANICAL ENGINEERING; LIGHTING; HEATING; WEAPONS; BLASTING
    • F04POSITIVE - DISPLACEMENT MACHINES FOR LIQUIDS; PUMPS FOR LIQUIDS OR ELASTIC FLUIDS
    • F04DNON-POSITIVE-DISPLACEMENT PUMPS
    • F04D17/00Radial-flow pumps, e.g. centrifugal pumps; Helico-centrifugal pumps
    • F04D17/08Centrifugal pumps
    • F04D17/10Centrifugal pumps for compressing or evacuating
    • FMECHANICAL ENGINEERING; LIGHTING; HEATING; WEAPONS; BLASTING
    • F05INDEXING SCHEMES RELATING TO ENGINES OR PUMPS IN VARIOUS SUBCLASSES OF CLASSES F01-F04
    • F05DINDEXING SCHEME FOR ASPECTS RELATING TO NON-POSITIVE-DISPLACEMENT MACHINES OR ENGINES, GAS-TURBINES OR JET-PROPULSION PLANTS
    • F05D2300/00Materials; Properties thereof
    • F05D2300/10Metals, alloys or intermetallic compounds
    • F05D2300/17Alloys
    • F05D2300/171Steel alloys
    • FMECHANICAL ENGINEERING; LIGHTING; HEATING; WEAPONS; BLASTING
    • F05INDEXING SCHEMES RELATING TO ENGINES OR PUMPS IN VARIOUS SUBCLASSES OF CLASSES F01-F04
    • F05DINDEXING SCHEME FOR ASPECTS RELATING TO NON-POSITIVE-DISPLACEMENT MACHINES OR ENGINES, GAS-TURBINES OR JET-PROPULSION PLANTS
    • F05D2300/00Materials; Properties thereof
    • F05D2300/10Metals, alloys or intermetallic compounds
    • F05D2300/17Alloys
    • F05D2300/174Titanium alloys, e.g. TiAl
    • FMECHANICAL ENGINEERING; LIGHTING; HEATING; WEAPONS; BLASTING
    • F05INDEXING SCHEMES RELATING TO ENGINES OR PUMPS IN VARIOUS SUBCLASSES OF CLASSES F01-F04
    • F05DINDEXING SCHEME FOR ASPECTS RELATING TO NON-POSITIVE-DISPLACEMENT MACHINES OR ENGINES, GAS-TURBINES OR JET-PROPULSION PLANTS
    • F05D2300/00Materials; Properties thereof
    • F05D2300/40Organic materials
    • F05D2300/43Synthetic polymers, e.g. plastics; Rubber
    • FMECHANICAL ENGINEERING; LIGHTING; HEATING; WEAPONS; BLASTING
    • F05INDEXING SCHEMES RELATING TO ENGINES OR PUMPS IN VARIOUS SUBCLASSES OF CLASSES F01-F04
    • F05DINDEXING SCHEME FOR ASPECTS RELATING TO NON-POSITIVE-DISPLACEMENT MACHINES OR ENGINES, GAS-TURBINES OR JET-PROPULSION PLANTS
    • F05D2300/00Materials; Properties thereof
    • F05D2300/60Properties or characteristics given to material by treatment or manufacturing
    • F05D2300/603Composites; e.g. fibre-reinforced

Definitions

  • the present invention relates to an impeller, a rotating machine in which an impeller is fixed to a rotating shaft, and a method for assembling the rotating machine.
  • Some turbo refrigerators and small gas turbines are equipped with rotating machines such as a centrifugal compressor.
  • the centrifugal compressor has an impeller in which a plurality of blades are provided in a disk portion fixed to a rotating shaft.
  • the centrifugal compressor gives pressure energy and velocity energy to the gas by rotating these impellers.
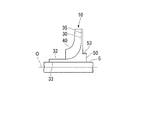
  • FIG. 12 is a contour diagram showing a simulation result of stress acting at the time of high-speed rotation in the impeller 610 having the grip portion 33 in the front.
  • the impeller 610 is a so-called open type impeller composed of a disk portion 30 and a blade portion 40.
  • the disk portion 30 includes a cylindrical portion 32 to which a grip portion 33 (left side portion in FIG. 13) on the front side in the axis O direction of the rotary shaft 5 is fixed by shrink fitting or the like.
  • a disc main body portion 35 provided on the rear side in the axis O direction with respect to the grip portion 33 and extending outward in the radial direction of the rotating shaft 5.
  • a point where the stress acting when the rotating shaft 5 rotates at a high speed is on the opposite side of the grip portion 33 on the rear side in the axis O direction. Near the corner. This is because the corner portion of the disk portion 30 is radially outward as indicated by the broken line in FIG. 13 due to the centrifugal force during rotation or the thrust load (thrust force) generated by the gas pressure difference between the flow path side and the disk rear side surface. It is because it tries to displace to.
  • the stress concentration near the corner is mainly hoop stress, which is tensile stress acting in the circumferential direction of the impeller 610. In FIG. 13, a location where the hoop stress is concentrated is indicated by a symbol “f”.
  • the magnitude of the hoop stress in the vicinity of the corner of the disk portion 30 increases as the rotation speed increases. Therefore, for example, in the case of unintended high-speed rotation, there is a possibility that the disk unit 30 falls short of strength.
  • a method of fixing the cylindrical portion 32 to the outer peripheral surface of the rotating shaft 5 over the entire inner peripheral surface of the cylindrical portion 32 can be considered. Further, a method of fixing the cylindrical portion 32 to the outer peripheral surface of the rotating shaft 5 at a plurality of locations as in Patent Document 1 is also conceivable.
  • FIG. 15 is a contour diagram showing a simulation result when the thickness of the rear side surface of the disk portion 30 is increased.
  • the thickness of the rear side surface of the disk portion 30 is increased so as to have a shape close to an equal stress state, so that the magnitude of the hoop stress is generally smaller than that in the case of FIG. Become.
  • FIG. 15 shows that the thickness of the rear side surface of the disk portion 30 is increased so as to have a shape close to an equal stress state, so that the magnitude of the hoop stress is generally smaller than that in the case of FIG. Become.
  • the present invention is an impeller that can be easily attached to and detached from a rotating shaft and can sufficiently reduce stress during rotation, and can be rotated at a higher speed, a rotating machine including the impeller, and a method of assembling the rotating machine I will provide a.
  • the impeller has a cylindrical portion through which a rotating shaft that rotates about an axis is inserted, and a portion of the rotating shaft in the axial direction is fixed to the rotating shaft as a grip portion;
  • a disk main body portion extending from the cylindrical portion toward the radially outer side of the rotating shaft, a blade projecting from the disk main body portion toward the first direction in the axial direction, and the disk main body portion.
  • the impeller includes a mounting portion main body in which the reinforcing member mounting portion in the impeller of the first mode is formed integrally with the cylindrical portion, and a linear expansion coefficient equal to or higher than the linear expansion coefficient of the mounting portion main body.
  • a ring member formed of a material having a linear expansion coefficient and attached to the attachment portion main body, and the reinforcing member may be attached to the ring member.
  • the grip portion is disposed on the second direction side in the axial direction with respect to the reinforcing member, and the grip of the tubular portion is provided.
  • a grip reinforcing member that is attached to a position where the portion is disposed and reinforces the grip portion may be provided.
  • the ratio of the diameter of the reinforcing member to the diameter of the disk main body is 0.35 to 0.8. It may be.
  • the rotating machine includes the impeller according to any one of the first to fourth aspects.
  • a method for assembling a rotary machine is a method for assembling a rotary machine including the impeller according to the first aspect, wherein an attachment step of attaching a reinforcement member to the reinforcement member attachment portion, An impeller attaching step for attaching to the rotating shaft.
  • a rotating machine assembling method comprising the impeller of the second aspect, a reinforcing member attaching step for attaching the reinforcing member to the ring member, and the reinforcing
  • the present invention can be easily attached to and detached from the rotating shaft, and the hoop stress during rotation can be sufficiently reduced, and further high-speed rotation is possible.
  • FIG. 2 in 3rd embodiment of this invention. It is a longitudinal cross-sectional view which shows the state which attached the reinforcement member 53 to the impeller of the said 3rd embodiment.
  • FIG. 7 is a diagram corresponding to FIG. 6 in a general impeller. It is explanatory drawing of the hoop stress in a general impeller. It is the longitudinal cross-sectional view of the impeller which increased the thickness of the disk part rear side surface of an impeller. It is a figure equivalent to FIG. 12 in the impeller which increased the thickness of the disk part rear side surface of an impeller. It is explanatory drawing of the hoop stress and tensile stress in the impeller which increased the thickness of the disk part rear side surface side of an impeller.
  • FIG. 1 is a configuration diagram showing a schematic configuration of a centrifugal compressor 100 which is a rotary machine of the first embodiment.
  • the rotary shaft 5 is rotatably supported by the casing 105 of the centrifugal compressor 100 via a journal bearing 105a and a thrust bearing 105b.
  • the rotating shaft 5 is rotatable around the axis O.
  • a plurality of impellers 10 are attached to the rotary shaft 5 side by side in the direction of the axis O.
  • Each impeller 10 compresses the gas G supplied from the upstream flow path 104 formed in the casing 105 to the downstream flow path 104 in a stepwise manner using centrifugal force generated by the rotation of the rotary shaft 5. Shed.
  • a suction port 105c for allowing the gas G to flow from the outside is formed on the front side (left side in FIG. 1) of the rotation shaft 5 in the axis O direction.
  • the casing 105 is formed with a discharge port 105d for allowing the gas G to flow out to the outside on the rear side in the axis O direction (right side in FIG. 1).
  • the left side of the drawing is referred to as “front side”
  • the right side of the drawing is referred to as “rear side”.
  • FIG. 1 shows an example in which six impellers 10 are provided in series on the rotary shaft 5, it is sufficient that at least one impeller 10 is provided on the rotary shaft 5.
  • the case where one impeller 10 is provided on the rotating shaft 5 will be described as an example for the sake of simplicity.
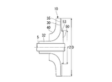
  • the impeller 10 includes a disk portion 30 that is fixed to the rotating shaft 5, and a plurality of blade portions 40 that protrude from the front side surface 31 in the axis O direction of the disk portion 30. It is equipped with.
  • the impeller 10 is a so-called open type impeller.
  • the disk portion 30 includes a cylindrical tube portion 32 that is fixed to the rotating shaft 5 by fitting.
  • the cylinder part 32 includes a grip part 33 and a non-grip part 34.
  • the grip portion 33 is provided on the front side which is the first direction side in the axis O direction.
  • the grip portion 33 is fixed to the outer peripheral surface of the rotating shaft 5.
  • the non-grip portion 34 is provided on the rear side which is the second direction side in the axis O direction with respect to the grip portion 33.
  • the non-grip portion 34 is formed to have a diameter slightly larger than the outer diameter of the rotating shaft 5 and has a gap with the outer peripheral surface of the rotating shaft 5. That is, a part of the disk portion 30 in the direction of the axis O is fixed to the rotating shaft as the grip portion 33.
  • the grip portion 33 is formed to have a smaller diameter than that of the rotating shaft 5 when not fixed to the rotating shaft 5.
  • the grip portion 33 is fixed to the rotating shaft 5 by fitting by shrink fitting or the like.
  • the disk unit 30 includes a disk main body 35 on the rear side in the axis O direction with respect to the grip 33.
  • the disc main body portion 35 is formed in a disc shape extending from the non-grip portion 34 of the cylindrical portion 32 toward the radially outer side.
  • the disc body 35 is formed thicker toward the inner side in the radial direction.
  • the disk portion 30 includes a concave curved surface 31 a that smoothly connects the front side surface 31 and the outer peripheral surface 32 a of the cylindrical portion 32.
  • the blade part 40 protrudes from the front side surface 31 of the disk part 30 toward the front side in the axis O direction.
  • the blade part 40 has a certain plate thickness.
  • the blade part 40 is slightly tapered toward the radially outer side in a side view.
  • a plurality of blade portions 40 are arranged at predetermined intervals in the circumferential direction of the disc main body portion 35.
  • the flow path 104 described above includes the front side surface 31 of the impeller 10, the curved surface 31 a, the outer peripheral surface 32 a, and the surface 40 a of the blade portion 40 that are opposed to each other in the circumferential direction at the location where the impeller 10 is disposed.
  • a front wall 31 and a wall surface 105e of the casing 105 facing the curved surface 31a are formed.
  • the disk portion 30 described above includes a cylindrical reinforcing member mounting portion 50 constituting a part of the cylindrical portion 32 on the rear side in the axis O direction from the disk main body portion 35.
  • the outer diameter of the reinforcing member mounting portion 50 is formed larger than the outer diameter of the cylindrical portion 32 in the grip portion 33 described above.
  • FIG. 2 the position of the rearmost side in the axis O direction on the base side of the disc main body 35 is indicated by a CC line.
  • a portion formed on the rear side in the axis O direction with respect to the CC line is a reinforcing member mounting portion 50.
  • a reinforcing member 53 is attached to the reinforcing member attaching portion 50 so as to cover from the outside. As shown in FIGS. 2 and 3, the reinforcing member 53 restricts the deformation of the reinforcing member mounting portion 50 toward the radially outer side.
  • the reinforcing member 53 is formed in a cylindrical shape having an inner diameter slightly smaller than the outer diameter of the reinforcing member mounting portion 50.
  • the reinforcing member 53 is made of a material having a specific strength higher than that of the disk portion 30. Further, the reinforcing member 53 is attached to the reinforcing member attaching portion 50 in a state where one end face thereof is in contact with the rear side face 51.
  • the above-mentioned specific strength is, in other words, yield stress / density.
  • the specific rigidity of the material forming the reinforcing member 53 is higher than the specific rigidity of the material forming the disk portion 30.
  • the impeller 10 described above is formed of an alloy such as stainless steel or titanium alloy, for example.
  • an alloy such as stainless steel or titanium alloy
  • CFRP carbon fiber reinforced plastic
  • ceramic, magnesium alloy, etc. having a higher specific strength than the material forming the impeller 10 such as stainless steel or titanium alloy.
  • CFRP carbon fiber reinforced plastic
  • ceramic, magnesium alloy and the like it is preferable to use those having higher specific rigidity than alloys such as stainless steel and titanium alloy.
  • carbon fiber reinforced plastic is used as the reinforcing member 53, the carbon fiber used as the reinforcing material as shown by an arrow in FIG.
  • the carbon fiber 3 is at least a carbon fiber extending in the circumferential direction so as to be wound around the reinforcing member mounting portion 50. Is included. Thus, since the carbon fiber extends in the circumferential direction, it is difficult to deform in the radial direction.
  • the material of the reinforcing member 53 is preferably 1 to 2.5 times the Young's modulus of the alloy that is the material of the impeller 10.
  • the Young's modulus of the titanium alloy is about 113 GPa.
  • the reinforcing member 53 is set to the maximum value of the rotational speed of the rotating shaft 5 (the maximum value of the hoop stress acting on the impeller 10) and the minimum length B and thickness t. preferable.
  • the maximum value of the hoop stress acting on the impeller 10 is reduced as the value of the thickness t of the reinforcing member 53 is increased.
  • the diameter of the impeller 10 is “D”
  • the ratio of the diameter r2 of the reinforcing member 53 to the diameter D of the disc main body 35 is set to 0.35 to 0.8. More preferably, it is 0.42 to 0.66. As described above, the outer diameter r1 of the reinforcing member mounting portion 50 is only slightly larger than the inner diameter of the reinforcing member 53, and the diameter r2 of the reinforcing member 53 is equal to (r1 + 2t).
  • FIG. 5 shows local stress in the impeller 10 when the ratio of the inner diameter of the reinforcing member 53 to the diameter of the disk main body 35 (reinforcing member mounting position (diameter) r2 / disk diameter D) is changed. It is a graph which shows the change of a size (maximum stress of a disk). In the graph of FIG. 5, “a1” is an upper limit value of allowable stress in the impeller 10, and “a2” indicates a more preferable upper limit value of stress in the impeller 10.
  • the stress concerning the impeller 10 is suppressed to the stress which is less than the upper limit value a1 and the upper limit value a2.
  • the stress of the impeller 10 is higher than the upper limit value a2 and is equal to the upper limit value a1. This is because the strength of the reinforcing member mounting portion 50 is insufficient due to the outer diameter r1 of the reinforcing member mounting portion 50 becoming too small, and the connecting portion between the reinforcing member mounting portion 50 and the disc main body portion 35 is deformed. This is probably because the hoop stress at the deformed portion increases.
  • the ratio of the diameter of the reinforcing member 53 to the diameter of the disk main body 35 is preferably 0.42 to 0.66 in which the stress applied to the impeller 10 is lower than the upper limit value a1. Furthermore, it is more preferable that the stress applied to the impeller 10 is 0.35 to 0.8 below the upper limit value a2.
  • FIG. 6 is a contour diagram showing a simulation result of stress distribution during high-speed rotation in the impeller 10 of this embodiment.
  • the portion where high stress is applied is shown in darker color.
  • the centrifugal force when the impeller 10 not provided with the reinforcing member 53 is rotating has a maximum value on or near the CC line along the rear side surface 51 of the disk main body portion 35. Therefore, the hoop stress shows the maximum stress at the location where the CC line and the innermost diameter portion of the non-grip portion 34 intersect or in the vicinity thereof.
  • the range in which the stress applied during rotation increases is wider in the direction of the axis O than in the case of an impeller that does not include the reinforcing member 53 (see FIG. 12, for example). Is showing. However, the maximum value has been reduced. This is because the reinforcing member 53 increases the rigidity of the cylindrical portion 32 in the radial direction due to centrifugal force, so that the impeller 10 is prevented from being deformed so as to float radially outward on the second direction side in the axis O direction. Because. That is, in the impeller 10, the local increase in the hoop stress caused by the deformation in the radial direction is suppressed.
  • FIGS. 7A to 7C show an example of a procedure for attaching the impeller 10 to the rotary shaft 5 as an assembling method of the centrifugal compressor 100.
  • the reinforcing member 53 is attached to the reinforcing member attaching portion 50 of the impeller 10 (attachment process).
  • a method of attaching the reinforcing member 53 cold fitting, shrink fitting, or the like can be used.
  • the reinforcing member 53 is CFRP and the reinforcing member 53 is attached to the reinforcing member attaching portion 50 by shrink fitting, for example, a loose fastening allowance is used and shrink fitting is performed at 100 ° C. or less in order to reduce the thermal load on the CFRP. It is preferable to carry out.
  • the reinforcing member 53 is CFRP
  • the reinforcing member 53 may be attached to the reinforcing member attaching portion 50 with a predetermined tension applied.
  • the impeller 10 is attached to the rotating shaft 5 by cold fitting or shrink fitting (impeller mounting step).
  • the reinforcing member 53 is CFRP and the impeller 10 is shrink-fitted on the rotating shaft 5
  • the reinforcing member 53 is heated to 100 ° C. by locally heating the grip portion 33 in order to reduce the thermal load on the CFRP. It is preferable not to exceed.
  • the reinforcing member 53 made of a material having higher specific strength than the impeller 10 is provided on the reinforcing member mounting portion 50 formed on the cylindrical portion 32 on the rear side in the axis O direction. Is attached, the rigidity with respect to the deformation
  • the length of the disc portion 30 in the axis O direction can be shortened, and the length in the axis O direction is shortened.
  • the weight of the impeller 10 can be reduced.
  • the stress at the time of rotation can be sufficiently reduced while being configured to be easily detachable from the rotating shaft 5.
  • the span of the impeller 10 in the direction of the axis O can be shortened and the weight can be reduced, the impeller 10 can be rotated at a sufficiently high speed while suppressing the shaft vibration.
  • the grip part 33 is formed only in a part on the front side in the direction of the axis O, the impeller 10 can be easily attached to and detached from the rotating shaft 5. As a result, maintainability can be improved.
  • the ratio of the diameter r2 of the reinforcing member 53 to the diameter D of the disc main body 35 is larger than 0.8, the thickness of the cylindrical portion 32 in the radial direction increases and the centrifugal force applied to the cylindrical portion 32 is increased. As a result, the reinforcing member 53 becomes larger.
  • the ratio of the diameter r2 of the reinforcing member 53 to the diameter D of the disk main body 35 is smaller than 0.35, the thickness of the cylindrical portion 32 is excessively decreased, and the cylindrical portion 32 is insufficient due to insufficient strength of the cylindrical portion 32. It will not suppress the deformation of 32.
  • the ratio of the diameter r2 of the reinforcing member 53 to the diameter D of the disk main body portion 35 is 0.35 to 0.8, so that hoop stress due to centrifugal force is efficiently suppressed. be able to.
  • the impeller 210 according to the second embodiment of the present invention will be described with reference to the drawings.
  • the impeller 210 according to the second embodiment is different from the impeller 10 according to the first embodiment described above only in the configuration of the reinforcing member mounting portion. Therefore, the same parts as those in the first embodiment described above are denoted by the same reference numerals, and detailed description thereof is omitted.
  • the impeller 210 according to the second embodiment is an open type impeller having a disk portion 30 and a blade portion 40, similar to the impeller 10 according to the first embodiment described above.
  • the disk unit 30 includes a disk main body unit 35 and a cylinder unit 32.
  • the disc main body portion 35 is formed in a disc shape extending from the non-grip portion 34 toward the radially outer side.
  • the disc body 35 is formed thicker toward the inner side in the radial direction.
  • the disk portion 30 includes a concave curved surface 31 a that smoothly connects the front side surface 31 and the outer peripheral surface 32 a of the cylindrical portion 32.
  • the blade part 40 is formed so as to protrude from the front side surface 31 of the disk part 30.
  • the disk part 30 described above includes a cylindrical reinforcing member mounting part 250 constituting a part of the cylindrical part 32 on the rear side in the axis O direction from the disk main body part 35.
  • the reinforcing member attachment portion 250 includes an attachment portion main body 54 and a ring member 55.
  • the attachment portion main body 54 is formed integrally with the above-described cylinder portion 32.
  • the ring member 55 is formed separately from the cylindrical portion 32.
  • the ring member 55 is attached to the attachment portion main body 54.
  • the ring member 55 is formed of a material having a linear expansion coefficient equal to or higher than that of the material forming the attachment portion main body 54, that is, the material forming the cylindrical portion 32.
  • As a material for forming the ring member 55 for example, an alloy such as stainless steel or a titanium alloy, a magnesium alloy, or the like can be used.
  • the ring member 55 has an accommodation groove 55a formed on the outer peripheral surface thereof.
  • the housing groove 55 a is formed in an annular shape so as to extend over the entire circumference of the outer peripheral surface of the ring member 55.
  • the reinforcing member 53 is accommodated in the accommodation groove 55a.
  • the reinforcing member 53 is formed in the same manner as in the first embodiment described above, and is formed in a cylindrical shape by, for example, CFRP.
  • CFRP As a material for forming the reinforcing member 53, a material having a higher specific strength than the mounting portion main body 54 and the ring member 55, more specifically, a material having a higher specific strength and specific rigidity is used.
  • the reinforcing member 53 is attached to the ring member 55, and the ring member 55 is attached to the attachment portion main body 54.
  • step S01 which attaches the reinforcement member 53 to the ring member 55 first is performed.
  • the reinforcing member 53 is CFRP
  • the carbon fiber used as the reinforcing material is wound around the ring member 55 in a state where a predetermined tension is applied so that carbon fibers that face the circumferential direction are included.
  • a ring member attaching step for attaching the ring member 55 to which the reinforcing member 53 is attached to the attaching portion main body 54 is performed.
  • the ring member 55 is fixed to the attachment portion main body 54 by cold fitting, shrink fitting or the like.
  • the reinforcing member 53 is CFRP
  • the ring member 55 is heated and attached in a state where the CFRP is 100 ° C. or lower when shrink fitting is performed.
  • an impeller attachment step (step S03) is performed in which the impeller 210 to which the ring member 55 is attached is fixed to the rotary shaft 5 by fitting by cold fitting, shrink fitting, or the like.
  • the reinforcing member 53 may be attached to the ring member 55 by winding the reinforcing member 53 around the outer periphery of the ring member 55 with a predetermined tension without providing the receiving groove portion 55 a in the ring member 55.
  • the ring member 55 is formed of a material having a linear expansion coefficient equal to or higher than the linear expansion coefficient of the attachment main body 54, thereby heating the ring member 55 and attaching the attachment part.
  • the ring member 55 can be removed from the attachment part main body 54 in a state where the temperature difference between the attachment part main body 54 and the ring member 55 is smaller.
  • the reinforcing member 53 can be easily detached from the attachment portion main body 54 while suppressing a thermal load on the reinforcing member 53 due to a temperature rise.
  • the reinforcing member 53 can be attached to the attaching portion main body 54 by attaching the ring member 55 to the cylindrical portion 32. Therefore, the reinforcing member 53 can be easily attached to the attachment portion main body 54.
  • an impeller 310 according to a third embodiment of the present invention will be described with reference to the drawings.
  • the impeller 310 of the third embodiment is different from the impeller 210 of the second embodiment described above only in the configuration of the grip portion 33. Therefore, the same parts as those in the second embodiment described above are denoted by the same reference numerals, and detailed description thereof is omitted.
  • the impeller 310 of the third embodiment is an open type impeller having a disk portion 30 and a blade portion 40, similarly to the impeller 210 of the second embodiment described above.
  • the disk unit 30 includes a disk main body unit 35 and a cylinder unit 32.
  • the cylindrical portion 32 includes a cylindrical reinforcing member mounting portion 250 that constitutes a part of the cylindrical portion 32 on the rear side in the axis O direction from the disc main body portion 35.
  • the reinforcing member attaching portion 250 includes an attaching portion main body 54 and a ring member 55.
  • the reinforcing member 53 is attached to the reinforcing member attaching portion 250 so as to cover from the outside.
  • the cylinder portion 32 includes a grip portion 33 that is fixed to the outer peripheral surface of the rotating shaft 5.
  • the grip portion 33 is disposed on the rear side in the axis O direction with respect to the disc main body portion 35. More specifically, the grip portion 33 is disposed on the rear side in the axis O direction with respect to the reinforcing member mounting portion 50.
  • the cylinder portion 32 includes a non-grip portion 34 on the front side which is the first direction side in the axial direction.
  • a grip holding member 56 is attached to the cylinder portion 32.
  • the grip holding member 56 reinforces the cylindrical portion 32 in the grip portion 33 by pressing the grip portion 33 from the outside in the radial direction.
  • the grip holding member 56 is formed such that its length in the direction of the axis O is sufficiently shorter than the length of the grip portion 33.
  • the grip holding member 56 is attached at a position where the grip portion 33 of the cylindrical portion 32 is disposed. More specifically, the grip holding member 56 is attached to a position on the most front side of the grip portion 33.
  • the grip holding member 56 includes a grip ring member 57 and a grip reinforcement member 58.
  • the grip ring member 57 is formed of the same material as that of the ring member 55 described above, and the inner diameter of the grip ring member 57 is slightly smaller than the outer diameter of the cylindrical portion 32 at the attachment location when the grip ring member 57 is not attached to the cylindrical portion 32.
  • the grip ring member 57 is formed with a ring-shaped accommodation groove 59 similarly to the accommodation groove 55a described above.
  • the accommodation groove 59 accommodates a cylindrical grip reinforcement member 58 formed of the same material as the reinforcement member 53 described above.
  • the grip holding member 56 is attached to the cylindrical portion 32 by cold fitting or shrink fitting after the above-described ring member 55 is attached to the attachment portion main body 54 as in the case of the above-described ring member 55. .
  • the grip holding member 56 includes the grip ring member 57
  • the grip ring member 57 may be omitted and the grip reinforcing member 58 may be directly attached to the cylindrical portion 32.
  • the inner diameter of the ring member 55 is equal to the outer diameter of the grip ring member 57, but the thickness of the grip ring member 57 in the radial direction is the same as that of FIGS. 10 and 11.
  • the thickness is not limited and is set to an optimum thickness according to the strength and rigidity of the cylindrical portion 32.
  • the ring member 55 may be attached to the attachment portion main body 54 after the grip ring member 57 is attached to the cylindrical portion 32. good.
  • the grip reinforcing member 58 can restrict the deformation of the grip portion 33 to the outside in the radial direction due to the centrifugal force. Therefore, it is possible to reduce the hoop stress applied to the cylindrical portion 32 in the vicinity of the grip portion 33 and at the same time more firmly fix the impeller 310 to the rotating shaft 5.
  • the present invention is not limited to the configuration of each of the embodiments described above, and the design can be changed without departing from the gist thereof.
  • the open type impeller having only the disk portion 30 and the blade portion 40 has been described as an example.
  • the present invention is not limited to this case.
  • the present invention can be similarly applied to a closed impeller having a cover portion for the disk portion 30 and the blade portion 40.
  • centrifugal compressor 100 is described as the rotary machine.
  • the present invention is not limited to the centrifugal compressor 100, and may be applied to, for example, various industrial compressors, turbo refrigerators, and small gas turbines.
  • the impeller can be applied.
  • the present invention can be easily attached to and detached from the rotating shaft, and the hoop stress during rotation can be sufficiently reduced, and further high-speed rotation is possible.
  • Impeller 30 Disc part 31 Front side surface 31a Curved surface 32 Tube part 32a Outer peripheral surface 33 Grip part 34 Non-grip part 35 Disc main body part 40 Blade part 40a Surface 50 Reinforcement member attachment part 51 Rear side surface 53 Reinforcement member 54 Attachment part main body 55 Ring member 55a Housing groove portion 56 Grip holding member 57 Grip ring member 58 Grip reinforcement member 59 Housing groove portion 100 Centrifugal compressor 104 Channel 105 Casing 105a Journal bearing 105b Thrust bearing 105c Suction port 105d Discharge port 105e Wall surface 210 Impeller 250 Attaching the reinforcing member Part 310 impeller 610 impeller 710 impeller a1 upper limit value a2 upper limit value D diameter G gas O axis r1 outer diameter r2 diameter

Landscapes

  • Engineering & Computer Science (AREA)
  • Mechanical Engineering (AREA)
  • General Engineering & Computer Science (AREA)
  • Structures Of Non-Positive Displacement Pumps (AREA)
PCT/JP2014/050444 2013-06-04 2014-01-14 インペラ、回転機械、および、回転機械の組立方法 Ceased WO2014196214A1 (ja)

Priority Applications (3)

Application Number Priority Date Filing Date Title
CN201480013679.6A CN105051373B (zh) 2013-06-04 2014-01-14 叶轮、旋转机械及旋转机械的组装方法
EP14807357.0A EP2955386B1 (en) 2013-06-04 2014-01-14 Impeller and shaft assembly, rotating machine, and method for assembling rotating machine
US14/774,248 US10514045B2 (en) 2013-06-04 2014-01-14 Impeller, rotating machine, and method for assembling rotating machine

Applications Claiming Priority (2)

Application Number Priority Date Filing Date Title
JP2013117596A JP6029541B2 (ja) 2013-06-04 2013-06-04 インペラ、回転機械、および、回転機械の組立方法
JP2013-117596 2013-06-04

Publications (1)

Publication Number Publication Date
WO2014196214A1 true WO2014196214A1 (ja) 2014-12-11

Family

ID=52007871

Family Applications (1)

Application Number Title Priority Date Filing Date
PCT/JP2014/050444 Ceased WO2014196214A1 (ja) 2013-06-04 2014-01-14 インペラ、回転機械、および、回転機械の組立方法

Country Status (5)

Country Link
US (1) US10514045B2 (enExample)
EP (1) EP2955386B1 (enExample)
JP (1) JP6029541B2 (enExample)
CN (1) CN105051373B (enExample)
WO (1) WO2014196214A1 (enExample)

Families Citing this family (3)

* Cited by examiner, † Cited by third party
Publication number Priority date Publication date Assignee Title
KR101650459B1 (ko) * 2014-12-22 2016-08-23 주식회사 포스코 급수펌프 수리 방법
JP7333247B2 (ja) 2019-11-01 2023-08-24 三菱重工コンプレッサ株式会社 アンモニアプラント合成ガス圧縮機トレイン
US20240117811A1 (en) * 2022-10-07 2024-04-11 Hamilton Sundstrand Corporation Impeller preloading bands

Citations (5)

* Cited by examiner, † Cited by third party
Publication number Priority date Publication date Assignee Title
JPH08232889A (ja) * 1994-12-19 1996-09-10 Man B & W Diesel Gmbh 流体機械のランナ
JP3129587B2 (ja) * 1993-08-23 2001-01-31 石川島播磨重工業株式会社 遠心式低温圧縮機のインペラ取付構造
JP2005002849A (ja) 2003-06-11 2005-01-06 Komatsu Ltd コンプレッサインペラ及びこれを用いたターボチャージャ
JP2006214341A (ja) * 2005-02-03 2006-08-17 Shimadzu Corp ターボ型回転機器
JP2012122398A (ja) * 2010-12-08 2012-06-28 Mitsubishi Heavy Ind Ltd 回転機械

Family Cites Families (7)

* Cited by examiner, † Cited by third party
Publication number Priority date Publication date Assignee Title
US5163816A (en) * 1991-07-12 1992-11-17 General Motors Corporation Wheel lock, centering and drive means and turbocharger impeller combination
DE4321173C2 (de) * 1993-06-25 1996-02-22 Inst Luft Kaeltetech Gem Gmbh Radiallaufrad
JP4946114B2 (ja) * 2006-03-20 2012-06-06 株式会社Ihi 回転機械
JP2009167882A (ja) * 2008-01-15 2009-07-30 Toyota Motor Corp 遠心羽根車
JP2009264205A (ja) 2008-04-24 2009-11-12 Hitachi Plant Technologies Ltd 遠心圧縮機
JP2011085088A (ja) 2009-10-16 2011-04-28 Mitsubishi Heavy Ind Ltd 遠心圧縮機のインペラーとその設計方法
IT1397328B1 (it) * 2009-12-11 2013-01-10 Nuovo Pignone Spa Anelli compositi per montaggio girante-albero.

Patent Citations (5)

* Cited by examiner, † Cited by third party
Publication number Priority date Publication date Assignee Title
JP3129587B2 (ja) * 1993-08-23 2001-01-31 石川島播磨重工業株式会社 遠心式低温圧縮機のインペラ取付構造
JPH08232889A (ja) * 1994-12-19 1996-09-10 Man B & W Diesel Gmbh 流体機械のランナ
JP2005002849A (ja) 2003-06-11 2005-01-06 Komatsu Ltd コンプレッサインペラ及びこれを用いたターボチャージャ
JP2006214341A (ja) * 2005-02-03 2006-08-17 Shimadzu Corp ターボ型回転機器
JP2012122398A (ja) * 2010-12-08 2012-06-28 Mitsubishi Heavy Ind Ltd 回転機械

Also Published As

Publication number Publication date
US10514045B2 (en) 2019-12-24
EP2955386A4 (en) 2016-03-02
CN105051373A (zh) 2015-11-11
US20160040687A1 (en) 2016-02-11
JP2014234786A (ja) 2014-12-15
CN105051373B (zh) 2017-05-17
EP2955386B1 (en) 2019-05-15
EP2955386A1 (en) 2015-12-16
JP6029541B2 (ja) 2016-11-24

Similar Documents

Publication Publication Date Title
JP5145117B2 (ja) 圧縮機のハウジング
US9347460B2 (en) Rotary machine
US6213720B1 (en) High strength composite reinforced turbomachinery disk
JP5511852B2 (ja) ロータ組立体
JP6124787B2 (ja) ロータブレード用の軽量シュラウド
JP5613764B2 (ja) ターボ機械用羽根車
JP2017025916A (ja) ガスタービンエンジン用のノズル及びノズル組立体
US11073020B2 (en) Impeller and rotating machine provided with same
JP6029541B2 (ja) インペラ、回転機械、および、回転機械の組立方法
CN107532505B (zh) 旋转机械
JP2009167882A (ja) 遠心羽根車
JP2006046074A (ja) 真空ポンプ
JP2015101967A (ja) インペラ、回転機械、および、インペラの製造方法
US10961853B2 (en) Spigot assembly for rotating components
JP6047091B2 (ja) ロータ及び真空ポンプ
JP2012052439A (ja) インペラ
JP2013147984A (ja) インペラ、および回転機械
JP2014169704A (ja) インペラ
JP2018096363A (ja) タービン翼、タービン機器およびタービン
JP2015227627A (ja) 回転機械
JP2018003670A (ja) ターボ機械
JP2014169705A (ja) インペラ
JP2013170538A (ja) 回転部材及び回転機械

Legal Events

Date Code Title Description
WWE Wipo information: entry into national phase

Ref document number: 201480013679.6

Country of ref document: CN

121 Ep: the epo has been informed by wipo that ep was designated in this application

Ref document number: 14807357

Country of ref document: EP

Kind code of ref document: A1

WWE Wipo information: entry into national phase

Ref document number: 14774248

Country of ref document: US

Ref document number: 2014807357

Country of ref document: EP

NENP Non-entry into the national phase

Ref country code: DE