WO2014141592A1 - 光学部材およびその製造方法 - Google Patents

光学部材およびその製造方法 Download PDF

Info

Publication number
WO2014141592A1
WO2014141592A1 PCT/JP2014/000812 JP2014000812W WO2014141592A1 WO 2014141592 A1 WO2014141592 A1 WO 2014141592A1 JP 2014000812 W JP2014000812 W JP 2014000812W WO 2014141592 A1 WO2014141592 A1 WO 2014141592A1
Authority
WO
WIPO (PCT)
Prior art keywords
shielding film
film
light shielding
region
light
Prior art date
Legal status (The legal status is an assumption and is not a legal conclusion. Google has not performed a legal analysis and makes no representation as to the accuracy of the status listed.)
Ceased
Application number
PCT/JP2014/000812
Other languages
English (en)
French (fr)
Japanese (ja)
Inventor
慎一郎 園田
達矢 吉弘
Current Assignee (The listed assignees may be inaccurate. Google has not performed a legal analysis and makes no representation or warranty as to the accuracy of the list.)
Fujifilm Corp
Original Assignee
Fujifilm Corp
Priority date (The priority date is an assumption and is not a legal conclusion. Google has not performed a legal analysis and makes no representation as to the accuracy of the date listed.)
Filing date
Publication date
Application filed by Fujifilm Corp filed Critical Fujifilm Corp
Publication of WO2014141592A1 publication Critical patent/WO2014141592A1/ja
Priority to US14/850,310 priority Critical patent/US10473821B2/en
Anticipated expiration legal-status Critical
Ceased legal-status Critical Current

Links

Images

Classifications

    • GPHYSICS
    • G02OPTICS
    • G02BOPTICAL ELEMENTS, SYSTEMS OR APPARATUS
    • G02B1/00Optical elements characterised by the material of which they are made; Optical coatings for optical elements
    • G02B1/10Optical coatings produced by application to, or surface treatment of, optical elements
    • G02B1/11Anti-reflection coatings
    • CCHEMISTRY; METALLURGY
    • C03GLASS; MINERAL OR SLAG WOOL
    • C03CCHEMICAL COMPOSITION OF GLASSES, GLAZES OR VITREOUS ENAMELS; SURFACE TREATMENT OF GLASS; SURFACE TREATMENT OF FIBRES OR FILAMENTS MADE FROM GLASS, MINERALS OR SLAGS; JOINING GLASS TO GLASS OR OTHER MATERIALS
    • C03C17/00Surface treatment of glass, not in the form of fibres or filaments, by coating
    • C03C17/34Surface treatment of glass, not in the form of fibres or filaments, by coating with at least two coatings having different compositions
    • GPHYSICS
    • G02OPTICS
    • G02BOPTICAL ELEMENTS, SYSTEMS OR APPARATUS
    • G02B1/00Optical elements characterised by the material of which they are made; Optical coatings for optical elements
    • G02B1/10Optical coatings produced by application to, or surface treatment of, optical elements
    • G02B1/11Anti-reflection coatings
    • G02B1/113Anti-reflection coatings using inorganic layer materials only
    • GPHYSICS
    • G02OPTICS
    • G02BOPTICAL ELEMENTS, SYSTEMS OR APPARATUS
    • G02B1/00Optical elements characterised by the material of which they are made; Optical coatings for optical elements
    • G02B1/10Optical coatings produced by application to, or surface treatment of, optical elements
    • G02B1/11Anti-reflection coatings
    • G02B1/118Anti-reflection coatings having sub-optical wavelength surface structures designed to provide an enhanced transmittance, e.g. moth-eye structures
    • GPHYSICS
    • G02OPTICS
    • G02BOPTICAL ELEMENTS, SYSTEMS OR APPARATUS
    • G02B1/00Optical elements characterised by the material of which they are made; Optical coatings for optical elements
    • G02B1/10Optical coatings produced by application to, or surface treatment of, optical elements
    • G02B1/12Optical coatings produced by application to, or surface treatment of, optical elements by surface treatment, e.g. by irradiation
    • GPHYSICS
    • G02OPTICS
    • G02BOPTICAL ELEMENTS, SYSTEMS OR APPARATUS
    • G02B5/00Optical elements other than lenses
    • G02B5/02Diffusing elements; Afocal elements
    • G02B5/0273Diffusing elements; Afocal elements characterized by the use
    • G02B5/0294Diffusing elements; Afocal elements characterized by the use adapted to provide an additional optical effect, e.g. anti-reflection or filter
    • CCHEMISTRY; METALLURGY
    • C03GLASS; MINERAL OR SLAG WOOL
    • C03CCHEMICAL COMPOSITION OF GLASSES, GLAZES OR VITREOUS ENAMELS; SURFACE TREATMENT OF GLASS; SURFACE TREATMENT OF FIBRES OR FILAMENTS MADE FROM GLASS, MINERALS OR SLAGS; JOINING GLASS TO GLASS OR OTHER MATERIALS
    • C03C2217/00Coatings on glass
    • C03C2217/70Properties of coatings
    • C03C2217/73Anti-reflective coatings with specific characteristics

Definitions

  • the present invention relates to an optical member and a method for manufacturing the same, and more particularly to an optical member provided with an antireflection film on its surface and a light shielding portion around the antireflection film and a method for manufacturing the same.
  • an antireflection structure (antireflection film) is provided on the light incident surface in order to reduce the loss of transmitted light due to surface reflection. ing.
  • Patent Document 1 discloses an optical member provided with a fine uneven film mainly composed of alumina as an antireflection structure.
  • a method for forming a fine concavo-convex film mainly composed of aluminum oxide an aluminum oxide film is formed by a vacuum film formation method or a liquid phase method (sol-gel method), and then hydrothermal treatment such as water vapor treatment or hot water immersion treatment. Is known to obtain a plate-like crystal film (fine concavo-convex film) by boehmite the surface layer.
  • a light-shielding film is provided on the non-light effective portion of the optical member in order to suppress generation of harmful light that causes flare, ghosts, and the like. Generally done.
  • Patent Document 2 a protective film of at least one layer is formed on a base material, a light-shielding film is formed on a protective film formed on a non-light effective portion of an optical element, and a protection formed on a light effective portion
  • An optical member in which a plate-like crystal film mainly composed of aluminum oxide having an uneven structure is formed on a film is disclosed.
  • an optical member provided with an antireflection structure including a plate-like crystal film containing aluminum oxide as a main component and a light-shielding film provided in a non-light effective portion
  • the present inventors have the following problems. I found out.
  • the plate-like crystal film (fine concavo-convex film) containing aluminum oxide as a main component is fragile, and wiping and peeling processing (ultrasonic cleaning, chemical solution immersion, etc.) for redoing at the time of paint failure to form a light-shielding film ) Is not possible.
  • an optical thin film such as an aluminum oxide film that becomes a fine concavo-convex film or a fine concavo-convex film when subjected to hydrothermal treatment may be adversely affected by the solvent of the light shielding film.
  • an adverse effect of the solvent for example, an organic component contained in the solvent of the light-shielding film may be eluted into the warm water and reattached to the surface of the aluminum oxide film, thereby inhibiting the formation of a fine uneven structure.
  • the present invention has been made in view of the above circumstances, and an optical member manufacturing method and an optical member with few defects that can accurately and efficiently manufacture an optical member having an antireflection film and a light shielding film.
  • the purpose is to provide.
  • the first optical member manufacturing method of the present invention includes an antireflection film including a transparent fine concavo-convex film mainly composed of alumina hydrate in an optically effective region on the surface of a transparent substrate, A method for producing an optical member comprising a light shielding film in a region including a boundary portion adjacent to at least an optical effective region of an adjacent non-effective region, A first light shielding film forming step of forming the light shielding film only in a part of the region where the light shielding film is to be formed; Forming an optical thin film in a region where an antireflection film is to be formed with a hydrothermal treatment layer that is hydrothermally treated to form a fine concavo-convex film as an outermost layer; A second light-shielding film forming step of forming a light-shielding film over the entire region where the light-shielding film is not formed in the first light-shielding film forming step in the region where the light-shielding film is to be formed;
  • the second method for producing an optical member of the present invention comprises an antireflection film including a transparent fine concavo-convex film mainly composed of hydrate of alumina in an optically effective area on the surface of a transparent substrate, and the optically effective area.
  • a method for producing an optical member comprising a light shielding film in a region including a boundary portion adjacent to at least the optical effective region adjacent to the non-effective region, A first light shielding film forming step of forming the light shielding film only in a part of the region where the light shielding film is to be formed; Forming an optical thin film in a region where an antireflection film is to be formed with a hydrothermal treatment layer that is hydrothermally treated to form a fine concavo-convex film as an outermost layer; Forming a fine concavo-convex film in a region where an antireflection film is to be formed by hydrothermally treating the hydrothermal treatment layer; A second light-shielding film forming step for forming a light-shielding film over the entire region where the light-shielding film is not formed in the first light-shielding film forming step in the region where the light-shielding film is to be formed is performed in this order.
  • the first light-shielding film forming step of the first and second optical member manufacturing methods of the present invention it is preferable to form a light-shielding film at the boundary between the non-effective area and the optically effective area.
  • the light-shielding film is formed on the concavo-convex shape portion in the first light-shielding film forming step. Is preferably formed.
  • optical thin film it is preferable to form the optical thin film by vapor deposition.
  • the optically effective area where the antireflection film is formed may be a flat surface or a curved surface.
  • a light shielding film by applying a coating material containing at least one of titanium black, carbon black, black resist, and black resin and a resin binder.
  • a first optical member of the present invention includes an antireflection film including a transparent fine uneven film mainly composed of hydrate of alumina in an optically effective region on a surface of a transparent substrate, and is adjacent to the optically effective region.
  • An optical member comprising a light-shielding film in an area including at least a boundary portion adjacent to the optical effective area of the effective area, It is characterized in that a part of the non-effective region has a part in which two light shielding films are stacked.
  • the second optical member of the present invention is provided with an antireflection film including a transparent fine concavo-convex film mainly composed of alumina hydrate in the optically effective region on the surface of the transparent substrate, and is adjacent to the optically effective region.
  • An optical member comprising a light-shielding film in an area including at least a boundary portion adjacent to the optical effective area of the effective area, A part of the ineffective area includes a light-shielding film, a portion in which an optical thin film different from the light-shielding film, and a light-shielding film are sequentially laminated.
  • the above-mentioned part of the ineffective area includes an adjacent part to the optically effective area.
  • the part of the ineffective region includes the concavo-convex shape portion.
  • the optically effective area where the antireflection film is formed may be a flat surface or a curved surface.
  • the light shielding film is preferably made of a material containing one or more of titanium black, carbon black, black resist, and black resin.
  • the first and second optical member manufacturing methods of the present invention since the first light shielding part forming step is performed before the optical thin film forming step, correction such as wiping or peeling treatment is performed during the light shielding film forming step. Can be easily performed.
  • the light shielding part forming step is divided into two times, and the amount of coating on the light shielding part region formed in the first light shielding part forming step is smaller than the entire amount of the light shielding part. In the process, generation of outgas during vacuum film formation can be suppressed. Therefore, contamination of the vacuum apparatus can be suppressed, and the occurrence of defects due to impurities mixed into the film formed in vacuum can be suppressed.
  • Schematic cross section of transparent substrate Schematic cross-sectional view showing a region where an antireflection film is to be formed and a region where a light shielding film is to be formed in a transparent substrate
  • Schematic cross-sectional view showing another example of a transparent substrate provided with a light shielding film formed in the first light shielding film forming step Schematic cross-sectional view showing a transparent substrate held by a holding component in the optical thin film process of the first embodiment
  • An optical member manufactured by the manufacturing method of the present invention includes an antireflection film including a transparent fine concavo-convex film mainly composed of alumina hydrate in an optically effective region on the surface of a transparent substrate, and is adjacent to the optically effective region.
  • An optical member comprising a light shielding film in a region including a boundary portion adjacent to at least the optical effective region of the non-effective region.
  • the shape of the transparent substrate is not particularly limited as long as it is used in an optical apparatus such as a flat plate, a concave lens, and a convex lens, and a substrate composed of a combination of a curved surface and a flat surface having a positive or negative curvature is generally used.
  • a plano-concave lens 10 whose schematic cross-sectional view is shown in FIG. 1 will be described as an example as a transparent base material, but is not limited thereto.
  • optical effective area and ineffective area in the optical member differ depending on the shape of the transparent substrate and the application.
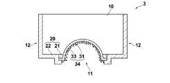
  • the concave surface area of the optically effective area of the plano-concave lens 10 is the antireflection film forming area 11 for forming the antireflection film, and the concave surface of the ineffective area is provided.
  • the entire flat portion and the entire side surface of the surface are defined as a light shielding film forming region 12 for forming a light shielding film.
  • the antireflection film forming region 11 and the light shielding film forming region 12 may be appropriately determined depending on the shape and application of the transparent substrate.
  • the portion that becomes the optical effective region is generally composed of a combination of a curved surface and a flat surface having a positive or negative curvature.
  • the region where the light-shielding film is to be formed does not include an optically effective region, and generally includes a lens side surface, a curved edge serving as an effective region, and the like.
  • the light shielding film 21 is formed only in a part of the light shielding film forming region 12.
  • the first light-shielding film forming step it is desirable that the first light-shielding film is formed at a boundary portion adjacent to an optically effective region where a coating error is likely to occur, or at a portion having a complicated uneven shape.
  • wiping for correction, ultrasonic cleaning processing, chemical solution immersion processing (caustic soda solution, etc.) occurs. Since this process has a significant adverse effect on the optical thin film and the fine concavo-convex film, the light-shielding film forming process is performed before forming the optical thin film in a region where a coating error is likely to occur.
  • FIG. 3 shows a state in which the light shielding film 21 is formed at the boundary portion adjacent to the reflection film forming effect area 11 in the light shielding film forming area 12.
  • the transparent substrate 10 having the concavo-convex portion 14 in the light-shielding film forming region 12 when using the transparent substrate 10 having the concavo-convex portion 14 in the light-shielding film forming region 12, the light-shielding film 21 is formed on the concavo-convex portion 14 in the first light-shielding film forming step. It is preferable.
  • the concavo-convex shape portion 14 provided on the transparent substrate is a mechanical part when the optical member is incorporated in an optical device or the like, for example, specifically, fixing and preventing rotation of the lens assembled in the lens barrel. For fixing the optical filter to the turret.
  • the range in which the light-shielding film at the boundary portion of the optical effective area of the optical element is formed is small.
  • the lower limit of the light shielding film formation region (formation width) at this time is limited by the positional accuracy of the means for forming the light shielding film. For example, in the case where corner painting is performed by a person's hand using a brush, it depends on the skill of the person who paints, and in the case where it is mechanically performed by a stamper or the like, it depends on the positional accuracy of the stamper used.
  • the formation width w of the light shielding film is preferably 10 mm or less. More preferably, it is preferably 5 mm or less, 2 mm or less, and further preferably 1 mm or less. However, when it is performed by a human hand using a brush, the lower limit is about 1 mm depending on individual skills.
  • the range in which the light shielding film is formed can be 0.1 mm.
  • the light shielding film is required to be at least opaque with respect to the light used, and is made of a material that substantially absorbs the light having the used wavelength without reflecting it.
  • a black material that can form an optical light shielding portion is used. Note that the black material must be insoluble in water in order to perform heat treatment in a later step.
  • a material made of any of titanium black, carbon black, black resist, black resin and a resin binder is used.
  • an optical thin film is formed in the region where the antireflection film is to be formed, with the water-heat-treated layer that is hydrothermally processed to become a fine uneven film as the outermost layer.
  • one or more optical thin films having a water-heat-treated layer containing an aluminum element as the outermost layer are formed.
  • the number, material, and film thickness of the thin film layer are selected depending on the material and film thickness having a refractive index that provides suitable antireflection performance by the fine uneven film formed by hydrothermal treatment of the outermost layer.
  • the refractive index of the fine concavo-convex film and the base material are greatly different, the reflectance is greatly reduced when an optical thin film having a refractive index smaller than that of the base material is formed on the base material.
  • oxides, nitrides, oxynitrides, fluorides, and the like of elements selected from silicon, titanium, zircon, zinc, magnesium, and gallium are known.
  • materials that can easily adjust the refractive index and obtain particularly suitable performance include silicon oxide and silicon oxynitride.
  • the outermost layer as the water-heat-treated layer is assumed to contain an aluminum element. Preferably, it contains at least one material selected from aluminum, aluminum oxide, aluminum oxynitride, and aluminum nitride.
  • the film forming method can be a batch type, and vapor phase film forming for improving productivity is preferable.
  • a known vapor deposition method such as vacuum deposition, plasma sputtering, electron cyclotron sputtering, or ion plating can be used.
  • the formation range of the optical thin film is at least a region where the antireflection film is to be formed, but may be formed over a part or the whole of the light shielding film formed in the first light shielding film forming step.
  • film formation is performed by holding the transparent base material 10 in a state where the formation region of the optical thin film is exposed by the vacuum film forming holding part 35.
  • the formation range of the optical thin film may be limited not only by masking with the holding component but also by masking with a separate mask means.
  • the optical thin film forming step for example, as schematically shown in FIG. 6, on the antireflection film forming region 11 and a part of the light shielding film 21 formed in the first light shielding film forming step at the boundary adjacent thereto.
  • the optical thin film 30 is formed.
  • the optical thin film 30 is composed of two layers 31 and 32, and the hydrothermally treated layer 32 is formed as the outermost layer.
  • the light shielding film 22 is formed in the entire region where the light shielding film 21 is not formed in the first light shielding film forming step in the region 12 where the light shielding film is to be formed.
  • the light-shielding film 22 may be formed again on the region where the light-shielding film 21 is formed in the first light-shielding film forming process so that there is no formation of the light-shielding film.
  • the light shielding film may be formed on the optical thin film formed in the thin film forming process so that there is no formation of the light shielding film.
  • the light shielding film material used in the second light shielding film forming step is the same as that used in the first light shielding film forming step. In general, the same material is used in the first and second light shielding film forming steps, but different materials may be used as long as they are the above-described materials.
  • a fine uneven film is formed by hydrothermally treating the optical thin film.
  • the hydrothermal treatment layer 32 provided on the outermost layer of the optical thin film 30 is subjected to hydrothermal treatment such as exposing the optical thin film to water vapor or immersing the transparent substrate together with warm water.
  • the film 33 is formed (FIG. 8).
  • a hydrothermally treated film containing aluminum is heated to 1 atm. It is known that a fine concavo-convex film is formed when immersed for more than a minute. As a condition for obtaining a good fine concavo-convex film, it is preferable to immerse in warm water of 70 ° C. or higher for 3 minutes or longer. There is no particular upper limit for the dipping time, but it is preferably 30 minutes or less because elution of aluminum hydroxide proceeds slightly. When exposed to water vapor, it is preferable to expose to water at 143 ° C. or higher for 60 minutes or longer.
  • the optically effective region on the surface of the transparent substrate 10 as shown in FIG. 8 is provided with the antireflection film 34 including the transparent fine concavo-convex film 33 mainly composed of alumina hydrate, and optically effective.
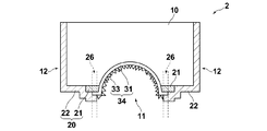
  • the optical member 1 having the light shielding film 20 (21, 22) in the ineffective area adjacent to the antireflection film forming area 11 in the area can be obtained.
  • the light shielding film 21 formed in the first light shielding film forming step and the light shielding film 22 formed in the second light shielding film forming step are partly in the ineffective region. There is an overlapping portion 25.
  • the cross section of the light shielding films 21 and 22 is cross-sectioned by a scanning electron microscope (SEM) or the like. By observing, it can be confirmed that they are stacked.
  • SEM scanning electron microscope
  • hydrothermal treatment is performed on the optical thin film before the second light shielding film forming step.
  • the details of the hydrothermal treatment are the same as in the case of the first embodiment.
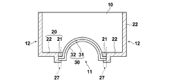
  • FIG. 9 a structure is obtained in which the transparent substrate 10 includes a partial light shielding film 21 and an antireflection film 34 including a fine uneven film 33 on the concave surface.
  • a second light shielding film forming step is performed in which a light shielding film is formed in a region where the light shielding film 21 is not formed in the first light shielding film forming step in the light shielding film forming region 12.
  • the second light shielding film forming step can be substantially the same as that of the first embodiment.
  • the second light shielding film 22 may be formed so as to cover the end of the optical thin film 30 including the fine uneven film 33 formed on the first light shielding film 21. At the end of the optical thin film 30, the fine uneven film 33 is fragile, so it is broken by the pressure when the light shielding film 22 is applied, and only the layer 31 below the fine uneven film 33 remains.
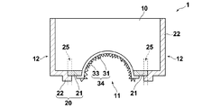
  • the optically effective region on the surface of the transparent substrate 10 as shown in FIG. 10 is provided with the antireflection film 34 including the transparent fine concavo-convex film 33 mainly composed of alumina hydrate, and is optically effective.
  • An optical member 2 having a light shielding film 20 (21, 22) in an ineffective area adjacent to the antireflection film forming area 11 in the area can be obtained.
  • the antireflection film forming region 11 on which the antireflection film is formed is a concave portion, and the entire flat surface portion on the concave surface around the concave portion and the entire side surface of the lens are formed on the light shielding film forming region 12. (See FIG. 2).
  • a light-shielding film 21 made of carbon black and a resin binder was applied to the periphery of the optically effective region using a brush and formed with a width of 5 mm (see FIG. 3). The application was performed by fixing the transparent base material to the rotary stage with a vacuum chuck and rotating it slowly.
  • the light shielding film 21 is formed only at the boundary portion adjacent to the effective region.
  • the place where a coating film error is a concern depends on the lens shape. You may form in the other place which is not illustrated.
  • the transparent base material 10 is held in the vacuum film-forming apparatus by the vacuum film-forming holding part 35 shown in FIG. 5, the silicon oxynitride thin film layer 31 is formed to a thickness of 90 nm by the reactive sputtering apparatus, and the alumina thin film layer 32 is subsequently formed. Was deposited to 40 nm.
  • the silicon oxynitride thin film layer 31 and the alumina thin film layer 32 constitute the optical thin film 30.
  • the vacuum film-forming holding component 35 is designed so as to mask a part of the light shielding film 21 formed in the first light shielding film forming step, and the optical thin film 30 is formed on a part of the light shielding film 21. Not to be.
  • the silicon oxynitride thin film layer 31 and the alumina thin film layer 32 are formed as shown in FIG.
  • the light shielding film 22 was formed in the same manner as in the first light shielding film forming step in the region where the light shielding film was not yet applied in the light shielding film forming region. At this time, the light-shielding film 22 was formed so as to overlap with a part of the light-shielding film 21 formed for the first time so as not to form a formation part (see FIG. 7).
  • the transparent base material 10 on which the light-shielding films 20 (21, 22) and the optical thin film 30 are formed is immersed in warm water at 80 ° C. for 5 minutes, the outermost alumina thin film layer 32 becomes an aluminum hydroxide and becomes fine. It became the fine uneven
  • the antireflection film forming region 11 good antireflection characteristics were obtained on the concave surface of the concave lens due to optical interference between the silicon oxynitride layer 31 and the fine concavo-convex film 33 formed by plate crystals.
  • Example 1 an optically effective area on the surface of the transparent substrate 10 is provided with an antireflection film 34 including a transparent fine uneven film 33 mainly composed of hydrate of alumina.
  • An optical member provided with a light shielding film 20 (21, 22) in an ineffective area adjacent to the antireflection film forming area 11 in the effective area, and in the first light shielding film forming step in a part of the ineffective area.
  • Example 2 In the same manner as in Example 1, the light shielding film 21 was formed on the transparent substrate 10 in the first light shielding film forming step, and then the optical thin film 30 was formed. Thereafter, before performing the second light shielding film forming step, when the transparent base material 10 on which a part of the light shielding film 21 and the optical thin film 30 are formed is immersed in warm water of 80 ° C. for 5 minutes, the outermost alumina thin film layer 32 is formed. Becomes aluminum hydroxide and becomes a fine uneven film 33 made of fine plate crystals (see FIG. 9).
  • a light shielding film 22 is formed in a region of the light shielding film forming region 12 where the light shielding film 21 is not yet applied by the same method as the first light shielding film forming step.
  • the light shielding film 22 was formed so as to be overlapped with a part of the light shielding film 21 formed first so as not to form a formation part.
  • Example 3 In the same manner as in Example 1, the light shielding film 21 was formed on the transparent substrate 10 in the first light shielding film forming step, and then the optical thin film 30 was formed. At this time, the optical thin film 30 was formed over the entire surface of the light shielding film 21. Next, the second light shielding film forming step is performed in the same manner as in the first embodiment. At this time, the silicon oxynitride thin film formed on the light shielding film 21 is formed so as to prevent the formation of the light shielding film. The light shielding film 22 was formed so as to overlap the layer 31 and part of the alumina thin film layer 32. In this way, as shown in FIG.
  • the light shielding film 21 and the optical thin film 30 (the silicon oxynitride thin film layer 31 and the alumina thin film are formed on a part of the ineffective area adjacent to the optical effective area from the transparent substrate 10 side.
  • a portion 27 in which the layer 32) and the light shielding film 22 are sequentially stacked is formed.
  • Example 3 the optically effective area of the surface of the transparent substrate 10 is provided with an antireflection film 34 including a transparent fine uneven film 33 mainly composed of alumina hydrate, and optical.
  • An optical member provided with a light shielding film 20 (21, 22) in an ineffective area adjacent to the antireflection film forming area 11 in the effective area, and in the first light shielding film forming step in a part of the ineffective area.
  • An optical element 3 was obtained in which a portion 27 formed by laminating the light shielding film 21 and the optical thin film 30 to be formed and the light shielding film 22 formed in the second light shielding film forming step was obtained.
  • Example 4 In the same manner as in Example 1, the light shielding film 21 was formed on the transparent substrate 10 in the first light shielding film forming step, and then the optical thin film 30 was formed. Thereafter, before performing the second light shielding film forming step, when the transparent base material 10 on which a part of the light shielding film 21 and the optical thin film 30 are formed is immersed in warm water of 80 ° C. for 5 minutes, the outermost alumina thin film layer 32 is formed. Became aluminum hydroxide and became a fine uneven film 33 made of fine plate crystals (see FIG. 9).
  • the light shielding film is formed in the same manner as the first light shielding film formation in the region of the light shielding film forming region 12 where the light shielding film 21 is not formed by the first light shielding film forming step. 22 is formed.
  • the light-shielding film 22 was formed so as to overlap a part of the silicon oxynitride thin film layer 31 and the fine uneven film 33 formed on the light-shielding film 21 so as to prevent the formation of the light-shielding film.
  • the fine concavo-convex film 33 made of a plate crystal of aluminum hydroxide is destroyed by the pressure at the time of applying the light shielding film 22, and as shown in FIG.
  • the layer 31, which is an optical thin film different from the light shielding films 21, 22, is formed between the light shielding films 21, 22, such as the light shielding film 21, the silicon oxynitride thin film layer 31, and the light shielding film 22 from the transparent substrate 10 side.
  • a layered portion 26 is formed. At this time, in the effective region, as in Example 1, good antireflection characteristics were obtained.
  • Example 4 an optically effective region on the surface of the transparent substrate 10 is provided with an antireflection film 34 including a transparent fine uneven film 33 mainly composed of alumina hydrate.
  • An optical member provided with a light shielding film 20 (21, 22) in an ineffective area adjacent to the antireflection film forming area 11 in the effective area, and in the first light shielding film forming step in a part of the ineffective area.
  • An optical element 2 was obtained in which a portion 31 of the light shielding film 21 and the optical thin film 30 to be formed and the portion 26 where the light shielding film 22 formed in the second light shielding film formation step overlaps were present.

Landscapes

  • Physics & Mathematics (AREA)
  • General Physics & Mathematics (AREA)
  • Optics & Photonics (AREA)
  • Chemical & Material Sciences (AREA)
  • Inorganic Chemistry (AREA)
  • Life Sciences & Earth Sciences (AREA)
  • Engineering & Computer Science (AREA)
  • Chemical Kinetics & Catalysis (AREA)
  • General Chemical & Material Sciences (AREA)
  • Geochemistry & Mineralogy (AREA)
  • Materials Engineering (AREA)
  • Organic Chemistry (AREA)
  • Surface Treatment Of Optical Elements (AREA)
  • Optical Elements Other Than Lenses (AREA)
PCT/JP2014/000812 2013-03-15 2014-02-18 光学部材およびその製造方法 Ceased WO2014141592A1 (ja)

Priority Applications (1)

Application Number Priority Date Filing Date Title
US14/850,310 US10473821B2 (en) 2013-03-15 2015-09-10 Optical member and its production method

Applications Claiming Priority (2)

Application Number Priority Date Filing Date Title
JP2013-052646 2013-03-15
JP2013052646A JP6080299B2 (ja) 2013-03-15 2013-03-15 光学部材およびその製造方法

Related Child Applications (1)

Application Number Title Priority Date Filing Date
US14/850,310 Continuation US10473821B2 (en) 2013-03-15 2015-09-10 Optical member and its production method

Publications (1)

Publication Number Publication Date
WO2014141592A1 true WO2014141592A1 (ja) 2014-09-18

Family

ID=51536276

Family Applications (1)

Application Number Title Priority Date Filing Date
PCT/JP2014/000812 Ceased WO2014141592A1 (ja) 2013-03-15 2014-02-18 光学部材およびその製造方法

Country Status (3)

Country Link
US (1) US10473821B2 (enExample)
JP (1) JP6080299B2 (enExample)
WO (1) WO2014141592A1 (enExample)

Cited By (1)

* Cited by examiner, † Cited by third party
Publication number Priority date Publication date Assignee Title
WO2016060003A1 (ja) * 2014-10-15 2016-04-21 富士フイルム株式会社 光学素子および光学素子の製造方法

Families Citing this family (12)

* Cited by examiner, † Cited by third party
Publication number Priority date Publication date Assignee Title
WO2016159290A1 (ja) * 2015-03-31 2016-10-06 富士フイルム株式会社 反射防止膜及びその製造方法
WO2016170727A1 (ja) 2015-04-20 2016-10-27 富士フイルム株式会社 構造物の製造方法
JP6923998B2 (ja) 2016-03-24 2021-08-25 キヤノン株式会社 光学部材およびその製造方法
JP6786248B2 (ja) 2016-04-12 2020-11-18 キヤノン株式会社 光学素子およびその製造方法
JP6971587B2 (ja) * 2017-02-27 2021-11-24 キヤノン株式会社 光学素子及びその製造方法、光学機器
WO2019004064A1 (ja) * 2017-06-30 2019-01-03 シャープ株式会社 蛍光体層組成物、蛍光部材、光源装置および投影装置
JPWO2020022295A1 (ja) * 2018-07-26 2021-08-02 Agc株式会社 光学素子、光学系、および光学装置
TWI707169B (zh) * 2019-11-29 2020-10-11 大立光電股份有限公司 成像鏡頭、相機模組及電子裝置
WO2022045012A1 (ja) * 2020-08-31 2022-03-03 Agc株式会社 光学素子
US11714212B1 (en) * 2020-09-14 2023-08-01 Apple Inc. Conformal optical coatings for non-planar substrates
WO2022118659A1 (ja) * 2020-12-02 2022-06-09 東海光学株式会社 光学薄膜の製造方法及び光学薄膜
TWI844959B (zh) * 2022-05-13 2024-06-11 大立光電股份有限公司 成像鏡頭、相機模組及電子裝置

Citations (2)

* Cited by examiner, † Cited by third party
Publication number Priority date Publication date Assignee Title
JPH1164607A (ja) * 1997-08-22 1999-03-05 Asahi Optical Co Ltd 複合型レンズ
JP2012073590A (ja) * 2010-08-31 2012-04-12 Canon Inc 光学部材、その製造方法及び光学系

Family Cites Families (1)

* Cited by examiner, † Cited by third party
Publication number Priority date Publication date Assignee Title
JP4182236B2 (ja) 2004-02-23 2008-11-19 キヤノン株式会社 光学部材および光学部材の製造方法

Patent Citations (2)

* Cited by examiner, † Cited by third party
Publication number Priority date Publication date Assignee Title
JPH1164607A (ja) * 1997-08-22 1999-03-05 Asahi Optical Co Ltd 複合型レンズ
JP2012073590A (ja) * 2010-08-31 2012-04-12 Canon Inc 光学部材、その製造方法及び光学系

Cited By (2)

* Cited by examiner, † Cited by third party
Publication number Priority date Publication date Assignee Title
WO2016060003A1 (ja) * 2014-10-15 2016-04-21 富士フイルム株式会社 光学素子および光学素子の製造方法
JPWO2016060003A1 (ja) * 2014-10-15 2017-07-13 富士フイルム株式会社 光学素子および光学素子の製造方法

Also Published As

Publication number Publication date
JP2014178502A (ja) 2014-09-25
JP6080299B2 (ja) 2017-02-15
US10473821B2 (en) 2019-11-12
US20150378058A1 (en) 2015-12-31

Similar Documents

Publication Publication Date Title
JP6080299B2 (ja) 光学部材およびその製造方法
JP5466499B2 (ja) 眼用レンズの処理方法
JP6786248B2 (ja) 光学素子およびその製造方法
JP2012073590A (ja) 光学部材、その製造方法及び光学系
CN102346266A (zh) 光学物品及其制造方法
JP7005584B2 (ja) レンズ及びその製造方法とレンズモジュール
JP6923998B2 (ja) 光学部材およびその製造方法
WO2015097898A1 (ja) 多層反射防止膜の成膜方法
KR102067930B1 (ko) 양면패턴을 갖는 스마트폰 카메라용 윈도우글라스 제조방법
JP2010054827A (ja) 光学素子及び該光学素子の製造方法
JP2013114103A (ja) 光学系および光学機器
WO2015146016A1 (ja) 反射防止機能付きレンズの製造方法
WO2020090417A1 (ja) コーティング方法
JP5922324B2 (ja) 光学物品およびその製造方法
JP2013217962A (ja) 素子の製造方法
CN108193171B (zh) 多通道集成滤光片光隔离结构的制造方法
EP1802452B1 (en) Optical element with an opaque chrome coating having an aperture and method of making same
CN222952500U (zh) 光学元件
WO2025028208A1 (ja) カバーガラス及び撮像装置
JP4486404B2 (ja) 透光性樹脂製品の製造方法及び透光性樹脂製品
US20250298172A1 (en) Medical device comprising an optical element with anti-reflective coating
TWI564650B (zh) 雷射反射型遮罩製造方法
KR20040084607A (ko) 플라스틱 안경렌즈의 칼라 코팅방법
CN107907935A (zh) 一种多通道集成滤光片的光隔离结构及其制造方法
CN120010032A (zh) 一种光学零件的镀膜方法

Legal Events

Date Code Title Description
121 Ep: the epo has been informed by wipo that ep was designated in this application

Ref document number: 14763219

Country of ref document: EP

Kind code of ref document: A1

NENP Non-entry into the national phase

Ref country code: DE

122 Ep: pct application non-entry in european phase

Ref document number: 14763219

Country of ref document: EP

Kind code of ref document: A1