WO2014136669A1 - X線診断装置 - Google Patents

X線診断装置 Download PDF

Info

Publication number
WO2014136669A1
WO2014136669A1 PCT/JP2014/055050 JP2014055050W WO2014136669A1 WO 2014136669 A1 WO2014136669 A1 WO 2014136669A1 JP 2014055050 W JP2014055050 W JP 2014055050W WO 2014136669 A1 WO2014136669 A1 WO 2014136669A1
Authority
WO
WIPO (PCT)
Prior art keywords
posture
unit
ray
diagnostic apparatus
angle
Prior art date
Legal status (The legal status is an assumption and is not a legal conclusion. Google has not performed a legal analysis and makes no representation as to the accuracy of the status listed.)
Ceased
Application number
PCT/JP2014/055050
Other languages
English (en)
French (fr)
Japanese (ja)
Inventor
義訓 清水
政広 小澤
Current Assignee (The listed assignees may be inaccurate. Google has not performed a legal analysis and makes no representation or warranty as to the accuracy of the list.)
Toshiba Corp
Canon Medical Systems Corp
Original Assignee
Toshiba Corp
Toshiba Medical Systems Corp
Priority date (The priority date is an assumption and is not a legal conclusion. Google has not performed a legal analysis and makes no representation as to the accuracy of the date listed.)
Filing date
Publication date
Application filed by Toshiba Corp, Toshiba Medical Systems Corp filed Critical Toshiba Corp
Priority to CN201480011643.4A priority Critical patent/CN105025791A/zh
Publication of WO2014136669A1 publication Critical patent/WO2014136669A1/ja
Priority to US14/843,014 priority patent/US20150374325A1/en
Anticipated expiration legal-status Critical
Ceased legal-status Critical Current

Links

Images

Classifications

    • AHUMAN NECESSITIES
    • A61MEDICAL OR VETERINARY SCIENCE; HYGIENE
    • A61BDIAGNOSIS; SURGERY; IDENTIFICATION
    • A61B6/00Apparatus or devices for radiation diagnosis; Apparatus or devices for radiation diagnosis combined with radiation therapy equipment
    • A61B6/54Control of apparatus or devices for radiation diagnosis
    • A61B6/547Control of apparatus or devices for radiation diagnosis involving tracking of position of the device or parts of the device
    • AHUMAN NECESSITIES
    • A61MEDICAL OR VETERINARY SCIENCE; HYGIENE
    • A61BDIAGNOSIS; SURGERY; IDENTIFICATION
    • A61B6/00Apparatus or devices for radiation diagnosis; Apparatus or devices for radiation diagnosis combined with radiation therapy equipment
    • A61B6/44Constructional features of apparatus for radiation diagnosis
    • A61B6/4429Constructional features of apparatus for radiation diagnosis related to the mounting of source units and detector units
    • A61B6/4435Constructional features of apparatus for radiation diagnosis related to the mounting of source units and detector units the source unit and the detector unit being coupled by a rigid structure
    • A61B6/4441Constructional features of apparatus for radiation diagnosis related to the mounting of source units and detector units the source unit and the detector unit being coupled by a rigid structure the rigid structure being a C-arm or U-arm
    • AHUMAN NECESSITIES
    • A61MEDICAL OR VETERINARY SCIENCE; HYGIENE
    • A61BDIAGNOSIS; SURGERY; IDENTIFICATION
    • A61B6/00Apparatus or devices for radiation diagnosis; Apparatus or devices for radiation diagnosis combined with radiation therapy equipment
    • A61B6/04Positioning of patients; Tiltable beds or the like
    • A61B6/0407Supports, e.g. tables or beds, for the body or parts of the body

Definitions

  • Embodiment relates to an X-ray diagnostic apparatus.
  • an operation of moving a supporter such as a C-arm may be required. This operation is performed by manual input by the user using the operation unit.
  • Patent Document 2 when performing an inspection in which the observation direction is determined in advance, such as a routine inspection, by registering the inspection sequence in advance, switching of an imaging program at the time of actual inspection or auto-positioning Has been disclosed.
  • This function is called a sequence automatic reproduction function.
  • Patent Document 3 discloses a technique for displaying a list of shooting angles stored in the auto-positioning function on a monitor when reproducing the shooting angles by auto-positioning.
  • the above-described auto-positioning requires a user to input a positioning number and select from a number of angle candidates.
  • the positioning number is a number associated with each registered position.
  • the supporter or the bed is positioned at a desired position (that is, the desired position is reproduced).
  • the user clearly recognizes the posture (angle) of the supporter or bed that he / she wants to reproduce, but does not always remember the positioning number associated with the posture.
  • An object of the embodiment is to provide an X-ray diagnostic apparatus that can execute positioning of a supporter by an intuitive operation.
  • An X-ray diagnostic apparatus includes an X-ray tube that generates X-rays, an X-ray detector that detects X-rays generated by the X-ray tube, and the X-ray tube and the X-ray detector. And a support portion that rotatably supports the plurality of movable shafts, and angle information expressed by rotation angles about the plurality of movable shafts regarding at least one preset posture of the support portion.
  • a storage unit and a display unit for displaying at least one first angle mark corresponding to the at least one posture on a clinical angle map expressing the coordinate system based on the plurality of movable axes defining the posture of the support unit And.
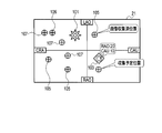
  • FIG. 1 is a block diagram illustrating a configuration example of the X-ray diagnostic apparatus according to the first embodiment.
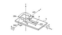
  • FIG. 2 is a diagram illustrating an example of a coordinate system related to driving of the support.
  • FIG. 3 is a diagram illustrating a flowchart of a clinical angle setting process performed by the X-ray diagnostic apparatus according to the first embodiment.
  • FIG. 4 is a diagram illustrating an example of a clinical angle map presented to the user during the clinical angle setting process.
  • FIG. 5 is a block diagram illustrating a cooperative relationship among the system control unit, the display unit / operation unit, and the drive unit.
  • FIG. 6 is a diagram showing another example of the clinical angle map.
  • FIG. 7 is a diagram illustrating a display example of auxiliary information displayed together with the target posture mark.
  • FIG. 8 is a diagram illustrating a display example of auxiliary information displayed together with the target posture mark.
  • FIG. 9 is a diagram illustrating an example of a clinical angle map presented to the user during the clinical angle setting process.
  • FIG. 10 is a block diagram illustrating a cooperative relationship among the system control unit, the display unit / operation unit, and the drive unit.
  • FIG. 11 is a diagram illustrating a display example of auxiliary information displayed together with the target posture mark.
  • FIG. 12 is a diagram illustrating an example of a clinical angle map presented to the user during the clinical angle setting process.
  • FIG. 13 is a diagram illustrating an example of a clinical angle map presented to the user during the clinical angle setting process.
  • FIG. 14 is a diagram illustrating a display example of a schematic image according to the fourth embodiment.
  • FIG. 1 is a block diagram illustrating a configuration example of the X-ray diagnostic apparatus according to the first embodiment.
  • the X-ray diagnostic apparatus 1 includes a support 10, a bed 11, an X-ray irradiation unit 14, an X-ray detector 15, an image data generation unit 18, an operation unit 21, and an image.
  • a storage unit 22, a system control unit 23, a display unit 27, an X-ray control unit 30, a high voltage supply device 31, and a drive unit 32 are provided.
  • the support device 10 is a mechanism that supports the X-ray irradiation unit 14 and the X-ray detector 15 so as to be rotatable with respect to a plurality of movable shafts.
  • the support device 10 includes a C-arm 10-1 and a base 10-2.
  • the C-arm 10-1 supports the X-ray irradiation unit 14 and the X-ray detector 15 so as to be rotatable around the rotation axis.
  • the base 10-2 supports the C-arm 10-1 so as to be rotatable about a rotation axis.
  • the intersection of the rotation axis and the rotation axis is called an isocenter.
  • the movable shaft is a shaft that conceptually includes a rotation shaft and a rotation shaft.
  • the bed 11 is supported in the vertical direction and the horizontal direction. A subject P is placed on the bed 11.
  • the X-ray irradiation unit 14 includes an X-ray tube 14-1 and an X-ray restrictor 14-2.
  • the X-ray tube 14-1 is connected to the high voltage generator 31-1.
  • the X-ray tube 14-1 receives the supply of the filament current from the high voltage generator 31-1 and the application of the high voltage, and generates X-rays.
  • the X-ray restrictor 14-2 is attached to the X-ray tube 14-1.
  • the X-ray diaphragm 14-2 limits the X-ray irradiation field irradiated to the subject P.
  • the X-ray detector 15 detects X-rays generated by the X-ray tube 14-1 and transmitted through the subject P.
  • FIG. 2 is a diagram illustrating an example of a coordinate system related to driving of the support 10.
  • the axis parallel to the major axis of the bed 11 is taken as the z axis
  • the axis parallel to the minor axis of the bed 11 is taken as the x axis
  • the axis orthogonal to the upper surface of the bed 11 is taken as the y axis.
  • the x-axis, y-axis, and z-axis constitute an orthogonal coordinate system.
  • the axis connecting the focal point of the X-ray tube 14-1 and the center of the detection surface of the X-ray detector 15 is referred to as an imaging center axis.
  • the inclination with respect to the x-axis of the photographing central axis is defined by the rotation angle ⁇
  • the rotation angle ⁇ is defined as a reference angle, for example, the rotation angle ⁇ and the rotation angle ⁇ are 0 degrees.
  • the tilt direction of the imaging center axis in the + x-axis direction is defined as LAO (Left Anterior Oblique View: second oblique position), and the tilt in the -x-axis direction is RAO (Right Anterior Oblique View: second view). 1 oblique direction).
  • the direction of inclination of the imaging center axis in the ⁇ z-axis direction is defined as CRA (Cranial view)
  • the direction of inclination in the + z-axis direction is CAU (Caudal view: head-to-tail direction).
  • the image data generation unit 18 includes an arithmetic circuit 18-1 and a storage circuit 18-2.
  • the arithmetic circuit 18-1 reads data in units of lines from the X-ray detector 15, and generates image data such as fluoroscopic image data and captured image data based on the read data. Further, the arithmetic circuit 18-1 associates the image capturing condition supplied from the system control unit 23 with the generated image data.
  • Examples of the imaging conditions include the posture of the support 10 at the time of X-ray imaging. Specifically, the attitude of the supporter 10 means the orientation of the C-arm 10-1 in the xyz coordinate system. In other words, the posture of the supporter 10 means the relative orientation of the C arm 10-1 with respect to the bed 11.
  • the storage circuit 18-2 stores the image data generated by the arithmetic circuit 18-1.
  • the operation unit 21 is connected to the system control unit 23 and receives input of various operations on the X-ray diagnostic apparatus 1.
  • the operation unit 21 is a touch panel, a control panel, a foot switch, a joystick, or the like.
  • An example of the operation unit 21 according to the first embodiment is a touch panel. That is, in the first embodiment, it is assumed that a touch panel is used as an input / output device.
  • the image storage unit 22 is a storage device that stores X-ray image data and the like. More specifically, the image storage unit 22 stores the X-ray image data in association with information indicating the posture of the supporter 10 when X-ray imaging of the X-ray image data is performed.
  • information indicating the posture is referred to as posture information.
  • the posture information is defined by the rotation angle of the support device 10.
  • the system control unit 23 comprehensively controls each unit of the X-ray diagnostic apparatus 1.
  • the display unit 27 displays various information. Specifically, the display unit 27 includes a display image data generation circuit 27-1 and a monitor 27-2.
  • the display image data generation circuit 27-1 converts the image data generated by the X-ray detector 15 into display image data displayed on the monitor 27-2.
  • the monitor 27-2 displays the display image data generated by the display image data generation circuit 27-1.
  • the display unit 27 displays a clinical angle map, which will be described later.
  • the X-ray control unit 30 controls the high voltage supply device 31 according to the control by the system control unit 23.
  • the high voltage supply device 31 includes a high voltage generator 31-1 and a high voltage control unit 31-2.
  • the high voltage generator 31-1 applies a high voltage to the X-ray tube 14-1 according to control by the high voltage control unit 31-2, and supplies a filament current.
  • the driving unit 32 individually drives the rotation of the support device 10, the bed 11, and the X-ray diaphragm 14-2 according to the control by the system control unit 23.
  • FIG. 3 is a diagram illustrating a flowchart of a clinical angle setting process performed by the X-ray diagnostic apparatus according to the first embodiment.
  • FIG. 4 is a diagram illustrating an example of a clinical angle setting screen presented to the user during the clinical angle setting process.
  • FIG. 5 is a block diagram showing the mutual relationship among the system control unit 23, the display unit 27, the operation unit 21, and the drive unit 32.
  • the system control unit 23 acquires the posture information indicating the current posture of the support device 10 from the drive unit 32 (step S1).
  • the current posture information of the support device 10 will be referred to as current posture information.
  • the system control unit 23 detects current posture information (rotation angle) of the support device 10 based on an electrical signal from a rotary encoder provided in the support device 10.
  • the system control unit 23 causes the operation unit (touch panel) 21 to display the current posture information acquired in step S1 (step S2).
  • the display unit 27 displays a mark (hereinafter referred to as a current posture mark) 101 corresponding to the current posture information on the clinical angle map.
  • the clinical angle map is defined by a coordinate system based on a plurality of movable axes of the support 10 that defines the posture of the support 10.
  • the clinical angle map is defined by an orthogonal coordinate system in which the vertical axis is defined by the rotation angle ⁇ and the horizontal axis is defined by the rotation angle ⁇ .
  • the vertical axis is defined as LAO and RAO
  • the horizontal axis is defined as CAU and CRA.
  • the display unit 27 identifies the coordinates in the clinical angle map of the current posture mark 101 based on the rotation angle corresponding to the current posture mark 101, and displays the current posture mark 101 at the identified coordinates.
  • the user can recognize the current clinical angle of the support device 10 quantitatively and sensorially by viewing the current posture mark 101 displayed on the coordinate plane of the orthogonal coordinate system indicating the clinical angle. That is, the operation unit 21 functions as a display unit that graphically displays the posture information of the support device 10. More specifically, it functions as a display unit that displays the current posture information on the coordinate plane of the orthogonal coordinate system using the rotation angle of the support 10 around the movable axis as a parameter.
  • the system control unit 23 determines whether or not target posture information indicating a target posture of the supporter 10 set in advance is designated (step S3).
  • the user operates the operation unit 21 to designate the target posture by positioning the mark 103 corresponding to the target posture information at a desired position on the clinical angle map.
  • a mark corresponding to the target posture information is referred to as a target posture mark.
  • the target posture of the support device 10 is designated by placing the target posture mark 103 at a desired position in the clinical angle map.
  • the display unit 27 may display the current posture mark 101 and the target posture mark 103 in different modes in order to facilitate discrimination by the user.
  • the display unit 27 can display the current posture mark 101 and the target posture mark 103 with different marks.
  • the display unit 27 may display the current posture mark 101 and the target posture mark 103 in different colors, shapes, and patterns.
  • the display unit 27 may display a numerical value of the rotation angle related to the mark in the vicinity of each of the current posture mark 101 and the target posture mark 103. For example, as shown in FIG. 4, the rotation angle (RAO: 20, CAU: 10) related to the mark 103 is displayed near the target posture mark 103.
  • step S3 is a step of waiting until the target posture of the supporter 10 is designated.
  • step S4 determines whether or not the designated target posture can be arranged (step S4). More specifically, the system control unit 23 determines whether or not the support device 10 can be placed in the designated target posture based on the rotation angle of the current posture of the support device 10 and the movable range of the support device 10. judge. When the rotation angle of the specified target posture is within the movable range of the support device 10, the system control unit 23 determines that the specified target posture can be arranged, and the rotation angle of the specified target posture is supported. If it is not within the movable range of the container 10, it is determined that the designated target posture cannot be arranged.
  • the movable range changes in accordance with the relative relationship between the current posture of the support device 10 and the posture of the bed 11. That is, it is determined that the angular range in which the supporter 10 mechanically interferes with the bed 11 cannot be arranged, and the angular range in which the supporter 10 does not mechanically interfere with the bed 11 is determined to be arrangeable.
  • step S4 When it is determined in step S4 that the support device 10 cannot be disposed in the target posture (step S4: NO), the system control unit 23 notifies the user that “the device cannot be disposed in the input target posture”. (Step S7). That is, the system control unit 23 functions as a notification unit that notifies the user that it cannot be arranged.
  • step S7 the system control unit 23 displays “noting that the supporter 10 cannot be placed in the target posture” on the monitor 27-2 provided with the touch panel. In addition to the notification by such display, the system control unit 23 may notify the fact by voice or the like. After finishing the process of step S7, the system control part 23 transfers to the process of step S3.
  • step S4 When it is determined in step S4 that the support device 10 can be placed in the target posture (step S4: YES), the system control unit 23 moves the support device 10 from the current posture based on the current posture information and the target posture information.
  • the amount of rotation required to rotate to the target posture is calculated (step S5).
  • the rotation amount is defined as the difference between the rotation angle of the current posture and the rotation angle of the target posture.
  • step S6 the system control part 23 controls the drive part 32, and arrange
  • the system controller 23 determines whether the supporter 10 can be placed in the target posture.
  • the display unit 27 may clearly indicate an angular range in which the supporter 10 is movable or an angular range in which the support 10 is not movable in the clinical angle map.
  • FIG. 6 is a diagram showing another display example of the clinical angle map. As shown in FIG. 6, the clinical angle map is divided into a movable range R1 and a non-movable range R2. As described above, the movable range R1 and the non-movable range R2 are estimated by the system control unit 23 based on the rotation angle of the current posture of the supporter 10 and the movable range.
  • the angular range in which the supporter 10 mechanically interferes with the bed 11 is the non-movable range R2
  • the angular range in which the supporter 10 does not mechanically interfere with the bed 11 is the movable range R1. Is done.
  • the user can visually determine whether or not the supporter 10 can be placed in the target posture.
  • the X-ray diagnostic apparatus in which the user can easily place the supporter 10 and the bed 11 in a desired posture by an intuitive operation.
  • the X-ray diagnostic apparatus according to the present embodiment can reproduce a desired rotation angle of the supporter 10, that is, a desired posture.
  • the X-ray diagnostic apparatus achieves the following effects.
  • the system control unit 23 and the operation unit 21 cooperate to allow the user to intuitively perform the clinical angle setting process on the clinical angle setting screen illustrated in FIG. 4. be able to. Therefore, the user does not need to store or check the positioning number necessary for reproducing the desired posture (angle), and can omit complicated processing.
  • the X-ray diagnostic apparatus can easily input and reproduce the posture to be reproduced directly.
  • FIG. 7 and 8 are diagrams showing an example of display of auxiliary information displayed together with the target posture mark 103 displayed by the display unit 27.
  • FIG. 7 and 8 are diagrams showing an example of display of auxiliary information displayed together with the target posture mark 103 displayed by the display unit 27.
  • the system control unit 23 quantitatively displays auxiliary information (quantitative information) indicating the clinical angle related to the target posture mark 103.
  • auxiliary information quantitative information
  • the display unit 27 may display, as the auxiliary information 103h, a schematic diagram that schematically represents the supporter 10 that takes a posture corresponding to the target posture mark 103, as shown in FIG.
  • This schematic diagram 103h is a schematic diagram representing the support device 10 viewed from the operation unit 21 side so that a user operating the operation unit (touch panel) 21 can grasp the posture corresponding to the target posture mark 103. good.
  • the schematic diagram 103h not only the support device 10 but also the bed 11 may be drawn.
  • the schematic diagram 103 schematically represents a relative arrangement relationship between the support device 10 and the bed.
  • the target posture information related to the target posture mark and the schematic diagram 103 are stored in association with each other by the image storage unit 22.
  • the display unit 27 reads a schematic diagram associated with the target posture information regarding the designated mark 103 from the image storage unit 22, and approaches the read schematic diagram to the mark 103. And display.
  • the schematic diagram and the rotation angle may be displayed side by side.
  • the X-ray diagnostic apparatus can present auxiliary information for specifying the target posture to the user, so that the target posture specifying operation can be performed more easily and appropriately.
  • FIG. 9 is a diagram showing an example of a clinical angle setting screen presented to the user during the clinical angle setting process.
  • FIG. 10 is a block diagram showing a cooperative relationship among the system control unit 23, the display unit 27, the operation unit 21, and the drive unit 32.
  • the image storage unit 22 associates the posture information (hereinafter referred to as imaging posture information) of the support device 10 when X-ray image data is actually acquired by X-ray imaging in association with the X-ray image data. store.
  • the image storage unit 22 stores each of the plurality of X-ray images in association with imaging posture information of the support device 10 at the time of imaging the X-ray image.
  • the display unit 27 displays a mark (hereinafter, referred to as an imaging posture mark) 105 corresponding to each imaging posture information on the clinical angle map.
  • the image storage unit 22 stores posture information (hereinafter referred to as scheduled imaging posture information) of the posture of the support 10 scheduled for X-ray imaging (hereinafter referred to as scheduled imaging posture).
  • the image storage unit 22 stores scheduled shooting posture information corresponding to at least one shooting scheduled posture.
  • the display unit 27 displays at least one mark (hereinafter, referred to as a scheduled imaging posture mark) 107 corresponding to at least one scheduled imaging posture on the clinical angle map.
  • the system control unit 23 performs shooting corresponding to the designated planned shooting posture mark 107.
  • the drive unit 32 is controlled to place the support device 10 in the planned posture.
  • FIG. 11 is a diagram illustrating a display example of auxiliary information displayed together with the target posture mark 103. That is, when the imaging posture mark 105 is designated by the user via the operation unit 21, the system control unit 23 reads out X-ray image data associated with the designated imaging posture mark 105. The display unit 27 displays the X-ray image data as the auxiliary information 103h together with the angle information.
  • the shooting posture mark 105 may be specified by, for example, directly specifying the shooting posture mark 105 via the operation unit 21 or by superimposing the target posture mark 103 on the shooting posture mark 105. Accordingly, auxiliary information for setting the target posture can be presented to the user, so that the placement to the target posture can be performed more easily and appropriately.
  • the user can recognize at a glance the posture in which the image collection is actually performed. Therefore, it is possible to prevent the user from forgetting to perform X-ray imaging in the posture intended for imaging. Particularly effective in routine inspections.
  • the display unit 27 presents a large number of X-ray images obtained by X-ray imaging to the user in association with posture information of the supporter 10 at the time of X-ray imaging. Therefore, the X-ray diagnostic apparatus can easily reproduce the posture of the support 10 for taking a desired X-ray image.
  • FIGS. 12 and 13 are diagrams showing an example of a clinical angle setting screen presented to the user during the clinical angle setting process.
  • the image storage unit 22 stores posture information (hereinafter referred to as registered posture information) of the posture of the support device 10 registered in advance (hereinafter referred to as registered posture information).
  • the image storage unit 22 stores registered posture information corresponding to at least one registered posture.
  • the display unit 27 displays at least one mark (hereinafter referred to as a registered posture mark) 111 corresponding to at least one registered posture on the clinical angle map.
  • a desired registered posture mark 111 is designated by the user from the at least one registered posture mark 111 via the operation unit 21, the system control unit 23 supports the registered posture corresponding to the designated registered posture mark 111.
  • the drive unit 32 is controlled to arrange the device 10.
  • the display unit 27 may pop up the auxiliary information 103 h together with the target posture mark 103.
  • the display unit 27 may display a mark (hereinafter referred to as a bed mark) 112 indicating the form of the bed 11 (more specifically, a couch) on the clinical angle map. .
  • a bed mark indicating the form of the bed 11 (more specifically, a couch) on the clinical angle map.
  • the display unit 27 may display a clinical angle map for supporting the auto angle function and the sequence automatic reproduction function. That is, the image storage unit 23 stores registered posture information (hereinafter referred to as auto angle posture information) corresponding to a registered posture for auto angle (hereinafter referred to as auto angle posture). The display unit 27 displays a mark (hereinafter referred to as “auto-angle posture mark”) 113 corresponding to the auto-angle posture on the clinical angle map. In addition, the image storage unit 23 includes a display unit 27 that stores registered posture information (hereinafter, sequence automatic reproduction function posture information) corresponding to a registered posture for the sequence automatic reproduction function (hereinafter referred to as a sequence automatic reproduction function posture). Called).
  • registered posture information hereinafter referred to as auto angle posture information
  • sequence automatic reproduction function posture information corresponding to a registered posture for the sequence automatic reproduction function
  • sequence automatic reproduction function posture marks marks corresponding to a plurality of sequence automatic reproduction function postures (hereinafter referred to as sequence automatic reproduction function posture marks) 115 on the clinical angle map.
  • sequence automatic reproduction function posture marks the display unit 27 may display the executed number of the total number of postures for the sequence automatic reproduction function on the clinical angle map.
  • the display unit 27 may add a standard order of arrangement to the sequence automatic reproduction function posture to each of the plurality of sequence automatic reproduction function posture marks. As a result, the user can clearly grasp the arrangement order of each sequence automatic reproduction function posture.
  • the system control unit 23 when the posture mark for automatic sequence reproduction function is specified by the user via the operation unit 21, the system control unit 23 performs the shooting program based on the shooting schedule information corresponding to the specified mark. And set target posture information related to auto-positioning. Further, according to the present example, in the routine inspection or the like, it is possible to prevent forgetting to take a picture in the planned shooting posture. As described above, according to the third embodiment, the auto angle function and the sequence automatic reproduction function can be used more effectively.
  • the display unit 27 may further display such that the posture in which the support device 10 cannot be placed is clearly indicated on the clinical angle map.
  • the same effects as those of the X-ray diagnostic apparatus according to the first embodiment can be obtained, and the clinical angle setting process can be further facilitated.
  • the display unit 27 displays a clinical angle map in order to intuitively grasp the posture of the support device 10.
  • the display target is not limited to the clinical angle map as long as the posture of the support device 10 can be intuitively grasped.
  • the display unit 27 according to the fourth embodiment displays a schematic image that visually represents the posture of the supporter 10.
  • FIG. 14 is a diagram showing an example of a set position setting screen presented to the user during the set position setting process.
  • the display unit 27 according to the fourth embodiment displays a plurality of schematic images 90.
  • the schematic image 90 is divided into a schematic image 90-1 representing the posture that the support device 10 takes at the present time and a schematic image 90-2 representing a predetermined posture set in advance.
  • the image storage unit 23 stores posture information corresponding to the schematic image in association with each of the plurality of schematic images 90-2.
  • the user designates a desired schematic image 90-2 from a plurality of schematic images 90-2 via the operation unit 21.
  • the user designates the desired schematic image 90-2 by superimposing the setting cursor 91 on the desired schematic image 90-2 via the operation unit 21.
  • the system control unit 23 controls the drive unit 32 to place the support device 10 in a posture corresponding to the designated schematic image 90-2.
  • a tab 201 shown in FIG. 14 is a tab for switching to an operation screen for setting the posture of the C arm
  • a tab 203 is a tab for switching to an operation screen for setting a “set position”
  • a tab 205 is a bed.
  • 11 is a tab for switching to an operation screen for setting the top plate position.
  • a schematic image showing the posture of the support device 10 corresponding to each tab is displayed in the window.
  • the display unit 27 does not necessarily have to display tabs. That is, all types of schematic images may be displayed in a single window.
  • the X-ray diagnostic apparatus includes the X-ray tube 14-1, the X-ray detector 15, the support device 10, the image storage unit 23, and the display unit 27.
  • the X-ray tube 14-1 generates X-rays.
  • the X-ray detector 15 detects X-rays generated by the X-ray tube 14-1.
  • the support device 10 supports the X-ray tube 14-1 and the X-ray detector 15 so as to be rotatable about a plurality of movable shafts.
  • the image storage unit 23 stores angle information (attitude information) expressed by rotation angles around a plurality of movable axes regarding at least one preset attitude of the support device 10.
  • the display unit 27 displays at least one first angle mark corresponding to at least one posture on a clinical angle map that is expressed by a coordinate system based on the plurality of movable axes that define the posture of the supporter 10.
  • SYMBOLS 1 ... X-ray diagnostic apparatus, 10 ... Support device, 11 ... Bed, 14 ... X-ray irradiation part, 14-1 ... X-ray tube, 14-2 ... X-ray diaphragm, 15 ... X-ray detector, 18 ... Image Data generation unit, 18-1 ... arithmetic circuit, 18-2 ... storage circuit, 21 ... operation unit, 22 ... image storage unit, 23 ... system control unit, 27 ... display unit, 27-1 ... display image data generation circuit, 27-2 ... Monitor, 30 ... X-ray controller, 31 ... High voltage supply device, 31-1 ... High voltage generator, 31-2 ... High voltage controller, 32 ... Driver

Landscapes

  • Health & Medical Sciences (AREA)
  • Life Sciences & Earth Sciences (AREA)
  • Medical Informatics (AREA)
  • Engineering & Computer Science (AREA)
  • Radiology & Medical Imaging (AREA)
  • Biomedical Technology (AREA)
  • Biophysics (AREA)
  • Nuclear Medicine, Radiotherapy & Molecular Imaging (AREA)
  • Optics & Photonics (AREA)
  • Pathology (AREA)
  • Physics & Mathematics (AREA)
  • High Energy & Nuclear Physics (AREA)
  • Heart & Thoracic Surgery (AREA)
  • Molecular Biology (AREA)
  • Surgery (AREA)
  • Animal Behavior & Ethology (AREA)
  • General Health & Medical Sciences (AREA)
  • Public Health (AREA)
  • Veterinary Medicine (AREA)
  • Apparatus For Radiation Diagnosis (AREA)
PCT/JP2014/055050 2013-03-04 2014-02-28 X線診断装置 Ceased WO2014136669A1 (ja)

Priority Applications (2)

Application Number Priority Date Filing Date Title
CN201480011643.4A CN105025791A (zh) 2013-03-04 2014-02-28 X射线诊断装置
US14/843,014 US20150374325A1 (en) 2013-03-04 2015-09-02 X-ray diagnostic apparatus

Applications Claiming Priority (2)

Application Number Priority Date Filing Date Title
JP2013-041738 2013-03-04
JP2013041738A JP2014168571A (ja) 2013-03-04 2013-03-04 X線診断装置

Related Child Applications (1)

Application Number Title Priority Date Filing Date
US14/843,014 Continuation US20150374325A1 (en) 2013-03-04 2015-09-02 X-ray diagnostic apparatus

Publications (1)

Publication Number Publication Date
WO2014136669A1 true WO2014136669A1 (ja) 2014-09-12

Family

ID=51491188

Family Applications (1)

Application Number Title Priority Date Filing Date
PCT/JP2014/055050 Ceased WO2014136669A1 (ja) 2013-03-04 2014-02-28 X線診断装置

Country Status (4)

Country Link
US (1) US20150374325A1 (enExample)
JP (1) JP2014168571A (enExample)
CN (1) CN105025791A (enExample)
WO (1) WO2014136669A1 (enExample)

Cited By (1)

* Cited by examiner, † Cited by third party
Publication number Priority date Publication date Assignee Title
JP2024500518A (ja) * 2020-12-24 2024-01-09 ディアールテック コーポレーション 放射線撮影装置およびこれを利用する放射線撮影方法

Families Citing this family (7)

* Cited by examiner, † Cited by third party
Publication number Priority date Publication date Assignee Title
CN112770674B (zh) 2018-09-28 2024-08-06 豪洛捷公司 通过高密度元素抑制来合成乳腺组织的图像生成的系统和方法
AU2019384828B2 (en) 2018-11-25 2025-06-26 Hologic, Inc. Multimodality hanging protocols
CN113574609A (zh) 2019-03-29 2021-10-29 豪洛捷公司 剪切触发的数字图像报告生成
CN111317490B (zh) * 2020-02-25 2024-11-26 京东方科技集团股份有限公司 一种远程操作控制系统及远程操作控制方法
US12186119B2 (en) * 2021-10-05 2025-01-07 Hologic, Inc. Interactive model interface for image selection in medical imaging systems
JP2023135463A (ja) * 2022-03-15 2023-09-28 キヤノンメディカルシステムズ株式会社 X線診断装置
KR102830036B1 (ko) * 2022-12-29 2025-07-04 (주)제노레이 C-암 제어 장치 및 그 방법

Citations (13)

* Cited by examiner, † Cited by third party
Publication number Priority date Publication date Assignee Title
JPS5675175A (en) * 1979-11-26 1981-06-22 Tokyo Shibaura Electric Co Xxray positioning device
JPH01185247A (ja) * 1988-01-19 1989-07-24 Toshiba Corp X線撮影装置
JPH01126210U (enExample) * 1988-02-19 1989-08-29
JPH04158846A (ja) * 1990-10-24 1992-06-01 Hitachi Medical Corp X線保持装置
JPH08289885A (ja) * 1995-04-24 1996-11-05 Toshiba Corp X線診断装置
JPH10234719A (ja) * 1997-02-28 1998-09-08 Toshiba Iyou Syst Eng Kk X線診断装置
JPH11285492A (ja) * 1998-04-03 1999-10-19 Hitachi Medical Corp X線透視撮影装置および方法
JP2003126084A (ja) * 2001-10-24 2003-05-07 Shimadzu Corp アーム搭載型x線撮影装置
JP2003135439A (ja) * 2001-10-30 2003-05-13 Shimadzu Corp アーム搭載型x線撮影装置
DE10200534A1 (de) * 2002-01-09 2003-07-24 Siemens Ag Verfahren zum kollisionsfreien Bewegen wenigstens zweier gegeneinander bewegbarer Gegenstände
JP2006149858A (ja) * 2004-11-30 2006-06-15 Hitachi Medical Corp 医用x線透視撮影装置
JP2010017391A (ja) * 2008-07-11 2010-01-28 Shimadzu Corp 放射線撮影装置
JP2013233413A (ja) * 2012-04-09 2013-11-21 Toshiba Corp X線診断装置

Family Cites Families (7)

* Cited by examiner, † Cited by third party
Publication number Priority date Publication date Assignee Title
US5155757A (en) * 1990-06-20 1992-10-13 Kabushiki Kaisha Toshiba X-ray diagnosing apparatus
JPH09117444A (ja) * 1995-10-26 1997-05-06 Shimadzu Corp ディジタルx線撮影装置
JP3518573B2 (ja) * 1997-01-24 2004-04-12 株式会社島津製作所 X線検査装置
JP2002119502A (ja) * 2000-10-17 2002-04-23 Toshiba Corp 医用装置
AU2003258059A1 (en) * 2002-08-06 2004-02-23 Stereotaxis, Inc. Virtual device interface control for medical devices
JP5415943B2 (ja) * 2006-06-28 2014-02-12 コーニンクレッカ フィリップス エヌ ヴェ 所定の最適なビューマップに基づくraについての最適な回転式軌跡決定方法
JP5075426B2 (ja) * 2007-02-21 2012-11-21 株式会社東芝 X線撮影装置およびオートポジショニング方法

Patent Citations (13)

* Cited by examiner, † Cited by third party
Publication number Priority date Publication date Assignee Title
JPS5675175A (en) * 1979-11-26 1981-06-22 Tokyo Shibaura Electric Co Xxray positioning device
JPH01185247A (ja) * 1988-01-19 1989-07-24 Toshiba Corp X線撮影装置
JPH01126210U (enExample) * 1988-02-19 1989-08-29
JPH04158846A (ja) * 1990-10-24 1992-06-01 Hitachi Medical Corp X線保持装置
JPH08289885A (ja) * 1995-04-24 1996-11-05 Toshiba Corp X線診断装置
JPH10234719A (ja) * 1997-02-28 1998-09-08 Toshiba Iyou Syst Eng Kk X線診断装置
JPH11285492A (ja) * 1998-04-03 1999-10-19 Hitachi Medical Corp X線透視撮影装置および方法
JP2003126084A (ja) * 2001-10-24 2003-05-07 Shimadzu Corp アーム搭載型x線撮影装置
JP2003135439A (ja) * 2001-10-30 2003-05-13 Shimadzu Corp アーム搭載型x線撮影装置
DE10200534A1 (de) * 2002-01-09 2003-07-24 Siemens Ag Verfahren zum kollisionsfreien Bewegen wenigstens zweier gegeneinander bewegbarer Gegenstände
JP2006149858A (ja) * 2004-11-30 2006-06-15 Hitachi Medical Corp 医用x線透視撮影装置
JP2010017391A (ja) * 2008-07-11 2010-01-28 Shimadzu Corp 放射線撮影装置
JP2013233413A (ja) * 2012-04-09 2013-11-21 Toshiba Corp X線診断装置

Cited By (2)

* Cited by examiner, † Cited by third party
Publication number Priority date Publication date Assignee Title
JP2024500518A (ja) * 2020-12-24 2024-01-09 ディアールテック コーポレーション 放射線撮影装置およびこれを利用する放射線撮影方法
JP7571302B2 (ja) 2020-12-24 2024-10-22 ディアールテック コーポレーション 放射線撮影装置およびこれを利用する放射線撮影方法

Also Published As

Publication number Publication date
US20150374325A1 (en) 2015-12-31
JP2014168571A (ja) 2014-09-18
CN105025791A (zh) 2015-11-04

Similar Documents

Publication Publication Date Title
WO2014136669A1 (ja) X線診断装置
JP4703119B2 (ja) X線診断装置
US8781068B2 (en) X-ray image diagnosing apparatus
US7016465B2 (en) X-ray CT apparatus
JP5442381B2 (ja) 医用画像撮影システム
JP6400307B2 (ja) X線画像診断装置
JP2017080042A (ja) X線画像診断装置
JP5881290B2 (ja) X線撮影システム
JP6143425B2 (ja) X線診断装置
WO2015030091A1 (ja) X線撮影装置およびx線透視画像表示方法
JP2009219552A (ja) X線診断装置
JP5985970B2 (ja) 放射線断層撮影装置およびプログラム
JP2019118462A (ja) 放射線画像表示装置および画像表示方法
JP2006122448A (ja) X線映像装置
JP2009201928A (ja) 放射線画像撮影システム
JP2014161392A (ja) 撮影、計測または治療を行う装置およびプログラム
US20150374326A1 (en) X-ray diagnostic apparatus
JP2009291531A (ja) X線診断装置
JP4016636B2 (ja) アーム搭載型x線撮影装置
JP7098319B2 (ja) X線診断装置
JP4534459B2 (ja) 外科用x線装置
JP7782705B2 (ja) X線撮影装置
US20250389675A1 (en) X-ray Imaging Apparatus
JP6367420B2 (ja) X線診断装置
CN118490257A (zh) 医用图像摄像装置及其控制方法

Legal Events

Date Code Title Description
WWE Wipo information: entry into national phase

Ref document number: 201480011643.4

Country of ref document: CN

121 Ep: the epo has been informed by wipo that ep was designated in this application

Ref document number: 14760902

Country of ref document: EP

Kind code of ref document: A1

NENP Non-entry into the national phase

Ref country code: DE

122 Ep: pct application non-entry in european phase

Ref document number: 14760902

Country of ref document: EP

Kind code of ref document: A1