WO2014034812A1 - 摂食・嚥下訓練用車椅子 - Google Patents

摂食・嚥下訓練用車椅子 Download PDF

Info

Publication number
WO2014034812A1
WO2014034812A1 PCT/JP2013/073226 JP2013073226W WO2014034812A1 WO 2014034812 A1 WO2014034812 A1 WO 2014034812A1 JP 2013073226 W JP2013073226 W JP 2013073226W WO 2014034812 A1 WO2014034812 A1 WO 2014034812A1
Authority
WO
WIPO (PCT)
Prior art keywords
seat
backrest
wheelchair
training
trunk
Prior art date
Legal status (The legal status is an assumption and is not a legal conclusion. Google has not performed a legal analysis and makes no representation as to the accuracy of the status listed.)
Ceased
Application number
PCT/JP2013/073226
Other languages
English (en)
French (fr)
Japanese (ja)
Inventor
秋人 宇野
栄一 才藤
Current Assignee (The listed assignees may be inaccurate. Google has not performed a legal analysis and makes no representation or warranty as to the accuracy of the list.)
Tomei Brace Co Ltd
Original Assignee
Tomei Brace Co Ltd
Priority date (The priority date is an assumption and is not a legal conclusion. Google has not performed a legal analysis and makes no representation as to the accuracy of the date listed.)
Filing date
Publication date
Application filed by Tomei Brace Co Ltd filed Critical Tomei Brace Co Ltd
Publication of WO2014034812A1 publication Critical patent/WO2014034812A1/ja
Anticipated expiration legal-status Critical
Ceased legal-status Critical Current

Links

Images

Classifications

    • AHUMAN NECESSITIES
    • A61MEDICAL OR VETERINARY SCIENCE; HYGIENE
    • A61GTRANSPORT, PERSONAL CONVEYANCES, OR ACCOMMODATION SPECIALLY ADAPTED FOR PATIENTS OR DISABLED PERSONS; OPERATING TABLES OR CHAIRS; CHAIRS FOR DENTISTRY; FUNERAL DEVICES
    • A61G5/00Chairs or personal conveyances specially adapted for patients or disabled persons, e.g. wheelchairs
    • A61G5/10Parts, details or accessories
    • A61G5/1056Arrangements for adjusting the seat
    • A61G5/1072Arrangements for adjusting the seat rotating the whole seat around a vertical axis
    • AHUMAN NECESSITIES
    • A61MEDICAL OR VETERINARY SCIENCE; HYGIENE
    • A61GTRANSPORT, PERSONAL CONVEYANCES, OR ACCOMMODATION SPECIALLY ADAPTED FOR PATIENTS OR DISABLED PERSONS; OPERATING TABLES OR CHAIRS; CHAIRS FOR DENTISTRY; FUNERAL DEVICES
    • A61G5/00Chairs or personal conveyances specially adapted for patients or disabled persons, e.g. wheelchairs
    • A61G5/10Parts, details or accessories
    • A61G5/1056Arrangements for adjusting the seat
    • A61G5/1067Arrangements for adjusting the seat adjusting the backrest relative to the seat portion
    • AHUMAN NECESSITIES
    • A61MEDICAL OR VETERINARY SCIENCE; HYGIENE
    • A61GTRANSPORT, PERSONAL CONVEYANCES, OR ACCOMMODATION SPECIALLY ADAPTED FOR PATIENTS OR DISABLED PERSONS; OPERATING TABLES OR CHAIRS; CHAIRS FOR DENTISTRY; FUNERAL DEVICES
    • A61G5/00Chairs or personal conveyances specially adapted for patients or disabled persons, e.g. wheelchairs
    • A61G5/10Parts, details or accessories
    • A61G5/1056Arrangements for adjusting the seat
    • A61G5/1075Arrangements for adjusting the seat tilting the whole seat backwards
    • AHUMAN NECESSITIES
    • A61MEDICAL OR VETERINARY SCIENCE; HYGIENE
    • A61GTRANSPORT, PERSONAL CONVEYANCES, OR ACCOMMODATION SPECIALLY ADAPTED FOR PATIENTS OR DISABLED PERSONS; OPERATING TABLES OR CHAIRS; CHAIRS FOR DENTISTRY; FUNERAL DEVICES
    • A61G5/00Chairs or personal conveyances specially adapted for patients or disabled persons, e.g. wheelchairs
    • A61G5/10Parts, details or accessories
    • A61G5/1089Anti-tip devices
    • AHUMAN NECESSITIES
    • A61MEDICAL OR VETERINARY SCIENCE; HYGIENE
    • A61GTRANSPORT, PERSONAL CONVEYANCES, OR ACCOMMODATION SPECIALLY ADAPTED FOR PATIENTS OR DISABLED PERSONS; OPERATING TABLES OR CHAIRS; CHAIRS FOR DENTISTRY; FUNERAL DEVICES
    • A61G5/00Chairs or personal conveyances specially adapted for patients or disabled persons, e.g. wheelchairs
    • A61G5/10Parts, details or accessories
    • A61G5/12Rests specially adapted therefor, e.g. for the head or the feet
    • A61G5/128Rests specially adapted therefor, e.g. for the head or the feet for feet

Definitions

  • the present invention relates to a training wheelchair suitable for training for recovery from an eating disorder or swallowing disorder, in which the trunk of a passenger can be easily rotated.
  • eating and swallowing disorders may be caused by the effects of cerebrovascular diseases and neurological diseases. Eating and swallowing disorders cause various problems such as poor nutritional status, aspiration pneumonia and suffocation, and loss of enjoyment of eating, so restore eating and swallowing functions to patients with such disorders Training is carried out.
  • the posture at the start of training is basically 30 degrees supine position and cervical forward bending with the trunk bent forward by 30 degrees with reference to the horizontal plane, and the neck further bent forward, from this posture, It is considered most appropriate to train in a posture (30-degree supine position, cervical forward flexion, trunk rotation) in which the trunk is rotated about 90 degrees with the neck facing upward. Yes.
  • the above training is generally performed by a doctor, a speech hearing person, or a swallowing nurse, but it is necessary to move the patient's posture from the supine position or the sitting position in a passive manner.
  • the labor of the doctor and the like at the time of changing the posture is great, and the burden on the patient is great.
  • the trunk rotation is not a posture that the patient can naturally take, the posture of the patient during training is maintained using a number of cushions, towels, and the like. This further increases the labor required to take a predetermined posture, and makes it difficult to have the same posture for each training.
  • training may be difficult without an assistant.
  • the training required to take the forward bending posture as described above has been performed using a wheelchair or a bed equipped with a tilting (reclining) mechanism.
  • a tilting (reclining) mechanism since these are not prepared for training, it is difficult to change the posture of the patient to a posture suitable for training, for example, the hips are slippery when tilted.
  • the tilt mechanism can only bend the trunk forward, and there is a problem that the labor for rotating the trunk is not reduced at all.
  • an assisting wheelchair is provided with a reclining mechanism for tilting the backrest and a tilt mechanism for tilting the seat so that the patient can take a comfortable posture. Therefore, if such a wheelchair is used for the training, it is possible to easily take a supine posture by tilting the backrest, and also to slide the buttocks by tilting the seating surface so that the front part rises. Since it can suppress, the burden of a doctor, a patient, etc. is further reduced. However, even with such a wheelchair, the effort to rotate the trunk is not alleviated.
  • the direction of the side can be changed to the direction along the edge of the bed.
  • some wheelchairs that can tilt the backrest backward include an adjustment device that supports the backrest frame and the seating frame and adjusts the inclination angles thereof (see, for example, Patent Document 2).
  • the inclination angle between the backrest frame and the seat frame can be arbitrarily set. Therefore, there is no problem that the waist portion of the occupant is displaced rearward or pushed forward as the backrest tilts when the inclination angle between them is fixed.
  • leg lifting unit that can be held at an arbitrary angle with respect to the seat surface part
  • a backrest unit that can be held at an arbitrary angle with respect to the seat surface part
  • the leg lifting unit and the backrest unit can form a flat surface portion by being inclined. Therefore, this wheelchair can be used as a stretcher in addition to being able to sit comfortably with a high degree of freedom in the posture of the user.
  • the conventional wheelchair makes it easy to get on and off the bed, or only reduces the burden on the patient's body during use. Therefore, even if these wheelchair posture changing functions are used, the patient cannot be put in a posture suitable for training of the eating and swallowing functions.
  • the wheelchair described in Patent Document 1 since the backrest is rotated together with the seat, the trunk cannot be rotated only by changing the direction of the passenger.
  • the present invention has been made in the background of the above circumstances, and an object of the present invention is to provide a wheelchair that can rotate the trunk of a passenger and is suitable for feeding and swallowing training.
  • the gist of the present invention is that a seat, a backrest, and a footrest that receives a user's foot are provided on the base, and can be used for eating and swallowing training of the user.
  • a training wheelchair (a) a seat support device that supports the seat so as to be rotatable independently of the backrest around a predetermined first axis that passes vertically through the seating surface of the seat; (B) a backrest support device that supports the backrest in a tiltable manner around a second axis extending along the back support surface of the backrest and extending in the horizontal direction; and (c) the first backrest in synchronization with the seat portion.
  • a footrest supporting device that supports the footrest so as to be rotatable about one axis.
  • the wheelchair for eating / swallowing training is such that the seat portion and the footrest are synchronized, and the seat portion support device is rotatable about the first axis perpendicular to the seat surface independently of the backrest. And the footrest support device, and the backrest thereof is supported by the backrest support device so as to be tiltable about the second axis in the horizontal direction, so that the backrest is inclined at a desired angle, and the seat portion and the foot The base can be rotated around the first axis perpendicular to the seating surface, that is, with respect to the backrest thereof.
  • a user that is, a patient to be eaten and swallowed, sits in a wheelchair, tilts the backrest, and rotates the seat and footrest so that the patient can be bent forward to an appropriate angle.
  • the trunk can be rotated by an appropriate angle with respect to the neck while the neck is directed upward.
  • the footrest rotates in synchronism with the seat, the patient's lower leg can be rotated with respect to the neck simultaneously with the trunk, so that the trunk can be rotated without difficulty. Therefore, since the patient can easily take a posture suitable for eating and swallowing training, the burden on the patient is reduced and the labor of the doctor, nurse, and the like is reduced.
  • the position of the first axis is provided at an appropriate position according to a desired rotation mode.
  • the movement of the center of gravity accompanying the rotation is small. It is provided so as to pass through the approximate center of the surface, preferably the center of gravity. Even if the position of the first axis is deviated from the center of gravity, it is possible to prevent the rotation of the seat portion from being hindered by appropriately determining the support structure.
  • the support structure necessary for smooth rotation is as simple as possible.
  • the seat support device can be configured by applying various known rotating member support structures.
  • a structure in which the seat is supported by a plurality of ball rollers arranged at uniform circumferential intervals around the first axis directly or indirectly on the base, or directly or indirectly on the base The structure which supports a seat part with the attached thrust bearing etc. is mentioned.
  • it is preferable to provide a plurality of rotation auxiliary devices for example, spheres, cylinders, bearings, etc.) that support the seat portion from the back surface around the bearing in order to ensure rotational stability. .
  • the footrest support device can be structured, for example, such that the footrest is attached to the seat so that relative rotation about the first axis is impossible.
  • a footrest support frame may be fixedly attached to the seat and the footrest may be supported by the footrest support frame.
  • you may synchronize mechanically with a link, a gear, and another mechanism.
  • the backrest support device includes, for example, a bearing that is attached directly or indirectly to the base so as to support the backrest frame so as to be rotatable around the second axis, and one end above the bearing. And a support member such as a cylinder attached to the base so that the other end can be turned directly or indirectly.
  • the tilt angle of the backrest after tilting is, for example, 30 degrees with respect to a horizontal plane
  • the rotation angle of the seat and the footrest is, for example, 90 degrees from the direction in which the trunk is directed forward. In this way, it is possible to adopt a sitting position in the 30-degree supine position and the trunk rotated 90 degrees with respect to the neck, that is, in a position facing sideways.
  • the wheelchair for feeding and swallowing training according to the present invention is a wheelchair equipped with a wheel for movement
  • the patient can be on board for training and moved with the training posture if necessary. can do. Therefore, since it is possible to perform training without moving from the hospital room to the training room without changing trains, the burden on doctors and patients accompanying the transfer is reduced, and training is also performed when the training effect is evaluated by X-rays. Since X-ray imaging can be performed while maintaining the posture, the training effect can be more appropriately evaluated. Also, when moving the patient from the bed to the training wheelchair, the patient is moved from the bed to the training wheelchair by positioning the training wheelchair at an appropriate position beside the bed. Becomes easier.
  • the training wheelchair has a crus support part that receives a user's lower leg from the back side between the seat part and the footrest, and the lower leg support part is located on the seat part side. It is provided with a tilt raising mechanism (elevating mechanism) that rotates around the upper end portion positioned to raise the lower end side.
  • a tilt raising mechanism elevating mechanism
  • the trunk part can be rotated more easily by raising the lower end side of the lower leg support part before rotating the seat part. become.
  • the leg flexion can be relaxed by tilting and raising the lower leg support. Making it easier to remove.
  • the tilt raising mechanism is, for example, a cylinder mechanism provided in a seat part or a lower leg support part thereof.
  • the seat is located above the upper ends of the plurality of wheels for movement. If it does in this way, when rotating a seat part, interference with the seat part and a wheel can be prevented, and interference with a patient's leg and a wheel can also be avoided easily.
  • the plurality of wheels for movement are generally composed of four or more wheels.
  • the first shaft center be provided between the bearings of the plurality of wheels, for example, between the front wheel bearing and the rear wheel bearing.
  • the training wheelchair includes a seat rotation angle fixing device for fixing the seat at a plurality of predetermined rotation positions.
  • the seat can be fixed in a rotated state, so that the patient is kept at a turning angle suitable for training during, for example, eating and swallowing training that requires a relatively long time of 30 minutes or more. It becomes easier.
  • an appropriate rotation angle can be easily determined, and when the training is repeated, the rotation angle can be easily fixed to the determined rotation angle.
  • the fixed position can be appropriately determined according to the purpose of the training. For example, the fixed position is a position rotated by 30 degrees, 60 degrees, and 90 degrees to the left and right from the position facing the front.
  • the fixing device includes, for example, a plurality of engagement holes, engagement protrusions, engagement recesses, and the like provided in the seat portion or the rotation-side positioning member fixed to the seat portion, and is engaged with the engagement holes.
  • the fixed-side positioning member having the engagement rod, the engagement recess, the engagement hole, the engagement protrusion, and the like can be provided on the base side. What is necessary is just to comprise a fixed side positioning member so that engagement and cancellation
  • the training wheelchair includes a backrest angle fixing device for fixing the backrest at a plurality of predetermined inclination angles.
  • the backrest angle fixing device fixes the backrest at an appropriate rod protrusion amount, that is, at an appropriate angle, for example, by controlling the hydraulic pressure or atmospheric pressure of the cylinder. Even if it can be fixed only with, there is no problem.
  • the training wheelchair is attached to the side along the backrest and has a closed state for restricting the lateral movement of the user's trunk and the lateral movement. It is equipped with a trunk safety fence that can be changed between the permitted open states. In this way, when the trunk safety fence is in the closed state, the trunk of the user can be prevented from sliding to the side of the backrest, and in the opened state, the seat safety fence can be prevented. Since the user's trunk and lower limbs that are rotated along with the rotation of the body do not interfere with the trunk safety fence, the intended rotation can be easily performed.
  • the trunk safety fence when the trunk safety fence is in an open state, the trunk safety fence is rotated outwardly about an axis along the vertical direction of the backrest and is positioned rearward of the backrest.
  • the trunk safety fence is attached to, for example, a pair of backrest columns by a hinge or the like.
  • the backrest has a pair of columns on both sides and a cylinder for changing the tilt angle at a central position in the length direction of a connecting rod connecting them. It is.
  • the cylinder includes a rod that can be protruded and retracted by, for example, hydraulic pressure, gas pressure, a spring, and the like, and a load applied to the backrest is received by the hydraulic pressure or the like, so that a reliable support state can be obtained.
  • the columns and cylinders are arranged as described above, it is possible to easily prevent the metal from entering the image when performing X-ray transmission from the front in the upper esophagus from the oral cavity.
  • the back receiving surface of the backrest needs to be made of a non-metallic material. If comprised in this way, the effect of training can be confirmed by X-ray transmission. For example, if an image is taken with a portable X-ray apparatus, it is possible to confirm whether the inclination angle of the backrest and the rotation angle of the seat plate are appropriate during training.
  • the training wheelchair has a lower leg support part for receiving the user's lower leg from the back side between the seat part and the footrest, and restricts the lateral movement of the lower leg.
  • a leg safety fence is provided on both sides of the lower leg support. In this way, the user's lower leg is always supported by the lower leg support part, and when the leg part is turned sideways by rotating the seat part, it is supported by the leg safety fence from below. This makes it easier to maintain the posture of the patient and further reduces the labor of the doctor and the burden on the patient.
  • the training wheelchair tilts the seat so that the seat is tilted around an axis that is the same as or parallel to the second axis, and one end thereof is moved up and down relative to the other end. It is equipped with a device.
  • the seat tilting device may tilt the seat alone, but may be a tilt mechanism that tilts the entire seat including the footrest and the backrest.
  • the training wheelchair has an auxiliary wheel having a smaller diameter than the wheels provided so as to protrude outwardly in addition to the plurality of wheels for movement.
  • the auxiliary wheel protrudes in the left-right direction or protrudes backward.
  • the auxiliary wheel protruding in the left-right direction increases the stability in the trunk rotation state, and the auxiliary wheel protruding backward increases the stability in the supine position.
  • the seat portion has a shape in which the edge on the backrest side of the seat plate protrudes from the both ends toward the backrest side at the center portion. In this way, it is possible to easily avoid interference with the backrest column during rotation of the seat portion while ensuring a good sitting comfort by providing the seat portion with a sufficient length on the backrest side. .
  • an edge on the backrest side forms an arc centered on the first axis. In order to avoid interference between the seat and the backrest column, it is necessary to make the maximum turning radius of the seat plate on the backrest side shorter than the distance from the first axis to the backrest column. If the arc is formed as described above, the maximum turning radius can be maximized while satisfying such a restriction, that is, the depth of the seat plate can be maximized.
  • FIG. 1 It is a perspective view which shows the whole wheelchair for training of one Example of this invention. It is a figure which shows the wheelchair of FIG. 1 by a side view. It is a figure which shows the wheelchair of FIG. 1 in the state which abbreviate
  • FIG. 10 is a schematic diagram illustrating a state in which the trunk is turned from the state illustrated in FIG. 9 and the patient is in a training posture.
  • FIGS. 1 to 3 are a perspective view, a side view, and a front view, respectively, showing the entire training wheelchair 10 according to one embodiment of the present invention.
  • the wheelchair 10 includes a seat 18 on a base frame (base) 16 including a pair of small-diameter front wheels 12 and 12 and a large-diameter rear wheels 14 and 14. It is what was done.
  • base 16 base frame
  • FIG. 2 only the outer shape of the rear wheel 14 is indicated by a virtual line.
  • the base frame 16 mainly has a structure in which smoothly bent metal pipes are joined by welding or the like, and a pair of small-diameter auxiliary wheels 20 (see FIGS. 1 and FIG. 2, only one of the front wheels is illustrated), and at the middle position in the front-rear direction between the front wheel 12 and the rear wheel 14, both ends of the frame member extending in the left-right direction have the same diameter as the auxiliary wheel 20.
  • a pair of auxiliary wheels 22 and 22 are provided. As is apparent from the front view shown in FIG. 3, these auxiliary wheels 22, 22 are located outside the front wheel 12 and the rear wheel 14. These four auxiliary wheels 20 and 22 are for improving the stability of the wheelchair 10 when the seat 18 is tilted and rotated for eating and swallowing training as will be described later.
  • a seat tilting frame 24 extending along the horizontal direction is attached to the upper part of the base frame 16.
  • the seat tilting frame 24 is a pair of first connecting protrusions 26 (both on the front side in FIGS. 1 and 2) that extend toward the lower side provided at the lower surface of the front-rear central portion at both ends of the seat 18 in the left-right direction.
  • first connecting protrusions 26 both on the front side in FIGS. 1 and 2 that extend toward the lower side provided at the lower surface of the front-rear central portion at both ends of the seat 18 in the left-right direction.
  • FIG. 2 only one of them is shown attached to the frame member of the base frame 16 so as to be rotatable around an axis perpendicular to the paper surface in FIG.
  • a second connection protrusion 28 is provided at a central position in the left-right direction of the seat 18 on the front side of the first connection protrusion 26, and a lower end portion of the frame member extending in the lateral direction of the base frame 16.
  • the upper end portion of the seat tilting cylinder 30 to which is rotatably attached is attached to the second connecting projection 28 so as to be rotatable.
  • the seat tilt frame 24 is tilted (tilted) in accordance with the protrusion / retraction operation of the seat tilt cylinder 30.
  • the entire seat 18 is provided on the seat tilting frame 24, and the entire seat 18 is tilted (tilted) in accordance with the tilting.
  • the tilt angle of the seat 18 is, for example, in the range of about 0 degree (normal state) to 40 degrees with respect to the horizontal plane, and is appropriately fixed by controlling the protruding amount of the cylinder 30 with hydraulic pressure or air pressure.
  • the seat 18 includes a seat portion 32, a backrest portion 34, a foot support portion 36, and the like.
  • the seat portion 32 is positioned above the upper end of the rear wheel 14, and slightly forward from the center of the seat tilting frame 24, the shaft center along the vertical direction in FIG. 2 by the seat portion rotating device 38.
  • a seat frame 40 is rotatably supported around (ie, around an axis perpendicular to the seating surface 39), and a seat plate 41 and a seat cushion 42 mounted thereon.
  • the seat tilting frame 24 and the seat rotation device 38 correspond to a seat support device.
  • the seat rotating device 38 includes a rectangular thin plate-like rotating plate 46 attached to the seat tilting frame 24 via a plurality of ball rollers 44, A donut-shaped positioning disk 48 fixed on the rotating plate 46 is provided, and the seat frame 40 is fixed on the positioning disk 48.
  • the rotating plate 46 may be constituted by, for example, an upper rotating plate that engages with the positioning disc 48 so as not to rotate relative to the positioning disc 48 and a lower rotating plate that engages with the seat tilt frame 24 so as not to rotate relative to the positioning disc 48.
  • the positioning disc 48 is provided with seven positioning holes 50 at intervals of 30 degrees over a half circumference, and the tip end portion of a positioning pin (index plunger) 52 attached to protrude from the lower side of the seat tilting frame 24. Enters the positioning hole 50 so that the rotation angle of the seat frame 40 with respect to the seat tilting frame 24 is fixed.
  • the protrusion of the positioning pin 52 may be performed by hydraulic / pneumatic pressure, or a compression coil spring or the like may be fitted and protruded by its elastic force.
  • the rotation angle is in the range of 0 to 180 degrees. That is, the seat frame 40 can be rotated, for example, in the range of up to 90 degrees in the left direction and the right direction in FIG. 3 with respect to the seat tilt frame 24, and 30 in each direction by the positioning pins 52. Can be fixed at 60, 90 and 90 degrees.
  • the positioning disk 48 and the positioning pin 52 constitute a seat portion rotation angle fixing device.
  • the seat frame 40 has a structure in which frame members 54, 54 made of a pair of metal pipes are joined by two connecting members 56, 56 by screwing or welding. Yes.
  • the seat tilting frame 24 has a structure in which five crosspieces 60 are joined by screwing or welding to the open side of a frame member 58 made of a metal pipe bent into a U-shape.
  • the seat plate 41 and the seat cushion 42 of the seat 32 have an arcuate edge on the backrest 34 side. Therefore, the seat plate 41 and the seat cushion 42 do not interfere with a column 66 (described later) of the backrest portion 34 even when rotating as described above. As a result, the seat plate 41 and the seat cushion 42 can be provided in a sufficiently long size on the side of the backrest 34, although the seat 32 is structured to rotate with respect to the backrest 34. It can be done.
  • the backrest portion 34 includes a backrest frame 62 having a lower end portion rotatably attached to the seat tilting frame 24, and a backrest cushion 64 attached to the seat portion 32 side. ing.
  • the seat portion 32 is rotatable around a rotation axis perpendicular to the seat tilt frame 24, while the backrest portion 34 is parallel to the back receiving surface 65, that is, parallel to the seat tilt frame 24. In addition, it can be rotated around a horizontal rotation axis. Therefore, in the present embodiment, the seat portion 32 can be rotated around a rotation axis perpendicular to the seat surface independently of the backrest portion 34.
  • the back frame 62 includes a pair of support columns 66 and 66 extending upward, a first connection rod 68 and a second connection rod 70 that connect the support columns 66 and 66, for example, at two upper locations, and a slight center of the support column 66.
  • a pair of U-shaped body trunk safety fences 72, 72 are provided at a position from below so as to protrude toward the seat 32 side. The positions of these connecting rods 68 and 70 are determined so that metal does not enter the field of view in the imaging direction even when X-ray imaging is performed during eating and swallowing training described later. ing.
  • a back tilt cylinder 74 is attached to the rear end of the seat tilt frame 24 so as to be rotatable at the lower end thereof, and the upper end of the back tilt cylinder 74 is the length of the second connecting rod 70. It is pivotally attached to a central position in the direction. Therefore, the backrest 34 is not only tilted across the seat 18 in accordance with the operation of the seat tilting cylinder 30, but is also tilted independently of the seat 32 and the foot support 34 according to the operation of the backrest tilting cylinder 74. be able to.
  • the tilt angle of the backrest 34 can be changed, for example, in the range of about 36 degrees to 90 degrees (normal state) with respect to the seat tilt frame 24, and the amount of protrusion of the cylinder 74 is controlled by hydraulic pressure or air pressure. It is fixed appropriately.
  • the seat tilt frame 24 and the back tilt cylinder 74 correspond to the back support device.
  • the trunk safety fence 72 has a U-shaped open end attached to a column 66 by hinges 76, 76, and is rotatable around the axis of the column 66.
  • the torso safety fence 72 is always in the closed state shown in the figure to prevent the patient from falling during boarding. However, if necessary during feeding / swallowing training described later, Thus, the body is rotated 90 degrees outward so as not to disturb the rotation of the trunk.
  • An angle display device 78 is attached to one of the trunk safety fences 72 (one shown in FIG. 2) located on the left side of the patient.
  • the angle display device 78 displays, for example, the inclination angle of the backrest 34 with respect to the horizontal plane.
  • the foot support 36 is attached to a pair of foot support frames 80 and 80 whose upper ends are rotatably attached to the front end of the seat frame 40 and to the lower ends thereof. And the lower leg cushion 84 attached to the foot support 82 side position between the foot support frames 80 and 80. Since the foot support portion 36 is attached to the seat portion frame 40 in this way, when the seat portion 32 is rotated around a rotation axis perpendicular to the seat surface, the foot support portion 36 is integrated with the seat portion 32. That is, it is rotated independently from the backrest 34. In the present embodiment, the foot support part frame 80 and the lower leg cushion 84 correspond to the lower leg support part.
  • the above-mentioned foot support part frames 80 and 80 are respectively connected to the frame members 54 and 54 of the seat part frame 40 at the upper end part, and the lower end parts are respectively connected to the left and right ends of the footrest 82.
  • a lower end portion of a lower leg tilting cylinder 86 is rotatably attached to them, and an upper end portion of the cylinder 86 is rotatably attached to the frame members 54, 54, respectively. ing. Therefore, the foot support part 36 can be rotated in the counterclockwise direction in FIG. 2 where the lower leg part rises.
  • the rotation angle is, for example, 90 degrees (the state shown in FIG.
  • the foot support portion frame 80 corresponds to a footrest support device.
  • a pair of U-shaped leg safety fences 88 and 88 are provided on the upper end side of the foot support part frame 80 so as to protrude toward the footrest 82 side.
  • the leg safety fence 88 is for preventing the patient's foot from falling off the footrest.
  • the leg safety fence 88 may be fixedly attached to the foot support frame 80, but, like the trunk safety fence 72, the leg safety fence 88 is attached by a hinge so as to be rotatable around the axis of the foot support frame 80. May be. If it comprises so that rotation is possible, for example, when putting a patient on the wheelchair 10, there exists an advantage which a movement of a leg becomes easy.
  • reference numeral 90 denotes a brake lever, which is tilted rearward or by pushing down a pedal 94 that is pivotally attached to the rear end of a connecting rod 92 that extends rearward. Braking is possible.
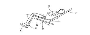
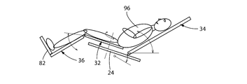
  • FIGS. 6 to 10 are schematic diagrams for explaining the operation of the wheelchair 10 when the patient 96 is ingested and swallowed using the wheelchair 10 configured as described above.
  • the target patient 96 is moved from the hospital room to the training room, for example, on the wheelchair 10.
  • the training chair is the wheelchair 10
  • FIG. 6 shows the posture before training in which the patient 96 is seated in the normal sitting position.
  • the entire seat 18 can be rotated by an angle ⁇ around a rotation shaft provided slightly below, and the backrest 34 can be tilted by an angle ⁇ around the rotation shaft at the lower end thereof.
  • the seat portion 32 can be rotated by an angle ⁇ around an axis passing through the approximate center thereof, and the foot support portion 36 can be rotated by an angle ⁇ around a rotation axis provided at the front end portion of the seat portion 32. Can tilt.
  • FIG. 7 shows a state in which the backrest 34 is tilted (reclined) from the normal state of FIG. As the backrest 34 is tilted, the patient 96 is in a supine position corresponding to the tilt angle.
  • FIG. 8 shows a state in which the entire seat 18 is tilted from the state shown in FIG.
  • the patient 96 is in a supine position further upward depending on the tilt angle.
  • the tilt angle of the backrest 34 and the tilt angle of the entire seat 18 are set so that the posture shown in FIG. It will be set in consideration.
  • the angle between the upper body and the lower limb of the patient 96 is the same as in FIG.
  • FIG. 9 shows a state in which the foot support portion 36 is tilted (elevated) from the state of FIG. In this tilting motion, the angle between the upper body and the lower limb of the patient 96 remains the same as in FIGS. 7 and 8, but the knee extends and the angle between the upper leg and the lower leg increases. Note that when the knee is extended by the tilting movement of the foot support portion 36, the knee tends to float off the seat surface and the lower leg part moves away from the lower leg cushion 84. However, FIG. 8 is similar to FIG. The lower leg portion is drawn in close contact with the lower leg cushion 84 of the foot support portion 36.
  • FIG. 10 shows a state in which the seat portion 32 and the foot support portion 36 are rotated 90 degrees counterclockwise from the state of FIG.
  • the seat portion 32 can be rotated around a rotation axis perpendicular to the seat surface independently of the backrest portion 34 and attached to the seat portion 32.
  • the foot support portion 36 is rotated with respect to the backrest portion 34 along with the seat portion 32. Therefore, while the patient 96 is in the supine position at 30 degrees, the seat 32 and the foot support 36 are rotated around the rotation axis perpendicular to the seat surface, so that the neck is kept in the supine position.
  • the trunk can be turned sideways. As a result, the posture of “30 ° supine trunk rotation” necessary for eating / swallowing training is obtained.
  • the doctor or the like needs to carefully rotate the trunk of the patient 96 after tilting the bed. Since the trunk of the patient 96 rotates while being rubbed on the bed, the burden on the doctor and the patient 96 is significant. For this reason, even if the posture of “30 ° supine trunk rotation” is considered appropriate for training, it was not possible to easily perform feeding / swallowing training in that posture. According to the present embodiment, as described above, the posture of the patient 96 can be “30 degree supine position trunk rotation” very easily.
  • the X-ray imaging direction is basically imaging from the front in a direction perpendicular to the back and imaging from the lateral direction parallel to the back.
  • frontal imaging the esophagus and the like are imaged from a slight head direction or a slightly chest direction, not limited to being directly in front.
  • the backrest frame 62 is configured as described above, and the positions of the connecting rods 68 and 70 are set, so that the X-rays do not interfere with the metal on the rear rear back surface. It is easy to shoot.
  • the tilting of the backrest 34, the tilting of the seat 18, and the tilting of the foot support 36 are not limited to the illustrated order. Depending on the patient's condition and the posture to be taken, the order of these can be changed, and only a part of each operation is performed, and then the seat for turning the trunk You may perform 32 rotations. For example, if the patient 96 does not raise the footrest 82 and the “30-degree supine position trunk rotation” posture is difficult, the foot support portion 36 needs to be tilted; otherwise, it is omitted. However, there is no particular obstacle to training.
  • the seat 32 is rotated so that the trunk safety fence 72 provided in the rotation direction is turned outward before the patient 96 takes the trunk rotation state shown in FIG. It is made an open state that falls backward. This prevents the leg of the patient 96 from interfering with the trunk safety fence 72 when the seat 32 is rotated.
  • the trunk safety fence 72 may be opened just before the seat 32 is rotated, but may be performed before the backrest 34 or the seat 18 is tilted.
  • the head of the patient 96 is directly on the back cushion 64, but it is also possible to attach the pillow to the back cushion 32 so that the head floats from the back cushion 64. is there.
  • the head (neck) can be easily placed in a “neck anteflexion” posture in which the head (neck) is bent slightly forward with respect to the trunk more suitable for training, and the head and back cushion 64 can be made.
  • the rotation of the trunk becomes easy.
  • the lower leg of the patient 96 flows in the right direction in the drawing according to the inclination of the seat 18, but in order to further improve the posture of the patient 96, for example, A cushion can also be arrange
  • the seat portion 32 and the footrest 82 are supported by the seat portion rotation device 38 and the like so as to be rotatable around an axis perpendicular to the seat surface independently of the backrest portion 34.
  • the backrest 34 is supported by the seat tilting frame 24 and the backrest tilting cylinder 74 so as to be tiltable about the horizontal axis, so that the backrest 34 is tilted to a desired angle and the seat 32.
  • the footrest 82 can be rotated around an axis perpendicular to the seating surface, that is, with respect to the backrest thereof.
  • the patient 96 is seated on the wheelchair 10, the backrest 34 is tilted and the seat 32 and the footrest 82 are rotated, so that the patient 96 takes a supine position bent forward to an appropriate angle, and The trunk can be rotated by an appropriate angle with respect to the neck while the neck is directed upward.
  • the footrest 82 rotates in synchronization with the seat portion 32, the lower leg of the patient 96 is also rotated with respect to the neck simultaneously with the trunk, so that the trunk can be rotated without difficulty. Accordingly, since the patient 96 can easily take a posture suitable for eating and swallowing training, the burden on the patient 96 is reduced and the labor of the doctor, nurse, and the like is reduced.

Landscapes

  • Health & Medical Sciences (AREA)
  • Life Sciences & Earth Sciences (AREA)
  • Animal Behavior & Ethology (AREA)
  • General Health & Medical Sciences (AREA)
  • Public Health (AREA)
  • Veterinary Medicine (AREA)
  • Rehabilitation Tools (AREA)
PCT/JP2013/073226 2012-08-30 2013-08-29 摂食・嚥下訓練用車椅子 Ceased WO2014034812A1 (ja)

Applications Claiming Priority (2)

Application Number Priority Date Filing Date Title
JP2012190717A JP5878098B2 (ja) 2012-08-30 2012-08-30 摂食・嚥下訓練用車椅子
JP2012-190717 2012-08-30

Publications (1)

Publication Number Publication Date
WO2014034812A1 true WO2014034812A1 (ja) 2014-03-06

Family

ID=50183617

Family Applications (1)

Application Number Title Priority Date Filing Date
PCT/JP2013/073226 Ceased WO2014034812A1 (ja) 2012-08-30 2013-08-29 摂食・嚥下訓練用車椅子

Country Status (3)

Country Link
JP (1) JP5878098B2 (enExample)
TW (1) TW201422217A (enExample)
WO (1) WO2014034812A1 (enExample)

Cited By (6)

* Cited by examiner, † Cited by third party
Publication number Priority date Publication date Assignee Title
CN106923979A (zh) * 2017-04-11 2017-07-07 武汉理工大学 一种结构可调轮椅的智能调控装置及方法
CN109009731A (zh) * 2017-04-18 2018-12-18 常熟市平方轮椅有限公司 一种舒适型电动轮椅车
CN110755213A (zh) * 2019-11-05 2020-02-07 大连交通大学 背部转向机械轮椅
CN112754788A (zh) * 2021-01-19 2021-05-07 河南中医药大学 一种康复轮椅
US20210251829A1 (en) * 2018-06-14 2021-08-19 Invacare International Gmbh Wheelchair, in particular manual wheelchair for bariatric or heavy duty use
CN115591189A (zh) * 2022-09-22 2023-01-13 南通铁人运动用品有限公司(Cn) 飞轮式坐姿小腿训练器

Families Citing this family (8)

* Cited by examiner, † Cited by third party
Publication number Priority date Publication date Assignee Title
JP6246053B2 (ja) * 2014-04-21 2017-12-13 長田電機工業株式会社 歯科用治療椅子
JP5624246B1 (ja) * 2014-04-25 2014-11-12 富永 一 摺動板付車椅子
KR101648667B1 (ko) * 2015-03-27 2016-08-16 경남대학교 산학협력단 전동휠체어
CN106176068A (zh) * 2015-04-29 2016-12-07 上海理工大学 用于吞咽障碍患者的摄食体位调节轮椅
ITUB20152130A1 (it) * 2015-07-13 2017-01-13 Fabrizio Granieri Carrozzella multiuso
KR101623813B1 (ko) 2016-02-12 2016-05-24 (주)다성테크놀로지 탑승부가 회전가능한 휠체어용 승강장치
CN108283390A (zh) * 2018-02-08 2018-07-17 陈文� 一种新型的便于移动和放置的椅子
JP6712291B2 (ja) * 2018-07-06 2020-06-17 株式会社丸橋鉄工 ベンチベッド

Citations (4)

* Cited by examiner, † Cited by third party
Publication number Priority date Publication date Assignee Title
JP2003010254A (ja) * 2001-06-28 2003-01-14 Shunji Arai 座椅子を備えた介護・診療用車椅子
JP2004097451A (ja) * 2002-09-09 2004-04-02 Seiko Iryoki Seisakusho:Kk 車椅子
JP2006167099A (ja) * 2004-12-15 2006-06-29 Kanayama Machinery Kk 車椅子
JP3126940U (ja) * 2006-07-14 2006-11-16 有限会社ともみ工房 摂食・嚥下用の枕

Patent Citations (4)

* Cited by examiner, † Cited by third party
Publication number Priority date Publication date Assignee Title
JP2003010254A (ja) * 2001-06-28 2003-01-14 Shunji Arai 座椅子を備えた介護・診療用車椅子
JP2004097451A (ja) * 2002-09-09 2004-04-02 Seiko Iryoki Seisakusho:Kk 車椅子
JP2006167099A (ja) * 2004-12-15 2006-06-29 Kanayama Machinery Kk 車椅子
JP3126940U (ja) * 2006-07-14 2006-11-16 有限会社ともみ工房 摂食・嚥下用の枕

Cited By (8)

* Cited by examiner, † Cited by third party
Publication number Priority date Publication date Assignee Title
CN106923979A (zh) * 2017-04-11 2017-07-07 武汉理工大学 一种结构可调轮椅的智能调控装置及方法
CN109009731A (zh) * 2017-04-18 2018-12-18 常熟市平方轮椅有限公司 一种舒适型电动轮椅车
US20210251829A1 (en) * 2018-06-14 2021-08-19 Invacare International Gmbh Wheelchair, in particular manual wheelchair for bariatric or heavy duty use
CN110755213A (zh) * 2019-11-05 2020-02-07 大连交通大学 背部转向机械轮椅
CN110755213B (zh) * 2019-11-05 2021-08-27 大连交通大学 背部转向机械轮椅
CN112754788A (zh) * 2021-01-19 2021-05-07 河南中医药大学 一种康复轮椅
CN112754788B (zh) * 2021-01-19 2023-05-23 河南中医药大学 一种康复轮椅
CN115591189A (zh) * 2022-09-22 2023-01-13 南通铁人运动用品有限公司(Cn) 飞轮式坐姿小腿训练器

Also Published As

Publication number Publication date
JP5878098B2 (ja) 2016-03-08
JP2014045911A (ja) 2014-03-17
TW201422217A (zh) 2014-06-16

Similar Documents

Publication Publication Date Title
JP5878098B2 (ja) 摂食・嚥下訓練用車椅子
RU2592183C2 (ru) Шарнирное терапевтическое устройство и способ его использования
RU2642036C2 (ru) Шарнирно-сочлененная кровать с регулированием положения поясницы и головы
CN103945813B (zh) 患者护理用移乘机器人
US5385154A (en) Couple's intimacy reciprocating and pivoting two seat assembly
US20160270988A1 (en) Modularized mobility device
CN105853156B (zh) 康复助行器
CN102688124A (zh) 联动操控平躺式电动轮椅车
CN105726237A (zh) 一种整体旋转翻身床
WO2008066948A1 (en) A wheeled chair
JP2009106692A (ja) 介護用椅子
JP5067806B2 (ja) リクライニング可能な車椅子
KR20190128799A (ko) 환자의 원활한 이송이 가능한 휠체어
JP2008011989A (ja) 車椅子
JP2000201924A (ja) 嚥下造影撮影記録用撮影台
JP2023008222A (ja) 座面傾斜車椅子
KR101205094B1 (ko) 하반신 부자유자 이송용 의료보조기
JP2001129032A (ja) 介護補助装置
JP3509574B2 (ja) 身体支持装置
JP2015016320A (ja) 起伏ベッド
CN113613611A (zh) 独立控制床头部的倾斜床
CN223438775U (zh) 一种卧位坐椅
CN216136210U (zh) 一种轮椅和电动轮椅
JP2010227388A (ja) 椅子
WO2014006768A1 (ja) 椅子型マッサージ機

Legal Events

Date Code Title Description
121 Ep: the epo has been informed by wipo that ep was designated in this application

Ref document number: 13832260

Country of ref document: EP

Kind code of ref document: A1

DPE1 Request for preliminary examination filed after expiration of 19th month from priority date (pct application filed from 20040101)
NENP Non-entry into the national phase

Ref country code: DE

122 Ep: pct application non-entry in european phase

Ref document number: 13832260

Country of ref document: EP

Kind code of ref document: A1