WO2014021202A1 - 義足における上側義足部と下側義足部との連結構造 - Google Patents

義足における上側義足部と下側義足部との連結構造 Download PDF

Info

Publication number
WO2014021202A1
WO2014021202A1 PCT/JP2013/070281 JP2013070281W WO2014021202A1 WO 2014021202 A1 WO2014021202 A1 WO 2014021202A1 JP 2013070281 W JP2013070281 W JP 2013070281W WO 2014021202 A1 WO2014021202 A1 WO 2014021202A1
Authority
WO
WIPO (PCT)
Prior art keywords
prosthetic leg
holding body
fitting
prosthetic
leg part
Prior art date
Legal status (The legal status is an assumption and is not a legal conclusion. Google has not performed a legal analysis and makes no representation as to the accuracy of the status listed.)
Ceased
Application number
PCT/JP2013/070281
Other languages
English (en)
French (fr)
Japanese (ja)
Inventor
幸夫 小西
Current Assignee (The listed assignees may be inaccurate. Google has not performed a legal analysis and makes no representation or warranty as to the accuracy of the list.)
Individual
Original Assignee
Individual
Priority date (The priority date is an assumption and is not a legal conclusion. Google has not performed a legal analysis and makes no representation as to the accuracy of the date listed.)
Filing date
Publication date
Application filed by Individual filed Critical Individual
Priority to US14/414,805 priority Critical patent/US20150164659A1/en
Priority to DE112013003777.7T priority patent/DE112013003777T5/de
Publication of WO2014021202A1 publication Critical patent/WO2014021202A1/ja
Anticipated expiration legal-status Critical
Ceased legal-status Critical Current

Links

Images

Classifications

    • AHUMAN NECESSITIES
    • A61MEDICAL OR VETERINARY SCIENCE; HYGIENE
    • A61FFILTERS IMPLANTABLE INTO BLOOD VESSELS; PROSTHESES; DEVICES PROVIDING PATENCY TO, OR PREVENTING COLLAPSING OF, TUBULAR STRUCTURES OF THE BODY, e.g. STENTS; ORTHOPAEDIC, NURSING OR CONTRACEPTIVE DEVICES; FOMENTATION; TREATMENT OR PROTECTION OF EYES OR EARS; BANDAGES, DRESSINGS OR ABSORBENT PADS; FIRST-AID KITS
    • A61F2/00Filters implantable into blood vessels; Prostheses, i.e. artificial substitutes or replacements for parts of the body; Appliances for connecting them with the body; Devices providing patency to, or preventing collapsing of, tubular structures of the body, e.g. stents
    • A61F2/50Prostheses not implantable in the body
    • A61F2/60Artificial legs or feet or parts thereof
    • AHUMAN NECESSITIES
    • A61MEDICAL OR VETERINARY SCIENCE; HYGIENE
    • A61FFILTERS IMPLANTABLE INTO BLOOD VESSELS; PROSTHESES; DEVICES PROVIDING PATENCY TO, OR PREVENTING COLLAPSING OF, TUBULAR STRUCTURES OF THE BODY, e.g. STENTS; ORTHOPAEDIC, NURSING OR CONTRACEPTIVE DEVICES; FOMENTATION; TREATMENT OR PROTECTION OF EYES OR EARS; BANDAGES, DRESSINGS OR ABSORBENT PADS; FIRST-AID KITS
    • A61F2/00Filters implantable into blood vessels; Prostheses, i.e. artificial substitutes or replacements for parts of the body; Appliances for connecting them with the body; Devices providing patency to, or preventing collapsing of, tubular structures of the body, e.g. stents
    • A61F2/50Prostheses not implantable in the body
    • A61F2/76Means for assembling, fitting or testing prostheses, e.g. for measuring or balancing, e.g. alignment means
    • AHUMAN NECESSITIES
    • A61MEDICAL OR VETERINARY SCIENCE; HYGIENE
    • A61FFILTERS IMPLANTABLE INTO BLOOD VESSELS; PROSTHESES; DEVICES PROVIDING PATENCY TO, OR PREVENTING COLLAPSING OF, TUBULAR STRUCTURES OF THE BODY, e.g. STENTS; ORTHOPAEDIC, NURSING OR CONTRACEPTIVE DEVICES; FOMENTATION; TREATMENT OR PROTECTION OF EYES OR EARS; BANDAGES, DRESSINGS OR ABSORBENT PADS; FIRST-AID KITS
    • A61F2/00Filters implantable into blood vessels; Prostheses, i.e. artificial substitutes or replacements for parts of the body; Appliances for connecting them with the body; Devices providing patency to, or preventing collapsing of, tubular structures of the body, e.g. stents
    • A61F2/50Prostheses not implantable in the body
    • A61F2/78Means for protecting prostheses or for attaching them to the body, e.g. bandages, harnesses, straps, or stockings for the limb stump
    • AHUMAN NECESSITIES
    • A61MEDICAL OR VETERINARY SCIENCE; HYGIENE
    • A61FFILTERS IMPLANTABLE INTO BLOOD VESSELS; PROSTHESES; DEVICES PROVIDING PATENCY TO, OR PREVENTING COLLAPSING OF, TUBULAR STRUCTURES OF THE BODY, e.g. STENTS; ORTHOPAEDIC, NURSING OR CONTRACEPTIVE DEVICES; FOMENTATION; TREATMENT OR PROTECTION OF EYES OR EARS; BANDAGES, DRESSINGS OR ABSORBENT PADS; FIRST-AID KITS
    • A61F2/00Filters implantable into blood vessels; Prostheses, i.e. artificial substitutes or replacements for parts of the body; Appliances for connecting them with the body; Devices providing patency to, or preventing collapsing of, tubular structures of the body, e.g. stents
    • A61F2/50Prostheses not implantable in the body
    • A61F2002/5016Prostheses not implantable in the body adjustable
    • AHUMAN NECESSITIES
    • A61MEDICAL OR VETERINARY SCIENCE; HYGIENE
    • A61FFILTERS IMPLANTABLE INTO BLOOD VESSELS; PROSTHESES; DEVICES PROVIDING PATENCY TO, OR PREVENTING COLLAPSING OF, TUBULAR STRUCTURES OF THE BODY, e.g. STENTS; ORTHOPAEDIC, NURSING OR CONTRACEPTIVE DEVICES; FOMENTATION; TREATMENT OR PROTECTION OF EYES OR EARS; BANDAGES, DRESSINGS OR ABSORBENT PADS; FIRST-AID KITS
    • A61F2/00Filters implantable into blood vessels; Prostheses, i.e. artificial substitutes or replacements for parts of the body; Appliances for connecting them with the body; Devices providing patency to, or preventing collapsing of, tubular structures of the body, e.g. stents
    • A61F2/50Prostheses not implantable in the body
    • A61F2002/5016Prostheses not implantable in the body adjustable
    • A61F2002/5018Prostheses not implantable in the body adjustable for adjusting angular orientation
    • AHUMAN NECESSITIES
    • A61MEDICAL OR VETERINARY SCIENCE; HYGIENE
    • A61FFILTERS IMPLANTABLE INTO BLOOD VESSELS; PROSTHESES; DEVICES PROVIDING PATENCY TO, OR PREVENTING COLLAPSING OF, TUBULAR STRUCTURES OF THE BODY, e.g. STENTS; ORTHOPAEDIC, NURSING OR CONTRACEPTIVE DEVICES; FOMENTATION; TREATMENT OR PROTECTION OF EYES OR EARS; BANDAGES, DRESSINGS OR ABSORBENT PADS; FIRST-AID KITS
    • A61F2/00Filters implantable into blood vessels; Prostheses, i.e. artificial substitutes or replacements for parts of the body; Appliances for connecting them with the body; Devices providing patency to, or preventing collapsing of, tubular structures of the body, e.g. stents
    • A61F2/50Prostheses not implantable in the body
    • A61F2002/5016Prostheses not implantable in the body adjustable
    • A61F2002/5021Prostheses not implantable in the body adjustable for adjusting a position by translation along an axis
    • A61F2002/5023Prostheses not implantable in the body adjustable for adjusting a position by translation along an axis along two perpendicular axes
    • AHUMAN NECESSITIES
    • A61MEDICAL OR VETERINARY SCIENCE; HYGIENE
    • A61FFILTERS IMPLANTABLE INTO BLOOD VESSELS; PROSTHESES; DEVICES PROVIDING PATENCY TO, OR PREVENTING COLLAPSING OF, TUBULAR STRUCTURES OF THE BODY, e.g. STENTS; ORTHOPAEDIC, NURSING OR CONTRACEPTIVE DEVICES; FOMENTATION; TREATMENT OR PROTECTION OF EYES OR EARS; BANDAGES, DRESSINGS OR ABSORBENT PADS; FIRST-AID KITS
    • A61F2/00Filters implantable into blood vessels; Prostheses, i.e. artificial substitutes or replacements for parts of the body; Appliances for connecting them with the body; Devices providing patency to, or preventing collapsing of, tubular structures of the body, e.g. stents
    • A61F2/50Prostheses not implantable in the body
    • A61F2/60Artificial legs or feet or parts thereof
    • A61F2002/607Lower legs

Definitions

  • the present invention relates to a connecting structure of an upper prosthetic leg and a lower prosthetic leg in a prosthetic leg.
  • an upper prosthetic leg part (socket part) attached to the body (thigh cut end part of the amputated leg) and a lower leg part connected to the upper prosthetic leg part.
  • a prosthetic leg (femoral prosthesis) comprising a lower prosthetic leg (lower leg prosthesis) having a grounding part (foot) has been proposed, and the present applicant has so far proposed an artificial leg (hereinafter referred to as a conventional example) shown in Japanese Patent No. 4741635. ).
  • the lower prosthetic leg is provided with a flexion / extension part that functions as a knee joint that enables flexion / extension movement.
  • This conventional example is a prosthetic leg composed of an upper prosthetic leg part to be attached to the body and a lower prosthetic leg part connected to the upper prosthetic leg part and having a grounding part at a lower end part.
  • a fitting connection portion is provided on the upper artificial leg portion, and a ring member is fitted to the fitting connection portion, and the thickness of the connection structure of the upper artificial leg portion and the lower artificial leg portion is the thickness of the fitting connection portion.
  • the projecting portion is arranged in the ring hole of the ring member, and the ring member is provided with a holding body protruding into the ring hole. The projecting portion positioned is sandwiched and held, and the base end portion of the holding body is supported by the fitting connection portion to hold the holding body.
  • the Applicant has conducted further research on this prosthetic foot, and as a result, has developed a joint structure between the upper and lower prosthetic foot portions in an epoch-making prosthetic foot that exhibits unprecedented effects.
  • the upper prosthetic leg 1 is attached to the body, and is connected to the upper prosthetic leg 1 to form a prosthetic leg F, and has a connection structure with a lower prosthetic leg 2 having a grounding part 2a at the lower end.
  • the connection part 3 provided in either one of the artificial leg part 2 or the upper side artificial leg part 1, and the fitting connection part 4 which is provided in the other and is fitted to the coupling part 3, It has holding bodies 6 and 7 that protrude into the fitting hole 4a and hold the connecting portion 3 located in the fitting hole 4a.
  • the holding bodies 6 and 7 are formed in the fitting hole 4a.
  • a first holding body 6 that protrudes in a direction orthogonal to the axis of the fitting coupling portion 4 and holds the coupling portion 3, and the axis of the fitting coupling portion 4 within the fitting hole 4 a
  • a prosthetic leg comprising a second holding body 7 that protrudes in an inclined direction and holds the connecting portion 3.
  • connection structure of the upper prosthetic leg part and the lower prosthetic leg part in the prosthetic leg according to claim 1 the degree of protrusion of the first holding body 6 in the fitting hole 4a is variably provided, and the fitting hole Between the upper prosthetic leg portion and the lower prosthetic leg portion of the prosthetic leg, wherein the connecting part 3 is movably connected within a plane orthogonal to the axis of the fitted connecting part 4 within 4a. This relates to the connection structure.
  • connection structure of the upper prosthetic leg part and the lower prosthetic leg part in the prosthetic leg according to claim 1 the protrusion degree in the fitting hole 4a of the second holding body 7 is provided variably, and the fitting hole
  • the connecting portion 3 is configured to be tiltably connected within 4a, and relates to a connecting structure of an upper prosthetic leg portion and a lower prosthetic leg portion in a prosthetic leg.
  • the protrusion degree in the fitting hole 4a of the second holding body 7 is provided variably, and the fitting hole
  • the connecting portion 3 is configured to be tiltably connected within 4a, and relates to a connecting structure of an upper prosthetic leg portion and a lower prosthetic leg portion in a prosthetic leg.
  • the fitted connecting portion 4 is provided with a plurality of through holes 8, and each of the through holes 8 has the first through hole.
  • the first holding body 6 and the second holding body 7 are inserted, and the present invention relates to a connection structure of an upper prosthetic leg portion and a lower prosthetic leg portion in a prosthetic leg.
  • the fitted connecting portion 4 is provided with a plurality of through holes 8, and each of the through holes 8 has the first through hole.
  • the first holding body 6 and the second holding body 7 are inserted, and the present invention relates to a connection structure of an upper prosthetic leg portion and a lower prosthetic leg portion in a prosthetic leg.
  • the fitted connecting portion 4 is provided with a plurality of through holes 8, and each of the through holes 8 has the first through hole.
  • the first holding body 6 and the second holding body 7 are inserted, and the present invention relates to a connection structure of an upper prosthetic leg portion and a lower prosthetic leg portion in a prosthetic leg.
  • a plurality of through holes 8 are provided in the fitted connecting portion 4, and each of the through holes 8 has the first through hole.
  • the first holding body 6 and the second holding body 7 are inserted, and the present invention relates to a connection structure of an upper prosthetic leg portion and a lower prosthetic leg portion in a prosthetic leg.
  • the through hole 8 into which the second holding body 7 is inserted is inclined with respect to the axial center of the fitted connecting part 4. It is related with the connection structure of the upper prosthetic leg part and lower prosthetic leg part in the artificial leg characterized by being provided.
  • the through hole 8 into which the second holding body 7 is inserted is inclined with respect to the axial center of the fitted connecting portion 4. It is related with the connection structure of the upper prosthetic leg part and lower prosthetic leg part in the artificial leg characterized by being provided.
  • the through hole 8 into which the second holding body 7 is inserted is inclined with respect to the axial center of the fitted connecting part 4. It is related with the connection structure of the upper prosthetic leg part and lower prosthetic leg part in the artificial leg characterized by being provided.
  • the through hole 8 into which the second holding body 7 is inserted is inclined with respect to the axial center of the fitted connecting portion 4. It is related with the connection structure of the upper prosthetic leg part and lower prosthetic leg part in the artificial leg characterized by being provided.
  • the outer peripheral surface 3a of the connecting part 3 is set to be an inclined surface extending toward the tip side.
  • the present invention relates to a connection structure of an upper prosthetic leg part and a lower prosthetic leg part of the prosthetic leg.
  • the present invention is configured as described above, it is possible to obtain an optimal wearing state in which walking can be satisfactorily performed, and furthermore, adjustment according to the situation requested by the user can be performed easily and quickly, and thus there is an unprecedented action. It becomes the connection structure of the upper prosthetic leg part and the lower prosthetic leg part in the epoch-making prosthetic leg which demonstrates an effect.
  • FIG. 3 is an explanatory diagram of a use state of the first embodiment.
  • 3 is an exploded perspective view of a main part of Example 1.
  • FIG. 3 is a cross-sectional view of a main part of Example 1.
  • FIG. 3 is an operation explanatory cross-sectional view of a main part of the first embodiment.
  • FIG. 3 is an operation explanatory cross-sectional view of a main part of the first embodiment.
  • FIG. 3 is an operation explanatory cross-sectional view of a main part of the first embodiment.
  • 6 is an exploded perspective view of another example according to Embodiment 1.
  • FIG. 6 is a cross-sectional view of another example according to Embodiment 1.
  • FIG. 10 is an explanatory diagram of a use state of the second embodiment.
  • FIG. 10 is an explanatory diagram of a use state of the second embodiment.
  • FIG. 6 is an exploded perspective view of a main part of Example 2.
  • 6 is a cross-sectional view of a main part of Example 2.
  • FIG. 6 is a cross-sectional view of a main part of Example 2.
  • FIG. 9 is an operation explanatory cross-sectional view of a main part of the second embodiment.
  • FIG. 9 is an operation explanatory cross-sectional view of a main part of the second embodiment.
  • FIG. 9 is an operation explanatory cross-sectional view of a main part of the second embodiment.
  • FIG. 9 is an operation explanatory cross-sectional view of a main part of Example 3.
  • FIG. 9 is an operation explanatory cross-sectional view of a main part of Example 3.
  • the fitting coupling part 4 provided on the other side is fitted on the coupling part 3 provided on either the lower artificial leg part 2 or the upper artificial leg part 1.
  • the connecting portion 3 in the fitting hole 4a is held by the holding bodies 6 and 7 protruding into the fitting hole 4a of the fitting connecting portion 4.
  • the holding bodies 6 and 7 project into the fitting hole 4a in a direction perpendicular to the axis of the fitting coupling part 4 to hold the coupling part 3, and the fitting hole 4a. It is comprised by the 2nd holding body 7 which protrudes in the direction which inclines with respect to the axial center of the to-be-fitted connection part 4, and hold
  • the 1st holding body 6 into the fitting hole 4a will protrude in the direction orthogonal to the axial center of the fitting connection part 4, and the connection part 3 will be made.
  • the connecting portion 3 moves in the fitting hole 4a in a plane perpendicular to the axis of the fitting connecting portion 4, in this case, in the horizontal direction, while the second holding body into the fitting hole 4a.
  • the protrusion degree of 7 is appropriately changed, the second holding body 7 protrudes in a direction inclined with respect to the axial center of the fitted connecting portion 4 and presses the connecting portion 3, so that the connecting portion 3 is in the fitted hole 4 a. Will tilt.
  • the position adjustment in the horizontal direction (for example, the front-rear direction and the left-right direction) of the lower prosthetic foot part 2 with respect to the upper prosthetic foot part 1 can be performed satisfactorily only by adjusting the degree of protrusion of the first holding body 6. Therefore, the angle adjustment of the lower prosthetic leg 2 with respect to 1 can be performed satisfactorily only by adjusting the degree of protrusion of the second holding body 7.
  • an upper prosthetic leg 1 to be attached to the body (thigh cut end of the cut leg) and a lower part connected to the upper prosthetic leg 1 and having a grounding part 2a (foot) at the lower end.
  • This is a prosthetic leg (thigh prosthetic leg) composed of a side prosthetic leg part 2 (lower leg prosthetic leg part).
  • the upper part of this lower prosthetic leg part 2 is provided with a bending / extending part 9 having a well-known structure that functions as a knee joint that enables bending / extending movement, a structure without this bending / extending part 9 may be used.
  • Reference numeral 10 denotes a cylinder device.
  • the upper prosthetic leg portion 1 and the lower prosthetic leg portion 2 are connected via a connecting structure having an angle adjusting function.
  • this connection structure includes a connection portion 3 provided on the upper portion of the lower prosthetic leg portion 2 and a fitting connection portion 4 to be fitted and connected to the connection portion 3.
  • the connection part 3 may be provided in the upper artificial leg part 1, while the fitted connection part 4 may be provided in the lower artificial leg part 2.
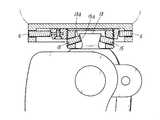
  • the connecting portion 3 is formed of an appropriate metal member as shown in FIG. 2, and is a cylindrical lower connecting portion projecting from the upper surface of the bending and extending portion 9 provided in the lower artificial leg 2.
  • An annular body 3A is screwed onto 3B in a fitted state.
  • the connecting portion 3 (annular body 3A) is formed in an octagonal shape in plan view, and is formed to have a larger diameter on the upper end side so that each of the eight outer peripheral surfaces becomes a tapered surface 3a.
  • the tip end surface of the second holding body 7 is as much as possible when the outer peripheral surface of the connecting portion 3 is a simple vertical surface when held by the second holding body 7 described later. Therefore, the surface can be brought into contact with the surface, and stable and good angle adjustment is always possible. In addition, the connecting portion 3 can be prevented from coming off.
  • the fitted connecting portion 4 is a dome-shaped cylindrical body formed of an appropriate metal member, and the connecting portion 3 described above can be arranged in the fitted hole 4a to surround it. It is configured.
  • a screw connection portion 4b to which an upper connection portion 11 described later is screwed is formed on the upper surface of the top wall of the fitting connection portion 4.
  • through-holes 8 including eight screw holes are formed at equal intervals in the fitting connection portion 4, and the through-holes 8 are formed on the inner surface of the fitting hole 4 a and the outer peripheral surface of the fitting connection portion 4. It is provided to open.
  • each of the through holes 8 includes four first through holes 8 a provided in a direction orthogonal to the axis of the fitted connection portion 4 and the axis of the fitted connection portion 4.
  • the first through-holes 8a and the second through-holes 8b are alternately provided in the circumferential direction of the fitted coupling portion 4,
  • the first through hole 8a is provided at the front, rear, left and right positions of the fitted connecting portion 4, and the second through hole 8b is at a position between the first through holes 8a. Is provided.
  • the second through hole 8b is provided in an inclined state so that the inner opening is positioned higher than the outer opening, and the inclination angle of each second through hole 8b is a second holding body to be described later. 7 is set to an angle at which the front end of 7 comes into surface contact with the tapered surface 3 a of the connecting portion 3.
  • first holding body 6 and second holding body 7 are screwed into each through hole 8.
  • This holding body is a screw rod body formed of an appropriate metal member as shown in FIG. 2, and the connecting portion 3 is fitted into the fitting hole 4a in a state where the holding body is screwed to the fitting connecting portion 4.
  • the fitting connection part 4 can be connected with respect to the connection part 3 by arrange
  • the first holding body 6 screwed into the first through-hole 8a protrudes in the direction perpendicular to the axis of the fitting coupling part 4 into the fitting hole 4a and holds the coupling part 3.
  • the connection part 3 is moved in the front-rear and left-right directions with respect to the fitting connection part 4 depending on the degree of protrusion of each first holding body 6. The movement can be adjusted (see FIGS. 4 and 5).
  • the second holding body 7 screwed into the second through-hole 8b protrudes in a direction inclined with respect to the axis of the fitting connecting portion 4 in the fitting hole 4a, and holds the connecting portion 3.
  • the structure which connects the fitting connection part 4 to the connection part 3 via the 2nd holding body 7 will exhibit an angle adjustment function, for example, the upper artificial leg part 1 and the lower artificial leg part 2 are connected with the optimal angle.
  • the connecting portion 3 is arranged at an optimum angle with the fitted connecting portion 4, and in this state, each second holding body 7 is protruded by an appropriate amount to hold the connecting portion 3 or the second holding body.
  • the holding body is not limited to a structure that is screwed into the through-hole, but may be a structure that is press-fitted and locked, but any structure that can be detached is desirable.
  • the upper connecting portion 11 is an annular body formed of an appropriate metal member as shown in FIG. 2 and is provided at the lower portion of the upper artificial leg 1.
  • a screw groove 11a is formed in the inner hole of the upper connecting portion 11, and is configured to be screwed and connected to the fitting connecting portion 4 described above.
  • the upper connecting portion 11 has a slit portion 11b formed at a predetermined location so that the diameter can be reduced, and a fastening member 12 for fastening the slit portion 11b is provided between the opposite end portions of the slit portion 11b. ing.
  • the fastening member 12 is tightened to narrow the facing interval of the slit portion 11b, thereby fitting the fitting portion. A firm connection state of the upper connection portion 11 with respect to the connection portion 4 is obtained.
  • FIG. 7 and 8 show another example of the lower connecting portion 3B constituting the connecting portion 3.
  • the lower connecting portion 3B includes a protruding portion 13 provided on the upper portion of the lower artificial leg portion 2, and the protruding portion. It is comprised with the fitting connection member 14 connected with 13.
  • FIG. 13 shows another example of the lower connecting portion 3B constituting the connecting portion 3.
  • the lower connecting portion 3B includes a protruding portion 13 provided on the upper portion of the lower artificial leg portion 2, and the protruding portion. It is comprised with the fitting connection member 14 connected with 13.
  • the protruding portion 13 is an appropriate metal quadrangular prism-shaped body protruding from the upper surface of the bending / extending portion 7 provided on the lower artificial leg 2 as shown in FIG.
  • the protruding portion 13 is formed to have a larger diameter on the upper end side so that each of the four outer peripheral surfaces becomes a tapered surface 13a.
  • the front end surface of the holding body 15 is as much as possible as compared with the case where the outer peripheral surface of the protrusion 13 is a simple vertical surface. Since the contact can be achieved, stable and good angle adjustment is always possible, and in addition, a good retaining action of the protruding portion 13 is exhibited.
  • the fitting connecting member 14 is formed of an appropriate metal member as shown in FIG. 7, and is configured so that the above-described protruding portion 13 can be arranged and enclosed in the fitting hole 14a. ing.
  • a screw groove into which the annular body 3A is screwed is formed on the outer peripheral surface of the fitted connecting member 14, and a through-hole 14b described later is opened on the outer peripheral surface on which the screw groove is formed. Yes.
  • the fitting connection member 14 is formed with through holes 14b formed of four screw holes at equal intervals.
  • the through holes 14b are formed on the inner surface of the fitting hole 14a and the outer peripheral surface of the fitting connection member 14. It is provided to open.
  • each through-hole 14b is provided in an inclined state so that the inner opening is positioned higher than the outer opening.
  • the inclination angle of each through-hole 14b is set to an angle at which a distal end portion of the holding body 15 described later comes into surface contact with the tapered surface 13a of the protruding portion 13.
  • a holding body 15 is screwed into each through hole 14b.
  • the holding body 15 is a screw rod body formed of an appropriate metal member as shown in FIG. 7, and the projecting portion 13 is fitted with the holding body 15 screwed to the fitting connecting member 14. Arranged on the connecting member 14, and in this state, the protruding portion 13 in the fitting hole 14 a is held between the tip portions of the holding bodies 15, thereby connecting the fitting connecting member 14 to the protruding portion 13. Can do.
  • the structure in which the fitting connecting member 14 is connected to the projecting portion 13 through the holding body 15 exhibits an angle adjusting function, and the upper prosthetic leg portion 1 and the lower prosthetic leg portion 2 are optimal also by this configuration.
  • the protrusion 13 is arranged at an optimum angle to the fitting connecting member 14 so that the protrusions 13 are connected at an appropriate angle, and in this state, the holding bodies 15 are protruded by an appropriate amount to hold the protrusions 13.
  • the lower artificial leg 2 can be connected to the upper artificial leg 1 at a desired angle (see FIG. 8). At this time, the base end portion of the holding body 15 protruding from the outer opening of the through hole 14b is cut out, and the cut surface is cut out so as to be flush with the outer peripheral surface of the fitting connecting member 14.
  • the holding body 15 is not limited to a structure that is screwed into the through hole 14b, but may be a structure that is press-fitted and locked, but any structure that can be detached is desirable.
  • the present embodiment is configured as described above, when the upper prosthetic leg 1 and the lower prosthetic leg 2 are connected, the fitting connection provided in the upper prosthetic leg 1 to the connecting part 3 provided in the lower prosthetic leg 2.
  • the portion 4 is fitted, and the connecting portion 3 in the fitting hole 4a is held by the holding bodies 6 and 7 protruding into the fitting hole 4a of the fitting connecting portion 4.
  • the holding bodies 6 and 7 project into the fitting hole 4a in a direction perpendicular to the axis of the fitting coupling part 4 to hold the coupling part 3, and the fitting hole 4a. It is comprised by the 2nd holding body 7 which protrudes in the direction which inclines with respect to the axial center of the to-be-fitted connection part 4, and hold
  • the 1st holding body 6 into the fitting hole 4a will protrude in the direction orthogonal to the axial center of the fitting connection part 4, and the connection part 3 will be made.
  • the connecting portion 3 moves in the fitting hole 4a in a plane perpendicular to the axis of the fitting connecting portion 4, in this case, in the horizontal direction, while the second holding body into the fitting hole 4a.
  • the protrusion degree of 7 is appropriately changed, the second holding body 7 protrudes in a direction inclined with respect to the axial center of the fitted connecting portion 4 and presses the connecting portion 3, so that the connecting portion 3 is in the fitted hole 4 a. Tilt in.
  • the position adjustment in the horizontal direction (for example, the front-rear direction and the left-right direction) of the lower prosthetic foot part 2 with respect to the upper prosthetic foot part 1 can be performed satisfactorily only by adjusting the degree of protrusion of the first holding body 6. Therefore, the angle adjustment of the lower prosthetic leg 2 with respect to 1 can be performed satisfactorily only by adjusting the degree of protrusion of the second holding body 7.
  • an optimal wearing state in which walking can be satisfactorily performed can be easily obtained, and the adjustment according to the situation requested by the user can be performed easily and quickly.
  • the annular body 3 ⁇ / b> A in the connection structure of the upper prosthetic foot part 1 and the lower prosthetic foot part 2 is provided with a rotation mechanism so This is a case where 2 is provided so as to be pivotable. This function is useful when sitting on a parlor.
  • the annular body 3A is formed of an appropriate metal member as shown in FIG. 10, and the first ring member 16 and the axis of the first ring member 16 coincide with each other.
  • the first ring member 16 includes a second ring member 17 that is rotatably disposed in the ring hole 16a.
  • a through hole 16b is provided at a predetermined position on the peripheral surface of the first ring member 16, and a concave portion 17a matching the through hole 16b is provided at a predetermined position on the peripheral surface of the second ring member 16.
  • a slide member 18 is slidably provided between the second ring member 17 and the first ring member 16 when the slide member 18 is installed between the through hole 16b and the recess 17a.
  • the lower prosthetic leg 2 is pivotable with respect to the upper prosthetic leg 1.
  • a tapered recess 16c is provided on the outer peripheral surface of the first ring member 16, and the tapered recess 16c has a sharpened portion provided at the tip of the holding body (the first holding body 6 and the second holding body 7). Are configured to engage with the concave and convex portions (see FIGS. 14 and 15).
  • the lower connecting portion 3B is the same as the type described in another example of the first embodiment (see FIGS. 7 and 8).
  • Numeral 21 is a spacer and 22 is a lid member.
  • a rotating device 24 is provided at a lower portion of the upper prosthetic foot portion 1 and connected to the lower prosthetic foot portion 2, and the lower prosthetic foot is supported with respect to the upper prosthetic foot portion 1 via the rotating device 24.
  • the portion 2 is pivotable.
  • the rotating device 24 is configured such that a rotating portion 24a is rotatably provided on a base portion 24a provided at a lower portion of the upper artificial leg 1 and this rotating portion 24a. Is a state in which the rotation with respect to the base portion 24a is blocked by a lock mechanism (not shown), and the rotation blocking state by the lock mechanism is released by the pressing operation of the push button 24c, so that the rotation portion 24b can freely rotate. It is configured.
  • a fitting connecting portion 4 that is fitted and connected to the connecting portion 3 is fixed to the rotating portion 24 b of the rotating device 24 via a fixing member 25 in a non-rotating state.
  • the lower prosthetic foot part 2 pivots with respect to the upper prosthetic foot part 1 by turning the fitted connecting part 4 as the turning part 24b of the turning device 24 turns. Obviously, the lower prosthetic foot part 2 pivots with respect to the upper prosthetic foot part 1 by turning the fitted connecting part 4 as the turning part 24b of the turning device 24 turns. Obviously, the lower prosthetic foot part 2 pivots with respect to the upper prosthetic foot part 1 by turning the fitted connecting part 4 as the turning part 24b of the turning device 24 turns. Become.
  • Numeral 26 is a lid member that closes the upper part of the fitted connecting portion 4.
  • the present embodiment has a support portion that supports the distal end portion of the connecting portion 3, and a portion of the support portion that supports the connecting portion 3 is set to have a convex curved surface.
  • a support body 27 is provided on the front end side (upper end side) of the annular body 3A related to the connecting portion 3, and the support body 27 has a front end side of the annular body 3A.
  • a convex curved surface portion 27a is provided on the inner side from the opening so as to be in a fitted state and comes into contact with the opening edge on the front end side.
  • a screw body with a retaining function in which a retaining screw 6b is screwed to the base end portion of the main body portion 6a having a thread groove formed on the peripheral surface is employed as the first holding body 6.
  • a plurality of slits are formed in the length direction at the base end portion of the main body 6a to which the retaining screw 6b is screwed, and when the retaining screw 6b is screwed, When the base end portion of the main body portion 6a becomes large in diameter, the retaining function is exhibited.
  • the second holding body 7 may also employ this screw body with a retaining function.

Landscapes

  • Health & Medical Sciences (AREA)
  • Transplantation (AREA)
  • Biomedical Technology (AREA)
  • Cardiology (AREA)
  • Oral & Maxillofacial Surgery (AREA)
  • Engineering & Computer Science (AREA)
  • Heart & Thoracic Surgery (AREA)
  • Vascular Medicine (AREA)
  • Life Sciences & Earth Sciences (AREA)
  • Animal Behavior & Ethology (AREA)
  • General Health & Medical Sciences (AREA)
  • Public Health (AREA)
  • Veterinary Medicine (AREA)
  • Orthopedic Medicine & Surgery (AREA)
  • Prostheses (AREA)
PCT/JP2013/070281 2012-07-31 2013-07-26 義足における上側義足部と下側義足部との連結構造 Ceased WO2014021202A1 (ja)

Priority Applications (2)

Application Number Priority Date Filing Date Title
US14/414,805 US20150164659A1 (en) 2012-07-31 2013-07-26 Structure for linking upper prosthetic leg part and lower prosthetic leg part in prosthetic leg
DE112013003777.7T DE112013003777T5 (de) 2012-07-31 2013-07-26 Struktur zum Verbinden eines oberen Beinprothesenteils und eines unteren Beinprothesenteils bei einer Beinprothese

Applications Claiming Priority (4)

Application Number Priority Date Filing Date Title
JP2012-170550 2012-07-31
JP2012170550 2012-07-31
JP2013151572A JP5709111B2 (ja) 2012-07-31 2013-07-22 義足における上側義足部と下側義足部との連結構造
JP2013-151572 2013-07-22

Publications (1)

Publication Number Publication Date
WO2014021202A1 true WO2014021202A1 (ja) 2014-02-06

Family

ID=50027880

Family Applications (1)

Application Number Title Priority Date Filing Date
PCT/JP2013/070281 Ceased WO2014021202A1 (ja) 2012-07-31 2013-07-26 義足における上側義足部と下側義足部との連結構造

Country Status (4)

Country Link
US (1) US20150164659A1 (enExample)
JP (1) JP5709111B2 (enExample)
DE (1) DE112013003777T5 (enExample)
WO (1) WO2014021202A1 (enExample)

Cited By (1)

* Cited by examiner, † Cited by third party
Publication number Priority date Publication date Assignee Title
US20150257901A1 (en) * 2014-01-23 2015-09-17 Vladimir Radzinsky Clamps for prosthetic limbs and methods of making clamps for prosthetic limbs

Families Citing this family (10)

* Cited by examiner, † Cited by third party
Publication number Priority date Publication date Assignee Title
US20160151174A1 (en) * 2014-01-23 2016-06-02 Vladimir Radzinsky Clamps for prosthetic limbs
SE542686C2 (en) * 2016-02-05 2020-06-23 Fillauer Europe Ab A prosthetic adapter module
US10369026B2 (en) * 2016-07-15 2019-08-06 Zimmer, Inc. Clamping quick connect mechanism for axial attachment
EP3565509B1 (en) 2017-01-05 2024-05-15 Biomet Manufacturing, LLC Failsafe device for prosthetic limb
KR102176218B1 (ko) * 2020-08-04 2020-11-09 김보일 의지 체결장치
WO2023166602A1 (ja) * 2022-03-02 2023-09-07 インスタリム株式会社 義肢ソケット、義肢用システム、及び、義肢
US20230329883A1 (en) * 2022-04-15 2023-10-19 United States Government As Represented By The Department Of Veterans Affairs Hydrotherapy Systems And Methods Of Use Of Said Systems
KR102828405B1 (ko) * 2022-11-10 2025-07-02 김인철 의지 체결장치
KR102763113B1 (ko) * 2022-12-13 2025-02-10 근로복지공단 의수 연결 어댑터
KR102838728B1 (ko) * 2022-12-28 2025-07-28 김인철 의지 체결장치

Citations (5)

* Cited by examiner, † Cited by third party
Publication number Priority date Publication date Assignee Title
JPS51125096U (enExample) * 1975-03-28 1976-10-09
JPH04124128U (ja) * 1991-04-19 1992-11-11 陳 森栄 義足重心調整装置
JP2000511457A (ja) * 1997-04-02 2000-09-05 グラムテク インノボシューン アクチボラゲット 下肢義足用の調節可能なアダプター
JP2003024354A (ja) * 2001-07-11 2003-01-28 Nabco Ltd 義足のためのアダプタ装置
US20110015761A1 (en) * 2009-07-17 2011-01-20 Dogan Celebi Rotatable prosthetic adapter

Family Cites Families (3)

* Cited by examiner, † Cited by third party
Publication number Priority date Publication date Assignee Title
US4676800A (en) * 1986-06-02 1987-06-30 Chen Sen J Adjustable device for artificial limbs
US8192503B2 (en) * 2006-09-15 2012-06-05 össur hf Method and apparatus for decreasing build height of prosthetic products
US20100036506A1 (en) * 2008-08-08 2010-02-11 Ya-Ping Wang Position Deviation Adjustment Apparatus For Prosthesis

Patent Citations (5)

* Cited by examiner, † Cited by third party
Publication number Priority date Publication date Assignee Title
JPS51125096U (enExample) * 1975-03-28 1976-10-09
JPH04124128U (ja) * 1991-04-19 1992-11-11 陳 森栄 義足重心調整装置
JP2000511457A (ja) * 1997-04-02 2000-09-05 グラムテク インノボシューン アクチボラゲット 下肢義足用の調節可能なアダプター
JP2003024354A (ja) * 2001-07-11 2003-01-28 Nabco Ltd 義足のためのアダプタ装置
US20110015761A1 (en) * 2009-07-17 2011-01-20 Dogan Celebi Rotatable prosthetic adapter

Cited By (1)

* Cited by examiner, † Cited by third party
Publication number Priority date Publication date Assignee Title
US20150257901A1 (en) * 2014-01-23 2015-09-17 Vladimir Radzinsky Clamps for prosthetic limbs and methods of making clamps for prosthetic limbs

Also Published As

Publication number Publication date
JP2014042813A (ja) 2014-03-13
DE112013003777T5 (de) 2015-06-03
JP5709111B2 (ja) 2015-04-30
US20150164659A1 (en) 2015-06-18

Similar Documents

Publication Publication Date Title
JP5709111B2 (ja) 義足における上側義足部と下側義足部との連結構造
JP2014042813A5 (enExample)
JP2010500138A (ja) 一次クラウンと二次クラウンを有する歯科インプラント
KR102386680B1 (ko) 이중 회전축을 갖는 이어 머프 부착물
JP5807888B1 (ja) 義肢装具用関節継手
FR2856119A1 (fr) Dispositif destine a etre accouple a au moins un support, et notamment implant chirurgical destine a etre accouple a un os
ES3038164T3 (en) Furniture fitting
JP2021505351A (ja) プロテーゼ
JP5117736B2 (ja) 位置復帰機能付き椅子用回転式テーブル
JP2004329945A (ja) 関節装具
JP2005090730A (ja) 雲台装置
FR2805151A1 (fr) Prothese trapezo-metacarpienne a mobilite amelioree
EP1681038A3 (en) Replicating orthopaedic implant orientation
JP3946266B2 (ja) 下肢義足用の調節可能なアダプター
US20170023174A1 (en) Walking aid attachment and leg support apparatus
JPH02149201A (ja) スキーブーツ
JP3156463U (ja) 人形体
JP6391313B2 (ja) イヤーマフの支持構造
KR200289426Y1 (ko) 낚시용 의자의 높이조절구
JP2000037567A (ja) 関節可動人形に於ける肩部の構造
JP2005031605A (ja) 球継ぎ手および自由雲台
US10639171B2 (en) Transfemoral rotator using push button spring clips
JP4741635B2 (ja) 義足
JP2002199917A (ja)
JPH0330763A (ja) 骨格義足における膝関節

Legal Events

Date Code Title Description
121 Ep: the epo has been informed by wipo that ep was designated in this application

Ref document number: 13825160

Country of ref document: EP

Kind code of ref document: A1

WWE Wipo information: entry into national phase

Ref document number: 14414805

Country of ref document: US

WWE Wipo information: entry into national phase

Ref document number: 1120130037777

Country of ref document: DE

Ref document number: 112013003777

Country of ref document: DE

122 Ep: pct application non-entry in european phase

Ref document number: 13825160

Country of ref document: EP

Kind code of ref document: A1