WO2013161987A1 - 超音波霧化装置 - Google Patents

超音波霧化装置 Download PDF

Info

Publication number
WO2013161987A1
WO2013161987A1 PCT/JP2013/062349 JP2013062349W WO2013161987A1 WO 2013161987 A1 WO2013161987 A1 WO 2013161987A1 JP 2013062349 W JP2013062349 W JP 2013062349W WO 2013161987 A1 WO2013161987 A1 WO 2013161987A1
Authority
WO
WIPO (PCT)
Prior art keywords
diaphragm
liquid
chemical
ultrasonic
ultrasonic atomizer
Prior art date
Legal status (The legal status is an assumption and is not a legal conclusion. Google has not performed a legal analysis and makes no representation as to the accuracy of the status listed.)
Ceased
Application number
PCT/JP2013/062349
Other languages
English (en)
French (fr)
Japanese (ja)
Inventor
浩之 河野
哲男 原田
大介 高畠
一之 植田
Current Assignee (The listed assignees may be inaccurate. Google has not performed a legal analysis and makes no representation or warranty as to the accuracy of the list.)
Sumitomo Chemical Co Ltd
Original Assignee
Sumitomo Chemical Co Ltd
Priority date (The priority date is an assumption and is not a legal conclusion. Google has not performed a legal analysis and makes no representation as to the accuracy of the date listed.)
Filing date
Publication date
Application filed by Sumitomo Chemical Co Ltd filed Critical Sumitomo Chemical Co Ltd
Priority to US14/396,411 priority Critical patent/US20150306623A1/en
Priority to EP13781482.8A priority patent/EP2842640B1/en
Priority to CN201380021778.4A priority patent/CN104271255A/zh
Priority to ES13781482T priority patent/ES2759199T3/es
Publication of WO2013161987A1 publication Critical patent/WO2013161987A1/ja
Anticipated expiration legal-status Critical
Ceased legal-status Critical Current

Links

Images

Classifications

    • BPERFORMING OPERATIONS; TRANSPORTING
    • B05SPRAYING OR ATOMISING IN GENERAL; APPLYING FLUENT MATERIALS TO SURFACES, IN GENERAL
    • B05BSPRAYING APPARATUS; ATOMISING APPARATUS; NOZZLES
    • B05B17/00Apparatus for spraying or atomising liquids or other fluent materials, not covered by the preceding groups
    • B05B17/04Apparatus for spraying or atomising liquids or other fluent materials, not covered by the preceding groups operating with special methods
    • B05B17/06Apparatus for spraying or atomising liquids or other fluent materials, not covered by the preceding groups operating with special methods using ultrasonic or other kinds of vibrations
    • B05B17/0607Apparatus for spraying or atomising liquids or other fluent materials, not covered by the preceding groups operating with special methods using ultrasonic or other kinds of vibrations generated by electrical means, e.g. piezoelectric transducers
    • B05B17/0638Apparatus for spraying or atomising liquids or other fluent materials, not covered by the preceding groups operating with special methods using ultrasonic or other kinds of vibrations generated by electrical means, e.g. piezoelectric transducers spray being produced by discharging the liquid or other fluent material through a plate comprising a plurality of orifices
    • B05B17/0646Vibrating plates, i.e. plates being directly subjected to the vibrations, e.g. having a piezoelectric transducer attached thereto
    • AHUMAN NECESSITIES
    • A01AGRICULTURE; FORESTRY; ANIMAL HUSBANDRY; HUNTING; TRAPPING; FISHING
    • A01MCATCHING, TRAPPING OR SCARING OF ANIMALS; APPARATUS FOR THE DESTRUCTION OF NOXIOUS ANIMALS OR NOXIOUS PLANTS
    • A01M1/00Stationary means for catching or killing insects
    • A01M1/20Poisoning, narcotising, or burning insects
    • A01M1/2022Poisoning or narcotising insects by vaporising an insecticide
    • A01M1/2027Poisoning or narcotising insects by vaporising an insecticide without heating
    • A01M1/2044Holders or dispensers for liquid insecticide, e.g. using wicks
    • A01M1/205Holders or dispensers for liquid insecticide, e.g. using wicks using vibrations, e.g. ultrasonic or piezoelectric atomizers
    • AHUMAN NECESSITIES
    • A61MEDICAL OR VETERINARY SCIENCE; HYGIENE
    • A61LMETHODS OR APPARATUS FOR STERILISING MATERIALS OR OBJECTS IN GENERAL; DISINFECTION, STERILISATION OR DEODORISATION OF AIR; CHEMICAL ASPECTS OF BANDAGES, DRESSINGS, ABSORBENT PADS OR SURGICAL ARTICLES; MATERIALS FOR BANDAGES, DRESSINGS, ABSORBENT PADS OR SURGICAL ARTICLES
    • A61L9/00Disinfection, sterilisation or deodorisation of air
    • A61L9/14Disinfection, sterilisation or deodorisation of air using sprayed or atomised substances including air-liquid contact processes
    • BPERFORMING OPERATIONS; TRANSPORTING
    • B05SPRAYING OR ATOMISING IN GENERAL; APPLYING FLUENT MATERIALS TO SURFACES, IN GENERAL
    • B05BSPRAYING APPARATUS; ATOMISING APPARATUS; NOZZLES
    • B05B17/00Apparatus for spraying or atomising liquids or other fluent materials, not covered by the preceding groups
    • B05B17/04Apparatus for spraying or atomising liquids or other fluent materials, not covered by the preceding groups operating with special methods
    • B05B17/06Apparatus for spraying or atomising liquids or other fluent materials, not covered by the preceding groups operating with special methods using ultrasonic or other kinds of vibrations
    • B05B17/0607Apparatus for spraying or atomising liquids or other fluent materials, not covered by the preceding groups operating with special methods using ultrasonic or other kinds of vibrations generated by electrical means, e.g. piezoelectric transducers
    • B05B17/0653Details
    • B05B17/0676Feeding means
    • B05B17/0684Wicks or the like
    • AHUMAN NECESSITIES
    • A61MEDICAL OR VETERINARY SCIENCE; HYGIENE
    • A61LMETHODS OR APPARATUS FOR STERILISING MATERIALS OR OBJECTS IN GENERAL; DISINFECTION, STERILISATION OR DEODORISATION OF AIR; CHEMICAL ASPECTS OF BANDAGES, DRESSINGS, ABSORBENT PADS OR SURGICAL ARTICLES; MATERIALS FOR BANDAGES, DRESSINGS, ABSORBENT PADS OR SURGICAL ARTICLES
    • A61L2209/00Aspects relating to disinfection, sterilisation or deodorisation of air
    • A61L2209/10Apparatus features
    • A61L2209/13Dispensing or storing means for active compounds
    • A61L2209/132Piezo or ultrasonic elements for dispensing

Definitions

  • the present invention relates to an ultrasonic atomizer that atomizes a chemical solution by ultrasonic vibration.
  • An ultrasonic atomizer is known as means for spraying a liquid such as a chemical solution containing an active ingredient into an indoor or outdoor space.
  • the ultrasonic atomizer has a piezoelectric vibrator that generates ultrasonic vibration when energized, and a vibration plate that is fixed to the piezoelectric vibrator and has a large number of micropores, supplying liquid to the micropores, The liquid is atomized by generating ultrasonic vibration in the diaphragm by the vibration of the piezoelectric vibrator.
  • the atomization apparatus of Patent Document 1 includes a pressurizing chamber filled with a liquid, a nozzle plate provided with a plurality of nozzles facing the pressurizing chamber, and an electric vibrator that energizes the nozzle plate and excites flexural vibration.
  • the nozzle plate is provided with a protrusion, and the protrusion is provided with a fine hole.
  • the micropores are in direct contact with the liquid and are oriented in the lateral direction (direction perpendicular to the direction of gravity). Thereby, the atomization apparatus of patent document 1 sprays a liquid to a horizontal direction.
  • the sprayer of Patent Document 2 includes a vibrating membrane for spraying a liquid and a vibrating portion that vibrates the membrane.
  • the membrane includes a first bending portion and a second bending portion having a curvature different from that of the first bending portion, and is sprayed with a liquid in contact with the membrane by being vibrated by the vibration portion.
  • the sprayer of patent document 2 sprays a liquid below (gravity direction).
  • the ultrasonic atomization device of Patent Document 3 vibrates a piezoelectric vibrator by driving a complex composed of a piezoelectric vibrator and a vibrator, and the vibration propagates to the vibrator.
  • the liquid supplied to the lower surface of the vibrating body that comes into contact with the liquid retaining agent is atomized through a hole formed in the vibrating body as the vibrating body vibrates.
  • the piezo-type sprayer of Patent Document 4 sprays a water-soluble insecticide having a viscosity of 10 mPa ⁇ s or less using a flat plate-type vibrator.
  • JP 58-216753 (December 16, 1983) US Pat. No. 7,472,701 (registered January 6, 2009) Japanese Laid-Open Patent Publication No. 6-7721 (published January 18, 1994) JP 2004-147463 A (published May 27, 2004)
  • Patent Documents 1 to 4 have the following problems.
  • the atomizing device of Patent Document 1 since the atomizing device of Patent Document 1 has a spray port that faces sideways, the liquid level decreases as the remaining amount decreases. Therefore, in the spray device of Patent Document 1, when the liquid level is lower than the nozzle, the liquid is not sprayed outside the device.
  • both the atomization device of Patent Document 1 and the sprayer of Patent Document 2 are difficult in the first place to stably and continuously spray the liquid to the outside of the device.
  • the ultrasonic atomizer of Patent Document 3 sprays the liquid that has permeated the liquid retaining agent upward (in the direction opposite to gravity) through a vibrating body that contacts the liquid retaining agent.
  • it is difficult to obtain a sufficient spray height because the central portion of the vibrating body is curved. For this reason, since the diffusibility of the sprayed liquid cannot be obtained sufficiently, it is difficult to spread the effects (sterilization, insecticide, etc.) obtained by spraying the liquid over a wide range.
  • the piezo-type sprayer of Patent Document 4 sprays a water-soluble insecticide having a viscosity of 10 mPa ⁇ s or less using a flat plate-type vibrator, so that it can be said that the spray amount of the chemical solution, the spray stability, etc. are sufficient. Absent.
  • the present invention has been made to solve the above-described problems, and an object of the present invention is to provide an ultrasonic atomizer capable of enhancing the diffusibility of the chemical liquid to be sprayed.
  • An ultrasonic atomizing apparatus is an ultrasonic atomizing apparatus that atomizes and sprays a chemical solution in order to solve the above-described problem, and includes a liquid absorption core that absorbs the chemical solution from the chemical solution storage container, and a thickness.
  • a vibration plate that has a number of fine holes penetrating in the vertical direction and that atomizes and sprays the chemical liquid by vibration of a piezoelectric vibrator that generates ultrasonic vibration when energized, and the vibration plate passes through the liquid absorption core.
  • the ultrasonic atomizer according to the present invention includes the liquid absorption core that absorbs the chemical liquid from the chemical liquid storage container. Therefore, one end of the liquid absorption core is immersed in the chemical liquid in the chemical liquid storage container, and the other end of the liquid absorption core is directed upward (opposite to gravity), so that the chemical liquid is atomized upward by the vibration of the diaphragm. It is possible to spray.
  • the diaphragm has a frustum-shaped convex portion to which the chemical liquid is supplied via the liquid absorption core.
  • the ultrasonic atomizer which concerns on this invention can make the spray height of a chemical
  • the ultrasonic atomization apparatus according to the present invention, as a chemical solution, a chemical solution having a viscosity of 1.2 mPa ⁇ s (20 ° C.) to 4.0 mPa ⁇ s (20 ° C.) in which at least water and an active ingredient are mixed. Is used.
  • the ultrasonic atomization apparatus according to the present invention further improves the spray amount, spray height, and the like of the chemical solution by combining the diaphragm having the frustum-shaped convex portion and the viscosity range of the chemical solution.
  • the diffusibility of the chemical solution can be increased.
  • An ultrasonic atomizing apparatus is an ultrasonic atomizing apparatus that atomizes and sprays a liquid in order to solve the above-described problem, and includes a liquid absorption core that absorbs the liquid to be atomized and a plan view.
  • a ring-shaped piezoelectric vibrator that generates ultrasonic vibration in a radial direction when energized, and a diaphragm fixed to the piezoelectric vibrator so as to close a central opening of the piezoelectric vibrator
  • the center of the opening of the piezoelectric vibrator substantially coincides with the center of the piezoelectric vibrator and has a frustoconical convex portion protruding in the spraying direction, and at least the upper base of the convex portion penetrates in the thickness direction. It has a large number of fine holes, and is characterized in that the liquid is supplied to the diaphragm via the liquid absorption core.
  • the diaphragm has the truncated cone-shaped convex portion to which the liquid is supplied via the liquid absorption core.
  • the ultrasonic atomizer which concerns on this invention can make the spray height of a liquid high compared with the liquid spray using the diaphragms, such as the conventional dome shape. Therefore, the ultrasonic atomization apparatus according to the present invention can increase the diffusibility of the liquid around the apparatus itself, and can spread the insecticidal effect over a wide range, for example, when the liquid is an insecticide.
  • the ultrasonic atomizer according to the present invention can have higher durability than the conventional diaphragm because the diaphragm has a frustoconical convex portion. Therefore, the ultrasonic atomization apparatus according to the present invention can reduce the burden on the user such as the trouble of replacing the diaphragm and the replacement cost.
  • the ultrasonic atomizer according to the present invention has a liquid absorption core that absorbs a chemical solution from the chemical solution storage container and a large number of fine holes penetrating in the thickness direction.
  • a vibration plate that atomizes and sprays the chemical liquid by the vibration of the generated piezoelectric vibrator, and the vibration plate has a frustum-shaped convex portion to which the chemical liquid is supplied through the liquid absorption core.
  • the chemical solution a chemical solution having a viscosity of 1.2 mPa ⁇ s (20 ° C.) to 4.0 mPa ⁇ s (20 ° C.) in which at least water and an active ingredient are mixed is used.
  • the ultrasonic atomizing device has a liquid absorption core that absorbs the liquid to be atomized and a ring shape in plan view, and a piezoelectric device that generates ultrasonic vibration in the radial direction when energized.
  • the liquid is supplied to the plate.
  • the ultrasonic atomizer according to the present invention can improve the diffusibility of the chemical liquid to be sprayed.
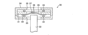
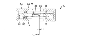
  • FIG. 1 is a schematic diagram of an ultrasonic atomizer 1.
  • FIG. 2 is an enlarged view of the atomization unit 30 of the ultrasonic atomizer 1.
  • the ultrasonic atomizer 1 is an apparatus that atomizes a chemical liquid by ultrasonic vibration, and includes an apparatus main body 10 having an atomizing unit 30 and a chemical liquid container (chemical liquid storage container) 20 accommodated in the apparatus main body 10.
  • a chemical liquid container chemical liquid storage container
  • the apparatus main body 10 accommodates the chemical solution container 20 and includes an atomizing unit 30.
  • the chemical solution container 20 may be detachably accommodated in the apparatus main body 10.
  • the atomizing unit 30 includes a piezoelectric vibrator 31 that generates ultrasonic vibration when energized, a vibration plate 32 that atomizes a chemical liquid by vibration of the piezoelectric vibrator 31, an upper surface of the piezoelectric vibrator 31, A pair of elastic rings 33 as annular elastic members attached to the lower surface of the vibration plate 32 and the piezoelectric vibrator 31 and the vibration plate 32 are elastically sandwiched and held via the pair of elastic rings 33.
  • a casing 34 is shown in FIG. 2, the atomizing unit 30.
  • the piezoelectric vibrator 31 is made of a circular thin plate-shaped piezoelectric ceramic having an opening 35 formed at the center.
  • the piezoelectric vibrator 31 is polarized in the thickness direction, and generates ultrasonic vibrations in the radial direction by applying a high-frequency voltage to electrodes (not shown) formed on both surfaces.
  • the piezoelectric vibrator 31 has, for example, a thickness of 0.1 mm to 4.0 mm and an outer diameter of 6 mm to 60 mm.
  • the piezoelectric vibrator 31 has a ring shape when seen in a plan view, and has an opening (center opening) formed at the center.
  • the piezoelectric vibrator 31 may be a piezoelectric vibrator having an oscillation frequency of 30 kHz to 500 kHz.
  • the diaphragm 32 is a circular thin plate made of nickel, nickel alloy, or iron alloy, for example.
  • the diaphragm 32 is bonded (fixed) concentrically or substantially concentrically (substantially coincides) with the piezoelectric vibrator 31 with respect to the lower surface of the piezoelectric vibrator 31 in FIG. 1 while covering the opening 35 of the piezoelectric vibrator 31.
  • the diaphragm 32 has a thickness of 0.02 mm to 2.0 mm and an outer diameter of 6 mm to 60 mm.
  • the outer diameter of the diaphragm 32 is appropriately selected according to the size of the piezoelectric vibrator 31 so as to be larger than the inner diameter dimension of the opening 35 of the piezoelectric vibrator 31.
  • a large number of fine holes 36 penetrating in the thickness direction are formed in a portion of the diaphragm 32 facing the opening 35 of the piezoelectric vibrator 31.
  • the hole diameter of the fine hole 36 is preferably 3 ⁇ m to 150 ⁇ m. The diaphragm will be described later with reference to FIG.
  • the fine hole 36 is formed only on the upper bottom of the convex portion 37 of the diaphragm 32.
  • the diaphragm according to the present embodiment may have fine holes 36 formed on the entire surface of the diaphragm.
  • the ultrasonic atomizing device 1 a chemical solution is supplied to the fine hole 36 through the liquid absorption core 22 (described later), the piezoelectric vibrator 31 generates ultrasonic vibrations when energized, and the vibration plate 32 is driven by the vibration of the piezoelectric vibrators.
  • the chemical liquid is atomized by the ultrasonic vibration generated in
  • a pair of elastic rings 33 are provided.
  • the pair of elastic rings 33 are elastically deformed between the casing 34 and the upper surface of the piezoelectric vibrator 31 and between the casing 34 and the lower surface of the diaphragm 32, respectively. Concentrically, they are in contact with the upper and lower surfaces.
  • the elastic ring 33 an O-ring having a wire diameter of 0.5 mm to 3 mm is preferably used.
  • the hardness of the elastic ring 33 is preferably 20 IRHD to 90 IRHD.
  • the elastic ring 33 in contact with the upper surface of the piezoelectric vibrator 31 and the elastic ring 33 in contact with the lower surface of the diaphragm 32 have an average diameter [(inner diameter + outer diameter) / 2], wire diameter, and hardness. Are preferably the same, and the average diameter is particularly preferable.
  • Examples of the material of the elastic ring 33 include nitrile rubber, fluorine rubber, ethylene propylene rubber, silicone rubber, acrylic rubber, hydrogenated nitrile rubber, and the like.
  • the elastic ring 33 may be a ring having a cross-sectional shape of an ellipse, a quadrangle, a triangle, a rhombus or the like instead of the O-ring, and may be a D-shaped, X-shaped, T-shaped ring or the like. Also good. Further, the elastic ring 33 does not have to be completely connected and continuous in the circumferential direction, and may have one cut in the circumferential direction or may have several intermittent cuts in the circumferential direction. Good.
  • the circular thin plate-like diaphragm 32 completely covers the opening 35 of the piezoelectric vibrator 31
  • a rectangular thin plate-like diaphragm is used, and this diaphragm is used as the opening 35 of the piezoelectric vibrator 31. It may be spanned so that both ends of the diaphragm are fixed to one surface of the piezoelectric vibrator 31.
  • the atomization part 30 may use a well-known piezoelectric spray part other than the thing of said structure, and may be selected suitably.
  • the chemical liquid container 20 includes a container main body 21 and a liquid absorption core 22 and is detachably accommodated in the apparatus main body 10.
  • the container main body 21 is comprised from the bottomed cylindrical container which has the opening part 24 in the upper part, for example.
  • a chemical solution is placed in the container body 21.
  • Examples of the material of the container body 21 include glass and synthetic resin.
  • the liquid absorbent core 22 is, for example, a cylindrical member having a diameter of 2 mm to 6 mm made of a nonwoven fabric.
  • the lower side of the liquid absorbent core 22 is immersed in the chemical liquid in the container body 21, and the chemical liquid can be supplied to the upper side of the liquid absorbent core 22 by capillary action.
  • the liquid absorption core 22 may have a prismatic shape as well as a cylindrical shape, and its shape is arbitrary. Further, the thickness of the liquid absorption core 22 may be a thickness that can be inserted into the opening 35 of the piezoelectric vibrator 31 or the convex portion 37 of the diaphragm 32.
  • Examples of the material of the liquid absorbent core 22 include a porous body having communication holes, a resin body having open cells, or an aggregate of resin fibers.
  • a resin body having open cells made of polyurethane, polyethylene, polyethylene terephthalate, polyvinyl formal, polystyrene, etc., a porous body obtained by compressing and sintering a resin fine particle such as polyethylene, polypropylene, nylon, etc.
  • Examples thereof include an aggregate of resin fibers such as non-woven fabric and the like, and a porous inorganic powder sintered body obtained by compressing and sintering an inorganic powder such as ceramic as a main component, but are not limited thereto. These may be treated with a surfactant.
  • the chemical container 20 is accommodated in the apparatus main body 10 in such a manner that the chemical liquid container 20 is detachably accommodated in the apparatus main body 10 and the liquid absorbent core 22 and the diaphragm 32 are placed in a state where the chemical liquid container 20 is accommodated in the apparatus main body 10.
  • the convex portion 37 (described later) approaches or comes into contact.
  • Examples of the active ingredient include ingredients for insecticidal, sterilizing, aroma and the like.
  • Phenylpyrazole compounds Acetoprole, etiprole, fipronil, vaniliprole, pyriprole, pyrafluprole, etc .; (8) Bt toxin insecticide live spores and produced crystal toxins derived from Bacillus thuringiensis, and mixtures thereof; (9) Hydrazine compounds Chromafenozide, halofenozide, methoxyphenozide, tebufenozide and the like; (10) Organochlorine compound Aldrin, dieldrin, dienochlor, endosulfan, methoxychlor, etc .; (11) Natural insecticide machine oil, nicotine sulfate (nicotine-sulfate); (12) Other insecticides avermectin (avermectin-B), bromopropyrate, buprofezin, chlorphenapyr, cyromazine, D-D (1, roDictin) emame
  • metfurthrin from the viewpoint of components that are easily volatilized and are suitable for controlling pests, metfurthrin, profluthrin, transfluthrin, mepafluthrin, d-teflumethrin, and dimefrin are preferable, and metfurthrin is more preferable. Moreover, these may be used independently and may mix and use 2 or more types. Further, the content of the active ingredient in the chemical solution is not particularly limited and is, for example, a concentration of 0.05 to 10% by mass.
  • organic solvent an organic solvent having a final chemical solution obtained by mixing water and an active ingredient having a viscosity of 1.2 mPa ⁇ s (20 ° C.) to 4.0 mPa ⁇ s (20 ° C.) is used.
  • examples thereof include polyethylene glycol tristilphenyl ether, ethanol, 1-propanol, 2-propanol, 1-methoxy-2-propanol and the like. Moreover, these may be used independently and may mix and use 2 or more types.
  • preservatives, surfactants, and the like may be appropriately mixed within the range in which the above viscosity range is maintained.
  • a chemical in which water and an active ingredient are mixed so that the viscosity range of the chemical solution is 1.2 mPa ⁇ s (20 ° C.) to 4.0 mPa ⁇ s (20 ° C.) can also be used.
  • the chemical liquid may be supplied to the vibration plate 32 as follows, and this will be described with reference to FIG.
  • FIG. 4 is a modification of the ultrasonic atomizer 1.
  • the description is abbreviate
  • the chemical solution container 20 includes a container main body 21, a liquid absorption core 22, and an absorber 23, and is detachably accommodated in the apparatus main body 10.
  • the liquid absorbent core 22 is, for example, a cylindrical member having a diameter of 2 mm to 6 mm made of a nonwoven fabric.
  • the lower side of the liquid absorbent core 22 is immersed in the chemical liquid in the container body 21, and the chemical liquid can be supplied to the upper side of the liquid absorbent core 22 by capillary action.
  • An absorber 23 is attached to the upper side of the liquid absorbent core 22.
  • the absorber 23 is provided integrally with the liquid absorbent core 22 on the upper side of the liquid absorbent core 22. That is, the absorber 23 is attached to and detached from the ultrasonic atomizer 1 together with the chemical container 20 when the chemical container 20 is attached to and detached from the ultrasonic atomizer 1.
  • the absorber 23 is close to or in contact with the convex portion 37 of the diaphragm 32, and supplies the chemical liquid absorbed by the liquid absorbent core 22 to the convex portion 37.
  • the material of the absorber 23 the same material as that of the liquid absorbent core 22 can be used.
  • integrated is used as an expression including the same structure or a state of being integrated.
  • the liquid absorption core 22 and the absorber 23 are fixed to the container main body 21 and are detachably attached from the chemical liquid container 20 (or the container main body 21).
  • the absorber 23 when taking out the chemical
  • the ultrasonic atomization apparatus 1 is less likely to make the spray amount of the chemical liquid unstable due to the blockage and to force the user to replace the vibration plate that requires high cost.
  • liquid absorption core 22 and / or the absorber 23 may be realized by a structure fixed to the ultrasonic atomizer 1 side.
  • FIG. 3A and 3B are schematic views of the diaphragm 32, in which FIG. 3A shows a top view and FIG. 3B shows a cross-sectional view.
  • the diaphragm 32 is made of, for example, a circular thin plate made of nickel, and is joined (fixed) to the lower surface of the piezoelectric vibrator 31 concentrically or substantially concentrically (substantially coincident) with the piezoelectric vibrator 31. ing. Further, the diaphragm 32 has a convex portion 37 protruding (projected) in a truncated cone shape, and the convex portion 37 is formed so that the center of the truncated cone is substantially concentric with the piezoelectric vibrator 31. And as shown to Fig.3 (a) and FIG.3 (b), the several fine hole 36 is formed only in the upper base of the convex-shaped part 37. FIG.
  • the frustum means a three-dimensional figure obtained by removing from a cone a cone that shares a vertex and is similarly reduced.
  • the frustum is a three-dimensional figure surrounded by a cone surface and two parallel planes.
  • a truncated cone made of a cone is called a truncated cone
  • a truncated cone made of a pyramid is called a truncated pyramid
  • a truncated cone made of an n-shaped pyramid is called an “n” truncated pyramid.
  • the convex portion 37 has a truncated cone shape when the upper surface on which the plurality of fine holes 36 are formed is the upper base and the rising surface of the convex portion 37 in the diaphragm 32 is regarded as a cone surface.
  • the liquid absorption core 22 and the absorber 23 are positioned in the part corresponding to the lower bottom which does not exist, and a liquid is supplied to the convex part 37 from the absorber 23.
  • the diameter of the upper base of the truncated cone-shaped convex portion 37 is preferably less than the diameter of the cylindrical liquid absorbent core 22. Although not actually present, it is preferable that the diameter of the bottom of the convex portion 37 is the same as or slightly larger than the diameter of the liquid absorbent core 22. And it is preferable that the diameter of the upper base of the frustum-shaped convex part 37 is 1.0 mm or more and 7.0 mm or less. The diameter of the bottom of the convex portion 37 is preferably 2.2 mm or more and 11.0 mm or less.
  • the height of the convex portion 37 (the distance between the upper base and the lower base) is preferably 0.1 mm or more and 2.0 mm or less.
  • the angle between the bottom of the convex portion 37 and the slope of the convex portion 37 is preferably 45 degrees or less.
  • FIG. 5A and 5B are schematic views of the diaphragm 40, in which FIG. 5A shows a top view and FIG. 5B shows a cross-sectional view.
  • the diaphragm 40 is different from the diaphragm 32 in the following points. That is, in the diaphragm 32, the micro hole 36 is formed only on the upper bottom of the convex portion 37 of the diaphragm 32, whereas in the diaphragm 40, the micro hole 36 is formed in the entire diaphragm 40. ing. In this embodiment, the diaphragm 40 can be used in addition to the diaphragm 32.
  • FIG. 6A and 6B are schematic views of the diaphragm 45, in which FIG. 6A shows a top view and FIG. 6B shows a cross-sectional view.
  • the diaphragm 45 is different from the diaphragm 32 in the following points. That is, the convex portion 37 of the diaphragm 32 has a truncated cone shape, whereas the convex portion 37 of the diaphragm 45 has an octagonal truncated cone shape. In this embodiment, the diaphragm 45 can be used in addition to the diaphragm 32 and the like.
  • the diaphragm 45 may have a plurality of fine holes 36 formed on the side surface of the convex portion 37 or the entire diaphragm 45 including the side surface in addition to the upper bottom.
  • the diaphragm 45 is described as having an octagonal truncated pyramid shape.
  • the diaphragm 45 may be formed in an n-pyramidal frustum shape such as a quadrangular frustum or a 16-pyramid frustum.
  • the diaphragm 32, the diaphragm 40, and the diaphragm 45 are common in that the cross section in the spray direction of the chemical liquid is trapezoidal, and the surface serving as the spray opening of the chemical liquid is a flat surface.
  • the upper base and side surfaces of the frustum-shaped diaphragm 32, diaphragm 40, and diaphragm 45 may not be exactly flat but may be formed with surfaces having some curvature.
  • the diaphragm 50 in which the rising portion of the truncated cone-shaped convex portion 37 is provided in the immediate vicinity of the inner peripheral surface of the piezoelectric vibrator 31 may be used.
  • the chemical solution was obtained from a methotrelin 0.5ME chemical solution having a viscosity of 1.22 mPa ⁇ s (20 ° C.), and a viscosity of 3.83 mPa ⁇
  • Metofluthrin 0.5ME chemical solution is 0.5% by weight ratio (W / W%), 2.0% surfactant, 0.005% preservative, 1.0 antifreeze agent. %, And a chemical solution prepared by preparing an appropriate amount of water.
  • the spray amount indicates the amount of chemical solution per spray, and the greater the spray amount, the greater the effect (sterilization, insecticide, etc.) obtained by spraying.
  • Spray stability is the standard deviation of the stability of the amount of chemicals per spray (no variation). The lower the value, the better the spray stability and the effect obtained by spraying. Shows stability.
  • the spray height (cm) is obtained by visually confirming the spray height with the spray port of the chemical solution on the vibration plate as a reference point.
  • the liquid pool on the upper surface of the diaphragm is ⁇ when the liquid pool does not occur on the upper surface of the diaphragm, ⁇ when the liquid pool is generated but disappears within 1 second, and the liquid pool is generated within 1 second. The case where it did not disappear is indicated by x.
  • the liquid pool is generated, spraying of the chemical liquid is inhibited by the liquid pool. Therefore, it is preferable that the liquid pool does not occur.
  • the particle size distribution width indicates the width of the particle size distribution from D 10 to D 90.
  • Show. [About ultrasonic atomizer] Test conditions common / specific to Comparative Example 1, Comparative Example 2 and the present example are as follows.
  • Comparative example 2 (dome-shaped diaphragm)
  • a ⁇ 4.5 mm liquid-absorbing core suitable for a dome-shaped diaphragm was used. This liquid absorbent core has a porosity of 70%.
  • Example (conical frustum type diaphragm) In this embodiment, a ⁇ 3.5 mm liquid-absorbing core suitable for a frustum-shaped diaphragm is used.
  • This liquid absorbent core has a porosity of 50%, and an absorbent body in which two non-woven fabrics (Asahi Kasei Co., Ltd., Bencott) are stacked is integrated with the liquid absorbent core.
  • Spray amount (mg / spray) According to the test result of the spray amount, the spray amount of Comparative Example 1 (flat plate type) is markedly lower than that of Comparative Example 2 (dome type) and this example (conical frustum type) in the tested viscosity range.
  • the frustum-type diaphragm has a larger amount of chemical spray than the plate-type and dome-type diaphragms. It was shown that the amount of the active ingredient that sufficiently satisfies the effect can be immediately sprayed into the space, and the effects such as sterilization and insecticide when the apparatus is operated under the same conditions are most expected. Moreover, since the spray amount of the chemical solution is large, the active ingredient content in the chemical solution can be minimized, and it has been shown that the cost reduction and the safety due to contact with the chemical solution can be extremely enhanced.
  • FIG. 8 is a diagram showing the relationship between the viscosity and the spray amount when a flat plate type, dome type or frustum type diaphragm is used.
  • the horizontal axis indicates the viscosity (mPa ⁇ s (20 ° C.)), and the vertical axis indicates the spray amount (mg / spray).
  • the spray amount increased in the order of the truncated cone type, the dome type, and the flat plate type in all the viscosity ranges tested. Further, when the truncated cone type and the dome type were compared, a maximum difference of about 1.94 times was recognized at a viscosity of 3.83 mPa ⁇ s (20 ° C.).
  • the truncated cone type has a spray amount larger than that of the flat plate type and the dome type at a viscosity of 1.22 to 3.83 mPa ⁇ s (20 ° C.), and is excellent in chemical liquid diffusibility.
  • Spray stability (%) According to the spray stability test results, the value of this example (conical frustum type) is lower than that of comparative example 1 (flat plate type) and comparative example 2 (dome type) in all the viscosity ranges tested. It was shown to be excellent in stability.
  • the frustum-type diaphragm is superior in spraying stability and has higher stability of the effect obtained by spraying than the flat plate and dome type diaphragms.
  • the frustum type is 9.1%, which is the best value in Comparative Example 1 and Comparative Example 2, even at the lowest value of 6.7% (viscosity 2.34 mPa ⁇ s (20 ° C.)). (Viscosity of Comparative Example 2 is 2.34 mPa ⁇ s (20 ° C.)). Therefore, it can be seen that the frustoconical type vibrator is significantly superior in spraying stability to the dome type and the flat plate type.
  • Spray height (cm) According to the spray height test results, the spray height is higher in this example (conical frustum type) than in comparative example 1 (flat plate type) and comparative example 2 (dome type) in all viscosity ranges tested. And the diffusibility of the chemical solution was confirmed to be excellent. In particular, the frustum type has a significantly higher spray height than the flat type. Further, in the viscosity range of 3.27 to 3.83 mPa ⁇ s (20 ° C.), a sharp drop in the spray height of the dome shape was observed, but such a numerical change was not recognized in the truncated cone shape. .
  • the spray height generally tends to decrease as the viscosity of the chemical solution increases.
  • the spray height is 33.0 cm, and is still maintained at 30 cm or more.
  • the spray height at a viscosity of 3.83 mPa ⁇ s (20 ° C.) was 18.0 cm for the dome type and 3.0 cm for the flat type. This also shows that the diffusibility of the chemical solution is greatly improved by using the frustum type diaphragm.
  • Comparative Example 1 flat plate type
  • Comparative Example 2 dome type
  • a tendency that a liquid pool tends to occur as the viscosity increases is recognized.
  • a viscosity of 3.27 mPa ⁇ s A liquid pool was confirmed at a viscosity of 20 ° C. or higher. Accordingly, it can be said that the frustum type is superior in spraying stability to the flat plate type and the dome type in terms of liquid pool.
  • the dome type In the dome type, a fine hole is formed on the entire surface of the dome part, and there is no flat part like the upper base of the truncated cone type. Therefore, in the dome type, liquid leakage is likely to occur in the fine holes on the side surface of the dome portion where the chemical liquid is not sprayed. Further, the dome type is liable to affect the stability of the spray if the liquid absorbent core is not in contact with the entire surface of the dome portion. On the other hand, in the truncated cone type, since there is less possibility of liquid pooling in the fine holes other than the top bottom, the truncated cone type also has a structure in which liquid pooling is less likely to occur than in the dome type. It can be said that it has excellent spray stability.
  • the particle size distribution width ( ⁇ m) indicates the width of the particle size distribution from D 10 to D 90, and the smaller the value, the more stable the particle size, and the effect obtained by spraying (sterilization, insecticide, etc.) Is large.
  • this example (conical frustum type) and comparative example 1 (flat plate type) showed the same numerical values in all the viscosity ranges tested, and no clear difference was recognized.
  • Comparative Example 2 (dome type) the particle size distribution width was wider than that of the truncated cone type in the entire viscosity range tested.
  • the frustum-shaped diaphragm has a spray amount, a spray stability, a spray height, a liquid pool on the top surface of the diaphragm, and a spray compared to the flat plate and dome diaphragms.
  • the superiority was recognized in all the measurement items such as the particle size distribution width of the chemical solution. In particular, in the viscosity range of 3.27 to 3.83 mPa ⁇ s (20 ° C.), the liquid pool on the upper surface of the diaphragm and the spray stability are superior to the frustum plate type and dome type.
  • the diaphragm is a cone type, and particularly when a chemical solution having a viscosity of 1.22 mPa ⁇ s (20 ° C.) to 3.83 mPa ⁇ s (20 ° C.) is used, a low viscosity chemical solution is used.
  • a conical diaphragm The problem that may occur in the case of being concealed can be supplemented by a conical diaphragm.
  • medical solution can also be implement
  • a low-viscosity chemical solution generally increases the spray amount of the chemical solution, but may impair spray stability. Therefore, in this embodiment, the spray is stabilized by using a frustoconical diaphragm that is unlikely to cause liquid accumulation, and the problem of spray instability that may occur when using a low-viscosity chemical solution is overcome. Yes.
  • the amount of spray tends to increase. Therefore, by combining a low-viscosity chemical solution with a truncated cone-shaped diaphragm, the spray amount and the spray height can be further increased to improve the diffusibility of the chemical solution, and the insecticidal effect of the chemical solution can be improved.
  • effect confirmation test 1 various conditions such as the diameter of the micropores in the effect confirmation test 1 do not limit the specifications of the ultrasonic atomizer 1.
  • a conical diaphragm is used, but even a truncated pyramid diaphragm can be expected to have the same effect as a truncated cone diaphragm because of its structure.
  • medical agent used by the effect confirmation test 1 was obtained by adjusting the mixing ratio of the organic solvent and water suitably. Therefore, in order to obtain the effect of the frustum-shaped diaphragm shown in the effect confirmation test 1, the viscosity of each solution does not necessarily have to be an accurate numerical value as described in FIG. It may be 1.20 mPa ⁇ s (20 ° C.) to 4.00 mPa ⁇ s (20 ° C.).
  • the viscosity range in which the liquid pools on the upper surface of the diaphragm and the superiority of the frustum type flat plate type and dome type in spray stability is recognized is 3.2 mPa ⁇ s (20 ° C.) to It may be considered as 4.00 mPa ⁇ s (20 ° C.).
  • the ultrasonic atomizer 1 uses water and water so that the viscosity range of the chemical liquid is 1.2 mPa ⁇ s (20 ° C.) to 4.0 mPa ⁇ s (20 ° C.). You may use the chemical
  • the diaphragms 32 and 40 have a micropore diameter of 6.0 ⁇ m, and the dimensions of the diaphragms 32 and 40 are a convex portion upper bottom diameter of 2.5 mm, a convex portion lower bottom diameter of 5.0 mm, and a convex shape.
  • the one with a part height of 0.2 mm was used.
  • dome-shaped diaphragm A and diaphragm B made of nickel were used.
  • the dome shape means a shape in which the convex portion bulges in an R shape in the spray direction of the chemical solution.
  • the diaphragm A has fine holes formed only on the surface forming the dome.
  • the diaphragm B has fine holes formed in the entire diaphragm B.
  • Diaphragms A and B are those having a fine hole diameter of 6 ⁇ m, and the dimensions of diaphragms A and B are those having a diameter of 3 mm at the base end of the convex part and a height of the convex part of 0.2 mm. did.
  • the chemical solution was sprayed in the examples and comparative examples, and the height from the spray port to the highest point of mist that could be observed was measured visually.
  • the highest point of the mist in (Example) was 32.1 cm for the diaphragm 32 and 25.3 cm for the diaphragm 40.
  • the highest point of mist in (Comparative Example) was 20.0 cm for diaphragm A and 19.5 cm for diaphragm B.
  • the highest point of the mist was shown to be higher in the truncated cone type diaphragm 32 and the diaphragm 40 according to the example than the dome-shaped diaphragm A and the diaphragm B in the comparative example.
  • the diaphragm 32 can achieve a chemical spray height about 1.6 times that of the diaphragm A and the diaphragm B
  • the diaphragm 40 can achieve a liquid spray height about 1.25 times that of the diaphragm A and the diaphragm B. It was done.
  • the diaphragm 32 was 0 that was deteriorated in nine experiments. That is, the deterioration rate was 0%.
  • both of the diaphragm A and the diaphragm B were 3 which deteriorated in five experiments. That is, the deterioration rate was 60% in all cases.
  • the deterioration rate of the diaphragm is lower in the truncated cone-shaped diaphragm according to the present embodiment than the dome-shaped diaphragm according to the comparative example.
  • the vibration plate 32 in which the fine holes 36 are formed only on the upper bottom has a deterioration rate of 0%, whereas the deterioration rate in the comparative example is 60%.
  • the height stands out.
  • the frustoconical convex portion 37 of the vibration plate 32 and the dome portion of the vibration plate A (B) are both formed by pressing a flat plate-shaped vibration plate in which fine holes are formed.
  • a large processing strain is generated at the time of pressing on the entire dome, particularly on the top of the dome.
  • the truncated cone-shaped convex portion 37 of the diaphragm 32 (40) almost no processing distortion occurs during pressing at the upper bottom, so that the upper bottom of the truncated cone-shaped convex portion 37 is lower.
  • the top of the dome is likely to crack due to vibration during driving, and the deterioration rate of the diaphragm is considered to be high.
  • the power is turned on without the user having noticed that the chemical container is not installed, and that the chemical liquid is exhausted when the apparatus is used (the chemical container is empty). If the deterioration of the diaphragm can be suppressed, the life of the device can be extended. In other words, by increasing the durability of the device, it is possible to reduce the user burden in terms of cost.
  • the frustum-type diaphragm has a spray amount, spray stability, spray height, liquid pool on the top surface of the diaphragm, and the particle size of the sprayed chemical solution, compared to flat plate and dome type diaphragms. Excellent in all measurement items such as distribution width.
  • the diffusibility of the chemical solution is enhanced, and the effects of the chemical solution (humidification effect, aroma effect, insecticidal effect, etc.) are spread over a wide range, and high immediate effect is expected. be able to.
  • the frustum type diaphragm can significantly reduce the deterioration rate of the diaphragm as compared with the conventional diaphragm.
  • the life of the apparatus can be extended by using a frustum-shaped diaphragm, the frequency of replacement of the apparatus is reduced, and the burden on the user in terms of cost is reduced. be able to.
  • the chemical solution may further have a viscosity of 3.2 mPa ⁇ s (20 ° C.) to 4.0 mPa ⁇ s (20 ° C.).
  • the ultrasonic atomizer according to the present invention has the above-described configuration, thereby improving the liquid pool and spray stability on the upper surface of the diaphragm and further increasing the diffusibility of the chemical liquid compared to the conventional ultrasonic atomizer. be able to.
  • the diaphragm may have a configuration in which the fine holes are formed only on the upper bottom of the convex portion.
  • the ultrasonic atomizer according to the present invention can further increase the spray height of the liquid and increase the durability of the diaphragm.
  • the diaphragm may have a configuration in which the fine holes are formed in the entire diaphragm.
  • the ultrasonic atomizer according to the present invention can increase the durability of the diaphragm as compared with the conventional ultrasonic atomizer using a dome-shaped diaphragm.
  • the convex portion of the diaphragm may be a truncated cone.
  • the convex portion of the diaphragm may have a truncated pyramid shape.
  • the convex portion of the diaphragm may have a truncated cone shape or a truncated pyramid shape.
  • the shape of the convex part of the diaphragm can be changed to a truncated cone shape or a truncated pyramid shape so as to suit the layout of the device and the shape of the liquid absorption core for each device, and the device design can be flexibly changed. can do.
  • the chemical liquid storage container is detachably accommodated in the ultrasonic atomizing device, and the chemical liquid absorbed by the liquid absorption core is supplied to the diaphragm.
  • the absorbent body may be configured to be attached to and detached from the ultrasonic atomizer together with the chemical liquid storage container when the chemical liquid storage container is attached to and detached from the ultrasonic atomizer.
  • the absorber when the chemical liquid storage container is taken out from the ultrasonic atomizer, the absorber is taken out of the apparatus together with the chemical liquid storage container, and therefore does not remain on the ultrasonic atomizer side. For this reason, when there is no chemical in the chemical storage container and the absorber is dried, the entire absorbent is replaced when the chemical storage container is replaced. It can suppress that the fine hole of a diaphragm is obstruct
  • the ultrasonic atomization apparatus reduces the amount of spraying the chemical liquid unstable due to the above-mentioned blockage, and also forcing the user to replace the vibration plate requiring high cost. be able to.
  • the ultrasonic atomization device can improve the spray stability of the ultrasonic atomization device by suppressing the clogging of the micropores of the diaphragm, and further reduce the cost.
  • the user burden can be reduced.
  • the ultrasonic atomizer according to the present invention may have a configuration in which the rising portion of the convex portion is provided in the vicinity of the inner peripheral surface of the piezoelectric vibrator.
  • the present invention is suitably applied to an ultrasonic atomizer used for humidification, aroma, and sterilization in a difference.

Landscapes

  • Life Sciences & Earth Sciences (AREA)
  • Pest Control & Pesticides (AREA)
  • Health & Medical Sciences (AREA)
  • General Health & Medical Sciences (AREA)
  • Toxicology (AREA)
  • Wood Science & Technology (AREA)
  • Veterinary Medicine (AREA)
  • Animal Behavior & Ethology (AREA)
  • Epidemiology (AREA)
  • Engineering & Computer Science (AREA)
  • Insects & Arthropods (AREA)
  • Public Health (AREA)
  • Zoology (AREA)
  • Environmental Sciences (AREA)
  • Catching Or Destruction (AREA)
  • Special Spraying Apparatus (AREA)
  • Agricultural Chemicals And Associated Chemicals (AREA)
  • Disinfection, Sterilisation Or Deodorisation Of Air (AREA)
  • Air Humidification (AREA)
PCT/JP2013/062349 2012-04-27 2013-04-26 超音波霧化装置 Ceased WO2013161987A1 (ja)

Priority Applications (4)

Application Number Priority Date Filing Date Title
US14/396,411 US20150306623A1 (en) 2012-04-27 2013-04-26 Ultrasonic atomization device
EP13781482.8A EP2842640B1 (en) 2012-04-27 2013-04-26 Ultrasonic atomization device
CN201380021778.4A CN104271255A (zh) 2012-04-27 2013-04-26 超声波雾化装置
ES13781482T ES2759199T3 (es) 2012-04-27 2013-04-26 Dispositivo de atomización ultrasónica

Applications Claiming Priority (2)

Application Number Priority Date Filing Date Title
JP2012-103622 2012-04-27
JP2012103622A JP2013230109A (ja) 2012-04-27 2012-04-27 超音波霧化装置

Publications (1)

Publication Number Publication Date
WO2013161987A1 true WO2013161987A1 (ja) 2013-10-31

Family

ID=49483284

Family Applications (1)

Application Number Title Priority Date Filing Date
PCT/JP2013/062349 Ceased WO2013161987A1 (ja) 2012-04-27 2013-04-26 超音波霧化装置

Country Status (6)

Country Link
US (1) US20150306623A1 (enExample)
EP (1) EP2842640B1 (enExample)
JP (1) JP2013230109A (enExample)
CN (1) CN104271255A (enExample)
ES (1) ES2759199T3 (enExample)
WO (1) WO2013161987A1 (enExample)

Cited By (2)

* Cited by examiner, † Cited by third party
Publication number Priority date Publication date Assignee Title
US12193471B2 (en) 2018-11-01 2025-01-14 Nicoventures Trading Limited Aerosolizable formulation
US12419339B2 (en) 2018-11-01 2025-09-23 Nicoventures Trading Limited Aerosolized formulation

Families Citing this family (17)

* Cited by examiner, † Cited by third party
Publication number Priority date Publication date Assignee Title
WO2016201614A1 (en) 2015-06-16 2016-12-22 Jf Polymers (Suzhou) Co., Ltd. Methods and apparatuses for processing additive manufactured objects
US12042809B2 (en) 2015-11-02 2024-07-23 Altria Client Services Llc Aerosol-generating system comprising a vibratable element
CN108135274B (zh) * 2015-11-02 2022-01-07 菲利普莫里斯生产公司 包括可振动元件的气溶胶生成系统
US20170274405A1 (en) * 2016-02-04 2017-09-28 Lynxemi Pte. Ltd. Portable Diffuser
WO2017137252A1 (en) * 2016-02-08 2017-08-17 Koninklijke Philips N.V. An aerosol generator
GB2551395A (en) * 2016-06-17 2017-12-20 Reckitt Benckiser Brands Ltd Atomiser system for dispensing a fragrance
CN105962421B (zh) * 2016-07-01 2018-12-25 林光榕 采用超声波雾化单元的电子烟雾化器
JPWO2018011854A1 (ja) * 2016-07-11 2019-02-14 東芝三菱電機産業システム株式会社 ミスト塗布成膜装置及びミスト塗布成膜方法
US20180333736A1 (en) * 2017-05-16 2018-11-22 Bissell Homecare, Inc. Vacuum cleaner accessory tool configured to distribute mist
GB201817861D0 (en) 2018-11-01 2018-12-19 Nicoventures Trading Ltd Gel and crystalline powder
GB201817864D0 (en) 2018-11-01 2018-12-19 Nicoventures Trading Ltd Aerosolisable formulation
CN110000142A (zh) * 2019-04-30 2019-07-12 云谷(固安)科技有限公司 掩膜版清洁装置及方法
GB201910364D0 (en) * 2019-07-19 2019-09-04 3Sixty Link Design To Supply Ltd A dispenser
WO2021088948A1 (zh) * 2019-11-08 2021-05-14 湖南中烟工业有限责任公司 一种超声波雾化器
KR102623331B1 (ko) * 2021-03-31 2024-01-09 주식회사 케이티앤지 에어로졸 발생 장치 및 그의 제어 방법
CN115283345B (zh) * 2022-08-12 2023-10-20 黄习知 一种多通道微升级超声喷雾的自动化清洗系统
CN220916336U (zh) * 2023-06-20 2024-05-10 李文杰 一种驱蚊装置

Citations (7)

* Cited by examiner, † Cited by third party
Publication number Priority date Publication date Assignee Title
JPS58216753A (ja) 1982-06-09 1983-12-16 Matsushita Electric Ind Co Ltd 霧化装置
JPH067721A (ja) 1992-06-26 1994-01-18 Koji Toda 超音波霧化装置
JP2002536173A (ja) * 1999-02-09 2002-10-29 エス.シー. ジョンソン アンド サン、インコーポレイテッド 揮発性物質を分配するための圧電式噴霧システム
JP2004147643A (ja) 2002-10-09 2004-05-27 Earth Chem Corp Ltd 水溶性殺虫剤の蒸散方法、噴霧方法、並びに超音波霧化装置、エアゾール噴霧装置、および殺虫液
US7472701B2 (en) 2004-04-07 2009-01-06 Pari Pharma Gmbh Aerosol generation device and inhalation device therewith
US20090242663A1 (en) * 2008-03-25 2009-10-01 Quatek Co., Ltd. Medical liquid droplet apparatus
JP2012115828A (ja) * 2010-11-09 2012-06-21 Sumitomo Chemical Co Ltd 超音波霧化ユニット

Family Cites Families (7)

* Cited by examiner, † Cited by third party
Publication number Priority date Publication date Assignee Title
JP3781873B2 (ja) * 1997-08-20 2006-05-31 フマキラー株式会社 害虫防除方法
CA2364248C (en) * 1999-03-08 2006-08-29 David A. Tomkins Improved attachment method for piezoelectric elements
US7954730B2 (en) * 2005-05-02 2011-06-07 Hong Kong Piezo Co. Ltd. Piezoelectric fluid atomizer apparatuses and methods
JP5039338B2 (ja) * 2005-08-08 2012-10-03 アース製薬株式会社 ピエゾ式噴霧器用薬液
JP2009143868A (ja) * 2007-12-14 2009-07-02 Earth Chem Corp Ltd 匍匐害虫駆除方法
CN201172029Y (zh) * 2008-04-10 2008-12-31 汕头市先宁电子有限公司 一种超声波微量雾化换能器
WO2010089822A1 (ja) * 2009-02-09 2010-08-12 株式会社村田製作所 霧化部材及びそれを備える霧化器

Patent Citations (7)

* Cited by examiner, † Cited by third party
Publication number Priority date Publication date Assignee Title
JPS58216753A (ja) 1982-06-09 1983-12-16 Matsushita Electric Ind Co Ltd 霧化装置
JPH067721A (ja) 1992-06-26 1994-01-18 Koji Toda 超音波霧化装置
JP2002536173A (ja) * 1999-02-09 2002-10-29 エス.シー. ジョンソン アンド サン、インコーポレイテッド 揮発性物質を分配するための圧電式噴霧システム
JP2004147643A (ja) 2002-10-09 2004-05-27 Earth Chem Corp Ltd 水溶性殺虫剤の蒸散方法、噴霧方法、並びに超音波霧化装置、エアゾール噴霧装置、および殺虫液
US7472701B2 (en) 2004-04-07 2009-01-06 Pari Pharma Gmbh Aerosol generation device and inhalation device therewith
US20090242663A1 (en) * 2008-03-25 2009-10-01 Quatek Co., Ltd. Medical liquid droplet apparatus
JP2012115828A (ja) * 2010-11-09 2012-06-21 Sumitomo Chemical Co Ltd 超音波霧化ユニット

Non-Patent Citations (1)

* Cited by examiner, † Cited by third party
Title
See also references of EP2842640A4 *

Cited By (2)

* Cited by examiner, † Cited by third party
Publication number Priority date Publication date Assignee Title
US12193471B2 (en) 2018-11-01 2025-01-14 Nicoventures Trading Limited Aerosolizable formulation
US12419339B2 (en) 2018-11-01 2025-09-23 Nicoventures Trading Limited Aerosolized formulation

Also Published As

Publication number Publication date
CN104271255A (zh) 2015-01-07
EP2842640A1 (en) 2015-03-04
EP2842640A4 (en) 2015-12-30
ES2759199T3 (es) 2020-05-07
JP2013230109A (ja) 2013-11-14
US20150306623A1 (en) 2015-10-29
EP2842640B1 (en) 2019-10-09

Similar Documents

Publication Publication Date Title
JP6014359B2 (ja) 超音波霧化装置
WO2013161987A1 (ja) 超音波霧化装置
JP2014113536A (ja) 超音波霧化装置
JP6423995B2 (ja) 有害生物の防除方法
JP2014205114A (ja) 超音波霧化装置、および薬剤
JP6097274B2 (ja) 液体容器、超音波霧化装置、および吸収体
WO2013161985A1 (ja) 超音波霧化装置
JP3923426B2 (ja) 振動式噴霧装置の液流制御を維持するための方法及び装置
HK1043750A1 (en) Vibratory atomizer an refill container therefor
JP6348803B2 (ja) 超音波霧化装置
JP2013151493A (ja) 有害生物防除組成物
JP2014073431A (ja) 霧化装置
JP2014073478A (ja) 霧化装置
JP2007313433A (ja) 薬剤霧化器
JP2014155908A (ja) 液体噴霧装置及びその利用
JP2011147913A (ja) 霧化装置
JP2004313871A (ja) 超音波霧化器
CN217699828U (zh) 一种微孔雾化片及雾化设备
JP2007070349A (ja) ピエゾ式噴霧器用薬液
RU2021132745A (ru) Конфигурация резервуара для устройства доставки аэрозоля
JP2011132201A (ja) クモ類防除組成物

Legal Events

Date Code Title Description
121 Ep: the epo has been informed by wipo that ep was designated in this application

Ref document number: 13781482

Country of ref document: EP

Kind code of ref document: A1

WWE Wipo information: entry into national phase

Ref document number: 14396411

Country of ref document: US

NENP Non-entry into the national phase

Ref country code: DE

WWE Wipo information: entry into national phase

Ref document number: 2013781482

Country of ref document: EP