WO2013140797A1 - 冷媒蒸発器 - Google Patents

冷媒蒸発器 Download PDF

Info

Publication number
WO2013140797A1
WO2013140797A1 PCT/JP2013/001887 JP2013001887W WO2013140797A1 WO 2013140797 A1 WO2013140797 A1 WO 2013140797A1 JP 2013001887 W JP2013001887 W JP 2013001887W WO 2013140797 A1 WO2013140797 A1 WO 2013140797A1
Authority
WO
WIPO (PCT)
Prior art keywords
core
refrigerant
evaporation
heat exchange
tank
Prior art date
Legal status (The legal status is an assumption and is not a legal conclusion. Google has not performed a legal analysis and makes no representation as to the accuracy of the status listed.)
Ceased
Application number
PCT/JP2013/001887
Other languages
English (en)
French (fr)
Japanese (ja)
Inventor
直久 石坂
Current Assignee (The listed assignees may be inaccurate. Google has not performed a legal analysis and makes no representation or warranty as to the accuracy of the list.)
Denso Corp
Original Assignee
Denso Corp
Priority date (The priority date is an assumption and is not a legal conclusion. Google has not performed a legal analysis and makes no representation as to the accuracy of the date listed.)
Filing date
Publication date
Application filed by Denso Corp filed Critical Denso Corp
Publication of WO2013140797A1 publication Critical patent/WO2013140797A1/ja
Anticipated expiration legal-status Critical
Ceased legal-status Critical Current

Links

Images

Classifications

    • FMECHANICAL ENGINEERING; LIGHTING; HEATING; WEAPONS; BLASTING
    • F28HEAT EXCHANGE IN GENERAL
    • F28DHEAT-EXCHANGE APPARATUS, NOT PROVIDED FOR IN ANOTHER SUBCLASS, IN WHICH THE HEAT-EXCHANGE MEDIA DO NOT COME INTO DIRECT CONTACT
    • F28D1/00Heat-exchange apparatus having stationary conduit assemblies for one heat-exchange medium only, the media being in contact with different sides of the conduit wall, in which the other heat-exchange medium is a large body of fluid, e.g. domestic or motor car radiators
    • F28D1/02Heat-exchange apparatus having stationary conduit assemblies for one heat-exchange medium only, the media being in contact with different sides of the conduit wall, in which the other heat-exchange medium is a large body of fluid, e.g. domestic or motor car radiators with heat-exchange conduits immersed in the body of fluid
    • F28D1/04Heat-exchange apparatus having stationary conduit assemblies for one heat-exchange medium only, the media being in contact with different sides of the conduit wall, in which the other heat-exchange medium is a large body of fluid, e.g. domestic or motor car radiators with heat-exchange conduits immersed in the body of fluid with tubular conduits
    • F28D1/053Heat-exchange apparatus having stationary conduit assemblies for one heat-exchange medium only, the media being in contact with different sides of the conduit wall, in which the other heat-exchange medium is a large body of fluid, e.g. domestic or motor car radiators with heat-exchange conduits immersed in the body of fluid with tubular conduits the conduits being straight
    • F28D1/0535Heat-exchange apparatus having stationary conduit assemblies for one heat-exchange medium only, the media being in contact with different sides of the conduit wall, in which the other heat-exchange medium is a large body of fluid, e.g. domestic or motor car radiators with heat-exchange conduits immersed in the body of fluid with tubular conduits the conduits being straight the conduits having a non-circular cross-section
    • F28D1/05366Assemblies of conduits connected to common headers, e.g. core type radiators
    • F28D1/05391Assemblies of conduits connected to common headers, e.g. core type radiators with multiple rows of conduits or with multi-channel conduits combined with a particular flow pattern, e.g. multi-row multi-stage radiators
    • FMECHANICAL ENGINEERING; LIGHTING; HEATING; WEAPONS; BLASTING
    • F28HEAT EXCHANGE IN GENERAL
    • F28DHEAT-EXCHANGE APPARATUS, NOT PROVIDED FOR IN ANOTHER SUBCLASS, IN WHICH THE HEAT-EXCHANGE MEDIA DO NOT COME INTO DIRECT CONTACT
    • F28D1/00Heat-exchange apparatus having stationary conduit assemblies for one heat-exchange medium only, the media being in contact with different sides of the conduit wall, in which the other heat-exchange medium is a large body of fluid, e.g. domestic or motor car radiators
    • F28D1/02Heat-exchange apparatus having stationary conduit assemblies for one heat-exchange medium only, the media being in contact with different sides of the conduit wall, in which the other heat-exchange medium is a large body of fluid, e.g. domestic or motor car radiators with heat-exchange conduits immersed in the body of fluid
    • F28D1/03Heat-exchange apparatus having stationary conduit assemblies for one heat-exchange medium only, the media being in contact with different sides of the conduit wall, in which the other heat-exchange medium is a large body of fluid, e.g. domestic or motor car radiators with heat-exchange conduits immersed in the body of fluid with plate-like or laminated conduits
    • F28D1/0308Heat-exchange apparatus having stationary conduit assemblies for one heat-exchange medium only, the media being in contact with different sides of the conduit wall, in which the other heat-exchange medium is a large body of fluid, e.g. domestic or motor car radiators with heat-exchange conduits immersed in the body of fluid with plate-like or laminated conduits the conduits being formed by paired plates touching each other
    • F28D1/035Heat-exchange apparatus having stationary conduit assemblies for one heat-exchange medium only, the media being in contact with different sides of the conduit wall, in which the other heat-exchange medium is a large body of fluid, e.g. domestic or motor car radiators with heat-exchange conduits immersed in the body of fluid with plate-like or laminated conduits the conduits being formed by paired plates touching each other with U-flow or serpentine-flow inside the conduits
    • FMECHANICAL ENGINEERING; LIGHTING; HEATING; WEAPONS; BLASTING
    • F28HEAT EXCHANGE IN GENERAL
    • F28FDETAILS OF HEAT-EXCHANGE AND HEAT-TRANSFER APPARATUS, OF GENERAL APPLICATION
    • F28F9/00Casings; Header boxes; Auxiliary supports for elements; Auxiliary members within casings
    • F28F9/02Header boxes; End plates
    • F28F9/0202Header boxes having their inner space divided by partitions
    • F28F9/0204Header boxes having their inner space divided by partitions for elongated header box, e.g. with transversal and longitudinal partitions
    • FMECHANICAL ENGINEERING; LIGHTING; HEATING; WEAPONS; BLASTING
    • F28HEAT EXCHANGE IN GENERAL
    • F28FDETAILS OF HEAT-EXCHANGE AND HEAT-TRANSFER APPARATUS, OF GENERAL APPLICATION
    • F28F9/00Casings; Header boxes; Auxiliary supports for elements; Auxiliary members within casings
    • F28F9/26Arrangements for connecting different sections of heat-exchange elements, e.g. of radiators
    • F28F9/262Arrangements for connecting different sections of heat-exchange elements, e.g. of radiators for radiators
    • FMECHANICAL ENGINEERING; LIGHTING; HEATING; WEAPONS; BLASTING
    • F28HEAT EXCHANGE IN GENERAL
    • F28DHEAT-EXCHANGE APPARATUS, NOT PROVIDED FOR IN ANOTHER SUBCLASS, IN WHICH THE HEAT-EXCHANGE MEDIA DO NOT COME INTO DIRECT CONTACT
    • F28D21/00Heat-exchange apparatus not covered by any of the groups F28D1/00 - F28D20/00
    • F28D2021/0019Other heat exchangers for particular applications; Heat exchange systems not otherwise provided for
    • F28D2021/008Other heat exchangers for particular applications; Heat exchange systems not otherwise provided for for vehicles
    • F28D2021/0085Evaporators

Definitions

  • the present disclosure relates to a refrigerant evaporator that cools a fluid to be cooled by absorbing heat from the fluid to be cooled and evaporating the refrigerant.
  • the refrigerant evaporator cools the cooled fluid by absorbing heat from the cooled fluid and evaporating the refrigerant by exchanging heat between the cooled fluid (for example, air) flowing outside and the refrigerant flowing inside. Functions as a cooling heat exchanger.
  • the first and second evaporators having a heat exchange core part formed by stacking a plurality of tubes through which refrigerant flows and a pair of tank parts connected to both ends of the plurality of tubes Are arranged in series with respect to the flow direction of the fluid to be cooled (for example, see Patent Documents 1, 2, and 3).
  • refrigerant evaporation having a front-rear U-turn type refrigerant flow in the heat exchange cores of the first and second evaporators arranged in the front-rear direction with the flow direction of the fluid to be cooled in the front-rear direction.
  • refrigerant evaporation having a front-rear U-turn type refrigerant flow in the heat exchange cores of the first and second evaporators arranged in the front-rear direction with the flow direction of the fluid to be cooled in the front-rear direction.
  • one tank part of the pair of tank parts in the first and second evaporator parts is located on one end side of the plurality of tubes, and the pair in the first and second evaporator parts.
  • the other tank part is located on the other end side of the plurality of tubes. Then, after the refrigerant flowing into one tank part of the first evaporation part passes through the heat exchange core part of the first evaporation part, it flows out of the other tank part of the first evaporation part, It flows into the other tank part.
  • the refrigerant that has flowed into the other tank of the second evaporator passes through the heat exchange core of the second evaporator in the direction opposite to the refrigerant that passes through the heat exchange core of the first evaporator. After that, it flows out from one tank part of the second evaporation part.
  • heat exchange of the first evaporator is performed without replacing the refrigerant flowing through the heat exchange core of the first and second evaporators in the width direction (left-right direction) of the heat exchange core.
  • the refrigerant flowing out from the core part is caused to flow into the heat exchange core part of the second evaporation part.
  • the first and second refrigerant evaporator having a configuration in which the refrigerant flowing through the heat exchange core portions of the first and second evaporation portions is replaced in the width direction (left and right direction) of the heat exchange core portion in the entire heat exchange core portion of the evaporation portion (for example, Patent Documents 1 and 2).
  • this refrigerant evaporator is referred to as a conventional refrigerant evaporator.
  • the refrigerant flowing on one side in the width direction of the heat exchange core part of the first evaporation part flows to the other side in the width direction of the heat exchange core part of the second evaporation part, and
  • the refrigerant flowing on the other side in the width direction of the heat exchange core part is configured to flow to one side in the width direction of the heat exchange core part of the second evaporator.
  • the other tank parts of the 1st and 2nd evaporation parts for example, cross flow guide member (refer to patent documents 1), It communicates with a communication portion called a refrigerant flow cross device (see Patent Document 2).
  • the cross flow guide member and the refrigerant flow cross device are configured such that when the refrigerant flowing out from the heat exchange core portion of the first evaporation portion flows into the heat exchange core portion of the second evaporation portion, the heat exchange core portion of the first evaporation portion.
  • the refrigerant flow that flows out from one side in the width direction and the refrigerant flow that flows out from the other side in the width direction of the heat exchange core part of the first evaporation section are crossed to replace each other.
  • the refrigerant evaporator having the above-described conventional configuration has a problem that occurs in the above-described front and rear U-turn type refrigerant evaporator, that is, the refrigerant is distributed unevenly to the heat exchange core portion mainly at a low refrigerant flow rate, and after passing through the refrigerant evaporator.
  • the problem that the temperature distribution of the fluid to be cooled is poor can be solved.
  • the length of the communication channel for allowing the refrigerant flowing out from the heat exchange core part of the first evaporation part to flow into the heat exchange core part of the second evaporation part is equal to the length of the above-described front and rear U-turn type refrigerant evaporator.
  • the above-described conventional configuration becomes longer.
  • the refrigerant can flow in a straight line between the other tank parts of the first and second evaporators, and the communication channel is omitted or communicated. This is because the path can be set to the shortest distance, whereas in the refrigerant evaporator having the above-described conventional configuration, the refrigerant flow must be crossed.
  • the refrigerant pressure between the refrigerant inlet and the outlet of the heat exchange core part for the front and rear U-turn type refrigerant evaporator described in Patent Document 1 and the refrigerant evaporator including the cross flow guide member described in Patent Document 1 As a result, the refrigerant evaporator provided with the cross flow guide member had a large pressure loss at the communication portion relative to the pressure loss at the tube, and occupied most of the pressure loss of the entire heat exchange core portion.
  • the pressure loss when the refrigerant flows from the heat exchange core part of the first evaporation part to the heat exchange core part of the second evaporation part is provided with a cross flow guide member rather than a front-rear U-turn type refrigerant evaporator. Was confirmed to be larger.
  • such a problem is not limited to the configuration in which the communication part that communicates the other tank parts of the first and second evaporation parts crosses the refrigerant flow, but from the heat exchange core part of the first evaporation part. This is true for all configurations in which the refrigerant flow is replaced in the width direction of the heat exchange core portion when the outflowing refrigerant flows into the heat exchange core portion of the second evaporator.
  • the heat exchange core part of the first evaporation part is constituted by a first core part constituted by the first tube group and a second tube group among the plurality of tubes. Having at least three core parts of a second core part and a third core part composed of a third tube group, Of the three core parts of the first evaporation part, the refrigerant flowing out from one of the two core parts is opposed to the other core part of the two core parts of the heat exchange core part of the second evaporation part. The refrigerant flowing out from the other core part of the two core parts is caused to flow into the part of the heat exchange core part of the second evaporation part facing the one core part of the two core parts.
  • the refrigerant replacement part for replacing the refrigerant flowing into the heat exchange core part of the second evaporation part is provided in the other tank part of the first and second evaporation parts,
  • the refrigerant replacement part flows the refrigerant flowing out from the remaining one core part among the three core parts of the first evaporation part into the part of the heat exchange core part of the second evaporation part that faces the one core part. It has the composition to make it.
  • the refrigerant flowing out of two core portions of the three core portions in the heat exchange core portion of the first evaporation portion is transferred to the two core portions of the first evaporation portion of the heat exchange core portion of the second evaporation portion.
  • the refrigerant flow is switched in the width direction of the heat exchange core part.
  • the refrigerant evaporator of the above-mentioned conventional composition which replaces the refrigerant which flows through the whole heat exchange core part of the 1st and 2nd evaporation part in the width direction of the heat exchange core part, it is refrigerant.
  • the flow rate of the refrigerant flowing from the first evaporation section to the second evaporation section can be reduced while switching the flow.
  • the remaining one core part of the 1st evaporation part among the heat exchange core parts of the 2nd evaporation part from the remaining 1 core part among the 3 core parts in the heat exchange core part of the 1st evaporation part Since the refrigerant flow path when the refrigerant flows through the portion facing the part does not replace the refrigerant flow, there is no increase in the flow path length as in the conventional refrigerant evaporator.
  • two core portions of the three core portions in the heat exchange core portion of the first evaporation portion are opposed to two core portions of the first evaporation portion of the heat exchange core portion of the second evaporation portion.
  • FIG. 6 is a sectional view taken along line VI-VI in FIG. 2.
  • FIG. 7 is a sectional view taken along line VII-VII in FIG. 2. It is sectional drawing which expands and shows the part of the refrigerant
  • the refrigerant evaporator 1 is applied to a vapor compression refrigeration cycle of a vehicle air conditioner that adjusts the temperature in the vehicle interior, and absorbs heat from the blown air blown into the vehicle interior to evaporate the refrigerant. It is a heat exchanger for cooling which cools blowing air. In the present embodiment, the blown air corresponds to “cooled fluid flowing outside”.
  • the refrigeration cycle includes a compressor, a radiator (condenser), an expansion valve, and the like (not shown) in addition to the refrigerant evaporator 1, and in this embodiment, liquid is received between the radiator and the expansion valve. It is configured as a receiver cycle in which a device is arranged.
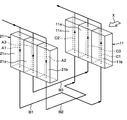
  • the refrigerant evaporator 1 of the present embodiment includes two evaporators 10 and 20 arranged in series with respect to the flow direction (flow direction of the fluid to be cooled) X of the blown air.
  • positioned among the two evaporation parts 10 and 20 on the windward side (upstream side) of the air flow direction of blowing air is called the windward evaporation part 10, and the flow of blowing air
  • the evaporator disposed on the leeward side (downstream side) in the direction is referred to as a leeward evaporator 20.
  • the windward evaporator 10 in this embodiment constitutes a “second evaporator”
  • the leeward evaporator 20 constitutes a “first evaporator”.
  • the basic configurations of the windward side evaporator 10 and the leeward side evaporator 20 are the same, and the heat exchange core parts 11 and 21 and a pair of tank parts 12 disposed on the upper and lower sides of the heat exchange core parts 11 and 21, respectively. 13, 22, and 23.
  • the heat exchange core part in the windward evaporator 10 is referred to as the windward heat exchange core part 11
  • the heat exchange core part in the leeward evaporator 20 is referred to as the leeward heat exchange core part 21.
  • the tank unit disposed on the upper side is referred to as the windward upper tank unit 12, and the tank unit disposed on the lower side is referred to as the windward lower tank unit. 13 is called.
  • the tank portion disposed on the upper side is referred to as the leeward side upper tank portion 22
  • the tank portion disposed on the lower side is referred to as the leeward side lower tank. This will be referred to as part 23.
  • the upper tank parts 12 and 22 in this embodiment are equivalent to one tank part among a pair of tank parts
  • the lower tank parts 13 and 23 are equivalent to the other tank part among a pair of tank parts.
  • Each of the windward side heat exchange core part 11 and the leeward side heat exchange core part 21 of the present embodiment includes a plurality of tubes 111 and 211 extending in the vertical direction and fins 112 joined between the adjacent tubes 111 and 211, 212 and 212 are alternately stacked.
  • the stacking direction in the stacked body of the plurality of tubes 111 and 211 and the plurality of fins 112 and 212 is referred to as a tube stacking direction.
  • the tube stacking direction is the width direction and the left-right direction of the heat exchange core part.
  • the windward side heat exchange core unit 11 when the windward side heat exchange core unit 11 is viewed from the upstream side in the flow direction of the blown air, as shown in FIG. More than the core center part 11a comprised by the 1st tube group located in the center, the core left side part 11b comprised by the 2nd tube group located in the left side from the core center part 11a, and the core center part 11a And a right core portion 11c composed of a third tube group located on the right side.
  • the leeward side heat exchange core part 21 is the center of the left-right direction among several tubes 211, when the leeward side heat exchange core part 21 is seen from the upstream of the flow direction of blowing air.
  • a core central portion 21a composed of a first tube group located on the left side
  • a core left side portion 21b composed of a second tube group located on the left side of the core central portion 21a
  • a right core portion 21c composed of a third tube group located at the center.
  • each component of the leeward evaporation unit 20 is indicated by parenthesized symbols corresponding to each component of the leeward evaporation unit 10.
  • the core center part 21a, the core left side part 21b, and the core right side part 21c of the leeward side heat exchange core part 21 in the present embodiment correspond to “first, second, and third core parts”.
  • the core central portion 11a, the core left side portion 11b, and the core right side portion 11c of the windward side heat exchange core portion 11 correspond to “parts facing the first, second, and third core portions”, respectively.
  • Each of the tubes 111 and 211 is formed of a flat tube in which a refrigerant passage through which a refrigerant flows is formed and a cross-sectional shape thereof is a flat shape extending along the flow direction of the blown air.
  • the tube 111 of the windward side heat exchange core part 11 has one end side (upper end side) in the longitudinal direction connected to the windward upper tank part 12, and the other end side (lower end side) in the longitudinal direction is connected to the windward lower tank part. 13 is connected. Further, the tube 211 of the leeward side heat exchange core portion 21 has one end side (upper end side) in the longitudinal direction connected to the leeward upper tank portion 22 and the other end side (lower end side) in the longitudinal direction is located on the leeward lower side. It is connected to the tank part 23.
  • Each of the fins 112 and 212 is a corrugated fin formed by bending a thin plate material into a wave, joined to the flat outer surface side of the tubes 111 and 211, and heat for expanding the heat transfer area between the blown air and the refrigerant. It constitutes an exchange promoting means.
  • side plates 113 that reinforce the heat exchange core parts 11 and 12 are arranged at both ends in the tube laminating direction.
  • the side plate 113 is joined to the fins 112 and 212 arranged on the outermost side in the tube stacking direction.
  • the windward upper tank portion 12 is closed at one end side (left end portion when viewed from the upstream side in the flow direction of the blown air) and on the right side when viewed from the other end side (upstream side in the flow direction of the blown air).
  • the end portion is formed of a cylindrical member having a refrigerant outlet for leading out refrigerant from the inside of the tank to the suction side of a compressor (not shown).
  • the windward upper tank portion 12 is configured such that the internal space thereof communicates with each tube 111 of the windward heat exchange core portion 11, and from the core portions 11 a, 11 b, 11 c of the windward heat exchange core portion 11. It functions as a refrigerant collecting part that collects the refrigerant.
  • the leeward side upper tank section 22 has a cylindrical shape in which one end side is closed and a refrigerant inlet for introducing low-pressure refrigerant decompressed by an expansion valve (not shown) is formed inside the tank at the other end side. It is composed of members.
  • the leeward side upper tank part 22 is configured so that the internal space thereof communicates with each tube 211 of the leeward side heat exchange core part 21, and to each core part 21 a, 21 b, 21 c of the leeward side heat exchange core part 21. It functions as a refrigerant distributor that distributes the refrigerant.
  • the windward and leeward upper tank portions 12 and 22 are formed as an integral tank, and include a core plate 31, a tank body portion 32, caps 33 and 34, and the like. have.
  • the core plate 31 is formed with a through hole 31a into which one end side (upper end side) of each tube 111, 211 is inserted and joined.
  • the tank body portion 32 forms a space between the tank plate 31 and the core plate 31 and has an M-shaped cross section that opens downward.
  • the tank body 32 has a partition wall 32a that partitions the space between the core plate 31 into two spaces, the windward side and the leeward side.
  • the left cap 33 is provided at the left end of the core plate 31 and the tank main body 32, and the right cap 34 is provided at the right end of the core plate 31 and the tank main body 32.
  • the right cap 34 has a refrigerant outlet 34a and a refrigerant inlet 34b.
  • a connector 35 is attached to the right cap 34.
  • the connector 35 has a refrigerant outlet 35a that communicates with the refrigerant outlet 34a, and a refrigerant inlet 35b that communicates with the refrigerant inlet 34b.
  • the windward lower tank portion 13 is configured by a cylindrical member whose both ends are closed, and the internal space thereof is configured to communicate with each tube 111.
  • the leeward side lower tank part 23 is comprised by the cylindrical member by which the both end sides were obstruct
  • the windward and leeward lower tank portions 13 and 23 are formed as an integral tank, and include two core plates 41 and 42, two tank body portions 43, 44, caps 45 and 46, and a refrigerant flow cloth device 47.
  • the two core plates 41 and 42 are formed with through holes 41a and 42a into which the other ends (lower ends) of the tubes 111 and 211 are inserted and joined.
  • the tank main body portions 43 and 44 form a space between the core plates 41 and 42 and have a W-shaped cross section that opens upward.
  • the tank main body parts 43 and 44 have partition walls 43a and 44a that partition the space between the core plates 41 and 42 into two spaces, the windward side and the leeward side.
  • the caps 45 and 46 close the opening of the cylindrical member constituted by the core plates 41 and 42 and the tank main body portions 43 and 44.
  • the left core plate 41, the left tank main body 43, and the left cap 45 constitute the left end 48 of the windward and leeward lower tanks 13 and 23.
  • the space communicating with each tube 111 constituting the core left side 11b of the windward heat exchange core 11 constitutes the left refrigerant distribution part 13b that distributes the refrigerant to the core left side 11b.
  • Spaces communicating with the respective tubes 211 constituting the core left side portion 21b of the leeward side heat exchange core portion 21 constitute a left refrigerant collecting portion 23b that collects refrigerant from the core left side portion 21b.
  • the right core plate 42, the right tank main body 44, and the right cap 46 constitute the right end 49 of the leeward and leeward lower tanks 13 and 23.
  • the right end portions 49 spaces communicating with the tubes 111 constituting the core right side portion 11c of the windward heat exchange core portion 11 constitute a right refrigerant distribution portion 13c that distributes the refrigerant to the core right side portion 11c.
  • a space where the tubes 211 constituting the core right side portion 21c of the leeward side heat exchange core portion 21 communicate with each other constitutes a right refrigerant collecting portion 23c for collecting refrigerant from the core right side portion 21c.
  • the refrigerant flow cross device 47 is disposed between the left end 48 and the right end 49 of the windward and leeward lower tank portions 13 and 23, and The center part of the side lower tank parts 13 and 23 is comprised.
  • the refrigerant flow cross device 47 is a refrigerant replacement unit that crosses and replaces two refrigerant flows in a process in which the refrigerant flows from the leeward lower tank unit 23 to the windward lower tank unit 13.
  • the refrigerant flow cross device 47 includes a main body block 50 and first and second partition members 51 and 52.
  • the main body block 50 is configured by a cylindrical member, and a through hole 50 c into which the other end side (lower end side) of each of the tubes 111 and 211 is inserted and joined is formed on the upper surface thereof. ing.
  • the main body block 50 includes a third partition member 53 that partitions the internal space into two space portions 50a and 50b arranged in the vertical direction.
  • the two space portions 50a and 50b are communication space portions that allow the windward and leeward lower tank portions 13 and 23 to communicate with each other.
  • the upper communication space portion 50a on the upper side of the third partition member 53 corresponds to the “first communication space portion”, and the lower communication space portion 50b on the lower side of the third partition member 53 is the “second communication space portion”. It corresponds to.
  • the first partition member 51 is disposed between the main body block 50 and the left end 48 of the windward and leeward lower tank portions 13 and 23. As shown in FIGS. 5 and 6, the first partition member 51 has a communication hole 51 a in the upper part on the leeward side for communicating the upper communication space part 50 a and the left refrigerant collecting part 23 b in the internal space of the main body block 50. Is formed. The first partition member 51 has a communication hole 51b in the lower part on the windward side for communicating the lower communication space part 50b and the left refrigerant distribution part 13b in the internal space of the main body block 50.
  • the second partition member 52 is disposed between the main body block 50 and the right end 49 of the windward and leeward lower tank portions 13 and 23. As shown in FIGS. 5 and 7, the second partition member 51 has a communication hole 52 a that communicates the upper communication space 50 a and the right refrigerant distribution portion 13 c in the internal space of the main body block 50 in the upper part on the windward side. Is formed. Further, the second partition member 52 is formed with a communication hole 52b in the lower part on the leeward side for communicating the lower communication space part 50b and the right refrigerant distribution part 23c in the internal space of the main body block 50.
  • the upper communication space portion 50 a communicates with the core right side portion 11 c of the windward side heat exchange core portion 11 and the core left side portion 21 b of the leeward side heat exchange core portion 21.
  • the lower communication space portion 50 b communicates with the core left side portion 11 b of the leeward side heat exchange core portion 11 and the core right side portion 21 c of the leeward side heat exchange core portion 21.
  • the upper communication space portion 50 a communicates with each tube 111 constituting the core central portion 11 a of the windward heat exchange core portion 11 and each tube 211 constituting the core central portion 21 a of the leeward heat exchange core portion 21. is doing. Therefore, the upper communication space 50 a distributes the refrigerant to the central refrigerant assembly 23 a that collects the refrigerant from the core central portion 21 a of the leeward heat exchange core portion 21 and the core central portion 11 a of the windward heat exchange core portion 11.
  • Central refrigerant distribution part 13a is constituted.
  • the first, second, and third separators 51, 52, and 53 allow the left side refrigerant distribution unit 13b, the right side refrigerant distribution unit 13c, A left refrigerant collecting portion 23b, a right refrigerant collecting portion 23c, an upper communication space portion 50a, and a lower communication space portion 50b are formed.
  • the number of tubes positioned between the first and second partition members 51 and 52 is the same as the number of tubes constituting the core left side portion 21b of the leeward side heat exchange core portion 21, and the leeward side heat. It is the same as the number of tubes constituting the core right side portion 21c of the replacement core portion 21.
  • the cross-sectional area S1 of the space occupying the lower side of the tube in the upper communication space 50a and the upper communication space 50a and the right refrigerant is not less than the total cross-sectional area S3 of the tubes constituting the core right side part 11c of the windward heat exchange core part 11.
  • the opening area S2 of the communication hole 52a that communicates the upper communication space portion 50a and the right refrigerant distribution portion 13c is larger than the opening area S4 of the communication hole 51b that communicates the lower communication space portion 50b and the left refrigerant distribution portion 13b. Is also preferably large.
  • FIGS. 8, 9, and 10 arrows A1, B1, and C1 indicate the first flow of the refrigerant, arrows A2, B2, and C2 indicate the second flow of the refrigerant, and arrows A3, B3, and C3 indicate the first flow of the refrigerant. Three flows are shown.
  • the low-pressure refrigerant depressurized by an expansion valve (not shown) is introduced from a refrigerant inlet formed on one end side of the leeward upper tank section 22.
  • the refrigerant introduced into the leeward side upper tank part 22 is distributed to the tube group constituting the leeward side heat exchange core part 21.
  • the refrigerant descends the core right side portion 21c as indicated by the arrow A1 (first flow), and the refrigerant descends the central core portion 21a as indicated by the arrow A3 (second flow).
  • the refrigerant descends on the core left side 21b (third flow).
  • the refrigerant that has passed through the leeward heat exchange core portion 21 gathers in the leeward lower tank portion 23.
  • the first flow A1 of the refrigerant flows into the right refrigerant collecting portion 23c of the leeward side lower tank portion 23, and then flows into the cross device 47, and the second flow A2 of the refrigerant flows down the leeward side.
  • the left refrigerant collecting portion 23 b of the side lower tank portion 23 After flowing into the left refrigerant collecting portion 23 b of the side lower tank portion 23, it flows into the cross device 47.
  • the refrigerant flowing in from the right refrigerant collecting portion 23c as shown by the arrow B1 passes through the lower communication space portion 50b, and the left side of the windward lower tank portion 13. It flows into the refrigerant distributor 13b. Further, the refrigerant flowing in from the left refrigerant collecting portion 23b as shown by the arrow B2 passes through the upper communication space portion 50a and flows into the right refrigerant distribution portion 13c of the windward lower tank portion 13.
  • the first and second flows of the refrigerant that have passed through the core left side portion 21c and the core right side portion 21b of the leeward heat exchange core portion 21 as indicated by arrows A1 and A2 are cross devices 47 as indicated by arrows B1 and B2.
  • the upper left and lower communication spaces 50a and 50b cross each other and cross in the left-right direction as indicated by arrows C1 and C2, while the left side 11b and the core of the upwind replacement core 11 It passes through the right side portion 11c.
  • the third flow of the refrigerant that has flowed through the core central portion 21a of the leeward heat exchange core portion 21 as shown by A3 directly flows into the upper communication space portion 50a of the cross device 47, and as shown by the arrow B3, the upper communication space portion 50a. And passes through the core central portion 11a of the windward heat exchange core portion 11 as indicated by an arrow C3.
  • the third flow of the refrigerant that directly flows into the upper communication space 50a merges with the second flow of the refrigerant.
  • part of the liquid refrigerant in the third flow is pushed in the left-right direction by the inertial force in the left-right direction of the second flow, merges with the second flow, and flows into the right-side refrigerant distributor 13c as indicated by an arrow B2.
  • the remaining refrigerant of the third flow mainly gas refrigerant, moves up the core central portion 11a of the windward heat exchange unit 11 as indicated by an arrow C3.
  • a part of the refrigerant in the second flow mainly the gas refrigerant, does not go to the back side, but merges with the third flow in the foreground, and passes through the core central portion 11a of the windward heat exchange unit 11 as indicated by an arrow C3.
  • the remaining refrigerant of the second flow mainly liquid refrigerant, flows into the right refrigerant distribution portion 13c as indicated by arrow B2 due to the inertia of the fluid, and ascends the right side core 11c of the windward heat exchange portion 11 as indicated by arrow C2.
  • the refrigerant which raised each core part 11a, 11b, 11c of the windward side heat exchange core part 11 flows into the inside of the windward upper tank part 12, respectively, and the windward upper tank part 12 is led out to a compressor (not shown) suction side from a refrigerant outlet formed on one end side.
  • the windward and leeward lower tank portions 13 and 23 are composed of two core plates 41 and 42, two tank body portions 43 and 44, and a refrigerant flow cross device.
  • the 47 main body blocks 50 constitute cylindrical windward and leeward lower tank portions 13 and 23.
  • the first and second partition members 51 and 52 of the refrigerant flow cross device 47 sandwich one or more tubes (four rows in the example of FIG. 1) between the windward and leeward lower tank portions 13 and 23.
  • the third partition member 53 By arranging the third partition member 53 between the first and second partition members 51, 52, the upper communication space portion 50a and the lower communication space portion 50b are formed. .
  • the upper communication space portion 50a communicates with the core right side portion 11c of the windward side heat exchange core portion 11 and the core left side portion 21b of the leeward side heat exchange core portion 21, and the lower side communication space portion 50b communicates with the windward side heat exchange core. It communicates with the core left side part 11 b of the part 11 and the core right side part 21 c of the leeward side heat exchange core part 21. Further, the upper communication space portion 50a communicates with both the core central portions 11a and 21a of the windward and leeward heat exchange core portions 11 and 21.
  • the core left side portion 21b and the core right side portion 21c of the leeward side heat exchange core portion 21 and the core left side portion 11b and the core right side portion 11c of the windward side heat exchange core portion 11 facing these are provided.
  • a first refrigerant flow indicated by arrows A1, B1, and C1 and a second refrigerant flow indicated by arrows A2, B2, and C2 corresponding to the refrigerant flow in the above-described conventional configuration are formed.
  • the flow rate of the second flow indicated by A ⁇ b> 2, B ⁇ b> 2, and C ⁇ b> 2 is large, and the total flow rate of the refrigerant flows into the refrigerant flow cross device 47.
  • the upper and lower communication spaces 50a of the refrigerant flow cross device 47 , 50b a 50% flow rate of refrigerant flows, and a significant increase in pressure loss occurs when the refrigerant flow rate is high.
  • the end of the tube is located near the third partition member 53 as in the refrigerant evaporator described in Patent Document 2 described above.
  • the protruding portion of the tube hinders the flow of the refrigerant flowing into the refrigerant flow cross device 47 from the left and right directions, and the pressure loss of the refrigerant also increases when the refrigerant collides with the tube.
  • the third flow exists in the windward and leeward heat exchange core portions 11 and 21 as compared with the refrigerant evaporator having the above-described conventional configuration. Minutes, the flow rates of the first flow and the second flow decrease. For this reason, since the flow rate of the first flow and the second flow that cross and flow inside the refrigerant flow cross device 47 decreases, the pressure loss and refrigerant when the refrigerant crosses and passes through the inside of the refrigerant flow cross device 47 The pressure loss when the refrigerant flows into the flow cross device 47 from the left and right directions can be reduced.
  • the refrigerant flow path when the refrigerant flows from the core central portion 21a of the leeward heat exchange core portion 21 to the core central portion 11a of the leeward heat exchange core portion 11 is as follows. Since the refrigerant flow is not crossed, the flow path length does not increase as in the conventional refrigerant evaporator described above, and the pressure loss of the refrigerant can be reduced.
  • the portion of the heat exchange core portion where the refrigerant is difficult to reach is the far side away from the refrigerant inlet of the tank portion.
  • the refrigerant flowing out from the core left side portion 21b and the core right side portion 21c of the leeward side heat exchange core portion 21 is replaced in the left-right direction of the heat exchange core portion, thereby The left and right core parts 11b and 11c of the replacement core part 11 are allowed to flow.
  • the core center parts 11a and 21a of the windward and leeward heat exchange core parts 11 and 21 are portions where the refrigerant easily flows, it is not necessary to exchange the refrigerant flow in the left-right direction of the heat exchange core part.
  • the temperature variation of the blown air from the refrigerant evaporator 1 can be reduced, and a good temperature distribution of the blown air can be obtained.
  • the refrigerant evaporator 1 according to the present embodiment, it is possible to improve the cooling performance as compared with the refrigerant evaporator having the conventional configuration described above.
  • the region with the same pattern indicates a region with the same temperature
  • the temperature relationship of each region is T1> T2> T3> T4> T5.
  • the air after passing through the windward evaporator 10 had a temperature distribution due to the first, second, and third flows A1, A2, and A3.
  • the air after passing through the leeward evaporator 20 had a temperature distribution similar to that of the refrigerant evaporator having the above-described conventional configuration.
  • coolant evaporator 1 has temperature distribution from which the temperature is substantially uniform, and the temperature difference in the whole heat exchange core part becomes 5 degrees C or less. It was.
  • the refrigerant evaporator 1 according to this embodiment has a cooling capacity of that of Comparative Example 1 regardless of the air volume. It was confirmed that the cooling capacity was higher than that of the refrigerant evaporator 1.
  • the refrigerant evaporator of the comparative example 1 is a refrigerant evaporator which has the cross flow guide member of the said patent document 1.
  • the first and second refrigerant flows in the windward and leeward lower tank portions 13 and 23 as compared with the refrigerant evaporator having the above-described conventional configuration. Since the flow rates of B1 and B2 can be reduced, the internal volume of the windward and leeward lower tank portions 13 and 23 can be reduced, and the windward and leeward lower tank portions 13 and 23 can be made thinner. Become.
  • FIGS. 13 and 14 correspond to FIGS. 5 and 8, respectively.
  • a fourth partition member 54 is added to the refrigerant flow cloth device 47 of the first embodiment.
  • the refrigerant flow cross device 47 includes third and fourth partitions that partition the internal space of the main body block 50 into three space portions 50 a, 50 b, and 50 c arranged in the vertical direction. Members 53 and 54 are provided.
  • the three space portions 50a, 50b, and 50c are first, second, and third communication space portions that allow the windward and leeward lower tank portions 13 and 23 to communicate with each other.
  • the 1st communication space part 50a located in the middle of an up-down direction is the core right side part of the windward heat exchange core part 11 by the communication holes 51a and 52a provided in the 1st, 2nd partition members 51 and 52. 11c and the core left side portion 21b of the leeward side heat exchange core portion 21 communicate with each other.
  • the second communication space portion 50b located below the first communication space portion 50a is connected to the windward heat exchange core portion 11 by the communication holes 51b and 52b provided in the first and second partition members 51 and 52.
  • the core left side portion 11 b communicates with the core right side portion 21 c of the leeward side heat exchange core portion 21.
  • the third communication space portion 50c located above the first communication space portion 50a communicates with the core center portion 11a of the windward side heat exchange core portion 11 and the core center portion 21a of the leeward side heat exchange core portion 21. .
  • FIGS. 15 and 16 correspond to FIGS. 9 and 8, respectively.
  • a fifth partition member 61 and a communication hole 62 are added to the first embodiment.
  • a fifth side which partitions the internal space of the right end portion 49 into two spaces in the left-right direction at the right end portion 49 of the windward and leeward lower tank portions 13, 23.
  • the partition member 61 is provided.
  • a communication hole 62 is formed in the partition wall 44 a of the tank main body 44 to communicate the internal space of the leeward lower tank portion 23 with the internal space of the leeward lower tank portion 13.
  • the refrigerant fourth shown by arrows A4, B4, and C4 corresponding to the conventional front and rear U-turn flow between the core right end portions 11d and 21d of the windward and leeward heat exchange core portions 11 and 21 facing each other. A flow is formed.
  • a fourth flow corresponding to the conventional front and rear U-turn flow may be added. good. Thereby, it is possible to adjust the temperature distribution of the blowing air of the refrigerant evaporator 1.
  • the location where the refrigerant flow is likely to be biased is the same as that of the refrigerant evaporator having the above-described conventional configuration, the windward and leeward heat exchange core parts 11 and 21.
  • the refrigerant flowing through 21 is exchanged in the width direction of the heat exchange core part, and where the refrigerant flow is not biased, the same refrigerant flows in regions facing each other as in a conventional front and rear U-turn type refrigerant evaporator. What should I do?
  • the fifth partition member 61 is provided, but the fifth partition member 61 may be omitted. Even in this case, if the communication hole 62 is formed in the partition wall 44a of the tank main body 44, the fourth flow is formed.
  • FIGS. 17 and 18 correspond to FIGS. 9 and 8, respectively.
  • a sixth partition member 63 and a communication hole 64 are added to the third embodiment, and a refrigerant introduction port 71 is further provided in the longitudinal center of the leeward upper tank portion 23, so A refrigerant outlet 72 is provided at the center in the longitudinal direction of the tank portion 13.
  • the internal space of the right end portion 49 is provided in the left end portion 48 of the windward and leeward lower tank portions 13 and 23.
  • a sixth partition member 63 that partitions the two spaces in the left-right direction is provided.
  • a communication hole 64 is formed in the partition wall 43 a of the tank main body 43 to communicate the internal space of the leeward lower tank portion 23 with the internal space of the leeward lower tank portion 13.
  • the distance from the refrigerant inlet 71 of the leeward upper tank portion 23 to the longitudinal end of the leeward upper tank portion 23 is halved compared to the case of the first embodiment.
  • the left and right end portions 21d of the core of the leeward heat exchange core 21 can be replaced without replacing the refrigerant flowing through the windward and leeward heat exchange cores 11 and 21 in the width direction of the heat exchange core. , 21e can reach the refrigerant.
  • the refrigerant flow at the core right and left end portions 11d, 11e, 21d, and 21e of the leeward and leeward heat exchange core portions 11 and 21 is changed.
  • the fourth and fifth flows may correspond to the refrigerant flow in the conventional front and rear U-turn type refrigerant evaporator.
  • both the fifth partition member 61 and the sixth partition member 63 are provided, but one or both of the fifth partition member 61 and the sixth partition member 63 may be omitted. . Even in these cases, if the communication holes 62 and 64 are formed in the partition walls 43a and 44a of the tank main body portions 43 and 44, the fourth and fifth flows are formed.
  • FIG. 19 corresponds to FIG.
  • a refrigerant inlet 73 is provided on one end in the longitudinal direction of the leeward lower tank 23, and a refrigerant outlet 74 is provided on one end in the longitudinal direction of the leeward lower tank 13. Yes.
  • the windward and leeward lower tank portions 13 and 23 correspond to one tank portion of the pair of tank portions, and the windward and leeward upper tank portions 12 and 22 are the other tank portion of the pair of tank portions. It corresponds to.
  • coolant flow cross apparatus 47 is provided in the windward and leeward upper tank parts 12 and 22.
  • the refrigerant inlet 73 and the refrigerant outlet 74 are provided at one end in the longitudinal direction of the leeward and leeward lower tank portions 13 and 23, the refrigerant is located on the inner side of the leeward lower tank portion 23 with respect to the refrigerant inlet 73. Is easier to reach. For this reason, in the area
  • the inside of the windward and leeward upper tank portions 12 and 22 is located on the far side of the windward and leeward upper tank portions 12 and 22 with respect to the refrigerant inlet 73.
  • a fifth partition member 61 that partitions the space into two spaces in the left-right direction is provided.
  • a communication hole 62 is formed in the partition wall 44 a of the tank main body 44 to communicate the internal space of the leeward upper tank portion 22 with the internal space of the leeward upper tank portion 12.
  • the refrigerant fourth shown by arrows A4, B4, and C4 corresponding to the conventional front and rear U-turn flow between the core right end portions 11d and 21d of the windward and leeward heat exchange core portions 11 and 21 facing each other. A flow is formed.
  • the refrigerant corresponding to the refrigerant flow in the above-described conventional configuration in the core left side portions 11b and 21b and the core right side portions 11c and 21c of the upwind and leeward side heat exchange core portions 11 and 21 facing each other.
  • the first and second flows are formed, and the refrigerant flows in the conventional front and rear U-turn type refrigerant evaporator between the core central portions 11a and 21a of the upwind and leeward heat exchange core portions 11 and 21 facing each other.
  • the 3rd flow of the corresponding refrigerant was formed, in the windward and leeward heat exchange core parts 11 and 21, the part in which the 3rd flow of a refrigerant is formed is not restricted to this.
  • coolant 1st flow shown by arrow A1, B1, and C1 corresponded to and the 2nd refrigerant
  • arrows A3, B3, and C3 corresponding to the refrigerant flow in the conventional front and rear U-turn type refrigerant evaporator between the core right side portions 11c and 21c of the upwind and leeward side heat exchange core portions 11 and 21 facing each other.
  • the third flow of the refrigerant indicated by is formed.
  • the first and second partition members 51 and 52 of the refrigerant flow cross device 47 are arranged between adjacent tubes, and the refrigerant flow. It arrange
  • the partition member 61 is added between the tube which comprises the core center parts 11a and 21a and the tube which comprises the core right side parts 11c and 21c among the internal space of the windward and leeward lower tank parts 13 and 23. Further, as shown in FIG.
  • the right side refrigerant distribution part 13c that distributes the refrigerant to the core right side part 11c and the right side that collects the refrigerant from the core right side part 21c with respect to the windward and leeward lower tank parts 13 and 23.
  • a communication hole 62 for communicating with the refrigerant assembly 23c is added.
  • the refrigerant inlet 35b and the refrigerant outlet 35a are provided on one end in the longitudinal direction of the windward and leeward upper tank sections 12 and 22, the leeward and windward heat exchange core sections 11 and 21 are connected to the refrigerant inlet 35b. It is difficult for the refrigerant to reach the rear part, and the refrigerant tends to flow on the side close to the refrigerant introduction port 35b. Therefore, in such a case, the configuration of the present embodiment can be employed.
  • refrigerant inlet and the refrigerant outlet are provided at one end in the longitudinal direction of the windward and leeward lower tank portions 13 and 23 as in the fifth embodiment, they face each other on the side far from the refrigerant inlet.
  • a refrigerant flow cross device 47 or the like is added to the configuration of the present embodiment so that a third flow of refrigerant corresponding to the refrigerant flow in the conventional front and rear U-turn type refrigerant evaporator is formed between the core portions. Change the position.
  • an intermediate tank portion 81 is provided outside the windward and leeward lower tank portions 13 and 23.
  • the windward and leeward upper tank portions 12 and 22 are formed as separate tanks, and the windward and leeward lower tank portions 13 and 23 are formed as separate tanks. is doing.
  • a refrigerant outlet 12a and a refrigerant inlet 22a are provided on one end side in the longitudinal direction of the windward and leeward upper tank portions 12 and 22, respectively.
  • the leeward side lower tank part 23 has a left side space part in which the entire interior space communicates with a tube constituting the core left side part 21 b of the leeward side core part 21 by two partition walls 231 and 232. 23b, a central space portion 23a communicating with the tube constituting the core central portion 21a of the leeward core portion 21, and a right space portion 23c communicating with the tube constituting the core right portion 21c of the leeward core portion 21. It is partitioned.
  • the left space part 23b, the central space part 23a, and the right space part 23c are respectively a left refrigerant collecting part 23b, a central refrigerant collecting part 23a, and a left refrigerant collecting part 23b that collect refrigerant from the core left part 21b, the core central part 21a, and the core right part 21c.
  • the right refrigerant collecting portion 23c is configured.
  • the windward side lower tank part 13 has a space on the whole inside, the left space part 13b communicating with the tube constituting the core left side part 11b of the windward core part 11 by the two partition walls 131 and 132, and the windward core part. 11 is divided into a central space portion 13a that communicates with a tube that constitutes the core central portion 11a, and a right space portion 13c that communicates with a tube that constitutes the core right side portion 11c of the windward core portion 11.
  • the left space portion 13b, the central space portion 13a, and the right space portion 13c are respectively distributed to the core left portion 11b, the core center portion 11a, and the core right portion 11c, the left refrigerant distribution portion 13b, the central refrigerant distribution portion 13a, and the right side.
  • the refrigerant distribution unit 13c is configured.
  • an intermediate tank portion 81 is provided at an intermediate position between the leeward lower tank portion 13 and the leeward lower tank portion 23.
  • the intermediate tank portion 81 communicates with both the leeward lower tank portion 13 and the leeward lower tank portion 23 via the communication members 82 to 87.
  • the intermediate tank part 81 and the communication members 82 to 87 constitute a refrigerant replacement part that exchanges two refrigerant flows in the process in which the refrigerant flows from the leeward lower tank part 23 to the leeward lower tank part 13.
  • the intermediate tank portion 81 is constituted by a cylindrical member, and the first, second partition members 811 and 812 make the space inside the tank the first, second, and third.
  • the refrigerant channels 81a, 81b and 81c are partitioned.
  • the first partition member 811 defines a part of the entire space inside the tank that is located on the center side in the longitudinal direction of the intermediate tank portion 81 and on the upper side. Further, the second partition member 812 defines a part of the space defined by the first partition member 811 that is located on the center side in the longitudinal direction of the space and located on the upper side.
  • the space below the first partition member 811 is the first refrigerant flow path 81a, and the space between the first partition member 811 and the second partition member 812 is the second.
  • Both end portions 811 a and 811 b in the longitudinal direction of the intermediate tank portion 81 of the first partition member 811 are two partition walls 131, 132, 231 and 232 provided inside the windward and leeward lower tank portions 13 and 23. Rather than the intermediate tank 81 in the longitudinal direction. Accordingly, as shown in FIG. 23, the second refrigerant flow path 81b of the intermediate tank portion 81 has a length in the longitudinal direction of the intermediate tank portion 81 that is an intermediate space between the windward and leeward lower tank portions 13 and 23. It is longer than the portions 13a and 23a and has portions facing the left space portions 13b and 23b and the right space portions 13c and 23c of the windward and leeward lower tank portions 13 and 23.
  • the first refrigerant flow path 81a of the intermediate tank portion 81 also has portions facing the left space portions 13b and 23b and the right space portions 13c and 23c of the windward and leeward lower tank portions 13 and 23, respectively.
  • the third refrigerant flow path 81c of the intermediate tank portion has a length in the longitudinal direction of the intermediate tank portion 81 that is substantially the same as the intermediate space portions 13a and 23a of the upwind and leeward lower tank portions 13 and 23. The intermediate space portions 13a and 23a are opposed to each other.
  • the first communication member 82 communicates the right space 23c of the leeward lower tank 23 and the first refrigerant flow path 81a of the intermediate tank 81.
  • the second communication member 83 communicates the first refrigerant flow path 81a of the intermediate tank portion 81 and the left space portion 13b of the windward lower tank portion 13.
  • the right space 23c of the leeward lower tank 23 and the left space 13b of the leeward lower tank 13 communicate with each other via the first refrigerant flow path 81a of the intermediate tank 81.
  • the third communication member 84 communicates the left space 23b of the leeward lower tank 23 and the second refrigerant flow path 81b of the intermediate tank 81.
  • the fourth communication member 85 makes the second refrigerant flow path 81b of the intermediate tank portion 81 communicate with the right space portion 13c of the windward lower tank portion 13.
  • the left space 23 b of the leeward lower tank 23 and the right space 13 c of the leeward lower tank 13 communicate with each other via the second refrigerant flow path 81 b of the intermediate tank 81.
  • the fifth communication member 86 communicates the central space portion 23a of the leeward lower tank portion 23 with the third refrigerant flow path 81c of the intermediate tank portion 81.
  • the sixth communication member 87 communicates the third refrigerant flow path 81c of the intermediate tank portion 81 and the central space portion 13a of the windward lower tank portion 13.
  • the central space portion 23a of the leeward lower tank portion 23 and the central space portion 13a of the leeward lower tank portion 13 communicate with each other via the third refrigerant flow path 81c of the intermediate tank portion 81.
  • the refrigerant that has passed through the leeward heat exchange core portion 21 as indicated by arrows A1, A2, and A3 is leeward as indicated by arrows B1, B2, and B3.
  • the intermediate tank part 81, and the windward lower tank part 13 After flowing through the side lower tank part 23, the intermediate tank part 81, and the windward lower tank part 13, it flows through the windward heat exchange core part 11 as indicated by arrows C1, C2, and C3.
  • the refrigerant flowing into the right space 23c of the leeward lower tank 23 passes through the first refrigerant flow path 81a of the intermediate tank 81 as shown by an arrow B1. Then, it flows into the left space 13b of the windward lower tank 13.
  • the refrigerant flowing into the left space 23b of the leeward lower tank 23 passes through the second refrigerant flow path 81b of the intermediate tank 81 as shown by the arrow B2, and flows into the right space 13c of the leeward lower tank 13. To do.
  • the refrigerant flowing into the central space portion 23a of the leeward lower tank portion 23 passes through the third refrigerant flow path 81c of the intermediate tank portion 81 as shown by an arrow B3 and flows into the central space portion 13a of the leeward lower tank portion 13. To do.
  • the refrigerant evaporator 1 of the present embodiment allows the refrigerant flowing in the core left side portion 21b of the leeward heat exchange core portion 21 to flow to the core right side portion 11c of the windward side heat exchange core portion 11 and also leeward side heat exchange.
  • the refrigerant flowing through the core right side part 21c of the core part 21 is caused to flow to the core left side part 11b of the windward side heat exchange core part 11, and further, the refrigerant flowing through the core center part 21a of the leeward side heat exchange core part 21 is passed through the windward side heat. It can flow to the core central part 11 a of the exchange core part 11.
  • the intermediate tank portion 81 is configured by a cylindrical member, and the first, second partition members 811 and 813 make the space inside the tank the first, second, and third refrigerant flows. It is partitioned into paths 81a, 81b, 81c.
  • the first partition member 811 divides a part of the space inside the entire tank located on the upper side in the same manner as in the seventh embodiment. It is located on one end side in the longitudinal direction of the portion 81.
  • the second partition member 813 is located on the other end side in the longitudinal direction of the intermediate tank portion 81 with respect to the first partition member 811.
  • the second partition member 813 partitions the space inside the tank into two spaces in the longitudinal direction of the intermediate tank portion 81.
  • the space below the first partition member 811 in the space on the one end side in the longitudinal direction of the intermediate tank portion 81 relative to the second partition member 813 is the first refrigerant flow path 81a.
  • the space above the first partition member 811 is the second refrigerant flow path 81b.
  • the space on the other end side in the longitudinal direction of the intermediate tank portion relative to the second partition member 813 is the third refrigerant flow path 81c.
  • the first communicating member 91 communicates the left space 23b of the leeward lower tank 23 and the first refrigerant flow path 81a of the intermediate tank 81.
  • the second communication member 92 communicates the first refrigerant flow path 81a of the intermediate tank portion 81 with the central space portion 13a of the windward lower tank portion 13.
  • the left space 23b of the leeward lower tank 23 and the central space 13a of the leeward lower tank 13 communicate with each other via the first refrigerant flow path 81a of the intermediate tank 81.
  • the third communication member 93 allows the central space portion 23a of the leeward side lower tank portion 23 and the second refrigerant flow path 81b of the intermediate tank portion 81 to communicate with each other.
  • the fourth communication member 94 communicates the second refrigerant flow path 81b of the intermediate tank part 81 and the left space part 13b of the windward lower tank part 13. Accordingly, the central space portion 23a of the leeward lower tank portion 23 and the left space portion 13b of the leeward lower tank portion 13 communicate with each other via the second refrigerant flow path 81b of the intermediate tank portion 81.
  • the fifth communication member 95 communicates the right space 23c of the leeward lower tank 23 and the third refrigerant flow path 81c of the intermediate tank 81.
  • the sixth communication member 96 allows the third refrigerant flow path 81c of the intermediate tank portion 81 and the right space portion 13c of the windward lower tank portion 13 to communicate with each other. Thereby, the right space 23c of the leeward lower tank 23 and the right space 13c of the leeward lower tank 13 communicate with each other via the third refrigerant flow path 81c of the intermediate tank 81.
  • the refrigerant that has passed through the leeward heat exchange core portion 21 as indicated by arrows A1, A2, and A3 is leeward as indicated by arrows B1, B2, and B3.
  • the intermediate tank part 81, and the windward lower tank part 13 After flowing through the side lower tank part 23, the intermediate tank part 81, and the windward lower tank part 13, it flows through the windward heat exchange core part 11 as indicated by arrows C1, C2, and C3.
  • the refrigerant flowing into the left space 23b of the leeward lower tank portion 23 passes through the first refrigerant flow path 81a of the intermediate tank portion 81 as indicated by an arrow B1. Then, it flows into the central space portion 13a of the upwind lower tank portion 13.
  • the refrigerant flowing into the central space portion 23a of the leeward lower tank portion 23 passes through the second refrigerant flow path 81b of the intermediate tank portion 81 and flows into the left space portion 13b of the leeward lower tank portion 13 as indicated by an arrow B2. To do.
  • the refrigerant flowing into the right space 23c of the leeward lower tank 23 passes through the third refrigerant flow path 81c of the intermediate tank 81 as shown by the arrow B3 and flows into the right space 13c of the leeward lower tank 13. To do.
  • the refrigerant evaporator 1 of the present embodiment allows the refrigerant flowing through the core left side portion 21b of the leeward side heat exchange core portion 21 to flow through the core central portion 11a of the leeward side heat exchange core portion 11 and also leeward side heat exchange.
  • the refrigerant flowing through the core central portion 21a of the core portion 21 is caused to flow to the core left side portion 11b of the windward side heat exchange core portion 11, and further, the refrigerant flowing through the core right side portion 21c of the leeward side heat exchange core portion 21 is passed through the windward side heat. It can flow to the core right side part 11c of the exchange core part 11.
  • the intermediate tank portion 81 communicates with both the leeward lower tank portion 13 and the leeward lower tank portion 23 via the communication members 82 to 87.
  • the intermediate tank portion 81 may be configured to directly communicate with both the leeward lower tank portion 13 and the leeward lower tank portion 23 while omitting .about.87.
  • first and second external communication portions 101 and 102 are provided outside the windward and leeward lower tank portions 13 and 23. .
  • the windward and leeward lower tank portions 13 and 23 are formed as an integral tank, and are composed of one cylindrical member 103 and 104 that are continuous in the longitudinal direction.
  • This cylindrical member is constituted by one core plate 103 and one tank main body 104 having a W-shaped cross section opened upward, and a space between the core plate 103 and the tank main body 104 is formed.
  • a partition wall 105 is provided to partition the windward and leeward spaces.
  • the cylindrical member has two partition walls 106, 107, 108, and 109 that partition the two windward and leeward spaces into three spaces in the longitudinal direction.
  • the left space portion 13 b communicating with the tube 111 constituting the core left side portion 11 b of the windward core portion 11 and the core central portion 11 a of the windward core portion 11 are formed inside the windward lower tank portion 13.
  • a central space portion 13 a communicating with the tube 111 and a right space portion 13 c communicating with the tube 111 constituting the core right side portion 11 c of the windward core portion 11 are formed.
  • a left side space portion 23 b communicating with the tube 211 constituting the core left side portion 21 b of the leeward side core portion 21 and a tube constituting the core central portion 21 a of the leeward side core portion 21.
  • a central space portion 23 a communicating with 211 and a right space portion 23 c communicating with the tube 211 constituting the core right side portion 21 c of the leeward core portion 21 are formed.
  • the central space portion 23a of the leeward lower tank portion 23 and the central space portion 13a of the leeward lower tank portion 13 communicate with each other through a communication hole (not shown) provided in the partition wall 105. Yes.
  • the first and second external communication portions 101 and 102 are made of metal pipes or the like and are connected to the tank body portion 104.
  • the first and second external communication portions 101 and 102 constitute a refrigerant replacement portion.
  • one end of the first external communication portion 101 is connected to the right space portion 13 b of the leeward lower tank portion 13 and the other end is connected to the left space portion 23 c of the leeward lower tank portion 23.
  • the right space 13b of the leeward lower tank 13 and the left space 23c of the leeward lower tank 23 communicate with each other.
  • the second external communication portion 102 has one end connected to the left space portion 13c of the leeward lower tank portion 13 and the other end connected to the right space portion 23b of the leeward lower tank portion 23. Thereby, the left side space part 13c of the leeward side lower tank part 13 and the right side space part 23b of the leeward side lower tank part 23 are communicated.
  • the refrigerant evaporator 1 of the present embodiment causes the refrigerant flowing in the core left side portion 21b of the leeward side heat exchange core portion 21 to flow to the core right side portion 11c of the leeward side heat exchange core portion 11 and also leeward side heat exchange.
  • the refrigerant flowing through the core right side part 21c of the core part 21 is caused to flow to the core left side part 11b of the windward side heat exchange core part 11, and further, the refrigerant flowing through the core center part 21a of the leeward side heat exchange core part 21 is passed through the windward side heat. It can flow to the core central part 11 a of the exchange core part 11.
  • connection destinations and the like of the first and second external communication portions 101 and 102 are changed with respect to the ninth embodiment.
  • the right space portion 23c of the leeward lower tank portion 23 and the right space portion 13c of the leeward lower tank portion 13 communicate with each other through a communication hole (not shown) provided in the partition wall 105.
  • one end of the first external communication part 101 is connected to the left space part 13b of the leeward lower tank part 13, and the other end is connected to the central space part 23a of the leeward lower tank part 23.
  • the left side space part 13b of the leeward side lower tank part 13 and the central space part 23a of the leeward side lower tank part 23 communicate with each other.
  • the second external communication portion 102 has one end connected to the central space portion 13a of the leeward lower tank portion 13 and the other end connected to the left space portion 23b of the leeward lower tank portion 23. Thereby, the central space portion 13a of the leeward lower tank portion 13 and the left space portion 23b of the leeward lower tank portion 23 communicate with each other.
  • the refrigerant evaporator 1 of the present embodiment allows the refrigerant flowing through the core left side portion 21b of the leeward side heat exchange core portion 21 to flow to the core central portion 11a of the leeward side heat exchange core portion 11 and also leeward side heat exchange.
  • the refrigerant flowing through the core central portion 21a of the core portion 21 is caused to flow to the core left side portion 11b of the windward side heat exchange core portion 11, and further, the refrigerant flowing through the core right side portion 21c of the leeward side heat exchange core portion 21 is passed through the windward side heat. It can flow to the core right side part 11c of the exchange core part 11.
  • the refrigerant inlet and the refrigerant outlet are provided at one end in the longitudinal direction of the windward and leeward lower tank portions 13 and 23 as in the fifth embodiment, they face each other on the side far from the refrigerant inlet.
  • the first and second external communication are configured with respect to the configuration of the present embodiment so that a third flow of refrigerant corresponding to the refrigerant flow in the conventional front and rear U-turn type refrigerant evaporator is formed between the core portions.
  • the connection destination of the units 101 and 102 is changed.
  • the tube and the tank portion are configured separately, but in the refrigerant evaporator of the present embodiment, the tube and the tank portion are configured integrally. That is, the refrigerant evaporator according to the present embodiment is a stacked refrigerant evaporator in which a pair of plates are joined to form a tube and a part of the tank portion.
  • the refrigerant evaporator 1 includes a first tube unit group 310 in which a plurality of first tube units 311 are stacked, and a second tube unit in which a plurality of second tube units 321 are stacked. It has a group 320 and a third tube unit group 330 in which a plurality of third tube units 331 are stacked.
  • fins for promoting heat exchange are arranged between adjacent tube units.
  • the first, second, and third tube units 311, 321, and 331 are formed by joining a pair of vertically long plate-shaped members formed by performing metal processing such as press processing on a substantially rectangular metal plate material in the middle. Thus, one tube unit is obtained. Inside one tube unit, two straight tubes 111 and 211 are formed in parallel.
  • tank forming portions 301, 302, 303, and 304 are formed on both end sides in the longitudinal direction of the tube units 311, 321, and 331, respectively.
  • the tank forming portions 301, 302, 303, and 304 are through-hole portions that constitute a part of the tank portion that collects or distributes the refrigerant flowing through the tubes, and are formed when the tube units 311, 321, and 331 are stacked. A tank part is formed.
  • the leeward core right side portion 21c and the windward core right side portion 11c located on the right side when viewed from the upstream side in the wind flow direction are configured by the first tube unit group 310 shown in FIG. ing.
  • One first tube unit 311 has one tube 211 on the leeward core right side portion 21c and one tube 111 on the leeward core right side portion 11c.
  • the first tube unit 311 communicates with the upper end side of the tube 211 and communicates with the leeward upper tank forming portion 301 that forms the leeward upper tank portion and the upper end side of the tube 111 to form the leeward upper tank portion.
  • the first tube unit 311 has, on its lower end side, a first tank forming portion 303 that forms a first lower tank portion and a second tank forming portion 304 that forms a second lower tank portion.
  • the first tank forming portion 303 communicates with the lower end side of the tube 211 of the leeward core right side portion 21c
  • the second tank forming portion 304 is the tube 111 of the leeward core right side portion 11c. It communicates with the lower end side.
  • the leeward core left side portion 21b and the windward core left side portion 11b located on the left side when viewed from the upstream side in the wind flow direction are constituted by the second tube unit group 320 shown in FIG.
  • One second tube unit 321 has one tube 211 on the leeward core left side 21b and one tube 111 on the leeward core left side 11b.
  • the second tube unit 321 includes a leeward upper tank forming unit 301, an upwind upper tank forming unit 302, a first tank forming unit 303, and a second tank forming unit 304. Have.
  • the 1st tank formation part 303 is connected to the lower end side of the tube 111 of the windward side core left side part 11b, and the 2nd tank formation part 304 is connected to the leeward side core left side part 21b.
  • the tube 211 communicates with the lower end side.
  • the leeward core central portion 21a and the windward core central portion 11a located in the center in the left-right direction when viewed from the upstream side in the wind flow direction are configured by the third tube unit group 330 shown in FIG. ing.
  • One third tube unit 331 includes one tube 211 in the leeward core central portion 21a and one tube 111 in the leeward core central portion 11a.
  • the third tube unit 331 includes a leeward upper tank forming unit 301, an upwind upper tank forming unit 302, a first tank forming unit 303, and a second tank forming unit 304. Have.
  • the lower end side of the leeward side tube 211 and the lower end side of the upwind side tube 111 are connected to the communication portion 305. It communicates through.
  • the first tank forming unit 303 nor the second tank forming unit 304 communicates with the tubes 111 and 211.
  • the refrigerant that has passed through the leeward heat exchange core 21 as indicated by arrows A1, A2, and A3 is indicated by arrows B1, B2, and B3.
  • the winds as indicated by arrows C1, C2, C3 It flows through the upper heat exchange core part 11.
  • the refrigerant descending the tube 211 of the leeward core right side portion 21c as indicated by the arrow A1 flows through the first lower tank portion formed by the first tank forming portion 303 as indicated by the arrow B1, thereby causing the arrow C1. As shown above, it is distributed to the tube 111 of the windward core left side portion 11b and ascends.
  • the refrigerant that has descended the tube 211 of the leeward core central portion 21a as indicated by the arrow A3 flows through the communication portion 305 as indicated by the arrow B3, and ascends the tube 111 of the leeward central portion 11a as indicated by the arrow C3.
  • the refrigerant evaporator 1 allows the refrigerant flowing through the core left side portion 21b of the leeward side heat exchange core portion 21 to flow to the core right side portion 11c of the leeward side heat exchange core portion 11 and the leeward side heat.
  • the refrigerant flowing through the core right side portion 21c of the exchange core portion 21 is caused to flow to the core left side portion 11b of the windward side heat exchange core portion 11, and further, the refrigerant flowing through the core central portion 21a of the leeward side heat exchange core portion 21 is allowed to flow upwindward.
  • the heat exchange core portion 11 can flow into the core central portion 11a.
  • the refrigerant evaporator according to the first embodiment is configured by a stacked refrigerant evaporator.
  • the refrigerant evaporator according to the second to sixth embodiments is similar to the present embodiment in the stacked type.
  • a refrigerant evaporator can also be used.
  • the refrigerant flowing through the core left side portion 21 b of the leeward side heat exchange core portion 21 is changed to the core center portion of the windward side heat exchange core portion 11.
  • the refrigerant flowing through the core central portion 21a of the leeward side heat exchange core portion 21 is caused to flow to the core left side portion 11b of the leeward side heat exchange core portion 11 and further to the core right side portion of the leeward side heat exchange core portion 21.
  • the refrigerant flowing through 21c can flow to the core right side portion 11c of the windward side heat exchange core portion 11.
  • the number of tubes positioned between the first and second partition members 51, 52 of the refrigerant flow cross device 47 is the number of tubes constituting the core left side portion 21 b of the leeward heat exchange core portion 21. Although it is the same as the number and the number of the tubes which comprise the core right side part 21c of the leeward side heat exchange core part 21, it is not restricted to this.
  • the wider the refrigerant flow cross device 47 is, the more the flow rate of the third flow increases. Therefore, the flow rates of the first flow and the second flow are reduced, and the refrigerant flow The pressure loss when passing through the cross device 47 can be further reduced. Therefore, in each of the above-described embodiments, the number of tubes located between the first and second partition members 51 and 52 is set to be greater than the number of tubes constituting the core left side portion 21b of the leeward heat exchange core portion 21. While increasing, it is preferable to increase more than the number of the tubes which comprise the core right side part 21c of the leeward side heat exchange core part 21. FIG. The same applies to embodiments other than the first embodiment.
  • the refrigerant introduction port is provided in the leeward evaporation unit 20 and the refrigerant outlet port is provided in the windward evaporation unit 10, but the refrigerant introduction port and the refrigerant introduction port may be interchanged.
  • the refrigerant evaporator 1 when viewed from the upstream side in the flow direction of the blown air, the refrigerant evaporator 1 includes the core central portions 11a and 21a, the core left portions 11b and 21b, and the core right portions 11c and 21c.
  • most of the leeward core central portion 11a faces the entire area of the leeward core central portion 21a, and the remaining part of the leeward core central portion 11a faces a portion of the leeward core left side portion 21b. Also good.
  • the outer shapes of the windward and leeward lower tank portions 13 and 23 are the main body block 50 of the refrigerant flow cross device 47, the left core plate 41 and the tank main body 43, the right core plate 42 and
  • the tank main body portion 44 is configured, the windward side and leeward side lower tank portions 13 and 23 may be configured by one cylindrical member continuous in the longitudinal direction.
  • partition members corresponding to the first, second, and third partition members 51, 52, and 53 of the refrigerant flow cross device 47 can be provided as a refrigerant replacement portion in one cylindrical member. .
  • partition members corresponding to the first, second, and third partition members 51, 52, and 53 of the refrigerant flow cross device 47 can be provided as a refrigerant replacement portion in one cylindrical member. .
  • each heat exchange core portion 11, 21 is configured with a plurality of tubes 111, 211 and fins 112, 212 . You may make it comprise the heat exchange core parts 11 and 21.
  • the present invention is not limited thereto, and may be applied to, for example, a refrigeration cycle used in a water heater.

Landscapes

  • Engineering & Computer Science (AREA)
  • Physics & Mathematics (AREA)
  • Thermal Sciences (AREA)
  • Mechanical Engineering (AREA)
  • General Engineering & Computer Science (AREA)
  • Heat-Exchange Devices With Radiators And Conduit Assemblies (AREA)
  • Details Of Heat-Exchange And Heat-Transfer (AREA)
PCT/JP2013/001887 2012-03-22 2013-03-20 冷媒蒸発器 Ceased WO2013140797A1 (ja)

Applications Claiming Priority (2)

Application Number Priority Date Filing Date Title
JP2012-065473 2012-03-22
JP2012065473A JP5660068B2 (ja) 2012-03-22 2012-03-22 冷媒蒸発器

Publications (1)

Publication Number Publication Date
WO2013140797A1 true WO2013140797A1 (ja) 2013-09-26

Family

ID=49222272

Family Applications (1)

Application Number Title Priority Date Filing Date
PCT/JP2013/001887 Ceased WO2013140797A1 (ja) 2012-03-22 2013-03-20 冷媒蒸発器

Country Status (2)

Country Link
JP (1) JP5660068B2 (enExample)
WO (1) WO2013140797A1 (enExample)

Families Citing this family (7)

* Cited by examiner, † Cited by third party
Publication number Priority date Publication date Assignee Title
JP6322982B2 (ja) * 2013-12-06 2018-05-16 株式会社デンソー 冷媒蒸発器
JP6432275B2 (ja) * 2014-10-21 2018-12-05 株式会社デンソー 冷媒蒸発器
JP6477306B2 (ja) * 2015-07-06 2019-03-06 株式会社デンソー 冷媒蒸発器
JP6520563B2 (ja) * 2015-08-25 2019-05-29 株式会社デンソー 冷媒蒸発器
JP6801600B2 (ja) * 2017-07-27 2020-12-16 株式会社デンソー 熱交換器
JP6980607B2 (ja) * 2018-06-28 2021-12-15 京セラ株式会社 熱交換器および熱交換システム
WO2024190835A1 (ja) * 2023-03-16 2024-09-19 株式会社デンソー 熱交換器

Citations (2)

* Cited by examiner, † Cited by third party
Publication number Priority date Publication date Assignee Title
JP2006183962A (ja) * 2004-12-28 2006-07-13 Denso Corp 蒸発器
JP2012047438A (ja) * 2010-07-30 2012-03-08 Showa Denko Kk エバポレータ

Family Cites Families (5)

* Cited by examiner, † Cited by third party
Publication number Priority date Publication date Assignee Title
JP2002071283A (ja) * 2000-08-30 2002-03-08 Zexel Valeo Climate Control Corp 熱交換器
JP4124136B2 (ja) * 2003-04-21 2008-07-23 株式会社デンソー 冷媒蒸発器
JP4625687B2 (ja) * 2003-12-08 2011-02-02 昭和電工株式会社 熱交換器
JP4120611B2 (ja) * 2004-04-08 2008-07-16 株式会社デンソー 冷媒蒸発器
JP5062066B2 (ja) * 2008-07-04 2012-10-31 株式会社デンソー エジェクタ式冷凍サイクル用蒸発器ユニット

Patent Citations (2)

* Cited by examiner, † Cited by third party
Publication number Priority date Publication date Assignee Title
JP2006183962A (ja) * 2004-12-28 2006-07-13 Denso Corp 蒸発器
JP2012047438A (ja) * 2010-07-30 2012-03-08 Showa Denko Kk エバポレータ

Also Published As

Publication number Publication date
JP2013195029A (ja) 2013-09-30
JP5660068B2 (ja) 2015-01-28

Similar Documents

Publication Publication Date Title
JP4281634B2 (ja) 冷媒蒸発器
JP5660068B2 (ja) 冷媒蒸発器
JPH09170850A (ja) 冷媒蒸発器
KR101458523B1 (ko) 기액 분리형 판형 열교환기
JP5998854B2 (ja) 冷媒蒸発器
JP5852811B2 (ja) 熱交換器
JP2007155268A (ja) 熱交換器および冷媒蒸発器
JP2014055736A (ja) 熱交換器
JP6341099B2 (ja) 冷媒蒸発器
JP2013044504A5 (enExample)
WO2014188689A1 (ja) 冷媒蒸発器
JP6842915B6 (ja) エバポレータ
JP5338950B2 (ja) 熱交換器
JP6322982B2 (ja) 冷媒蒸発器
JP6131705B2 (ja) 冷媒蒸発器
JP2017003140A (ja) 冷媒蒸発器
JP2010107131A (ja) 冷媒蒸発器
JP2014228233A (ja) 冷媒蒸発器
JP6098358B2 (ja) 冷媒蒸発器
JP5761134B2 (ja) 冷媒蒸発器
JP5499834B2 (ja) 蒸発器
JP2012032129A (ja) エバポレータ
KR100585403B1 (ko) 헤더형 열교환기
JP2014219175A (ja) 冷媒蒸発器
JP6286294B2 (ja) 熱交換装置

Legal Events

Date Code Title Description
121 Ep: the epo has been informed by wipo that ep was designated in this application

Ref document number: 13765067

Country of ref document: EP

Kind code of ref document: A1

NENP Non-entry into the national phase

Ref country code: DE

122 Ep: pct application non-entry in european phase

Ref document number: 13765067

Country of ref document: EP

Kind code of ref document: A1