WO2013122176A1 - 半導体装置および半導体装置の製造方法 - Google Patents

半導体装置および半導体装置の製造方法 Download PDF

Info

Publication number
WO2013122176A1
WO2013122176A1 PCT/JP2013/053602 JP2013053602W WO2013122176A1 WO 2013122176 A1 WO2013122176 A1 WO 2013122176A1 JP 2013053602 W JP2013053602 W JP 2013053602W WO 2013122176 A1 WO2013122176 A1 WO 2013122176A1
Authority
WO
WIPO (PCT)
Prior art keywords
barrier layer
layer
semiconductor device
resistance region
insulating film
Prior art date
Legal status (The legal status is an assumption and is not a legal conclusion. Google has not performed a legal analysis and makes no representation as to the accuracy of the status listed.)
Ceased
Application number
PCT/JP2013/053602
Other languages
English (en)
French (fr)
Japanese (ja)
Inventor
竹内 克彦
理 谷口
Current Assignee (The listed assignees may be inaccurate. Google has not performed a legal analysis and makes no representation or warranty as to the accuracy of the list.)
Sony Corp
Original Assignee
Sony Corp
Priority date (The priority date is an assumption and is not a legal conclusion. Google has not performed a legal analysis and makes no representation as to the accuracy of the date listed.)
Filing date
Publication date
Application filed by Sony Corp filed Critical Sony Corp
Priority to CN201380008763.4A priority Critical patent/CN104106129B/zh
Priority to US14/374,842 priority patent/US9184274B2/en
Publication of WO2013122176A1 publication Critical patent/WO2013122176A1/ja
Anticipated expiration legal-status Critical
Ceased legal-status Critical Current

Links

Images

Classifications

    • HELECTRICITY
    • H10SEMICONDUCTOR DEVICES; ELECTRIC SOLID-STATE DEVICES NOT OTHERWISE PROVIDED FOR
    • H10DINORGANIC ELECTRIC SEMICONDUCTOR DEVICES
    • H10D30/00Field-effect transistors [FET]
    • H10D30/40FETs having zero-dimensional [0D], one-dimensional [1D] or two-dimensional [2D] charge carrier gas channels
    • H10D30/47FETs having zero-dimensional [0D], one-dimensional [1D] or two-dimensional [2D] charge carrier gas channels having 2D charge carrier gas channels, e.g. nanoribbon FETs or high electron mobility transistors [HEMT]
    • H10D30/471High electron mobility transistors [HEMT] or high hole mobility transistors [HHMT]
    • H10D30/473High electron mobility transistors [HEMT] or high hole mobility transistors [HHMT] having confinement of carriers by multiple heterojunctions, e.g. quantum well HEMT
    • H10D30/4732High electron mobility transistors [HEMT] or high hole mobility transistors [HHMT] having confinement of carriers by multiple heterojunctions, e.g. quantum well HEMT using Group III-V semiconductor material
    • HELECTRICITY
    • H01ELECTRIC ELEMENTS
    • H01LSEMICONDUCTOR DEVICES NOT COVERED BY CLASS H10
    • H01L21/00Processes or apparatus adapted for the manufacture or treatment of semiconductor or solid state devices or of parts thereof
    • H01L21/02Manufacture or treatment of semiconductor devices or of parts thereof
    • H01L21/02104Forming layers
    • H01L21/02107Forming insulating materials on a substrate
    • H01L21/02225Forming insulating materials on a substrate characterised by the process for the formation of the insulating layer
    • H01L21/0226Forming insulating materials on a substrate characterised by the process for the formation of the insulating layer formation by a deposition process
    • H01L21/02263Forming insulating materials on a substrate characterised by the process for the formation of the insulating layer formation by a deposition process deposition from the gas or vapour phase
    • H01L21/02271Forming insulating materials on a substrate characterised by the process for the formation of the insulating layer formation by a deposition process deposition from the gas or vapour phase deposition by decomposition or reaction of gaseous or vapour phase compounds, i.e. chemical vapour deposition
    • H01L21/0228Forming insulating materials on a substrate characterised by the process for the formation of the insulating layer formation by a deposition process deposition from the gas or vapour phase deposition by decomposition or reaction of gaseous or vapour phase compounds, i.e. chemical vapour deposition deposition by cyclic CVD, e.g. ALD, ALE, pulsed CVD
    • HELECTRICITY
    • H01ELECTRIC ELEMENTS
    • H01LSEMICONDUCTOR DEVICES NOT COVERED BY CLASS H10
    • H01L21/00Processes or apparatus adapted for the manufacture or treatment of semiconductor or solid state devices or of parts thereof
    • H01L21/02Manufacture or treatment of semiconductor devices or of parts thereof
    • H01L21/02104Forming layers
    • H01L21/02365Forming inorganic semiconducting materials on a substrate
    • H01L21/02518Deposited layers
    • H01L21/02521Materials
    • H01L21/02538Group 13/15 materials
    • H01L21/02543Phosphides
    • HELECTRICITY
    • H01ELECTRIC ELEMENTS
    • H01LSEMICONDUCTOR DEVICES NOT COVERED BY CLASS H10
    • H01L21/00Processes or apparatus adapted for the manufacture or treatment of semiconductor or solid state devices or of parts thereof
    • H01L21/02Manufacture or treatment of semiconductor devices or of parts thereof
    • H01L21/02104Forming layers
    • H01L21/02365Forming inorganic semiconducting materials on a substrate
    • H01L21/02518Deposited layers
    • H01L21/02521Materials
    • H01L21/02538Group 13/15 materials
    • H01L21/02546Arsenides
    • HELECTRICITY
    • H10SEMICONDUCTOR DEVICES; ELECTRIC SOLID-STATE DEVICES NOT OTHERWISE PROVIDED FOR
    • H10DINORGANIC ELECTRIC SEMICONDUCTOR DEVICES
    • H10D30/00Field-effect transistors [FET]
    • H10D30/01Manufacture or treatment
    • H10D30/015Manufacture or treatment of FETs having heterojunction interface channels or heterojunction gate electrodes, e.g. HEMT
    • HELECTRICITY
    • H10SEMICONDUCTOR DEVICES; ELECTRIC SOLID-STATE DEVICES NOT OTHERWISE PROVIDED FOR
    • H10DINORGANIC ELECTRIC SEMICONDUCTOR DEVICES
    • H10D30/00Field-effect transistors [FET]
    • H10D30/40FETs having zero-dimensional [0D], one-dimensional [1D] or two-dimensional [2D] charge carrier gas channels
    • H10D30/47FETs having zero-dimensional [0D], one-dimensional [1D] or two-dimensional [2D] charge carrier gas channels having 2D charge carrier gas channels, e.g. nanoribbon FETs or high electron mobility transistors [HEMT]
    • H10D30/471High electron mobility transistors [HEMT] or high hole mobility transistors [HHMT]
    • H10D30/473High electron mobility transistors [HEMT] or high hole mobility transistors [HHMT] having confinement of carriers by multiple heterojunctions, e.g. quantum well HEMT
    • H10D30/4732High electron mobility transistors [HEMT] or high hole mobility transistors [HHMT] having confinement of carriers by multiple heterojunctions, e.g. quantum well HEMT using Group III-V semiconductor material
    • H10D30/4738High electron mobility transistors [HEMT] or high hole mobility transistors [HHMT] having confinement of carriers by multiple heterojunctions, e.g. quantum well HEMT using Group III-V semiconductor material having multiple donor layers
    • HELECTRICITY
    • H10SEMICONDUCTOR DEVICES; ELECTRIC SOLID-STATE DEVICES NOT OTHERWISE PROVIDED FOR
    • H10DINORGANIC ELECTRIC SEMICONDUCTOR DEVICES
    • H10D62/00Semiconductor bodies, or regions thereof, of devices having potential barriers
    • H10D62/80Semiconductor bodies, or regions thereof, of devices having potential barriers characterised by the materials
    • H10D62/85Semiconductor bodies, or regions thereof, of devices having potential barriers characterised by the materials being Group III-V materials, e.g. GaAs
    • H10D62/852Semiconductor bodies, or regions thereof, of devices having potential barriers characterised by the materials being Group III-V materials, e.g. GaAs being Group III-V materials comprising three or more elements, e.g. AlGaN or InAsSbP
    • HELECTRICITY
    • H10SEMICONDUCTOR DEVICES; ELECTRIC SOLID-STATE DEVICES NOT OTHERWISE PROVIDED FOR
    • H10DINORGANIC ELECTRIC SEMICONDUCTOR DEVICES
    • H10D62/00Semiconductor bodies, or regions thereof, of devices having potential barriers
    • H10D62/10Shapes, relative sizes or dispositions of the regions of the semiconductor bodies; Shapes of the semiconductor bodies
    • H10D62/13Semiconductor regions connected to electrodes carrying current to be rectified, amplified or switched, e.g. source or drain regions
    • H10D62/149Source or drain regions of field-effect devices
    • H10D62/151Source or drain regions of field-effect devices of IGFETs 
    • HELECTRICITY
    • H10SEMICONDUCTOR DEVICES; ELECTRIC SOLID-STATE DEVICES NOT OTHERWISE PROVIDED FOR
    • H10DINORGANIC ELECTRIC SEMICONDUCTOR DEVICES
    • H10D62/00Semiconductor bodies, or regions thereof, of devices having potential barriers
    • H10D62/10Shapes, relative sizes or dispositions of the regions of the semiconductor bodies; Shapes of the semiconductor bodies
    • H10D62/17Semiconductor regions connected to electrodes not carrying current to be rectified, amplified or switched, e.g. channel regions
    • H10D62/343Gate regions of field-effect devices having PN junction gates
    • HELECTRICITY
    • H10SEMICONDUCTOR DEVICES; ELECTRIC SOLID-STATE DEVICES NOT OTHERWISE PROVIDED FOR
    • H10DINORGANIC ELECTRIC SEMICONDUCTOR DEVICES
    • H10D62/00Semiconductor bodies, or regions thereof, of devices having potential barriers
    • H10D62/80Semiconductor bodies, or regions thereof, of devices having potential barriers characterised by the materials
    • H10D62/82Heterojunctions
    • H10D62/824Heterojunctions comprising only Group III-V materials heterojunctions, e.g. GaN/AlGaN heterojunctions
    • HELECTRICITY
    • H10SEMICONDUCTOR DEVICES; ELECTRIC SOLID-STATE DEVICES NOT OTHERWISE PROVIDED FOR
    • H10DINORGANIC ELECTRIC SEMICONDUCTOR DEVICES
    • H10D62/00Semiconductor bodies, or regions thereof, of devices having potential barriers
    • H10D62/80Semiconductor bodies, or regions thereof, of devices having potential barriers characterised by the materials
    • H10D62/85Semiconductor bodies, or regions thereof, of devices having potential barriers characterised by the materials being Group III-V materials, e.g. GaAs
    • H10D62/854Semiconductor bodies, or regions thereof, of devices having potential barriers characterised by the materials being Group III-V materials, e.g. GaAs further characterised by the dopants
    • HELECTRICITY
    • H10SEMICONDUCTOR DEVICES; ELECTRIC SOLID-STATE DEVICES NOT OTHERWISE PROVIDED FOR
    • H10DINORGANIC ELECTRIC SEMICONDUCTOR DEVICES
    • H10D64/00Electrodes of devices having potential barriers
    • H10D64/20Electrodes characterised by their shapes, relative sizes or dispositions 
    • H10D64/27Electrodes not carrying the current to be rectified, amplified, oscillated or switched, e.g. gates
    • H10D64/311Gate electrodes for field-effect devices
    • H10D64/411Gate electrodes for field-effect devices for FETs
    • H10D64/511Gate electrodes for field-effect devices for FETs for IGFETs
    • H10D64/512Disposition of the gate electrodes, e.g. buried gates
    • H10D64/513Disposition of the gate electrodes, e.g. buried gates within recesses in the substrate, e.g. trench gates, groove gates or buried gates
    • HELECTRICITY
    • H10SEMICONDUCTOR DEVICES; ELECTRIC SOLID-STATE DEVICES NOT OTHERWISE PROVIDED FOR
    • H10DINORGANIC ELECTRIC SEMICONDUCTOR DEVICES
    • H10D64/00Electrodes of devices having potential barriers
    • H10D64/20Electrodes characterised by their shapes, relative sizes or dispositions 
    • H10D64/27Electrodes not carrying the current to be rectified, amplified, oscillated or switched, e.g. gates
    • H10D64/311Gate electrodes for field-effect devices
    • H10D64/411Gate electrodes for field-effect devices for FETs
    • H10D64/511Gate electrodes for field-effect devices for FETs for IGFETs
    • H10D64/517Gate electrodes for field-effect devices for FETs for IGFETs characterised by the conducting layers
    • H10D64/518Gate electrodes for field-effect devices for FETs for IGFETs characterised by the conducting layers characterised by their lengths or sectional shapes
    • HELECTRICITY
    • H10SEMICONDUCTOR DEVICES; ELECTRIC SOLID-STATE DEVICES NOT OTHERWISE PROVIDED FOR
    • H10DINORGANIC ELECTRIC SEMICONDUCTOR DEVICES
    • H10D64/00Electrodes of devices having potential barriers
    • H10D64/60Electrodes characterised by their materials
    • H10D64/602Heterojunction gate electrodes for FETs
    • HELECTRICITY
    • H10SEMICONDUCTOR DEVICES; ELECTRIC SOLID-STATE DEVICES NOT OTHERWISE PROVIDED FOR
    • H10DINORGANIC ELECTRIC SEMICONDUCTOR DEVICES
    • H10D64/00Electrodes of devices having potential barriers
    • H10D64/60Electrodes characterised by their materials
    • H10D64/66Electrodes having a conductor capacitively coupled to a semiconductor by an insulator, e.g. MIS electrodes
    • H10D64/68Electrodes having a conductor capacitively coupled to a semiconductor by an insulator, e.g. MIS electrodes characterised by the insulator, e.g. by the gate insulator
    • H10D64/691Electrodes having a conductor capacitively coupled to a semiconductor by an insulator, e.g. MIS electrodes characterised by the insulator, e.g. by the gate insulator comprising metallic compounds, e.g. metal oxides or metal silicates 

Definitions

  • the present technology relates to a semiconductor device and a method for manufacturing the semiconductor device, and more particularly to a semiconductor device including a low resistance region in a barrier layer between a gate electrode and a channel layer and a method for manufacturing the semiconductor device.
  • JPHEMT junction field effect transistor
  • JPHEMT is a semiconductor device that performs current modulation using a pn junction and a heterojunction.
  • a semiconductor device includes, for example, a heterojunction between a channel layer made of InGaAs and a barrier layer (AlGaAs) made of AlGaAs having a wider band gap than the channel layer (InGaAs).
  • a low resistance region containing impurities is provided on the surface layer opposite to the channel layer in the barrier layer (AlGaAs), and a gate electrode is connected to the low resistance region.
  • a carrier supply region containing impurities serving as carriers is provided on the channel layer side of the low resistance region.
  • a source electrode and a drain electrode are ohmic-bonded to the barrier layer (AlGaAs) on both sides of the low resistance region and the gate electrode.
  • a two-dimensional electron gas layer in which electrons serving as carriers are confined at a high concentration is formed at the interface on the barrier layer side in the channel layer. Then, by applying a voltage to the gate electrode 20 to control the concentration of the two-dimensional electron gas layer, the current flowing between the source electrode and the drain electrode via the channel layer portion below the low resistance region is modulated (described above). For example, see Patent Document 1 below).
  • the mobility of carriers (electrons) flowing between the source electrode and the drain electrode through the channel layer can be increased by reducing the impurity concentration of the channel layer.
  • a semiconductor device having such a JPHEMT structure is expected to have higher performance such as a reduction in off-current value.
  • the present technology provides a semiconductor device capable of reducing the off-current value in a configuration in which a low resistance region is provided in a barrier layer between a gate electrode and a channel layer, and a method for manufacturing the same.
  • the semiconductor device of the present technology for achieving such an object includes a channel layer made of a compound semiconductor and an upper barrier layer provided on the channel layer.
  • the upper barrier layer includes a first barrier layer constituting an interface layer on the channel layer side, and a second barrier layer provided on the surface layer of the upper barrier layer.
  • the first barrier layer is made of a compound semiconductor whose carrier traveling side energy band at the junction with the channel layer is farther from the intrinsic Fermi level in the channel layer than the channel layer.
  • the energy band on the opposite side to the carrier traveling side across the band gap in the bonded portion is higher than that of the first barrier layer.
  • a compound semiconductor far from the intrinsic Fermi level in the barrier layer is composed of a compound semiconductor far from the intrinsic Fermi level in the barrier layer.
  • At least the surface layer of such a second barrier layer is provided with a low resistance region which is kept at a lower resistance than the surroundings by containing an impurity having a conductivity type opposite to that of the carrier.
  • a source electrode and a drain electrode connected to the upper barrier layer are provided at positions sandwiching the low resistance region.
  • a gate electrode is provided on the low resistance region via a gate insulating film.
  • the energy band on the carrier traveling side at the junction with the channel layer includes the first barrier layer made of a compound semiconductor farther from the intrinsic Fermi level in the channel layer than the channel layer.
  • the gate voltage applied to the gate electrode expands or contracts the carrier depletion region in the channel layer portion corresponding to the low resistance region under the gate electrode, and the current flowing between the source electrode and the drain electrode through the channel layer is modulated. Is done.
  • a gate electrode is provided on the low resistance region formed in the surface layer of the upper barrier layer including the first barrier layer via a gate insulating film.
  • the surface layer of the upper barrier layer in which the low resistance region is provided has an energy band on the side opposite to the carrier travel side across the band gap at the junction in the state of being joined to the first barrier layer, A second barrier layer made of a compound semiconductor farther from the intrinsic Fermi level in the first barrier layer than the first barrier layer is provided.
  • This technique is also a method for manufacturing a semiconductor device having the above-described configuration, and performs the following procedure.
  • the energy band on the carrier traveling side at the junction with the channel layer is composed of the compound semiconductor farther from the intrinsic Fermi level in the channel layer than the channel layer.
  • a first barrier layer is formed.
  • the energy band on the opposite side to the carrier traveling side across the band gap at the junction is higher than that of the first barrier layer.
  • a second barrier layer made of a compound semiconductor far from the intrinsic Fermi level in the first barrier layer is formed.
  • the second barrier layer is formed so as to have a low resistance region which is kept at a lower resistance than the surrounding by containing impurities of a conductivity type opposite to that of carriers in at least the surface layer.
  • the first barrier layer forms an interface layer on the channel layer side, and the second barrier layer is connected to the upper barrier layer provided on the surface layer at each position sandwiching the low resistance region.
  • a source electrode and a drain electrode are formed. Further, a gate insulating film is formed on the low resistance region, and then a gate electrode is formed on the low resistance region via the gate insulating film.
  • FIG. 1 is a cross-sectional view showing the main configuration of the semiconductor device according to the first embodiment.
  • FIG. 2 is an energy band configuration diagram at the time of off operation of the semiconductor device of the first embodiment.
  • FIG. 3 is an energy band configuration diagram when the semiconductor device of the first embodiment is in an on-operation.
  • FIG. 4 is a cross-sectional view showing the formation of a carrier-depleted region during the off operation of the semiconductor device of the first embodiment.
  • FIG. 5A is a cross-sectional process diagram (part 1) illustrating the manufacturing procedure of the semiconductor device of the first embodiment;
  • FIG. 5B is a cross-sectional process diagram (part 1) illustrating the manufacturing procedure of the semiconductor device according to the first embodiment;
  • FIG. 1 is a cross-sectional view showing the main configuration of the semiconductor device according to the first embodiment.
  • FIG. 2 is an energy band configuration diagram at the time of off operation of the semiconductor device of the first embodiment.
  • FIG. 3 is an energy band configuration diagram when the semiconductor device of the first embodiment is in
  • FIG. 6A is a sectional process diagram (part 2) illustrating the manufacturing procedure of the semiconductor device of the first embodiment
  • FIG. 6B is a sectional process diagram (part 2) illustrating the manufacturing procedure of the semiconductor device of the first embodiment
  • FIG. 7 is a graph of gate voltage-drain current showing the effect of the first embodiment.
  • FIG. 8 is a graph of gate voltage-drain current when the high resistance region has each impurity concentration in the structure of the first embodiment.
  • FIG. 9 is a cross-sectional view showing a main configuration of the semiconductor device according to the second embodiment.
  • FIG. 10 is an energy band configuration diagram at the time of the off operation of the semiconductor device of the second embodiment.
  • FIG. 11 is a cross-sectional view showing the main configuration of the semiconductor device of the third embodiment.
  • FIG. 12 is a cross-sectional view showing the main configuration of the semiconductor device of the fourth embodiment.
  • FIG. 13 is a cross-sectional view showing the main configuration of the semiconductor device of the fifth embodiment.
  • FIG. 14 is a cross-sectional view showing a main configuration of a semiconductor device according to the sixth embodiment.
  • FIG. 15A is a cross-sectional process diagram (part 1) illustrating the manufacturing procedure of the semiconductor device according to the sixth embodiment;
  • FIG. 15B is a sectional process diagram (part 1) illustrating the manufacturing procedure of the semiconductor device of the sixth embodiment;
  • FIG. 16A is a sectional process diagram (part 2) illustrating the manufacturing procedure of the semiconductor device of the sixth embodiment;
  • FIG. 16B is a sectional process diagram (part 2) illustrating the manufacturing procedure of the semiconductor device of the sixth embodiment;
  • FIG. 15A is a sectional process diagram (part 2) illustrating the manufacturing procedure of the semiconductor device of the sixth embodiment;
  • FIG. 16B is a sectional process diagram (part 2) illustrating the manufacturing procedure of
  • FIG. 17A is a sectional process diagram (part 1) showing a manufacturing procedure when the sixth embodiment is combined with the fifth embodiment.
  • FIG. 17B is a sectional process diagram (part 1) illustrating a manufacturing procedure when the sixth embodiment is combined with the fifth embodiment.
  • FIG. 18A is a sectional process diagram (part 2) illustrating a manufacturing procedure when the sixth embodiment is combined with the fifth embodiment.
  • FIG. 18B is a sectional process diagram (part 2) illustrating a manufacturing procedure when the sixth embodiment is combined with the fifth embodiment.
  • FIG. 19 is a cross-sectional view showing a main configuration of a semiconductor device according to the seventh embodiment.
  • FIG. 20 is a cross-sectional view showing a main configuration of the semiconductor device according to the eighth embodiment.
  • FIG. 21A is a sectional process diagram illustrating the manufacturing procedure of the semiconductor device of the eighth embodiment.
  • FIG. 21B is a sectional process diagram illustrating the manufacturing procedure of the semiconductor device of the eighth embodiment.
  • FIG. 22 is a cross-sectional view showing the main configuration of the semiconductor device according to the ninth embodiment.
  • FIG. 23 is a cross-sectional view showing the main configuration of the semiconductor device according to the tenth embodiment.
  • FIG. 24A is a sectional process diagram illustrating the manufacturing procedure of the semiconductor device of the tenth embodiment.
  • FIG. 24B is a sectional process diagram illustrating the manufacturing procedure of the semiconductor device of the tenth embodiment.
  • FIG. 25 is a cross-sectional view showing a main configuration of the semiconductor device according to the eleventh embodiment.
  • FIG. 26A is a sectional process diagram (part 1) illustrating a first example.
  • FIG. 26B is a sectional process diagram (part 1) illustrating a first example.
  • FIG. 27A is a sectional process diagram (part 2) illustrating the first example.
  • FIG. 27B is a sectional process diagram (part 2) illustrating the first example.
  • FIG. 28A is a sectional process diagram (part 3) illustrating the first example.
  • FIG. 28B is a sectional process diagram (part 3) illustrating the first example.
  • FIG. 29 is a cross-sectional view showing the main configuration of the semiconductor device of the twelfth embodiment.
  • FIG. 30A is a sectional process diagram (part 1) illustrating a second example.
  • FIG. 30B is a sectional process diagram (part 1) illustrating a second example.
  • FIG. 31A is a sectional process diagram (part 2) illustrating a second example.
  • FIG. 31B is a sectional process diagram (part 2) illustrating the second example.
  • FIG. 32A is a sectional process diagram (part 3) illustrating the second example.
  • FIG. 32B is a sectional process diagram (part 3) illustrating the second example.
  • FIG. 33 is a sectional process diagram (part 4) showing the second example.
  • FIG. 34 is a cross-sectional view showing the main configuration of the semiconductor device according to the thirteenth embodiment.
  • FIG. 35A is a sectional process diagram (part 1) illustrating a third example.
  • FIG. 35B is a sectional process diagram (part 1) illustrating a third example.
  • FIG. 36A is a sectional process diagram (part 2) illustrating a third example.
  • FIG. 36B is a sectional process diagram (part 2) illustrating the third example.
  • FIG. 37A is a sectional process diagram (part 3) illustrating the third example.
  • FIG. 37B is a sectional process diagram (part 3) illustrating the third example.
  • FIG. 38 is a sectional process diagram (part 4) showing the third example.
  • FIG. 39 is a cross-sectional view showing the main configuration of the semiconductor device according to the fourteenth embodiment.
  • FIG. 40A is a sectional process diagram (part 1) illustrating a fourth example.
  • FIG. 40B is a sectional process diagram (part 1) illustrating a fourth example.
  • FIG. 41A is a sectional process diagram (part 2) illustrating the fourth example.
  • FIG. 41B is a sectional process diagram (part 2) illustrating the fourth example.
  • FIG. 42A is a sectional process diagram (part 3) illustrating the fourth example.
  • FIG. 42B is a sectional process diagram (part 3) illustrating the fourth example.
  • First Embodiment (Example in which a carrier supply region is provided on the surface layer of the first barrier layer) 2.
  • Second Embodiment Example in which a carrier supply region is provided in the center of the first barrier layer) 3.
  • Third Embodiment Example in which carrier supply region and low resistance region are joined
  • Fourth Embodiment Example in which the second barrier layer surrounding the low resistance region has a low resistance
  • Fifth Embodiment Example in which a cap layer is provided between the second barrier layer and the source and drain electrodes) 6).
  • First Embodiment >> (Example in which a carrier supply region is provided on the surface layer of the first barrier layer)
  • the configuration of the semiconductor device of the first embodiment to which the present technology is applied the operation of the semiconductor device of the first embodiment, the method for manufacturing the semiconductor device of the first embodiment, The operation and effect of the semiconductor device of the first embodiment will be described in this order.
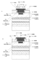
  • FIG. 1 is a cross-sectional view showing a main configuration of a semiconductor device according to a first embodiment to which the present technology is applied.
  • 2 is an energy band configuration diagram at the time of off operation of the semiconductor device of the first embodiment
  • FIG. 3 is an energy band configuration diagram at the time of on operation of the semiconductor device of the first embodiment.
  • a semiconductor device 1-1 according to the first embodiment shown in FIG. 1 is a so-called JPHEMT in which a barrier layer is provided between a gate electrode and a channel layer, and a reverse resistance type low resistance region is provided in the barrier layer.
  • the semiconductor device 1-1 includes a buffer layer 12, a lower barrier layer 13, a channel layer 14, a first barrier layer 15, and a second barrier layer 16 made of each compound semiconductor material on a substrate 11 made of a compound semiconductor.
  • the upper barrier layers are stacked in this order.
  • a carrier supply region 13a is provided in the lower barrier layer 13, and a carrier supply region 15a is provided in the first barrier layer 15 of the upper barrier layer.
  • a low resistance region 16g is provided in the second barrier layer 16 of the upper barrier layer.
  • the carrier travel side sandwiches the band gap in the second barrier layer 16.
  • the first feature is that the energy band on the opposite side of the first barrier layer 15 is farther from the intrinsic Fermi level in the first barrier layer than the energy band on the opposite side of the carrier travel side across the band gap in the first barrier layer 15. .
  • the energy band on the carrier running side is an energy band occupied by majority carriers.
  • the energy band on the opposite side of the carrier traveling side across the band gap is an energy band occupied by minority carriers.
  • the energy band on the carrier traveling side is a conduction band (conduction band)
  • the energy band opposite to the carrier traveling side across the band gap is the valence. It is a band (valence band).
  • the energy band on the carrier traveling side is a valence band (valence band), and the energy band on the opposite side of the carrier traveling side across the band gap is It is a reduction band (conduction band).
  • the energy band opposite to the carrier traveling side across the band gap is also simply referred to as the energy band opposite to the carrier traveling side.
  • An insulating film 21 is provided on the stacked body of each layer made of the compound semiconductor material as described above.
  • the insulating film 21 is provided with a source opening 21s / drain opening 21d and a gate opening 21g therebetween.
  • a source electrode 23s / drain electrode 23d connected to the second barrier layer 16 through a source opening 21s and a drain opening 21d is provided.
  • the second characteristic portion is that the gate electrode 27 is provided on the low resistance region 16g exposed at the bottom of the gate opening 21g via the gate insulating film 25. .
  • the substrate 11 is made of a semi-insulating compound semiconductor material.
  • a substrate 11 is made of, for example, a III-V group compound semiconductor material.
  • a semi-insulating single crystal GaAs substrate or an InP substrate is used.
  • the buffer layer 12 is composed of, for example, a compound semiconductor layer epitaxially grown on the substrate 11, and is composed of a compound semiconductor that satisfactorily lattice matches with the substrate 11 and the lower barrier layer 13.
  • a compound semiconductor layer epitaxially grown on the substrate 11 is composed of a compound semiconductor that satisfactorily lattice matches with the substrate 11 and the lower barrier layer 13.
  • the substrate 11 is made of a single crystal GaAs substrate, as an example of such a buffer layer 12, an epitaxial growth layer of u-GaAs to which no impurity is added (u- represents that no impurity is added; the same applies hereinafter). Is used.
  • the lower barrier layer 13 is well lattice matched to the buffer layer 12 and the upper channel layer 14.
  • an epitaxial growth layer of AlGaAs mixed crystal is used.
  • the lower barrier layer 13 is composed of an Al 0.2 Ga 0.8 As mixed crystal having a composition ratio of aluminum (Al) in the group III element of 0.2 .
  • Such a lower barrier layer 13 has a carrier supply region 13a containing impurities for supplying carriers.
  • a carrier supply region 13a containing impurities for supplying carriers it is assumed that electrons are used as carriers, and an n-type carrier supply region 13 a containing an n-type impurity as an impurity for supplying electrons is disposed in an intermediate portion of the lower barrier layer 13 in the film thickness direction.
  • Silicon (Si) is used as the n-type impurity in the lower barrier layer 13 composed of Al 0.2 Ga 0.8 As mixed crystal.
  • the film thickness portion other than the carrier supply region 13a in the lower barrier layer 13 is formed as high resistance regions 13b and 13b ′ which are not doped with impurities or contain low-concentration n-type impurities or p-type impurities. Good.
  • These high resistance regions 13b and 13b ′ preferably have an impurity concentration of 1 ⁇ 10 17 / cm 3 or less and a specific resistance of 1 ⁇ 10 ⁇ 2 ⁇ cm or more.
  • a high resistance region 13b having a thickness of about 200 nm and containing no impurities is provided on the buffer layer 12 side.
  • a carrier supply region 13a having a film thickness of about 4 nm and containing about 1.6 ⁇ 10 12 pieces / cm 2 of silicon (Si) is laminated thereon.
  • a high resistance region 13b ′ having a film thickness of about 2 nm and not containing impurities is laminated on the upper portion.
  • the lower barrier layer 13 may not include the high resistance regions 13b and 13b ', and the entire region may be configured as the carrier supply region 13a.
  • the channel layer 14 is a current path between the source electrode 23s and the drain electrode 23d, and carriers supplied from a carrier supply region 13a of the lower barrier layer 13 and a carrier supply region 15a of the first barrier layer 15 described later. Is a layer that accumulates.
  • Such a channel layer 14 is made of a compound semiconductor that is heterojunction with the lower barrier layer 13, and is well lattice-matched with the lower barrier layer 13. Further, in the channel layer 14, the energy band on the carrier traveling side in the heterojunction with the lower barrier layer 13 is more in the channel layer than the energy band on the carrier traveling side in the compound semiconductor material constituting the interface region of the lower barrier layer 13. Suppose that it is comprised using the compound semiconductor close
  • the energy band on the majority carrier traveling side in the heterojunction with the lower barrier layer 13 is greater than the energy band on the majority carrier traveling side in the compound semiconductor material constituting the interface region of the lower barrier layer 13. Also, it is assumed that it is configured using a compound semiconductor close to the energy band on the minority carrier traveling side.
  • the intrinsic Fermi level Ef14 in the channel layer includes the lowest energy of the conduction band of the channel layer 14 (hereinafter referred to as the conduction band energy Ec) and the highest energy of the valence band (hereinafter referred to as the following). It is located in the middle of the valence band energy Ev).
  • the channel layer 14 is formed using a III-V group compound semiconductor material having a conduction band energy Ec lower than that of the compound semiconductor material constituting the lower barrier layer 13 at the junction with the lower barrier layer 13.
  • the Such a channel layer 14 is better as the difference in the conduction band energy Ec from the lower barrier layer 13 is larger at the junction with the lower barrier layer 13.
  • the energy band on the carrier traveling side is a valence band (valence band). Therefore, the channel layer 14 is configured using a compound semiconductor material having a valence band energy Ev higher than that of the compound semiconductor material constituting the lower barrier layer 13 at the junction with the lower barrier layer 13.
  • Such a channel layer 14 is better as the difference in valence band energy Ev between the lower barrier layer 13 and the lower barrier layer 13 at the junction with the lower barrier layer 13 is larger.
  • the carrier is an electron
  • the description of the impurity and energy band may be reversed.
  • the channel layer 14 is made of an InGaAs mixed crystal having a narrower band gap than the AlGaAs mixed crystal.
  • the composition ratio of indium (In) is increased, the band gap in the InGaAs mixed crystal can be narrowed, and the difference in the conduction band energy Ec from the lower barrier layer 13 made of the AlGaAs mixed crystal can be increased.
  • the InGaAs mixed crystal constituting the channel layer 14 may have a composition ratio of indium (In) in the group III element of 0.1 or more.
  • the channel layer 14 As an example of the channel layer 14 as described above, an In 0.2 Ga 0.8 As mixed crystal having a composition ratio of indium (In) in the group III element of 0.2 is used. As a result, the channel layer 14 has a sufficient difference in conduction band energy Ec while ensuring lattice matching with the lower barrier layer 13.
  • Such a channel layer 14 may be a u-InGaAs mixed crystal layer to which no impurity is added. Thereby, carrier impurity scattering in the channel layer 14 is suppressed, and carrier movement with high mobility is realized.
  • the channel layer 14 may be an epitaxial growth layer formed with a film thickness of 15 nm or less, whereby a crystallinity is ensured and a carrier traveling property is excellent.
  • the first barrier layer 15 constitutes a part of the upper barrier layer provided on the channel layer 14, and constitutes an interface layer in contact with the channel layer 14, and is well lattice-matched with the channel layer 14. is doing.
  • Such a first barrier layer 15 is a compound semiconductor whose energy band on the carrier traveling side is farther from the intrinsic Fermi level Ef14 in the channel layer than the compound semiconductor material constituting the channel layer 14 at the junction with the channel layer 14. It is comprised using. That is, the first barrier layer 15 is a compound semiconductor whose energy band on the majority carrier traveling side is farther from the energy band on the minority carrier traveling side than the compound semiconductor material constituting the channel layer 14 at the junction with the channel layer 14. It is assumed that it is configured.
  • the first barrier layer 15 is configured using a III-V group compound semiconductor material having a conduction band energy Ec higher than that of the compound semiconductor material forming the channel layer 14. Such a first barrier layer 15 is better as the difference in conduction band energy Ec between the channel layer 14 and the channel layer 14 at the junction with the channel layer 14 is larger.
  • the first barrier layer 15 as described above is made of, for example, an AlGaAs mixed crystal having a wider band gap than the InGaAs mixed crystal.
  • the so-called source resistance can be prevented from increasing by keeping the composition ratio of aluminum (Al) low.
  • the AlGaAs mixed crystal constituting the first barrier layer 15 may have a composition ratio of aluminum (Al) in the group III element of 0.25 or less.
  • the first barrier layer 15 As an example of the first barrier layer 15 as described above, an Al 0.2 Ga 0.8 As mixed crystal in which the composition ratio of aluminum (Al) in the group III element is 0.2 is used. Thereby, lattice matching with the channel layer 14 is also ensured.
  • the first barrier layer 15 does not need to have the same composition as the lower barrier layer 13 and may be made of an AlGaAs mixed crystal having a composition suitable for each.
  • the first barrier layer 15 has a carrier supply region 15a containing impurities for supplying carriers.
  • an n-type carrier supply region 15 a containing silicon (Si) as an n-type impurity for supplying electrons is disposed on the surface layer of the first barrier layer 15.
  • the film thickness portion of the first barrier layer 15 other than the carrier supply region 15a may be formed as a high resistance region 15b containing no impurities or containing low concentration impurities.
  • the high resistance region 15b contains an impurity, it contains an n-type impurity or a p-type impurity.
  • the impurity concentration is 1 ⁇ 10 17 atoms / cm 3 or less and the specific resistance is 1 ⁇ 10 ⁇ 2 ⁇ cm or more.
  • the first barrier layer 15 has a thickness of about 6 nm, and in order from the channel layer 14 side, the high-resistance region 15b having a thickness of about 2 nm and not containing impurities, and silicon (Si) of about 4 nm with a thickness of 1.6 ⁇ 10 12.
  • the carrier supply region 15a containing about 1 piece / cm 2 is laminated.
  • the first barrier layer 15 is not limited to AlGaAs mixed crystal, but is composed of In (AlGa) AsP mixed crystal which is a III-V group compound semiconductor. May be.
  • the In composition ratio in the channel layer 14 made of InGaAs mixed crystal can be increased, and the carrier mobility in the channel layer 14 can be increased.
  • the first barrier layer 15 may be configured as a carrier supply region in the same manner as the lower barrier layer 13.
  • the second barrier layer 16 constitutes a part of the upper barrier layer provided on the channel layer 14 and constitutes a surface layer of the upper barrier layer.
  • Such a second barrier layer 16 is well lattice-matched to the first barrier layer 15 and is heterojunction to the first barrier layer 15.
  • the second barrier layer 16 has an energy band on the opposite side to the carrier traveling side at the junction with the first barrier layer 15 from the intrinsic Fermi level in the first barrier layer rather than the first barrier layer 15. It is constructed using a distant compound semiconductor. That is, the second barrier layer 16 is configured using a compound semiconductor in which the energy band on the minority carrier traveling side at the junction with the first barrier layer 15 is farther from the energy band on the majority carrier traveling side than the first barrier layer 15.
  • the intrinsic Fermi level Ef15 in the first barrier layer is located between the conduction band energy Ec of the first barrier layer 15 and the valence band energy Ev.
  • the valence band energy Ev of the second barrier layer 16 at the junction with the first barrier layer 15 is lower than the valence band energy Ev of the first barrier layer 15 at the junction with the channel layer 14.
  • the second barrier layer 16 is configured using such a compound semiconductor. Such a second barrier layer 16 is better as the difference in valence band energy Ev between the first barrier layer 15 and the first barrier layer 15 at the junction with the first barrier layer 15 is larger.
  • the second barrier layer 16 is made of, for example, a GaInP mixed crystal having a wider band gap than the AlGaAs mixed crystal.
  • the second barrier layer 16 is composed of a Ga 0.5 In 0.5 P mixed crystal in which the composition ratio of gallium (Ga) in the group III element is 0.5.
  • the second barrier layer 16 is not limited to a GaInP mixed crystal, and is made of, for example, an In (AlGa) AsP mixed crystal, AlAs mixed crystal, InAlP, or AlGaAs mixed crystal that is a III-V group compound semiconductor. It may be configured. However, the AlGaAs mixed crystal has an Al composition ratio of 0.2 or more. Further, the compound semiconductor constituting the second barrier layer 16 only needs to have a valence band energy Ev lower than that of the compound semiconductor constituting the first barrier layer 15, and the conduction band energy Ec may be higher or lower.
  • Such a second barrier layer 16 is a high-resistance region (high-resistance region 16b) by adding no impurities or containing a low-concentration n-type impurity.
  • the impurity concentration is preferably 1 ⁇ 10 17 atoms / cm 3 or less and the specific resistance is 1 ⁇ 10 ⁇ 2 ⁇ cm or more.
  • the second barrier layer 16 As an example of the second barrier layer 16 as described above, it is assumed that it is provided on the first barrier layer 15 with a film thickness of 30 nm without containing impurities.
  • the low-resistance region 16g is provided in the second barrier layer 16 and at least on the surface layer opposite to the channel layer 14 with a distance from the carrier supply region 15a.
  • the low resistance region 16g contains impurities having a conductivity type opposite to that of carriers, and is kept at a lower resistance than the surroundings. Therefore, when the carrier is an electron, the p-type impurity is diffused in the low resistance region 16g.
  • the values of the thickness of the low resistance region 16g and the p-type impurity concentration are as follows, along with the thickness of the second barrier layer 16 and the n-type impurity concentration of the second barrier layer 16, as follows. It is set to be in a state. That is, these values indicate that when a negative voltage is applied to the gate electrode 27, electrons in the channel layer 14 are depleted, whereas when a positive voltage is applied to the gate electrode 27, the low resistance region 16g is depleted. Thus, the previous thickness and p-type impurity concentration are set. Note that the second barrier layer 16 provided with the low resistance region 16g is a high resistance region 16b having a higher resistance value than that of the low resistance region 16g.
  • the depletion of electrons in the channel layer 14 is caused by the pn junction between the low resistance region 16g and the high resistance region 16b of the second barrier layer 16 in contact therewith.
  • the depletion of the low resistance region 16g when a positive voltage is applied to the gate electrode 27 is due to a depletion layer generated by the MIS structure of the p-type low resistance region 16g, the gate insulating film 25, and the gate electrode 27.
  • the p-type low resistance region 16g is depleted, the depletion layer between the low resistance region 16g and the high resistance region 16b disappears, and the depletion of electrons in the channel layer 14 is eliminated. Electrons are stored inside.
  • Such a low resistance region 16g may contain, for example, 1 ⁇ 10 18 / cm 3 or more of p-type impurities, for example, about 1 ⁇ 10 19 / cm 3 .
  • a p-type impurity for forming a p-type low resistance region 16g in the second barrier layer 16 composed of a Ga 0.5 In 0.5 P mixed crystal or an In (AlGa) AsP mixed crystal zinc is used as the p-type impurity. (Zn) is used.
  • the insulating film 21 is provided so as to cover the entire surface of the second barrier layer 16.
  • the insulating film 21 is insulative with respect to the compound semiconductor constituting the second barrier layer 16 and has a function of protecting the surface of the base (here, the second barrier layer 16) from impurities such as ions.
  • a material is used, and is made of, for example, silicon nitride (Si 3 N 4 ) having a thickness of 200 nm.
  • a source opening reaching the high resistance region 16b in the second barrier layer 16 at a position sandwiching the low resistance region 16g provided in the second barrier layer 16 and not overlapping the low resistance region 16g. 21s / drain opening 21d is provided.
  • a gate opening 21g having a shape exposing the low resistance region 16g is provided between the source opening 21s and the drain opening 21d in the insulating film 21.
  • the gate opening 21g has an opening width in which only the low resistance region 16g is exposed at the bottom.
  • the source opening 21s, the drain opening 21d, and the gate opening 21g are provided in the insulating film 21 as independent opening portions.
  • Source electrode 23s / Drain electrode 23d The source electrode 23s and the drain electrode 23d are in ohmic contact with the second barrier layer 16 via the source opening 21s and the drain opening 21d, respectively, at a position sandwiching the low resistance region 16g.
  • the source electrode 23s and the drain electrode 23d are formed by sequentially laminating gold-germanium (AuGe), nickel (Ni), and gold (Au) in order from the second barrier layer 16 side. ing.
  • Each film thickness of the source electrode 23s and the drain electrode 23d is, for example, 1000 nm.
  • the gate insulating film 25 is provided at the bottom of the gate opening 21 g formed in the insulating film 21, and may be provided in a state of completely closing the gate opening 21 g, and the edge is stacked on the insulating film 21.
  • Such a gate insulating film 25 is made of oxide or nitride, and is made of, for example, aluminum oxide (Al 2 O 3 ) having a thickness of 10 nm.
  • the gate electrode 27 is provided on the low resistance region 16g via the gate insulating film 25.
  • the gate electrode 27 is provided in a state of embedding the gate opening 21g, and is provided on the low resistance region 16g in the entire region at the bottom of the gate opening 21g.
  • Such a gate electrode 27 has a structure in which nickel (Ni) and gold (Au) are sequentially laminated from the substrate 11 side.
  • the lower barrier layer 13 is made of Al 0.2 -Ga 0.8 As mixed crystal
  • the channel layer 14 is made of In 0.2 Ga 0.8 As mixed crystal.
  • the semiconductor device 1-1 of the first embodiment includes a channel layer 14 having a narrow band gap, a lower barrier layer 13 having a wider band gap and a lower valence band energy Ev, and a first barrier.
  • the structure is sandwiched between layers 15. For this reason, when electrons are supplied as carriers from the carrier supply regions 13a and 15a of the lower barrier layer 13 and the first barrier layer 15, the channel layer 14 becomes a secondary electron gas layer in which the electrons are accumulated.
  • the discontinuity amount ⁇ Ec of the conduction band at the heterojunction between the channel layer 14 and the first barrier layer 15 is sufficiently large (here, 0.31 eV). Furthermore, the difference between the minimum point of the conduction band energy Ec in the first barrier layer 15 and the conduction band energy Ec in the channel layer 14 is sufficiently large (here, 0.20 eV or more). The number of electrons distributed in the first barrier layer 15 is negligibly small compared to the number of electrons distributed in the channel layer 14.
  • a carrier-depleted region A in which electrons are depleted is formed in a region in the channel layer 14 located immediately below the low-resistance region 16g in the semiconductor device 1-1.
  • Layer 14 becomes high resistance.
  • the drain current Id does not flow between the source electrode 23s and the drain electrode 23d via the channel layer 14 and is turned off.
  • a buffer layer 12 is formed by epitaxially growing, for example, a u-GaAs layer to which no impurity is added on a substrate 11 made of, for example, GaAs.
  • the lower barrier layer 13 is formed by epitaxially growing, for example, an AlGaAs (Al 0.2 Ga 0.8 As mixed crystal) layer on the buffer layer 12.
  • the region 13b ′ is sequentially epitaxially grown.
  • the lower barrier layer 13 having the n-type carrier supply region 13a at the center in the film thickness direction is obtained.
  • a channel layer 14 is formed on the lower barrier layer 13 by epitaxially growing, for example, a u-InGaAs layer to which no impurity is added.
  • an AlGaAs (Al 0.2 Ga 0.8 As mixed crystal) layer is epitaxially grown on the channel layer 14 to form the first barrier layer 15.
  • a high resistance region 15b made of a u-AlGaAs layer to which no impurity is added and a carrier supply region 15a made of an n-type AlGaAs layer to which silicon (Si) is added are epitaxially grown sequentially.
  • the first barrier layer 15 including the high resistance region 15b and the upper carrier supply region 15a is obtained.
  • a GaInP (Ga 0.5 In 0.5 P mixed crystal) layer for example, is epitaxially grown on the carrier supply region 15a to form a second barrier layer 16 made of a u-GaInP layer to which no impurity is added.
  • the second barrier layer 16 is formed as a high resistance region 16b. Thereby, an upper barrier layer composed of the first barrier layer 15 and the second barrier layer 16 is obtained.
  • element isolation is omitted which is not shown here.
  • an inactive region having a high resistance is formed by boron ion implantation, and this is used as element isolation.
  • an insulating film 21 made of silicon nitride (Si 3 N 4 ) is formed on the second barrier layer 16 by, eg, CVD (Chemical Vapor Deposition). After that, the insulating film 21 is subjected to pattern etching to form a gate opening 21g in the insulating film 21 that exposes the surface of the second barrier layer 16. In this state, a p-type low resistance region 16g is formed in the second barrier layer 16 by introducing p-type impurities from the surface layer of the second barrier layer 16 exposed at the bottom of the gate opening 21g.
  • zinc (Zn) which is a p-type impurity, is diffused only in a position where the carrier supply region 15a is not reached, that is, the surface layer in the second barrier layer 16 to form the low resistance region 16g.
  • the diffusion of zinc (Zn) is performed by vapor phase diffusion using a zinc compound gas at a temperature of about 600 ° C., for example.
  • the low resistance region 16g is formed by self-alignment at the bottom of the gate opening 21g.
  • a gate insulating film 25 is formed on the insulating film 21 so as to cover the low resistance region 16g and the inner walls of the gate opening 21g.
  • the gate insulating film 25 made of aluminum oxide (Al 2 O 3 ) with a thickness of about 10 nm is formed with high accuracy by, for example, an atomic layer deposition (ALD) method.
  • a gate electrode 27 having a shape for embedding the gate opening 21g is formed on the low resistance region 16g via the gate insulating film 25.
  • nickel (Ni) and gold (Au) are sequentially vapor-deposited on the gate insulating film 25 to pattern the gate electrode 27.
  • FIG. 6B Next, as shown in FIG. 6B, the source opening 21s exposing the high resistance region 16b of the second barrier layer 16 at a position sandwiching the low resistance region 16g by pattern etching the gate insulating film 25 and the insulating film 21. And a drain opening 21d.
  • the source electrode 23s and the drain electrode 23d are formed in ohmic contact with the high resistance region 16b of the second barrier layer 16 through the source opening 21s and the drain opening 21d.
  • gold-germanium (AuGe), nickel (Ni), and gold (Au) are sequentially deposited and patterned, and further, for example, a gold-based alloy is formed by heat treatment at about 400 ° C. to form the source electrode 23s / drain.
  • An electrode 23d is formed to complete the semiconductor device 1-1.
  • the semiconductor device 1-1 of the first embodiment can be formed by the manufacturing method described above. According to this method, after the low resistance region 16g is formed by the diffusion of the p-type impurity from the gate opening 21g formed in the insulating film 21, the gate electrode 27 is formed via the gate insulating film 25 in a state where the gate opening 21g is embedded. Form. Therefore, the gate electrode 27 is formed on the low resistance region 16g by self-alignment with the low resistance region 16g. Therefore, it is possible to easily obtain the semiconductor device 1-1 of the first embodiment.
  • the gate opening 21g, the gate insulating film 25, and the gate electrode 27 may be formed after the source opening 21s / drain opening 21d and the source electrode 23s / drain electrode 23d are formed. Even in this case, since the gate electrode 27 is formed in a self-aligned manner with respect to the low resistance region 16g through the gate insulating film 25, the semiconductor device 1-1 of the first embodiment can be easily obtained. It is.
  • the semiconductor device 1-1 described above has a configuration in which a p-type low resistance region 16g is provided in an n-type high resistance region 16b that does not contain impurities or is low in concentration, with a gate insulating film 25 interposed therebetween.
  • a gate electrode 27 is provided. For this reason, even when a forward voltage (a positive voltage in this case) is applied to the gate electrode 27, a gate leakage current may flow between the gate electrode 27 and the source electrode 23s / drain electrode 23d. Is prevented.
  • the semiconductor device 1-1 has a configuration in which an n-type carrier supply region 13 a is provided in the lower barrier layer 13 and an n-type carrier supply region 15 a is provided in the first barrier layer 15. For this reason, by supplying electrons to the channel layer 14 from the carrier supply regions 13a and 15a, the sheet carrier density in the channel layer 14 increases and the channel resistance can be reduced. This also makes it possible to reduce the on-resistance Ron and thereby improve the maximum drain current Idmax.
  • the upper barrier layer provided with the low resistance region 16g has a multilayer structure of the first barrier layer 15 on the channel layer 14 side and the second barrier layer 16 on the upper side.
  • the valence band energy Ev of the second barrier layer 16 is lower than the valence band energy Ev of the first barrier layer 15 at the junction between the second barrier layer 16 and the first barrier layer 15. .
  • the conduction band energy Ec of the channel layer 14 is lifted away from the Fermi level Ef by the band gap of the channel layer 14.
  • a case where the upper barrier layer provided in contact with the channel layer 14 is a single layer made of AlGaAs is indicated by a two-dot chain line.
  • the valence band energy Ev of the low resistance region 16g in contact with the gate insulating film 25 substantially matches the Fermi level Ef.
  • the valence band energy Ev of the second barrier layer 16 constituting the low resistance region 16 g is lower than the valence band energy Ev of the first barrier layer 15 at the junction with the first barrier layer 15. Therefore, at the heterojunction between the second barrier layer 16 and the first barrier layer 15, the valence band energy Ev of the first barrier layer 15 is closer to the Fermi level Ef than the valence band energy Ev of the second barrier layer 16. It will be in a lifted state.
  • the channel layer 14 heterojunction with the first barrier layer 15 is also in a state where the valence band energy Ev is raised to the Fermi level Ef side. Due to this influence, the conduction band energy Ec of the channel layer 14 is lifted away from the Fermi level Ef while maintaining the band gap of the channel layer 14.
  • the energy difference ⁇ E between the conduction band energy Ec and the Fermi level Ef in the channel layer 14 becomes larger than the energy difference ⁇ E0 in the comparative example indicated by the two-dot chain line in the drawing.
  • the semiconductor device having the structure of the first embodiment electrons are less likely to exist in the conduction band of the channel layer 14 in the off state than in the comparative example, and the off-leak current can be reduced. .
  • FIG. 7 shows a graph of gate voltage-drain current for the semiconductor device (InGaP / AlGaAs) having the structure of the first embodiment and the comparative example (AlGaAs) in which the above-described upper barrier layer has a single layer structure.
  • the drain current of the semiconductor device (InGaP / AlGaAs) of the first embodiment is reduced by almost two orders of magnitude compared to the comparative example (AlGaAs) when the gate voltage is off on the negative side. I understand.
  • the n-type impurity concentration in the region (high resistance region 16b) in contact with the p-type low resistance region 16g is increased. can do.
  • FIG. 8 shows a comparative example in which the n-type impurity concentration of the high resistance region 16b is different from each other and the upper barrier layer described above has a single layer structure ( 2 shows a graph of gate voltage-drain current for (AlGaAs).
  • the comparative example As shown in this graph, in the semiconductor device (InGaP / AlGaAs) of the first embodiment, even if the n-type impurity concentration of the high resistance region 16b is increased to about 1.1E18 [cm ⁇ 3 ], the comparative example It can be seen that the n-type impurity concentration of the high resistance region 16b in (AlGaAs) can be suppressed to an off-current comparable to 5E17 [cm ⁇ 3 ].
  • the reverse conductivity type impurity concentration can be increased in the region in contact with the low resistance region 16g, the sheet carrier density of the channel layer 14 can be increased, and the channel resistance can be increased. And the access resistance can be lowered. As a result, the resistance in the on state (on resistance Ron) can be reduced. This can also be expected to increase the maximum drain current Idmax, reduce the element size, and reduce the parasitic capacitance for the element.
  • the above effect is a compound that requires switching from As to P during epitaxial growth because the band gap is wide but the Group 5 material is different from InGaAs used as the compound semiconductor layer constituting the channel layer 14.
  • This is realized by using a semiconductor (for example, InGaP) as a constituent material of the second barrier layer 16.
  • FIG. 9 is a cross-sectional view showing the main configuration of the semiconductor device of the second embodiment
  • FIG. 10 is an energy band diagram for explaining the operation of the semiconductor device of the second embodiment.
  • the semiconductor device 1-2 according to the second embodiment is different from the semiconductor device according to the first embodiment described with reference to FIG. 1 in that a carrier supply region provided in the first barrier layer 15. 15a is at the center in the film thickness direction, and the other configurations are the same. Therefore, the same components as those in the first embodiment are denoted by the same reference numerals, and detailed description thereof in the present embodiment is omitted.
  • first barrier layer 15 is the same as the first barrier layer of the first embodiment, and has a good lattice match with the channel layer 14 and is more conductive than the compound semiconductor material constituting the channel layer 14. It is made of a III-V group compound semiconductor material having a high band energy Ec, and is heterojunction with the channel layer 14.
  • the high resistance regions 15 b and 15 b ′ arranged with the carrier supply region 15 a sandwiched between them are each independently doped with a high resistance or containing a low concentration impurity.
  • the region 15b may be formed.
  • the high resistance regions 15b and 15b ′ contain impurities, they contain n-type impurities or p-type impurities. In this case, it is preferable that the impurity concentration is 1 ⁇ 10 17 atoms / cm 3 or less and the specific resistance is 1 ⁇ 10 ⁇ 2 ⁇ cm or more.
  • the first barrier layer 15 has a thickness of about 8 nm, and in order from the channel layer 14 side, the high resistance region 15b having a thickness of about 2 nm and containing no impurities, and silicon (Si) with a thickness of about 4 nm is 1.6 ⁇ 10 12.
  • a carrier supply region 15 a containing about 1 piece / cm 2 and a high resistance region 15 b ′ having a thickness of about 2 nm and containing no impurities are laminated.
  • first barrier layer 15 only the layer in contact with the second barrier layer 16 may be configured as the high resistance region 15 b ′, and the layer in contact with the channel layer 14 may be configured as the carrier supply region.
  • the second barrier layer 16 above the first barrier layer 15 has the same configuration as that of the first embodiment. Applied. That is, the second barrier layer 16 is well lattice-matched to the first barrier layer 15 and is heterojunction to the first barrier layer 15.
  • the second barrier layer 16 is characterized by being made of a III-V group compound semiconductor material having a valence band energy Ev lower than that of the compound semiconductor material constituting the first barrier layer 15. The second barrier layer 16 is better as the difference in the valence band energy Ev is larger than that of the first barrier layer 15.
  • the low resistance region 16g has the same configuration as that of the first embodiment, and is provided with a distance from the carrier supply region 15a. Therefore, in the second embodiment, the low resistance region 16g may be disposed at a depth extending from the second barrier layer 16 to the high resistance region 15b ′ of the first barrier layer 15, and the first barrier layer 15 The carrier supply region 15a may be reached.
  • the lower barrier layer 13 and the first barrier layer 15 are made of Al 0.2 -Ga 0.8 As mixed crystal
  • the second upper barrier layer is made of Ga 0.5 In 0. This is a case where it is composed of a 5 P mixed crystal and the channel layer 14 is composed of an In 0.2 Ga 0.8 As mixed crystal.
  • the semiconductor device 1-2 configured as described above includes a channel layer 14 having a narrow band gap, as in the semiconductor device of the first embodiment, and a lower barrier having a wider band gap and a lower valence band energy Ev.
  • the structure is sandwiched between the layer 13 and the first barrier layer 15. Therefore, the channel layer 14 becomes a secondary electron gas layer in which carriers are accumulated when carriers are supplied from the carrier supply regions 13 a and 15 a of the lower barrier layer 13 and the first barrier layer 15.
  • the discontinuity amount ⁇ Ec of the conduction band at the heterojunction between the channel layer 14 and the first barrier layer 15 is sufficiently large (here, 0.31 eV). Furthermore, the difference between the minimum point of the conduction band energy Ec in the first barrier layer 15 and the conduction band energy Ec in the channel layer 14 is sufficiently large (here, 0.20 eV or more). The number of electrons distributed in the first barrier layer 15 is negligibly small compared to the number of electrons distributed in the channel layer 14.
  • the semiconductor device 1-2 having such a configuration operates in the same manner as the semiconductor device of the first embodiment.
  • the semiconductor device 1-2 having such a configuration, when the first barrier layer 15 is formed in the manufacturing procedure of the semiconductor device according to the first embodiment, the high resistance region 15b, the carrier supply region 15a, and the high resistance region 15b are formed. The only difference is the process of epitaxial growth.
  • the low resistance region 16g is formed by diffusing zinc (Zn), which is a p-type impurity, into the second barrier layer 16 made of, for example, a GaInP mixed crystal. A p-type impurity may be diffused so as to reach the carrier supply region 15 a of the barrier layer 15.
  • the semiconductor device 1-2 described above has a second valence band energy Ev lower than that of the first barrier layer 15 on the channel layer 14 via the first barrier layer 15.
  • the barrier layer 16 is provided, and the gate electrode 27 is provided on the p-type low resistance region 16g provided on the surface layer via the gate insulating film 25. For this reason, the effect similar to 1st Embodiment can be acquired.
  • FIG. 11 is a cross-sectional view showing a main configuration of a semiconductor device according to the third embodiment.
  • the configuration of the semiconductor device according to the third embodiment to which the present technology is applied will be described below with reference to this drawing.
  • the semiconductor device 1-3 according to the third embodiment shown in FIG. 11 is different from the semiconductor device according to the first embodiment described with reference to FIG. 1 in that a p-type low resistance provided in the second barrier layer 16 is used.
  • the region 16 g is located in contact with the carrier supply region 15 a of the first barrier layer 15.
  • Other configurations are the same as those of the first embodiment. Therefore, the same components as those in the first embodiment are denoted by the same reference numerals, and detailed description thereof in the present embodiment is omitted.
  • the depth of the p-type low resistance region 16 g provided in the second barrier layer 16 matches the film thickness of the second barrier layer 16.
  • the p-type low resistance region 16g is provided in contact with the n-type carrier supply region 15a containing the n-type impurity provided in the first barrier layer 15.
  • the semiconductor device 1-3 having the above configuration operates in the same manner as the semiconductor device of the first embodiment.
  • the semiconductor device 1-3 is manufactured by adjusting the depth of the p-type low resistance region 16g to be formed later when the second barrier layer 16 is formed in the semiconductor device manufacturing procedure of the first embodiment.
  • the film may be formed with a thickness.
  • a p-type impurity is introduced into the second barrier layer 16 so as to reach the carrier supply region 15a of the first barrier layer 15.
  • the semiconductor device 1-3 described above has a second valence band energy Ev lower than that of the first barrier layer 15 on the channel layer 14 via the first barrier layer 15.
  • the barrier layer 16 is provided, and the gate electrode 27 is provided on the p-type low resistance region 16g provided on the surface layer via the gate insulating film 25. For this reason, the effect similar to 1st Embodiment can be acquired.
  • the semiconductor device 1-3 according to the third embodiment can obtain an effect obtained by providing the p-type low resistance region 16g in contact with the carrier supply region 15a. That is, since the p-type low resistance region 16g is provided in contact with the carrier supply region 15a, the distance between the p-type low resistance region 16g and the channel layer 14 can be shortened. Thereby, it is possible to improve the controllability of the potential in the channel layer 14 by the gate voltage, and this can be expected to improve the maximum drain current Idmax, reduce the element size, and reduce the parasitic capacitance for the element. . Further, since the distance from the low resistance region 16g to the channel layer 14 can be reduced, the threshold voltage can be set to a relatively high value.
  • the zinc diffused into the carrier supply region 15a is canceled by the impurities in the carrier supply region 15a.
  • the depth of the p-type low resistance region 16g formed by diffusion of the p-type impurity such as zinc (Zn) and the film thickness of the second barrier layer 16 can be made equal.
  • the depth of the p-type low resistance region 16g is controlled with high accuracy by the film thickness of the second barrier layer 16, and the thin low resistance region 16g can be formed with high accuracy. This also makes it possible to shorten the distance between the p-type low-resistance region 16g and the channel layer 14 and improve the controllability of the potential in the channel layer 14 by the gate voltage.
  • the third embodiment the configuration in which the p-type low resistance region 16g is disposed in contact with the carrier supply region 15a in the configuration described with reference to FIG. 1 in the first embodiment has been described.
  • the third embodiment is not limited to application to the first embodiment, and can be combined with the second embodiment.
  • the p-type low resistance region 16 g provided in the second barrier layer 16 is replaced with the carrier supply region 15 a in the first barrier layer 15. Provide to touch.
  • the depth of the p-type low resistance region 16g is controlled with high accuracy by the film thickness of the high resistance region 15b ′ in the second barrier layer 16 and the first barrier layer 15, and the thin low The resistance region 16g can be formed with high accuracy.
  • FIG. 12 is a cross-sectional view showing the main configuration of the semiconductor device of the fourth embodiment.
  • the configuration of the semiconductor device according to the fourth embodiment to which the present technology is applied will be described below with reference to this drawing.
  • the semiconductor device 1-4 according to the fourth embodiment shown in FIG. 12 is different from the semiconductor device according to the first embodiment described with reference to FIG. 1 in that the p-type low resistance region 16g is formed in the second barrier layer 16.
  • the surrounding portion is formed as a low resistance region 16a instead of the high resistance region, and the other configuration is the same as that of the first embodiment. Therefore, the same components as those in the first embodiment are denoted by the same reference numerals, and detailed description thereof in the present embodiment is omitted.
  • the p-type low resistance region 16g provided in the surface layer is surrounded by the n-type low resistance region 16a containing an n-type impurity.
  • the p-type low-resistance region 16g is provided on the surface layer of the second barrier layer 16 that is configured as an n-type low-resistance region 16a as a whole.
  • Such an n-type low resistance region 16 a may be continuous with the n-type carrier supply region 15 a in the first barrier layer 15.
  • the semiconductor device 1-4 having the above configuration operates in the same manner as the semiconductor device of the first embodiment.
  • the semiconductor device 1-4 is manufactured by epitaxially growing a low resistance region 16a containing an n-type impurity as the second barrier layer 16 in the manufacturing procedure of the semiconductor device of the first embodiment, and adding p-type impurities to the surface layer.
  • the low resistance region 16g may be formed by introduction.
  • the semiconductor device 1-4 described above has a second valence band energy Ev lower than that of the first barrier layer 15 on the channel layer 14 via the first barrier layer 15.
  • the barrier layer 16 is provided, and the gate electrode 27 is provided on the p-type low resistance region 16g provided on the surface layer via the gate insulating film 25. For this reason, the effect similar to 1st Embodiment can be acquired.
  • the semiconductor device 1-4 according to the fourth embodiment has a configuration in which the p-type low-resistance region 16g is provided in the n-type low-resistance region 16a.
  • the density can be increased, and the channel resistance and access resistance can be decreased.
  • the on-resistance Ron can be reduced, and the effect of increasing the maximum drain current Idmax can be expected.
  • the fourth embodiment in the configuration described with reference to FIG. 1 in the first embodiment, the high resistance region of the second barrier layer 16 surrounding the p type low resistance region 16g is changed to the n type low resistance region.
  • the configuration changed to 16a has been described.
  • the fourth embodiment is not limited to application to the first embodiment, and can be combined with the second to third embodiments.
  • the region surrounding the p-type low resistance region 16g may be a reverse conductivity type (n-type) low resistance region.
  • FIG. 13 is a cross-sectional view showing a main configuration of a semiconductor device according to the fifth embodiment.
  • the configuration of the semiconductor device according to the fifth embodiment to which the present technology is applied will be described below with reference to this drawing.
  • the semiconductor device 1-5 of the fifth embodiment shown in FIG. 13 is different from the semiconductor device of the first embodiment described with reference to FIG. 1 between the second barrier layer 16 and the source electrode 23s / drain electrode 23d. Further, the cap layer 31 is provided.
  • the cap layer 31 is provided as a layer containing impurities having a conductivity type opposite to that of the low resistance region 16g.
  • Other configurations are the same as those of the first embodiment. Therefore, the same components as those in the first embodiment are denoted by the same reference numerals, and detailed description thereof in the present embodiment is omitted.
  • the cap layer 31 has an impurity of a conductivity type opposite to that of the low resistance region 16g (here, n-type impurity) between the second barrier layer 16 constituting the upper barrier layer and the source electrode 23s / drain electrode 23d. It is provided as a containing layer.
  • Such a cap layer 31 only needs to be configured using a compound semiconductor material lattice-matched to the second barrier layer 16, and does not need to match the band gap of the second barrier layer 16. However, if the band gaps are extremely different, there is a potential barrier at the junction, which may increase the resistance in the ohmic junction. Therefore, the band gap of the cap layer 31 is made to coincide with the band gap of the second barrier layer 16 serving as a base in a range that does not affect the characteristics of the semiconductor device 1-5.
  • the cap layer 31 as described above is made of, for example, GaAs containing an n-type impurity.
  • the semiconductor device 1-5 having the above configuration operates in the same manner as the semiconductor device of the first embodiment.
  • the semiconductor device 1-5 is manufactured by performing a step of epitaxially growing an n-type GaAs layer serving as the cap layer 31 following the formation of the second barrier layer 16 in the manufacturing procedure of the semiconductor device of the first embodiment.
  • the n-type GaAs layer is subjected to pattern etching to form a cap layer 31, and then an insulating film 21 is formed. The subsequent steps may be performed.
  • the semiconductor device 1-5 having the configuration described above has a valence band energy Ev lower than that of the first barrier layer 15 on the channel layer 14 via the first barrier layer 15.
  • the second barrier layer 16 is provided, and the gate electrode 27 is provided above the p-type low resistance region 16g provided on the surface layer via the gate insulating film 25. For this reason, the effect similar to 1st Embodiment can be acquired.
  • the semiconductor device 1-5 of the fifth embodiment has a configuration in which a cap layer 31 made of a compound semiconductor is provided between the second barrier layer 16 and the source electrode 23s / drain electrode 23d. .
  • the sheet carrier density of the channel layer 14 immediately below the cap layer 31 can be increased, and the channel resistance and access resistance can be decreased.
  • the on-resistance Ron can be reduced, and the effect of increasing the maximum drain current Idmax can be expected.
  • the low resistance region 16g is opposite in conductivity type between the second barrier layer 16 and the source electrode 23s / drain electrode 23d.
  • the configuration in which the cap layer 31 is provided as a layer containing impurities has been described.
  • the fifth embodiment is not limited to the application to the first embodiment, and can be combined with the second to fourth embodiments.
  • the cap layer 31 is a layer containing an n-type impurity having a conductivity type opposite to that of the p-type low resistance region 16g between the second barrier layer and the source electrode 23s / drain electrode 23d in the second to fourth embodiments. Should be provided. Thereby, in addition to the effects of the second to fourth embodiments, the same effects as those of the fifth embodiment can be obtained.
  • FIG. 14 is a cross-sectional view showing a main configuration of a semiconductor device according to the sixth embodiment.
  • the configuration of the semiconductor device according to the sixth embodiment to which the present technology is applied will be described below with reference to this drawing.
  • the semiconductor device 1-6 of the sixth embodiment shown in FIG. 14 is different from the semiconductor device of the first embodiment described with reference to FIG. 1 in that the entire surface of the second barrier layer 16 is covered with a gate insulating film 25. Covering and removing the underlying insulating film (21), the other configuration is the same as in the first embodiment. Therefore, the same components as those in the first embodiment are denoted by the same reference numerals, and detailed description thereof in the present embodiment is omitted.
  • the entire surface of the second barrier layer 16 is covered with the gate insulating film 25.
  • a source opening reaching the high resistance region 16b of the second barrier layer 16 at a position sandwiching the low resistance region 16g provided in the second barrier layer 16 with respect to the gate insulating film 25 and not overlapping the low resistance region 16g. 25s / drain opening 25d is provided.
  • a source electrode 23s and a drain electrode 23d connected to the high resistance region 16b of the second barrier layer 16 through the source opening 25s / drain opening 25d are provided.
  • the semiconductor device 1-6 having such a configuration operates in the same manner as the semiconductor device of the first embodiment.
  • the buffer layer 12, the lower barrier layer 13, the channel layer 14, the first barrier layer 15, and the substrate 11 are formed on the substrate 11 in the same procedure as described in FIG. 5A in the first embodiment.
  • the upper barrier layer composed of the second barrier layer 16 is epitaxially grown in this order.
  • element isolation that is not shown here is performed.
  • a cap layer 33 made of GaAs is epitaxially grown on the second barrier layer 16.
  • FIG. 15B Next, as shown in FIG. 15B, an insulating film 35 is formed on the cap layer 33, and the insulating film 35 is subjected to pattern etching, thereby forming a gate opening 35g in the insulating film 35 exposing the surface of the cap layer 33. .
  • FIG. 16A Next, as shown in FIG. 16A, introduction of p-type impurities from the surface of the cap layer 33 exposed at the bottom of the gate opening 35g reaches the surface layer of the high resistance region 16b of the second barrier layer 16 from the cap layer 33. A low resistance region 16g is formed.
  • zinc (Zn) which is a p-type impurity, is diffused only in a position where the carrier supply region 15a in the first barrier layer 15 does not reach, that is, the surface layer in the second barrier layer 16, thereby reducing the low resistance region.
  • 16 g is formed.
  • the diffusion of zinc (Zn) is performed by vapor phase diffusion using a zinc compound gas at a temperature of about 600 ° C., for example.
  • FIG. 16B Thereafter, as shown in FIG. 16B, the insulating film 35 and the cap layer 33 are removed by etching to leave the second barrier layer 16 in which the low resistance region 16g into which the p-type impurity is introduced is formed.
  • the gate insulating film 25 is formed on the second barrier layer 16 in which the low resistance region 16g is formed.
  • a source opening 25s and a drain opening 25d are formed at a position sandwiching the low resistance region 16g in the gate insulating film 25, and further to the high resistance region 16b of the second barrier layer 16 via the source opening 25s / drain opening 25d.
  • a connected source electrode 23s / drain electrode 23d is formed.
  • a gate electrode 27 is formed at a position overlapping above the low resistance region 16g, thereby completing the semiconductor device 1-6.
  • the semiconductor device 1-6 having the configuration described above has a valence band energy Ev lower than that of the first barrier layer 15 on the channel layer 14 via the first barrier layer 15.
  • the second barrier layer 16 is provided, and the gate electrode 27 is provided above the p-type low resistance region 16g provided on the surface layer via the gate insulating film 25. For this reason, the effect similar to 1st Embodiment can be acquired.
  • the second barrier layer 16 is connected to the second barrier layer 16 via the cap layer 33.
  • Zinc (Zn) which is a type impurity, is diffused.
  • the diffusion depth of the p-type impurity in the second barrier layer 16 can be reduced, and the low resistance region 16g formed by diffusing the p-type impurity in the second barrier layer 16 can be easily formed shallow.
  • the sixth embodiment in the configuration described in the first embodiment, the lower insulating film (21) is removed and the entire surface of the second barrier layer 16 is covered with the gate insulating film 25.
  • the sixth embodiment is a configuration in which the lower insulating film (21) is removed and the entire surface of the second barrier layer 16 is covered with the gate insulating film 25 in the configurations described in the second to fifth embodiments. It can also be.
  • the manufacturing method described in the sixth embodiment is similarly applied to the manufacture of a semiconductor device having a configuration in which the insulating film 21 is provided separately from the gate insulating film 25 as described in the first to fifth embodiments. Is possible.
  • the low resistance region 16g is formed and the cap layer 33 is removed.
  • the insulating film 21 provided with the gate opening 21g is formed, and the procedure of forming the gate insulating film 25 in a state of covering the insulating film 21 may be performed. It is possible to obtain.
  • the cap layer 33 is isotropically etched using the insulating film 35 as a mask as shown in FIG. 17A. To do. Thereby, the low resistance region 16g portion formed in the cap layer 33 is completely removed, and the low resistance region 16g formed in the second barrier layer 16 is exposed.
  • the insulating film 35 on the cap layer 33 is removed.
  • a gate insulating film 25 is formed so as to cover the cap layer 33 and the second barrier layer 16, and a gate electrode 27 is formed on the low resistance region 16g via the gate insulating film 25. Thereafter, as shown in FIG.
  • a source opening 25s / drain opening 25d is formed in the gate insulating film 25, and the source electrode connected to the cap layer 33 beside the gate electrode 27 through the source opening 25s / drain opening 25d. 23s / drain electrode 23d is formed. Thereby, the effect similar to the manufacturing method of 6th Embodiment can be acquired.
  • the cap layer 33 has the same configuration as the cap layer 31 (see FIG. 13) described in the fifth embodiment.
  • FIG. 19 is a cross-sectional view showing a main configuration of a semiconductor device according to the seventh embodiment.
  • the configuration of the semiconductor device according to the seventh embodiment to which the present technology is applied will be described below with reference to this drawing.
  • the semiconductor device 1-7 of the seventh embodiment shown in FIG. 19 is different from the semiconductor device of the first embodiment described with reference to FIG. 1 in that the entire surface of the second barrier layer 16 is covered with a gate insulating film 25. Covering and removing the underlying insulating film (21) and the gate length Lg of the gate electrode 27.
  • Other configurations are the same as those of the first embodiment. Therefore, the same components as those in the first embodiment are denoted by the same reference numerals, and detailed description thereof in the present embodiment is omitted.
  • the entire surface of the second barrier layer 16 is covered with the gate insulating film 25.
  • a source opening reaching the high resistance region 16b of the second barrier layer 16 at a position sandwiching the low resistance region 16g provided in the second barrier layer 16 with respect to the gate insulating film 25 and not overlapping the low resistance region 16g. 25s / drain opening 25d is provided.
  • a source electrode 23s and a drain electrode 23d connected to the high resistance region 16b through the source opening 25s / drain opening 25d are provided.
  • the processes up to here are the same as in the sixth embodiment.
  • the seventh embodiment is characterized in that the gate electrode 27 has a shape that completely covers the upper portion of the low-resistance region 16g.
  • the gate electrode 27 is set such that the length in the direction between the source electrode 23s and the drain electrode 23d, that is, the gate length Lg is larger than the length L of the low resistance region 16g.
  • the gate electrode 27 has a shape that completely covers the upper portion of the low resistance region 16g.
  • the gate length Lg of the gate electrode 27 is specifically the length of the portion disposed on the second barrier layer 16 through only the gate insulating film 25 and is an effective gate length.
  • the semiconductor device 1-7 having such a configuration operates in the same manner as the semiconductor device of the first embodiment.
  • the semiconductor device 1-7 having the configuration described above has a valence band energy Ev lower than that of the first barrier layer 15 on the channel layer 14 via the first barrier layer 15 as in the configuration of the first embodiment.
  • the second barrier layer 16 is provided, and the gate electrode 27 is provided above the p-type low resistance region 16g provided on the surface layer via the gate insulating film 25. For this reason, the effect similar to 1st Embodiment can be acquired.
  • the semiconductor device 1-7 of the seventh embodiment has a shape in which the gate electrode 27 completely covers the upper portion of the low resistance region 16g. For this reason, when a gate voltage (positive voltage) is applied to the gate electrode 27, it becomes easy to completely deplete the p-type low resistance region 16g. That is, it is possible to prevent the occurrence of a carrier-deficient region at the gate end in the channel layer 14 during the on operation, and suppress an increase in parasitic resistance. As a result, the on-resistance Ron can be reduced, and the effect of increasing the maximum drain current Idmax can be expected.
  • the configuration of the semiconductor device of the seventh embodiment can be combined with the semiconductor device having the configuration in which the insulating film 21 is provided in addition to the gate insulating film 25 as described in the first to fifth embodiments. is there.
  • a manufacturing method when the configuration of the semiconductor device of the seventh embodiment is applied to the first to fifth embodiments will be described in the eleventh and subsequent embodiments.
  • FIG. 20 is a cross-sectional view showing the main configuration of the semiconductor device according to the eighth embodiment.
  • the configuration of the semiconductor device according to the eighth embodiment to which the present technology is applied will be described below with reference to this drawing.
  • the semiconductor device 1-8 of the eighth embodiment shown in FIG. 20 is different from the semiconductor device of the first embodiment described with reference to FIG. 1 in that the surface layer of the second barrier layer 16 is a p-type low resistance.
  • the region 16g is being patterned. Further, the entire surface of the second barrier layer 16 provided with the patterned low-resistance region 16g in the surface layer is covered with the gate insulating film 25, and the lower insulating film (21) is removed. It is the same. Therefore, the same components as those in the first embodiment are denoted by the same reference numerals, and detailed description thereof in the present embodiment is omitted.
  • first barrier layer 15, second barrier layer 16 The first barrier layer 15 and the second barrier layer 16 are configured in the same manner as in the first embodiment, except that the surface layer of the second barrier layer 16 is patterned as the low resistance region 16g.
  • a portion other than the patterned low-resistance region 16g is configured as a high-resistance region 16b that does not contain impurities or contains n-type impurities.
  • the entire portion of the second barrier layer 16 other than the low-resistance region 16g is configured as an n-type low-resistance region, and is continuous with the n-type carrier supply region 15a in the first barrier layer 15. Also good.
  • the low resistance region 16g is a portion obtained by patterning the surface layer of the second barrier layer 16, and all the patterned regions are configured as a p-type low resistance region 16g containing a p-type impurity.
  • the low resistance region 16g is obtained by patterning the surface layer of the second barrier layer 16, the III-V group compound having a valence band energy Ev lower than that of the compound semiconductor material constituting the first barrier layer 15.
  • a semiconductor material is used.
  • the low resistance region 16g as described above has beryllium (Be), carbon (C), magnesium (Mg), and p-type impurities on the second barrier layer 16 made of GaInP mixed crystal. It contains at least one of zinc (Zn).
  • the entire surface of the second barrier layer 16 having the low resistance region 16g patterned in this manner is covered with the gate insulating film 25, including the side wall of the low resistance region 16g.
  • a source opening 25s / drain opening 25d reaching the second barrier layer 16 is provided at a position sandwiching the low resistance region 16g with respect to the gate insulating film 25.
  • a source electrode 23 s and a drain electrode 23 d connected to the high resistance region 16 b of the second barrier layer 16 are provided on the second barrier layer 16 via the source opening 25 s / drain opening 25 d.
  • the gate electrode 27 is formed to be larger than the length of the low resistance region 16g in a state of completely covering the upper and side surfaces of the low resistance region 16g with the gate insulating film 25 interposed therebetween.
  • the gate electrode 27 may be laminated only on the low resistance region 16g.
  • the semiconductor device 1-8 having such a configuration operates in the same manner as the semiconductor device of the first embodiment.
  • FIG. 21A First, as shown in FIG. 21A, a buffer layer 12, a lower barrier layer 13, a channel layer 14, and a first barrier layer 15 are epitaxially grown in this order on a substrate 11, and u-GaInP (Ga 0. A high resistance second barrier layer 16 made of a ( 5 In 0.5 P mixed crystal) layer is formed. The steps so far are performed in the same procedure as described with reference to FIG. 5A in the first embodiment.
  • GaInP Ga 0.5
  • beryllium, carbon, magnesium, and zinc is added as a p-type impurity on the high resistance second barrier layer 16 (that is, the high resistance region 16b).
  • In 0.5 P mixed crystal) layer is epitaxially grown as the low resistance region 16 g of the second barrier layer 16 to form the second barrier layer 16.
  • boron ion implantation is performed to form an inactive region with a high resistance, and element isolation is omitted here.
  • FIG. 21B Next, as shown in FIG. 21B, a resist pattern 39 is formed on the second barrier layer 16 on a region to be a p-type low resistance region by applying a lithography method. Next, the low resistance region 16g of the second barrier layer 16 is patterned by anisotropic etching using the resist pattern 39 as a mask. After the patterning is completed, the resist pattern 39 is removed.
  • a gate insulating film 25 made of aluminum oxide is formed on the second barrier layer 16 so as to cover the patterned low resistance region 16g.
  • the source electrode 23s / drain electrode 23d is formed. Then, the semiconductor device 1-8 is completed.
  • the valence band energy is higher than that of the first barrier layer 15 via the first barrier layer 15 on the channel layer 14 as in the configuration of the first embodiment.
  • the second barrier layer 16 having a low Ev is provided, and the gate electrode 27 is provided above the p-type low resistance region 16g provided on the surface layer via the gate insulating film 25. For this reason, the effect similar to 1st Embodiment can be acquired.
  • the p-type low resistance region 16g is obtained by patterning the second barrier layer 16 portion epitaxially grown containing a p-type impurity. .
  • the thickness of the low resistance region 16g is controlled with high accuracy.
  • the gate electrode 27 has a shape that completely covers the upper portion of the low resistance region 16g. For this reason, when a gate voltage (positive voltage) is applied to the gate electrode 27, it becomes easy to completely deplete the p-type low resistance region 16g. That is, it is possible to prevent the occurrence of a carrier-deficient region at the gate end in the channel layer 14 during the on operation, and suppress an increase in parasitic resistance. As a result, the on-resistance Ron can be reduced, and the effect of increasing the maximum drain current Idmax can be expected.
  • the configuration of the semiconductor device of the eighth embodiment can be combined with the semiconductor device having the configuration in which the insulating film 21 is provided in addition to the gate insulating film 25 as described in the first to fifth embodiments. is there.
  • the low resistance region 16g is patterned as shown in FIG. 21B, and then the insulating film 21 is formed as described with reference to FIG. 5B. This is a gate opening 21g. Thereafter, the gate insulating film 25 is formed, and further the source electrode 23s / drain electrode 23d and the gate electrode 27 are formed.
  • FIG. 22 is a cross-sectional view showing a main configuration of a semiconductor device according to the ninth embodiment. The configuration of the semiconductor device according to the ninth embodiment to which the present technology is applied will be described below with reference to this drawing.
  • the semiconductor device 1-9 of the ninth embodiment shown in FIG. 22 is different from the semiconductor device of the first embodiment described with reference to FIG. 1 in that the low resistance region 16g is patterned on the first barrier layer 15.
  • the second barrier layer 16 is provided. Further, when the carrier supply region 15a is provided in the central portion of the first barrier layer 15 in the film thickness direction, the entire surface on the first barrier layer 15 on which the second barrier layer 16 to be the low resistance region 16g is further formed is formed.
  • the gate insulating film 25 is covered and the lower insulating film (21) is removed, and the other configurations are the same. Therefore, the same components as those in the first embodiment are denoted by the same reference numerals, and detailed description thereof in the present embodiment is omitted.
  • first barrier layer 15 That is, the first barrier layer 15 is the same as the first barrier layer of the first embodiment, and has a good lattice match with the channel layer 14 and is more conductive than the compound semiconductor material constituting the channel layer 14.
  • the band Ec is made of a group III-V compound semiconductor material and is heterojunction with the channel layer 14.
  • the first barrier layer 15 is better as the band gap difference (conduction band Ec difference) is larger than the channel layer 14.
  • Such a first barrier layer 15 is the same as that of the second embodiment, and the high resistance regions 15b and 15b ′ arranged with the carrier supply region 15a interposed therebetween are each independently doped with impurities.
  • the high resistance region 15b containing a low concentration of impurities may be formed.
  • such a first barrier layer 15 may be entirely configured as a carrier supply region 15a, and only the layer in contact with the channel layer 14 may be a high resistance region 15b. Only the side layer may be used as the high resistance region 15b ′.
  • the second barrier layer 16 is a layer patterned on the channel layer 14 via the first barrier layer 15, and all regions are configured as a low resistance region 16 g containing a p-type impurity.
  • Such a second barrier layer 16 is configured using a compound semiconductor material lattice-matched to the first barrier layer 15 and has a valence band energy Ev higher than that of the compound semiconductor material constituting the first barrier layer 15.
  • a low III-V compound semiconductor material is used.
  • the second barrier layer 16 is made of, for example, a GaInP mixed crystal, and includes at least one of p-type impurities of beryllium (Be), carbon (C), magnesium (Mg), and zinc (Zn). Contains.
  • a source opening 25s / drain opening 25d reaching the first barrier layer 15 is provided at a position sandwiching the second barrier layer 16 constituting the low resistance region 16g with respect to the gate insulating film 25.
  • a source electrode 23s and a drain electrode 23d connected to the first barrier layer 15 are provided on the first barrier layer 15 via the source opening 25s / drain opening 25d.
  • the gate electrode 27 is formed to be larger than the length of the second barrier layer 16 as the low resistance region 16 g in a state in which the upper portion and the side surface of the second barrier layer 16 are completely covered via the gate insulating film 25. Note that the gate electrode 27 may be stacked only on the second barrier layer 16 as the low resistance region 16g.
  • the semiconductor device 1-9 having such a configuration operates in the same manner as the semiconductor device of the first embodiment.
  • the buffer layer 12, the lower barrier layer 13, the channel layer 14, and the first barrier layer 15 having a three-layer structure are epitaxially grown on the substrate 11 in this order.
  • a GaInP (Ga 0.5 In 0.5 P mixed crystal) layer added as a p-type impurity is epitaxially grown as a low resistance region 16 g of the second barrier layer 16 to form the second barrier layer 16.
  • boron ion implantation is performed to form an inactive region with a high resistance, and element isolation is omitted here.
  • the second barrier layer 16 (low resistance region 16g) is patterned in the same manner as described in the eighth embodiment with reference to the sectional process diagram of FIG. 21B.
  • a gate insulating film 25 made of aluminum oxide is formed on the second barrier layer 16 so as to cover the patterned low resistance region 16g.
  • the gate electrode 27 is patterned on the second barrier layer 16 and the first barrier layer 15 via the gate insulating film 25, and the source opening 25s / drain opening 25d is formed in the gate insulating film 25, and then the source electrode The 23s / drain electrode 23d is formed to complete the semiconductor device 1-9.
  • the second barrier layer 16 having a valence band energy Ev lower than that of the first barrier layer 15 is provided on the channel layer 14 via the first barrier layer 15.
  • This is a p-type low-resistance region 16g, and a gate electrode 27 is provided above this via a gate insulating film 25. For this reason, the effect similar to 1st Embodiment can be acquired.
  • the p-type low resistance region 16g is obtained by patterning the second barrier layer 16 that is epitaxially grown containing a p-type impurity.
  • the thickness of the low resistance region 16g is controlled with high accuracy.
  • the first barrier layer 15 and the second barrier layer 16 have different semiconductor materials, so that selective etching can be performed. Is possible. That is, only the low resistance region 16g can be etched with good control, and the film loss of the first barrier layer 15 can be suppressed. As a result, an increase in the on-resistance Ron can be suppressed, and in addition, a decrease in the maximum drain current Idmax can be suppressed.
  • the configuration of the semiconductor device according to the ninth embodiment can be combined with the first to fifth embodiments as described in the eighth embodiment.
  • FIG. 23 is a cross-sectional view showing the main configuration of the semiconductor device according to the tenth embodiment. The configuration of the semiconductor device according to the tenth embodiment to which the present technology is applied will be described below with reference to this drawing.
  • the semiconductor device 1-10 of the tenth embodiment shown in FIG. 23 differs from the semiconductor device of the first embodiment described with reference to FIG. 1 in that the n-type source region 16s / drain is formed in the second barrier layer 16. There is a region 16d. Further, the entire surface of the second barrier layer 16 is covered with the gate insulating film 25 and the lower insulating film (21) is removed, and the other configurations are the same. Therefore, the same components as those in the first embodiment are denoted by the same reference numerals, and detailed description thereof in the present embodiment is omitted.
  • the second barrier layer 16 is provided with the source region 16s / drain region 16d as a low resistance region containing an n-type impurity at a position sandwiching the gate electrode 27, that is, a position sandwiching the p-type low resistance region 16g. It has been.
  • the source region 16s / drain region 16d may be provided in contact with the p-type low resistance region 16g.
  • the source region 16s / drain region 16d reaches the n-type carrier supply region 15a provided in the first barrier layer 15.
  • the entire surface on the second barrier layer 16 is covered with a gate insulating film 25.
  • a source opening 25s / drain opening 25d reaching the source region 16s / drain region 16d disposed with the low resistance region 16g interposed therebetween is provided for the gate insulating film 25.
  • a source electrode 23s and a drain electrode 23d connected to the source region 16s / drain region 16d are provided on the second barrier layer 16 through the source opening 25s / drain opening 25d.
  • the gate electrode 27 is provided above the low resistance region 16 g in the second barrier layer 16 via the gate insulating film 25.
  • the semiconductor device 1-10 having such a configuration operates in the same manner as the semiconductor device of the first embodiment.
  • FIG. 24A First, as shown in FIG. 24A, the buffer layer 12, the lower barrier layer 13, the channel layer 14, and the first barrier layer 15 are epitaxially grown in this order on the substrate 11, and u-GaInP (Ga 0. A high resistance second barrier layer 16 made of a ( 5 In 0.5 P mixed crystal) layer is formed. The steps so far are performed in the same procedure as described with reference to FIG. 5A in the first embodiment.
  • GaInP Ga 0.5
  • beryllium, carbon, magnesium, and zinc is added as a p-type impurity on the high resistance second barrier layer 16 (that is, the high resistance region 16b).
  • In 0.5 P mixed crystal) layer is epitaxially grown as the low resistance region 16 g of the second barrier layer 16 to form the second barrier layer 16.
  • boron ion implantation is performed to form an inactive region with a high resistance, and element isolation is omitted here.
  • a resist pattern 41 is formed on the second barrier layer 16 on a region where the p-type low resistance region 16g is left by applying a lithography method.
  • n-type impurities are introduced into the second barrier layer 16 by impurity diffusion using the resist pattern 41 as a mask.
  • the n-type source region 16s / drain region 16d is formed on both sides of the p-type low resistance region 16g with a depth reaching the n-type carrier supply region 15a.
  • This impurity diffusion is performed by ion implantation, for example. After the impurity diffusion, the resist pattern 41 is removed.
  • the gate insulating film made of aluminum oxide is formed on the second barrier layer 16 in which the p-type low resistance region 16g and the n-type source region 16s / drain region 16d are formed. 25 is deposited. Next, the gate electrode 27 is patterned on the p-type low resistance region 16g via the gate insulating film 25. Further, a source opening 25s / drain opening 25d reaching the n-type source region 16s / drain region 16d is formed in the gate insulating film 25. Thereafter, the source electrode 23s / drain electrode 23d connected to the source region 16s / drain region 16d through these is formed, and the semiconductor device 1-10 is completed.
  • the valence band is higher than the first barrier layer 15 on the channel layer 14 via the first barrier layer 15, as in the semiconductor device of the first embodiment.
  • the second barrier layer 16 having a low energy Ev is provided, and the surface layer is formed as a p-type low resistance region 16g, and a gate electrode 27 is provided thereon via a gate insulating film 25. For this reason, the effect similar to 1st Embodiment can be acquired.
  • the n-type source region 16s / drain region 16d is provided with the p-type low-resistance region 16g interposed therebetween, so that the n-type source region
  • the sheet carrier density in the channel layer 14 immediately below the 16s / drain region 16d can be increased, and the channel resistance and access resistance can be decreased. That is, the on-resistance Ron can be reduced, and in addition, the maximum drain current Idmax can be increased.
  • the second barrier layer 16 formed by epitaxial growth was used as the p-type low resistance region 16g.
  • the low resistance region 16g is controlled with high accuracy in thickness.
  • the configuration of the semiconductor device according to the tenth embodiment can be combined with the semiconductor device having the configuration in which the insulating film 21 is provided in addition to the gate insulating film 25 as described in the first to fifth embodiments. is there.
  • the configuration of the semiconductor device of the tenth embodiment can be combined with a semiconductor device including a patterned p-type low resistance region 16g.
  • FIG. 25 is a cross-sectional view showing a main configuration of the semiconductor device according to the eleventh embodiment.
  • the configuration of the semiconductor device according to the eleventh embodiment to which the present technology is applied will be described below with reference to this drawing.
  • the semiconductor device 1-11 of the eleventh embodiment shown in FIG. 25 is different from the semiconductor device of the first embodiment described with reference to FIG. 1 in that the gate electrode 27 covers the low resistance region 16g.
  • the gate electrode 27 is formed in a self-aligned manner with respect to the low resistance region 16g.
  • Other configurations are the same as those of the first embodiment. Therefore, the same components as those in the first embodiment are denoted by the same reference numerals, and detailed description thereof in the present embodiment is omitted.
  • the entire low resistance region 16g is exposed at the bottom of the gate opening 21g provided in the insulating film 21, and this upper portion is covered with the gate insulating film 25. ing. More specifically, the low resistance region 16g is exposed at the center of the bottom of the gate opening 21g with a predetermined distance Ld evenly from the periphery of the gate opening 21g covered with the gate insulating film 25. .
  • the interval Ld is uniform around the gate opening 21g, and is provided in a self-aligned manner with respect to the low resistance region 16g.
  • the interval Ld may be Ld> 0 nm, and may be a size that takes into account the margin of the manufacturing process.
  • this semiconductor device 1-11 has a step in which the surface of the second barrier layer 16 is etched corresponding to the bottom of the gate opening 21g due to the manufacturing method described below.
  • the effective gate length Lg of the gate electrode 27 is the width of the bottom of the gate opening 21g in the insulating film 21, more specifically, the opening width of the gate opening 21g covered with the gate insulating film 25. That is, the portion that functions as the effective gate length Lg in the gate electrode 27 has a size that is wider than the length L of the low resistance region 16g by the interval Ld in the entire circumferential direction of the low resistance region 16g. The upper part of the resistance region 16g is completely covered.
  • the semiconductor device 1-11 having such a configuration operates in the same manner as the semiconductor device of the first embodiment.
  • FIG. 26A First, as shown in FIG. 26A, on a substrate 11, a buffer layer 12, a lower barrier layer 13 having a three-layer structure, a channel layer 14, a first barrier layer 15 having a two-layer structure, and a second barrier layer 16 (high resistance Region 16b) is deposited in this order. At this time, each layer may be formed by the same procedure as described in each embodiment, and element isolation is formed after the formation of each layer.
  • FIG. 26B Next, as shown in FIG. 26B, the insulating film 21 provided with the gate opening 21g is formed on the second barrier layer 16, and the low resistance region 16g is formed by diffusion of impurities from the gate opening 21g. This step may be performed in the same procedure as described with reference to FIG. 5B in the first embodiment.
  • the insulating film 21 made of silicon nitride (Si3N4) is formed on the second barrier layer 16 (high resistance region 16b) made of the u-GaInP layer to which no impurity is added by, for example, CVD (Chemical Vapor Deposition). Form a film. After that, the insulating film 21 is subjected to pattern etching to form a gate opening 21g in the insulating film 21 that exposes the surface of the second barrier layer 16.
  • a p-type low resistance region 16g is formed in the second barrier layer 16 by introducing p-type impurities from the surface layer of the second barrier layer 16 exposed at the bottom of the gate opening 21g.
  • the low resistance region 16g is formed by diffusing p-type impurity zinc (Zn) only in a position where the carrier supply region 15a is not reached, that is, only in the surface layer in the second barrier layer 16. To do.
  • the diffusion of zinc (Zn) is performed by vapor phase diffusion using a zinc compound gas at a temperature of about 600 ° C., for example.
  • the low resistance region 16g is formed by self-alignment at the bottom of the gate opening 21g.
  • FIG. 27A Thereafter, the process shown in FIG. 27A is a characteristic process as the manufacturing method of the eleventh embodiment.
  • the insulating film 21 is retracted in the lateral direction, and the gate opening 21g is widened to such a size that the low resistance region 16g is completely exposed.
  • isotropic etching plasma etching is performed if wet etching using a hydrofluoric acid (HF) chemical solution or dry etching, for example.
  • HF hydrofluoric acid
  • the second barrier layer 16 of the GaInP layer that is the base of the insulating film 21 is also etched. For this reason, it is preferable to suppress the etching of the second barrier layer 16 by performing etching using a hydrofluoric acid (HF) chemical solution having a low etching rate.
  • HF hydrofluoric acid
  • a gate insulating film 25 is formed on the insulating film 21 so as to cover the second barrier layer 16 exposed from the gate opening 21g and the inner wall of the widened gate opening 21g.
  • the gate insulating film 25 made of aluminum oxide (Al 2 O 3 ) with a thickness of about 10 nm is formed with high accuracy by, for example, an atomic layer deposition (ALD) method.
  • ALD atomic layer deposition
  • the opening width of the gate opening 21g whose inner wall is covered with the gate insulating film 25 is the effective gate length Lg of the gate electrode to be formed next.
  • the gate length Lg is larger than the width of the low resistance region 16g, and the side wall of the gate opening 21g covered with the gate insulating film 25 is located over the entire circumference of the low resistance region 16g with a uniform interval Ld. Become.
  • the gate electrode 27 is formed so as to completely cover the bottom of the gate opening 21g with the gate insulating film 25 interposed therebetween.
  • nickel (Ni) and gold (Au) are sequentially vapor-deposited on the gate insulating film 25 to pattern the gate electrode 27.
  • the gate electrode 27 having a shape that completely covers the upper portion of the low resistance region 16g is obtained.
  • FIG. 28B After the above, as shown in FIG. 28B, the gate insulating film 25 and the insulating film 21 are subjected to pattern etching to expose the high resistance region 16b of the second barrier layer 16 at a position sandwiching the low resistance region 16g. An opening 21s and a drain opening 21d are formed.
  • the source electrode 23s and the drain electrode 23d are formed in ohmic contact with the high resistance region 16b of the second barrier layer 16 through the source opening 21s and the drain opening 21d.
  • gold-germanium (AuGe), nickel (Ni), and gold (Au) are sequentially deposited and patterned, and further, for example, a gold-based alloy is formed by heat treatment at about 400 ° C. to form the source electrode 23s / drain.
  • the electrode 23d is formed to complete the semiconductor device 1-11.
  • the semiconductor device 1-11 of the eleventh embodiment can be formed by the manufacturing method described above. According to this method, the low resistance region 16g is formed by diffusion of p-type impurities from the gate opening 21g formed in the insulating film 21, the insulating film 21 is receded in the lateral direction by wet etching, and then the gate insulating film 25 is formed. Then, the gate electrode 27 is formed. Therefore, a gate electrode 27 having a shape that completely covers the low resistance region 16g is formed on the low resistance region 16g in a self-aligned manner with respect to the low resistance region 16g. Therefore, it is possible to easily obtain the semiconductor device 1-11 of the eleventh embodiment.
  • the gate opening 21g, the gate insulating film 25, and the gate electrode 27 may be formed after the source opening 21s / drain opening 21d and the source electrode 23s / drain electrode 23d are formed. Even in this case, since the gate electrode 27 is formed in a self-aligned manner with respect to the low resistance region 16g via the gate insulating film 25 and having a width larger than that of the low resistance region 16g, the semiconductor device according to the eleventh embodiment. 1-11 can be easily obtained.
  • the gate electrode 27 has a shape that completely covers the upper portion of the low resistance region 16g. For this reason, when a gate voltage (positive voltage) is applied to the gate electrode 27, it becomes easy to completely deplete the p-type low resistance region 16g. That is, it is possible to prevent the occurrence of a carrier depletion region at the gate end in the channel layer 14 during the ON operation, and to suppress an increase in parasitic resistance. As a result, the on-resistance Ron can be reduced, and the effect of increasing the maximum drain current Idmax can be expected.
  • the gate electrode 27 is formed in a self-aligned manner with respect to the low-resistance region 16g, a margin for an interval for securing a breakdown voltage between the source electrode 23s / drain electrode 23d can be reduced. . Therefore, miniaturization of the element structure can be achieved.
  • the carrier supply region 15a is provided at the center in the film thickness direction of the first barrier layer 15 shown in FIG. What is necessary is just to provide, and it can combine and acquire the effect similar to 2nd Embodiment.
  • the eleventh embodiment When the eleventh embodiment is combined with the semiconductor device of the third embodiment described with reference to FIG. 11, the low resistance region 16g shown in FIG. 25 is extended to a depth reaching the carrier supply region 15a. It is possible to obtain the same effects as those of the third embodiment.
  • the eleventh embodiment is combined with the semiconductor device of the fourth embodiment described with reference to FIG. 12, the portion surrounding the p-type low resistance region 16g in the second barrier layer 16 shown in FIG. What is necessary is just to comprise as a resistance area
  • the first barrier layer 16 is not provided, for example.
  • the present invention can also be applied to a configuration in which a low resistance region or a high resistance region is provided above the carrier supply region 15a in the barrier layer 15.
  • a low resistance region is diffused and formed above the carrier supply region 15a in the first barrier layer 15 formed of an AlGaAs layer, and an insulating film 21 made of silicon nitride (Si 3 N 4 ) is formed above this region.
  • Si 3 N 4 silicon nitride
  • FIG. 29 is a cross-sectional view showing the main configuration of the semiconductor device according to the twelfth embodiment.
  • the configuration of the semiconductor device according to the twelfth embodiment to which the present technology is applied will be described below with reference to this drawing.
  • the semiconductor device 1-12 according to the twelfth embodiment shown in FIG. 29 is different from the semiconductor device according to the first embodiment described with reference to FIG. 1 in the difference with the previous eleventh embodiment (see FIG. 25).
  • the second barrier layer 16 is provided with an etching stop layer 16e. Therefore, here, the configuration of the twelfth embodiment will be described focusing on the differences from the eleventh embodiment.
  • the etching stop layer 16e is provided on the surface side of the second barrier layer 16. Therefore, the second barrier layer 16 has a three-layer structure in which a high resistance region 16b, an etching stop layer 16e, and a high resistance region 16b are stacked in this order, as illustrated.
  • the etching stop layer 16e is made of a material having a low etching selectivity and lattice matching with respect to the other part (that is, the high resistance region 16b) constituting the second barrier layer 16.
  • the etching stop layer 16e is a thin film that does not affect the electrical characteristics of the second barrier layer 16, and is about 3 nm, for example.
  • the second barrier layer 16 is made of GaInP mixed crystal, the etching stop layer 16e is made of GaAs or AlGaAs.
  • the etching stop layer 16e as described above is, for example, an intermediate layer on the surface side of the second barrier layer 16, and the etching stop layer 16e is exposed in the isotropic etching of the insulating film 21 during the manufacturing process described below. It is supposed to be provided at such a depth that it is not performed.
  • An insulating film 21 having a gate opening 21g is provided on the second barrier layer 16 having the etching stop layer 16e, and the entire low resistance region 16g is exposed at the bottom of the gate opening 21g.
  • the upper portion is covered with the gate insulating film 25 as in the eleventh embodiment.
  • the arrangement state of the low resistance region 16g at the bottom of the gate opening 21g is the same as in the eleventh embodiment, and a predetermined distance Ld (Ld> 0) is provided from the periphery of the gate opening 21g covered with the gate insulating film 25.
  • the low resistance region 16g is exposed at the center of the bottom of the gate opening 21g in the state of being evenly provided.
  • the depth of the gate opening 21g exceeds the thickness of the insulating film 21 and is also carved into the surface layer of the second barrier layer 16, and further the etching stop.
  • the position reaches deeper than the layer 16e.
  • the second barrier layer 16 portion below the etching stop layer 16e is exposed at the bottom of the gate opening 21g, and the low resistance region 16g provided in the second barrier layer 16 portion becomes the gate opening. The state is completely exposed from 21 g.
  • the effective gate length Lg of the gate electrode 27 is the width of the bottom of the gate opening 21g in the insulating film 21, more specifically, the opening width of the gate opening 21g covered with the gate insulating film 25. That is, the portion that functions as the effective gate length Lg in the gate electrode 27 has a size that is wider than the length L of the low resistance region 16g by the interval Ld in the entire circumferential direction of the low resistance region 16g. The upper part of the resistance region 16g is completely covered.
  • the semiconductor device 1-12 having such a configuration operates in the same manner as the semiconductor device of the first embodiment.
  • FIG. 30A First, as shown in FIG. 30A, a buffer layer 12, a lower barrier layer 13 having a three-layer structure, a channel layer 14, a first barrier layer 15 having a two-layer structure, and a high resistance region 16b of the second barrier layer 16 are formed on the substrate 11.
  • the etching stop layer 16e of the second barrier layer 16 and the high resistance region 16b of the second barrier layer 16 are formed in this order.
  • the formation of each layer, including the etching stop layer 16e may be performed by epitaxial growth sequentially from the lower layer side as described in each embodiment, and element isolation is formed after the formation of each layer.
  • the distance between the gate electrode to be formed later and the channel layer 14 can be arbitrarily set depending on the position where the etching stop layer 16e is formed.
  • an insulating film 21 having a gate opening 21g is formed on the second barrier layer 16.
  • an insulating film 21 made of silicon nitride (Si 3 N 4 ) is formed by, for example, a CVD (Chemical Vapor Deposition) method, and then the insulating film 21 is subjected to pattern etching. Then, a gate opening 21 g exposing the surface of the second barrier layer 16 is formed in the insulating film 21.
  • a p-type low resistance region 16g is formed in the second barrier layer 16 by introducing p-type impurities from the surface layer of the second barrier layer 16 exposed at the bottom of the gate opening 21g.
  • the low resistance region 16g is extended to a position deeper than the etching stop layer 16e by diffusing zinc (Zn), which is a p-type impurity, to a position deeper than the etching stop layer 16e.
  • Zn zinc
  • the diffusion of zinc (Zn) is performed by vapor phase diffusion using a zinc compound gas at a temperature of about 600 ° C., for example, as in the other embodiments.
  • the low resistance region 16g is formed by self-alignment at the bottom of the gate opening 21g.
  • isotropic etching of the insulating film 21 is performed to retract the insulating film 21 in the lateral direction and widen the gate opening 21g.
  • isotropic etching for example, plasma etching is performed in the case of wet etching using a hydrofluoric acid (HF) chemical solution or a phosphoric acid chemical solution, or dry etching.
  • HF hydrofluoric acid
  • the second barrier layer 16 of the GaInP layer which is the base of the insulating film 21 is also etched in the etching here, the high resistance region 16b is left on the etching stop layer 16e. In this case, it is preferable to perform etching by selecting a chemical solution having a slow etching rate with respect to the second barrier layer 16.
  • the second barrier layer 16 of the GaInP layer that is the base of the insulating film 21 is not etched in the etching here, for example, a hydrochloric acid-based or phosphoric acid-based chemical solution is used to form an upper portion of the etching stop layer 16e.
  • a step of etching the second barrier layer 16 may be added to such an extent that the second barrier layer 16 is left extremely thin.
  • the high resistance region 16b above the etching stop layer 16e is removed by wet etching, and the etching stop layer 16e is further removed.
  • wet etching of the high resistance region 16b is performed using a chemical solution having a slow etching rate with respect to the etching stop layer 16e made of GaAs.
  • a chemical solution for example, a hydrochloric acid-based or phosphoric acid-based chemical solution is used.
  • wet etching using a citric acid chemical solution is performed.
  • the etching of the insulating film 21 does not proceed. Therefore, the second barrier layer 16 and the etching stop layer 16e under the insulating film 21 are isotropically etched, and the insulating film 21 has a shape protruding slightly in a bowl shape.
  • FIG. 32A The next step after FIG. 32A may be the same as the step described with reference to the drawings after FIG. 27B in the eleventh embodiment.
  • the gate insulating film 25 is formed on the insulating film 21 so as to cover the second barrier layer 16 exposed from the gate opening 21g and the inner wall of the widened gate opening 21g.
  • FIG. 32B Next, as shown in FIG. 32B, the gate electrode 27 is formed in a state where the bottom of the gate opening 21 g is completely covered via the gate insulating film 25.
  • FIG. 33 After the above, as shown in FIG. 33, the source in which the high resistance region 16b of the second barrier layer 16 is exposed at the position sandwiching the low resistance region 16g by pattern etching of the gate insulating film 25 and the insulating film 21. An opening 21s and a drain opening 21d are formed.
  • FIG. 29 Thereafter, as shown in FIG. 29, a source electrode 23s and a drain electrode 23d are formed in ohmic contact with the high resistance region 16b of the second barrier layer 16 through the source opening 21s and the drain opening 21d, and the semiconductor device 1- Complete 12
  • the semiconductor device 1-12 of the twelfth embodiment can be formed by the manufacturing method described above. According to this method, the low resistance region 16g is formed by diffusion of p-type impurities from the gate opening 21g formed in the insulating film 21, the insulating film 21 is receded in the lateral direction by wet etching, and then the gate insulating film 25 is formed. Then, the gate electrode 27 is formed. Therefore, a gate electrode 27 having a shape that completely covers the low resistance region 16g is formed on the low resistance region 16g in a self-aligned manner with respect to the low resistance region 16g. Therefore, it is possible to easily obtain the semiconductor device 1-12 of the twelfth embodiment.
  • the gate electrode 27 has a shape that completely covers the upper portion of the low resistance region 16g. Therefore, as in the eleventh embodiment, when a gate voltage (positive voltage) is applied to the gate electrode 27, it becomes easy to completely deplete the p-type low resistance region 16g. That is, it is possible to prevent the occurrence of a carrier depletion region at the gate end in the channel layer 14 during the ON operation, and to suppress an increase in parasitic resistance. As a result, the on-resistance Ron can be reduced, and the effect of increasing the maximum drain current Idmax can be expected.
  • the gate electrode 27 is formed in a self-aligned manner with respect to the low resistance region 16g, a margin for an interval for securing a withstand voltage between the source electrode 23s / drain electrode 23d can be reduced. Therefore, miniaturization of the element structure can be achieved.
  • the etching stop layer 16e is provided in the intermediate layer on the surface side of the second barrier layer 16 and the gate opening 21g of the insulating film 21 is widened, the etching is temporarily stopped above the etching stop layer 16e. In this procedure, the etching stop layer 16e is removed by wet etching. For this reason, the damage at the time of forming the low resistance region 16g and the damage at the time of pattern etching of the insulating film 21 are removed from the surface of the low resistance region 16g which is the bottom surface of the etching, that is, the interface with the gate insulating film 25, and the damage is minimized.
  • the surface can be limited to the limit.
  • the interface characteristics are good, and reduction of the drain current Id can be avoided.
  • the etching depth is controlled by the design of the etching stop layer 16e, the controllability of the distance between the gate insulating film 25 and the channel layer 14 is good, and the uniformity of the element characteristics is also good.
  • the configuration in which the etching stop layer 16e is provided as an intermediate layer on the surface side of the second barrier layer 16 has been described.
  • the etching stop layer 16e may be provided as a layer constituting the surface layer of the second barrier layer 16.
  • the etching stop layer 16e made of GaAs may be removed by wet etching using a citric acid chemical solution.
  • the carrier supply region 15a is provided at the center in the film thickness direction of the first barrier layer 15 shown in FIG. The same effect as that of the second embodiment can be obtained.
  • the low resistance region 16g shown in FIG. 29 is extended to a depth reaching the carrier supply region 15a. It is possible to obtain the same effects as those of the third embodiment.
  • the portion surrounding the p-type low resistance region 16g in the second barrier layer 16 shown in FIG. What is necessary is just to comprise as the resistance area
  • the first The present invention can also be applied to a configuration in which a low resistance region or a high resistance region is provided above the carrier supply region 15a in the barrier layer 15.
  • an etching stop layer made of an AlAs layer may be provided as an intermediate layer or surface layer on the upper side of the carrier supply region 15a in the first barrier layer 15 made of an AlGaAs layer. A low resistance region is diffused and formed at a depth exceeding the stop layer.
  • the isotropic etching of the insulating film 21 made of silicon nitride (Si 3 N 4 ) is performed in the same manner as the procedure described with reference to FIGS. 31A and 31B in the twelfth embodiment. Is called. Even in such a case, the effect added in the twelfth embodiment can be obtained.
  • FIG. 34 is a cross-sectional view showing the main configuration of the semiconductor device of the thirteenth embodiment.
  • the configuration of the semiconductor device according to the thirteenth embodiment to which the present technology is applied will be described below with reference to this drawing.
  • the semiconductor device 1-13 of the thirteenth embodiment shown in FIG. 34 is different from the semiconductor device of the first embodiment described with reference to FIG. 1 in the difference from the previous eleventh embodiment (see FIG. 25).
  • the cap layer 31 is provided between the second barrier layer 16 and the source electrode 23s / drain electrode 23d. That is, the thirteenth embodiment is a combination of the eleventh embodiment and the fifth embodiment (see FIG. 13).
  • an impurity in this case, an n-type is opposite to the low resistance region 16g between the second barrier layer 16 and the source electrode 23s / drain electrode 23d.
  • the cap layer 31 containing the impurities is provided.
  • Such a cap layer 31 only needs to be configured using a compound semiconductor material lattice-matched to the second barrier layer 16, and does not need to match the band gap of the second barrier layer 16.
  • the band gaps are extremely different, there is a potential barrier at the junction, which may increase the resistance in the ohmic junction. Therefore, the band gap of the cap layer 31 is made to coincide with the band gap of the second barrier layer 16 serving as a base within a range that does not affect the characteristics of the semiconductor device 1-13.
  • the cap layer 31 as described above is made of, for example, GaAs containing an n-type impurity.
  • An insulating film 21 is provided on the second barrier layer 16 so as to cover the cap layer 31.
  • the entire low resistance region 16g is exposed at the bottom of the gate opening 21g provided in the insulating film 21.
  • the upper portion is covered with the gate insulating film 25 as in the eleventh embodiment.
  • the arrangement state of the low resistance region 16g at the bottom of the gate opening 21g is the same as in the eleventh embodiment, and a predetermined distance Ld (Ld> 0) is provided from the periphery of the gate opening 21g covered with the gate insulating film 25.
  • the low resistance region 16g is exposed at the center of the bottom of the gate opening 21g in the state of being evenly provided.
  • the semiconductor device 1-13 having such a configuration operates in the same manner as the semiconductor device of the first embodiment.
  • FIG. 35A First, as shown in FIG. 35A, on the substrate 11, a buffer layer 12, a lower barrier layer 13 having a three-layer structure, a channel layer 14, a first barrier layer 15 having a two-layer structure, and a second barrier layer 16 (low resistance region 16b).
  • an n-type GaAs layer to be the cap layer 31 is formed in this order.
  • the film formation of each layer may be performed by epitaxial growth sequentially from the lower layer side as described in each embodiment, and element isolation is formed after the film formation of each layer. Thereafter, the n-type GaAs layer is pattern-etched to form the cap layer 31.
  • the insulating film 21 is formed so as to cover the cap layer 31, and a gate opening 21 g is formed in the insulating film 21.
  • This step may be performed in the same procedure as described with reference to FIG. 5B in the first embodiment. That is, here, the insulating film 21 made of silicon nitride (Si 3 N 4 ) is formed on the second barrier layer 16 by, for example, a CVD (Chemical Vapor Deposition) method so as to cover the cap layer 31. After that, the insulating film 21 is subjected to pattern etching to form a gate opening 21g in the insulating film 21 that exposes the surface of the second barrier layer 16. The gate opening 21g is formed at a position where the cap layer 31 is not exposed.
  • a p-type low resistance region 16g is formed in the second barrier layer 16 by introducing p-type impurities from the surface layer of the second barrier layer 16 exposed at the bottom of the gate opening 21g.
  • the low resistance region 16g is formed by diffusing p-type impurity zinc (Zn) only in a position where the carrier supply region 15a is not reached, that is, only in the surface layer in the second barrier layer 16.
  • the diffusion of zinc (Zn) is performed by vapor phase diffusion using a zinc compound gas at a temperature of about 600 ° C., for example.
  • the low resistance region 16g is formed by self-alignment at the bottom of the gate opening 21g.
  • FIG. 36B Thereafter, the steps after FIG. 36B may be performed in the same manner as the steps described with reference to the drawings after FIG. 27A in the eleventh embodiment.
  • the insulating film 21 is retracted in the lateral direction to widen the gate opening 21g.
  • the second barrier layer 16 of the GaInP layer that is the base of the insulating film 21 is also etched.
  • FIG. 37A Next, as shown in FIG. 37A, a gate insulating film 25 is formed on the insulating film 21 so as to cover the second barrier layer 16 exposed from the gate opening 21g and the inner wall of the widened gate opening 21g.
  • FIG. 37B Next, as shown in FIG. 37B, the gate electrode 27 is formed in a state where the bottom of the gate opening 21g is completely covered with the gate insulating film 25 interposed therebetween.
  • the gate insulating film 25 and the insulating film 21 are subjected to pattern etching so that the source opening 21s and the drain opening 21d in which the cap layer 31 is exposed at the position sandwiching the low resistance region 16g. Form.
  • FIG. 34 Thereafter, as shown in FIG. 34, a source electrode 23s and a drain electrode 23d are formed in ohmic contact with the cap layer 31 via the source opening 21s and the drain opening 21d, thereby completing the semiconductor device 1-13.
  • the semiconductor device 1-13 of the thirteenth embodiment can be formed by the manufacturing method described above. According to this method, the low resistance region 16g is formed by diffusion of p-type impurities from the gate opening 21g formed in the insulating film 21, the insulating film 21 is receded in the lateral direction by wet etching, and then the gate insulating film 25 is formed. Then, the gate electrode 27 is formed. Therefore, a gate electrode 27 having a shape that completely covers the low resistance region 16g is formed on the low resistance region 16g in a self-aligned manner with respect to the low resistance region 16g. Therefore, it is possible to easily obtain the semiconductor device 1-13 of the thirteenth embodiment.
  • the gate electrode 27 has a shape that completely covers the upper portion of the low resistance region 16g. Therefore, as in the eleventh embodiment, when a gate voltage (positive voltage) is applied to the gate electrode 27, it becomes easy to completely deplete the p-type low resistance region 16g. That is, it is possible to prevent the occurrence of a carrier depletion region at the gate end in the channel layer 14 during the ON operation, and to suppress an increase in parasitic resistance. As a result, the on-resistance Ron can be reduced, and the effect of increasing the maximum drain current Idmax can be expected.
  • the cap layer 31 made of a compound semiconductor is provided between the second barrier layer 16 and the source electrode 23s / drain electrode 23d, the sheet carrier of the channel layer 14 immediately below the cap layer 31 is provided.
  • the density can be increased. This also makes it possible to reduce the on-resistance Ron by lowering the channel resistance and access resistance, and to expect the effect of increasing the maximum drain current Idmax.
  • the gate electrode 27 is formed in a self-aligned manner with respect to the low resistance region 16g, a margin for an interval for securing a withstand voltage between the source electrode 23s / drain electrode 23d can be reduced. Therefore, miniaturization of the element structure can be achieved.
  • the carrier supply region 15a is provided at the center in the film thickness direction of the first barrier layer 15 shown in FIG. What is necessary is just to provide, and it can combine and acquire the effect similar to 2nd Embodiment.
  • the low resistance region 16g shown in FIG. 34 is extended to a depth reaching the carrier supply region 15a. It is possible to obtain the same effects as those of the third embodiment.
  • the portion surrounding the p-type low resistance region 16g in the second barrier layer 16 shown in FIG. What is necessary is just to comprise as the resistance area
  • the first The present invention can also be applied to a configuration in which a low resistance region or a high resistance region is provided above the carrier supply region 15 a in the barrier layer 15 and a cap layer 31 is provided on the first barrier layer 15.
  • a low resistance region is diffused and formed above the carrier supply region 15a in the first barrier layer 15 formed of an AlGaAs layer, and an insulating film 21 made of silicon nitride (Si 3 N 4 ) is formed above this region.
  • Si 3 N 4 silicon nitride
  • FIG. 39 is a cross-sectional view showing the main configuration of the semiconductor device according to the fourteenth embodiment.
  • the configuration of the semiconductor device according to the fourteenth embodiment to which the present technology is applied will be described below with reference to this drawing.
  • the semiconductor device 1-14 according to the fourteenth embodiment shown in FIG. 39 is different from the semiconductor device according to the first embodiment described with reference to FIG. 1 in that the gate electrode 27 covers the low resistance region 16g.
  • the gate electrode 27 is formed in a self-aligned manner with respect to the low resistance region 16g.
  • Other configurations are the same as those of the first embodiment. Therefore, here, the configuration of the fourteenth embodiment will be described focusing on the differences from the eleventh embodiment.
  • the insulating film 21 provided with the gate opening 21g is provided above the second barrier layer 16, and a low resistance is provided at the bottom of the gate opening 21g. Similar to the eleventh embodiment, the entire region 16g is exposed and the upper portion is covered with the gate insulating film 25.
  • the arrangement state of the low resistance region 16g at the bottom of the gate opening 21g is the same as in the eleventh embodiment, and a predetermined distance Ld (Ld> 0) is provided from the periphery of the gate opening 21g covered with the gate insulating film 25.
  • the low resistance region 16g is exposed at the center of the bottom of the gate opening 21g in the state of being evenly provided.
  • the effective gate length Lg of the gate electrode 27 is the width of the bottom of the gate opening 21g in the insulating film 21, more specifically, the opening width of the gate opening 21g covered with the gate insulating film 25. That is, the portion of the gate electrode 27 that functions as the effective gate length Lg has a size that is widened by an interval Ld from the length L of the low resistance region 16g in the entire circumferential direction of the low resistance region 16g. The upper portion of the low resistance region 16g is completely covered.
  • the semiconductor device 1-14 having such a configuration operates in the same manner as the semiconductor device of the first embodiment.
  • FIG. 40A First, as shown in FIG. 40A, on the substrate 11, a buffer layer 12, a lower barrier layer 13 having a three-layer structure, a channel layer 14, a first barrier layer 15 having a two-layer structure, and a second barrier layer 16 (low resistance region). 16b) are deposited in this order.
  • the film formation of each layer may be performed by epitaxial growth sequentially from the lower layer side as described in each embodiment, and element isolation is formed after the film formation of each layer.
  • an insulating film 21 having a gate opening 21g is formed on the second barrier layer 16.
  • an insulating film 21 made of silicon nitride (Si 3 N 4 ) is formed by, for example, a CVD (Chemical Vapor Deposition) method, and then the insulating film 21 is subjected to pattern etching. Then, a gate opening 21 g exposing the surface of the second barrier layer 16 is formed in the insulating film 21.
  • a sidewall 45 is formed on the side wall of the insulating film 21, and the opening width of the gate opening 21 g is narrowed by the width of the sidewall 45.
  • a material film for forming the sidewall 45 is first formed in a state of covering the insulating film 21. This material film is formed using a material having a high etching selectivity with respect to the insulating film 21 and the second barrier layer 16.
  • a material film made of silicon nitride, aluminum oxide, or aluminum nitride whose etching rate is controlled by a film forming method is formed.
  • the sidewall 45 is formed using silicon nitride which is the same material as the insulating film 21, by adjusting the flow rate of nitrogen gas (N 2 ) or ammonia gas (NH 3 ) used as a film forming gas, Thereafter, an insulating film made of silicon nitride (Si 3 N 4 ) with an etching rate adjusted in isotropic etching performed thereafter is formed.
  • nitrogen gas N 2
  • NH 3 ammonia gas
  • the formed material film is anisotropically etched by dry etching, and left only on the side wall of the insulating film 21.
  • a sidewall 45 made of the previous material film is formed on the sidewall of the insulating film 21, and the opening width of the gate opening 21g is narrowed.
  • a p-type low resistance region 16 g is formed in the second barrier layer 16 by introducing p-type impurities from the bottom of the gate opening 21 g narrowed by the sidewall 45.
  • the low resistance region 16g is formed by diffusing p-type impurity zinc (Zn) only in a position where the carrier supply region 15a is not reached, that is, only in the surface layer in the second barrier layer 16. To do.
  • the diffusion of zinc (Zn) is performed by vapor phase diffusion using a zinc compound gas at a temperature of about 600 ° C., for example.
  • the low resistance region 16g is formed by self-alignment at the bottom of the gate opening 21g.
  • the two barrier layers 16 are removed by selective etching.
  • etching for example, wet etching using a hydrofluoric acid (HF) chemical solution or plasma etching is performed if dry etching is used. This increases the opening width of the gate opening 21g.
  • HF hydrofluoric acid
  • FIG. 42A Thereafter, the processes after FIG. 42A may be performed in the same manner as the processes described in the eleventh embodiment with reference to the drawings after FIG. 27B.
  • the gate insulating film 25 is formed on the insulating film 21 so as to cover the second barrier layer 16 exposed from the gate opening 21g and the inner wall of the widened gate opening 21g.
  • the gate electrode 27 is formed so as to completely cover the bottom of the gate opening 21 g via the gate insulating film 25.
  • FIG. 42B After the above, as shown in FIG. 42B, the gate insulating film 25 and the insulating film 21 are subjected to pattern etching to expose the high resistance region 16b of the second barrier layer 16 at a position sandwiching the low resistance region 16g. An opening 21s and a drain opening 21d are formed.
  • FIG. 39 Thereafter, as shown in FIG. 39, the source electrode 23s and the drain electrode 23d are formed in ohmic contact with the high resistance region 16b of the second barrier layer 16 through the source opening 21s and the drain opening 21d, and the semiconductor device 1- 14 is completed.
  • the semiconductor device 1-14 of the fourteenth embodiment can be formed by the manufacturing method described above. According to this method, the low resistance region 16g is formed by the diffusion of the p-type impurity from the gate opening 21g provided with the sidewall 45, the sidewall 45 is removed by wet etching, and the gate opening 21g is widened. A gate electrode 27 is formed through the insulating film 25. Therefore, a gate electrode 27 having a shape that completely covers the low resistance region 16g is formed on the low resistance region 16g in a self-aligned manner with respect to the low resistance region 16g. Therefore, it is possible to easily obtain the semiconductor device 1-14 of the fourteenth embodiment.
  • the gate electrode 27 has a shape that completely covers the upper portion of the low resistance region 16g. Therefore, as in the eleventh embodiment, when a gate voltage (positive voltage) is applied to the gate electrode 27, it becomes easy to completely deplete the p-type low resistance region 16g. That is, it is possible to prevent the occurrence of a carrier depletion region at the gate end in the channel layer 14 during the ON operation, and to suppress an increase in parasitic resistance. As a result, the on-resistance Ron can be reduced, and the effect of increasing the maximum drain current Idmax can be expected.
  • the gate electrode 27 is formed in a self-aligned manner with respect to the low resistance region 16g, a margin with respect to an interval for securing a breakdown voltage between the source electrode 23s / drain electrode 23d can be reduced.
  • the low resistance region 16g is formed by introducing impurities through the gate opening 21g whose opening width is narrowed by the sidewall 45, the low resistance region 16g can be miniaturized. Therefore, it is possible to achieve further miniaturization of the element structure as compared with the eleventh to thirteenth embodiments.
  • the carrier supply region 15a is provided at the center in the film thickness direction of the first barrier layer 15 shown in FIG. What is necessary is just to provide, and it can combine and acquire the effect similar to 2nd Embodiment.
  • the fourteenth embodiment is combined with the semiconductor device of the third embodiment described with reference to FIG. 11, the low resistance region 16g shown in FIG. 39 is extended to a depth reaching the carrier supply region 15a. It is possible to obtain the same effects as those of the third embodiment.
  • the fourteenth embodiment is combined with the semiconductor device of the fourth embodiment described with reference to FIG. 12, the portion surrounding the p-type low resistance region 16g in the second barrier layer 16 shown in FIG. What is necessary is just to comprise as the resistance area
  • the first barrier layer 16 is not provided, for example.
  • the present invention can also be applied to a configuration in which a low resistance region or a high resistance region is provided above the carrier supply region 15a in the barrier layer 15.
  • a low resistance region is diffused and formed above the carrier supply region 15a in the first barrier layer 15 formed of an AlGaAs layer, and an insulating film 21 made of silicon nitride (Si 3 N 4 ) is formed above this region.
  • Si 3 N 4 silicon nitride
  • the fourteenth embodiment may be combined with the manufacturing method of the twelfth embodiment described with reference to FIG.
  • an etching stop layer is provided on the second barrier layer 16 and a step of performing wet etching up to the etching stop layer using the insulating film 21 as a mask before the step of forming the gate insulating film 25 described with reference to FIG. Should be added.
  • the same effect as that of the twelfth embodiment can be obtained.
  • the fourteenth embodiment may be combined with the thirteenth embodiment described with reference to FIG.
  • a step of providing a cap layer may be performed to form the insulating film 21 so as to cover the cap layer.
  • each layer using a compound semiconductor formed on the substrate 11 is lattice-matched between the layers.
  • the present technology is not limited to such a configuration, and each layer using a compound semiconductor formed on the substrate 11 is composed of a compound semiconductor layer grown by a pseudomorphic technology or a metamorphic technology.
  • compound semiconductor layers having different lattice constants grown by the above method may be used.
  • each layer made of a compound semiconductor having a lattice constant different from that of GaAs may be grown on a substrate made of GaAs.
  • an example of a configuration to which the metamorphic technology is applied is as follows.
  • Substrate 11 and buffer layer 12 ... GaAs Lower barrier layer 13... InAlAs (In 0.52 Al 0.48 As) Channel layer 14... InGaAs (In 0.53 Ga 0.47 As) First barrier layer 15... InAlAs (In 0.52 Al 0.48 As)
  • Second barrier layer 16 ... InAlP, InAlAs, or AlGaAsSb
  • InAlP or InAlAs is used as the second barrier layer 16
  • lattice matching with the first barrier layer is achieved by increasing the Al composition ratio.
  • the first barrier layer 15 and the second barrier layer 16 constitute the upper barrier layer above the channel layer 14.
  • the upper barrier layer is not limited to these two-layer structures, and an additional barrier layer made of a different compound semiconductor material is provided between the first barrier layer 15 and the second barrier layer 16. Also good. Even in such a case, in the state where the first barrier layer 15 and the second barrier layer 16 are directly bonded, the energy band on the opposite side to the carrier traveling side of the second barrier layer 16 in the bonded portion. However, it is only necessary to maintain a relationship farther from the intrinsic Fermi level in the first barrier layer than the energy band on the opposite side to the carrier traveling side of the first barrier layer 15 in the junction.
  • the additional barrier layer may be configured using a semiconductor material lattice-matched to the first barrier layer 15 and the second barrier layer 16, and a carrier supply region may be provided in the additional barrier layer. Further, the low resistance region 16 g may be provided so as to extend from the surface layer of the second barrier layer 16.
  • the wireless communication device can be downsized.
  • low power consumption can be achieved.
  • portability can be improved by extending the usage time by reducing the size of the device and reducing power consumption.
  • this technique can also take the following structures.
  • a second barrier layer made of a compound semiconductor farther from the intrinsic Fermi level in the first barrier layer than the first barrier layer;
  • a low-resistance region that is provided at least in the surface layer of the second barrier layer and that is kept at a lower resistance than the surroundings by containing impurities of a conductivity type opposite to that of carriers;
  • a source electrode and a drain electrode connected to the second barrier layer at a position sandwiching the low resistance region;
  • a gate insulating film provided on the low-resistance region;
  • a semiconductor device comprising: a gate electrode provided on the low resistance region through the gate insulating film.
  • the semiconductor device according to (1) or (2) comprising a configured lower barrier layer.
  • the lowest energy of the conduction band in the first barrier layer is higher than the lowest energy of the conduction band in the channel layer;
  • the channel layer is composed of an InGaAs mixed crystal which is a III-V group compound semiconductor
  • the first barrier layer is made of an AlGaAs mixed crystal that is a III-V group compound semiconductor
  • the channel layer is composed of an InGaAs mixed crystal which is a III-V group compound semiconductor,
  • the energy band on the carrier travel side at the junction with the channel layer is made of the compound semiconductor made of the compound semiconductor farther from the intrinsic Fermi level in the channel layer than the channel layer.
  • Forming a barrier layer In the state of being bonded to the first barrier layer above the first barrier layer, the energy band on the opposite side to the carrier traveling side across the band gap at the junction is higher than that of the first barrier layer.
  • the first barrier layer is composed of a compound semiconductor far from the intrinsic Fermi level in the barrier layer, and includes a low-resistance region in which at least the surface layer contains an impurity having a conductivity type opposite to that of the carrier and thus has a lower resistance than the surroundings.
  • the interface layer on the channel layer side is configured by the first barrier layer, and the second barrier layer is connected to the upper barrier layer provided on the surface layer at each position sandwiching the low resistance region Forming a source electrode and a drain electrode; Forming a gate insulating film on the low resistance region; Forming a gate electrode over the low-resistance region via the gate insulating film; and a method for manufacturing a semiconductor device.
  • the gate insulating film is formed by atomic layer deposition. (12) The method for manufacturing a semiconductor device according to (12).
  • the second barrier layer When forming the second barrier layer, after forming the second barrier layer made of a compound semiconductor, the low resistance region is formed by diffusing impurities into the second barrier layer. ) Or (13).
  • an insulating film having an opening is formed on the second barrier layer, and impurities are diffused from the opening of the insulating film into the second barrier layer, Before forming the gate insulating film, the opening of the insulating film is widened by etching, When forming the gate insulating film, the gate insulating film is formed in a state of covering the second barrier layer exposed from the opening, The method for manufacturing a semiconductor device according to (14) or (15), wherein when forming the gate electrode, the gate electrode is formed so as to completely cover the bottom of the opening via the gate insulating film.
  • an etching stop layer for the compound semiconductor constituting the second barrier layer is formed on the surface side, When forming the low resistance region, forming the low resistance region to a depth exceeding the etching stop layer, When expanding the opening of the insulating film, isotropic etching of the insulating film, Thereafter, the etching stop layer is removed before forming the gate insulating film.
  • an insulating film having an opening is formed on the second barrier layer, a sidewall is provided on a side wall of the opening, and the insulating film and the sidewall are used as a mask to form the second resistance layer. 2 diffuse impurities into the barrier layer, Before forming the gate insulating film, the sidewall is removed, When forming the gate insulating film, the gate insulating film is formed in a state of covering the second barrier layer exposed from the opening, The method for manufacturing a semiconductor device according to (14) or (15), wherein when forming the gate electrode, the gate electrode is formed so as to completely cover the bottom of the opening via the gate insulating film.
  • the second barrier layer when the upper barrier layer is formed on the channel layer by epitaxial growth, the second barrier layer is formed by epitaxial growth to which an impurity is added, and the second barrier layer is used as the low resistance region.

Landscapes

  • Engineering & Computer Science (AREA)
  • Microelectronics & Electronic Packaging (AREA)
  • Condensed Matter Physics & Semiconductors (AREA)
  • General Physics & Mathematics (AREA)
  • Manufacturing & Machinery (AREA)
  • Computer Hardware Design (AREA)
  • Physics & Mathematics (AREA)
  • Power Engineering (AREA)
  • Chemical & Material Sciences (AREA)
  • Chemical Kinetics & Catalysis (AREA)
  • Junction Field-Effect Transistors (AREA)
  • Insulated Gate Type Field-Effect Transistor (AREA)
  • Materials Engineering (AREA)
PCT/JP2013/053602 2012-02-16 2013-02-07 半導体装置および半導体装置の製造方法 Ceased WO2013122176A1 (ja)

Priority Applications (2)

Application Number Priority Date Filing Date Title
CN201380008763.4A CN104106129B (zh) 2012-02-16 2013-02-07 半导体装置和半导体装置的制造方法
US14/374,842 US9184274B2 (en) 2012-02-16 2013-02-07 Semiconductor apparatus and manufacturing method of the semiconductor apparatus

Applications Claiming Priority (4)

Application Number Priority Date Filing Date Title
JP2012-031734 2012-02-16
JP2012031734 2012-02-16
JP2012278717A JP5900315B2 (ja) 2012-02-16 2012-12-20 半導体装置および半導体装置の製造方法
JP2012-278717 2012-12-20

Publications (1)

Publication Number Publication Date
WO2013122176A1 true WO2013122176A1 (ja) 2013-08-22

Family

ID=48984285

Family Applications (1)

Application Number Title Priority Date Filing Date
PCT/JP2013/053602 Ceased WO2013122176A1 (ja) 2012-02-16 2013-02-07 半導体装置および半導体装置の製造方法

Country Status (4)

Country Link
US (1) US9184274B2 (enExample)
JP (1) JP5900315B2 (enExample)
CN (1) CN104106129B (enExample)
WO (1) WO2013122176A1 (enExample)

Cited By (1)

* Cited by examiner, † Cited by third party
Publication number Priority date Publication date Assignee Title
US20140147977A1 (en) * 2012-11-26 2014-05-29 Commissariat A L'energie Atomique Et Aux Energies Alternatives Process for fabricating an enhancement mode heterojunction transistor

Families Citing this family (13)

* Cited by examiner, † Cited by third party
Publication number Priority date Publication date Assignee Title
JP2016171162A (ja) 2015-03-12 2016-09-23 株式会社東芝 半導体装置
CN109416897B (zh) * 2016-07-29 2021-07-02 索尼公司 显示装置、显示装置制造方法以及电子设备
JP6729207B2 (ja) * 2016-09-06 2020-07-22 富士通株式会社 半導体装置及び半導体装置の製造方法
US11094814B2 (en) * 2017-09-29 2021-08-17 Epistar Corporation Semiconductor power device
US20190267480A1 (en) * 2018-02-26 2019-08-29 Duet Microelectronics Inc. Anti-barrier-conduction (abc) spacers for high electron-mobility transistors (hemts)
US20190267481A1 (en) * 2018-02-26 2019-08-29 Duet Microelectronics LLC Field-Effect Transistors (FETs)
KR102484092B1 (ko) * 2019-12-13 2023-01-04 울산대학교 산학협력단 고 유전율 및 밴드갭을 가지는 게이트 구조체 및 이의 제조방법
CN113497125A (zh) * 2020-04-08 2021-10-12 吴孟奇 环围型金属栅极的晶体管
US12446252B2 (en) 2021-05-20 2025-10-14 Macom Technology Solutions Holdings, Inc. Transistors including semiconductor surface modification and related fabrication methods
US12015075B2 (en) * 2021-05-20 2024-06-18 Macom Technology Solutions Holdings, Inc. Methods of manufacturing high electron mobility transistors having a modified interface region
US12009417B2 (en) 2021-05-20 2024-06-11 Macom Technology Solutions Holdings, Inc. High electron mobility transistors having improved performance
US12218202B2 (en) * 2021-09-16 2025-02-04 Wolfspeed, Inc. Semiconductor device incorporating a substrate recess
CN114551340B (zh) * 2022-01-14 2025-06-13 深圳镓芯半导体科技有限公司 第三代半导体接触窗结构及其制造方法

Citations (8)

* Cited by examiner, † Cited by third party
Publication number Priority date Publication date Assignee Title
JPH0563946B2 (enExample) * 1983-04-15 1993-09-13 Nippon Electric Co
JPH0750410A (ja) * 1993-08-06 1995-02-21 Hitachi Ltd 半導体結晶積層体及びその形成方法並びに半導体装置
JP2000100828A (ja) * 1998-09-18 2000-04-07 Sony Corp 半導体装置及びその製造方法
JP2001102312A (ja) * 1999-09-28 2001-04-13 Kyocera Corp 化合物半導体基板
JP2001217257A (ja) * 2000-01-31 2001-08-10 Sony Corp 半導体装置およびその製造方法
JP2004055788A (ja) * 2002-07-19 2004-02-19 Sony Corp 半導体装置
JP2004165341A (ja) * 2002-11-12 2004-06-10 New Japan Radio Co Ltd ヘテロ接合電界効果トランジスタ
JP2010098073A (ja) * 2008-10-15 2010-04-30 Gunze Ltd 電磁波シ−ルド材及びそれを装着してなるプラズマディスプレイパネル

Family Cites Families (3)

* Cited by examiner, † Cited by third party
Publication number Priority date Publication date Assignee Title
JPH11150264A (ja) 1997-09-12 1999-06-02 Sony Corp 半導体装置およびその製造方法ならびに無線通信装置
US6365925B2 (en) 1997-09-12 2002-04-02 Sony Corporation Semiconductor device
JP2010098076A (ja) * 2008-10-15 2010-04-30 Sumitomo Electric Device Innovations Inc 半導体装置の製造方法

Patent Citations (8)

* Cited by examiner, † Cited by third party
Publication number Priority date Publication date Assignee Title
JPH0563946B2 (enExample) * 1983-04-15 1993-09-13 Nippon Electric Co
JPH0750410A (ja) * 1993-08-06 1995-02-21 Hitachi Ltd 半導体結晶積層体及びその形成方法並びに半導体装置
JP2000100828A (ja) * 1998-09-18 2000-04-07 Sony Corp 半導体装置及びその製造方法
JP2001102312A (ja) * 1999-09-28 2001-04-13 Kyocera Corp 化合物半導体基板
JP2001217257A (ja) * 2000-01-31 2001-08-10 Sony Corp 半導体装置およびその製造方法
JP2004055788A (ja) * 2002-07-19 2004-02-19 Sony Corp 半導体装置
JP2004165341A (ja) * 2002-11-12 2004-06-10 New Japan Radio Co Ltd ヘテロ接合電界効果トランジスタ
JP2010098073A (ja) * 2008-10-15 2010-04-30 Gunze Ltd 電磁波シ−ルド材及びそれを装着してなるプラズマディスプレイパネル

Cited By (2)

* Cited by examiner, † Cited by third party
Publication number Priority date Publication date Assignee Title
US20140147977A1 (en) * 2012-11-26 2014-05-29 Commissariat A L'energie Atomique Et Aux Energies Alternatives Process for fabricating an enhancement mode heterojunction transistor
US9099491B2 (en) * 2012-11-26 2015-08-04 Commissariat A L'energie Atomique Et Aux Energies Alternatives Process for fabricating an enhancement mode heterojunction transistor

Also Published As

Publication number Publication date
US20150035010A1 (en) 2015-02-05
CN104106129A (zh) 2014-10-15
US9184274B2 (en) 2015-11-10
CN104106129B (zh) 2018-02-09
JP2013191828A (ja) 2013-09-26
JP5900315B2 (ja) 2016-04-06

Similar Documents

Publication Publication Date Title
JP5900315B2 (ja) 半導体装置および半導体装置の製造方法
US9136334B2 (en) High mobility electron transistor
JP6056435B2 (ja) 半導体装置
CN103026491B (zh) 常关断型三族氮化物金属-二维电子气隧穿结场效应晶体管
EP2080228B1 (en) Single voltage supply pseudomorphic high electron mobility transistor (phemt) power device and process for manufacturing the same
US9264998B2 (en) Semiconductor device, antenna switch circuit, and radio communication apparatus
US20120292665A1 (en) High performance multigate transistor
US10396081B2 (en) Semiconductor device, antenna switch circuit, and wireless communication apparatus
US9087888B2 (en) Semiconductor device and electronic apparatus
JP2004241711A (ja) 半導体装置
TW201737354A (zh) 半導體裝置,電子部件,電子設備及用於製造半導體裝置之方法
JP6369605B2 (ja) 半導体装置、アンテナスイッチ回路、および無線通信装置
JP2004158772A (ja) 電界効果トランジスタ
JP2010267817A (ja) 電界効果トランジスタ
JP2007200984A (ja) 電界効果トランジスタ、及び、同電界効果トランジスタの製造方法、及び、半導体装置、及び、同半導体装置の製造方法
JP2011035197A (ja) 電界効果トランジスタ、電界効果トランジスタの製造方法及び通信装置
JP2011146512A (ja) 半導体装置

Legal Events

Date Code Title Description
121 Ep: the epo has been informed by wipo that ep was designated in this application

Ref document number: 13749344

Country of ref document: EP

Kind code of ref document: A1

WWE Wipo information: entry into national phase

Ref document number: 14374842

Country of ref document: US

NENP Non-entry into the national phase

Ref country code: DE

122 Ep: pct application non-entry in european phase

Ref document number: 13749344

Country of ref document: EP

Kind code of ref document: A1