WO2013094322A1 - 対象成分を操作するためのチップデバイス及びそれを用いた方法 - Google Patents

対象成分を操作するためのチップデバイス及びそれを用いた方法 Download PDF

Info

Publication number
WO2013094322A1
WO2013094322A1 PCT/JP2012/078587 JP2012078587W WO2013094322A1 WO 2013094322 A1 WO2013094322 A1 WO 2013094322A1 JP 2012078587 W JP2012078587 W JP 2012078587W WO 2013094322 A1 WO2013094322 A1 WO 2013094322A1
Authority
WO
WIPO (PCT)
Prior art keywords
groove
aqueous liquid
liquid phase
nucleic acid
magnetic particles
Prior art date
Legal status (The legal status is an assumption and is not a legal conclusion. Google has not performed a legal analysis and makes no representation as to the accuracy of the status listed.)
Ceased
Application number
PCT/JP2012/078587
Other languages
English (en)
French (fr)
Japanese (ja)
Inventor
功 片所
鉄雄 大橋
Current Assignee (The listed assignees may be inaccurate. Google has not performed a legal analysis and makes no representation or warranty as to the accuracy of the list.)
Shimadzu Corp
Original Assignee
Shimadzu Corp
Priority date (The priority date is an assumption and is not a legal conclusion. Google has not performed a legal analysis and makes no representation as to the accuracy of the date listed.)
Filing date
Publication date
Application filed by Shimadzu Corp filed Critical Shimadzu Corp
Priority to US14/365,104 priority Critical patent/US9714445B2/en
Priority to CN201280062684.7A priority patent/CN103998940B/zh
Publication of WO2013094322A1 publication Critical patent/WO2013094322A1/ja
Anticipated expiration legal-status Critical
Ceased legal-status Critical Current

Links

Images

Classifications

    • CCHEMISTRY; METALLURGY
    • C12BIOCHEMISTRY; BEER; SPIRITS; WINE; VINEGAR; MICROBIOLOGY; ENZYMOLOGY; MUTATION OR GENETIC ENGINEERING
    • C12QMEASURING OR TESTING PROCESSES INVOLVING ENZYMES, NUCLEIC ACIDS OR MICROORGANISMS; COMPOSITIONS OR TEST PAPERS THEREFOR; PROCESSES OF PREPARING SUCH COMPOSITIONS; CONDITION-RESPONSIVE CONTROL IN MICROBIOLOGICAL OR ENZYMOLOGICAL PROCESSES
    • C12Q1/00Measuring or testing processes involving enzymes, nucleic acids or microorganisms; Compositions therefor; Processes of preparing such compositions
    • C12Q1/68Measuring or testing processes involving enzymes, nucleic acids or microorganisms; Compositions therefor; Processes of preparing such compositions involving nucleic acids
    • C12Q1/6806Preparing nucleic acids for analysis, e.g. for polymerase chain reaction [PCR] assay
    • BPERFORMING OPERATIONS; TRANSPORTING
    • B01PHYSICAL OR CHEMICAL PROCESSES OR APPARATUS IN GENERAL
    • B01LCHEMICAL OR PHYSICAL LABORATORY APPARATUS FOR GENERAL USE
    • B01L3/00Containers or dishes for laboratory use, e.g. laboratory glassware; Droppers
    • B01L3/50Containers for the purpose of retaining a material to be analysed, e.g. test tubes
    • B01L3/502Containers for the purpose of retaining a material to be analysed, e.g. test tubes with fluid transport, e.g. in multi-compartment structures
    • B01L3/5027Containers for the purpose of retaining a material to be analysed, e.g. test tubes with fluid transport, e.g. in multi-compartment structures by integrated microfluidic structures, i.e. dimensions of channels and chambers are such that surface tension forces are important, e.g. lab-on-a-chip
    • B01L3/502761Containers for the purpose of retaining a material to be analysed, e.g. test tubes with fluid transport, e.g. in multi-compartment structures by integrated microfluidic structures, i.e. dimensions of channels and chambers are such that surface tension forces are important, e.g. lab-on-a-chip specially adapted for handling suspended solids or molecules independently from the bulk fluid flow, e.g. for trapping or sorting beads, for physically stretching molecules
    • GPHYSICS
    • G01MEASURING; TESTING
    • G01NINVESTIGATING OR ANALYSING MATERIALS BY DETERMINING THEIR CHEMICAL OR PHYSICAL PROPERTIES
    • G01N33/00Investigating or analysing materials by specific methods not covered by groups G01N1/00 - G01N31/00
    • G01N33/02Food
    • G01N33/04Dairy products
    • GPHYSICS
    • G01MEASURING; TESTING
    • G01NINVESTIGATING OR ANALYSING MATERIALS BY DETERMINING THEIR CHEMICAL OR PHYSICAL PROPERTIES
    • G01N33/00Investigating or analysing materials by specific methods not covered by groups G01N1/00 - G01N31/00
    • G01N33/48Biological material, e.g. blood, urine; Haemocytometers
    • G01N33/483Physical analysis of biological material
    • G01N33/487Physical analysis of biological material of liquid biological material
    • G01N33/48707Physical analysis of biological material of liquid biological material by electrical means
    • HELECTRICITY
    • H02GENERATION; CONVERSION OR DISTRIBUTION OF ELECTRIC POWER
    • H02KDYNAMO-ELECTRIC MACHINES
    • H02K44/00Machines in which the dynamo-electric interaction between a plasma or flow of conductive liquid or of fluid-borne conductive or magnetic particles and a coil system or magnetic field converts energy of mass flow into electrical energy or vice versa
    • H02K44/02Electrodynamic pumps
    • BPERFORMING OPERATIONS; TRANSPORTING
    • B01PHYSICAL OR CHEMICAL PROCESSES OR APPARATUS IN GENERAL
    • B01LCHEMICAL OR PHYSICAL LABORATORY APPARATUS FOR GENERAL USE
    • B01L2200/00Solutions for specific problems relating to chemical or physical laboratory apparatus
    • B01L2200/06Fluid handling related problems
    • B01L2200/0647Handling flowable solids, e.g. microscopic beads, cells, particles
    • B01L2200/0668Trapping microscopic beads
    • BPERFORMING OPERATIONS; TRANSPORTING
    • B01PHYSICAL OR CHEMICAL PROCESSES OR APPARATUS IN GENERAL
    • B01LCHEMICAL OR PHYSICAL LABORATORY APPARATUS FOR GENERAL USE
    • B01L2200/00Solutions for specific problems relating to chemical or physical laboratory apparatus
    • B01L2200/06Fluid handling related problems
    • B01L2200/0673Handling of plugs of fluid surrounded by immiscible fluid
    • BPERFORMING OPERATIONS; TRANSPORTING
    • B01PHYSICAL OR CHEMICAL PROCESSES OR APPARATUS IN GENERAL
    • B01LCHEMICAL OR PHYSICAL LABORATORY APPARATUS FOR GENERAL USE
    • B01L2300/00Additional constructional details
    • B01L2300/08Geometry, shape and general structure
    • B01L2300/0809Geometry, shape and general structure rectangular shaped
    • B01L2300/0816Cards, e.g. flat sample carriers usually with flow in two horizontal directions
    • BPERFORMING OPERATIONS; TRANSPORTING
    • B01PHYSICAL OR CHEMICAL PROCESSES OR APPARATUS IN GENERAL
    • B01LCHEMICAL OR PHYSICAL LABORATORY APPARATUS FOR GENERAL USE
    • B01L2300/00Additional constructional details
    • B01L2300/08Geometry, shape and general structure
    • B01L2300/0861Configuration of multiple channels and/or chambers in a single devices
    • B01L2300/0864Configuration of multiple channels and/or chambers in a single devices comprising only one inlet and multiple receiving wells, e.g. for separation, splitting
    • BPERFORMING OPERATIONS; TRANSPORTING
    • B01PHYSICAL OR CHEMICAL PROCESSES OR APPARATUS IN GENERAL
    • B01LCHEMICAL OR PHYSICAL LABORATORY APPARATUS FOR GENERAL USE
    • B01L2300/00Additional constructional details
    • B01L2300/08Geometry, shape and general structure
    • B01L2300/0861Configuration of multiple channels and/or chambers in a single devices
    • B01L2300/0867Multiple inlets and one sample wells, e.g. mixing, dilution
    • BPERFORMING OPERATIONS; TRANSPORTING
    • B01PHYSICAL OR CHEMICAL PROCESSES OR APPARATUS IN GENERAL
    • B01LCHEMICAL OR PHYSICAL LABORATORY APPARATUS FOR GENERAL USE
    • B01L2300/00Additional constructional details
    • B01L2300/16Surface properties and coatings
    • B01L2300/161Control and use of surface tension forces, e.g. hydrophobic, hydrophilic
    • B01L2300/165Specific details about hydrophobic, oleophobic surfaces
    • BPERFORMING OPERATIONS; TRANSPORTING
    • B01PHYSICAL OR CHEMICAL PROCESSES OR APPARATUS IN GENERAL
    • B01LCHEMICAL OR PHYSICAL LABORATORY APPARATUS FOR GENERAL USE
    • B01L2400/00Moving or stopping fluids
    • B01L2400/04Moving fluids with specific forces or mechanical means
    • B01L2400/0403Moving fluids with specific forces or mechanical means specific forces
    • B01L2400/043Moving fluids with specific forces or mechanical means specific forces magnetic forces
    • BPERFORMING OPERATIONS; TRANSPORTING
    • B01PHYSICAL OR CHEMICAL PROCESSES OR APPARATUS IN GENERAL
    • B01LCHEMICAL OR PHYSICAL LABORATORY APPARATUS FOR GENERAL USE
    • B01L3/00Containers or dishes for laboratory use, e.g. laboratory glassware; Droppers
    • B01L3/50Containers for the purpose of retaining a material to be analysed, e.g. test tubes
    • B01L3/502Containers for the purpose of retaining a material to be analysed, e.g. test tubes with fluid transport, e.g. in multi-compartment structures
    • B01L3/5027Containers for the purpose of retaining a material to be analysed, e.g. test tubes with fluid transport, e.g. in multi-compartment structures by integrated microfluidic structures, i.e. dimensions of channels and chambers are such that surface tension forces are important, e.g. lab-on-a-chip
    • B01L3/502707Containers for the purpose of retaining a material to be analysed, e.g. test tubes with fluid transport, e.g. in multi-compartment structures by integrated microfluidic structures, i.e. dimensions of channels and chambers are such that surface tension forces are important, e.g. lab-on-a-chip characterised by the manufacture of the container or its components
    • BPERFORMING OPERATIONS; TRANSPORTING
    • B01PHYSICAL OR CHEMICAL PROCESSES OR APPARATUS IN GENERAL
    • B01LCHEMICAL OR PHYSICAL LABORATORY APPARATUS FOR GENERAL USE
    • B01L7/00Heating or cooling apparatus; Heat insulating devices
    • B01L7/52Heating or cooling apparatus; Heat insulating devices with provision for submitting samples to a predetermined sequence of different temperatures, e.g. for treating nucleic acid samples
    • GPHYSICS
    • G01MEASURING; TESTING
    • G01NINVESTIGATING OR ANALYSING MATERIALS BY DETERMINING THEIR CHEMICAL OR PHYSICAL PROPERTIES
    • G01N35/00Automatic analysis not limited to methods or materials provided for in any single one of groups G01N1/00 - G01N33/00; Handling materials therefor
    • G01N35/0098Automatic analysis not limited to methods or materials provided for in any single one of groups G01N1/00 - G01N33/00; Handling materials therefor involving analyte bound to insoluble magnetic carrier, e.g. using magnetic separation
    • YGENERAL TAGGING OF NEW TECHNOLOGICAL DEVELOPMENTS; GENERAL TAGGING OF CROSS-SECTIONAL TECHNOLOGIES SPANNING OVER SEVERAL SECTIONS OF THE IPC; TECHNICAL SUBJECTS COVERED BY FORMER USPC CROSS-REFERENCE ART COLLECTIONS [XRACs] AND DIGESTS
    • Y10TECHNICAL SUBJECTS COVERED BY FORMER USPC
    • Y10TTECHNICAL SUBJECTS COVERED BY FORMER US CLASSIFICATION
    • Y10T29/00Metal working
    • Y10T29/49Method of mechanical manufacture

Definitions

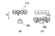
  • the magnetic particles in the groove give a shearing force to the gel along the conveying surface by moving the magnet from the outside, and the gel in the forward direction of the magnetic particles is sol and fluidized, so that the magnetic particles proceed as they are. be able to.
  • the sol released from the shearing force after the magnetic particles have passed through returns quickly to the gel state, so that the gel does not form through holes due to the passage of the magnetic particles.
  • the nucleic acid amplification reaction according to the present invention is not particularly limited.
  • the PCR method (US Pat. Nos. 4,683,195, 4,683,202, 4,800,159, and 4,965,188), the LCR method (US Pat. No. 5,494,810). No. 4), Q ⁇ method (US Pat. No. 4,786,600), NASBA method (US Pat. No. 5,409,818), LAMP method (US Pat. No. 3,313,358), SDA method (US Pat. No. 5,455,166), RCA method ( U.S. Pat. No. 5,354,688), ICAN method (Japanese Patent No. 3433929), TAS method (Japanese Patent No. 2443586), and the like can be used.
  • RT reaction can also be performed prior to the above reaction.
  • the composition of the reaction solution necessary for these nucleic acid amplification reactions and the reaction temperature can be appropriately selected by those skilled in the art.

Landscapes

  • Health & Medical Sciences (AREA)
  • Chemical & Material Sciences (AREA)
  • Life Sciences & Earth Sciences (AREA)
  • Engineering & Computer Science (AREA)
  • Physics & Mathematics (AREA)
  • Analytical Chemistry (AREA)
  • General Health & Medical Sciences (AREA)
  • Biomedical Technology (AREA)
  • Food Science & Technology (AREA)
  • Immunology (AREA)
  • Biochemistry (AREA)
  • General Physics & Mathematics (AREA)
  • Medicinal Chemistry (AREA)
  • Hematology (AREA)
  • Pathology (AREA)
  • Organic Chemistry (AREA)
  • Molecular Biology (AREA)
  • Biophysics (AREA)
  • Chemical Kinetics & Catalysis (AREA)
  • Proteomics, Peptides & Aminoacids (AREA)
  • Zoology (AREA)
  • Wood Science & Technology (AREA)
  • Urology & Nephrology (AREA)
  • Clinical Laboratory Science (AREA)
  • Dispersion Chemistry (AREA)
  • Fluid Mechanics (AREA)
  • Biotechnology (AREA)
  • Microbiology (AREA)
  • Bioinformatics & Cheminformatics (AREA)
  • General Engineering & Computer Science (AREA)
  • Genetics & Genomics (AREA)
  • Power Engineering (AREA)
  • Apparatus Associated With Microorganisms And Enzymes (AREA)
  • Sampling And Sample Adjustment (AREA)
  • Automatic Analysis And Handling Materials Therefor (AREA)
PCT/JP2012/078587 2011-12-22 2012-11-05 対象成分を操作するためのチップデバイス及びそれを用いた方法 Ceased WO2013094322A1 (ja)

Priority Applications (2)

Application Number Priority Date Filing Date Title
US14/365,104 US9714445B2 (en) 2011-12-22 2012-11-05 Chip device for manipulating object component, and method using the same
CN201280062684.7A CN103998940B (zh) 2011-12-22 2012-11-05 芯片装置、操作芯片的制作方法及操作对象成分的方法

Applications Claiming Priority (2)

Application Number Priority Date Filing Date Title
JP2011282185A JP5807542B2 (ja) 2011-12-22 2011-12-22 対象成分を操作するためのチップデバイス及びそれを用いた方法
JP2011-282185 2011-12-22

Publications (1)

Publication Number Publication Date
WO2013094322A1 true WO2013094322A1 (ja) 2013-06-27

Family

ID=48668222

Family Applications (1)

Application Number Title Priority Date Filing Date
PCT/JP2012/078587 Ceased WO2013094322A1 (ja) 2011-12-22 2012-11-05 対象成分を操作するためのチップデバイス及びそれを用いた方法

Country Status (4)

Country Link
US (1) US9714445B2 (enExample)
JP (1) JP5807542B2 (enExample)
CN (1) CN103998940B (enExample)
WO (1) WO2013094322A1 (enExample)

Cited By (2)

* Cited by examiner, † Cited by third party
Publication number Priority date Publication date Assignee Title
US20210046237A1 (en) * 2015-09-14 2021-02-18 Medisieve Ltd Magnetic filter apparatus and method
CN117264750A (zh) * 2023-11-23 2023-12-22 中国科学院空天信息创新研究院 检测卡盒及其使用方法

Families Citing this family (15)

* Cited by examiner, † Cited by third party
Publication number Priority date Publication date Assignee Title
JP6353155B2 (ja) * 2014-12-02 2018-07-04 コーニンクレッカ フィリップス エヌ ヴェKoninklijke Philips N.V. 微小流体工学システムにおける磁性粒子の分散および蓄積
JP6332012B2 (ja) * 2014-12-22 2018-05-30 株式会社島津製作所 磁性体粒子操作用装置
US10941394B2 (en) * 2015-01-15 2021-03-09 Shimadzu Corporation Device for manipulating magnetic particles and method for manipulating magnetic particles
WO2016121102A1 (ja) * 2015-01-30 2016-08-04 株式会社島津製作所 磁性体粒子操作用デバイスおよび磁性体粒子の操作方法
CN107532990B (zh) 2015-05-12 2021-11-12 芯片生物技术株式会社 单一粒子解析方法及用于该解析的系统
CN118681610A (zh) * 2015-07-24 2024-09-24 新型微装置股份有限公司 微流体样品处理设备和制备生物样品的方法
ES2599056B2 (es) * 2015-07-31 2017-07-07 Pablo ALBERTOS SÁNCHEZ Dispositivo para ensayar una muestra de células
KR101850307B1 (ko) 2016-03-03 2018-04-20 한국과학기술연구원 채널 결합형 스캐폴드의 제조장치 및 제조방법
CN107541462B (zh) * 2017-09-13 2021-02-23 北京理工大学 一种用于核酸纯化,扩增及基因检测的系统及应用方法
WO2019130558A1 (ja) * 2017-12-28 2019-07-04 株式会社ニコン 流体デバイスおよび流路供給システム
CN108801306B (zh) * 2018-06-26 2020-01-24 京东方科技集团股份有限公司 光纤传感器及其制作方法、运动感测装置
TWI688320B (zh) * 2018-10-26 2020-03-11 友達光電股份有限公司 轉置方法及轉置裝置
WO2021047533A1 (en) * 2019-09-10 2021-03-18 Bgi Shenzhen Co., Ltd. Operation of magnetic beads on microfluidics substrates
CN115747037A (zh) * 2023-01-09 2023-03-07 深圳市科瑞达生物技术有限公司 核酸分析卡及其使用方法
CN118017795B (zh) * 2024-04-08 2024-06-25 浙江大学 感应式电磁泵

Citations (3)

* Cited by examiner, † Cited by third party
Publication number Priority date Publication date Assignee Title
JP2004045410A (ja) * 2003-08-06 2004-02-12 Hitachi Ltd 試料分離装置及び化学分析装置
JP2008039541A (ja) * 2006-08-04 2008-02-21 National Institute For Materials Science マイクロ流路チップ及びそれを用いた生体高分子の処理方法
JP2011232260A (ja) * 2010-04-28 2011-11-17 Shimadzu Corp ゲル状液滴封入媒体を用いたデバイス及び液滴操作方法

Family Cites Families (29)

* Cited by examiner, † Cited by third party
Publication number Priority date Publication date Assignee Title
US3313358A (en) 1964-04-01 1967-04-11 Chevron Res Conductor casing for offshore drilling and well completion
US4786600A (en) 1984-05-25 1988-11-22 The Trustees Of Columbia University In The City Of New York Autocatalytic replication of recombinant RNA
US4683195A (en) 1986-01-30 1987-07-28 Cetus Corporation Process for amplifying, detecting, and/or-cloning nucleic acid sequences
US4683202A (en) 1985-03-28 1987-07-28 Cetus Corporation Process for amplifying nucleic acid sequences
US4965188A (en) 1986-08-22 1990-10-23 Cetus Corporation Process for amplifying, detecting, and/or cloning nucleic acid sequences using a thermostable enzyme
US4800159A (en) 1986-02-07 1989-01-24 Cetus Corporation Process for amplifying, detecting, and/or cloning nucleic acid sequences
IL86724A (en) 1987-06-19 1995-01-24 Siska Diagnostics Inc Methods and kits for amplification and testing of nucleic acid sequences
CA1340807C (en) 1988-02-24 1999-11-02 Lawrence T. Malek Nucleic acid amplification process
NL8900725A (nl) 1989-03-23 1990-10-16 Az Univ Amsterdam Werkwijze en combinatie van middelen voor het isoleren van nucleinezuur.
US5494810A (en) 1990-05-03 1996-02-27 Cornell Research Foundation, Inc. Thermostable ligase-mediated DNA amplifications system for the detection of genetic disease
US5354688A (en) 1990-05-11 1994-10-11 Associated Universities, Inc. Anaerobic microbial remobilization of coprecipitated metals
US5455166A (en) 1991-01-31 1995-10-03 Becton, Dickinson And Company Strand displacement amplification
EA004327B1 (ru) 1999-03-19 2004-04-29 Такара Био. Инк. Способ амплификации последовательности нуклеиновой кислоты
US6951722B2 (en) 1999-03-19 2005-10-04 Takara Bio Inc. Method for amplifying nucleic acid sequence
JP2003500645A (ja) * 1999-05-19 2003-01-07 ビラテック アクチェンゲゼルシャフト 荷電した分子を単離するための装置および方法
US6406604B1 (en) 1999-11-08 2002-06-18 Norberto A. Guzman Multi-dimensional electrophoresis apparatus
US20040018611A1 (en) * 2002-07-23 2004-01-29 Ward Michael Dennis Microfluidic devices for high gradient magnetic separation
US6806543B2 (en) 2002-09-12 2004-10-19 Intel Corporation Microfluidic apparatus with integrated porous-substrate/sensor for real-time (bio)chemical molecule detection
EP1603674B1 (en) 2003-02-05 2016-01-06 Iquum, Inc. Sample processing
JP2006007146A (ja) * 2004-06-28 2006-01-12 Canon Inc 粒子分離装置
JP2006061031A (ja) 2004-08-25 2006-03-09 Hitachi Maxell Ltd 化学分析装置、分析処理チップ、および化学分析方法
CN100534619C (zh) 2004-10-15 2009-09-02 西门子公司 对可通过导管进入测量室中的液态测量样品进行电化学测量的方法和相应的布置
ATE490971T1 (de) 2006-04-18 2010-12-15 Advanced Liquid Logic Inc Biochemie auf tröpfchenbasis
JP2007315936A (ja) 2006-05-26 2007-12-06 Toppan Printing Co Ltd 流体制御部を有するマイクロチップ
JP4844263B2 (ja) * 2006-07-07 2011-12-28 株式会社島津製作所 微量化学反応方法及び装置
CN101165486B (zh) * 2006-10-18 2011-07-27 中国科学院上海应用物理研究所 微流控阵列蛋白质芯片及其使用方法
DE102006050871B4 (de) * 2006-10-27 2011-06-01 Albert-Ludwigs-Universität Freiburg Integriertes mikrofluidisches Bauteil zum Aufreinigen von Analytmolekülen sowie Verfahren zum Aufreinigen
CN101013128A (zh) * 2007-02-13 2007-08-08 成都夸常医学工业有限公司 包含纳米结构的分析或分离用装置
JP2008233002A (ja) 2007-03-23 2008-10-02 Toppan Printing Co Ltd 反応チップ及びそれを用いた反応方法

Patent Citations (3)

* Cited by examiner, † Cited by third party
Publication number Priority date Publication date Assignee Title
JP2004045410A (ja) * 2003-08-06 2004-02-12 Hitachi Ltd 試料分離装置及び化学分析装置
JP2008039541A (ja) * 2006-08-04 2008-02-21 National Institute For Materials Science マイクロ流路チップ及びそれを用いた生体高分子の処理方法
JP2011232260A (ja) * 2010-04-28 2011-11-17 Shimadzu Corp ゲル状液滴封入媒体を用いたデバイス及び液滴操作方法

Cited By (4)

* Cited by examiner, † Cited by third party
Publication number Priority date Publication date Assignee Title
US20210046237A1 (en) * 2015-09-14 2021-02-18 Medisieve Ltd Magnetic filter apparatus and method
US11986585B2 (en) * 2015-09-14 2024-05-21 Medisieve Ltd Magnetic filter apparatus and method
CN117264750A (zh) * 2023-11-23 2023-12-22 中国科学院空天信息创新研究院 检测卡盒及其使用方法
CN117264750B (zh) * 2023-11-23 2024-01-30 中国科学院空天信息创新研究院 检测卡盒及其使用方法

Also Published As

Publication number Publication date
JP5807542B2 (ja) 2015-11-10
US9714445B2 (en) 2017-07-25
CN103998940B (zh) 2016-07-27
CN103998940A (zh) 2014-08-20
JP2013130548A (ja) 2013-07-04
US20140370511A1 (en) 2014-12-18

Similar Documents

Publication Publication Date Title
JP5807542B2 (ja) 対象成分を操作するためのチップデバイス及びそれを用いた方法
CN103269787B (zh) 用于在管内操作对象成分的器件和方法
JP5573335B2 (ja) 磁性体粒子操作デバイス及び磁性体粒子操作方法
KR101214780B1 (ko) 미세유동 장치
JP6241537B2 (ja) 磁性体粒子の操作方法および磁性体粒子操作用デバイス
US12263489B2 (en) Manufacturing method of the operation pipe
US20100047808A1 (en) Device and method for extraction and analysis of nucleic acids from biological samples
US20170152509A1 (en) Method for operating magnetic body particles and device for operating magnetic body particles
JP5454338B2 (ja) 液滴操作によるリアルタイム核酸増幅法
Labuz et al. Elevating sampling
Pahattuge Integrated Modular Microfluidic Systems for the Affinity Selection and Comprehensive Analysis of Rare Liquid Biopsy Biomarkers
WO2025230778A2 (en) Method for processing biological samples
EP4630582A1 (en) Fully automated dpcr systems and methods of use thereof

Legal Events

Date Code Title Description
121 Ep: the epo has been informed by wipo that ep was designated in this application

Ref document number: 12859545

Country of ref document: EP

Kind code of ref document: A1

WWE Wipo information: entry into national phase

Ref document number: 14365104

Country of ref document: US

NENP Non-entry into the national phase

Ref country code: DE

122 Ep: pct application non-entry in european phase

Ref document number: 12859545

Country of ref document: EP

Kind code of ref document: A1