WO2013076962A1 - Lever type connector - Google Patents

Lever type connector Download PDF

Info

Publication number
WO2013076962A1
WO2013076962A1 PCT/JP2012/007429 JP2012007429W WO2013076962A1 WO 2013076962 A1 WO2013076962 A1 WO 2013076962A1 JP 2012007429 W JP2012007429 W JP 2012007429W WO 2013076962 A1 WO2013076962 A1 WO 2013076962A1
Authority
WO
WIPO (PCT)
Prior art keywords
lever
latch
pair
connector
portions
Prior art date
Legal status (The legal status is an assumption and is not a legal conclusion. Google has not performed a legal analysis and makes no representation as to the accuracy of the status listed.)
Ceased
Application number
PCT/JP2012/007429
Other languages
English (en)
French (fr)
Inventor
Etsurou Suzuki
Yasuharu Kondo
Current Assignee (The listed assignees may be inaccurate. Google has not performed a legal analysis and makes no representation or warranty as to the accuracy of the list.)
Yazaki Corp
Original Assignee
Yazaki Corp
Priority date (The priority date is an assumption and is not a legal conclusion. Google has not performed a legal analysis and makes no representation as to the accuracy of the date listed.)
Filing date
Publication date
Application filed by Yazaki Corp filed Critical Yazaki Corp
Priority to CN201280067907.9A priority Critical patent/CN104067457B/zh
Priority to IN4631CHN2014 priority patent/IN2014CN04631A/en
Priority to EP12798422.7A priority patent/EP2783428B1/en
Priority to KR1020147017264A priority patent/KR20140093288A/ko
Publication of WO2013076962A1 publication Critical patent/WO2013076962A1/en
Priority to US14/286,103 priority patent/US9859651B2/en
Anticipated expiration legal-status Critical
Ceased legal-status Critical Current

Links

Images

Classifications

    • HELECTRICITY
    • H01ELECTRIC ELEMENTS
    • H01RELECTRICALLY-CONDUCTIVE CONNECTIONS; STRUCTURAL ASSOCIATIONS OF A PLURALITY OF MUTUALLY-INSULATED ELECTRICAL CONNECTING ELEMENTS; COUPLING DEVICES; CURRENT COLLECTORS
    • H01R13/00Details of coupling devices of the kinds covered by groups H01R12/70 or H01R24/00 - H01R33/00
    • H01R13/62Means for facilitating engagement or disengagement of coupling parts or for holding them in engagement
    • H01R13/629Additional means for facilitating engagement or disengagement of coupling parts, e.g. aligning or guiding means, levers, gas pressure electrical locking indicators, manufacturing tolerances
    • H01R13/62933Comprising exclusively pivoting lever
    • HELECTRICITY
    • H01ELECTRIC ELEMENTS
    • H01RELECTRICALLY-CONDUCTIVE CONNECTIONS; STRUCTURAL ASSOCIATIONS OF A PLURALITY OF MUTUALLY-INSULATED ELECTRICAL CONNECTING ELEMENTS; COUPLING DEVICES; CURRENT COLLECTORS
    • H01R13/00Details of coupling devices of the kinds covered by groups H01R12/70 or H01R24/00 - H01R33/00
    • H01R13/62Means for facilitating engagement or disengagement of coupling parts or for holding them in engagement
    • H01R13/629Additional means for facilitating engagement or disengagement of coupling parts, e.g. aligning or guiding means, levers, gas pressure electrical locking indicators, manufacturing tolerances
    • H01R13/62933Comprising exclusively pivoting lever
    • H01R13/62955Pivoting lever comprising supplementary/additional locking means
    • HELECTRICITY
    • H01ELECTRIC ELEMENTS
    • H01RELECTRICALLY-CONDUCTIVE CONNECTIONS; STRUCTURAL ASSOCIATIONS OF A PLURALITY OF MUTUALLY-INSULATED ELECTRICAL CONNECTING ELEMENTS; COUPLING DEVICES; CURRENT COLLECTORS
    • H01R13/00Details of coupling devices of the kinds covered by groups H01R12/70 or H01R24/00 - H01R33/00
    • H01R13/62Means for facilitating engagement or disengagement of coupling parts or for holding them in engagement
    • H01R13/629Additional means for facilitating engagement or disengagement of coupling parts, e.g. aligning or guiding means, levers, gas pressure electrical locking indicators, manufacturing tolerances
    • H01R13/62933Comprising exclusively pivoting lever
    • H01R13/62938Pivoting lever comprising own camming means

Definitions

  • the present invention relates to a lever type connector in which a connector housing is moved toward a mating connector and fitted to the mating connector by a rotational operation of a lever.
  • Fig. 21 is an exploded perspective view of a connector having a conventional lock structure.
  • This connector includes a male connector 101 and a female connector 102 arranged to fit to the male connector 101.
  • the lock structure of this connector includes an engagement projection 107 arranged on an outer surface of one connector housing 103 of the male and female connectors 101, 102 having multipolarized terminals 106, a lock arm 115 having an engagement claw 116 arranged to latch onto the engagement projection 107 and arranged on an outer surface of the other housing 104 via an elastically deformable hinge-like leg 117, and a press operation lever 118 arranged on a rear end of the lock arm 115 extending rearward than the hinge-like leg 117.
  • This press operation lever 118 includes a pair of end pieces 119 extending outward from both sides of the press operation lever 118 and curved downward so as to continue to an outer surface of an upper wall of the connector housing 104. With the pair of end pieces 119, the connector having the lock structure can provide the improved rigidity to the press operation lever 118 without an increase in size (refer to Patent Literature 1).
  • a lever type connector arranged to reduce the fitting operation force using a lever (refer to Patent Literature 2).
  • Fig. 22A is a partial cross-sectional view of a conventional lever type connector
  • Fig. 22B is an enlarged view of a portion shown in Fig. 22A.
  • this lever type connector 201 shown in Patent Literature 2 includes a connector housing 202, a wire cover 240 attached to the connector housing 202 to lead out an electric wire, and a lever 230 rotatably attached to the connector housing 202 and arranged to rotate to make a mating connector moved toward the connector housing 202 and fitted to the connector housing 202.
  • the wire cover 240 includes a lock portion 245 formed at a tip end of a lock arm 242.
  • the lever 230 includes a lever claw portion 236 arranged to latch onto the lock portion 245 and a lock protection portion 237 formed on an engagement side of the lever claw portion 236 so as to cover the lock portion 245.
  • the lever type connector 201 prevents the lock portion 245 from being damaged or deformed.
  • the above-described conventional lever type connector 201 needs to be reduced in height (i.e. downsized) due to a small space in a height direction for mounting the lever type connector 201.
  • height i.e. downsized
  • the thickness of the operation portion 234 is reduced, then it is difficult to ensure enough rigidity of the operation portion 234 to withstand the rotational operation of the lever 230.
  • the lock protection portion 237 is arranged to cover only the lock portion 245 located at the tip end of the lock arm 242.
  • the lock arm 242 deforms downward, possibly causing the disengagement of the lever claw portion 236 from the lock portion 245.
  • an object of the present invention is to provide a lever type connector which can prevent the disengagement of a lever from a connector housing due to application of an external force on the connector housing, and which can ensure the rigidity to withstand the rotational operation of the lever without an increase in size.
  • a lever type connector including a connector housing arranged to receive a terminal and arranged to mate with a mating connector which is fitted from front, a lever having a pair of side plate portions and an operation portion connecting the pair of side plate portions, the side plate portions being rotatably supported on walls on both sides of the connector housing, a latch portion provided to the operation portion, a flexible arm portion extending upward from a rear end side in a connector fitting direction of an upper wall of the connector housing and having a free end extending rearward, and a latch receiving portion provided on the free end of the arm portion and arranged to latch onto the latch portion, wherein the operation portion includes an extended plate portion arranged to face the rear end side of the upper wall when the lever is rotated rearward from a standing state and the latch portion is latched onto the latch receiving portion, and wherein the extended plate portion is arranged to cover an upper surface of the arm portion.
  • the lever is rotatably arranged on the connector housing, and by moving the mating terminal toward the connector housing from the front and by rotating the lever rearward, both of the connectors are completely fitted together and at the same time the latch portion is latched onto the latch receiving portion by the rotation of the lever, thereby fixing the lever to the connector housing.
  • the rotational operation of the lever alone can completely fit the both connectors together and can fix the lever to the connector housing.
  • the present invention provides, in a second aspect, the lever type connector according to the first aspect wherein the arm portion is provided in a pair so that the arm portions in the pair are parallely arranged along a left-right direction with an interval at the rear end side of the upper wall.
  • the force applied on one arm portion can be distributed and reduced.
  • the present invention provides, in a third aspect, the lever type connector according to the first or the second aspect wherein the extended plate portion and the operation portion are arranged to cover from a basal portion of the arm portion to the latch receiving portion.
  • the arm portion since the arm portion is entirely covered by the extended plate portion and the operation portion, the arm portion can be protected from outside interference.
  • a lever type connector including a connector housing arranged to receive a terminal and arranged to mate with a mating connector which is fitted from front, a lever having a pair of side plate portions and an operation portion connecting the pair of side plate portions, the side plate portions being rotatably supported on walls on both sides of the connector housing, a latch portion provided to the operation portion, a flexible arm portion extending upward from a rear end side in a connector fitting direction of an upper wall of the connector housing and having a free end extending rearward, and a latch receiving portion provided on the free end of the arm portion and arranged to latch onto the latch portion, wherein the operation portion includes an extended plate portion arranged to face the rear end side of the upper wall when the lever is rotated rearward from a standing state and the latch portion is latched onto the latch receiving portion, and wherein the extended plate portion is arranged to cover an upper surface of the arm portion.
  • the lever type connector having the rigidity which can withstand the rotational operation of the lever without an increase in size.
  • the arm portion is provided in a pair so that the arm portions in the pair are parallely arranged along a left-right direction with an interval at the rear end side of the upper wall.
  • the force applied on one of the arm portions is distributed, thereby allowing the latch claws to be latched onto the latch receiving portions in a stable manner.
  • the extended plate portion and the operation portion are arranged to cover from a basal portion of the arm portion to the latch receiving portion.
  • Fig. 1 is a perspective view showing one embodiment of a lever type connector according to the present invention.
  • Fig. 2 is a front view of the lever type connector shown in Fig. 1.
  • Fig. 3 is a side view of the lever type connector shown in Fig. 1.
  • Fig. 4 is a top view of the lever type connector shown in Fig. 1.
  • Fig. 5 is a front view of the lever type connector of Fig. 1 latched onto a connector lock portion.
  • Fig. 6 is a cross-sectional view taken along the line I-I in Fig. 5.
  • Fig. 7 is a perspective view of a connector housing of the lever type connector shown in Fig. 1.
  • Fig. 8 is an enlarged view of the connector lock portion of the connector housing shown in Fig. 7.
  • Fig. 1 is a perspective view showing one embodiment of a lever type connector according to the present invention.
  • Fig. 2 is a front view of the lever type connector shown in Fig. 1.
  • Fig. 3
  • FIG. 9 is a perspective view of a lever of the lever type connector shown in Fig. 1.
  • Fig. 10 is a front view of the lever shown in Fig. 9.
  • Fig. 11 is a perspective view of a mating connector arranged to be fitted to the lever type connector shown in Fig. 1.
  • Fig. 12 is a perspective view showing the lever type connector of Fig. 1 fitted to the mating connector.
  • Fig. 13 is a perspective view showing a state in which the lever type connector of Fig. 1 is fitted to the mating connector.
  • Fig. 14 is a cross-sectional view taken along the line II-II in Fig. 13.
  • Fig. 15 is an enlarged view showing a portion shown in Fig. 14.
  • Fig. 14 is a cross-sectional view taken along the line II-II in Fig. 13.
  • Fig. 15 is an enlarged view showing a portion shown in Fig. 14.
  • Fig. 14 is a cross-sectional view taken along the line II-
  • Fig. 16 is a top view of the lever type connector and the mating connector shown in Fig. 13.
  • Fig. 17 is an illustrative view showing operation of the lever type connector shown in Fig. 1.
  • Fig. 18 is an illustrative view showing operation of the lever type connector shown in Fig. 1.
  • Fig. 19A is a side view showing a modified embodiment of the lever shown in Fig. 9.
  • Fig. 19B is a side view showing a modified embodiment of the lever shown in Fig. 9.
  • Fig. 20 is a side view showing another modified embodiment of the lever shown in Fig. 9.
  • Fig. 21 is an exploded perspective view showing a connector including a conventional lock structure.
  • Fig. 22A is a partial cross-sectional view of a conventional lever type connector; and
  • Fig. 22B is an enlarged view of a portion shown in Fig. 22A.
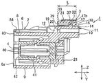
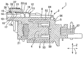
  • a lever type connector includes a terminal (not shown), a connector housing 2 made of insulating resin and receiving the terminal, and a lever 3 rotatably provided to the connector housing 2.
  • the connector housing 2 includes a housing main portion 4 having a plurality of terminal receiving portions 40 (shown in Fig. 2), a hood portion 6 provided outside of the housing main portion 4 and arranged to engage with a mating terminal 5 which is engaged from the front, and a rear holder 21 mounted from the back of the hood portion 6.
  • the housing main portion 4 includes an inner housing 41 formed integrally with the hood portion 6 and a front holder 42 (shown in Fig. 2). In Fig. 1, the front holder 42 is omitted.
  • the front holder 42 is mounted to the inner housing from the front, and the plurality of terminal receiving portions 40 are formed by mounting the front holder 42 to the inner housing 41.
  • the plurality of terminal receiving portions 40 is arranged in two rows along an up-down direction Z and parallely aligned along a left-right direction X at an interval with respect to each other.
  • a front-rear direction Y indicates a connector fitting direction as well as a longitudinal direction of each terminal receiving portion 40, as shown in Fig. 6.
  • the term “front” is indicative of side of a later-described opening portion 6a of the hood portion 6 in the front-rear direction Y, and the term “rear” is indicative of the opposite side of the opening portion 6a with respect to the "front”.
  • each of the above-described terminal receiving portions 40 is formed into a rectangular tube-like shape having an opening provided on the front and rear sides.
  • a terminal connected to an electric wire (not shown) is inserted into each terminal receiving portion 40 from the opening on the rear side.
  • a lance (not shown) is provided at an inner side of each terminal receiving portion 40 for stopping the terminal connected to the electric wire in an engaged fashion
  • the hood portion 6 includes a pair of side wall portions 7 opposed in the left-right direction X, an upper wall 8 and a lower wall 9 connecting the pair of side wall portions 7, a rearward extended wall 10 extending to the rear side of the upper wall 8, and a connector lock portion 11.
  • the hood portion 6 includes the opening portion 6a into which the mating connector 5 is fitted, the opening portion 6a being formed on the front side of the hood portion 6.
  • the front holder 42 is omitted.
  • the pair of side wall portions 7 includes a pair of slit portions 71, a pair of opening-prevention portions 72 which reinforces the pair of slit portions 71, and a pair of shaft portions 75 provided to support the lever.
  • the pair of side wall portions 7 corresponds to "walls on both sides" described in claims.
  • the above-described pair of slit portions 71 is provided for guiding a later-described driven pin 55 of the mating connector 5.
  • the pair of slit portions 71 is arranged in communication with a later-described cam hole 34 of the lever 3 and is arranged so as to allow the driven pin 55 of the mating connector 5 enter into the pair of slit portions 71.
  • Each slit portion 71 is formed by cutting out an edge of each side wall portion 7 on the front side (i.e. on the side adjacent to the opening portion) and is extending linearly in the front-rear direction Y.
  • Each of the pair of opening-prevention portions 72 includes a pair of first flange portions 73a, 73b arranged on both sides of the respective slit portions 71, and bridge portions 74 connecting together edges of the pair of first flange portions 73a, 73b distant from the opening portion 6a.
  • the pair of first flange portions 73a, 73b extends outward from the edges of the pair of side wall portions 7 adjacent to the opening portion 6a.
  • the pair of shaft portions 75 is formed into a columnar shape and is projecting horizontally from an outer surface of the respective side wall portions 7.
  • the respective shaft portions 75 are provided on a rear end side of the respective slit portions 71.
  • the above-described upper wall 8 includes a cut-out portion 81 for locating a later-described extended plate portion 33 of the lever 3 inside of the cut-out portion 81, a pair of second flange portions 83 provided on both sides of the cut-out portion 81, and a pair of grooves 82 for guiding the mating connector 5.
  • the cut-out portion 81 is provided at a central portion of the upper wall 8 and formed by cutting out an edge adjacent to the opening portion 6a.
  • the dimension in the left-right direction X of the cut-out portion 81 is formed into the same dimension as the later-described extended plate portion 33 of the lever 3.
  • Each of the pair of second flange portions 83 is formed continuous with the respective first flange portions 73a.
  • the pair of second flange portions 83 extends outward from the edge of the upper wall 8 adjacent to the opening portion 6a.
  • the pair of grooves 82 is arranged such that a later-described pair of ribs 58 of the mating connector 5 is inserted in the pair of grooves 82.
  • the respective grooves 82 are provided at an under surface of the upper wall 8.
  • the respective grooves 82 are formed by cutting out an edge of the second flange portions 83 adjacent to the opening portion 6a and are extending across an entire length of the upper wall 8 in the front-rear direction Y.
  • the dimension in the up-down direction Z of each groove 82 is formed larger than the thickness of the upper wall 8, thus a protrusion 84 is formed on an upper surface of a portion with each groove 82.
  • the protrusion 84 is continuous with the second flange portion 83.
  • the above-described rearward extended wall 10 has the dimension in the left-right direction X that is smaller than the dimension of the upper wall 8 and is projecting rearward from the upper wall 8.
  • This rearward extended wall 10 has a flat outer surface lying on the same plane as the upper wall 8.
  • the rearward extended wall 10 corresponds to "a rear end side of an upper wall" described in claims.
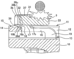
  • the above-described connector lock portion 11 includes a pair of protection walls 12, a pair of arm portions 13 provided between the pair of protection walls 12, a connection portion 14 connecting free ends of the pair of arm portions 13, and a disengagement portion 15 provided at a rear end of the connection portion 14.
  • the connection portion 14 and basal portions of the pair of arm portions 13 adjacent the free end are arranged to face the rearward extended wall 10 with a constant space from the rearward extended wall 10.
  • the above-described pair of protection walls 12 is extending perpendicularly from both edges in the left-right direction X of the rearward extended wall 10.
  • the respective protection walls 12 are extending from a rear end of the rearward wall 10 to the rear end of the upper wall 8.
  • each of the arm portions 13 is provided at the rearward extended wall 10.
  • the pair of arm portions 13 is parallely aligned in the left-right direction X with an interval between each other.
  • a basal portion of each of the arm portions 13 includes three legs including a pair of thick leg portions 19 and a thin leg portion 20 arranged between the pair of thick leg portions 19.
  • the pair of thick leg portions 19 and the thin leg portion 20 are aligned in the left-right direction X.
  • Each of the arm portions 13 further includes an arm main body 16 extending upward from the rearward extended wall 10 and having a free end extending toward the rear side, upwardly extending projections 17 provided on the free end of the arm main body 16, and a latch receiving portion 18 provided on a rear side of the projections 17.
  • Each of the pair of thick leg portions 19 has the dimension in the up-down direction Z that increases towards the rear side.
  • the thick leg portion 19 has the dimension in the front-rear direction Y that is larger than the dimension in the front-rear direction Y of the thin leg portion 20.
  • the thick leg portion 19 has the dimension in the left-right direction X that is smaller than the dimension in the left-right direction X of the thin leg portion 20.
  • the above-described projections 17 are provided in a pair on both ends in the left-right direction X of the arm main body 16.
  • Each of the projections 17 includes a slanted surface 17b slanted upward towards the rear side.
  • an upper surface 17a of the respective projections 17 and an upper surface 18a of the latch receiving portion 18 which is continuous with the upper surface 17a are formed flat. These upper surfaces 17a, 18a are located at the upper most position in the arm portion 13. Also, these upper surfaces 17a, 18a are located higher than the respective protection walls 12.
  • the latch receiving portions 18 are formed continuous with rear ends of the pair of projections 17.
  • the latch receiving portion 18 is formed across an entire length in the left-right direction X of the arm main body 16.
  • the latch receiving portion 18 includes a vertical surface 18b which is perpendicular with respect to the upper surface 18a and a slanted surface 18c formed continuous with the vertical surface 18b.
  • the slanted surface 18c is slanted upward towards the rear side.
  • the disengagement portion 15 is provided at a central portion in the left-right direction X of a rear end side of the connection portion 14.
  • the disengagement portion 15 is slanted upward towards the rear side.
  • the disengagement portion 15 includes an antislip portion formed on a surface of the disengagement portion 15.
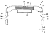
  • the lever 3 is formed into a U-shape with a pair of side plate portions 30 arranged with an interval between each other, a pair of middle portions 31 formed continuous with inner sides of the pair of side plate portions 30, an operation portion 32 formed continuously between the pair of middle portions 31, and the extended plate portion 33 formed continuously below the operation portion 32.
  • the operation portion 32 and the extended plate portion 33 are continuous in a direction perpendicular to the upper surface of the upper wall 8.
  • the term "lever standing state” means that the direction along which the operation portion 32 and the extended plate portion 33 are formed continuous is parallel to the direction Z which is perpendicular to the upper surface of the upper wall 8.
  • a groove 3a is provided on the rear side of the operation portion 32 and the extended plate portion 33 in the lever standing state, the groove 3a being arranged such that the connector lock portion 11 is received inside of the groove 3a when the lever 3 is rotated rearward from the standing state.
  • the groove 3a is extending in the up-down direction Z.
  • a dimension L of the operation portion 32 and the extended plate portion 33 in the direction along which the operation portion 32 and the extended plate portion 33 are formed continuous is the same as the length from the latch receiving portion 18 of the arm portion 13 to the thin leg portion 20 which is the basal portion of the arm portion 13. That is, when the latch claw 38 of the lever 3 is latched onto the latch receiving portion 18 of the connector lock portion 11, the extended plate portion 33 and the operation portion 32 covers the upper surface of the arm portion 13 from the basal portion to the latch receiving portion 18 of the arm portion 13.
  • Each of the side plate portions 30 includes the cam hole 34 into which the later-described driven pin 55 of the mating connector 5 enters, a plate-like reinforcement piece 35 which connects both ends at an entrance of the cam hole 34, and a circular hole 36 in which the above-described shaft portion 75 of the connector housing 2 is fitted.
  • the cam hole 34 is curved at the rear side to which the lever 3 is turned down.
  • An entrance of the cam hole 34 is provided at a tip end of the cam hole in the lever standing state so that the driven pin 55 of the mating connector 5 is inserted into the entrance.
  • the circular hole 36 is provided near a rear end of the cam hole 34.
  • the cam hole 34 may be a cam groove formed on an inner surface of the side plate portion 30.
  • the operation portion 32 is provided at a central portion between the pair of side plate portions 30.
  • the operation portion 32 includes an antislip portion 37 formed on a front surface in the lever standing state and slanted rearward towards the lower side, the pair of latch claws 38 formed on a rear surface and arranged to latch onto the pair of latch receiving portions 18 of the arm portion 13, the pair of concave portions 39 formed respectively on the lower side of the pair of latch claws 38, and a cut-out portion 3b provided between the pair of latch claws 38 and formed by cutting out an upper edge of the operation portion 32.
  • the cut-out portion 3b allows the disengagement portion 15 of the connector lock portion 11 to be exposed to outside when the lever 3 is turned down.
  • the pair of latch claws 38 is arranged along the left-right direction X at an interval.
  • the respective latch claws 38 are arranged on an upper end of the operation portion 32 in the lever standing state and are projecting from the rear surface of the operation portion 32. Also, the tip ends of the respective latch claws 38 are extending downward. As shown in Fig.
  • the latch claw 38 includes a second vertical surface 38b which abuts on the vertical surface 18b of the latch receiving portion 18 when the lever 3 is turned down, a second slanted surface 38c formed continuous with the second vertical surface 38b and arranged to abut on the slanted surface 18c, and a horizontal surface 38d formed continuous with the second slanted surface 38c and arranged to be placed on the upper surface of the connection portion 14.
  • the pair of latch claws 38 corresponds to "pair of latch portions" described in claims.
  • the above-described pair of concave portions 39 is extending all the way to the extended plate portion 33.
  • the extended plate portion 33 is arranged at a central portion of the operation portion 32.
  • the extended plate portion 33 has the dimension in the left-right direction X that is shorter than the dimension in the left-right direction X of the operation portion 32.
  • the dimension in the up-down direction Z of the extended plate portion 33 in the lever standing state is the same as the second flange portion 83 of the upper wall 8.
  • the second vertical surfaces 38b of the latch claws 38 abut on the vertical surfaces 18b of the latch receiving portions 18 and the second slanted surfaces 38c abut on the slanted surfaces 18c, and at the same time, the arm main bodies 16 are restored to an original state before being deformed, thereby latching the latch claws 38 onto the latch receiving portions 18.
  • the pair of side plate portions 30 of the lever 3 is deformed in the outward direction so that the pair of shaft portions 75 of the connector housing 2 is fitted in the circular hole 36 of the lever 3, thereby rotatably supporting the lever 3 at the connector housing 2 to assemble. At this time, the lever type connector 1 is in the lever standing state.
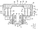
  • the above-described mating connector 5 includes a pair of side wall portions 51 opposed along the left-right direction X, an upper wall portion 52 and a lower wall portion 53 connecting the pair of side wall portions 51, a connector housing 54 having a connector fit chamber 50 surrounded by the wall portions 51, 52, 53 located in the up-down and left-right sides, the pair of driven pins 55 projecting horizontally from an outer surface of the connector housing 54, a vertical base wall 56 located in the front, a male-type pin-shaped terminal 57 (hereinafter called the male terminal 57) penetrating through the base wall 56 and projecting into the connector fit chamber 50, and a pair of ribs 58 arranged to be inserted into the pair of grooves 82 described above.
  • the mating connector 5 is moved closer to the lever type connector 1 which is in the lever standing state from the front so that the driven pins 55 enter in the slit portions 71 and the cam holes 34 which are in communication with respect to each other.
  • the lever 3 is rotated rearward to move the driven pins 55 in the slit portions 71 and the cam holes 34 to pull the connector housing 54 of the mating connector 5 into the connector housing 2.
  • the latch claws 39 are latched onto the latch receiving portions 18, and the male terminals 57 of the mating terminal 5 are fitted to the terminals received in the connector housing 2 (which are female type), thereby fitting the mating terminal 5 to the lever type connector 1.
  • the arm portions 13 are provided in a pair and are parallely arranged on the left-right sides on the rear end side of the upper wall 8. Consequently, the force applied to one of the arm portions 13 is distributed, thereby allowing the latch claws 17 to be latched onto the latch receiving portions in a stable manner.
  • the extended plate portion 33 and the operation portion 32 cover from the basal portions of the arm portions 13 to the latch receiving portions 18, the disengagement of the lever 3 from the connector housing 2 due to the application of an external force on the connector housing 2 can be prevented in a reliable manner, thereby protecting the entire arm portions 13.
  • the dimension in the up-down direction Z, the dimension in the left-right direction X or the dimension in the front-rear direction Yof the above-described extended plate portion 33 in the lever standing state may be changed in accordance with allowed space provided. That is, as shown in Fig. 19A, in the lever standing state, the dimension in the up-down direction Z of an extended plate portion 33A of a lever 3A may be formed smaller than the dimension in the up-down direction Z of the extended plate portion 33 of the above-described embodiment, or alternatively, as shown in Fig.
  • the dimension in the front-rear direction Y of an extended plate portion 33B of a lever 3B may be formed larger than the dimension in the front-rear direction Y of the extended plate portions 33, 33A of the above-described embodiments.
  • the extended plate portion 33 according to the above-described embodiment has the dimension in the left-right direction X that is smaller than the dimension in the left-right direction X of the operation portion 32; however, the present invention is not limited to this, and as shown in Fig. 20, the dimension in the left-right direction X of an extended plate portion 33C of a lever 3C may be formed larger than the dimension in the left-right direction X of the operation portion 32.
  • like reference signs are used for elements similar to the above-described embodiment to omit explanation.
  • the lever type connector having the rigidity which can withstand the rotational operation of the lever without an increase in size.
  • the lever 3 according to the above-described embodiment is provided with the circular hole 36 to which the shaft portion 75 of the connector housing 2 is fitted; however the present invention is not limited to this, and the lever 3 may be provided with a shaft portion and the connector housing 2 may be provided with a circular hole to which the shaft portion of the lever 3 is fitted. Furthermore, the circular hole 36 may be concave with respect to the inner surface of the side plate portion 30.

Landscapes

  • Details Of Connecting Devices For Male And Female Coupling (AREA)
PCT/JP2012/007429 2011-11-24 2012-11-20 Lever type connector Ceased WO2013076962A1 (en)

Priority Applications (5)

Application Number Priority Date Filing Date Title
CN201280067907.9A CN104067457B (zh) 2011-11-24 2012-11-20 杠杆式连接器
IN4631CHN2014 IN2014CN04631A (enExample) 2011-11-24 2012-11-20
EP12798422.7A EP2783428B1 (en) 2011-11-24 2012-11-20 Lever type connector
KR1020147017264A KR20140093288A (ko) 2011-11-24 2012-11-20 레버 감합식 커넥터
US14/286,103 US9859651B2 (en) 2011-11-24 2014-05-23 Lever type connector

Applications Claiming Priority (2)

Application Number Priority Date Filing Date Title
JP2011255829A JP5798897B2 (ja) 2011-11-24 2011-11-24 レバー嵌合式コネクタ
JP2011-255829 2011-11-24

Related Child Applications (1)

Application Number Title Priority Date Filing Date
US14/286,103 Continuation US9859651B2 (en) 2011-11-24 2014-05-23 Lever type connector

Publications (1)

Publication Number Publication Date
WO2013076962A1 true WO2013076962A1 (en) 2013-05-30

Family

ID=47324315

Family Applications (1)

Application Number Title Priority Date Filing Date
PCT/JP2012/007429 Ceased WO2013076962A1 (en) 2011-11-24 2012-11-20 Lever type connector

Country Status (7)

Country Link
US (1) US9859651B2 (enExample)
EP (1) EP2783428B1 (enExample)
JP (1) JP5798897B2 (enExample)
KR (1) KR20140093288A (enExample)
CN (1) CN104067457B (enExample)
IN (1) IN2014CN04631A (enExample)
WO (1) WO2013076962A1 (enExample)

Cited By (1)

* Cited by examiner, † Cited by third party
Publication number Priority date Publication date Assignee Title
EP3163687A1 (en) * 2015-10-28 2017-05-03 Delphi International Operations Luxembourg S.à r.l. Connector having locking of the lever for facilitating the connection

Families Citing this family (7)

* Cited by examiner, † Cited by third party
Publication number Priority date Publication date Assignee Title
JP5923898B2 (ja) * 2011-08-30 2016-05-25 ブラザー工業株式会社 現像装置
JP5820290B2 (ja) * 2012-02-08 2015-11-24 矢崎総業株式会社 レバー式コネクタ
US9368911B2 (en) * 2014-11-14 2016-06-14 GM Global Technology Operations LLC Systems and methods for self-closing electrical connector
JP6131239B2 (ja) 2014-12-03 2017-05-17 矢崎総業株式会社 レバー式コネクタ
JP6564750B2 (ja) 2016-09-07 2019-08-21 矢崎総業株式会社 レバー式コネクタ
JP6424190B2 (ja) * 2016-09-07 2018-11-14 矢崎総業株式会社 レバー式コネクタ
JP7032467B2 (ja) * 2020-03-09 2022-03-08 矢崎総業株式会社 コネクタのロック構造

Citations (8)

* Cited by examiner, † Cited by third party
Publication number Priority date Publication date Assignee Title
JP2001257032A (ja) 2000-03-13 2001-09-21 Jst Mfg Co Ltd コネクタのロック構造
US20050221648A1 (en) * 2004-03-31 2005-10-06 Yazaki Corporation Lever fitting-type connector
US20060211286A1 (en) * 2005-03-15 2006-09-21 Shuey John R Lever mated connector assembly with a position assurance device
GB2442845A (en) * 2006-10-10 2008-04-16 Yazaki Corp Connector with lever and fulcrum boss
US20080102666A1 (en) * 2006-10-30 2008-05-01 Sumitomo Wiring Systems, Ltd. Lever-type connector
US20090023317A1 (en) * 2007-07-19 2009-01-22 Sumitomo Wiring Systems, Ltd. Lever-type connector
JP2011146249A (ja) 2010-01-14 2011-07-28 Yazaki Corp レバー式コネクタ
US20110230080A1 (en) * 2010-03-17 2011-09-22 Sumitomo Wiring Systems, Ltd. Lever-type connector

Family Cites Families (5)

* Cited by examiner, † Cited by third party
Publication number Priority date Publication date Assignee Title
JP2500247Y2 (ja) * 1991-06-03 1996-06-05 矢崎総業株式会社 レバ―付コネクタ
JP3516243B2 (ja) * 1994-11-30 2004-04-05 矢崎総業株式会社 コネクタレバーのロック機構
EP0771054B1 (en) * 1995-10-24 2001-12-12 Sumitomo Wiring Systems, Ltd. Lever-type connector
JP4579083B2 (ja) * 2005-07-29 2010-11-10 矢崎総業株式会社 回転レバー式コネクタ
JP4679458B2 (ja) * 2006-07-19 2011-04-27 モレックス インコーポレイテド レバー付コネクタ

Patent Citations (8)

* Cited by examiner, † Cited by third party
Publication number Priority date Publication date Assignee Title
JP2001257032A (ja) 2000-03-13 2001-09-21 Jst Mfg Co Ltd コネクタのロック構造
US20050221648A1 (en) * 2004-03-31 2005-10-06 Yazaki Corporation Lever fitting-type connector
US20060211286A1 (en) * 2005-03-15 2006-09-21 Shuey John R Lever mated connector assembly with a position assurance device
GB2442845A (en) * 2006-10-10 2008-04-16 Yazaki Corp Connector with lever and fulcrum boss
US20080102666A1 (en) * 2006-10-30 2008-05-01 Sumitomo Wiring Systems, Ltd. Lever-type connector
US20090023317A1 (en) * 2007-07-19 2009-01-22 Sumitomo Wiring Systems, Ltd. Lever-type connector
JP2011146249A (ja) 2010-01-14 2011-07-28 Yazaki Corp レバー式コネクタ
US20110230080A1 (en) * 2010-03-17 2011-09-22 Sumitomo Wiring Systems, Ltd. Lever-type connector

Cited By (2)

* Cited by examiner, † Cited by third party
Publication number Priority date Publication date Assignee Title
EP3163687A1 (en) * 2015-10-28 2017-05-03 Delphi International Operations Luxembourg S.à r.l. Connector having locking of the lever for facilitating the connection
FR3043264A1 (fr) * 2015-10-28 2017-05-05 Delphi Int Operations Luxembourg Sarl Connecteur avec verrouillage du levier d'assistance a la connexion

Also Published As

Publication number Publication date
US20140256169A1 (en) 2014-09-11
EP2783428A1 (en) 2014-10-01
US9859651B2 (en) 2018-01-02
CN104067457B (zh) 2016-12-14
EP2783428B1 (en) 2018-06-27
KR20140093288A (ko) 2014-07-25
JP5798897B2 (ja) 2015-10-21
JP2013110054A (ja) 2013-06-06
IN2014CN04631A (enExample) 2015-09-18
CN104067457A (zh) 2014-09-24

Similar Documents

Publication Publication Date Title
US9859651B2 (en) Lever type connector
KR101271347B1 (ko) 커넥터, 커넥터 조립체 및 접속 방법
US8303326B1 (en) Cable connector assembly with locking members with spring-actuated plungers
CN101197475B (zh) 电连接器
US8215970B2 (en) Connector
US6629859B2 (en) Shielded connector assembly
US9059540B2 (en) Electrical connector assembly, and connector for such assembly
US20120115342A1 (en) Plug-and-socket connector with a blocking element
US20100285683A1 (en) Electrical connector having improved latching means
JP2011124057A (ja) レバー式コネクタ
US20160141798A1 (en) Lever type connector
US8814588B2 (en) Electrical connector with locking portions for an inserting component
EP3065231B1 (en) Lever-type connector
JP2021064445A (ja) 平型導体用電気コネクタ
KR101530431B1 (ko) 커넥터 장치
US9917395B2 (en) Lever-type connector
JP5789140B2 (ja) レバー式コネクタ
JP2011034843A (ja) レバー式コネクタ
JP6957548B2 (ja) 電気コネクタ及び回路基板付電気コネクタ
EP3817155A1 (en) Lever-type connector
JP7764993B2 (ja) 周囲シール保護部を有するコネクタ
TWI815026B (zh) 限制構件及連接器組合件
KR102846826B1 (ko) 커넥터
JP6996487B2 (ja) コネクタ
JP2003249312A (ja) 分割コネクタ

Legal Events

Date Code Title Description
121 Ep: the epo has been informed by wipo that ep was designated in this application

Ref document number: 12798422

Country of ref document: EP

Kind code of ref document: A1

NENP Non-entry into the national phase

Ref country code: DE

WWE Wipo information: entry into national phase

Ref document number: 2012798422

Country of ref document: EP

ENP Entry into the national phase

Ref document number: 20147017264

Country of ref document: KR

Kind code of ref document: A