WO2013069397A1 - 車両用空気調和装置の室外冷却ユニット - Google Patents

車両用空気調和装置の室外冷却ユニット Download PDF

Info

Publication number
WO2013069397A1
WO2013069397A1 PCT/JP2012/076014 JP2012076014W WO2013069397A1 WO 2013069397 A1 WO2013069397 A1 WO 2013069397A1 JP 2012076014 W JP2012076014 W JP 2012076014W WO 2013069397 A1 WO2013069397 A1 WO 2013069397A1
Authority
WO
WIPO (PCT)
Prior art keywords
cooling unit
outdoor cooling
axial
housing
suction
Prior art date
Legal status (The legal status is an assumption and is not a legal conclusion. Google has not performed a legal analysis and makes no representation as to the accuracy of the status listed.)
Ceased
Application number
PCT/JP2012/076014
Other languages
English (en)
French (fr)
Japanese (ja)
Inventor
誠治 中島
若本 慎一
太一 宇都
Current Assignee (The listed assignees may be inaccurate. Google has not performed a legal analysis and makes no representation or warranty as to the accuracy of the list.)
Mitsubishi Electric Corp
Original Assignee
Mitsubishi Electric Corp
Priority date (The priority date is an assumption and is not a legal conclusion. Google has not performed a legal analysis and makes no representation as to the accuracy of the date listed.)
Filing date
Publication date
Application filed by Mitsubishi Electric Corp filed Critical Mitsubishi Electric Corp
Priority to EP12848072.0A priority Critical patent/EP2778430B1/en
Priority to CN201280055038.8A priority patent/CN103946556B/zh
Priority to US14/349,467 priority patent/US10052931B2/en
Priority to IN3317CHN2014 priority patent/IN2014CN03317A/en
Priority to JP2013542897A priority patent/JP5689538B2/ja
Publication of WO2013069397A1 publication Critical patent/WO2013069397A1/ja
Anticipated expiration legal-status Critical
Ceased legal-status Critical Current

Links

Images

Classifications

    • BPERFORMING OPERATIONS; TRANSPORTING
    • B60VEHICLES IN GENERAL
    • B60HARRANGEMENTS OF HEATING, COOLING, VENTILATING OR OTHER AIR-TREATING DEVICES SPECIALLY ADAPTED FOR PASSENGER OR GOODS SPACES OF VEHICLES
    • B60H1/00Heating, cooling or ventilating [HVAC] devices
    • B60H1/00321Heat exchangers for air-conditioning devices
    • FMECHANICAL ENGINEERING; LIGHTING; HEATING; WEAPONS; BLASTING
    • F04POSITIVE - DISPLACEMENT MACHINES FOR LIQUIDS; PUMPS FOR LIQUIDS OR ELASTIC FLUIDS
    • F04DNON-POSITIVE-DISPLACEMENT PUMPS
    • F04D25/00Pumping installations or systems
    • F04D25/16Combinations of two or more pumps ; Producing two or more separate gas flows
    • F04D25/166Combinations of two or more pumps ; Producing two or more separate gas flows using fans
    • FMECHANICAL ENGINEERING; LIGHTING; HEATING; WEAPONS; BLASTING
    • F04POSITIVE - DISPLACEMENT MACHINES FOR LIQUIDS; PUMPS FOR LIQUIDS OR ELASTIC FLUIDS
    • F04DNON-POSITIVE-DISPLACEMENT PUMPS
    • F04D29/00Details, component parts, or accessories
    • F04D29/26Rotors specially for elastic fluids
    • F04D29/32Rotors specially for elastic fluids for axial flow pumps
    • F04D29/38Blades
    • F04D29/384Blades characterised by form
    • FMECHANICAL ENGINEERING; LIGHTING; HEATING; WEAPONS; BLASTING
    • F04POSITIVE - DISPLACEMENT MACHINES FOR LIQUIDS; PUMPS FOR LIQUIDS OR ELASTIC FLUIDS
    • F04DNON-POSITIVE-DISPLACEMENT PUMPS
    • F04D29/00Details, component parts, or accessories
    • F04D29/40Casings; Connections of working fluid
    • F04D29/52Casings; Connections of working fluid for axial pumps
    • F04D29/522Casings; Connections of working fluid for axial pumps especially adapted for elastic fluid pumps
    • FMECHANICAL ENGINEERING; LIGHTING; HEATING; WEAPONS; BLASTING
    • F04POSITIVE - DISPLACEMENT MACHINES FOR LIQUIDS; PUMPS FOR LIQUIDS OR ELASTIC FLUIDS
    • F04DNON-POSITIVE-DISPLACEMENT PUMPS
    • F04D29/00Details, component parts, or accessories
    • F04D29/40Casings; Connections of working fluid
    • F04D29/52Casings; Connections of working fluid for axial pumps
    • F04D29/54Fluid-guiding means, e.g. diffusers
    • F04D29/541Specially adapted for elastic fluid pumps
    • FMECHANICAL ENGINEERING; LIGHTING; HEATING; WEAPONS; BLASTING
    • F04POSITIVE - DISPLACEMENT MACHINES FOR LIQUIDS; PUMPS FOR LIQUIDS OR ELASTIC FLUIDS
    • F04DNON-POSITIVE-DISPLACEMENT PUMPS
    • F04D29/00Details, component parts, or accessories
    • F04D29/40Casings; Connections of working fluid
    • F04D29/52Casings; Connections of working fluid for axial pumps
    • F04D29/54Fluid-guiding means, e.g. diffusers
    • F04D29/541Specially adapted for elastic fluid pumps
    • F04D29/545Ducts

Definitions

  • the present invention relates to an outdoor cooling unit of a vehicle air conditioner mounted on a vehicle such as a train.
  • a fan unit is provided downstream of a rectangular heat exchanger, and the fan unit is a bell mouth, a shroud having an annular opening, a propeller fan disposed in the annular opening, and rotationally driving the propeller fan.
  • the fan unit is a unit having a single fan configuration in which the motor input is set to a predetermined level or less.
  • the propeller fan includes a pressure surface and a negative pressure surface on the blade root side. In both cases, two sets of winglets are erected at predetermined intervals in the radial direction along the circumferential direction, respectively, ”a vehicle heat exchange module has been proposed (see, for example, Patent Document 1).
  • the vehicular heat exchange module described in Patent Document 1 has the above-described configuration, so that the air flow is separated and the air flow caused by the separated air flow being blown in the radial direction by centrifugal force. It is possible to suppress the disturbance of the aerodynamic performance and to suppress the deterioration of the aerodynamic performance and the increase of noise.
  • a casing including a base, a suction part, and a discharge part, an axial blower disposed immediately below the suction part, a casing surrounding the axial blower, and a motor supporting the axial blower,
  • a heat exchanger disposed close to the discharge portion, and the angle formed by the normals of the suction surface of the suction portion and the discharge surface of the discharge portion is an acute angle, and the flow of air inside the housing is
  • an outdoor cooling unit of a vehicle air conditioner configured to have a substantially letter shape (substantially V shape or substantially U shape).
  • the present invention has been made to solve the above-described problems, and an object of the present invention is to provide an outdoor cooling unit for an air conditioner for a vehicle that is sufficiently reduced in noise compared to the conventional art. .
  • An outdoor cooling unit of a vehicle air conditioner includes a housing having a suction portion and a discharge portion, a boss rotating around an axis, and a plurality of blades disposed on an outer peripheral portion of the boss. And having an axial flow fan disposed immediately below the suction part formed in an opening on a part of the upper surface of the housing, a casing surrounding the axial flow fan, and supporting the axial flow fan, A motor that rotationally drives the axial blower; and a heat exchanger that is disposed in proximity to the discharge portion of the housing, and a normal line of the suction surface of the suction portion and a normal line of the discharge surface of the discharge portion
  • the blade includes the blade of the blade.
  • Chord center from inner edge to outer edge It signed a chord center line obtained by projecting onto a plane including the rotation axis, the whole area in the radial direction in which are configured so as to form a convex curve that projects on the downstream side of the air flow.
  • the chord centerline of the blades of the axial flow fan is configured to form a convex curve on the downstream side in the entire radial direction region.
  • the air flow downstream of the axial blower is easily diffused in the inner circumferential direction and the outer circumferential direction, so that the dead water area formed on the inner circumferential side can be suppressed, and the air flow on the outer circumferential side is directed smoothly toward the outer circumferential direction. become. Therefore, disturbance of the air flow can be suppressed and noise reduction can be realized.
  • FIG. 1 It is a perspective view which shows schematic structure of the outdoor cooling unit of the vehicle air conditioner which concerns on Embodiment 1 of this invention. It is a schematic sectional drawing which shows the schematic sectional structure of the outdoor cooling unit of the air conditioning apparatus for vehicles which concerns on Embodiment 1 of this invention. It is a perspective view which shows schematic structure of the axial blower 2 of the outdoor cooling unit of the vehicle air conditioner which concerns on Embodiment 1 of this invention. It is an expanded view which shows the state expand
  • FIG. 1 It is a related figure which shows the relationship between Lf / Lh of the outdoor cooling unit of the air conditioning apparatus for vehicles which concerns on Embodiment 3 of this invention, and a noise reduction amount. It is a schematic sectional drawing which shows the schematic sectional structure of the outdoor cooling unit of the air conditioning apparatus for vehicles which concerns on Embodiment 4 of this invention.
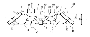
  • FIG. 1 is a perspective view showing a schematic configuration of an outdoor cooling unit 100 of a vehicle air conditioner according to Embodiment 1 of the present invention.
  • FIG. 2 is a schematic cross-sectional view showing a schematic cross-sectional configuration of the outdoor cooling unit 100.
  • FIG. 3 is a perspective view showing a schematic configuration of the axial blower 2 of the outdoor cooling unit 100.
  • FIG. 4 is a development view showing a state (for example, a II cross section in FIG. 3) developed on a plane of a cylindrical cross section around the rotation axis of the axial blower 2.
  • FIG. 5 is a schematic cross-sectional view showing a cross-sectional configuration in the radial direction of the axial blower 2 (for example, a II-II cross section in FIG. 3).
  • the outdoor cooling unit 100 will be described with reference to FIGS.
  • the outdoor cooling unit 100 is mounted on a vehicle such as a train, and includes a housing 10, an axial blower 2, a casing 3, a motor 4, and a heat exchanger. 5.
  • the housing 10 includes a base 11, a suction part 12, and a discharge part 13.
  • the base 11 constitutes the outline of the outdoor cooling unit 100, has a bottom surface (installation surface of the motor 4) and a side surface, and has an open top surface.
  • An opening portion above the arrangement position of the axial blower 2 partitioned by the casing 3 functions as a suction portion 12 serving as an air inflow port.
  • the opening part above the arrangement position of the heat exchanger 5 partitioned by the casing 3 functions as the discharge part 13 that serves as an air outlet.
  • the axial blower 2 is disposed immediately below the suction portion 12, takes air into the housing 10 through the suction portion 12, and blows air out of the housing 10 through the discharge portion 13. .
  • the casing 3 is provided in the housing 10 so as to surround at least the axial blower 2, and partitions the suction portion 12 and the discharge portion 13 of the housing 10.
  • the motor 4 supports the axial blower 2 and drives the axial blower 2.
  • the heat exchanger 5 performs heat exchange between the refrigerant that conducts through a refrigerant pipe (not shown) and the air supplied by the axial blower 2.
  • the normal line of the suction surface (surface A shown in FIG. 2) of the suction portion 12 and the normal line of the discharge surface (surface B shown in FIG. 2) of the discharge portion 13 The angle (angle ⁇ shown in FIG. 2) is an acute angle. Therefore, in the outdoor cooling unit 100, the air flow inside the housing 10 has a substantially letter shape (substantially V-shaped or substantially U-shaped) (arrow C in the housing 10 shown in FIG. 2). In addition, in FIG. 2, the flow of air is represented by the arrow. Further, Lf and Lh shown in FIG. 2 are used in the third embodiment. Furthermore, the suction surface A and the discharge surface B are virtual surfaces.
  • the axial blower 2 has a boss 21 that rotates around the axis and a plurality of blades 22 that are disposed on the outer periphery of the boss 21. That is, in the axial blower 2, a plurality of three-dimensional solid blades 22 are radially attached to the outer periphery of a cylindrical boss 21 that is rotationally driven by the motor 4. Then, airflow is generated by the rotation of the blades 22.
  • the wing 22 is surrounded by a front edge 221, a rear edge 222, an inner peripheral end 223, and an outer peripheral end 224. That is, the wing 22 is an inner edge that is a front edge 221 that is a leading edge in the rotation direction, a rear edge 222 that is a rear edge in the rotation direction, and an end closer to the rotation shaft (not shown).
  • the outer edge is constituted by the peripheral end 223 and the outer peripheral end 224 which is the end far from the rotation axis.
  • a rear edge end portion of the outer peripheral end 224 of the blade 22 of the axial blower 2 is illustrated as a blade outer peripheral rear edge end portion 227.
  • the blade outer peripheral trailing edge 227 is used in the fourth embodiment.
  • chord center line 226 connecting the chord center points 225 from the inner peripheral end 223 to the outer peripheral end 224 and projected onto a plane including the rotation axis is defined as a chord center line 226.
  • the blade 22 of the axial blower 2 is configured such that the chord centerline 226 forms a convex curve projecting to the downstream side of the airflow in the entire radial direction region. Note that ⁇ and ⁇ shown in FIG. 5 are used in the second embodiment.
  • the outdoor cooling unit 100 can easily diffuse the air flow downstream of the axial blower 2 in the inner circumferential direction and the outer circumferential direction. Since the air flow is easily diffused in the inner circumferential direction, the outdoor cooling unit 100 has insufficient air compared to the outdoor cooling unit of the conventional vehicle air conditioner in which the air flow is not directed in the inner circumferential direction. It is possible to suppress the dead water area that was generated. Further, since the air flow is easily diffused in the outer peripheral direction, the outdoor cooling unit 100 allows the air flow on the outer peripheral side to go smoothly toward the outer peripheral direction, and the air flow is less likely to receive the resistance of the air path. Become. As described above, the outdoor cooling unit 100 can suppress the disturbance of the air flow, and can realize noise reduction as compared with the conventional case.
  • FIG. FIG. 6 shows the angle ⁇ formed by the tangent line at the outer peripheral end of the chord centerline of the axial flow fan of the outdoor cooling unit of the outdoor air conditioning unit according to Embodiment 2 of the present invention and the plane perpendicular to the rotation axis, and the noise. It is a relationship figure which shows the relationship with reduction amount.
  • FIG. 7 shows the angle ⁇ formed between the tangent line at the inner peripheral end of the chord centerline of the axial flow fan of the outdoor cooling unit of the outdoor air conditioning unit according to Embodiment 2 of the present invention and the plane perpendicular to the rotation axis. It is a relationship figure which shows the relationship with noise reduction amount.
  • the outdoor cooling unit of the vehicle air conditioner according to Embodiment 2 of the present invention will be described with reference to FIGS.
  • the outdoor cooling unit of the vehicle air conditioner according to Embodiment 2 of the present invention will be described as the outdoor cooling unit 100A for convenience.
  • the basic configuration of the outdoor cooling unit 100A is the same as the configuration of the outdoor cooling unit 100 according to Embodiment 1 (the configuration shown in FIG. 2).
  • the outdoor cooling unit 100A according to Embodiment 2 is mounted on a vehicle such as a train, and is a configuration example for realizing further noise reduction.
  • a vehicle such as a train
  • the angle between the tangent at the outer peripheral end 224 of the chord centerline 226 of the axial blower 2 and the plane perpendicular to the rotational axis is ⁇
  • the tangent and rotational axis at the inner peripheral end 223 are The angle formed by the vertical plane
  • the angle at which the chord centerline 226 forms a convex curve projecting downstream of the air flow is defined as a positive angle.
  • the blades 22 of the axial flow fan 2 of the outdoor cooling unit 100A are configured such that ⁇ and ⁇ satisfy at least one of 0 ° ⁇ ⁇ 80 ° and 0 ° ⁇ ⁇ 20 °. The reason is as follows.
  • the noise reduction amount represents a reduction amount of the noise value of the outdoor cooling unit 100A with respect to the noise value of the outdoor cooling unit of the conventional vehicle air conditioner.
  • FIG. 6 shows that the noise reduction effect is obtained in the range of 0 ° ⁇ ⁇ 80 °.
  • FIG. 7 is used to explain the relationship between the angle ⁇ and the noise reduction amount.
  • FIG. 7 shows that the noise reduction effect is obtained in the range of 0 ° ⁇ ⁇ 20 °.
  • the outdoor cooling unit 100A diffuses the air flow downstream of the axial blower 2 in the inner circumferential direction and the outer circumferential direction at an optimum angle.
  • the outdoor cooling unit 100A has no dead air area formed on the inner circumferential side without air collision with the motor 4. Can be efficiently suppressed.
  • the outdoor cooling unit 100A is configured such that the air flow downstream of the axial blower 2 is diffused in the outer peripheral direction at an optimal angle, so that the air flow on the outer peripheral side is directed more smoothly in the outer peripheral direction. .
  • the outdoor cooling unit 100A can effectively suppress the turbulence of the air flow, and can further reduce noise.
  • FIG. FIG. 8 is a relationship diagram illustrating a relationship between Lf / Lh of the outdoor cooling unit of the vehicle air-conditioning apparatus according to Embodiment 3 of the present invention and the amount of noise reduction. Based on FIG.2 and FIG.8, the outdoor cooling unit of the vehicle air conditioning apparatus which concerns on Embodiment 3 of this invention is demonstrated. In addition, the outdoor cooling unit of the vehicle air conditioner according to Embodiment 3 of the present invention will be described as the outdoor cooling unit 100B for convenience.
  • the basic configuration of the outdoor cooling unit 100B is the same as the configuration of the outdoor cooling unit 100 according to Embodiment 1 (the configuration shown in FIG. 2).
  • the outdoor cooling unit 100B according to Embodiment 3 is mounted on a vehicle such as a train, and is a configuration example for realizing further noise reduction. As shown in FIG. 2, when the height of the casing from the base 11 to the suction portion 12 is Lh and the axial height of the blade 22 is Lf, the blade 22 of the axial flow fan 2 of the outdoor cooling unit 100B is Lf / Lh satisfies 0.15 ⁇ Lf / Lh ⁇ 0.5. The reason is as follows.
  • FIG. 8 shows that the noise reduction amount is approximately 5 dB or more in the range of 0.15 ⁇ Lf / Lh ⁇ 0.5, and the noise reduction effect is high. Therefore, in the outdoor cooling unit 100B, the blade 22 is configured to satisfy 0.15 ⁇ Lf / Lh ⁇ 0.5, so that the increase in noise as described above can be effectively suppressed. Noise reduction can be realized. As described above, the outdoor cooling unit 100B can realize further noise reduction.
  • FIG. 9 is a schematic cross-sectional view showing a schematic cross-sectional configuration of an outdoor cooling unit 100C of the vehicle air conditioner according to Embodiment 4 of the present invention.
  • FIG. 10 is a relationship diagram illustrating a relationship between L1 / L2 of the outdoor cooling unit 100C and the noise reduction amount.
  • the outdoor cooling unit 100C will be described with reference to FIGS.
  • differences from the first embodiment will be mainly described, and the same parts as those in the first embodiment will be denoted by the same reference numerals and description thereof will be omitted.
  • the outdoor cooling unit 100C according to Embodiment 4 is mounted on a vehicle such as a train, and is a configuration example for realizing further noise reduction.
  • the outdoor cooling unit 100C is different from the outdoor cooling unit 100 according to Embodiment 1 in the shape of the casing 3C.
  • the casing 3 ⁇ / b> C that surrounds the axial blower 2 includes an upstream suction round shape portion 31, a straight duct portion 32, and a downstream blowout round shape portion 33.
  • the suction round shape portion 31 and the blowout round shape portion 33 are connected by a straight duct portion 32.
  • the distance between the blade outer peripheral trailing edge 227 and the base 11 (the bottom surface of the casing 10) is L1
  • the distance between the downstream end of the blowing round shape portion 33 and the base 11 (the bottom surface of the casing 10) is L2.
  • the blade 22 of the axial blower 2 of the outdoor cooling unit 100C is configured such that L2 / L1 satisfies 0.5 ⁇ L2 / L1 ⁇ 1.2. The reason is as follows.
  • L2 / L1 The relationship between L2 / L1 and the noise reduction amount tp will be described with reference to FIG.
  • Shortening L2 results in an increase in noise resistance due to an increase in ventilation resistance because the flow passage for the flow of blown air from the axial blower 2 is narrowed.
  • enlarging L2 enlarges the gap between the axial blower 2 and the casing 3C, resulting in increased air leakage and increased noise.
  • FIG. 10 shows that the noise reduction amount is approximately 5 dB or more in the range of 0.5 ⁇ L2 / L1 ⁇ 1.2, and the noise reduction effect is high. Therefore, in the outdoor cooling unit 100C, the noise increase as described above can be effectively suppressed by configuring the blades 22 so as to satisfy 0.5 ⁇ L2 / L1 ⁇ 1.2. Noise reduction can be realized. As described above, the outdoor cooling unit 100C can achieve further noise reduction. That is, the outdoor cooling unit 100C is provided with the blowing round shape portion 33 in the casing 3C, so that the air flow downstream of the axial blower 2 is smoothly guided to the outer peripheral direction along the blowing round shape portion 33. Flow disturbance can be suppressed. Also.
  • the blades 22 are configured so as to satisfy 0.5 ⁇ L2 / L1 ⁇ 1.2, so that the flow path of the blown air from the axial blower 2 by shortening L2 is reduced.
  • An increase in ventilation resistance due to narrowing and an increase in air leakage flow accompanying expansion of the casing gap due to expansion of L2 can be effectively suppressed, and a large noise reduction effect can be obtained.

Landscapes

  • Engineering & Computer Science (AREA)
  • Mechanical Engineering (AREA)
  • General Engineering & Computer Science (AREA)
  • Physics & Mathematics (AREA)
  • Thermal Sciences (AREA)
  • Structures Of Non-Positive Displacement Pumps (AREA)
  • Air-Conditioning For Vehicles (AREA)
PCT/JP2012/076014 2011-11-10 2012-10-05 車両用空気調和装置の室外冷却ユニット Ceased WO2013069397A1 (ja)

Priority Applications (5)

Application Number Priority Date Filing Date Title
EP12848072.0A EP2778430B1 (en) 2011-11-10 2012-10-05 External cooling unit of vehicular air-conditioning device
CN201280055038.8A CN103946556B (zh) 2011-11-10 2012-10-05 车辆用空调装置的室外冷却单元
US14/349,467 US10052931B2 (en) 2011-11-10 2012-10-05 Outdoor cooling unit in vehicle air-conditioning apparatus
IN3317CHN2014 IN2014CN03317A (enExample) 2011-11-10 2012-10-05
JP2013542897A JP5689538B2 (ja) 2011-11-10 2012-10-05 車両用空気調和装置の室外冷却ユニット

Applications Claiming Priority (2)

Application Number Priority Date Filing Date Title
JP2011-246712 2011-11-10
JP2011246712 2011-11-10

Publications (1)

Publication Number Publication Date
WO2013069397A1 true WO2013069397A1 (ja) 2013-05-16

Family

ID=48289781

Family Applications (1)

Application Number Title Priority Date Filing Date
PCT/JP2012/076014 Ceased WO2013069397A1 (ja) 2011-11-10 2012-10-05 車両用空気調和装置の室外冷却ユニット

Country Status (6)

Country Link
US (1) US10052931B2 (enExample)
EP (1) EP2778430B1 (enExample)
JP (1) JP5689538B2 (enExample)
CN (1) CN103946556B (enExample)
IN (1) IN2014CN03317A (enExample)
WO (1) WO2013069397A1 (enExample)

Cited By (4)

* Cited by examiner, † Cited by third party
Publication number Priority date Publication date Assignee Title
JP2015183634A (ja) * 2014-03-25 2015-10-22 三菱電機株式会社 車両用空調装置
WO2018092262A1 (ja) * 2016-11-18 2018-05-24 三菱電機株式会社 プロペラファン及び冷凍サイクル装置
JP2023015577A (ja) * 2021-07-20 2023-02-01 山洋電気株式会社 軸流ファン
JP2024099344A (ja) * 2023-01-12 2024-07-25 株式会社東芝 鉄道車両用の空調装置の室外送風機

Families Citing this family (9)

* Cited by examiner, † Cited by third party
Publication number Priority date Publication date Assignee Title
CN104981365B (zh) * 2013-02-12 2017-03-08 三菱电机株式会社 车辆用空调装置的室外冷却单元
US20160003487A1 (en) * 2013-02-22 2016-01-07 Hitachi Appliances, Inc. Propeller Fan and Air Conditioner Equipped with the Same
US10737797B2 (en) * 2017-07-21 2020-08-11 General Electric Company Vertical takeoff and landing aircraft
USD911512S1 (en) 2018-01-31 2021-02-23 Carrier Corporation Axial flow fan
US10982863B2 (en) 2018-04-10 2021-04-20 Carrier Corporation HVAC fan inlet
US11795965B2 (en) 2020-04-30 2023-10-24 Mitsubishi Electric Corporation Air-sending device
CN113513500A (zh) * 2021-07-14 2021-10-19 南京航空航天大学 一种负出口气流角低损失扩压叶型
CN115111194B (zh) * 2022-06-27 2024-05-10 约克广州空调冷冻设备有限公司 叶片及使用其的轴流叶轮
CN117419071B (zh) * 2023-12-19 2024-06-28 珠海格力电器股份有限公司 风叶组件及具有该风叶组件的轴流风机

Citations (3)

* Cited by examiner, † Cited by third party
Publication number Priority date Publication date Assignee Title
JPH05202893A (ja) * 1992-01-30 1993-08-10 Matsushita Electric Ind Co Ltd 送風装置
JP2003042098A (ja) * 2001-07-27 2003-02-13 Mitsubishi Electric Corp 送風装置および冷蔵庫
JP2005016357A (ja) * 2003-06-24 2005-01-20 Toshiba Kyaria Kk 送風機および空気調和機

Family Cites Families (25)

* Cited by examiner, † Cited by third party
Publication number Priority date Publication date Assignee Title
JPS6021518Y2 (ja) * 1980-03-07 1985-06-26 アイシン精機株式会社 内燃機関の冷却装置用フアン
US4569631A (en) * 1984-08-06 1986-02-11 Airflow Research And Manufacturing Corp. High strength fan
DE3541787A1 (de) * 1985-11-26 1987-06-04 Papst Motoren Gmbh & Co Kg Geblaese mit einem im wesentlichen quaderfoermigen gehaeuse
JPS63145706U (enExample) * 1987-03-18 1988-09-26
JPS63171694U (enExample) * 1987-04-30 1988-11-08
JPH0313271U (enExample) * 1989-06-26 1991-02-12
US5248224A (en) * 1990-12-14 1993-09-28 Carrier Corporation Orificed shroud for axial flow fan
US5393199A (en) * 1992-07-22 1995-02-28 Valeo Thermique Moteur Fan having a blade structure for reducing noise
US5343831A (en) * 1993-09-01 1994-09-06 Wci Outdoor Products, Inc. Dynamic air cleaner and carburetor pressurization system for air cooled internal combustion engine
JPH11230092A (ja) * 1998-02-12 1999-08-24 Japan Servo Co Ltd 軸流ファン
ES2212251T3 (es) * 1998-03-23 2004-07-16 Spal S.R.L. Ventilador de flujo axial.
JPH11324985A (ja) * 1998-05-19 1999-11-26 Japan Servo Co Ltd 軸流ファン
US6447251B1 (en) * 2000-04-21 2002-09-10 Revcor, Inc. Fan blade
US6544010B1 (en) * 2000-06-09 2003-04-08 Lg Electronics Co., Ltd. Axial flow fan with brushless direct current motor
US6428277B1 (en) * 2001-05-17 2002-08-06 Siemens Vdo Automotive Inc. High speed, low torque axial flow fan
JP2003048526A (ja) * 2001-08-02 2003-02-18 Hitachi Unisia Automotive Ltd 4輪駆動車両におけるアンチスキッド制御装置
JP2003048536A (ja) * 2001-08-03 2003-02-18 Hitachi Ltd 鉄道車両用空調装置
DE10349139A1 (de) * 2003-10-17 2005-05-12 Behr Gmbh & Co Kg Anordnung zur Befestigung einer Lüfterzarge
US20070122287A1 (en) * 2005-11-29 2007-05-31 Pennington Donald R Fan blade assembly
JP2008215150A (ja) * 2007-03-02 2008-09-18 Nippon Densan Corp 軸流ファンモータ
RU2493497C2 (ru) * 2009-02-05 2013-09-20 Мицубиси Электрик Корпорейшн Внутренний блок кондиционера воздуха и кондиционер воздуха
JP5422336B2 (ja) * 2009-10-19 2014-02-19 三菱重工業株式会社 車両用熱交換モジュール
JP5566663B2 (ja) * 2009-11-09 2014-08-06 三菱重工業株式会社 多翼遠心ファンおよびそれを用いた空気調和機
EP2547904B1 (en) * 2010-03-19 2019-05-08 SP Tech Propeller blade
US9394911B2 (en) * 2010-05-13 2016-07-19 Mitsubishi Electric Corporation Axial flow fan

Patent Citations (3)

* Cited by examiner, † Cited by third party
Publication number Priority date Publication date Assignee Title
JPH05202893A (ja) * 1992-01-30 1993-08-10 Matsushita Electric Ind Co Ltd 送風装置
JP2003042098A (ja) * 2001-07-27 2003-02-13 Mitsubishi Electric Corp 送風装置および冷蔵庫
JP2005016357A (ja) * 2003-06-24 2005-01-20 Toshiba Kyaria Kk 送風機および空気調和機

Non-Patent Citations (1)

* Cited by examiner, † Cited by third party
Title
See also references of EP2778430A4 *

Cited By (5)

* Cited by examiner, † Cited by third party
Publication number Priority date Publication date Assignee Title
JP2015183634A (ja) * 2014-03-25 2015-10-22 三菱電機株式会社 車両用空調装置
WO2018092262A1 (ja) * 2016-11-18 2018-05-24 三菱電機株式会社 プロペラファン及び冷凍サイクル装置
JP2023015577A (ja) * 2021-07-20 2023-02-01 山洋電気株式会社 軸流ファン
JP7642472B2 (ja) 2021-07-20 2025-03-10 山洋電気株式会社 軸流ファン
JP2024099344A (ja) * 2023-01-12 2024-07-25 株式会社東芝 鉄道車両用の空調装置の室外送風機

Also Published As

Publication number Publication date
CN103946556A (zh) 2014-07-23
IN2014CN03317A (enExample) 2015-07-03
EP2778430B1 (en) 2018-09-12
US10052931B2 (en) 2018-08-21
CN103946556B (zh) 2017-03-01
EP2778430A1 (en) 2014-09-17
JPWO2013069397A1 (ja) 2015-04-02
EP2778430A4 (en) 2015-08-26
US20140246180A1 (en) 2014-09-04
JP5689538B2 (ja) 2015-03-25

Similar Documents

Publication Publication Date Title
JP5689538B2 (ja) 車両用空気調和装置の室外冷却ユニット
KR102323777B1 (ko) 송풍장치 및 이를 포함하는 공기조화기의 실외기
JP5422336B2 (ja) 車両用熱交換モジュール
CN107923410B (zh) 螺旋桨式风扇、螺旋桨式风扇装置及空气调节装置用室外机
JP5059071B2 (ja) 送風機
JP4690682B2 (ja) 空調機
JP5971667B2 (ja) プロペラファン、送風装置及び室外機
CN104981365B (zh) 车辆用空调装置的室外冷却单元
JP6377172B2 (ja) プロペラファン、プロペラファン装置および空気調和装置用室外機
JPWO2017026143A1 (ja) 送風機および空気調和装置
CN110914553B (zh) 叶轮、送风机及空调装置
KR20050120678A (ko) 공기조화장치의 실외기
WO2020161850A1 (ja) 遠心送風機及びそれを用いた空気調和機
CN104685218A (zh) 螺旋桨式风扇
JP7529708B2 (ja) プロペラファンおよび冷凍装置
JP2024517441A (ja) ファン、より詳細にはラジアルファンまたは斜流ファン
JP6625291B1 (ja) 羽根車、送風機及び空気調和機
JP6692456B2 (ja) プロペラファン及び空気調和装置の室外機
CN203796615U (zh) 螺旋桨风扇、送风装置及室外机

Legal Events

Date Code Title Description
121 Ep: the epo has been informed by wipo that ep was designated in this application

Ref document number: 12848072

Country of ref document: EP

Kind code of ref document: A1

ENP Entry into the national phase

Ref document number: 2013542897

Country of ref document: JP

Kind code of ref document: A

WWE Wipo information: entry into national phase

Ref document number: 14349467

Country of ref document: US

WWE Wipo information: entry into national phase

Ref document number: 2012848072

Country of ref document: EP

NENP Non-entry into the national phase

Ref country code: DE