WO2012176407A1 - 導電性膜およびその製造方法並びにこれに用いるスパッタリングターゲット - Google Patents

導電性膜およびその製造方法並びにこれに用いるスパッタリングターゲット Download PDF

Info

Publication number
WO2012176407A1
WO2012176407A1 PCT/JP2012/003895 JP2012003895W WO2012176407A1 WO 2012176407 A1 WO2012176407 A1 WO 2012176407A1 JP 2012003895 W JP2012003895 W JP 2012003895W WO 2012176407 A1 WO2012176407 A1 WO 2012176407A1
Authority
WO
WIPO (PCT)
Prior art keywords
conductive film
film
sputtering target
organic
atomic
Prior art date
Legal status (The legal status is an assumption and is not a legal conclusion. Google has not performed a legal analysis and makes no representation as to the accuracy of the status listed.)
Ceased
Application number
PCT/JP2012/003895
Other languages
English (en)
French (fr)
Japanese (ja)
Inventor
野中 荘平
小見山 昌三
Current Assignee (The listed assignees may be inaccurate. Google has not performed a legal analysis and makes no representation or warranty as to the accuracy of the list.)
Mitsubishi Materials Corp
Original Assignee
Mitsubishi Materials Corp
Priority date (The priority date is an assumption and is not a legal conclusion. Google has not performed a legal analysis and makes no representation as to the accuracy of the date listed.)
Filing date
Publication date
Application filed by Mitsubishi Materials Corp filed Critical Mitsubishi Materials Corp
Priority to CN201280024915.5A priority Critical patent/CN103548421B/zh
Priority to KR1020137033967A priority patent/KR101453712B1/ko
Publication of WO2012176407A1 publication Critical patent/WO2012176407A1/ja
Anticipated expiration legal-status Critical
Ceased legal-status Critical Current

Links

Images

Classifications

    • HELECTRICITY
    • H05ELECTRIC TECHNIQUES NOT OTHERWISE PROVIDED FOR
    • H05BELECTRIC HEATING; ELECTRIC LIGHT SOURCES NOT OTHERWISE PROVIDED FOR; CIRCUIT ARRANGEMENTS FOR ELECTRIC LIGHT SOURCES, IN GENERAL
    • H05B33/00Electroluminescent light sources
    • H05B33/12Light sources with substantially two-dimensional radiating surfaces
    • H05B33/26Light sources with substantially two-dimensional radiating surfaces characterised by the composition or arrangement of the conductive material used as an electrode
    • HELECTRICITY
    • H01ELECTRIC ELEMENTS
    • H01BCABLES; CONDUCTORS; INSULATORS; SELECTION OF MATERIALS FOR THEIR CONDUCTIVE, INSULATING OR DIELECTRIC PROPERTIES
    • H01B1/00Conductors or conductive bodies characterised by the conductive materials; Selection of materials as conductors
    • H01B1/02Conductors or conductive bodies characterised by the conductive materials; Selection of materials as conductors mainly consisting of metals or alloys
    • CCHEMISTRY; METALLURGY
    • C22METALLURGY; FERROUS OR NON-FERROUS ALLOYS; TREATMENT OF ALLOYS OR NON-FERROUS METALS
    • C22CALLOYS
    • C22C5/00Alloys based on noble metals
    • C22C5/06Alloys based on silver
    • CCHEMISTRY; METALLURGY
    • C23COATING METALLIC MATERIAL; COATING MATERIAL WITH METALLIC MATERIAL; CHEMICAL SURFACE TREATMENT; DIFFUSION TREATMENT OF METALLIC MATERIAL; COATING BY VACUUM EVAPORATION, BY SPUTTERING, BY ION IMPLANTATION OR BY CHEMICAL VAPOUR DEPOSITION, IN GENERAL; INHIBITING CORROSION OF METALLIC MATERIAL OR INCRUSTATION IN GENERAL
    • C23CCOATING METALLIC MATERIAL; COATING MATERIAL WITH METALLIC MATERIAL; SURFACE TREATMENT OF METALLIC MATERIAL BY DIFFUSION INTO THE SURFACE, BY CHEMICAL CONVERSION OR SUBSTITUTION; COATING BY VACUUM EVAPORATION, BY SPUTTERING, BY ION IMPLANTATION OR BY CHEMICAL VAPOUR DEPOSITION, IN GENERAL
    • C23C14/00Coating by vacuum evaporation, by sputtering or by ion implantation of the coating forming material
    • C23C14/06Coating by vacuum evaporation, by sputtering or by ion implantation of the coating forming material characterised by the coating material
    • C23C14/14Metallic material, boron or silicon
    • CCHEMISTRY; METALLURGY
    • C23COATING METALLIC MATERIAL; COATING MATERIAL WITH METALLIC MATERIAL; CHEMICAL SURFACE TREATMENT; DIFFUSION TREATMENT OF METALLIC MATERIAL; COATING BY VACUUM EVAPORATION, BY SPUTTERING, BY ION IMPLANTATION OR BY CHEMICAL VAPOUR DEPOSITION, IN GENERAL; INHIBITING CORROSION OF METALLIC MATERIAL OR INCRUSTATION IN GENERAL
    • C23CCOATING METALLIC MATERIAL; COATING MATERIAL WITH METALLIC MATERIAL; SURFACE TREATMENT OF METALLIC MATERIAL BY DIFFUSION INTO THE SURFACE, BY CHEMICAL CONVERSION OR SUBSTITUTION; COATING BY VACUUM EVAPORATION, BY SPUTTERING, BY ION IMPLANTATION OR BY CHEMICAL VAPOUR DEPOSITION, IN GENERAL
    • C23C14/00Coating by vacuum evaporation, by sputtering or by ion implantation of the coating forming material
    • C23C14/22Coating by vacuum evaporation, by sputtering or by ion implantation of the coating forming material characterised by the process of coating
    • C23C14/34Sputtering
    • CCHEMISTRY; METALLURGY
    • C23COATING METALLIC MATERIAL; COATING MATERIAL WITH METALLIC MATERIAL; CHEMICAL SURFACE TREATMENT; DIFFUSION TREATMENT OF METALLIC MATERIAL; COATING BY VACUUM EVAPORATION, BY SPUTTERING, BY ION IMPLANTATION OR BY CHEMICAL VAPOUR DEPOSITION, IN GENERAL; INHIBITING CORROSION OF METALLIC MATERIAL OR INCRUSTATION IN GENERAL
    • C23CCOATING METALLIC MATERIAL; COATING MATERIAL WITH METALLIC MATERIAL; SURFACE TREATMENT OF METALLIC MATERIAL BY DIFFUSION INTO THE SURFACE, BY CHEMICAL CONVERSION OR SUBSTITUTION; COATING BY VACUUM EVAPORATION, BY SPUTTERING, BY ION IMPLANTATION OR BY CHEMICAL VAPOUR DEPOSITION, IN GENERAL
    • C23C14/00Coating by vacuum evaporation, by sputtering or by ion implantation of the coating forming material
    • C23C14/22Coating by vacuum evaporation, by sputtering or by ion implantation of the coating forming material characterised by the process of coating
    • C23C14/34Sputtering
    • C23C14/3407Cathode assembly for sputtering apparatus, e.g. Target
    • C23C14/3414Metallurgical or chemical aspects of target preparation, e.g. casting, powder metallurgy
    • GPHYSICS
    • G06COMPUTING OR CALCULATING; COUNTING
    • G06FELECTRIC DIGITAL DATA PROCESSING
    • G06F3/00Input arrangements for transferring data to be processed into a form capable of being handled by the computer; Output arrangements for transferring data from processing unit to output unit, e.g. interface arrangements
    • G06F3/01Input arrangements or combined input and output arrangements for interaction between user and computer
    • G06F3/03Arrangements for converting the position or the displacement of a member into a coded form
    • G06F3/041Digitisers, e.g. for touch screens or touch pads, characterised by the transducing means
    • HELECTRICITY
    • H05ELECTRIC TECHNIQUES NOT OTHERWISE PROVIDED FOR
    • H05BELECTRIC HEATING; ELECTRIC LIGHT SOURCES NOT OTHERWISE PROVIDED FOR; CIRCUIT ARRANGEMENTS FOR ELECTRIC LIGHT SOURCES, IN GENERAL
    • H05B33/00Electroluminescent light sources
    • H05B33/10Apparatus or processes specially adapted to the manufacture of electroluminescent light sources
    • HELECTRICITY
    • H10SEMICONDUCTOR DEVICES; ELECTRIC SOLID-STATE DEVICES NOT OTHERWISE PROVIDED FOR
    • H10KORGANIC ELECTRIC SOLID-STATE DEVICES
    • H10K59/00Integrated devices, or assemblies of multiple devices, comprising at least one organic light-emitting element covered by group H10K50/00
    • H10K59/80Constructional details
    • H10K59/805Electrodes
    • H10K59/8051Anodes
    • H10K59/80518Reflective anodes, e.g. ITO combined with thick metallic layers

Definitions

  • the present invention relates to a conductive film suitable for an organic electroluminescence (EL) element, a reflective electrode film of a light emitting diode (LED) or a wiring film of a touch panel, a manufacturing method thereof, and a sputtering target used therefor.
  • EL organic electroluminescence
  • LED light emitting diode
  • an anode (anode) and a cathode (cathode) are arranged on both sides of an electroluminescent layer including an organic EL layer on a TFT active matrix substrate on which TFTs (thin film transistors) as switching elements are arranged.
  • the organic EL element thus formed is formed in each pixel region.
  • the reflective electrode film desirably has a high reflectance in order to efficiently reflect the light emitted from the organic EL layer. It is also desirable that the electrode has a low resistance.
  • a material an Ag alloy and an Al alloy are known.
  • the Ag alloy is excellent because of its high visible light reflectance.
  • a sputtering method is employed for forming the reflective electrode film on the organic EL element, and a silver alloy sputtering target is used (see Patent Document 2). *
  • an Ag alloy film has been studied for conductive films such as lead wires for touch panels.
  • a wiring film for example, when pure Ag is used, migration occurs and a short circuit failure is likely to occur. Therefore, adoption of an Ag alloy film has been studied.
  • the Ag alloy film used as the anode of the organic EL element is required to have low resistance and high reflectance characteristics as a reflective electrode, and in order to ensure the soundness of the transparent conductive film formed in the upper layer, the surface roughness Is required to be small. That is, when the surface roughness of the Ag alloy film is large, defects are generated in the electroluminescent layer including the upper transparent conductive film and further the organic EL layer formed in a later step due to the unevenness of the Ag alloy film. As a result, the production yield of the organic EL panel is lowered.
  • the sulfur content contained in the process atmosphere sulfidizes the Ag alloy film, and the sulfidized region becomes a defect, which also causes a decrease in yield.
  • heat resistance capable of maintaining a good reflectance with respect to the heat generated by the LED is also required. However, sufficient heat resistance was not obtained.
  • the present invention has been made in view of the above-described problems, and has a low resistance and high reflectance characteristics, a small surface roughness, a high resistance to sulfidation and heat, a method for manufacturing the same, and a method for manufacturing the same.
  • An object is to provide a sputtering target to be used.
  • the conductive film of the first invention contains at least one of In and Sn: 0.1 to 1.5 atomic%, further contains 0.1 to 3.5 atomic% of Sb, and the balance Is made of a silver alloy having a composition composed of Ag and inevitable impurities.
  • the conductive film contains at least one of In and Sn: 0.1 to 1.5 atomic%, further contains 0.1 to 3.5 atomic% of Sb, and the balance is made of Ag and inevitable impurities. It is composed of a silver alloy having a component composition as described above, so that it has low surface resistance and high reflectivity, while it has low surface roughness, high sulfidation resistance and heat resistance due to the contained In and Sb. it can. *
  • the reason for limiting the content of the metal component elements in the conductive film of the present invention as described above is as follows. At least one of In and Sn: In and Sn are added because they have the effect of reducing surface roughness and improving sulfidation resistance and heat resistance, but if less than 0.1 atomic%, this effect is sufficient On the other hand, if In and Sn are contained in excess of 1.5 atomic%, the specific resistance increases and the reflectance decreases, which is not preferable. Therefore, the content ratio of In and Sn in all the metal component elements contained in the conductive film of the present invention is set to at least one of In and Sn: 0.1 to 1.5 atomic%.
  • Sb has an extremely large effect of reducing the surface roughness, and has a smaller degree of lowering the reflectivity and specific resistance than In and Sn.
  • Sb is less than 0.1 atomic%, the effect of reducing the surface roughness becomes small.
  • Sb is contained in excess of 3.5 atomic%, the specific resistance increases and the reflectance also increases. Since it falls, it is not preferable. Therefore, the content ratio of Sb in all the metal component elements contained in the conductive film of the present invention is set to Sb: 0.1 to 3.5 atomic%.
  • the conductive film of the second invention is for an organic EL element in which a transparent conductive film of an organic EL element is laminated on the surface, and an electroluminescent layer including an organic EL layer is further laminated thereon. It is a reflective electrode film. That is, in this conductive film, since the transparent conductive film of the organic EL element is laminated on the surface, the soundness of the upper transparent conductive film is ensured by the small surface roughness, and further, the organic EL layer is further formed thereon. Defects can be prevented from occurring. In addition, generation of defects due to sulfidation of the reflective electrode film can be suppressed, and yield reduction can be prevented. *
  • the conductive film of the third invention is a reflective electrode film for a light emitting diode in the first invention. That is, since this conductive film has high heat resistance, it is possible to maintain good reflectivity against the heat generated by the LED.
  • the conductive film of the fourth invention is a wiring film of a touch panel. That is, in this conductive film, the specific resistance is low, the surface roughness is small, and since it is an alloy, migration is unlikely to occur, and it is possible to prevent a short-circuit failure that becomes a problem in the wiring film of the touch panel.
  • a method for producing a conductive film according to a fifth invention is a method for producing a conductive film according to any one of the first to fourth inventions, wherein at least one of In and Sn: 0.1 to 1.5 Sputtering using a sputtering target comprising a silver alloy containing atomic percent, further containing 0.1 to 3.5 atomic percent of Sb, and the balance being composed of Ag and inevitable impurities It is characterized by forming a film. That is, in this method for producing a conductive film, sputtering is performed using a silver alloy sputtering target having the same composition as that of the conductive film of the present invention, so that it has a small surface roughness, high sulfidation resistance and heat resistance. A film can be obtained stably. *
  • a sputtering target of a sixth invention is a sputtering target used in the method for producing a conductive film according to the fifth invention, and contains at least one of In and Sn: 0.1 to 1.5 atomic%. Further, the present invention is characterized in that it is made of a silver alloy containing 0.1 to 3.5 atomic% of Sb and the balance being composed of Ag and inevitable impurities. That is, since this sputtering target has the same component composition as that of the conductive film of the present invention, a conductive film having a small surface roughness, high sulfidation resistance and heat resistance can be obtained stably. *
  • a sputtering target according to a seventh aspect of the invention is the sputtering target according to the sixth aspect of the invention, wherein the sputtering target is produced by plastic working a melting cast ingot of a silver alloy. That is, since this sputtering target has an appropriate structure controlled by plastic working, an excellent conductive film can be obtained by stable sputtering.
  • a sputtering target according to an eighth aspect is the sputtering target according to the seventh aspect, wherein the sputtering target is further heat-treated after the plastic working. That is, since this sputtering target has an appropriate structure controlled by heat treatment, an excellent conductive film can be obtained by stable sputtering.
  • the present invention has the following effects.
  • the conductive film of the present invention and the manufacturing method thereof the conductive film is composed of a silver alloy containing at least one of In and Sn in the above content range and Sb, with the balance being composed of Ag and inevitable impurities. Therefore, while having the characteristics of low resistance and high reflectivity, it is possible to combine low surface roughness with high sulfidation resistance and heat resistance. Therefore, by adopting the conductive film of the present invention as a reflective electrode film of the organic EL element, it is possible to suppress the occurrence of defects caused by defects or sulfidation in the transparent conductive film and the organic EL layer caused by unevenness, and the production of organic EL panels. Yield can be improved.
  • the conductive film of this embodiment contains at least one of In and Sn: 0.1 to 1.5 atomic%, further contains 0.1 to 3.5 atomic% of Sb, and the balance is Ag and It is comprised with the silver alloy which has the component composition which consists of an unavoidable impurity.
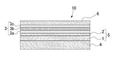
  • the conductive film 1 has an organic EL element in which a transparent conductive film 2 of an organic EL element 10 is laminated on the surface, and an electroluminescent layer 3 including an organic EL layer 3b is further laminated thereon. This is a reflective electrode film for an element.
  • an organic EL element 10 provided with the conductive film 1 includes an anode 5 formed on a film formation substrate 4, an electroluminescent layer 3 including an organic EL layer 3 b formed on the anode 5, An organic EL device including a cathode 6 formed on an electroluminescent layer 3, wherein an anode 5 is formed between the conductive film 1 and the conductive film 1 and the electroluminescent layer 3. And a transparent conductive film 2.
  • the film forming substrate 4 for example, in the case of forming the organic EL element on the TFT substrate, SiN film or the gate insulating film to become SiO 2 film a plurality of insulating films the glass substrate and heat-resistant resin which is laminated on top of such An insulating substrate such as a substrate is used.
  • the thicknesses of the respective layers and films are, for example, 100 to 200 nm for the electroluminescent layer 3, 10 to 20 nm for the transparent conductive film 2, and 100 nm for the conductive film 1.
  • the electroluminescent layer 3 has a three-layer structure in which a hole (hole) transport layer 3a, an organic EL layer 3b, and an electron transport layer 3c are laminated on the anode 5 in this order.
  • phthalocyanine derivatives naphthalocyanine derivatives, porphyrin derivatives, oxazole, oxadiazole, triazole, imidazole, imidazolone, imidazolethione, pyrazoline, pyrazolone, tetrahydroimidazole, oxazole, oxadiazole, hydrazone, acylhydrazone, polyaryl Alkane, stilbene, butadiene, benzidine type triphenylamine, styrylamine type triphenylamine, diamine type triphenylamine, and their derivatives, polyvinylcarbazole, polymers such as polysilane, polyethylenedioxythiophene / polystyrene sulfonic acid (PEDOT / PSS), polymer materials such as polyaniline / camphorsulfonic acid (PANI / CSA) and other conductive polymers And the like.
  • PEDOT / PSS polyethylenedi
  • Examples of the light emitting material used for the organic EL layer 3b include olefin-based light emitting materials such as 4,4 ′-(2,2-diphenylvinyl) biphenyl, 9,10-di (2-naphthyl) anthracene, 9,10- Bis (3,5-diphenylphenyl) anthracene, 9,10-bis (9,9-dimethylfluorenyl) anthracene, 9,10- (4- (2,2-diphenylvinyl) phenyl) anthracene, 9,10 '-Bis (2-biphenylyl) -9,9'-bisanthracene, 9,10,9', 10'-tetraphenyl-2,2'-bianthryl, 1,4-bis (9-phenyl-10-anthracenyl) )
  • Anthracene-based luminescent materials such as benzene, spiro-based luminescent materials such as 2,7,2
  • the electron injecting / transporting material used for the electron transporting layer 3c has the ability to transport electrons, has an electron injecting effect from the cathode 6, and has an excellent electron injecting effect with respect to the organic EL layer 3b or the light emitting material.
  • a compound that prevents the excitons generated in the EL layer 3b from moving to the hole injection layer and has an excellent thin film forming ability is preferable.
  • the transparent conductive film 2 is made of ITO, AZO or the like.
  • the conductive film 1 of this embodiment contains at least one of In and Sn: 0.1 to 1.5 atomic%, further contains 0.1 to 3.5 atomic% of Sb, and the balance is Ag. And it forms into a film by sputtering using the sputtering target comprised with the silver alloy which has the component composition which consists of an unavoidable impurity.
  • the conductive film 1 is manufactured by the following steps. *
  • Ag having a purity of 99.9% by mass or more, at least one of In and Sn having a purity of 99.9% by mass or more, and Sb are weighed so as to have a predetermined composition.
  • Ag is melted in a high vacuum or an inert gas atmosphere, and at least one of In and Sn having a predetermined content and Sb are added to the obtained molten metal. Thereafter, it is dissolved in a vacuum or an inert gas atmosphere, and contains 0.1 to 1.5 atomic% of at least one of In and Sn and 0.1 to 3.5 atomic% of Sb, with the balance being An Ag alloy melting cast ingot composed of Ag and inevitable impurities is prepared. *
  • the melting of Ag is performed in an atmosphere in which the atmosphere is once evacuated and then replaced with Ar, and after melting, at least one of In and Sn and Sb may be added to the molten Ag in the Ar atmosphere. From the viewpoint of stably obtaining the composition ratio of Ag and In, Sn, and Sb. Further, In, Sn, and Sb may be added in the form of a preformed AgIn, AgSn, AgSb, AgInSb, AgSnSb, or AgInSnSb. *
  • this sputtering target is produced by plastic processing a melt cast ingot of a silver alloy and further heat-treating it.
  • This soldering target is soldered to an oxygen-free copper backing plate and mounted on a DC magnetron sputtering device.
  • the inside of the DC magnetron sputtering apparatus is evacuated to 5 ⁇ 10 ⁇ 5 Pa or less by a vacuum evacuation apparatus, Ar gas is introduced to a predetermined sputtering gas pressure, and then, for example, 250 W is applied to the target by a DC power supply. DC sputtering power is applied. Furthermore, the conductive film 1 is formed on the film formation substrate 4 by generating plasma between the film formation substrate 4 facing the target and provided in parallel with the target at a predetermined interval. Form a film.
  • the conductive film 1 of this embodiment formed in this way contains at least one of In and Sn: 0.1 to 1.5 atomic%, and further contains Sb of 0.1 to 3.5 atomic%. And the balance is composed of a silver alloy having a component composition composed of Ag and inevitable impurities, so that it has low resistance and high reflectance characteristics, and contains at least one of In and Sn, and Sb. Can have a small surface roughness and high resistance to sulfidation and heat. *
  • the transparent conductive film 2 of the organic EL element 10 is laminated on the surface, the soundness of the upper transparent conductive film 2 is ensured by the small surface roughness of the conductive film 1, and further the organic film thereon It is possible to prevent a defect from occurring in the EL layer 3b. Moreover, generation
  • the sputtering target of this embodiment since it has the same component composition as the conductive film, a conductive film having a small surface roughness and high sulfidation resistance and heat resistance can be obtained stably. Moreover, since this sputtering target has an appropriate structure controlled by plastic working, an excellent conductive film can be obtained by stable sputtering. Furthermore, since this sputtering target has an appropriate structure controlled by heat treatment, an excellent conductive film can be obtained by stable sputtering. *
  • the transparent conductive film of the present invention is applied to the transparent electrode film of the organic EL element.
  • it may be applied to a reflective electrode film for a light emitting diode or a wiring film of a touch panel. That is, when applied to a reflective electrode film for an LED, the conductive film of the present invention has high heat resistance, so that the reflectance can be maintained well against the heat generated by the LED.
  • the conductive film of the present invention when applied to a wiring film for a touch panel, the conductive film of the present invention has a low specific resistance and a small surface roughness. Further, since it is an alloy, migration is unlikely to occur, resulting in a short circuit defect that causes a problem in the wiring film of the touch panel. Can be prevented.
  • Ag was melted in an atmosphere that was once evacuated and then replaced with Ar, and after melting, at least one of In and Sn and Sb were added to the molten Ag in the Ar atmosphere.
  • the obtained ingot was cold-rolled, then subjected to heat treatment at 600 ° C. for 2 hours in the atmosphere, and then machined to produce a sputtering target having a diameter of 152.4 mm and a thickness of 6 mm.
  • the sputtering target was soldered to an oxygen-free copper backing plate and mounted on a DC magnetron sputtering apparatus.
  • the conductive films of Examples 1 to 24 having the component compositions shown in Table 1 were formed by the above-described manufacturing method, and each of the examples had two types having a thickness of 100 nm and a thickness of 1000 nm. A sample of was prepared. Further, as comparative examples, those having a component composition not containing In, Sn or Sb (Comparative Examples 1 to 3) and those having a component composition containing In, Sn or Sb exceeding the content range of the present invention (Comparative Example) 4 to 6) and the other conditions were the same as in the examples of the present invention, and films were formed with the component compositions shown in Table 1. In addition, the component composition of each Example and each comparative example measured the composition with the electron beam microprobe analyzer (EPMA) about the sample with a film thickness of 1000 nm.
  • EPMA electron beam microprobe analyzer
  • the reflectance in wavelength 550nm of the electroconductive film of each Example and each comparative example was measured with the spectrophotometer.
  • the reflectance at a wavelength of 550 nm of each conductive film was again measured with a spectrophotometer to obtain a sulfur resistance index.
  • the reflectance at a wavelength of 550 nm was also measured after a heat treatment that was held at a temperature of 500 ° C. for 1 hour in a nitrogen atmosphere.
  • the evaluation criteria for determining good are as follows: specific resistance is less than 6 ⁇ ⁇ cm, surface roughness Ra immediately after film formation is less than 1.0 nm, surface roughness Ra after heat treatment is less than 0.8 nm, immediately after film formation and The reflectivity at a wavelength of 550 nm after heat treatment exceeds 95%, and the reflectivity at a wavelength of 550 nm after immersion in an aqueous Na 2 S solution exceeds 60%.
  • Comparative Examples 1 and 2 that do not contain Sb, the surface roughness is large immediately after film formation and after heat treatment, and the flatness is low.
  • Comparative Example 3 containing no In or Sn, the surface roughness after the heat treatment is increased, the reflectance after immersion in the Na 2 S aqueous solution is greatly decreased, and the sulfidation resistance is low.
  • Comparative Examples 4 to 6 in which the content of In, Sn, or Sb exceeds the range of the present invention, both have high specific resistance and low reflectance immediately after film formation, which is insufficient as a reflection electrode film. is there. Further, in each of Comparative Examples 1 to 6, the reflectance after heat treatment is also reduced, and the heat resistance is low.
  • each of them has a low specific resistance and is suitable as an electrode film, and the surface roughness is small both immediately after film formation and after heat treatment and has high flatness.
  • Comparative Examples 1 to 3 in which at least one of In and Sn and only one of Sb is included, at least the surface roughness after the heat treatment becomes large, whereas in this example, By containing both Sb and at least one of In and Sn, a small surface roughness is obtained both immediately after film formation and after heat treatment.
  • high reflectivity was obtained immediately after film formation, after immersion in an aqueous Na 2 S solution, and after heat treatment. Therefore, the examples of the present invention have specific resistance, surface roughness, reflectivity, sulfidation resistance and heat resistance suitable as a reflective electrode film for organic EL elements and LEDs.
  • the metal impurity concentration is Bi: 100 ppm or less, Pb: 100 ppm or less, Cu: 100 ppm or less, Fe: 100 ppm or less, and the total purity: 3N or more. Is preferred.
  • the surface roughness is preferably less than 3 ⁇ m, the particle size is less than 500 ⁇ m, and the oxygen concentration is less than 300 ppm.
  • the conductive film of the present invention is adopted as the reflective electrode film of the organic EL element.
  • the conductive film of the present invention has a low specific resistance and a small surface roughness, and the wiring of the touch panel It is also suitable as a film.
  • SYMBOLS 1 Conductive film, 2 ... Transparent conductive film, 3 ... Electroluminescent layer, 4 ... Film-forming substrate, 5 ... Anode, 6 ... Cathode, 10 ... Organic EL element

Landscapes

  • Chemical & Material Sciences (AREA)
  • Engineering & Computer Science (AREA)
  • Materials Engineering (AREA)
  • Mechanical Engineering (AREA)
  • Metallurgy (AREA)
  • Organic Chemistry (AREA)
  • Chemical Kinetics & Catalysis (AREA)
  • Theoretical Computer Science (AREA)
  • General Engineering & Computer Science (AREA)
  • Human Computer Interaction (AREA)
  • General Physics & Mathematics (AREA)
  • Physics & Mathematics (AREA)
  • Manufacturing & Machinery (AREA)
  • Electroluminescent Light Sources (AREA)
  • Physical Vapour Deposition (AREA)
  • Non-Insulated Conductors (AREA)
  • Manufacturing Of Electric Cables (AREA)
PCT/JP2012/003895 2011-06-24 2012-06-14 導電性膜およびその製造方法並びにこれに用いるスパッタリングターゲット Ceased WO2012176407A1 (ja)

Priority Applications (2)

Application Number Priority Date Filing Date Title
CN201280024915.5A CN103548421B (zh) 2011-06-24 2012-06-14 导电性膜及其制造方法以及用于该制造方法的溅射靶
KR1020137033967A KR101453712B1 (ko) 2011-06-24 2012-06-14 도전성 막, 그의 제조 방법, 및 이것에 사용되는 스퍼터링 타겟

Applications Claiming Priority (6)

Application Number Priority Date Filing Date Title
JP2011140538 2011-06-24
JP2011-140538 2011-06-24
JP2012-004941 2012-01-13
JP2012004941 2012-01-13
JP2012-120331 2012-05-26
JP2012120331A JP5488849B2 (ja) 2011-06-24 2012-05-26 導電性膜およびその製造方法並びにこれに用いるスパッタリングターゲット

Publications (1)

Publication Number Publication Date
WO2012176407A1 true WO2012176407A1 (ja) 2012-12-27

Family

ID=47422265

Family Applications (1)

Application Number Title Priority Date Filing Date
PCT/JP2012/003895 Ceased WO2012176407A1 (ja) 2011-06-24 2012-06-14 導電性膜およびその製造方法並びにこれに用いるスパッタリングターゲット

Country Status (5)

Country Link
JP (1) JP5488849B2 (enExample)
KR (1) KR101453712B1 (enExample)
CN (1) CN103548421B (enExample)
TW (1) TWI532856B (enExample)
WO (1) WO2012176407A1 (enExample)

Cited By (3)

* Cited by examiner, † Cited by third party
Publication number Priority date Publication date Assignee Title
WO2015005455A1 (ja) * 2013-07-11 2015-01-15 三菱マテリアル株式会社 半透明Ag合金膜、および、半透明Ag合金膜形成用スパッタリングターゲット
US10454070B2 (en) 2017-07-12 2019-10-22 Joled Inc. Organic EL element, organic EL display panel, and method of manufacturing organic EL display panel
US10577687B2 (en) 2015-02-27 2020-03-03 Mitsubishi Materials Corporation Ag alloy sputtering target and Ag alloy film manufacturing method

Families Citing this family (8)

* Cited by examiner, † Cited by third party
Publication number Priority date Publication date Assignee Title
JP2013077547A (ja) * 2011-09-15 2013-04-25 Mitsubishi Materials Corp 導電性膜及びその製造方法並びに導電性膜形成用銀合金スパッタリングターゲット及びその製造方法
JP5612147B2 (ja) * 2013-03-11 2014-10-22 三菱マテリアル株式会社 導電性膜形成用銀合金スパッタリングターゲットおよびその製造方法
JP2015079739A (ja) * 2013-09-13 2015-04-23 三菱マテリアル株式会社 有機el用反射電極膜、積層反射電極膜、及び、反射電極膜形成用スパッタリングターゲット
JP6375658B2 (ja) * 2014-03-19 2018-08-22 三菱マテリアル株式会社 積層膜
JP5850077B2 (ja) * 2014-04-09 2016-02-03 三菱マテリアル株式会社 Ag合金膜及びAg合金膜形成用スパッタリングターゲット
JP2016040411A (ja) * 2014-08-12 2016-03-24 三菱マテリアル株式会社 積層膜、積層配線膜及び積層配線膜の製造方法
JP6398624B2 (ja) * 2014-11-06 2018-10-03 Tdk株式会社 透明導電体及びタッチパネル
JP6020750B1 (ja) * 2015-02-27 2016-11-02 三菱マテリアル株式会社 透明導電配線、及び、透明導電配線の製造方法

Citations (7)

* Cited by examiner, † Cited by third party
Publication number Priority date Publication date Assignee Title
JPH01273690A (ja) * 1988-04-27 1989-11-01 Kyocera Corp ロウ付け用材料
JPH02253593A (ja) * 1989-03-27 1990-10-12 Mitsui Toatsu Chem Inc 発光素子
JP2003217375A (ja) * 2002-01-21 2003-07-31 Sumitomo Electric Ind Ltd 電気接点およびそれを用いたブレーカー
JP2004126497A (ja) * 2002-08-08 2004-04-22 Kobe Steel Ltd 光反射膜およびこれを用いた液晶表示素子、ならびに光反射膜用スパッタリングターゲット
JP2005008983A (ja) * 2003-06-16 2005-01-13 Wc Heraeus Gmbh 銀をベースとする合金、反射層、スパッタ材料および蒸着材料を形成するためのその使用
JP2006037169A (ja) * 2004-07-27 2006-02-09 Furuya Kinzoku:Kk 銀合金、そのスパッタリングターゲット材及びその薄膜
JP2006202487A (ja) * 2004-07-15 2006-08-03 Kobe Steel Ltd 光情報記録用Ag合金反射膜の形成用のAg合金スパッタリングターゲット

Family Cites Families (4)

* Cited by examiner, † Cited by third party
Publication number Priority date Publication date Assignee Title
JPH0997676A (ja) * 1995-10-02 1997-04-08 Toyo Ink Mfg Co Ltd 有機エレクトロルミネッセンス素子
CN100373485C (zh) * 2004-07-15 2008-03-05 株式会社神户制钢所 银合金反射膜、溅射目标及使用该膜的光学信息记录介质
JP4377861B2 (ja) * 2005-07-22 2009-12-02 株式会社神戸製鋼所 光情報記録媒体用Ag合金反射膜、光情報記録媒体および光情報記録媒体用Ag合金反射膜の形成用のAg合金スパッタリングターゲット
FR2913146B1 (fr) 2007-02-23 2009-05-01 Saint Gobain Electrode discontinue, dispositif electroluminescent organique l'incorporant, et leurs fabrications

Patent Citations (7)

* Cited by examiner, † Cited by third party
Publication number Priority date Publication date Assignee Title
JPH01273690A (ja) * 1988-04-27 1989-11-01 Kyocera Corp ロウ付け用材料
JPH02253593A (ja) * 1989-03-27 1990-10-12 Mitsui Toatsu Chem Inc 発光素子
JP2003217375A (ja) * 2002-01-21 2003-07-31 Sumitomo Electric Ind Ltd 電気接点およびそれを用いたブレーカー
JP2004126497A (ja) * 2002-08-08 2004-04-22 Kobe Steel Ltd 光反射膜およびこれを用いた液晶表示素子、ならびに光反射膜用スパッタリングターゲット
JP2005008983A (ja) * 2003-06-16 2005-01-13 Wc Heraeus Gmbh 銀をベースとする合金、反射層、スパッタ材料および蒸着材料を形成するためのその使用
JP2006202487A (ja) * 2004-07-15 2006-08-03 Kobe Steel Ltd 光情報記録用Ag合金反射膜の形成用のAg合金スパッタリングターゲット
JP2006037169A (ja) * 2004-07-27 2006-02-09 Furuya Kinzoku:Kk 銀合金、そのスパッタリングターゲット材及びその薄膜

Cited By (4)

* Cited by examiner, † Cited by third party
Publication number Priority date Publication date Assignee Title
WO2015005455A1 (ja) * 2013-07-11 2015-01-15 三菱マテリアル株式会社 半透明Ag合金膜、および、半透明Ag合金膜形成用スパッタリングターゲット
JP2015035419A (ja) * 2013-07-11 2015-02-19 三菱マテリアル株式会社 半透明Ag合金膜、および、半透明Ag合金膜形成用スパッタリングターゲット
US10577687B2 (en) 2015-02-27 2020-03-03 Mitsubishi Materials Corporation Ag alloy sputtering target and Ag alloy film manufacturing method
US10454070B2 (en) 2017-07-12 2019-10-22 Joled Inc. Organic EL element, organic EL display panel, and method of manufacturing organic EL display panel

Also Published As

Publication number Publication date
CN103548421A (zh) 2014-01-29
KR20140043905A (ko) 2014-04-11
JP2013165053A (ja) 2013-08-22
JP5488849B2 (ja) 2014-05-14
KR101453712B1 (ko) 2014-10-22
CN103548421B (zh) 2015-08-19
TW201307584A (zh) 2013-02-16
TWI532856B (zh) 2016-05-11

Similar Documents

Publication Publication Date Title
JP5488849B2 (ja) 導電性膜およびその製造方法並びにこれに用いるスパッタリングターゲット
CN105849929B (zh) 金属氧化物的薄膜、具备该薄膜的有机电致发光元件、太阳能电池和有机太阳能电池
CN105206753B (zh) 有机发光元件
US20190058142A1 (en) Thin film of metal oxide, organic electroluminescent device including thin film, photovoltaic cell including thin film, and manufacturing method of thin film
WO2022037155A1 (zh) 一种有机电致发光器件及显示装置
CN102612859A (zh) 有机el显示器用的反射阳极电极
CN102239741A (zh) 有机el元件及其制造方法
Li et al. Efficient and Stable OLEDs with Inverted Device Structure Utilizing Solution‐Processed ZnO‐Based Electron Injection Layer
CN101405366B (zh) 有机发光器件的制备方法及使用该方法制备的有机发光器件
JP5720816B2 (ja) 導電性膜
KR20060051032A (ko) 유기 전계 발광 소자 및 표시 장치
JP2013077547A (ja) 導電性膜及びその製造方法並びに導電性膜形成用銀合金スパッタリングターゲット及びその製造方法
KR100721428B1 (ko) 유기 발광 다이오드 및 이의 제조 방법
JP5742615B2 (ja) 導電性膜及びその製造方法並びに導電性膜形成用銀合金スパッタリングターゲット及びその製造方法
JP5141794B2 (ja) 有機el用透明導電膜およびこの透明導電膜を用いた有機el素子
JP2012059470A (ja) 有機elディスプレイ用の反射アノード電極
WO2015037582A1 (ja) 有機el用反射電極膜、積層反射電極膜、及び、反射電極膜形成用スパッタリングターゲット
KR20130135185A (ko) 유기 발광 소자 및 이의 제조방법
CN104466012A (zh) 有机电致发光器件及其制备方法
WO2015005455A1 (ja) 半透明Ag合金膜、および、半透明Ag合金膜形成用スパッタリングターゲット
WO2018038067A1 (ja) 反射電極およびAl合金スパッタリングターゲット
Lee et al. Asymmetric brightness of transparent organic emitting device with passivation layer by annealing
CN104466013A (zh) 有机电致发光器件及其制备方法
CN104466003A (zh) 有机电致发光器件及其制备方法
CN104466011A (zh) 有机电致发光器件及其制备方法

Legal Events

Date Code Title Description
121 Ep: the epo has been informed by wipo that ep was designated in this application

Ref document number: 12802412

Country of ref document: EP

Kind code of ref document: A1

ENP Entry into the national phase

Ref document number: 20137033967

Country of ref document: KR

Kind code of ref document: A

NENP Non-entry into the national phase

Ref country code: DE

122 Ep: pct application non-entry in european phase

Ref document number: 12802412

Country of ref document: EP

Kind code of ref document: A1