WO2012111357A1 - 複合センサ - Google Patents

複合センサ Download PDF

Info

Publication number
WO2012111357A1
WO2012111357A1 PCT/JP2012/050214 JP2012050214W WO2012111357A1 WO 2012111357 A1 WO2012111357 A1 WO 2012111357A1 JP 2012050214 W JP2012050214 W JP 2012050214W WO 2012111357 A1 WO2012111357 A1 WO 2012111357A1
Authority
WO
WIPO (PCT)
Prior art keywords
potential
movable
dummy
sensor
electrostatic force
Prior art date
Legal status (The legal status is an assumption and is not a legal conclusion. Google has not performed a legal analysis and makes no representation as to the accuracy of the status listed.)
Ceased
Application number
PCT/JP2012/050214
Other languages
English (en)
French (fr)
Japanese (ja)
Inventor
希元 鄭
雅秀 林
Current Assignee (The listed assignees may be inaccurate. Google has not performed a legal analysis and makes no representation or warranty as to the accuracy of the list.)
Hitachi Astemo Ltd
Original Assignee
Hitachi Automotive Systems Ltd
Priority date (The priority date is an assumption and is not a legal conclusion. Google has not performed a legal analysis and makes no representation as to the accuracy of the date listed.)
Filing date
Publication date
Application filed by Hitachi Automotive Systems Ltd filed Critical Hitachi Automotive Systems Ltd
Priority to DE112012000823.5T priority Critical patent/DE112012000823B4/de
Priority to US13/983,828 priority patent/US9151776B2/en
Publication of WO2012111357A1 publication Critical patent/WO2012111357A1/ja
Anticipated expiration legal-status Critical
Ceased legal-status Critical Current

Links

Images

Classifications

    • GPHYSICS
    • G01MEASURING; TESTING
    • G01PMEASURING LINEAR OR ANGULAR SPEED, ACCELERATION, DECELERATION, OR SHOCK; INDICATING PRESENCE, ABSENCE, OR DIRECTION, OF MOVEMENT
    • G01P15/00Measuring acceleration; Measuring deceleration; Measuring shock, i.e. sudden change of acceleration
    • G01P15/02Measuring acceleration; Measuring deceleration; Measuring shock, i.e. sudden change of acceleration by making use of inertia forces using solid seismic masses
    • G01P15/08Measuring acceleration; Measuring deceleration; Measuring shock, i.e. sudden change of acceleration by making use of inertia forces using solid seismic masses with conversion into electric or magnetic values
    • G01P15/125Measuring acceleration; Measuring deceleration; Measuring shock, i.e. sudden change of acceleration by making use of inertia forces using solid seismic masses with conversion into electric or magnetic values by capacitive pick-up
    • GPHYSICS
    • G01MEASURING; TESTING
    • G01CMEASURING DISTANCES, LEVELS OR BEARINGS; SURVEYING; NAVIGATION; GYROSCOPIC INSTRUMENTS; PHOTOGRAMMETRY OR VIDEOGRAMMETRY
    • G01C19/00Gyroscopes; Turn-sensitive devices using vibrating masses; Turn-sensitive devices without moving masses; Measuring angular rate using gyroscopic effects
    • G01C19/56Turn-sensitive devices using vibrating masses, e.g. vibratory angular rate sensors based on Coriolis forces
    • G01C19/5719Turn-sensitive devices using vibrating masses, e.g. vibratory angular rate sensors based on Coriolis forces using planar vibrating masses driven in a translation vibration along an axis
    • GPHYSICS
    • G01MEASURING; TESTING
    • G01CMEASURING DISTANCES, LEVELS OR BEARINGS; SURVEYING; NAVIGATION; GYROSCOPIC INSTRUMENTS; PHOTOGRAMMETRY OR VIDEOGRAMMETRY
    • G01C19/00Gyroscopes; Turn-sensitive devices using vibrating masses; Turn-sensitive devices without moving masses; Measuring angular rate using gyroscopic effects
    • G01C19/56Turn-sensitive devices using vibrating masses, e.g. vibratory angular rate sensors based on Coriolis forces
    • G01C19/5719Turn-sensitive devices using vibrating masses, e.g. vibratory angular rate sensors based on Coriolis forces using planar vibrating masses driven in a translation vibration along an axis
    • G01C19/5726Signal processing
    • GPHYSICS
    • G01MEASURING; TESTING
    • G01CMEASURING DISTANCES, LEVELS OR BEARINGS; SURVEYING; NAVIGATION; GYROSCOPIC INSTRUMENTS; PHOTOGRAMMETRY OR VIDEOGRAMMETRY
    • G01C19/00Gyroscopes; Turn-sensitive devices using vibrating masses; Turn-sensitive devices without moving masses; Measuring angular rate using gyroscopic effects
    • G01C19/56Turn-sensitive devices using vibrating masses, e.g. vibratory angular rate sensors based on Coriolis forces
    • G01C19/5719Turn-sensitive devices using vibrating masses, e.g. vibratory angular rate sensors based on Coriolis forces using planar vibrating masses driven in a translation vibration along an axis
    • G01C19/5733Structural details or topology
    • GPHYSICS
    • G01MEASURING; TESTING
    • G01PMEASURING LINEAR OR ANGULAR SPEED, ACCELERATION, DECELERATION, OR SHOCK; INDICATING PRESENCE, ABSENCE, OR DIRECTION, OF MOVEMENT
    • G01P15/00Measuring acceleration; Measuring deceleration; Measuring shock, i.e. sudden change of acceleration
    • G01P15/02Measuring acceleration; Measuring deceleration; Measuring shock, i.e. sudden change of acceleration by making use of inertia forces using solid seismic masses
    • G01P15/08Measuring acceleration; Measuring deceleration; Measuring shock, i.e. sudden change of acceleration by making use of inertia forces using solid seismic masses with conversion into electric or magnetic values
    • G01P15/0802Details
    • GPHYSICS
    • G01MEASURING; TESTING
    • G01CMEASURING DISTANCES, LEVELS OR BEARINGS; SURVEYING; NAVIGATION; GYROSCOPIC INSTRUMENTS; PHOTOGRAMMETRY OR VIDEOGRAMMETRY
    • G01C19/00Gyroscopes; Turn-sensitive devices using vibrating masses; Turn-sensitive devices without moving masses; Measuring angular rate using gyroscopic effects
    • G01C19/56Turn-sensitive devices using vibrating masses, e.g. vibratory angular rate sensors based on Coriolis forces
    • G01C19/5719Turn-sensitive devices using vibrating masses, e.g. vibratory angular rate sensors based on Coriolis forces using planar vibrating masses driven in a translation vibration along an axis
    • G01C19/5769Manufacturing; Mounting; Housings
    • GPHYSICS
    • G01MEASURING; TESTING
    • G01PMEASURING LINEAR OR ANGULAR SPEED, ACCELERATION, DECELERATION, OR SHOCK; INDICATING PRESENCE, ABSENCE, OR DIRECTION, OF MOVEMENT
    • G01P15/00Measuring acceleration; Measuring deceleration; Measuring shock, i.e. sudden change of acceleration
    • G01P15/02Measuring acceleration; Measuring deceleration; Measuring shock, i.e. sudden change of acceleration by making use of inertia forces using solid seismic masses
    • G01P15/08Measuring acceleration; Measuring deceleration; Measuring shock, i.e. sudden change of acceleration by making use of inertia forces using solid seismic masses with conversion into electric or magnetic values
    • G01P2015/0805Measuring acceleration; Measuring deceleration; Measuring shock, i.e. sudden change of acceleration by making use of inertia forces using solid seismic masses with conversion into electric or magnetic values being provided with a particular type of spring-mass-system for defining the displacement of a seismic mass due to an external acceleration
    • G01P2015/0808Measuring acceleration; Measuring deceleration; Measuring shock, i.e. sudden change of acceleration by making use of inertia forces using solid seismic masses with conversion into electric or magnetic values being provided with a particular type of spring-mass-system for defining the displacement of a seismic mass due to an external acceleration for defining in-plane movement of the mass, i.e. movement of the mass in the plane of the substrate
    • G01P2015/0811Measuring acceleration; Measuring deceleration; Measuring shock, i.e. sudden change of acceleration by making use of inertia forces using solid seismic masses with conversion into electric or magnetic values being provided with a particular type of spring-mass-system for defining the displacement of a seismic mass due to an external acceleration for defining in-plane movement of the mass, i.e. movement of the mass in the plane of the substrate for one single degree of freedom of movement of the mass
    • G01P2015/0814Measuring acceleration; Measuring deceleration; Measuring shock, i.e. sudden change of acceleration by making use of inertia forces using solid seismic masses with conversion into electric or magnetic values being provided with a particular type of spring-mass-system for defining the displacement of a seismic mass due to an external acceleration for defining in-plane movement of the mass, i.e. movement of the mass in the plane of the substrate for one single degree of freedom of movement of the mass for translational movement of the mass, e.g. shuttle type
    • HELECTRICITY
    • H10SEMICONDUCTOR DEVICES; ELECTRIC SOLID-STATE DEVICES NOT OTHERWISE PROVIDED FOR
    • H10DINORGANIC ELECTRIC SEMICONDUCTOR DEVICES
    • H10D48/00Individual devices not covered by groups H10D1/00 - H10D44/00
    • H10D48/50Devices controlled by mechanical forces, e.g. pressure

Definitions

  • the present invention relates to a composite sensor having a plurality of sensors on a substrate.
  • An inertial amount measurement sensor and a control sensor used in a vehicle travel control device and a robot posture control device are created using, for example, a MEMS (Micro-Electro-Mechanical Systems) technology.
  • MEMS Micro-Electro-Mechanical Systems
  • an inertia amount measurement sensor there is one that measures an inertia amount using a change in capacitance.
  • inertial sensors there is a so-called compound sensor that can simultaneously detect acceleration and angular velocity, which are a kind of inertia.
  • compound sensor that can simultaneously detect acceleration and angular velocity, which are a kind of inertia.
  • the composite sensor for example, the following is available.
  • an automobile skid prevention system uses an angular velocity sensor and a biaxial acceleration sensor to detect rotation and longitudinal / left / right acceleration acting on the vehicle body, and adjusts the braking force of each of the four wheels together with the engine output. Control the running state of the car body.
  • a sensor used in an automobile skid prevention system generally has an angular velocity sensor and an acceleration sensor having a plurality of detection axes mounted on a printed circuit board.
  • the deep etching technique is a processing process technique in which chemical etching mainly including SF 6 gas and chemical film formation mainly including CF 4 gas are repeatedly performed. Due to the uniformity of film formation and local charge-up of ions (potential fluctuation due to inflow of electric charge), needle-like silicon debris called black silicon is generated in a portion where the etching area is wide, and conductive It becomes garbage. This dust is not preferable in terms of sensor characteristics.
  • the etching rate will vary. .
  • the processed pattern portion other than the finest pattern that takes the longest time is exposed to the chemical substance that is the etchant even though the etching is completed, and the processing proceeds excessively. Therefore, there is a difference between the dimension of the inertial body upper part and the dimension of the inertial body bottom, and the inertial body cannot be processed as designed, which is not preferable. Therefore, for the purpose of controlling the variation of the processing dimension by suppressing the variation of the opening in the etched region, the inertial mass body, the movable electrode and the fixed electrode constituting the detection electrode, and the support beam structure pattern on the same plane A dummy pattern that does not directly contribute to the sensor performance is arranged around the periphery.
  • a conductor part such as a covering lid is referred to as a “peripheral conductor”.
  • the peripheral conductor includes single crystal silicon and a semiconductor in which an insulating film and a conductive film are formed on the single crystal silicon.
  • Peripheral conductors including dummy patterns arranged around the inertial mass body and support beam need to be fixed at a constant potential to prevent charge-up due to electromagnetic waves or static electricity.
  • a potential different from the potential of the movable part such as the adjacent inertial mass body an electrostatic attractive force is generated between the peripheral conductor and the movable part, such as sensor offset, sensitivity fluctuation, stick, and short. Trouble occurs. Therefore, it is desirable that the peripheral conductor and the movable part adjacent to the peripheral conductor have the same potential.
  • Patent Document 2 describes an example of a technique related to the inertia sensor as described above.
  • each inertial mass constituting the angular velocity sensor and the acceleration sensor has a desirable reference potential.
  • Vref / 2 which is an intermediate value of the power supply voltage Vref, is used as a reference potential, and when a positive acceleration is applied, a voltage of Vref / 2 + ⁇ V is output, and when a negative acceleration is applied. In general, a voltage of Vref / 2 ⁇ V is output.
  • the angular velocity sensor may be controlled so that the natural angular frequency falls within a predetermined region, for example, by combining the driving angular frequency and the natural angular frequency on the detection side in order to obtain high sensitivity.
  • an electrostatic force is applied by applying a DC voltage between a movable electrode installed on the inertial mass body and a fixed electrode arranged so as to face the movable electrode and fixed to the support layer.
  • the frequency range that can be adjusted by this effect is limited by the potential difference between the movable electrode and the fixed electrode. Therefore, in order to absorb the variation in the natural angular frequency due to processing errors during manufacturing and improve the yield, it is necessary to secure the tuning voltage by reducing the potential applied to the inertial mass body of the angular velocity sensor as much as possible. .
  • a potential applied to the adjacent inertial mass body to the dummy pattern arranged around the inertial mass body for both the acceleration sensor and the angular velocity sensor.
  • the present invention has been made to solve the above-described problems, and an object thereof is to improve the S / N ratio and sensor sensitivity of a composite sensor.
  • the composite sensor according to the present invention includes a first movable part and a second movable part, and a first dummy part and a second dummy part arranged around these parts formed in a layer of the multilayer substrate. .
  • the first dummy portion and the second dummy portion are electrically separated, a first potential is applied to the first movable portion and the first dummy portion, and a second potential is applied to the second movable portion and the second dummy portion. Is applied.
  • the composite sensor according to the present invention can further improve the S / N ratio and sensor sensitivity in the composite sensor.
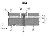
  • FIG. 3 is a cross-sectional view taken along the plane A-A ′ of FIG. 2.
  • FIG. 3 is a B-B ′ sectional view of FIG. 2. It is a figure which shows the connection relation of acceleration detection part S1EG and a peripheral circuit. It is a figure which shows the connection relationship of angular velocity detection part S1EY and a peripheral circuit.
  • a plastic package or the like can be used instead of the ceramic package 150 as a package in which contents such as the sensor element S1E and the IC 50 are placed. That is, any material can be used as long as it can protect contents such as the conductive wire 152 and can perform signal input / output with the outside.
  • FIG. 2 is a plan view of the sensor element S1E according to the first embodiment. For convenience, the description of the glass cap 100 described in FIG. 3 is omitted.
  • the sensor element S1E has an acceleration detector S1EG and an angular velocity detector S1EY.
  • the acceleration detection unit S1EG includes an inertial mass body 11, a support beam structure 12, a movable electrode 13, a fixed electrode 14, a suspension portion 15, a dummy pattern 16, and a through electrode 17.
  • the inertial mass body 11 is a movable part that is displaced when an inertial force is applied to the acceleration detection part S1EG.
  • the support beam structure 12 supports the inertial mass body 11.
  • the movable electrode 13 is displaced together with the inertial mass body 11 to form a capacitance with the fixed electrode 14. This capacitance changes with the displacement of the inertial mass body 11, and based on this, the movement amount of the inertial mass body 11 can be detected.
  • the suspension portion 15 fixes and suspends the inertial mass body 11 and the support beam structure 12 to the support layer 1a described with reference to FIG.
  • the through electrode 17 penetrates the suspension portion 15 and is electrically connected to a pad 18 described later.
  • the dummy pattern 16 is a portion that is arranged around the same plane of each of the above portions and does not directly contribute to the sensor function.
  • the angular velocity detector S1EY includes a dummy pattern 16a, an inertial mass body 23, and a support beam structure 24.
  • a gap 30 is formed between the dummy patterns 16a and 16 so that the two are electrically separated.
  • the inertial mass body 23 is a movable part that is displaced when an inertial force is applied to the angular velocity detection part S1EY.
  • the inertial mass body 23 can be displaced in the drive direction (x) and the detection direction (y).
  • the support beam structure 24 supports the inertial mass body 23.
  • the “first movable part” and the “second movable part” correspond to the inertia mass bodies 11 and 23 and the movable electrodes they have.
  • the “fixed portion” corresponds to the fixed electrode 14 and a fixed electrode of the detection electrode 29 described later.
  • the “first dummy part” and the “second dummy part” correspond to the dummy patterns 16 and 16a.
  • the “potential generation circuit” corresponds to a circuit that supplies reference potentials 20a and 20b described later.
  • FIG. 3 is a cross-sectional view of the A-A ′ plane of FIG.
  • a mechanical component of the sensor element S1E such as the suspension 15 can be formed on a substrate such as an SOI (Silicon On On Insulator) substrate 1.
  • SOI Silicon On On Insulator
  • an intermediate insulating layer 1b is formed on the support layer 1a, and an active layer 1c is formed on the intermediate insulating layer 1b.
  • the support layer 1a can be formed of, for example, silicon (Si).
  • Intermediate insulating layer 1b may be formed, for example, silicon oxide (SiO 2).
  • the active layer 1c can be formed of, for example, conductive silicon.
  • the total thickness of the support layer 1a and the intermediate insulating layer 1b is, for example, several tens to several hundreds ⁇ m.
  • the thickness of the active layer 1c is, for example, several to several tens ⁇ m.
  • the SOI substrate is used in the first embodiment, the present invention is not limited to the SOI substrate, and various semiconductor substrates can be used.
  • conductive polysilicon using surface MEMS technology or plating metal such as nickel (Ni) may be used as the active layer 1c.
  • Each component of the composite sensor S1 according to the first embodiment is formed by processing the active layer 1c of the SOI substrate 1.
  • a method for processing the active layer 1c for example, the following procedure can be considered.
  • a part of the resist on the active layer 1c is removed by using photolithography or electron beam drawing technology.
  • the exposed active layer 1c is removed by dry etching using RIE (Reactive Ion Etching), wet etching technology using an alkaline chemical such as TMAH (Tetra Methyl Ammonium Hydrooxide) or KOH (potassium hydroxide). To do.
  • TMAH Tetra Methyl Ammonium Hydrooxide
  • KOH potassium hydroxide
  • the portion where the width of the active layer 1c is thin is completely free of the intermediate insulating layer 1b below, and is in a state of floating from the support layer 1a. Become.
  • the intermediate insulating layer 1b below remains and is fixed to the support layer 1a.
  • FIG. 4 is a cross-sectional view taken along the line B-B ′ of FIG.
  • a through electrode 17 is formed in the suspension portion 15.
  • the through electrode 17 is connected to a pad 18 that penetrates the suspension portion 15 and is formed on the support layer 1a.
  • the pad 18 is connected to the IC 50 by a conductive wire 152.
  • the pad 47 is electrically connected to the support layer 1a, and a potential can be applied to the support layer 1a via the pad 47.
  • the through electrode 17 can be applied with an electric signal from the support layer 1a via the pad 18 to apply a potential, or can be fixed at a constant potential.
  • the through electrode 17 can be formed by the following procedure.
  • the through electrode 17 can be formed.
  • an electrical signal can be input / output between each component formed in the active layer 1c and the support layer 1a. Therefore, even when the cap 100 is installed on the active layer 1c using anodic bonding using glass or other adhesive, signals can be easily input / output from / to the outside of the composite sensor S1.
  • FIG. 5 is a diagram illustrating a connection relationship between the acceleration detection unit S1EG and peripheral circuits.
  • the inertial mass body 11 is displaced according to the law of inertia. The amount of displacement at this time can be calculated from the change in capacitance between the movable electrode 13 and the fixed electrode 14.
  • the capacitance voltage (CV) of the IC 50 changes.
  • the conversion circuit 19 converts the capacitance change into a voltage, and converts the voltage change amount into a displacement amount of the inertial mass body 11.
  • the capacitance difference between the movable electrode 13 and the fixed electrode 14 can be measured by a carrier wave generated and demodulated by the carrier wave application circuit 22 and the demodulation circuit 21.
  • the carrier wave uses a frequency band of several hundred kHz that the inertial mass body 11 cannot follow.
  • the reason for using the high-frequency carrier wave (applying circuit) 22 is due to the following reasons (a) and (b).
  • (A) The cutoff frequency of the vibration system configured as the inertial mass body 11 and the support beam structure 12 is generally 1 kHz or less, and does not follow the carrier wave 22 having a high frequency.
  • the frequency of the carrier wave 22 is too high (for example, 1 MHz or more), the sensitivity of the sensor decreases due to the limitation due to the pass band of the OP-AMP 19a described later.
  • the CV conversion circuit 19 includes an OP-AMP 19a and a reference capacitor Cf.
  • an output Vo is obtained.
  • the output Vo of the CV conversion circuit 17 satisfies the following relationship (Equation 1).
  • ⁇ C Capacitance change between movable electrode 13 and fixed electrode 14
  • Vc amplitude of carrier wave 22
  • Vb potential 20a of positive terminal of OP-AMP 19a
  • the reference potential 20a input to the plus terminal of the OP-AMP 19a constituting the CV conversion circuit 19 is also used as the reference potential of the carrier wave 22. That is, the carrier wave 22 is a signal in which the reference potential 20a is a DC voltage and an AC signal of several hundred kHz is superimposed. Since the DC components of the carrier wave 22 cancel each other during differential detection, in principle, even if there is a difference between the reference potential 20a of the OP-AMP 19a and the reference potential of the carrier wave 22, it does not affect the sensor output Vo. Absent.
  • the inertial mass body 11 is caused by the difference in the reference potential 20a. Due to the displacement, an offset occurs.
  • the reference potential 20b of the carrier wave 22 is the same as the reference potential 20a of the CV conversion circuit 19. Furthermore, when the power supply potential input to the sensor is Vref, the reference potentials 20a and 20b are desirably Vref / 2, that is, half of the power supply potential.
  • a dummy pattern 16 is formed so as to surround the periphery of the inertial mass body 11, the support beam structure 12, the movable electrode 13, the fixed electrode 14, and the suspension portion 15.
  • the main purpose of the dummy pattern 16 is to reduce the processing time when DRIE (Deep Reactive Ion Etching) of the active layer 1c, to manage the aspect ratio as uniformly as possible, and to suppress the microloading effect. Accordingly, it is intended to suppress notches whose bottom surface is excessively shaved due to overetching and conductive dust caused by black silicon.
  • DRIE Deep Reactive Ion Etching
  • the potential is applied to the dummy pattern 16 by connecting the pad 15 c formed on the support layer 1 a and the IC 50 with the conductive wire 152 through the through electrode 17.
  • FIG. 6 is a diagram showing a connection relationship between the angular velocity detection unit S1EY and peripheral circuits.
  • the angular velocity detection unit S1EY includes a drive electrode 27, a monitor electrode 28, a detection electrode 29, and a suspension unit 15 in addition to the configuration described in FIG.
  • the drive electrode 27 vibrates the inertial mass body 23 in the drive direction.
  • the monitor electrode 28 monitors the displacement of the inertial mass body 23 in the driving direction.
  • the detection electrode 29 detects the amount of displacement when the inertial mass body 23 is displaced in the detection direction by applying an angular velocity from the outside.
  • the drive signal generated by the drive circuit 32 is applied to the drive electrode 27.
  • the drive electrode 27 is configured as a movable electrode provided in the inertial mass body 23 and a fixed electrode installed at a certain interval so as to face the movable electrode.
  • the drive electrode 27 vibrates the inertial mass body 23 in the drive direction by an electrostatic force generated by a drive signal from the drive circuit 32.
  • the effective potential difference acting on the drive electrode 27 is the potential difference between the drive signal and the reference potential of the inertial mass body 23.
  • the reference potential of the inertial mass body 23 is a DC voltage 20c of a carrier wave (application circuit) 22a described later.
  • the carrier wave 22a is several hundred kHz different from the carrier wave 22 for measuring the displacement of the inertial mass body 11 in order to prevent signal interference with the acceleration detector S1EG formed in the same active layer 1c.
  • the carrier frequency of the band is used.
  • the DC bias voltage (reference potential) 20c applied to the carrier wave 22a is the DC reference potential of the inertial mass body 23.
  • an electrostatic spring effect is generated by a potential difference between a detection electrode 27 and an inertial mass body 23 described later, and the natural angular frequency in the detection direction can be adjusted. Therefore, in order to ensure a wide frequency adjustment range, the potential 20c is desirably as low as possible. In the first embodiment, it is set to about 1V.
  • the Coriolis force Fc generated in the detection direction by applying the angular velocity ⁇ has the definition of (Expression 3), and the displacement y in the detection direction generated by the Coriolis force Fc has the relationship of (Expression 4). Therefore, when the sensitivity S of the angular velocity sensor is defined as the ratio of the displacement y in the detection direction to the input angular velocity ⁇ , and (Equation 3) is substituted into (Equation 4) and arranged, the sensitivity S (Equation 5) of the angular velocity sensor is obtained. It is done.
  • m mass of inertial mass body
  • applied angular velocity
  • v speed of inertial mass body 23 in driving direction
  • the maximum sensitivity S can be obtained by matching the natural angular frequency ⁇ y of the detection vibration system to the drive angular frequency ⁇ d. Since the maximum sensitivity S means that the detected amplitude y per unit applied angular velocity is maximum, it means that the inputs to the CV conversion circuit 19 and the control IC 50 are also maximum. That is, since the displacement y which becomes a signal increases from the viewpoint of the sensor S1, the SN ratio is improved.
  • the adjustment width ⁇ fy of the natural frequency fy due to the electrostatic spring effect is a function of the potential difference Vt ⁇ Vb as shown in the following (formula 6), and absorbs the variation of the natural frequency in a wider range, thereby improving the manufacturing yield.
  • Vt ⁇ Vb potential difference
  • the upper limit potential that can be supplied by the voltage adjustment circuit 31 is the power supply voltage Vref, in order to apply a large potential difference, it is necessary to make the reference potential 20c of the carrier wave 22a as low as possible.
  • ⁇ fy Natural frequency adjustment range
  • ⁇ k Spring constant adjustment amount in the detection direction of the support beam structure 24
  • the potential 20a applied to the dummy pattern 16 of the acceleration detector S1EG and the potential 20c applied to the dummy pattern 16a of the angular velocity detector S1EY are not necessarily the same value.
  • the active layer 1c between the acceleration detection unit S1EG and the angular velocity detection unit S1EY can be simply separated in the vertical direction, a plurality of sensor elements S1E are formed on one SOI substrate 1. Therefore, when separating each composite sensor S1 by dicing, water or dust during dicing may enter the groove, which may cause electrical leakage, which is not preferable.
  • the dummy patterns 16 and 16a are electrically separated by extending the dummy pattern 16 of the acceleration detection unit S1EG into a shape surrounding the angular velocity detection unit S1EY and forming a gap 30. Since the cap 100 is hermetically sealed on the dummy pattern 16, it is possible to prevent water and dust from entering during dicing.
  • the capacitance voltage (CV) conversion circuit 19 the circuit for applying the reference potentials 20a to 20d, the demodulation circuit 21, the carrier wave application circuits 22 and 22a, the voltage adjustment circuit 31, and the drive circuit 32 described with reference to FIGS. Can be formed inside.
  • ⁇ Embodiment 1 Summary> As described above, in the composite sensor S1 according to the first embodiment, a plurality of movable parts that detect the amount of inertia are formed in the same layer, and the dummy patterns arranged around each movable part are electrically separated. ing. As a result, since the same potential can be applied to each movable part and the peripheral dummy pattern, a decrease in S / N ratio, an offset, and a sensitivity fluctuation caused by a potential difference between the peripheral dummy pattern and the movable part can be prevented. Can be suppressed.
  • the composite sensor S1 according to the first embodiment can widen the adjustment range of the natural angular frequency variation caused by the processing error during manufacture by adjusting the reference potentials 20a and 20c. Thereby, a high yield and a reduction in manufacturing cost can be realized.
  • the acceleration detection unit S1EG and the angular velocity detection unit S1EY are formed in the active layer 1c of the SOI substrate 1, and are fixed and suspended on the support layer 1a via the intermediate insulating layer 1b. . Therefore, the inertia mass bodies 11 and 23 and the support layer 1a are electrically separated from each other, and are mechanically arranged to face each other with a distance corresponding to the thickness of the intermediate insulating layer 1b. That is, like the dummy patterns 16 and 16a, it is necessary to fix the potential also in the support layer 1a.
  • the support layer 1a is also positioned below the acceleration detection unit S1EG in the same manner that the dummy pattern 16 of the acceleration detection unit S1EG and the dummy pattern 16a of the angular velocity detection unit S1EY are electrically separated and applied with different potentials. It may be electrically separated into a part to be located and a part located below the angular velocity detection unit S1EY.
  • the potential of the dummy pattern 16 is applied to the support layer 1a positioned below the acceleration detection unit S1EG, and the potential of the dummy pattern 16a is applied to the support layer 1a positioned below the angular velocity detection unit S1EY.
  • the separation of the support layer 1a having a thickness of several hundreds of ⁇ m into two as in the second embodiment may be undesirable from the viewpoint of strength and the complexity of processing. Therefore, in the third embodiment of the present invention, the support layer 1a is not separated into two as in the second embodiment, but is set to have the same potential as the potential of the dummy pattern 16 of the acceleration detection unit S1EG. The reason will be described below.
  • the detection vibration system constituting the acceleration detection unit S1EG can obtain a high sensitivity S by making the natural angular frequency ⁇ as low as possible as shown in (Expression 2).
  • the natural angular frequency ⁇ should be low. Therefore, it is desirable to increase the sensitivity S and to make an overdamping design so that the mechanical cutoff frequency is lowered so as not to react to high-frequency vibration disturbances.
  • the angular velocity detection unit S1EY matches the drive angular frequency ⁇ d with the natural angular frequency ⁇ y of the detection vibration system in order to obtain high sensitivity.
  • the natural world there are many low-frequency vibration disturbances such as 1 / f noise and 1 / f ⁇ 2 noise. Therefore, in order to obtain an angular velocity sensor with excellent vibration resistance characteristics, it is necessary to increase the natural frequency ⁇ y of the detection vibration system as high as possible.
  • the natural angular frequency of the detection vibration system of the acceleration detection unit S1EG is low, and the natural angular frequency of the angular velocity detection unit S1EY is high. It can be seen that it is preferable.
  • the inertial mass body 11 of the acceleration detection unit S1EG and the inertial mass body 23 of the angular velocity detection unit S1EY are each about 30 to 100 ⁇ g, and the weight ratio is about 1: 5 at the maximum.
  • these natural angular frequencies are about 6000 rad / s and 60000 rad / s, respectively, and the ratio is designed to be about 1:10. Therefore, the spring constant of the detection vibration system of the angular velocity detection unit S1EY is about 20 times or more than the spring constant of the detection vibration system of the acceleration detection unit S1EG. That is, even if there is a slight potential difference ⁇ V among the peripheral dummy pattern 16a, the support layer 1a, and the cap 100 in the angular velocity detection unit S1EY, the influence is limited.
  • the DC potential is made to coincide.
  • it may be adjusted to the reference potential 20a of the inertial mass body 11 having a large amount of movement due to electrostatic force between the “peripheral conductors”.
  • the amount of movement due to the electrostatic force is generally the inertial mass body of the acceleration sensor.
  • the dummy patterns 16 and 16a are separated and the respective potentials 20a and 20c are output to the IC 50.
  • the potential generation circuit and the corresponding pad may be provided.
  • the composite sensor S1 according to the third embodiment does not separate the support layer 1a, and the reference potential (20a or 20c) corresponding to the inertial mass 11 or 23 that has a larger amount of movement due to electrostatic force. Is applied. Thereby, it is possible to minimize the influence of the electrostatic force caused by the potential difference while suppressing problems related to the strength and processing difficulty of the composite sensor S1.
  • the glass cap 100 containing sodium and the SOI substrate 1 are bonded together using an anodic bonding technique, but surface activated bonding, glass frit bonding, a bonding technique using a metal adhesive, or the like is used. Then, a substrate made of a conductive material such as a silicon substrate may be bonded to the SOI substrate 1.
  • the cap 100 is also adjacent to the inertial mass body 11, the support beam structure 12, the movable electrode 13, and the like at a predetermined interval, and there is a possibility that an offset, a sensitivity variation, a stick, and the like are generated due to a potential difference between them.
  • the potential of the cap 100 is set to the same potential as the reference potential 20a of the inertial mass body 11 like the dummy pattern 16 to prevent the above-described problems.
  • the reason for matching the reference potential 20a is the same as that described in the third embodiment.
  • the same potential as the dummy pattern 16 can be applied to the cap 100 by applying a conductive adhesive to the portion where the dummy pattern 16 and the cap 100 are in contact.
  • a non-conductive adhesive such as a glass frit
  • the sensor element S1E and the IC 50 are joined with a conductive adhesive such as silver paste.
  • a potential can be applied from a potential application pad (not shown) formed on the IC 50.
  • the cap 100, and the support layer 1a By applying a constant potential to the dummy pattern 16, the cap 100, and the support layer 1a, it serves as a shield for blocking electromagnetic waves from the outside, so that the reliability of the sensor S1 can be further improved.
  • the composite sensor S ⁇ b> 1 applies the reference potential (20 a or 20 c) corresponding to the inertia mass bodies 11 and 23, which has the larger moving amount due to the electrostatic force, to the cap 100. Thereby, the influence of the electrostatic force caused by the potential difference can be minimized.
  • the composite sensor S1 according to the fourth embodiment since all the potentials of the main components are set to the reference potential (20a or 20c), the number of wires connected to the potential generation circuit can be reduced. The circuit size can be reduced, and failures due to wire breakage can be reduced.
  • the space between the cap 100 and the acceleration detection unit S1EG and the space between the cap 100 and the angular velocity detection unit S1EY are isolated, the former space is sealed with atmospheric pressure, and the latter The space may be vacuum sealed.
  • the caps 100 may be provided for each of the spaces and electrically separated from each other, and each reference potential (20a or 20c) may be applied individually. Thereby, the influence of the electrostatic force caused by the potential difference can be further reduced.
  • ⁇ Embodiment 6> Depending on the accuracy and application required for the composite sensor S1, it is not always necessary to separate the dummy patterns 16 and 16a, and a common potential may be applied. In this case, the potential applied to the dummy patterns 16 and 16a is applied to the inertial mass body having the larger moving amount due to the electrostatic force when a potential difference is generated between the inertial mass bodies 11 and 23 and the dummy patterns 16 and 16a. A reference potential may be used.
  • the composite sensor S1 according to the present invention can be used as an inertia amount measurement and control sensor used in an automobile travel control device or a robot posture control device.
  • it can be used as an inertial sensor having a plurality of inertia amounts and detection axes, which are created by using the MEMS technology and used to detect a change in capacitance.

Landscapes

  • Physics & Mathematics (AREA)
  • General Physics & Mathematics (AREA)
  • Engineering & Computer Science (AREA)
  • Radar, Positioning & Navigation (AREA)
  • Remote Sensing (AREA)
  • Signal Processing (AREA)
  • Gyroscopes (AREA)
  • Pressure Sensors (AREA)
  • Micromachines (AREA)
PCT/JP2012/050214 2011-02-16 2012-01-10 複合センサ Ceased WO2012111357A1 (ja)

Priority Applications (2)

Application Number Priority Date Filing Date Title
DE112012000823.5T DE112012000823B4 (de) 2011-02-16 2012-01-10 Kombinierter Sensor
US13/983,828 US9151776B2 (en) 2011-02-16 2012-01-10 Combined sensor

Applications Claiming Priority (2)

Application Number Priority Date Filing Date Title
JP2011-030790 2011-02-16
JP2011030790A JP5425824B2 (ja) 2011-02-16 2011-02-16 複合センサ

Publications (1)

Publication Number Publication Date
WO2012111357A1 true WO2012111357A1 (ja) 2012-08-23

Family

ID=46672300

Family Applications (1)

Application Number Title Priority Date Filing Date
PCT/JP2012/050214 Ceased WO2012111357A1 (ja) 2011-02-16 2012-01-10 複合センサ

Country Status (4)

Country Link
US (1) US9151776B2 (enExample)
JP (1) JP5425824B2 (enExample)
DE (1) DE112012000823B4 (enExample)
WO (1) WO2012111357A1 (enExample)

Cited By (1)

* Cited by examiner, † Cited by third party
Publication number Priority date Publication date Assignee Title
CN107923750A (zh) * 2015-08-21 2018-04-17 株式会社电装 复合传感器

Families Citing this family (17)

* Cited by examiner, † Cited by third party
Publication number Priority date Publication date Assignee Title
JP5963567B2 (ja) * 2012-06-26 2016-08-03 日立オートモティブシステムズ株式会社 慣性センサ
JP6084473B2 (ja) 2013-02-01 2017-02-22 日立オートモティブシステムズ株式会社 複合センサ
JP6123613B2 (ja) * 2013-09-26 2017-05-10 株式会社デンソー 物理量センサおよびその製造方法
JP6187305B2 (ja) * 2014-02-18 2017-08-30 株式会社デンソー ジャイロセンサ
JP2015161640A (ja) * 2014-02-28 2015-09-07 セイコーエプソン株式会社 電子デバイス、電子機器、および移動体
KR101565684B1 (ko) * 2014-03-14 2015-11-03 삼성전기주식회사 Mems 센서용 검출모듈 및 이를 포함하는 mems 센서
JP6331535B2 (ja) 2014-03-18 2018-05-30 セイコーエプソン株式会社 電子デバイス、電子機器および移動体
JP6451062B2 (ja) 2014-03-18 2019-01-16 セイコーエプソン株式会社 電子デバイス、電子モジュール、電子機器および移動体
JP6380737B2 (ja) * 2014-04-18 2018-08-29 セイコーエプソン株式会社 電子デバイス、電子機器、および移動体
JP6372361B2 (ja) * 2015-01-16 2018-08-15 株式会社デンソー 複合センサ
JP6572603B2 (ja) * 2015-04-13 2019-09-11 セイコーエプソン株式会社 物理量センサー、電子機器および移動体
US9505140B1 (en) 2015-06-02 2016-11-29 Irobot Corporation Contact sensors for a mobile robot
JP6641878B2 (ja) 2015-10-21 2020-02-05 セイコーエプソン株式会社 物理量センサー、電子機器および移動体
JP7155498B2 (ja) * 2017-03-29 2022-10-19 セイコーエプソン株式会社 光学フィルターデバイス
JP6400795B1 (ja) * 2017-06-29 2018-10-03 タイコエレクトロニクスジャパン合同会社 印刷回路基板
JP7159548B2 (ja) * 2017-11-28 2022-10-25 セイコーエプソン株式会社 物理量センサー、物理量センサーデバイス、複合センサーデバイス、慣性計測装置、移動体測位装置、携帯型電子機器、電子機器および移動体
JP7456988B2 (ja) * 2021-09-15 2024-03-27 株式会社東芝 センサ及び電気装置

Citations (8)

* Cited by examiner, † Cited by third party
Publication number Priority date Publication date Assignee Title
JP2001091263A (ja) * 1999-09-22 2001-04-06 Toyota Motor Corp 半導体センサ及び同半導体センサの製造方法
JP2002005950A (ja) * 2000-06-23 2002-01-09 Murata Mfg Co Ltd 複合センサ素子およびその製造方法
WO2004065968A1 (en) * 2003-01-16 2004-08-05 The Regents Of The University Of Michigan Micromachined capacitive lateral accelerometer device and monolithic, three-axis accelerometer having same
JP2005114564A (ja) * 2003-10-08 2005-04-28 Denso Corp 半導体力学量センサ
JP2009145321A (ja) * 2007-11-19 2009-07-02 Hitachi Ltd 慣性センサ
JP2009168777A (ja) * 2008-01-21 2009-07-30 Hitachi Ltd 慣性センサ
JP2010145212A (ja) * 2008-12-18 2010-07-01 Denso Corp 半導体装置
WO2010119573A1 (ja) * 2009-04-17 2010-10-21 株式会社日立製作所 慣性センサおよびその製造方法

Family Cites Families (7)

* Cited by examiner, † Cited by third party
Publication number Priority date Publication date Assignee Title
DE19530736B4 (de) * 1995-02-10 2007-02-08 Robert Bosch Gmbh Beschleunigungssensor und Verfahren zur Herstellung eines Beschleunigungssensors
JP3659160B2 (ja) * 2000-02-18 2005-06-15 株式会社デンソー 角速度センサ
DE10060091B4 (de) * 2000-12-02 2004-02-05 Eads Deutschland Gmbh Mikromechanischer Inertialsensor
US7059190B2 (en) * 2003-10-08 2006-06-13 Denso Corporation Semiconductor dynamic sensor having variable capacitor formed on laminated substrate
US7134336B2 (en) * 2004-03-19 2006-11-14 Denso Corporation Vibration type angular velocity sensor
EP2060871A3 (en) * 2007-11-19 2012-12-26 Hitachi Ltd. Inertial sensor
JP2010127763A (ja) * 2008-11-27 2010-06-10 Hitachi Ltd 半導体力学量検出センサ及びそれを用いた制御装置

Patent Citations (8)

* Cited by examiner, † Cited by third party
Publication number Priority date Publication date Assignee Title
JP2001091263A (ja) * 1999-09-22 2001-04-06 Toyota Motor Corp 半導体センサ及び同半導体センサの製造方法
JP2002005950A (ja) * 2000-06-23 2002-01-09 Murata Mfg Co Ltd 複合センサ素子およびその製造方法
WO2004065968A1 (en) * 2003-01-16 2004-08-05 The Regents Of The University Of Michigan Micromachined capacitive lateral accelerometer device and monolithic, three-axis accelerometer having same
JP2005114564A (ja) * 2003-10-08 2005-04-28 Denso Corp 半導体力学量センサ
JP2009145321A (ja) * 2007-11-19 2009-07-02 Hitachi Ltd 慣性センサ
JP2009168777A (ja) * 2008-01-21 2009-07-30 Hitachi Ltd 慣性センサ
JP2010145212A (ja) * 2008-12-18 2010-07-01 Denso Corp 半導体装置
WO2010119573A1 (ja) * 2009-04-17 2010-10-21 株式会社日立製作所 慣性センサおよびその製造方法

Cited By (2)

* Cited by examiner, † Cited by third party
Publication number Priority date Publication date Assignee Title
CN107923750A (zh) * 2015-08-21 2018-04-17 株式会社电装 复合传感器
CN107923750B (zh) * 2015-08-21 2021-05-07 株式会社电装 复合传感器

Also Published As

Publication number Publication date
DE112012000823B4 (de) 2015-11-05
DE112012000823T5 (de) 2013-12-05
US9151776B2 (en) 2015-10-06
JP5425824B2 (ja) 2014-02-26
JP2012168097A (ja) 2012-09-06
US20130312517A1 (en) 2013-11-28

Similar Documents

Publication Publication Date Title
JP5425824B2 (ja) 複合センサ
US8739626B2 (en) Micromachined inertial sensor devices
US8096180B2 (en) Inertial sensor
JP4705229B2 (ja) マイクロマシニング型の回転角加速度センサ
CN1954188B (zh) 陀螺仪传感器和使用该陀螺仪传感器的传感器装置
US9000543B2 (en) Combined sensor
US9182421B2 (en) Inertia sensor
US20100127715A1 (en) Semiconductor physical quantity sensor and control device using the same
WO2011016859A2 (en) Micromachined inertial sensor devices
US20100050767A1 (en) Angular velocity sensor
JP2012225920A (ja) マイクロ−電子機械システム(mems)デバイス
US9511993B2 (en) Semiconductor physical quantity detecting sensor
JP5301767B2 (ja) 慣性センサ
JP2019060794A (ja) 物理量測定装置、電子機器及び移動体
US10338092B2 (en) Physical quantity sensor and method for manufacturing the same
WO2015115365A1 (ja) センサおよびその製造方法
JP2009145321A (ja) 慣性センサ
US9568490B2 (en) Angular velocity sensor
JPH09318656A (ja) 静電容量式加速度センサ
JP2011196966A (ja) 慣性センサ
US10191078B2 (en) Acceleration sensor
JPH10104266A (ja) 力学量センサおよびそれを用いた集積回路
US20160091526A1 (en) Sensor
KR100506073B1 (ko) 고진공패키징마이크로자이로스코프및그제조방법
US12486161B2 (en) Detection structure for a MEMS accelerometer having improved performances and manufacturing process thereof

Legal Events

Date Code Title Description
121 Ep: the epo has been informed by wipo that ep was designated in this application

Ref document number: 12747052

Country of ref document: EP

Kind code of ref document: A1

WWE Wipo information: entry into national phase

Ref document number: 13983828

Country of ref document: US

WWE Wipo information: entry into national phase

Ref document number: 112012000823

Country of ref document: DE

Ref document number: 1120120008235

Country of ref document: DE

122 Ep: pct application non-entry in european phase

Ref document number: 12747052

Country of ref document: EP

Kind code of ref document: A1