WO2012108519A1 - リニアモータを有する移動装置 - Google Patents

リニアモータを有する移動装置 Download PDF

Info

Publication number
WO2012108519A1
WO2012108519A1 PCT/JP2012/053021 JP2012053021W WO2012108519A1 WO 2012108519 A1 WO2012108519 A1 WO 2012108519A1 JP 2012053021 W JP2012053021 W JP 2012053021W WO 2012108519 A1 WO2012108519 A1 WO 2012108519A1
Authority
WO
WIPO (PCT)
Prior art keywords
center
gravity
mover
rotation
axis
Prior art date
Legal status (The legal status is an assumption and is not a legal conclusion. Google has not performed a legal analysis and makes no representation as to the accuracy of the status listed.)
Ceased
Application number
PCT/JP2012/053021
Other languages
English (en)
French (fr)
Japanese (ja)
Inventor
保坂昭夫
Current Assignee (The listed assignees may be inaccurate. Google has not performed a legal analysis and makes no representation or warranty as to the accuracy of the list.)
Sodick Co Ltd
Original Assignee
Sodick Co Ltd
Priority date (The priority date is an assumption and is not a legal conclusion. Google has not performed a legal analysis and makes no representation as to the accuracy of the date listed.)
Filing date
Publication date
Application filed by Sodick Co Ltd filed Critical Sodick Co Ltd
Priority to US13/984,032 priority Critical patent/US8888083B2/en
Publication of WO2012108519A1 publication Critical patent/WO2012108519A1/ja
Anticipated expiration legal-status Critical
Ceased legal-status Critical Current

Links

Images

Classifications

    • HELECTRICITY
    • H02GENERATION; CONVERSION OR DISTRIBUTION OF ELECTRIC POWER
    • H02KDYNAMO-ELECTRIC MACHINES
    • H02K16/00Machines with more than one rotor or stator
    • BPERFORMING OPERATIONS; TRANSPORTING
    • B23MACHINE TOOLS; METAL-WORKING NOT OTHERWISE PROVIDED FOR
    • B23QDETAILS, COMPONENTS, OR ACCESSORIES FOR MACHINE TOOLS, e.g. ARRANGEMENTS FOR COPYING OR CONTROLLING; MACHINE TOOLS IN GENERAL CHARACTERISED BY THE CONSTRUCTION OF PARTICULAR DETAILS OR COMPONENTS; COMBINATIONS OR ASSOCIATIONS OF METAL-WORKING MACHINES, NOT DIRECTED TO A PARTICULAR RESULT
    • B23Q11/00Accessories fitted to machine tools for keeping tools or parts of the machine in good working condition or for cooling work; Safety devices specially combined with or arranged in, or specially adapted for use in connection with, machine tools
    • B23Q11/001Arrangements compensating weight or flexion on parts of the machine
    • BPERFORMING OPERATIONS; TRANSPORTING
    • B23MACHINE TOOLS; METAL-WORKING NOT OTHERWISE PROVIDED FOR
    • B23QDETAILS, COMPONENTS, OR ACCESSORIES FOR MACHINE TOOLS, e.g. ARRANGEMENTS FOR COPYING OR CONTROLLING; MACHINE TOOLS IN GENERAL CHARACTERISED BY THE CONSTRUCTION OF PARTICULAR DETAILS OR COMPONENTS; COMBINATIONS OR ASSOCIATIONS OF METAL-WORKING MACHINES, NOT DIRECTED TO A PARTICULAR RESULT
    • B23Q1/00Members which are comprised in the general build-up of a form of machine, particularly relatively large fixed members
    • B23Q1/25Movable or adjustable work or tool supports
    • B23Q1/44Movable or adjustable work or tool supports using particular mechanisms
    • B23Q1/50Movable or adjustable work or tool supports using particular mechanisms with rotating pairs only, the rotating pairs being the first two elements of the mechanism
    • B23Q1/52Movable or adjustable work or tool supports using particular mechanisms with rotating pairs only, the rotating pairs being the first two elements of the mechanism a single rotating pair
    • BPERFORMING OPERATIONS; TRANSPORTING
    • B23MACHINE TOOLS; METAL-WORKING NOT OTHERWISE PROVIDED FOR
    • B23QDETAILS, COMPONENTS, OR ACCESSORIES FOR MACHINE TOOLS, e.g. ARRANGEMENTS FOR COPYING OR CONTROLLING; MACHINE TOOLS IN GENERAL CHARACTERISED BY THE CONSTRUCTION OF PARTICULAR DETAILS OR COMPONENTS; COMBINATIONS OR ASSOCIATIONS OF METAL-WORKING MACHINES, NOT DIRECTED TO A PARTICULAR RESULT
    • B23Q1/00Members which are comprised in the general build-up of a form of machine, particularly relatively large fixed members
    • B23Q1/25Movable or adjustable work or tool supports
    • B23Q1/44Movable or adjustable work or tool supports using particular mechanisms
    • B23Q1/56Movable or adjustable work or tool supports using particular mechanisms with sliding pairs only, the sliding pairs being the first two elements of the mechanism
    • B23Q1/60Movable or adjustable work or tool supports using particular mechanisms with sliding pairs only, the sliding pairs being the first two elements of the mechanism two sliding pairs only, the sliding pairs being the first two elements of the mechanism
    • B23Q1/62Movable or adjustable work or tool supports using particular mechanisms with sliding pairs only, the sliding pairs being the first two elements of the mechanism two sliding pairs only, the sliding pairs being the first two elements of the mechanism with perpendicular axes, e.g. cross-slides
    • B23Q1/621Movable or adjustable work or tool supports using particular mechanisms with sliding pairs only, the sliding pairs being the first two elements of the mechanism two sliding pairs only, the sliding pairs being the first two elements of the mechanism with perpendicular axes, e.g. cross-slides a single sliding pair followed perpendicularly by a single sliding pair

Definitions

  • the present invention relates to a moving device that moves a moving body in one axial direction.
  • the present invention relates to a moving device that moves a moving body in one axial direction by a linear motor.
  • a moving apparatus that moves a moving body in one axial direction by a linear motor is known.
  • the linear motor is not subject to undesirable effects such as backlash compared to the combination of a rotary motor and a ball screw. Therefore, the linear motor is effective for high-speed movement and precise positioning.
  • Patent Document 1 discloses a stage apparatus in which a pair of linear motors are arranged horizontally, and a third linear motor is additionally arranged on a plane having a height different from that of the pair of linear motors. By controlling the thrust generated in each linear motor, the posture of the moving body can be controlled. Additional linear motors that offset undesirable rotational torque can increase the size of the stage device.
  • Patent Document 2 discloses a stage apparatus including an X stage, a Y stage, and a wafer stage.
  • the Y stage is provided on the X stage and is movable in the X direction by a pair of parallel linear motors.
  • the wafer stage is provided on the Y stage and can be moved in the Y direction by another pair of parallel linear motors. The thrust of each of the pair of parallel linear motors is determined according to the position of the center of gravity of the moving stage.
  • the objective of this invention proposes the moving apparatus which can control the attitude
  • a moving device of the present invention includes a mover and a stator, and includes a linear motor that moves a moving body including the mover in one axial direction, and a rotor, and is included in the moving body.
  • a control device that controls the rotation of the rotor so as to generate an anti-rotation torque that cancels at least a part of the rotation torque.
  • centroid of the moving object is not limited to the exact center of gravity position, and means, for example, within a range that is about 100 mm away from the exact center of gravity position in the three-dimensional space.
  • the “moving locus of the mover” means a moving locus at the power point of the mover.
  • rotational torque acting on the moving body means a rotating torque that is orthogonal to a plane including the center of gravity of the moving body and the movement trajectory of the mover and that operates around the center of gravity center passing through the center of gravity of the moving body.
  • at least part of the rotational torque includes rotational torque about each axis obtained by dividing the center of gravity axis into at least two components.
  • the linear motor moves the mover in the horizontal 1-axis direction or the vertical 1-axis direction, and the rotation axis of the rotor may be orthogonal to the horizontal plane or the vertical plane.
  • the rotary motor may include an inertia wheel on the rotor, and the center of gravity of the inertia wheel may be on the rotation axis.
  • the moving device may include an acceleration detector that detects the acceleration of the mover, and the control device may control the angular acceleration of the rotor of the rotary motor based on the acceleration detected by the acceleration detector. Good.
  • a part of the rotational torque of the moving body is offset by the counter-rotating torque of the rotary motor without increasing the size of the apparatus.
  • FIG. 1 It is a side view which shows the processing apparatus which is the 1st Embodiment of this invention. It is a top view which shows the processing apparatus in FIG. It is a block diagram which shows the control apparatus in FIG. It is a front view which shows the stage apparatus which is the 2nd Embodiment of this invention. It is a block diagram which shows the control apparatus in FIG.
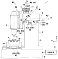
  • the processing apparatus 1 is an apparatus that processes the workpiece W placed on the table 4 with the rotary cutting tool C.
  • the processing apparatus 1 mainly includes a bed 2, a ram 3, a table 4, an X-axis head 5, a Z-axis head 6, a rotary motor 7, and a control device 8.
  • the table 4 is installed on the bed 2 by a linear motor 43 and a guide mechanism 42 so as to be movable in the Y-axis direction.
  • the linear motor 43 generates a thrust that moves the table 4 in the Y-axis direction.
  • the guide mechanism 42 guides the movement of the table 4 in the Y-axis direction.
  • the guide mechanism 42 includes a guide 42b and a slider 42a. The slider 42a is attached to the table 4 and can run on the guide 42b.
  • the linear motor 43 includes a mover 43a and a stator 43b.
  • the mover 43a has a primary coil
  • the stator 43b has a plurality of rows of secondary permanent magnets.
  • the linear motor 43 excites the primary coil of the mover 43a and supplies thrust to the mover 43a.
  • the movement locus S of the mover 43a is shown in FIG.
  • the ram 3 stands on the bed 2.
  • the X-axis head 5 is installed on the ram 3 so as to be movable in the X-axis direction by a linear motor 53 and a guide mechanism 52.
  • the linear motor 53 generates a thrust force that moves the X-axis head 5 in the X-axis direction.
  • the linear motor 53 includes a mover 53a and a stator 53b.
  • the mover 53 a is attached to the X-axis head 5, and the stator 53 b is attached to the ram 3.
  • the mover 53a has a primary coil, and the stator 53b has a plurality of rows of secondary permanent magnets.
  • the guide mechanism 52 guides the movement of the X-axis head 5 in the X-axis direction.
  • the guide mechanism 52 includes a guide 52b and a slider 52a.
  • the guide 52b is attached to the ram 3.
  • the slider 52a is attached to the X-axis head 5 and can run on the guide 52
  • the linear motor 53 includes a linear scale 54 including an optical sensor 54a and a scale 54b.
  • the optical sensor 54 a is attached to the X-axis head 5.
  • the scale 54b is mounted on the ram 3 and extends parallel to the stator 53b. By reading the scale on the scale 54b by the optical sensor 54a, the linear motor 53 can output the position information of the mover 53a. Alternatively, the linear motor 53 can output position information by reading a magnetic scale with a magnetic sensor such as a Hall element.
  • the Z-axis head 6 is installed on the front surface of the X-axis head 5 by a linear motor 63 and a guide mechanism 62.
  • the linear motor 63 generates a thrust force that moves the Z-axis head 6 in the Z-axis direction.
  • the linear motor 63 includes a mover 63a and a stator 63b.
  • the structure of the guide mechanism 62 is the same as that of the guide mechanism 42, and the structure of the linear motor 63 is the same as that of the linear motor 43. Similar to the linear motor 53, the linear motor 63 and the linear motor 43 include linear scales 64 and 44, respectively.
  • the rotary cutting tool C is attached to the lower end of the Z-axis head 6.
  • the processing apparatus 1 can process the workpiece W three-dimensionally with the tool C by driving the linear motors 43, 53, and 63.
  • the rotational torque T that acts on the machining apparatus 1 when the linear motor 53 is driven will be described.
  • the moving body M includes the Z-axis head 6, the linear motor 63, the guide mechanism 62, the X-axis head 5, the rotation motor 7, the slider 52a, and the mover 53a.
  • the center of gravity axis passes through the center of gravity G and is perpendicular to the plane P including the movement locus S and the center of gravity G by the action of the thrust Fw of the mover 53a.
  • a rotational torque T acts on the moving body M around A.
  • the force point Fp for generating the rotational torque T is the center position of the bottom surface of the mover 53a.
  • This rotational torque T is divided into a rotational torque Tz that works around the center of gravity axis Az that extends in the Z-axis direction through the center of gravity G, and a rotational torque Ty that works around the center of gravity axis Ay that runs through the center of gravity G in the Y-axis direction. it can.
  • the position of the force point Fp in the X-axis direction and the position of the center of gravity G in the X-axis direction are the same. Therefore, the rotational torque Tx that works around the center of gravity axis Ax that extends in the X-axis direction through the center of gravity G does not act on the moving body M.
  • the rotational torque Ty and the rotational torque Tz act on the moving body M that is moving in the X-axis direction, and the moving body M is deflected in the pitching direction and the yawing direction.
  • the weight of the moving body M is large, it is difficult to suppress the deflection in the pitching direction and the yawing direction only by the guide mechanism 52.
  • the rotary motor 7 has a rotor 7a and an inertia wheel 7c attached to the rotor 7a.
  • the rotary motor 7 is fixed above the X-axis head 5 so that the rotation axis Ar of the rotor 7a coincides with the center of gravity axis Ax.
  • the center of gravity of the inertia wheel 7c is on the rotation axis Ar.
  • the rotary motor 7 is provided to control the posture of the moving body M by suppressing the deflection of the moving body M in the yawing direction.
  • the rotary motor 7 is a servo motor and includes an encoder 7b.
  • the rotation motor 7 generates counter-rotation torque HT by rotating the rotor 7a and the inertia wheel 7c to cancel the rotation torque Tz.
  • the counter-rotation torque HT is the same in magnitude as the rotation torque Tz but opposite in direction.
  • the control device 8 controls the linear motors 43, 53 and 63 and the rotary motor 7.
  • the control device 8 includes a movement instruction receiving unit 81, a linear motor control unit 82, and a rotary motor control unit 83.
  • the movement instruction receiving unit 81 receives a movement instruction from the user via the operation panel and outputs a movement command based on the movement instruction to the linear motor control unit 82.
  • the linear motor control unit 82 controls the linear motors 43, 53, and 63 and includes drive control units 84, 85, 86 and drive output units 87, 88, 89.
  • the drive control units 84, 85, and 86 generate command values for the linear motors 53, 43, and 63 based on the movement command and the position information.
  • the drive control units 84, 85, 86 include target position calculators 84a, 85a, 86a, position detectors 84b, 85b, 86b, speed detectors 84c, 85c, 86c, position compensators 84d, 85d, 86d, and speed compensators. 84e, 85e, and 86e, respectively.
  • the target position calculators 84a, 85a, 86a calculate the target position for each unit time based on the movement command.
  • the target position is supplied to the position compensators 84d, 85d and 86d, respectively.
  • the unit time is determined depending on the calculation processing speed of the linear motor control unit 82.
  • the position detectors 84b, 85b, 86b detect the positions of the movers 53a, 43a, 63a based on information from the linear scales 54, 44, 64. The detected positions are supplied to the position compensators 84d, 85d, and 86d, respectively.
  • the speed detectors 84c, 85c, 86c receive position information for each unit time from the position detectors 84b, 85b, 86b, and detect the speeds of the movers 43a, 53a, 63a.
  • the detection speed is supplied to the speed compensators 84e, 85e, 86e, respectively.
  • the detection speed of the speed detector 84c is also supplied to the acceleration detector 83a.
  • the position compensators 84d, 85d, and 86d supply a target speed obtained by adding a gain to the deviation between the target position and the detected position to the speed compensators 84e, 85e, and 86e.
  • the speed compensators 84e, 85e, 86e supply a target current obtained by adding a gain to the deviation between the target speed and the detected speed to the drive output units 87, 88, 89.
  • the drive output units 87, 88, 89 supply drive currents to the linear motors 53, 43, 63 based on the target current.
  • the drive output units 87, 88, 89 include current compensators 87a, 88a, 89a and current amplifiers 87b, 88b, 89b, respectively.
  • the drive currents of the current amplifiers 87b, 88b, 89b are fed back to the current compensators 87a, 88a, 89a.
  • the current compensators 87a, 88a, and 89a supply current commands to the current amplifiers 87b, 88b, and 89b based on the target current and the drive current.
  • the current amplifiers 87b, 88b, and 89b receive current commands from the current compensators 87a, 88a, and 89a, and supply drive currents to the linear motors 43, 53, and 63, respectively.
  • the rotary motor control unit 83 controls the torque of the rotary motor 7.
  • the rotary motor control unit 83 includes an acceleration detector 83a, a torque controller 83b, and a driver 83c.
  • the acceleration detector 83a receives the detection speed every unit time from the speed detector 84c, and detects the acceleration of the mover 53a.
  • the detected acceleration ⁇ is supplied to the torque controller 83b.
  • the torque controller 83b receives the detected acceleration ⁇ from the acceleration detector 83a and calculates the target angular acceleration ⁇ of the rotor 7a.
  • the target angular acceleration ⁇ is supplied to the driver 83c.
  • the counter-rotation torque HT generated by the rotary motor 7 is expressed by the following equation (3).
  • HT (Ia + Ib) ⁇ ⁇ (3)
  • equation (4) is satisfied.
  • (Ia + Ib) ⁇ ⁇ Kz ⁇ m ⁇ ⁇ ⁇ L (4)
  • the target angular acceleration ⁇ is expressed by equation (5).
  • Kz ⁇ m ⁇ ⁇ ⁇ L / (Ia + Ib) (5)
  • the direction of the target angular acceleration ⁇ is opposite to the direction of the rotational torque Tz.
  • the driver 83c receives the target angular acceleration ⁇ from the torque controller 83b, and controls the angular acceleration of the rotor 7a of the rotary motor 7.
  • the movement instruction receiving unit 81 receives a movement instruction in the X direction from the operator
  • the movement instruction receiving unit 81 outputs a movement instruction in the X direction to the drive control unit 84.
  • the drive control unit 84 calculates a target position and outputs a target speed based on position information from the linear scale 54.
  • the drive output unit 87 receives the target speed and outputs a drive current.
  • the mover 53a of the linear motor 53 generates a thrust Fw in the X-axis direction.
  • the moving body M is guided by the guide mechanism 52 and moves in the X-axis direction, and is deflected in the yawing direction by the rotational torque Tz around the center of gravity axis Az.
  • the rotation motor control unit 83 detects the acceleration ⁇ of the mover 53a, calculates the target angular acceleration ⁇ based on the detected acceleration ⁇ , and controls the angular acceleration of the rotor 7a.
  • the rotation motor 7 generates a counter-rotation torque HT to suppress the deflection of the moving body M in the yawing direction and control the posture.
  • the rotation motor 7 is fixed to the X-axis head 4 so that the rotation axis Ar coincides with the center of gravity axis Az. Moreover, the angular acceleration of the rotor 7a is controlled so as to generate a counter-rotation torque HT that cancels the rotation torque Tz. Thus, the deflection of the moving body M in the yawing direction is prevented. Furthermore, it is not necessary to provide an additional linear motor that cancels the rotational torque Tz, and the processing apparatus 1 is prevented from being enlarged.
  • an additional rotation motor may be fixed to the X-axis head 4 so that the rotation axis coincides with the center of gravity axis Ay.
  • one rotary motor fixed to the X-axis head 4 so that the rotation axis coincides with the center of gravity axis A may generate a counter-rotation torque that cancels the rotation torque T.
  • the center-of-gravity axis A is not limited to being divided into Ay orthogonal to the vertical plane and Az orthogonal to the horizontal plane, and may be any center-of-gravity axis that intersects the plane P.
  • the stage apparatus 100 which is the 2nd Embodiment of this invention is demonstrated.
  • the stage apparatus 100 is an apparatus that moves the workpiece W placed on the stage 101 in the X-axis direction.
  • the stage device 100 includes a bed 100a, a stage 101, a guide mechanism 102, linear motors 103 and 104, a linear scale 105, rotary motors 106 and 107, and a control device 108.
  • the guide mechanism 102 guides the movement of the stage 101 in the X-axis direction.
  • the guide mechanism 102 has a hydrostatic bearing for precise positioning.
  • the hydrostatic bearing can significantly reduce the frictional resistance of the guide surface, and can avoid the influence on the positioning accuracy due to slight undulations of the guide surface.
  • the guide mechanism 102 includes guide blocks 102a and 102a, guide rails 102b and 102b, and fluid bearings 102c and 102c.
  • the guide blocks 102 a and 102 a are attached to the bottom surface of the stage 101.
  • the guide rails 102b and 102b are attached to the upper surface of the bed 100a. Since the pair of guide blocks 102a and 102a and the guide rails 102b and 102b are provided, the stage 101 is stably guided in the X-axis direction.
  • the hydrodynamic bearings 102c and 102c are formed in a gap between the stage 101 and the guide rails 102b and 102b, and a gap between the guide blocks 102a and 102a and the guide rails 102b and 102b.
  • the fluid bearings 102c and 102c are known hydrostatic bearings using pressurized fluid.
  • the pair of linear motors 103 and 104 are provided to move the stage 101 in the X-axis direction.
  • the linear motors 103 and 104 include coreless linear motors.
  • the linear motors 103 and 104 are configured by movers 103a and 104a that are primary side coils and stators 103b and 104b that are secondary side permanent magnets.
  • the pair of U-shaped stators 103b and 104b are attached to the upper surface of the bed 100a.
  • the movers 103a and 104a are attached to the stage 101 so as to be inserted into the stators 103b and 104b with a predetermined gap.
  • a linear scale 105 is provided for detecting the position of the stage 101.
  • the moving body M includes a stage 101, rotary motors 106 and 107, guide blocks 102a and 102a, and movable elements 103a and 104a.
  • the moving body M When the moving body M is moved in the X-axis direction, it rotates about the center of gravity axis AL that passes through the center of gravity G of the moving body M and is perpendicular to the plane PL including the movement locus of the force point FpL of the movable element 103a and the center of gravity G.
  • Torque TL acts on the moving body M.
  • the rotational torque TR acts on the moving body M around the center of gravity axis AR passing through the center of gravity G of the moving body M and perpendicular to the plane PR including the movement locus of the force point FpR of the movable element 104a and the center of gravity G.
  • Each rotational torque TL can be divided into a rotational torque TzL that works around the center of gravity axis Az that passes through the center of gravity G in the Z-axis direction and a rotational torque TyL that works around the center of gravity axis Ay that passes through the center of gravity G in the Y-axis direction.
  • the rotational torque TR can be divided into a rotational torque TzR that works around the center of gravity axis Az and a TyR that works around the center of gravity axis Ay.
  • the positions of the force points FpL and FpR in the X-axis direction and the position of the center of gravity G in the X-axis direction are the same.
  • the rotational torques TxL and TxR that work around the center of gravity axis Ax passing through the center of gravity G in the X axis direction do not act on the moving body M. Further, since the linear motors 102 and 103 generate the same thrust Fw, the rotational torques TzL and TzR cancel each other. That is, rotational torques TyL and TyR are generated in the moving body M, and the moving body M is deflected in the pitching direction.
  • the guide mechanism 102 including the hydrostatic bearing has low rigidity, and it is difficult to suppress the deflection in the pitching direction only by the guide mechanism 102.
  • the rotation motors 106 and 107 are fixed to the left and right sides of the stage 101, respectively, and control the posture of the moving body M by suppressing the deflection of the moving body M in the pitching direction.
  • the rotation axes ArL and ArR of the rotary motors 106 and 107 are aligned with the center of gravity axis Ay.
  • the structure of the rotary motors 106 and 107 is the same as that of the rotary motor 7 of the first embodiment.
  • the directions of the target angular accelerations ⁇ L and ⁇ R are opposite to the directions of the rotational torques TyR and TyL.
  • the movement instruction receiving unit 109 receives a movement instruction from the operator
  • the movement instruction is output to the drive control unit 112.
  • the drive control unit 112 calculates a target position and outputs a target speed based on position information from the linear scale 105.
  • the drive output units 113 and 114 receive the target speed and output a drive current to the linear motors 103 and 104.
  • the linear motors 103 and 104 generate thrusts FwL and FwR in the X-axis direction.
  • the moving body M is guided by the guide mechanism 102 and moves in the X-axis direction, and is deflected in the pitching direction by the rotational torques TyL and TyR around the center of gravity axis Ay.
  • the rotary motor control unit 111 detects the acceleration of the moving body M, and calculates target angular accelerations ⁇ L and ⁇ R based on the detected acceleration ⁇ .
  • the angular accelerations of the rotors of the rotary motors 106 and 107 are controlled based on the target angular accelerations ⁇ L and ⁇ R.
  • the rotation motors 106 and 107 generate anti-rotation torques HTL and HTR to suppress the deflection of the moving body M in the pitching direction.
  • the rotation motors 106 and 107 are fixed so that the rotation axes ArL and ArR coincide with the center of gravity axis Ay.
  • the rotation motors 106 and 107 are controlled so as to generate counter-rotation torques HTL and HTR that cancel the rotation torques TyL and TyR. In this way, the deflection of the moving body M in the pitching direction is suppressed. Further, there is no need to provide an additional linear motor that cancels the rotational torques TyL and TyR, and an increase in the size of the stage apparatus 100 is avoided.
  • the moving body M including the rotary motor moves in the horizontal uniaxial direction, but the moving direction is not limited.
  • the movement of the moving body M may be in an arbitrary uniaxial direction in the three-dimensional space as well as a vertical uniaxial direction.
  • the rotation motor may be provided so that the rotation axis passes through the center of gravity of the moving body M and intersects with a plane including the center of gravity and the movement locus of the mover.
  • the rotation of the rotary motor may be controlled so as to cancel at least part of the rotational torque T generated in the moving body M.
  • the rotary motor includes the inertia wheel, but the inertia wheel is not essential. If the rotor moment of inertia is large, an inertia wheel is not required. Further, the number of rotary motors is not limited to the embodiment shown here.
  • Rotating shaft C Rotating cutting tool G Center of gravity HT Counter-rotating torque M Moving body P, PL, PR Plane S Moving locus T Rotating torque W Work 1 Processing device 2, 100a Bed 3 Ram 4 Table 5 X-axis head 6 Z-axis head 42 , 52, 62, 102 Guide mechanism 43, 53, 63, 103, 104 Linear motor 44, 54, 64, 105 Linear scale 53a, 103a, 104a Movable element 54a Optical sensor 54b Scale 7, 106, 107 Rotating motor 7a Rotator 7b, 106b, 107b Encoder 7c, 106c, 107c Inertia wheel 8, 108 Control devices 81, 109 Movement instruction receiving units 82, 110 Linear motor control units 83, 111 Rotation motor control units 83a, 111a Acceleration detectors 83c, 111c, 111e Drivers 84, 85, 86, 112 Drive control units 87, 88, 89 , 113, 114

Landscapes

  • Engineering & Computer Science (AREA)
  • Mechanical Engineering (AREA)
  • Power Engineering (AREA)
  • Machine Tool Units (AREA)
  • Linear Motors (AREA)
PCT/JP2012/053021 2011-02-09 2012-02-09 リニアモータを有する移動装置 Ceased WO2012108519A1 (ja)

Priority Applications (1)

Application Number Priority Date Filing Date Title
US13/984,032 US8888083B2 (en) 2011-02-09 2012-02-09 Movement device having linear motor

Applications Claiming Priority (2)

Application Number Priority Date Filing Date Title
JP2011025785A JP5651035B2 (ja) 2011-02-09 2011-02-09 移動装置
JP2011-025785 2011-02-09

Publications (1)

Publication Number Publication Date
WO2012108519A1 true WO2012108519A1 (ja) 2012-08-16

Family

ID=46638731

Family Applications (1)

Application Number Title Priority Date Filing Date
PCT/JP2012/053021 Ceased WO2012108519A1 (ja) 2011-02-09 2012-02-09 リニアモータを有する移動装置

Country Status (3)

Country Link
US (1) US8888083B2 (cg-RX-API-DMAC7.html)
JP (1) JP5651035B2 (cg-RX-API-DMAC7.html)
WO (1) WO2012108519A1 (cg-RX-API-DMAC7.html)

Cited By (2)

* Cited by examiner, † Cited by third party
Publication number Priority date Publication date Assignee Title
JP5836464B1 (ja) * 2014-10-09 2015-12-24 株式会社アマダマシンツール 工作機械
CN110919450A (zh) * 2019-12-07 2020-03-27 义乌市千智机械设备有限公司 一种加工精度高的数控机床

Families Citing this family (9)

* Cited by examiner, † Cited by third party
Publication number Priority date Publication date Assignee Title
JP5651035B2 (ja) * 2011-02-09 2015-01-07 株式会社ソディック 移動装置
US10016933B2 (en) * 2013-04-23 2018-07-10 Apple Inc. Rotational assembly method and apparatus
JP6126951B2 (ja) * 2013-09-04 2017-05-10 武蔵精密工業株式会社 ワーク位置決め装置
JP5834121B1 (ja) * 2014-08-25 2015-12-16 株式会社ソディック 加工装置
CN104889951A (zh) * 2015-06-08 2015-09-09 广东工业大学 动态特性可调宏微一体化复合平台
DE102016221950B4 (de) * 2016-11-09 2021-09-23 Carl Zeiss Industrielle Messtechnik Gmbh Maschine mit Einrichtung zum Reduzieren einer unerwünschten Rotation eines Maschinenteils
EP3391915B1 (en) 2017-03-30 2021-04-14 Biomet Manufacturing, LLC Methods of modifying the porous surface of implants
US10611391B1 (en) 2018-10-05 2020-04-07 Corindus, Inc. Mobile support and storage system for a medical device
JP7268990B2 (ja) * 2018-11-15 2023-05-08 株式会社Subaru 車両の自動操舵制御装置

Citations (4)

* Cited by examiner, † Cited by third party
Publication number Priority date Publication date Assignee Title
JPS59185135A (ja) * 1983-03-31 1984-10-20 Agency Of Ind Science & Technol 動力装置
JPH0863231A (ja) * 1994-06-27 1996-03-08 Nikon Corp 目標物移動装置、位置決め装置及び可動ステージ装置
JP2001304332A (ja) * 2000-04-24 2001-10-31 Canon Inc 能動制振装置
JP2002032129A (ja) * 2000-07-17 2002-01-31 Canon Inc 制御用センサと補正用センサを用いた移動ステージ機構と制御方法および制御装置

Family Cites Families (9)

* Cited by examiner, † Cited by third party
Publication number Priority date Publication date Assignee Title
JP3011813B2 (ja) * 1992-02-24 2000-02-21 キヤノン株式会社 移動ステージ
JPH1094928A (ja) * 1996-09-24 1998-04-14 Shin Nippon Koki Kk 工作機械のテーブル移送装置
JP3481540B2 (ja) 2000-02-21 2003-12-22 シャープ株式会社 ステージ装置
JP2002307312A (ja) * 2001-04-11 2002-10-23 Olympus Optical Co Ltd 研磨加工装置、研磨加工方法、研磨加工をコンピュータに実行させる制御プログラムおよび記録媒体
US6637737B1 (en) * 2002-07-31 2003-10-28 Unova Ip Corp. Workpiece micro-positioning apparatus
JP2004341608A (ja) * 2003-05-13 2004-12-02 Mitsutoyo Corp 機械装置
DE102005057175B4 (de) * 2005-11-30 2009-03-26 Siemens Ag Verfahren zur Reduktion von Schwingungen eines Maschinenelements und/oder eines Werkstücks
JP5545640B2 (ja) * 2010-05-11 2014-07-09 株式会社ディスコ 研削方法
JP5651035B2 (ja) * 2011-02-09 2015-01-07 株式会社ソディック 移動装置

Patent Citations (4)

* Cited by examiner, † Cited by third party
Publication number Priority date Publication date Assignee Title
JPS59185135A (ja) * 1983-03-31 1984-10-20 Agency Of Ind Science & Technol 動力装置
JPH0863231A (ja) * 1994-06-27 1996-03-08 Nikon Corp 目標物移動装置、位置決め装置及び可動ステージ装置
JP2001304332A (ja) * 2000-04-24 2001-10-31 Canon Inc 能動制振装置
JP2002032129A (ja) * 2000-07-17 2002-01-31 Canon Inc 制御用センサと補正用センサを用いた移動ステージ機構と制御方法および制御装置

Cited By (5)

* Cited by examiner, † Cited by third party
Publication number Priority date Publication date Assignee Title
JP5836464B1 (ja) * 2014-10-09 2015-12-24 株式会社アマダマシンツール 工作機械
WO2016056328A1 (ja) * 2014-10-09 2016-04-14 株式会社アマダマシンツール 工作機械
US10035228B2 (en) 2014-10-09 2018-07-31 Amada Machine Tools Co., Ltd. Working machine
CN110919450A (zh) * 2019-12-07 2020-03-27 义乌市千智机械设备有限公司 一种加工精度高的数控机床
CN110919450B (zh) * 2019-12-07 2021-04-09 佛山市凯丰模具有限公司 一种加工精度高的数控机床

Also Published As

Publication number Publication date
US8888083B2 (en) 2014-11-18
JP2012161896A (ja) 2012-08-30
JP5651035B2 (ja) 2015-01-07
US20130320781A1 (en) 2013-12-05

Similar Documents

Publication Publication Date Title
WO2012108519A1 (ja) リニアモータを有する移動装置
JP2012161896A5 (cg-RX-API-DMAC7.html)
US10007280B2 (en) Apparatus and method for controlling and regulating a multi-element system
CN103492121B (zh) 工具机
JP2011140098A (ja) 工作機械の機械変位補正システム
JP2014046402A (ja) ロボット
JP2000079527A5 (cg-RX-API-DMAC7.html)
JP2016051398A (ja) 軸間干渉を補正するモータ制御装置
EP2714325B1 (en) Actively compensated stage having 5-dof motion error compensation and motion error compensating method thereof
JP2009060782A (ja) 機械装置の平面ステージ移動装置
JP4327672B2 (ja) 移動体位置制御装置及びこの制御装置を用いたステージ装置
Yuen et al. Trajectory generation and control of a 9 axis CNC micromachining center
JP4182311B2 (ja) リニアモータの制御方法とその装置
KR100545322B1 (ko) 4축 XYθ 테이블 및 4축 XYθ 테이블의 제어방법
US20100086374A1 (en) Dynamically optimized machine tool having superimposed drive systems
EP3217239B1 (en) Feed shaft control method and numerically controlled machine tool
JP4842903B2 (ja) 数値制御装置及び数値制御方法
JP2013132698A (ja) 直動ロボット
JP2007075902A (ja) 工作機械の軸送り装置
JP7193361B2 (ja) 位置制御装置
JP4478898B2 (ja) リニアモータの制御装置
JP7020974B2 (ja) 構造体の振動抑制装置
JP2000322116A (ja) サーボ制御装置及び位置決め装置
JP5315016B2 (ja) 垂直移動テーブルの駆動装置
JP2011251378A5 (cg-RX-API-DMAC7.html)

Legal Events

Date Code Title Description
121 Ep: the epo has been informed by wipo that ep was designated in this application

Ref document number: 12744215

Country of ref document: EP

Kind code of ref document: A1

WWE Wipo information: entry into national phase

Ref document number: 13984032

Country of ref document: US

NENP Non-entry into the national phase

Ref country code: DE

122 Ep: pct application non-entry in european phase

Ref document number: 12744215

Country of ref document: EP

Kind code of ref document: A1