WO2012043107A1 - 回転電機、および回転電機の固定子コア製造方法 - Google Patents

回転電機、および回転電機の固定子コア製造方法 Download PDF

Info

Publication number
WO2012043107A1
WO2012043107A1 PCT/JP2011/069376 JP2011069376W WO2012043107A1 WO 2012043107 A1 WO2012043107 A1 WO 2012043107A1 JP 2011069376 W JP2011069376 W JP 2011069376W WO 2012043107 A1 WO2012043107 A1 WO 2012043107A1
Authority
WO
WIPO (PCT)
Prior art keywords
rotating electrical
electrical machine
stator
housing
stator core
Prior art date
Legal status (The legal status is an assumption and is not a legal conclusion. Google has not performed a legal analysis and makes no representation as to the accuracy of the status listed.)
Ceased
Application number
PCT/JP2011/069376
Other languages
English (en)
French (fr)
Japanese (ja)
Inventor
秀俊 江夏
菊地 聡
松延 豊
角川 滋
牧 晃司
愼治 杉本
Current Assignee (The listed assignees may be inaccurate. Google has not performed a legal analysis and makes no representation or warranty as to the accuracy of the list.)
Hitachi Ltd
Original Assignee
Hitachi Ltd
Priority date (The priority date is an assumption and is not a legal conclusion. Google has not performed a legal analysis and makes no representation as to the accuracy of the date listed.)
Filing date
Publication date
Application filed by Hitachi Ltd filed Critical Hitachi Ltd
Priority to US13/817,344 priority Critical patent/US20130140930A1/en
Publication of WO2012043107A1 publication Critical patent/WO2012043107A1/ja
Anticipated expiration legal-status Critical
Ceased legal-status Critical Current

Links

Images

Classifications

    • HELECTRICITY
    • H02GENERATION; CONVERSION OR DISTRIBUTION OF ELECTRIC POWER
    • H02KDYNAMO-ELECTRIC MACHINES
    • H02K5/00Casings; Enclosures; Supports
    • H02K5/04Casings or enclosures characterised by the shape, form or construction thereof
    • BPERFORMING OPERATIONS; TRANSPORTING
    • B60VEHICLES IN GENERAL
    • B60LPROPULSION OF ELECTRICALLY-PROPELLED VEHICLES; SUPPLYING ELECTRIC POWER FOR AUXILIARY EQUIPMENT OF ELECTRICALLY-PROPELLED VEHICLES; ELECTRODYNAMIC BRAKE SYSTEMS FOR VEHICLES IN GENERAL; MAGNETIC SUSPENSION OR LEVITATION FOR VEHICLES; MONITORING OPERATING VARIABLES OF ELECTRICALLY-PROPELLED VEHICLES; ELECTRIC SAFETY DEVICES FOR ELECTRICALLY-PROPELLED VEHICLES
    • B60L15/00Methods, circuits, or devices for controlling the traction-motor speed of electrically-propelled vehicles
    • B60L15/007Physical arrangements or structures of drive train converters specially adapted for the propulsion motors of electric vehicles
    • BPERFORMING OPERATIONS; TRANSPORTING
    • B60VEHICLES IN GENERAL
    • B60LPROPULSION OF ELECTRICALLY-PROPELLED VEHICLES; SUPPLYING ELECTRIC POWER FOR AUXILIARY EQUIPMENT OF ELECTRICALLY-PROPELLED VEHICLES; ELECTRODYNAMIC BRAKE SYSTEMS FOR VEHICLES IN GENERAL; MAGNETIC SUSPENSION OR LEVITATION FOR VEHICLES; MONITORING OPERATING VARIABLES OF ELECTRICALLY-PROPELLED VEHICLES; ELECTRIC SAFETY DEVICES FOR ELECTRICALLY-PROPELLED VEHICLES
    • B60L15/00Methods, circuits, or devices for controlling the traction-motor speed of electrically-propelled vehicles
    • B60L15/20Methods, circuits, or devices for controlling the traction-motor speed of electrically-propelled vehicles for control of the vehicle or its driving motor to achieve a desired performance, e.g. speed, torque, programmed variation of speed
    • B60L15/2009Methods, circuits, or devices for controlling the traction-motor speed of electrically-propelled vehicles for control of the vehicle or its driving motor to achieve a desired performance, e.g. speed, torque, programmed variation of speed for braking
    • BPERFORMING OPERATIONS; TRANSPORTING
    • B60VEHICLES IN GENERAL
    • B60LPROPULSION OF ELECTRICALLY-PROPELLED VEHICLES; SUPPLYING ELECTRIC POWER FOR AUXILIARY EQUIPMENT OF ELECTRICALLY-PROPELLED VEHICLES; ELECTRODYNAMIC BRAKE SYSTEMS FOR VEHICLES IN GENERAL; MAGNETIC SUSPENSION OR LEVITATION FOR VEHICLES; MONITORING OPERATING VARIABLES OF ELECTRICALLY-PROPELLED VEHICLES; ELECTRIC SAFETY DEVICES FOR ELECTRICALLY-PROPELLED VEHICLES
    • B60L15/00Methods, circuits, or devices for controlling the traction-motor speed of electrically-propelled vehicles
    • B60L15/20Methods, circuits, or devices for controlling the traction-motor speed of electrically-propelled vehicles for control of the vehicle or its driving motor to achieve a desired performance, e.g. speed, torque, programmed variation of speed
    • B60L15/2054Methods, circuits, or devices for controlling the traction-motor speed of electrically-propelled vehicles for control of the vehicle or its driving motor to achieve a desired performance, e.g. speed, torque, programmed variation of speed by controlling transmissions or clutches
    • BPERFORMING OPERATIONS; TRANSPORTING
    • B60VEHICLES IN GENERAL
    • B60LPROPULSION OF ELECTRICALLY-PROPELLED VEHICLES; SUPPLYING ELECTRIC POWER FOR AUXILIARY EQUIPMENT OF ELECTRICALLY-PROPELLED VEHICLES; ELECTRODYNAMIC BRAKE SYSTEMS FOR VEHICLES IN GENERAL; MAGNETIC SUSPENSION OR LEVITATION FOR VEHICLES; MONITORING OPERATING VARIABLES OF ELECTRICALLY-PROPELLED VEHICLES; ELECTRIC SAFETY DEVICES FOR ELECTRICALLY-PROPELLED VEHICLES
    • B60L50/00Electric propulsion with power supplied within the vehicle
    • B60L50/10Electric propulsion with power supplied within the vehicle using propulsion power supplied by engine-driven generators, e.g. generators driven by combustion engines
    • B60L50/16Electric propulsion with power supplied within the vehicle using propulsion power supplied by engine-driven generators, e.g. generators driven by combustion engines with provision for separate direct mechanical propulsion
    • BPERFORMING OPERATIONS; TRANSPORTING
    • B60VEHICLES IN GENERAL
    • B60LPROPULSION OF ELECTRICALLY-PROPELLED VEHICLES; SUPPLYING ELECTRIC POWER FOR AUXILIARY EQUIPMENT OF ELECTRICALLY-PROPELLED VEHICLES; ELECTRODYNAMIC BRAKE SYSTEMS FOR VEHICLES IN GENERAL; MAGNETIC SUSPENSION OR LEVITATION FOR VEHICLES; MONITORING OPERATING VARIABLES OF ELECTRICALLY-PROPELLED VEHICLES; ELECTRIC SAFETY DEVICES FOR ELECTRICALLY-PROPELLED VEHICLES
    • B60L50/00Electric propulsion with power supplied within the vehicle
    • B60L50/50Electric propulsion with power supplied within the vehicle using propulsion power supplied by batteries or fuel cells
    • B60L50/60Electric propulsion with power supplied within the vehicle using propulsion power supplied by batteries or fuel cells using power supplied by batteries
    • B60L50/61Electric propulsion with power supplied within the vehicle using propulsion power supplied by batteries or fuel cells using power supplied by batteries by batteries charged by engine-driven generators, e.g. series hybrid electric vehicles
    • BPERFORMING OPERATIONS; TRANSPORTING
    • B60VEHICLES IN GENERAL
    • B60LPROPULSION OF ELECTRICALLY-PROPELLED VEHICLES; SUPPLYING ELECTRIC POWER FOR AUXILIARY EQUIPMENT OF ELECTRICALLY-PROPELLED VEHICLES; ELECTRODYNAMIC BRAKE SYSTEMS FOR VEHICLES IN GENERAL; MAGNETIC SUSPENSION OR LEVITATION FOR VEHICLES; MONITORING OPERATING VARIABLES OF ELECTRICALLY-PROPELLED VEHICLES; ELECTRIC SAFETY DEVICES FOR ELECTRICALLY-PROPELLED VEHICLES
    • B60L7/00Electrodynamic brake systems for vehicles in general
    • B60L7/10Dynamic electric regenerative braking
    • B60L7/14Dynamic electric regenerative braking for vehicles propelled by AC motors
    • HELECTRICITY
    • H02GENERATION; CONVERSION OR DISTRIBUTION OF ELECTRIC POWER
    • H02KDYNAMO-ELECTRIC MACHINES
    • H02K1/00Details of the magnetic circuit
    • H02K1/06Details of the magnetic circuit characterised by the shape, form or construction
    • H02K1/12Stationary parts of the magnetic circuit
    • H02K1/18Means for mounting or fastening magnetic stationary parts on to, or to, the stator structures
    • H02K1/185Means for mounting or fastening magnetic stationary parts on to, or to, the stator structures to outer stators
    • HELECTRICITY
    • H02GENERATION; CONVERSION OR DISTRIBUTION OF ELECTRIC POWER
    • H02KDYNAMO-ELECTRIC MACHINES
    • H02K15/00Processes or apparatus specially adapted for manufacturing, assembling, maintaining or repairing of dynamo-electric machines
    • H02K15/02Processes or apparatus specially adapted for manufacturing, assembling, maintaining or repairing of dynamo-electric machines of stator or rotor bodies
    • BPERFORMING OPERATIONS; TRANSPORTING
    • B60VEHICLES IN GENERAL
    • B60LPROPULSION OF ELECTRICALLY-PROPELLED VEHICLES; SUPPLYING ELECTRIC POWER FOR AUXILIARY EQUIPMENT OF ELECTRICALLY-PROPELLED VEHICLES; ELECTRODYNAMIC BRAKE SYSTEMS FOR VEHICLES IN GENERAL; MAGNETIC SUSPENSION OR LEVITATION FOR VEHICLES; MONITORING OPERATING VARIABLES OF ELECTRICALLY-PROPELLED VEHICLES; ELECTRIC SAFETY DEVICES FOR ELECTRICALLY-PROPELLED VEHICLES
    • B60L2210/00Converter types
    • B60L2210/40DC to AC converters
    • BPERFORMING OPERATIONS; TRANSPORTING
    • B60VEHICLES IN GENERAL
    • B60LPROPULSION OF ELECTRICALLY-PROPELLED VEHICLES; SUPPLYING ELECTRIC POWER FOR AUXILIARY EQUIPMENT OF ELECTRICALLY-PROPELLED VEHICLES; ELECTRODYNAMIC BRAKE SYSTEMS FOR VEHICLES IN GENERAL; MAGNETIC SUSPENSION OR LEVITATION FOR VEHICLES; MONITORING OPERATING VARIABLES OF ELECTRICALLY-PROPELLED VEHICLES; ELECTRIC SAFETY DEVICES FOR ELECTRICALLY-PROPELLED VEHICLES
    • B60L2220/00Electrical machine types; Structures or applications thereof
    • B60L2220/50Structural details of electrical machines
    • BPERFORMING OPERATIONS; TRANSPORTING
    • B60VEHICLES IN GENERAL
    • B60LPROPULSION OF ELECTRICALLY-PROPELLED VEHICLES; SUPPLYING ELECTRIC POWER FOR AUXILIARY EQUIPMENT OF ELECTRICALLY-PROPELLED VEHICLES; ELECTRODYNAMIC BRAKE SYSTEMS FOR VEHICLES IN GENERAL; MAGNETIC SUSPENSION OR LEVITATION FOR VEHICLES; MONITORING OPERATING VARIABLES OF ELECTRICALLY-PROPELLED VEHICLES; ELECTRIC SAFETY DEVICES FOR ELECTRICALLY-PROPELLED VEHICLES
    • B60L2240/00Control parameters of input or output; Target parameters
    • B60L2240/10Vehicle control parameters
    • B60L2240/12Speed
    • BPERFORMING OPERATIONS; TRANSPORTING
    • B60VEHICLES IN GENERAL
    • B60LPROPULSION OF ELECTRICALLY-PROPELLED VEHICLES; SUPPLYING ELECTRIC POWER FOR AUXILIARY EQUIPMENT OF ELECTRICALLY-PROPELLED VEHICLES; ELECTRODYNAMIC BRAKE SYSTEMS FOR VEHICLES IN GENERAL; MAGNETIC SUSPENSION OR LEVITATION FOR VEHICLES; MONITORING OPERATING VARIABLES OF ELECTRICALLY-PROPELLED VEHICLES; ELECTRIC SAFETY DEVICES FOR ELECTRICALLY-PROPELLED VEHICLES
    • B60L2240/00Control parameters of input or output; Target parameters
    • B60L2240/40Drive Train control parameters
    • B60L2240/42Drive Train control parameters related to electric machines
    • B60L2240/421Speed
    • BPERFORMING OPERATIONS; TRANSPORTING
    • B60VEHICLES IN GENERAL
    • B60LPROPULSION OF ELECTRICALLY-PROPELLED VEHICLES; SUPPLYING ELECTRIC POWER FOR AUXILIARY EQUIPMENT OF ELECTRICALLY-PROPELLED VEHICLES; ELECTRODYNAMIC BRAKE SYSTEMS FOR VEHICLES IN GENERAL; MAGNETIC SUSPENSION OR LEVITATION FOR VEHICLES; MONITORING OPERATING VARIABLES OF ELECTRICALLY-PROPELLED VEHICLES; ELECTRIC SAFETY DEVICES FOR ELECTRICALLY-PROPELLED VEHICLES
    • B60L2240/00Control parameters of input or output; Target parameters
    • B60L2240/40Drive Train control parameters
    • B60L2240/42Drive Train control parameters related to electric machines
    • B60L2240/423Torque
    • BPERFORMING OPERATIONS; TRANSPORTING
    • B60VEHICLES IN GENERAL
    • B60LPROPULSION OF ELECTRICALLY-PROPELLED VEHICLES; SUPPLYING ELECTRIC POWER FOR AUXILIARY EQUIPMENT OF ELECTRICALLY-PROPELLED VEHICLES; ELECTRODYNAMIC BRAKE SYSTEMS FOR VEHICLES IN GENERAL; MAGNETIC SUSPENSION OR LEVITATION FOR VEHICLES; MONITORING OPERATING VARIABLES OF ELECTRICALLY-PROPELLED VEHICLES; ELECTRIC SAFETY DEVICES FOR ELECTRICALLY-PROPELLED VEHICLES
    • B60L2240/00Control parameters of input or output; Target parameters
    • B60L2240/40Drive Train control parameters
    • B60L2240/44Drive Train control parameters related to combustion engines
    • B60L2240/441Speed
    • BPERFORMING OPERATIONS; TRANSPORTING
    • B60VEHICLES IN GENERAL
    • B60LPROPULSION OF ELECTRICALLY-PROPELLED VEHICLES; SUPPLYING ELECTRIC POWER FOR AUXILIARY EQUIPMENT OF ELECTRICALLY-PROPELLED VEHICLES; ELECTRODYNAMIC BRAKE SYSTEMS FOR VEHICLES IN GENERAL; MAGNETIC SUSPENSION OR LEVITATION FOR VEHICLES; MONITORING OPERATING VARIABLES OF ELECTRICALLY-PROPELLED VEHICLES; ELECTRIC SAFETY DEVICES FOR ELECTRICALLY-PROPELLED VEHICLES
    • B60L2240/00Control parameters of input or output; Target parameters
    • B60L2240/40Drive Train control parameters
    • B60L2240/44Drive Train control parameters related to combustion engines
    • B60L2240/443Torque
    • BPERFORMING OPERATIONS; TRANSPORTING
    • B60VEHICLES IN GENERAL
    • B60LPROPULSION OF ELECTRICALLY-PROPELLED VEHICLES; SUPPLYING ELECTRIC POWER FOR AUXILIARY EQUIPMENT OF ELECTRICALLY-PROPELLED VEHICLES; ELECTRODYNAMIC BRAKE SYSTEMS FOR VEHICLES IN GENERAL; MAGNETIC SUSPENSION OR LEVITATION FOR VEHICLES; MONITORING OPERATING VARIABLES OF ELECTRICALLY-PROPELLED VEHICLES; ELECTRIC SAFETY DEVICES FOR ELECTRICALLY-PROPELLED VEHICLES
    • B60L2260/00Operating Modes
    • B60L2260/20Drive modes; Transition between modes
    • B60L2260/26Transition between different drive modes
    • BPERFORMING OPERATIONS; TRANSPORTING
    • B60VEHICLES IN GENERAL
    • B60LPROPULSION OF ELECTRICALLY-PROPELLED VEHICLES; SUPPLYING ELECTRIC POWER FOR AUXILIARY EQUIPMENT OF ELECTRICALLY-PROPELLED VEHICLES; ELECTRODYNAMIC BRAKE SYSTEMS FOR VEHICLES IN GENERAL; MAGNETIC SUSPENSION OR LEVITATION FOR VEHICLES; MONITORING OPERATING VARIABLES OF ELECTRICALLY-PROPELLED VEHICLES; ELECTRIC SAFETY DEVICES FOR ELECTRICALLY-PROPELLED VEHICLES
    • B60L2260/00Operating Modes
    • B60L2260/20Drive modes; Transition between modes
    • B60L2260/28Four wheel or all wheel drive
    • HELECTRICITY
    • H02GENERATION; CONVERSION OR DISTRIBUTION OF ELECTRIC POWER
    • H02KDYNAMO-ELECTRIC MACHINES
    • H02K1/00Details of the magnetic circuit
    • H02K1/06Details of the magnetic circuit characterised by the shape, form or construction
    • H02K1/12Stationary parts of the magnetic circuit
    • H02K1/16Stator cores with slots for windings
    • HELECTRICITY
    • H02GENERATION; CONVERSION OR DISTRIBUTION OF ELECTRIC POWER
    • H02KDYNAMO-ELECTRIC MACHINES
    • H02K2201/00Specific aspects not provided for in the other groups of this subclass relating to the magnetic circuits
    • H02K2201/06Magnetic cores, or permanent magnets characterised by their skew
    • YGENERAL TAGGING OF NEW TECHNOLOGICAL DEVELOPMENTS; GENERAL TAGGING OF CROSS-SECTIONAL TECHNOLOGIES SPANNING OVER SEVERAL SECTIONS OF THE IPC; TECHNICAL SUBJECTS COVERED BY FORMER USPC CROSS-REFERENCE ART COLLECTIONS [XRACs] AND DIGESTS
    • Y02TECHNOLOGIES OR APPLICATIONS FOR MITIGATION OR ADAPTATION AGAINST CLIMATE CHANGE
    • Y02TCLIMATE CHANGE MITIGATION TECHNOLOGIES RELATED TO TRANSPORTATION
    • Y02T10/00Road transport of goods or passengers
    • Y02T10/60Other road transportation technologies with climate change mitigation effect
    • Y02T10/62Hybrid vehicles
    • YGENERAL TAGGING OF NEW TECHNOLOGICAL DEVELOPMENTS; GENERAL TAGGING OF CROSS-SECTIONAL TECHNOLOGIES SPANNING OVER SEVERAL SECTIONS OF THE IPC; TECHNICAL SUBJECTS COVERED BY FORMER USPC CROSS-REFERENCE ART COLLECTIONS [XRACs] AND DIGESTS
    • Y02TECHNOLOGIES OR APPLICATIONS FOR MITIGATION OR ADAPTATION AGAINST CLIMATE CHANGE
    • Y02TCLIMATE CHANGE MITIGATION TECHNOLOGIES RELATED TO TRANSPORTATION
    • Y02T10/00Road transport of goods or passengers
    • Y02T10/60Other road transportation technologies with climate change mitigation effect
    • Y02T10/64Electric machine technologies in electromobility
    • YGENERAL TAGGING OF NEW TECHNOLOGICAL DEVELOPMENTS; GENERAL TAGGING OF CROSS-SECTIONAL TECHNOLOGIES SPANNING OVER SEVERAL SECTIONS OF THE IPC; TECHNICAL SUBJECTS COVERED BY FORMER USPC CROSS-REFERENCE ART COLLECTIONS [XRACs] AND DIGESTS
    • Y02TECHNOLOGIES OR APPLICATIONS FOR MITIGATION OR ADAPTATION AGAINST CLIMATE CHANGE
    • Y02TCLIMATE CHANGE MITIGATION TECHNOLOGIES RELATED TO TRANSPORTATION
    • Y02T10/00Road transport of goods or passengers
    • Y02T10/60Other road transportation technologies with climate change mitigation effect
    • Y02T10/70Energy storage systems for electromobility, e.g. batteries
    • YGENERAL TAGGING OF NEW TECHNOLOGICAL DEVELOPMENTS; GENERAL TAGGING OF CROSS-SECTIONAL TECHNOLOGIES SPANNING OVER SEVERAL SECTIONS OF THE IPC; TECHNICAL SUBJECTS COVERED BY FORMER USPC CROSS-REFERENCE ART COLLECTIONS [XRACs] AND DIGESTS
    • Y02TECHNOLOGIES OR APPLICATIONS FOR MITIGATION OR ADAPTATION AGAINST CLIMATE CHANGE
    • Y02TCLIMATE CHANGE MITIGATION TECHNOLOGIES RELATED TO TRANSPORTATION
    • Y02T10/00Road transport of goods or passengers
    • Y02T10/60Other road transportation technologies with climate change mitigation effect
    • Y02T10/7072Electromobility specific charging systems or methods for batteries, ultracapacitors, supercapacitors or double-layer capacitors
    • YGENERAL TAGGING OF NEW TECHNOLOGICAL DEVELOPMENTS; GENERAL TAGGING OF CROSS-SECTIONAL TECHNOLOGIES SPANNING OVER SEVERAL SECTIONS OF THE IPC; TECHNICAL SUBJECTS COVERED BY FORMER USPC CROSS-REFERENCE ART COLLECTIONS [XRACs] AND DIGESTS
    • Y02TECHNOLOGIES OR APPLICATIONS FOR MITIGATION OR ADAPTATION AGAINST CLIMATE CHANGE
    • Y02TCLIMATE CHANGE MITIGATION TECHNOLOGIES RELATED TO TRANSPORTATION
    • Y02T10/00Road transport of goods or passengers
    • Y02T10/60Other road transportation technologies with climate change mitigation effect
    • Y02T10/72Electric energy management in electromobility
    • YGENERAL TAGGING OF NEW TECHNOLOGICAL DEVELOPMENTS; GENERAL TAGGING OF CROSS-SECTIONAL TECHNOLOGIES SPANNING OVER SEVERAL SECTIONS OF THE IPC; TECHNICAL SUBJECTS COVERED BY FORMER USPC CROSS-REFERENCE ART COLLECTIONS [XRACs] AND DIGESTS
    • Y10TECHNICAL SUBJECTS COVERED BY FORMER USPC
    • Y10TTECHNICAL SUBJECTS COVERED BY FORMER US CLASSIFICATION
    • Y10T29/00Metal working
    • Y10T29/49Method of mechanical manufacture
    • Y10T29/49002Electrical device making
    • Y10T29/49009Dynamoelectric machine

Definitions

  • the present invention relates to a rotating electrical machine such as a motor and a generator, and a method for manufacturing a stator core of the rotating electrical machine.
  • Patent Document 1 discloses a technique for reducing eddy current loss generated in a housing and suppressing loss torque.
  • an object of the present invention is to provide a rotating electrical machine that suppresses magnetic path constriction due to the skin effect in the housing and improves the torque.
  • a rotating electrical machine includes, for example, a stator core composed of a core back and teeth, a stator winding wound around the teeth, the stator core, and the stator winding.
  • a stator made of a magnetic material, a housing that houses the stator, and a rotor that is rotatably arranged on the inner peripheral side of the stator, the inner wall of the housing and the The structure is such that a gap is provided between the outer peripheral surface of the core back.
  • the circuit diagram which shows the circuit structure of the inverter apparatus which is an Example of this invention.
  • the bird's-eye view which shows the structure of the rotary electric machine which is an Example of this invention.
  • the schematic diagram which shows the cross-section of the rotary electric machine which is an Example of this invention.
  • the graph which shows the influence which an eddy current loss and a skin effect have on a torque.
  • the schematic diagram which shows the cross-section of the rotary electric machine which is an Example of this invention.
  • the graph which shows the difference in the torque by the installation location of a projection part.
  • the figure which shows a part of stator core of the rotary electric machine which is an Example of this invention The figure which shows the structure of the stator core of the rotary electric machine which is an Example of this invention.
  • the hybrid electric vehicle of this embodiment is an engine ENG that is an internal combustion engine, a four-wheel drive type that is configured to drive the front wheels FLW and FRW by the rotating electrical machine MG1 and the rear wheels RLW and RRW by the rotating electrical machine MG2. Is.
  • the case where the front wheels WFLW and FRW are driven by the engine ENG and the rotating electrical machine MG1 and the rear wheels RLW and RRW are respectively driven by the rotating electrical machine MG2 will be described.
  • the rear wheels RLW and RRW may be driven by the rotating electrical machine MG2.
  • a transmission T / M is mechanically connected to the front wheel axle FDS of the front wheels FLW and FRW via a differential FDF.
  • a rotating electrical machine MG1 and an engine ENG are mechanically connected to the transmission T / M via a power distribution mechanism PSM.
  • the power distribution mechanism PSM is a mechanism that controls composition and distribution of rotational driving force.
  • the AC side of the inverter device INV is electrically connected to the stator winding of the rotating electrical machine MG1.
  • the inverter device INV is a power conversion device that converts DC power into three-phase AC power, and controls the driving of the rotating electrical machine MG1.
  • a battery BAT is electrically connected to the DC side of the inverter device INV.
  • Rotating electrical machine MG2 is mechanically connected to rear wheel RLW, RRW rear wheel axle RDS via differential RDF and reduction gear RG.
  • the AC side of the inverter device INV is electrically connected to the stator winding of the rotating electrical machine MG2.
  • the inverter device INV is shared by the rotating electrical machines MG1 and MG2, and includes the power module PMU1 and the drive circuit device DCU1 for the rotating electrical machine MG1, and the power module PMU2 and the drive circuit device DCU2 for the rotating electrical machine MG2. And a motor control unit MCU.
  • the engine ENG is equipped with a starter STR.
  • the starter STR is a starting device for starting the engine ENG.
  • the engine control unit ECU calculates control values for operating each component device (throttle valve, fuel injection valve, etc.) of the engine ENG based on input signals from sensors, other control units, and the like. This control value is output as a control signal to the drive device of each component device of the engine ENG. Thereby, the operation of each component device of the engine ENG is controlled.
  • the operation of the transmission T / M is controlled by the transmission control unit TCU.
  • the transmission control unit TCU calculates a control value for operating the transmission mechanism based on an input signal from a sensor or another control unit. This control value is output as a control signal to the drive mechanism of the transmission mechanism. Thereby, the operation of the transmission mechanism of the transmission T / M is controlled.
  • the battery BAT is a high-voltage lithium ion battery having a battery voltage of 200 V or higher, and its charge / discharge and life are managed by the battery control unit BCU.
  • the battery control unit BCU receives a voltage value, a current value, and the like of the battery BAT in order to manage charging / discharging and life of the battery.
  • a low-voltage battery having a battery voltage of 12v is also mounted as a battery, and is used as a power source for a control system, a radio, a light, and the like.
  • the engine control unit ECU, the transmission control unit TCU, the motor control unit MCU, and the battery control unit BCU are electrically connected to each other via the in-vehicle local area network LAN, and are also electrically connected to the general control unit GCU.
  • the general control unit GCU outputs a command signal to each control unit according to the driving state of the vehicle. For example, the general control unit GCU calculates the required torque value of the vehicle according to the accelerator depression amount based on the driver's acceleration request, and uses this required torque value to improve the engine ENG driving efficiency.
  • the distributed engine ENG side output torque value is output as an engine torque command signal to the engine control unit ECU, and the distributed rotary electric machine MG1 side Is output to the motor control unit MCU as a motor torque command signal.
  • the front wheels FLW and FRW are driven by the rotating electrical machine MG1.
  • the case where the front wheels FLW and FRW are driven by the rotating electrical machine MG1 at the start of the hybrid electric vehicle and at the time of low speed driving will be described.
  • the front wheels FLW and FRW are driven by the rotating electrical machine MG1 and the rotating electrical machine MG2 is driven. May drive the rear wheels RLW and RRW (four-wheel drive traveling may be performed). Direct current power is supplied from the battery BAT to the inverter device INV.
  • the supplied DC power is converted into three-phase AC power by the inverter device INV.
  • the three-phase AC power obtained in this way is supplied to the stator winding of the rotating electrical machine MG1.
  • the rotating electrical machine MG1 is driven to generate a rotational output.
  • This rotational output is input to the transmission T / M via the power distribution mechanism PSM.
  • the input rotation output is shifted by the transmission T / M and input to the differential FDF.
  • the input rotational output is distributed to the left and right by the differential FDF and transmitted to the left and right front wheel axles FDS.
  • the front wheel axle FDS is rotationally driven.
  • the front wheels FLW and FRW are rotationally driven by the rotational driving of the front wheel axle FDS.
  • the front wheels FLW and FRW are driven by the engine ENG.
  • the rotational output of the engine ENG is input to the transmission T / M via the power distribution mechanism PSM.
  • the input rotation output is shifted by the transmission T / M.
  • the changed rotational output is transmitted to the front wheel axle FDS via the differential FDF.
  • the front wheels FLW and FRW are driven to rotate by the WH-F.
  • the rotational output of the engine ENG is distributed to the rotating electrical machine MG1 via the power distribution mechanism PSM, and the rotating electrical machine MG1 is rotationally driven. .
  • rotating electrical machine MG1 operates as a generator.
  • three-phase AC power is generated in the stator winding of the rotating electrical machine MG1.
  • the generated three-phase AC power is converted into predetermined DC power by the inverter device INV.
  • the DC power obtained by this conversion is supplied to the battery BAT. Thereby, the battery BAT is charged.
  • the rear wheels RLW and RRW are driven by the rotating electrical machine MG2.
  • the front wheels FLW and FRW are driven by the engine ENG as in the normal running.
  • the rotating electrical machine MG1 is rotationally driven by the rotational output of the engine ENG to charge the battery BAT, as in the normal running.
  • DC power is supplied from the battery BAT to the inverter INV.
  • the supplied DC power is converted into three-phase AC power by the inverter device INV, and the AC power obtained by this conversion is supplied to the stator winding of the rotating electrical machine MG2.
  • the rotating electrical machine MG2 is driven to generate a rotational output.
  • the generated rotation output is decelerated by the reduction gear RG and input to the differential device RDF.
  • the input rotational output is distributed to the left and right by the differential RDF and transmitted to the left and right rear wheel axles RDS.
  • the rear wheel axle RDS is rotationally driven.
  • the rear wheels RLW and RRW are rotationally driven by the rotational driving of the rear wheel axle RDS.
  • the front wheels FLW and FRW are driven by the engine ENG and the rotating electrical machine MG1.
  • the front wheels FLW and FRW are driven and rotated by the engine ENG and the rotating electrical machine MG1.
  • the rear wheels RLW and RRW may be driven by the electric machine MG2 (four-wheel drive traveling may be performed).
  • the rotational outputs of engine ENG and rotating electrical machine MG1 are input to transmission T / M via power distribution mechanism PSM.
  • the input rotation output is shifted by the transmission T / M.
  • the changed rotational output is transmitted to the front wheel axle FDS via the differential FDF.
  • the front wheels FLW and FRW are rotationally driven.
  • the rotational force of the rear wheels RLW, RRW is transmitted to the rotating electrical machine MG2 via the rear wheel axle RDS, the differential device RDF, and the speed reducer RG, thereby rotating the rotating electrical machine MG2.
  • rotating electrical machine MG2 operates as a generator.
  • three-phase AC power is generated in the stator winding of the rotating electrical machine MG2.
  • the generated three-phase AC power is converted into predetermined DC power by the inverter device INV.
  • the DC power obtained by this conversion is supplied to the battery BAT. Thereby, the battery BAT is charged.
  • FIG. 2 shows the configuration of the inverter device INV of this embodiment.
  • the inverter device INV includes the power modules PMU1, PMU2, the drive circuit devices DCU1, DCU2, and the motor control unit MCU.
  • the power modules PMU1 and PMU2 have the same configuration.
  • the drive circuit units DCU1 and DCU2 have the same configuration.
  • the power modules PMU1 and PMU2 constitute a conversion circuit (also referred to as a main circuit) that converts DC power supplied from the battery BAT into AC power and supplies the AC power to the corresponding rotating electrical machines MG1 and MG2.
  • the conversion circuit can also convert AC power supplied from the corresponding rotating electrical machines MG1 and MG2 into DC power and supply it to the battery BAT.
  • the conversion circuit is a bridge circuit, and a series circuit for three phases is electrically connected in parallel between the positive electrode side and the negative electrode side of the battery BAT.
  • the series circuit is also called an arm and is constituted by two semiconductor elements.
  • the arm is configured such that the power semiconductor element on the upper arm side and the power semiconductor element on the lower arm side are electrically connected in series for each phase.
  • an IGBT insulated gate bipolar transistor which is a switching semiconductor element is used as the power semiconductor element.
  • a semiconductor chip constituting the IGBT includes three electrodes, a collector electrode, an emitter electrode, and a gate electrode.
  • a diode of a different chip from the IGBT is electrically connected between the collector electrode and the emitter electrode of the IGBT.
  • the diode is electrically connected between the emitter electrode and the collector electrode of the IGBT so that the direction from the emitter electrode of the IGBT toward the collector electrode is a forward direction.
  • a MOSFET metal oxide semiconductor field effect transistor
  • the u-phase arm of the power module PMU1 is configured by electrically connecting the emitter electrode of the power semiconductor element Tpu1 and the collector electrode of the power semiconductor element Tnu1 in series.
  • the v-phase arm and the w-phase arm are configured similarly to the u-phase arm, and the emitter electrode of the power semiconductor element Tpv1 and the collector electrode of the power semiconductor element Tnv1 are electrically connected in series, so that the power module PMU1 In the v-phase arm, the emitter electrode of the power semiconductor element Tpw1 and the collector electrode of the power semiconductor element Tnw1 are electrically connected in series, whereby the w-phase arm of the power module PMU1 is configured.
  • the arms of the respective phases are configured in the same connection relationship as that of the power module PMU1 described above.
  • the collector electrodes of the power semiconductor elements Tpu1, Tpv1, Tpw1, Tpu2, Tpv2, and Tpw2 are electrically connected to the high potential side (positive electrode side) of the battery BAT.
  • the emitter electrodes of the power semiconductor elements Tnu1, Tnv1, Tnw1, Tnu2, Tnv2, and Tnw2 are electrically connected to the low potential side (negative electrode side) of the battery BAT.
  • the midpoint of the u-phase arm (v-phase arm, w-phase arm) of the power module PMU1 (the connection portion between the emitter electrode of the upper arm side power semiconductor element and the collector electrode of the lower arm side power semiconductor element) of each arm rotates. It is electrically connected to the u-phase (v-phase, w-phase) stator winding of the electric machine MG1.
  • the midpoint of the u-phase arm (v-phase arm, w-phase arm) of the power module PMU2 (the connection portion between the emitter electrode of the upper arm side power semiconductor element and the collector electrode of the lower arm side power semiconductor element) of each arm is rotated. It is electrically connected to the u-phase (v-phase, w-phase) stator winding of the electric machine MG2.
  • a smoothing electrolytic capacitor SEC is electrically connected between the positive electrode side and the negative electrode side of the battery BAT in order to suppress fluctuations in DC voltage caused by the operation of the power semiconductor element.
  • the drive circuit units DCU1 and DCU2 output drive signals for operating the power semiconductor elements of the power modules PMU1 and PMU2 based on the control signal output from the motor control unit MCU, and drive units for operating the power semiconductor elements. And includes circuit components such as an insulated power supply, an interface circuit, a drive circuit, a sensor circuit, and a snubber circuit (all not shown).
  • the motor control unit MCU is an arithmetic unit composed of a microcomputer, and inputs a plurality of input signals and sends control signals for operating the power semiconductor elements of the power modules PMU1 and PMU2 to the drive circuit units DSU1 and DSU2. Output. Torque command values ⁇ * 1, ⁇ * 2, current detection signals iu1 to iw1, iu2 to iw2, and magnetic pole position detection signals ⁇ 1 and ⁇ 2 are input as input signals.
  • the torque command values ⁇ * 1 and ⁇ * 2 are output from the host controller according to the vehicle operation mode.
  • the torque command value ⁇ * 1 corresponds to the rotating electrical machine MG1
  • the torque command value ⁇ * 2 corresponds to the rotating electrical machine MG2.
  • the current detection signals iu1 to Iw1 are detection signals for the input currents of the u phase to the w phase supplied from the conversion circuit of the inverter device INV to the stator winding of the rotating electrical machine MG1, and are currents of current transformers (CT) and the like. It is detected by a sensor.
  • CT current transformers
  • the current detection signals iu2 to Iw2 are detection signals for the u-phase to w-phase input current supplied from the inverter device INV to the stator winding of the rotating electrical machine MG2, and are detected by a current sensor such as a current transformer (CT). It has been done.
  • the magnetic pole position detection signal ⁇ 1 is a detection signal of the rotation magnetic pole position of the rotating electrical machine MG1, and is detected by a magnetic pole position sensor such as a resolver, an encoder, a Hall element, or a Hall IC.
  • the magnetic pole position detection signal ⁇ 2 is a detection signal of the rotation magnetic pole position of the rotating electrical machine MG1, and is detected by a magnetic pole position sensor such as a resolver, an encoder, a Hall element, or a Hall IC.
  • the motor control unit MCU calculates a voltage control value based on the input signal, and uses the voltage control value as a control signal (PWM signal) for operating the power semiconductor elements Tpu1 to Tnw1, Tpu2 to Tnw2 of the power modules PMU1 and PMU2. (Pulse width modulation signal)) is output to the drive circuit units DCU1 and DCU2.
  • PWM signal a control signal for operating the power semiconductor elements Tpu1 to Tnw1, Tpu2 to Tnw2 of the power modules PMU1 and PMU2.
  • the PWM signal output from the motor control unit MCU is such that the time-averaged voltage is a sine wave.
  • the instantaneous maximum output voltage is the voltage of the DC line that is the input of the inverter
  • its effective value is 1 / ⁇ 2. Therefore, in the hybrid electric motor vehicle of the present invention, the effective value of the input voltage of the motor is increased in order to increase the output of the motor with a limited inverter device. That is, the PWM signal of the MCU is made to be only ON and OFF in a rectangular wave shape. By doing so, the peak value of the rectangular wave becomes the voltage Vdc of the DC line of the inverter, and the effective value thereof becomes Vdc. This is the method for increasing the effective voltage value.
  • rectangular wave voltage has a problem that the current waveform is disturbed because the inductance is small in the low rotation speed region, and this causes an unnecessary excitation force in the motor and noise. Therefore, rectangular wave voltage control is used only during high-speed rotation, and normal PWM control is performed at low frequencies.
  • FIG. 3 and 4 are diagrams showing the rotary electric machine MG1 of the present embodiment, FIG. 3 is a bird's eye view, and FIG. 4 is a schematic diagram drawn by changing the ratio of each component for easy understanding.
  • symbol is attached
  • the rotating electrical machine MG1 is rotated by a magnetic action between the stator 110 that generates a rotating magnetic field and the stator 110, and the rotor 130 is rotatably arranged via the inner peripheral side of the stator 110 and the gap 160. And.
  • the stator 110 includes a stator core 111 including a core back 112 and a tooth 113, and a slot into which a stator winding 120 that generates a magnetic flux when energized is inserted.
  • the stator core 111 is formed by laminating a plurality of plate-shaped molding members formed by punching a plate-shaped magnetic member in the axial direction or by cast iron.
  • the axial direction means a direction along the rotation axis of the rotor.
  • the stator winding 120 is wound around the teeth 113 by being inserted into the slot.
  • a housing 150 is provided around the stator core 111.
  • the housing 150 is made of a magnetic material and is also used as a magnetic path.
  • the rotor 130 includes a rotor core 131, a permanent magnet 132, and a shaft (not shown) serving as a rotating shaft that constitute a magnetic path on the rotating side.
  • a gap 160 is provided in at least a part between the inner wall of the housing 150 and the outer peripheral surface of the core back 112.
  • the permeability of the housing 150 is assumed to be high carbon steel.
  • Fig. 5 shows the torque characteristics under each condition.
  • the horizontal axis shows the width of the air gap
  • the vertical axis shows the torque when the torque without the housing 150 is 100.
  • the width of the gap indicates the distance between the outer peripheral surface of the core back 112 and the inner wall of the housing 150 in the gap 160.
  • the improvement of 107 and 7 is shown when the housing 150 is taken into account and the conductivity is 0.0 S / m. ing. This is (1) the torque contributed by the housing magnetic path. However, it is 101 when the electrical conductivity is 7,000,000 S / m and the actual torque condition.
  • the magnetic flux penetration depth ⁇ is expressed by the following formula.
  • frequency of magnetic flux [rad / s]
  • conductivity of a member between the housing or the housing and the stator core [S / m]
  • housing or the housing and the stator core
  • H / m The magnetic permeability [H / m] of the member between.
  • FIG. 6 shows a graph obtained by order analysis of the time waveform of the radial magnetic flux in the outer diameter portion of the stator.
  • the fundamental wave (first order) is defined as 1.0. It can be seen from the graph that when the gap 160 is not provided (in the case of GAP of 0.0 mm in FIG. 6), spatial harmonics are generated in the inner diameter portion of the housing 150 and ⁇ is increased. Therefore, when the gap 160 is set to 2.5 mm, it can be seen that the third harmonic is reduced by half from 0.6 to 0.3, and the harmonic is reduced even at other orders. This also shows that ⁇ is reduced and the magnetic flux can penetrate deeply.
  • the reason why the torque decreases when the diameter exceeds 2.5 mm is that the width of the housing 150 becomes narrow and it becomes difficult to act as a magnetic path.
  • the gap 160 between the inner wall of the housing 150 and the outer peripheral surface of the core back 112 the skin effect can be reduced and the torque can be improved.
  • a nonmagnetic metal material is disposed or filled in the gap 160 in order to suppress the wobbling of the stator 110, and a rotation stopper 200 is provided in order to suppress the rotation of the stator 110.
  • the nonmagnetic metal material is, for example, aluminum or nonmagnetic stainless steel. Even if a nonmagnetic metal material is disposed or filled in the gap 160, the above-described torque improvement effect can be obtained, and the strength and heat dissipation can be further improved.
  • Example 1 the rotation prevention of the stator core 111 was performed by the rotation stop 200.
  • the plurality of protrusions 115 are provided in the axial direction on the stator core 111 of the first embodiment, so that the contact portion between the stator core 111 and the housing 150 is secured, thereby further improving the reliability.
  • a gap 160 is formed by the protrusion 115, the inner wall of the housing 150, and the core back 112.
  • the protrusion 115 is provided so as to be located on the back surface in the radial direction of the tooth 113 as indicated by the line AA ′ in FIG. This is because, as shown in FIG. 8, the torque increases when the protrusion 115 is provided on the outer peripheral portion of the tooth 113 rather than the outer peripheral portion of the slot, and this structure simultaneously improves reliability and torque. can do.
  • the gap 160 is configured in the axial direction.
  • a drive rotating electrical machine for a hybrid electric vehicle has a casing that is shorter in the axial direction than, for example, a power steering motor. Therefore, the skin effect can be reduced more than when the gap 160 is formed in the circumferential direction. is there.
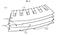
  • FIG. 9 is an enlarged view of a part of the stator core 111
  • FIG. 10 is a schematic view of the outer periphery of the stator 110.
  • illustration of the teeth 112 is abbreviate
  • the stator core 111 is configured by providing irregularities on the outer edge of the magnetic steel sheet and laminating them in the axial direction.
  • the convex portion of the outer edge of the electromagnetic steel plate corresponds to the protrusion 115 and the concave portion corresponds to the gap 160.
  • the gap 160 can be skewed by laminating the electromagnetic steel plates little by little.
  • ⁇ Electromagnetic steel sheets may be alternately stacked. Thereby, accumulation
  • the electrical steel sheet used in the present embodiment may be one formed in the same shape. As shown in FIG. 10, by laminating one type of electrical steel sheet alternately on the front and back and so that the position of the gap 160 is different one by one, the gap 160 can be skewed without preparing a plurality of types of electromagnetic steel sheets. .
  • FIG. 10 111A has shown what was arrange
  • FIG. 11 shows the result of FFT analysis of the magnetic flux density distribution in the stator core radial direction between the stator core having the conventional structure and the stator core 111 in the present embodiment.
  • the vertical axis represents the magnetic flux density when the spatial first harmonic (fundamental wave) is 1, and the horizontal axis represents the harmonic order. From this figure, it can be seen that the stator core 111 of this embodiment particularly reduces the spatial third harmonic, and as a result, the torque of the rotating electrical machine can be further improved.
  • the strength and heat dissipation can be further improved by arranging or filling the gap 160 with a nonmagnetic metal material such as aluminum or nonmagnetic stainless steel.
  • motors for hybrid electric vehicles are required to be miniaturized for installation in the engine room. If the present invention is used, torque can be improved as compared with a rotating electrical machine of the same size, so that the motor size can be reduced.
  • the skin effect can be reduced and the torque can be improved by using the present invention.
  • the inner rotor type rotating electrical machine has been described as an example, but the present invention can also be applied to an outer rotor type rotating electrical machine.
  • the present invention is not limited to the above embodiments as long as the characteristics of the present invention are not impaired.

Landscapes

  • Engineering & Computer Science (AREA)
  • Power Engineering (AREA)
  • Transportation (AREA)
  • Mechanical Engineering (AREA)
  • Life Sciences & Earth Sciences (AREA)
  • Sustainable Development (AREA)
  • Sustainable Energy (AREA)
  • Manufacturing & Machinery (AREA)
  • Electric Propulsion And Braking For Vehicles (AREA)
  • Iron Core Of Rotating Electric Machines (AREA)
PCT/JP2011/069376 2010-09-30 2011-08-29 回転電機、および回転電機の固定子コア製造方法 Ceased WO2012043107A1 (ja)

Priority Applications (1)

Application Number Priority Date Filing Date Title
US13/817,344 US20130140930A1 (en) 2010-09-30 2011-08-29 Electric rotating machine and method for manufacturing a stator core for the electric rotating machine

Applications Claiming Priority (2)

Application Number Priority Date Filing Date Title
JP2010-220245 2010-09-30
JP2010220245A JP5572508B2 (ja) 2010-09-30 2010-09-30 回転電機

Publications (1)

Publication Number Publication Date
WO2012043107A1 true WO2012043107A1 (ja) 2012-04-05

Family

ID=45892581

Family Applications (1)

Application Number Title Priority Date Filing Date
PCT/JP2011/069376 Ceased WO2012043107A1 (ja) 2010-09-30 2011-08-29 回転電機、および回転電機の固定子コア製造方法

Country Status (3)

Country Link
US (1) US20130140930A1 (enExample)
JP (1) JP5572508B2 (enExample)
WO (1) WO2012043107A1 (enExample)

Cited By (1)

* Cited by examiner, † Cited by third party
Publication number Priority date Publication date Assignee Title
US10910892B2 (en) 2015-04-22 2021-02-02 Mitsubishi Electric Corporation Rotary electric machine and electric power steering apparatus

Families Citing this family (4)

* Cited by examiner, † Cited by third party
Publication number Priority date Publication date Assignee Title
JP6591198B2 (ja) * 2015-05-22 2019-10-16 日立オートモティブシステムズ株式会社 回転電機の固定子
JP6595269B2 (ja) * 2015-09-07 2019-10-23 日立オートモティブシステムズ株式会社 電動駆動装置及び電動パワーステアリング装置
JP7501539B2 (ja) * 2019-09-30 2024-06-18 ニデック株式会社 ロータ、トラクションモータ、および、ロータの製造方法
JP7633292B2 (ja) * 2021-02-15 2025-02-19 ファナック株式会社 モータのコアブロック及びモータのコアブロックの製造方法

Citations (4)

* Cited by examiner, † Cited by third party
Publication number Priority date Publication date Assignee Title
JPH10174356A (ja) * 1996-12-06 1998-06-26 Matsushita Electric Ind Co Ltd 全閉外扇形誘導電動機
JP2007507195A (ja) * 2003-06-26 2007-03-22 ローベルト ボツシユ ゲゼルシヤフト ミツト ベシユレンクテル ハフツング プレス嵌めを介して互いに結合された構成部分を備えた装置、特に電気機械
JP2007116844A (ja) * 2005-10-21 2007-05-10 Nippon Densan Corp ブラシレスモータ
JP2009177907A (ja) * 2008-01-23 2009-08-06 Yaskawa Electric Corp 回転電動機のステータおよびそれを備えた回転電動機

Family Cites Families (11)

* Cited by examiner, † Cited by third party
Publication number Priority date Publication date Assignee Title
DE1237213B (de) * 1960-07-11 1967-03-23 Licentia Gmbh Geblechter Staender fuer Wechselstrom-Kleinmotoren
US5023500A (en) * 1989-04-21 1991-06-11 Century Electric, Inc. Stator lamination with alignment structure for controlled skewing
US5218252A (en) * 1992-02-11 1993-06-08 Sundstrand Corporation Dynamoelectric machines with stator positioning
US5796190A (en) * 1995-05-29 1998-08-18 Denyo Kabushiki Kaisha Engine-driven permanent magnetic type welding generator
ITPN960017A1 (it) * 1996-03-12 1997-09-12 Sole Spa Macchina elettrica, in particolare motore elettrico
JP4942259B2 (ja) * 2001-07-11 2012-05-30 パナソニック株式会社 電動機
DE10361864A1 (de) * 2003-12-30 2005-07-28 Robert Bosch Gmbh Elektrische Maschine
JP4449811B2 (ja) * 2005-04-15 2010-04-14 株式会社豊田自動織機 電動コンプレッサ
DE102008012680A1 (de) * 2008-03-05 2009-09-17 Minebea Co., Ltd. Elektrische Maschine
FR2927736B1 (fr) * 2008-02-20 2014-12-05 Leroy Somer Moteurs Stator de machine electrique tournante.
US8358043B2 (en) * 2008-10-24 2013-01-22 Baker Hughes Incorporated Enhanced thermal conductivity material in annular gap between electrical motor stator and housing

Patent Citations (4)

* Cited by examiner, † Cited by third party
Publication number Priority date Publication date Assignee Title
JPH10174356A (ja) * 1996-12-06 1998-06-26 Matsushita Electric Ind Co Ltd 全閉外扇形誘導電動機
JP2007507195A (ja) * 2003-06-26 2007-03-22 ローベルト ボツシユ ゲゼルシヤフト ミツト ベシユレンクテル ハフツング プレス嵌めを介して互いに結合された構成部分を備えた装置、特に電気機械
JP2007116844A (ja) * 2005-10-21 2007-05-10 Nippon Densan Corp ブラシレスモータ
JP2009177907A (ja) * 2008-01-23 2009-08-06 Yaskawa Electric Corp 回転電動機のステータおよびそれを備えた回転電動機

Cited By (1)

* Cited by examiner, † Cited by third party
Publication number Priority date Publication date Assignee Title
US10910892B2 (en) 2015-04-22 2021-02-02 Mitsubishi Electric Corporation Rotary electric machine and electric power steering apparatus

Also Published As

Publication number Publication date
US20130140930A1 (en) 2013-06-06
JP2012075296A (ja) 2012-04-12
JP5572508B2 (ja) 2014-08-13

Similar Documents

Publication Publication Date Title
JP6147661B2 (ja) 回転子、およびこれを備えた永久磁石式回転電機、電動駆動システム、電動車両
JP4740273B2 (ja) 回転電機およびそれを用いたハイブリッド自動車
JP4668721B2 (ja) 永久磁石式回転電機
JP5722116B2 (ja) 誘導回転電機
JP5745379B2 (ja) 回転電機および電動車両
JP5948127B2 (ja) 永久磁石回転電機及びそれを用いた電動車両
JP5558176B2 (ja) 電動機駆動装置およびそれを搭載する車両
US20180162379A1 (en) Drive device, vehicle, and control method for drive device
CN105340155B (zh) 旋转电机及旋转电机的转子
JP5572508B2 (ja) 回転電機
CN100576701C (zh) 永磁式旋转电机
JPWO2014188757A1 (ja) 回転電機の回転子、回転電機、電動駆動システム、及び電動車両
CN117280569A (zh) 旋转电机的转子以及旋转电机
JP2006149031A (ja) 車両駆動システムおよびそれを備える車両
WO2013129024A1 (ja) 誘導電動機、電動駆動システム及びそれらを備えた電動車両
JP2001169406A (ja) 車両制動装置
JP2023145910A (ja) 電動車両
JP2025067104A (ja) 車両

Legal Events

Date Code Title Description
121 Ep: the epo has been informed by wipo that ep was designated in this application

Ref document number: 11828668

Country of ref document: EP

Kind code of ref document: A1

WWE Wipo information: entry into national phase

Ref document number: 13817344

Country of ref document: US

NENP Non-entry into the national phase

Ref country code: DE

122 Ep: pct application non-entry in european phase

Ref document number: 11828668

Country of ref document: EP

Kind code of ref document: A1