WO2012014925A1 - 絶縁性粒子付き導電性粒子、絶縁性粒子付き導電性粒子の製造方法、異方性導電材料及び接続構造体 - Google Patents

絶縁性粒子付き導電性粒子、絶縁性粒子付き導電性粒子の製造方法、異方性導電材料及び接続構造体 Download PDF

Info

Publication number
WO2012014925A1
WO2012014925A1 PCT/JP2011/067069 JP2011067069W WO2012014925A1 WO 2012014925 A1 WO2012014925 A1 WO 2012014925A1 JP 2011067069 W JP2011067069 W JP 2011067069W WO 2012014925 A1 WO2012014925 A1 WO 2012014925A1
Authority
WO
WIPO (PCT)
Prior art keywords
particles
conductive
insulating
insulating particles
particle
Prior art date
Legal status (The legal status is an assumption and is not a legal conclusion. Google has not performed a legal analysis and makes no representation as to the accuracy of the status listed.)
Ceased
Application number
PCT/JP2011/067069
Other languages
English (en)
French (fr)
Japanese (ja)
Inventor
茂雄 真原
Current Assignee (The listed assignees may be inaccurate. Google has not performed a legal analysis and makes no representation or warranty as to the accuracy of the list.)
Sekisui Chemical Co Ltd
Original Assignee
Sekisui Chemical Co Ltd
Priority date (The priority date is an assumption and is not a legal conclusion. Google has not performed a legal analysis and makes no representation as to the accuracy of the date listed.)
Filing date
Publication date
Application filed by Sekisui Chemical Co Ltd filed Critical Sekisui Chemical Co Ltd
Priority to JP2011535748A priority Critical patent/JP5025825B2/ja
Priority to KR1020127027323A priority patent/KR101242235B1/ko
Priority to CN201180022694.3A priority patent/CN102884590B/zh
Publication of WO2012014925A1 publication Critical patent/WO2012014925A1/ja
Anticipated expiration legal-status Critical
Ceased legal-status Critical Current

Links

Images

Classifications

    • HELECTRICITY
    • H01ELECTRIC ELEMENTS
    • H01BCABLES; CONDUCTORS; INSULATORS; SELECTION OF MATERIALS FOR THEIR CONDUCTIVE, INSULATING OR DIELECTRIC PROPERTIES
    • H01B1/00Conductors or conductive bodies characterised by the conductive materials; Selection of materials as conductors
    • H01B1/20Conductive material dispersed in non-conductive organic material
    • H01B1/22Conductive material dispersed in non-conductive organic material the conductive material comprising metals or alloys
    • HELECTRICITY
    • H01ELECTRIC ELEMENTS
    • H01RELECTRICALLY-CONDUCTIVE CONNECTIONS; STRUCTURAL ASSOCIATIONS OF A PLURALITY OF MUTUALLY-INSULATED ELECTRICAL CONNECTING ELEMENTS; COUPLING DEVICES; CURRENT COLLECTORS
    • H01R4/00Electrically-conductive connections between two or more conductive members in direct contact, i.e. touching one another; Means for effecting or maintaining such contact; Electrically-conductive connections having two or more spaced connecting locations for conductors and using contact members penetrating insulation
    • H01R4/04Electrically-conductive connections between two or more conductive members in direct contact, i.e. touching one another; Means for effecting or maintaining such contact; Electrically-conductive connections having two or more spaced connecting locations for conductors and using contact members penetrating insulation using electrically conductive adhesives
    • HELECTRICITY
    • H01ELECTRIC ELEMENTS
    • H01BCABLES; CONDUCTORS; INSULATORS; SELECTION OF MATERIALS FOR THEIR CONDUCTIVE, INSULATING OR DIELECTRIC PROPERTIES
    • H01B13/00Apparatus or processes specially adapted for manufacturing conductors or cables
    • HELECTRICITY
    • H01ELECTRIC ELEMENTS
    • H01BCABLES; CONDUCTORS; INSULATORS; SELECTION OF MATERIALS FOR THEIR CONDUCTIVE, INSULATING OR DIELECTRIC PROPERTIES
    • H01B5/00Non-insulated conductors or conductive bodies characterised by their form
    • H01B5/16Non-insulated conductors or conductive bodies characterised by their form comprising conductive material in insulating or poorly conductive material, e.g. conductive rubber
    • HELECTRICITY
    • H01ELECTRIC ELEMENTS
    • H01LSEMICONDUCTOR DEVICES NOT COVERED BY CLASS H10
    • H01L24/00Arrangements for connecting or disconnecting semiconductor or solid-state bodies; Methods or apparatus related thereto
    • H01L24/01Means for bonding being attached to, or being formed on, the surface to be connected, e.g. chip-to-package, die-attach, "first-level" interconnects; Manufacturing methods related thereto
    • H01L24/26Layer connectors, e.g. plate connectors, solder or adhesive layers; Manufacturing methods related thereto
    • H01L24/28Structure, shape, material or disposition of the layer connectors prior to the connecting process
    • H01L24/29Structure, shape, material or disposition of the layer connectors prior to the connecting process of an individual layer connector
    • HELECTRICITY
    • H01ELECTRIC ELEMENTS
    • H01LSEMICONDUCTOR DEVICES NOT COVERED BY CLASS H10
    • H01L2924/00Indexing scheme for arrangements or methods for connecting or disconnecting semiconductor or solid-state bodies as covered by H01L24/00
    • H01L2924/15Details of package parts other than the semiconductor or other solid state devices to be connected
    • H01L2924/151Die mounting substrate
    • H01L2924/156Material
    • H01L2924/15786Material with a principal constituent of the material being a non metallic, non metalloid inorganic material
    • H01L2924/15788Glasses, e.g. amorphous oxides, nitrides or fluorides
    • HELECTRICITY
    • H01ELECTRIC ELEMENTS
    • H01RELECTRICALLY-CONDUCTIVE CONNECTIONS; STRUCTURAL ASSOCIATIONS OF A PLURALITY OF MUTUALLY-INSULATED ELECTRICAL CONNECTING ELEMENTS; COUPLING DEVICES; CURRENT COLLECTORS
    • H01R12/00Structural associations of a plurality of mutually-insulated electrical connecting elements, specially adapted for printed circuits, e.g. printed circuit boards [PCB], flat or ribbon cables, or like generally planar structures, e.g. terminal strips, terminal blocks; Coupling devices specially adapted for printed circuits, flat or ribbon cables, or like generally planar structures; Terminals specially adapted for contact with, or insertion into, printed circuits, flat or ribbon cables, or like generally planar structures
    • H01R12/50Fixed connections
    • H01R12/51Fixed connections for rigid printed circuits or like structures
    • H01R12/52Fixed connections for rigid printed circuits or like structures connecting to other rigid printed circuits or like structures

Definitions

  • the present invention uses, for example, conductive particles with insulating particles that can be used for electrical connection between electrodes, a method for producing the conductive particles with insulating particles, and the conductive particles with insulating particles.
  • the present invention relates to an anisotropic conductive material and a connection structure.
  • Anisotropic conductive materials such as anisotropic conductive paste and anisotropic conductive film are widely known.
  • anisotropic conductive materials conductive particles are dispersed in a binder resin.
  • the anisotropic conductive material is used for connection between an IC chip and a flexible printed circuit board, connection between an IC chip and a circuit board having an ITO electrode, and the like. For example, after disposing an anisotropic conductive material between the electrode of the IC chip and the electrode of the circuit board, these electrodes can be electrically connected by heating and pressing.
  • Patent Document 1 discloses conductive with insulating particles having conductive particles and insulating particles fixed to the surface of the conductive particles and having adhesive properties. Particles are disclosed.
  • the insulating particles include hard particles and a polymer resin layer covering the surfaces of the hard particles.
  • a physical / mechanical hybridization method is used as an immobilization method in order to immobilize the insulating particles on the surface of the conductive particles.
  • Patent Document 2 includes conductive particles having a polar group on at least a part of a surface, and an insulating material that covers at least a part of the surface of the conductive particles and includes insulating particles.
  • a conductive particle with insulating particles is disclosed.
  • the insulating material includes a polymer electrolyte that can adsorb the polar group, and inorganic oxide particles that can adsorb the polymer electrolyte.
  • the inorganic oxide particles are insulating particles.
  • the insulating particles are easily detached from the surface of the conductive particles.
  • the insulating particles may be easily detached from the surface of the conductive particles.
  • the polymer resin layer of the insulating particles adheres to a portion other than the portion to which the insulating particles adhere on the surface of the conductive particles, There is also a problem that the conductivity is easily lost after the connection between the electrodes.
  • the object of the present invention is that the conductive layer is less likely to rust, can maintain high conductivity over a long period of time, and therefore, when used for connection between electrodes, the conductivity with insulating particles that can improve the reliability of conduction. It is providing the manufacturing method of electroconductive particle with particle
  • the limited object of the present invention is to provide conductive particles with insulating particles in which the insulating particles are not easily detached from the surface of the conductive particles, a method for producing the conductive particles with insulating particles, and the conductive particles with insulating particles.
  • An anisotropic conductive material using particles and a connection structure are provided.
  • the conductive particle body with insulating particles having conductive particles having a conductive layer at least on the surface, and insulating particles adhering to the surface of the conductive particles, and the insulating property There is provided a conductive particle with insulating particles, comprising a coating film covering the surface of the conductive particle body with particles, wherein the coating film is formed of a compound having an alkyl group having 6 to 22 carbon atoms. .
  • the insulating particles include inorganic particles.
  • the compound having an alkyl group having 6 to 22 carbon atoms is a phosphate ester or a salt thereof, a phosphite ester or a salt thereof, an alkoxysilane. , At least one selected from the group consisting of alkylthiols and dialkyl disulfides.
  • the insulating particles cover the insulating particle main body and at least a part of the surface of the insulating particle main body, And a layer formed of a polymer compound.
  • the polymer compound is not attached to a portion other than the portion to which the insulating particles are attached on the surface of the conductive particles.
  • the polymer compound is at least one reactive functional group selected from the group consisting of a (meth) acryloyl group, a glycidyl group, and a vinyl group. Has a group.
  • the insulating particles are not attached to the surface of the conductive particles by a hybridization method.
  • the conductive particles with insulating particles are treated with a 5% by weight aqueous citric acid solution to peel the coating film, thereby including a peeled coating film.
  • the filtrate obtained by filtering the treatment liquid contains 50 to 10,000 ppm of phosphorus element or silicon element.
  • the conductive particles with insulating particles are treated with a 5% by weight aqueous citric acid solution to peel the coating film, thereby including a peeled coating film.
  • the filtrate obtained by filtering the treatment liquid contains 50 to 10,000 ppm of phosphorus element.
  • the filtrate obtained by filtering the treatment liquid contains 50 to 10,000 ppm of phosphorus element or silicon element.
  • a treatment liquid containing the peeled film is obtained, and then the treatment liquid is filtered.
  • the obtained filtrate preferably contains 50 to 10,000 ppm of phosphorus element.
  • connection structure includes a first connection target member, a second connection target member, and a connection portion connecting the first and second connection target members, and the connection The portion is formed of conductive particles with insulating particles configured according to the present invention, or is formed of an anisotropic conductive material including the conductive particles with insulating particles and a binder resin.
  • the conductive particle body on the surface of the conductive particle body with insulating particles having conductive particles having a conductive layer at least on the surface, and insulating particles adhering to the surface of the conductive particles. Also provided is a method for producing conductive particles with insulating particles, which uses a compound having an alkyl group having 6 to 22 carbon atoms to form a film so as to cover the surface of the conductive particle body with insulating particles.
  • the conductive particle body with insulating particles has a hydroxyl group in at least a part of the surface, and the conductive particles with insulating particles A film is formed so as to cover the surface of the conductive particle body with insulating particles by reacting a hydroxyl group on the surface of the conductive particle body with a compound having a hydroxyl group and an alkyl group having 6 to 22 carbon atoms.
  • the anisotropic conductive material according to the present invention includes conductive particles with insulating particles configured according to the present invention and a binder resin, or is obtained by the method for producing conductive particles with insulating particles according to the present invention.
  • the anisotropic conductive material according to the present invention is preferably an anisotropic conductive paste.
  • the surface of the conductive particle body with insulating particles is coated with a coating, and the coating is formed of a compound having an alkyl group having 6 to 22 carbon atoms. Therefore, rust hardly occurs in the conductive layer.
  • the conductive particles with insulating particles are formed using a compound having an alkyl group having 6 to 22 carbon atoms on the surface of the conductive particle body with insulating particles. Since the coating is formed so as to cover the surface of the particle body, it is possible to obtain conductive particles with insulating particles that hardly cause rust in the conductive layer.
  • the gap between the electrodes is determined. When connected, the conduction reliability between the electrodes can be enhanced.
  • the conductive particles with insulating particles according to the present invention have a coating attached to the surface of the conductive particle body with insulating particles, and the conductive particles with insulating particles are further mixed with a 5 wt% aqueous citric acid solution.
  • the treatment liquid containing the peeled film is obtained by treating and peeling the coating film, and the filtrate obtained by filtering the treatment liquid contains 50 to 10,000 ppm of phosphorus element or silicon element
  • rust hardly occurs in the conductive layer. Accordingly, when the electrodes are connected using the conductive particles with insulating particles according to the present invention, the conduction reliability between the electrodes can be improved.
  • FIG. 1 is a cross-sectional view showing conductive particles with insulating particles according to the first embodiment of the present invention.
  • FIG. 2 is a cross-sectional view showing conductive particles with insulating particles according to the second embodiment of the present invention.
  • FIG. 3 is a cross-sectional view showing conductive particles with insulating particles according to the third embodiment of the present invention.
  • FIG. 4 is a sectional view showing conductive particles with insulating particles according to the fourth embodiment of the present invention.
  • FIG. 5 is a front cross-sectional view schematically showing a connection structure using the conductive particles with insulating particles shown in FIG. 1.
  • FIG. 6 is a cross-sectional view showing a conventional conductive particle with insulating particles using a hybridization method.
  • FIG. 1 is a sectional view showing conductive particles with insulating particles according to the first embodiment of the present invention.
  • a conductive particle 1 with insulating particles shown in FIG. 1 includes a conductive particle body 2 with insulating particles and a coating 3 covering the surface of the conductive particle body 2 with insulating particles.
  • the coating 3 is attached to the surface of the conductive particle body 2 with insulating particles.
  • the coating 3 covers the entire surface of the conductive particle body 2 with insulating particles.
  • the conductive particle body 2 with insulating particles includes conductive particles 11 and a plurality of insulating particles 15 attached to the surface of the conductive particles 11.
  • the insulating particles 15 are formed of an insulating material.
  • the coating 3 covers the surface of the conductive particles 11 and the surface of the insulating particles 15.
  • the coating 3 portion covering the surface of the conductive particles 11 and the coating 3 portion covering the surface of the insulating particles 15 are continuous.
  • the conductive particles 11 have base material particles 12 and a conductive layer 13 provided on the surface of the base material particles 12.
  • the conductive layer 13 covers the surface of the base particle 12.
  • the conductive particles 11 are coated particles in which the surface of the base particle 12 is coated with the conductive layer 13.
  • the conductive particles 11 have a conductive layer 13 on the surface.
  • FIG. 2 is a sectional view showing conductive particles with insulating particles according to the second embodiment of the present invention.
  • the 2 includes a conductive particle body 22 with insulating particles and a coating 23 covering the surface of the conductive particle body 22 with insulating particles.
  • the coating 23 is attached to the surface of the conductive particle body 22 with insulating particles.
  • the conductive particle body 22 with insulating particles includes conductive particles 31 and a plurality of insulating particles 15 attached to the surface of the conductive particles 31.
  • the coating 23 covers the surface of the conductive particles 31 and the surface of the insulating particles 15.
  • the coating 23 portion covering the surface of the conductive particles 31 and the coating 23 portion covering the surface of the insulating particles 15 are continuous.
  • the conductive particles 31 include base material particles 12 and a conductive layer 32 provided on the surface of the base material particles 12.
  • the conductive particles 31 have a plurality of core substances 33 on the surface of the substrate particles 12.
  • the conductive layer 32 covers the base particle 12 and the core substance 33. By covering the core substance 33 with the conductive layer 32, the conductive particles 31 have a plurality of protrusions 34 on the surface.
  • the surface of the conductive layer 32 is raised by the core material 33, and a plurality of protrusions 34 are formed.
  • FIG. 3 is a sectional view showing conductive particles with insulating particles according to the third embodiment of the present invention.
  • a conductive particle body 42 with insulating particles is provided with a conductive particle body 42 with insulating particles and a coating 3 covering the surface of the conductive particle body 42 with insulating particles.
  • the conductive particle body 42 with insulating particles includes the conductive particles 11 and a plurality of insulating particles 45 attached to the surface of the conductive particles 11. That is, except that the insulating particles are different, the conductive particles 41 with insulating particles are configured in the same manner as the conductive particles 1 with insulating particles, and the conductive particle body 42 with insulating particles is insulative. It is comprised similarly to the electroconductive particle main body 2 with a particle.
  • the insulating particles 45 have an insulating particle main body 45a and a layer 45b that covers the surface of the insulating particle main body 45a and is formed of a polymer compound. Due to the presence of the layer 45b, the adhesion of the insulating particles 45 to the conductive particles 11 can be appropriately increased.
  • the layer 45b covers the entire surface of the insulating particle main body 45a. Therefore, the layer 45b is disposed between the conductive particles 11 and the insulating particle main body 45a.
  • the layer 45b may be present so as to cover at least a part of the surface of the insulating particle main body, and may not cover the entire surface of the insulating particle main body.
  • the layer 45b is preferably disposed between the conductive particles and the insulating particle main body.
  • FIG. 4 is a sectional view showing conductive particles with insulating particles according to the fourth embodiment of the present invention.
  • the 4 includes an insulating particle main body 62 and a coating 23 covering the surface of the conductive particle main body 62 with insulating particles.
  • the coating 23 is attached to the surface of the conductive particle body 62 with insulating particles.
  • the conductive particle body 62 with insulating particles includes conductive particles 71 and a plurality of insulating particles 15 attached to the surface of the conductive particles 71.
  • the conductive particles 71 have base material particles 12 and a conductive layer 76 provided on the surface of the base material particles 12.
  • the conductive layer 76 includes a first conductive layer 76a provided on the surface of the base particle 12 and a second conductive layer 76b provided on the surface of the first conductive layer 76a.
  • the conductive particles 71 have a plurality of core substances 33 on the surface of the first conductive layer 76a.
  • the second conductive layer 76 b covers the first conductive layer 76 a and the core material 33.
  • the substrate particles 12 and the core substance 33 are arranged with a space therebetween.
  • a first conductive layer 76 a exists between the base particle 12 and the core substance 33.
  • the conductive particles 71 By covering the core substance 33 with the second conductive layer 76b, the conductive particles 71 have a plurality of protrusions 77 on the surface.
  • the surfaces of the conductive layer 76 and the second conductive layer 76 b are raised by the core material 33, and a plurality of protrusions 77 are formed.
  • the surfaces of the conductive particle bodies 2, 22, 42, 62 with insulating particles are coated with coatings 3, 23, and the coatings 3, 23 are formed of a compound having an alkyl group having 6 to 22 carbon atoms. Preferably it is. Thereby, it becomes difficult to produce rust in the conductive layers 13, 32, 76 in the conductive particles 1, 21, 41, 61 with insulating particles.
  • the coatings 3 and 23 provide a rust prevention effect. For this reason, the electroconductivity of the electroconductive particle in the electroconductive particle with an insulating particle becomes high, and can maintain high electroconductivity over a long period of time. Therefore, when the electrodes are connected using the conductive particles with insulating particles 1, 21, 41, 61, the conduction reliability can be improved.
  • the process liquid containing the peeled coating 3 and 23 was obtained by processing the electroconductive particle 1,21,41,61 with an insulating particle with 5 weight% citric acid aqueous solution, and peeling the coating 3 and 23. Thereafter, the filtrate obtained by filtering the treatment liquid preferably contains 50 to 10,000 ppm of phosphorus element or silicon element. Thereby, it becomes difficult to produce rust in the conductive layers 13, 32, 76 in the conductive particles 1, 21, 41, 61 with insulating particles. For this reason, the electroconductivity of the electroconductive particle in the electroconductive particle with an insulating particle becomes high, and can maintain high electroconductivity over a long period of time. Therefore, when the electrodes are connected using the conductive particles with insulating particles 1, 21, 41, 61, the conduction reliability can be improved.
  • the conductive particles with insulating particles 1, 21, 41, 61 are treated with a 5% by weight citric acid aqueous solution to peel off the coatings 3, 23.
  • the filtrate obtained by obtaining the treatment liquid containing the peeled films 3 and 23 and then filtering the treatment liquid preferably contains 50 to 10,000 ppm of phosphorus element.
  • the conductive particles with insulating particles 1, 21, 41, 61 are treated with a 5% by weight citric acid aqueous solution, and the coatings 3, 23 are peeled off.
  • the filtrate obtained by filtering the treatment liquid preferably contains 50 to 10,000 ppm of silicon element.
  • the content of silicon element or phosphorus element in the filtrate is more preferably 100 ppm or more, more preferably 5000 ppm or less, and still more preferably 1000 ppm or less.
  • the contents of the phosphorus element and silicon element can be measured using an ICP emission spectrometer.
  • ICP emission analyzers include “ULTIMA2” manufactured by HORIBA, Ltd.
  • the contents of the phosphorus element and the silicon element are usually determined by the coatings 3, 23. That is, the contents of the phosphorus element and the silicon element indicate the ratio of the phosphorus element and the silicon element in the coatings 3 and 23.
  • the coatings 3, 23 are preferably attached to the surfaces of the conductive particle bodies 2, 22, 42, 62 with insulating particles.
  • the coatings 3, 23 preferably cover the entire surface of the conductive particle bodies 2, 22, 42, 62 with insulating particles.
  • the coatings 3 and 23 do not necessarily have to cover the entire surfaces of the conductive particle bodies 2, 22, 42 and 62 with insulating particles.
  • the rust of the conductive layers 23, 32, 76 is caused in the portions where the coatings 3, 23 are formed. Can be suppressed.
  • the presence of the coatings 3 and 23 makes it difficult for the conductive particles 1, 21, 41 and 61 with insulating particles to be detached from the surfaces of the conductive particles 11, 31 and 71.
  • the conductive particles with insulating particles 1, 21, 41, 61 are added to the binder resin and kneaded, the insulating particles 15, 45 are not easily detached from the surfaces of the conductive particles 11, 31, 71.
  • the insulating particles 15, 45 are detached from the surfaces of the conductive particles 11, 31, 71 due to an impact at the time of contact. hard.
  • the conductive particles with insulating particles 1, 21, 41, 61 are used for connection between the electrodes, the insulating particles 15, 45 exist between the adjacent conductive particles 11, 31, 71. Therefore, it is difficult to electrically connect adjacent electrodes that should not be connected.
  • the coating is preferably formed of a compound having an alkyl group having 6 to 22 carbon atoms (hereinafter also referred to as compound A). Rust tends to occur on the surface of the conductive layer when the alkyl group has less than 6 carbon atoms. When carbon number of the said alkyl group exceeds 22, the electroconductivity of the electroconductive particle with an insulating particle will become low. From the viewpoint of further increasing the conductivity of the conductive particles with insulating particles, the alkyl group in the compound A preferably has 16 or less carbon atoms.
  • the alkyl group may have a linear structure or a branched structure.
  • the alkyl group preferably has a linear structure.
  • the compound A is not particularly limited as long as it has an alkyl group having 6 to 22 carbon atoms.
  • the compound A has a phosphate ester having an alkyl group having 6 to 22 carbon atoms or a salt thereof, a phosphite ester having an alkyl group having 6 to 22 carbon atoms or a salt thereof, and an alkyl group having 6 to 22 carbon atoms. It is preferably at least one selected from the group consisting of alkoxysilanes, alkylthiols having an alkyl group having 6 to 22 carbon atoms, and dialkyl disulfides having an alkyl group having 6 to 22 carbon atoms.
  • the compound A having an alkyl group having 6 to 22 carbon atoms is at least one selected from the group consisting of phosphate esters or salts thereof, phosphites or salts thereof, alkoxysilanes, alkylthiols, and dialkyl disulfides. It is preferable that By using these preferable compounds A, it is possible to further prevent rust from being generated in the conductive layer.
  • the compound A is preferably at least one selected from the group consisting of the phosphate ester or a salt thereof, a phosphite ester or a salt thereof and an alkoxysilane, More preferably, the phosphoric acid ester or a salt thereof and a phosphorous acid ester or a salt thereof are at least one of them.
  • the said compound A only 1 type may be used and 2 or more types may be used together.
  • the compound A preferably has a reactive functional group capable of reacting with conductive particles.
  • the compound A preferably has a reactive functional group capable of reacting with insulating particles.
  • the coating is preferably chemically bonded to the conductive particle body with insulating particles.
  • the coating is preferably chemically bonded to the conductive particles.
  • the coating is preferably chemically bonded to the insulating particles. More preferably, the coating is chemically bonded to the conductive particles and the insulating particles.
  • the presence of the reactive functional group and the chemical bond make it difficult for the coating to peel off. As a result, rust is less likely to occur in the conductive layer, and the insulating particles are more difficult to be detached from the surface of the conductive particles unintentionally.
  • Examples of the phosphate ester having an alkyl group having 6 to 22 carbon atoms or a salt thereof include, for example, hexyl phosphate, heptyl phosphate, monooctyl phosphate, monononyl phosphate, monodecyl phosphate, Monoundecyl phosphate, monododecyl phosphate, monotridecyl phosphate, monotetradecyl phosphate, monopentadecyl phosphate, monohexyl phosphate monosodium salt, monoheptyl phosphate monosodium Salt, monooctyl phosphate monosodium salt, monononyl phosphate monosodium salt, monodecyl phosphate monosodium salt, monoundecyl phosphate monosodium salt, monododecyl phosphate monosodium salt Phosphoric acid mono-tridecyl ester monosodium salt,
  • Examples of the phosphite having a C 6-22 alkyl group or a salt thereof include, for example, hexyl phosphite, heptyl phosphite, monooctyl phosphite, monononyl phosphite, phosphite Phosphoric acid monodecyl ester, phosphorous acid monoundecyl ester, phosphorous acid monododecyl ester, phosphorous acid monotridecyl ester, phosphorous acid monotetradecyl ester, phosphorous acid monopentadecyl ester, phosphorous acid monohexyl Ester monosodium salt, phosphorous acid monoheptyl ester monosodium salt, phosphorous acid monooctyl ester monosodium salt, phosphorous acid monononyl ester monosodium salt, phosphorous acid monodecyl ester monosodium salt, phospho
  • alkoxysilane having an alkyl group having 6 to 22 carbon atoms examples include hexyltrimethoxysilane, hexyltriethoxysilane, heptyltrimethoxysilane, heptyltriethoxysilane, octyltrimethoxysilane, octyltriethoxysilane, nonyltri Methoxysilane, nonyltriethoxysilane, decyltrimethoxysilane, decyltriethoxysilane, undecyltrimethoxysilane, undecyltriethoxysilane, dodecyltrimethoxysilane, dodecyltriethoxysilane, tridecyltrimethoxysilane, tridecyltriethoxy Examples include silane, tetradecyltrimethoxysilane, tetradecyltriethoxysilane
  • alkylthiol having an alkyl group having 6 to 22 carbon atoms examples include hexylthiol, heptylthiol, octylthiol, nonylthiol, decylthiol, undecylthiol, dodecylthiol, tridecylthiol, tetradecylthiol, pentadecyl.
  • Examples include thiol and hexadecyl thiol.
  • the alkyl thiol preferably has a thiol group at the end of the alkyl chain.
  • dialkyl disulfide having an alkyl group having 6 to 22 carbon atoms examples include dihexyl disulfide, diheptyl disulfide, dioctyl disulfide, dinonyl disulfide, didecyl disulfide, diundecyl disulfide, didodecyl disulfide, ditridecyl disulfide, ditetradecyl disulfide. Examples include decyl disulfide, dipentadecyl disulfide, and dihexadecyl disulfide.
  • the conductive particles only need to have a conductive layer on at least the surface.
  • the conductive particles may be base particles and conductive particles having a conductive layer provided on the surface of the base particles, or may be metal particles that are conductive layers as a whole.
  • the base particles and the conductive material provided on the surface of the base particles are used. Conductive particles having a layer are preferred.
  • Examples of the substrate particles include resin particles, inorganic particles, organic-inorganic hybrid particles, and metal particles.
  • the base material particles are preferably resin particles formed of a resin.
  • the conductive particles with insulating particles are compressed by placing the conductive particles with insulating particles between the electrodes and then pressing them.
  • the substrate particles are resin particles, the conductive particles are easily deformed during the above-described pressure bonding, and the contact area between the conductive particles and the electrode can be increased. For this reason, the conduction
  • the resin for forming the resin particles examples include polyolefin resin, acrylic resin, phenol resin, melamine resin, benzoguanamine resin, urea resin, epoxy resin, unsaturated polyester resin, saturated polyester resin, polyethylene terephthalate, polysulfone, and polyphenylene.
  • examples thereof include oxides, polyacetals, polyimides, polyamideimides, polyetheretherketones, and polyethersulfones. Since the hardness of the base particles can be easily controlled within a suitable range, the resin for forming the resin particles is a polymer obtained by polymerizing one or more polymerizable monomers having an ethylenically unsaturated group. It is preferably a coalescence.
  • Examples of the inorganic material for forming the inorganic particles include silica and carbon black.
  • Examples of the organic / inorganic hybrid particles include organic / inorganic hybrid particles formed of a crosslinked alkoxysilyl polymer and an acrylic resin.
  • the substrate particles are metal particles
  • examples of the metal for forming the metal particles include silver, copper, nickel, silicon, gold, and titanium.
  • the metal for forming the conductive layer is not particularly limited. Furthermore, when the conductive particles are metal particles that are conductive layers as a whole, the metal for forming the metal particles is not particularly limited. Examples of the metal include gold, silver, palladium, copper, platinum, palladium, zinc, iron, tin, lead, aluminum, cobalt, indium, nickel, chromium, titanium, antimony, bismuth, thallium, germanium, cadmium, and silicon. And alloys thereof. Examples of the metal include tin-doped indium oxide (ITO) and solder. Especially, since the connection resistance between electrodes can be made still lower, an alloy containing tin, nickel, palladium, copper or gold is preferable, and nickel or palladium is preferable.
  • ITO tin-doped indium oxide
  • the coating effect of the coating is more remarkable.
  • rust is relatively likely to occur on the surface of the conductive layer.
  • the said conductive layer may contain nickel, copper, or tin.
  • hydroxyl groups often exist on the surface of the conductive layer due to oxidation.
  • hydroxyl groups are present on the surface of a conductive layer formed of nickel by oxidation.
  • Such a conductive layer having a hydroxyl group is chemically bonded to the coating.
  • the conductive layer is formed of one layer.
  • the conductive layer may be formed of a plurality of layers. That is, the conductive layer may have a stacked structure of two or more layers.
  • the outermost layer is preferably a gold layer, a nickel layer, a palladium layer, a copper layer, or an alloy layer containing tin and silver, and is a gold layer. Is more preferable.
  • the connection resistance between the electrodes can be further reduced.
  • the corrosion resistance can be further enhanced.
  • the method for forming the conductive layer on the surface of the substrate particles is not particularly limited.
  • a method for forming the conductive layer for example, a method by electroless plating, a method by electroplating, a method by physical vapor deposition, and a method of coating the surface of base particles with metal powder or a paste containing metal powder and a binder Etc.
  • the method by electroless plating is preferable.
  • the method by physical vapor deposition include methods such as vacuum vapor deposition, ion plating, and ion sputtering.
  • the average particle diameter of the conductive particles is preferably in the range of 0.5 to 100 ⁇ m.
  • the average particle diameter of the conductive particles is more preferably 1 ⁇ m or more, and more preferably 20 ⁇ m or less.
  • the contact area between the conductive particles and the electrodes is sufficiently large when the electrodes are connected using the conductive particles with insulating particles.
  • the “average particle size” of the conductive particles indicates a number average particle size.
  • the average particle diameter of the conductive particles can be obtained by observing 50 arbitrary conductive particles with an electron microscope or an optical microscope and calculating an average value.
  • the thickness of the conductive layer is preferably in the range of 0.005 to 1 ⁇ m.
  • the thickness of the conductive layer is more preferably 0.01 ⁇ m or more, and more preferably 0.3 ⁇ m or less.
  • the thickness of the conductive layer is not less than the above lower limit and not more than the above upper limit, sufficient conductivity can be obtained, and the conductive particles do not become too hard, and the conductive particles are sufficiently bonded at the time of connection between the electrodes. Can be deformed.
  • the thickness of the outermost conductive layer is in the range of 0.001 to 0.5 ⁇ m, particularly when the outermost layer is a gold layer. It is preferable that A more preferable lower limit of the thickness of the outermost conductive layer is 0.01 ⁇ m, and a more preferable upper limit is 0.1 ⁇ m.
  • the thickness of the outermost conductive layer is not less than the above lower limit and not more than the above upper limit, the coating with the outermost conductive layer can be made uniform, corrosion resistance can be sufficiently enhanced, and the connection resistance between the electrodes can be increased. It can be made sufficiently low. Further, the thinner the gold layer when the outermost layer is a gold layer, the lower the cost.
  • the thickness of the conductive layer can be measured by observing the cross section of the conductive particles or the conductive particles with insulating particles using, for example, a transmission electron microscope (TEM).
  • TEM transmission electron microscope
  • the conductive particles preferably have protrusions on the surface of the conductive layer, and the protrusions are preferably plural.
  • An oxide film is often formed on the surface of the electrode connected by the conductive particles with insulating particles.
  • the oxide film can be effectively eliminated by the protrusions by disposing the conductive particles between the electrodes and pressing them. For this reason, an electrode and a conductive layer can be contacted still more reliably and the connection resistance between electrodes can be made low.
  • the insulating particles between the conductive particles and the electrodes can be effectively eliminated by the protrusions of the conductive particles. For this reason, the conduction
  • a method of forming a conductive layer by electroless plating after attaching a core substance to the surface of the base particles, and by electroless plating on the surface of the base particles examples include forming a conductive layer, then attaching a core substance, and further forming a conductive layer by electroless plating.
  • a conductive substance that becomes the core substance is added to the dispersion of the base particle, and the core substance is applied to the surface of the base particle, for example, a fan.
  • the method of making a core substance accumulate and adhere on the surface of the base particle in a dispersion liquid is preferable.
  • the conductive particles may have a first conductive layer on the surface of the base particle, and may have a second conductive layer on the first conductive layer.
  • a core substance may be attached to the surface of the first conductive layer.
  • the core material is preferably covered with a second conductive layer.
  • the thickness of the first conductive layer is preferably in the range of 0.05 to 0.5 ⁇ m.
  • the conductive particles form a first conductive layer on the surface of the base particle, and then a core material is deposited on the surface of the first conductive layer, and then the first conductive layer and the core material are formed. It is preferably obtained by forming a second conductive layer on the surface.
  • Examples of the conductive substance constituting the core substance include metals, metal oxides, conductive nonmetals such as graphite, and conductive polymers.
  • Examples of the conductive polymer include polyacetylene. Among them, metal is preferable because conductivity can be increased.
  • the metal examples include gold, silver, copper, platinum, zinc, iron, lead, tin, aluminum, cobalt, indium, nickel, chromium, titanium, antimony, bismuth, germanium and cadmium, and tin-lead.
  • examples thereof include alloys composed of two or more metals such as alloys, tin-copper alloys, tin-silver alloys, and tin-lead-silver alloys. Of these, nickel, copper, silver or gold is preferable.
  • the metal constituting the core material may be the same as or different from the metal constituting the conductive layer.
  • the shape of the core substance is not particularly limited.
  • the shape of the core substance is preferably a lump.
  • Examples of the core substance include a particulate lump, an agglomerate in which a plurality of fine particles are aggregated, and an irregular lump.
  • the insulating particles are particles having insulating properties. Insulating particles are smaller than conductive particles. When the electrodes are connected using conductive particles with insulating particles, the insulating particles can prevent a short circuit between adjacent electrodes. Specifically, when the conductive particles with a plurality of insulating particles are in contact with each other, there are insulating particles between the conductive particles in the conductive particles with a plurality of insulating particles. Short circuit between the electrodes adjacent in the lateral direction can be prevented. Note that the insulating particles between the conductive layer and the electrode can be easily excluded by pressurizing the conductive particles with insulating particles with the two electrodes when connecting the electrodes. In the case where protrusions are provided on the surface of the conductive particles, the insulating particles between the conductive layer and the electrode can be more easily eliminated.
  • the material constituting the insulating particles includes an insulating resin and an insulating inorganic substance.
  • said insulating resin the said resin quoted as resin for forming the resin particle which can be used as a base particle is mentioned.
  • As said insulating inorganic substance the said inorganic substance quoted as an inorganic substance for forming the inorganic particle which can be used as a base particle is mentioned.
  • the insulating resin that is the material of the insulating particles include polyolefins, (meth) acrylate polymers, (meth) acrylate copolymers, block polymers, thermoplastic resins, crosslinked thermoplastic resins, heat Examples thereof include curable resins and water-soluble resins.
  • thermoplastic resin examples include vinyl polymers and vinyl copolymers.
  • thermosetting resin an epoxy resin, a phenol resin, a melamine resin, etc.
  • water-soluble resin examples include polyvinyl alcohol, polyacrylic acid, polyacrylamide, polyvinyl pyrrolidone, polyethylene oxide, and methyl cellulose. Of these, water-soluble resins are preferable, and polyvinyl alcohol is more preferable.
  • the insulating particles preferably include inorganic particles, and are preferably silica particles.
  • the insulating particles do not have a layer formed of the above polymer compound on the surface, the insulating particles are preferably inorganic particles, and are preferably silica particles.
  • the insulating particle body is preferably inorganic particles, and is preferably silica particles.
  • the inorganic particles include shirasu particles, hydroxyapatite particles, magnesia particles, zirconium oxide particles, and silica particles.
  • the insulating particles preferably include silica particles, and the inorganic particles are preferably silica particles.
  • the silica particles include pulverized silica and spherical silica, and spherical silica is preferably used.
  • the silica particles preferably have a functional group capable of chemical bonding such as a carboxyl group and a hydroxyl group on the surface, and more preferably have a hydroxyl group.
  • Inorganic particles are relatively hard, especially silica particles are relatively hard.
  • the conductive particle body with insulating particles having such hard insulating particles when used, when the conductive particle body with insulating particles and the binder resin are kneaded, the surface of the conductive particles is hard. Insulating particles are easily detached. However, when the conductive particles with insulating particles according to the present invention are used, even if hard insulating particles are used, the hard insulating particles can be prevented from being detached by the coating during the kneading. .
  • the layer formed of the polymer compound serves as a flexible layer, for example.
  • the polymer compound in the layer formed of the polymer compound or the compound that becomes the polymer compound by polymerization or the like is preferably a compound having a polymerizable reactive functional group.
  • the polymerizable reactive functional group is preferably an unsaturated double bond.
  • a compound having an unsaturated double bond (a compound that becomes a polymer compound) may be subjected to a polymerization reaction on the surface of the insulating particle main body, and the reactive functional group on the surface of the polymer compound and the insulating particle main body. And may be reacted.
  • the polymer compound or the compound to be the polymer compound include a compound having a (meth) acryloyl group, a compound having an epoxy group, and a compound having a vinyl group.
  • the polymer compound or the compound to be the polymer compound is (meth) It preferably has at least one reactive functional group selected from the group consisting of an acryloyl group, a glycidyl group and a vinyl group.
  • the polymer compound or the compound to be the polymer compound preferably has a (meth) acryloyl group.
  • Specific examples of the compound having the (meth) acryloyl group include methacrylic acid, hydroxyethyl acrylate, and ethylene glycol dimethacrylate.
  • epoxy compound examples include bisphenol A type epoxy resin and resorcinol glycidyl ether.
  • Specific examples of the compound having a vinyl group include styrene and vinyl acetate.
  • the weight average molecular weight of the polymer compound is preferably 1000 or more.
  • the upper limit of the weight average molecular weight of the polymer compound is not particularly limited, but the polymer compound preferably has a weight average molecular weight of 20000 or less.
  • the weight average molecular weight indicates a value in terms of polystyrene measured by gel permeation chromatography (GPC).
  • the method for forming the layer formed of the above polymer compound on the surface of the insulating particles is not particularly limited. Using a polymer compound or a compound that becomes a polymer compound so as to cover at least a part of the surface of the insulating particle main body, a layer formed of the polymer compound is formed to obtain insulating particles. preferable.
  • a method for forming a layer formed of the above polymer compound a compound having a reactive double bond and a hydroxyl group on an insulating particle body having a reactive functional group such as a vinyl group on the surface is used as the insulating particle. Examples thereof include a method of polymerizing on the surface of the main body. However, methods other than this forming method may be used.
  • the insulating particle body and the layer are chemically bonded.
  • This chemical bond includes a covalent bond, a hydrogen bond, an ionic bond, a coordination bond, and the like. Of these, a covalent bond is preferable, and a chemical bond using a reactive functional group is preferable.
  • Examples of the reactive functional group forming the chemical bond include a vinyl group, (meth) acryloyl group, silane group, silanol group, carboxyl group, amino group, ammonium group, nitro group, hydroxyl group, carbonyl group, and thiol group.
  • a vinyl group and a (meth) acryloyl group are preferable.
  • the insulating particle body having a reactive functional group on the surface is preferable.
  • the insulating particles subjected to surface treatment using a compound having a reactive functional group as the insulating particle main body is preferable to use a particle body.
  • Examples of the reactive functional group on the surface of the insulating particle body include a (meth) acryloyl group, a glycidyl group, a hydroxyl group, a vinyl group, and an amino group.
  • the reactive functional group on the surface of the insulating particle body is at least one reactive functional group selected from the group consisting of a (meth) acryloyl group, a glycidyl group, a hydroxyl group, a vinyl group, and an amino group. Is preferred.
  • Examples of the compound (surface treatment substance) for introducing the reactive functional group onto the surface of the insulating particle body include a compound having a (meth) acryloyl group, a compound having an epoxy group, and a compound having a vinyl group. It is done.
  • a silane compound having a vinyl group As a compound (surface treatment substance) for introducing a vinyl group as the reactive functional group onto the surface of the insulating particle body, a silane compound having a vinyl group, a titanium compound having a vinyl group, and a vinyl group are used.
  • the phosphoric acid compound etc. which have are mentioned.
  • the surface treatment substance is preferably a silane compound having a vinyl group.
  • Examples of the silane compound having a vinyl group include vinyltrimethoxysilane, vinyltriethoxysilane, vinyltriacetoxysilane, and vinyltriisopropoxysilane.
  • a silane compound having a (meth) acryloyl group and a (meth) acryloyl group And a phosphoric acid compound having a (meth) acryloyl group As a compound (surface treatment substance) for introducing the (meth) acryloyl group which is the reactive functional group onto the surface of the insulating particle main body, a silane compound having a (meth) acryloyl group and a (meth) acryloyl group And a phosphoric acid compound having a (meth) acryloyl group.
  • the surface treatment substance is also preferably a silane compound having a (meth) acryloyl group.
  • silane compound having a (meth) acryloyl group examples include (meth) acryloxypropyltriethoxysilane, (meth) acryloxypropyltrimethoxysilane, (meth) acryloxypropyltridimethoxysilane, and the like.
  • the insulating particles are not formed by friction by mixing using the insulating particle body and the polymer compound or the compound to be the polymer compound. Moreover, it is preferable that the surface of the insulating particle body is not covered with the layer using a hybridization method.
  • the layer is easily detached from the surface of the insulating particle body.
  • the fragments of the layer formed during kneading easily adhere to the surface of the insulating particles. For this reason, a layer or a fragment of the layer detached on the surface of the conductive layer of the conductive particles with insulating particles tends to adhere, and the conduction reliability in the connection structure tends to decrease.
  • the insulating particles are not formed by friction due to mixing. It is preferable not to use a hybridization method.
  • the amount of the polymer compound or the compound that becomes the polymer is preferably 30 parts by weight or more, more preferably 50 parts by weight or more, preferably 100 parts by weight of the insulating particle body. Is 500 parts by weight or less, more preferably 300 parts by weight or less.
  • a favorable layer can be formed as the usage-amount of the said high molecular compound is more than the said minimum and below the said upper limit.
  • Examples of specific production conditions for the layer formed of the polymer compound include the following production conditions.
  • a solvent such as water
  • 1 to 3 parts by weight of an insulating particle body having a reactive functional group on the surface and 0.1 to 20 parts by weight of a compound having a reactive double bond and a hydroxyl group
  • 0.01 to 5 parts by weight preferably 0.01 to 1 part by weight
  • a crosslinking agent preferably 0.01 to 1 part by weight
  • 0.1 to 5 parts by weight preferably 0.1 to 3 parts by weight
  • a dispersant preferably 0.1-3 parts by weight
  • the temperature is raised to a temperature higher than the reaction temperature of the thermal polymerization initiator in an oil bath, polymerization is started, and the state is maintained for 5 hours or longer to react. Thereafter, unreacted compounds are removed using a centrifuge to obtain insulating particles in which the surface of the insulating particle main body is covered with the layer.
  • Examples of methods for attaching insulating particles to the surfaces of the conductive particles and the conductive layer include chemical methods and physical or mechanical methods.
  • Examples of the chemical method include an interfacial polymerization method, a suspension polymerization method in the presence of particles, and an emulsion polymerization method.
  • Examples of the physical or mechanical method include spray drying, hybridization, electrostatic adhesion, spraying, dipping, and vacuum deposition.
  • the hybridization method tends to cause the detachment of the insulating particles
  • the method of attaching the insulating particles to the surfaces of the conductive particles and the conductive layer is a method other than the hybridization method. Is preferred. Among these, a method of attaching the insulating particles to the surface of the conductive layer through a chemical bond is preferable because the insulating particles are not easily detached.
  • the insulating particles are not attached to the surface of the conductive particles by a hybridization method.
  • the portions 102 b other than the portions 102 a on the surface of the conductive particles 102 are attached to the portions 102 b.
  • the polymer compound 104 adheres. This is because in the hybridization method, a compressive shear force is applied, the insulating particles are repeatedly attached and detached, and the insulating particles are gradually attached.
  • the layer formed of the polymer compound of the insulating particles is peeled off by the compressive shearing force, and the peeled polymer compound is attached to a portion other than the portion where the insulating particles are attached on the surface of the conductive particles.
  • the polymer compound adhering to the portion other than the portion to which the insulating particles adhere on the surface of the conductive particles increases the volume resistivity of the conductive particles or decreases the connection resistance between the electrodes. Further, even when the surface of the conductive particles 101 with insulating particles shown in FIG. 6 is coated with a coating, the conductivity is low and the connection resistance between the electrodes tends to be low.
  • the conductive particles are put in 3 L of a solvent such as water, and the insulating particles are gradually added while stirring. After sufficiently stirring, the conductive particles with insulating particles are separated and dried by a vacuum dryer or the like to obtain conductive particles with insulating particles.
  • the conductive layer preferably has a reactive functional group capable of reacting with insulating particles on the surface, and preferably has a reactive functional group capable of reacting with the coating.
  • the insulating particles preferably have a reactive functional group capable of reacting with the conductive layer on the surface, and preferably have a reactive functional group capable of reacting with the coating.
  • the coating preferably has a reactive functional group capable of reacting with the conductive layer on the surface, and preferably has a functional group capable of reacting with the insulating particles.
  • the reactive functional group an appropriate group is selected in consideration of reactivity.
  • the reactive functional group include a hydroxyl group, a vinyl group, and an amino group. Since the reactivity is excellent, the reactive functional group is preferably a hydroxyl group.
  • the conductive particle body with insulating particles preferably has a hydroxyl group in at least a partial region of the surface.
  • the conductive particles preferably have a hydroxyl group on the surface.
  • the insulating particles preferably have a hydroxyl group on the surface.
  • the coating preferably has a hydroxyl group on the surface.
  • Examples of the compound having a hydroxyl group include a P—OH group-containing compound and a Si—OH group-containing compound.
  • Examples of the compound having a hydroxyl group for introducing a hydroxyl group on the surface of the insulating particles include a P—OH group-containing compound and a Si—OH group-containing compound.
  • P—OH group-containing compound examples include acid phosphooxyethyl methacrylate, acid phosphooxypropyl methacrylate, acid phosphooxypolyoxyethylene glycol monomethacrylate, and acid phosphooxypolyoxypropylene glycol monomethacrylate. Only one type of P—OH group-containing compound may be used, or two or more types may be used in combination.
  • Si—OH group-containing compound examples include vinyltrihydroxysilane and 3-methacryloxypropyltrihydroxysilane.
  • said Si-OH group containing compound only 1 type may be used and 2 or more types may be used together.
  • insulating particles having a hydroxyl group on the surface can be obtained by a treatment using a silane coupling agent.
  • silane coupling agent include hydroxytrimethoxysilane.
  • the above insulating property is obtained by using a compound having 6 to 22 carbon atoms (compound A) on the surface of the conductive particle body with insulating particles.
  • a film is formed so as to cover the surface of the conductive particle body with particles.
  • the method for forming a film on the surface of the conductive particle body with insulating particles using the compound A is not particularly limited, and a solution containing the compound A is attached to the surface of the conductive particle body with insulating particles. And the like.
  • the solvent in the solution containing the compound A is preferably water.
  • the solvent in the solution containing the compound A may contain tetrahydrofuran and organic solvents such as alcohols such as methanol, ethanol and propanol. After making the said solution adhere to the surface of the electroconductive particle main body with an insulating particle, a solvent is removed as needed.
  • the content of the compound A in the solution containing the compound A is appropriately adjusted so that a desired film is obtained.
  • the content of Compound A is preferably in the range of 0.5 to 3% by weight.
  • the reactive functional group capable of reacting with the compound A is present on the surface of the conductive layer or the surface of the insulating particles, the reactive functional group is reacted with the compound A, and the conductive layer
  • the compound A can be chemically bonded to the surface of the metal and the surface of the insulating particles.
  • Compound having conductive particle body with insulating particles having a hydroxyl group in at least a part of the surface, and a hydroxyl group on the surface of the conductive particle body with insulating particles having a C 6-22 alkyl group having a hydroxyl group It is preferable to form a film so as to coat the surface of the conductive particle body with insulating particles by reacting (hereinafter also referred to as compound A1). Further, the conductive particles have a hydroxyl group on the surface, and the film is formed so as to cover the surface of the conductive particle body with insulating particles by reacting the compound A1 with the hydroxyl group on the surface of the conductive particle. It is preferable.
  • the insulating particles have a hydroxyl group on the surface, and the coating is formed so as to cover the surface of the conductive particle body with insulating particles by reacting the compound A1 with the hydroxyl group on the surface of the insulating particles. . Furthermore, the surface of the conductive particles and the surface of the insulating particles each have a hydroxyl group, and the compound A1 is reacted with the hydroxyl groups on the surface of the conductive particles and the surface of the insulating particles, thereby conducting the conductive particles with insulating particles. It is preferable to form a coating so as to cover the surface of the main body.
  • the surface of the conductive layer can be sufficiently covered with the film, and the surface of the insulating particles can be sufficiently covered with the film. Therefore, rust is less likely to be generated in the conductive layer, the coating is difficult to peel off, and the insulating particles are not easily detached unintentionally.
  • the anisotropic conductive material according to the present invention includes the conductive particles with insulating particles of the present invention and a binder resin, or the insulating property obtained by the method for producing conductive particles with insulating particles of the present invention. It contains conductive particles with particles and a binder resin.
  • the conductive particles with insulating particles are used, since the surfaces of the insulating particles and the conductive particles are covered with a coating, when the conductive particles with insulating particles are dispersed in the binder resin, etc. Furthermore, it is difficult for the insulating particles to be detached from the surface of the conductive particles.
  • the binder resin is not particularly limited. In general, an insulating resin is used as the binder resin.
  • the binder resin include vinyl resins, thermoplastic resins, curable resins, thermoplastic block copolymers, and elastomers. As for the said binder resin, only 1 type may be used and 2 or more types may be used together.
  • Examples of the vinyl resin include vinyl acetate resin, acrylic resin, and styrene resin.
  • examples of the thermoplastic resin include polyolefin resin, ethylene-vinyl acetate copolymer, and polyamide resin.
  • examples of the curable resin include an epoxy resin, a urethane resin, a polyimide resin, and an unsaturated polyester resin.
  • the curable resin may be a room temperature curable resin, a thermosetting resin, a photocurable resin, or a moisture curable resin.
  • the curable resin may be used in combination with a curing agent.
  • thermoplastic block copolymer examples include a styrene-butadiene-styrene block copolymer, a styrene-isoprene-styrene block copolymer, a hydrogenated product of a styrene-butadiene-styrene block copolymer, and a styrene-isoprene. -Hydrogenated products of styrene block copolymers.
  • the elastomer examples include styrene-butadiene copolymer rubber and acrylonitrile-styrene block copolymer rubber.
  • the anisotropic conductive material includes, for example, a filler, an extender, a softener, a plasticizer, a polymerization catalyst, a curing catalyst, a colorant, and an antioxidant.
  • various additives such as a heat stabilizer, a light stabilizer, an ultraviolet absorber, a lubricant, an antistatic agent and a flame retardant may be contained.
  • the method for dispersing the conductive particles with insulating particles in the binder resin is not particularly limited, and a conventionally known dispersion method can be used.
  • Examples of a method for dispersing conductive particles with insulating particles in a binder resin include, for example, a method in which conductive particles with insulating particles are added to a binder resin and then kneaded and dispersed with a planetary mixer or the like.
  • Conductive particles with particles are uniformly dispersed in water or an organic solvent using a homogenizer or the like, then added to the binder resin, kneaded and dispersed with a planetary mixer, etc., and the binder resin is water or organic Examples include a method of adding conductive particles with insulating particles after diluting with a solvent or the like, and kneading and dispersing with a planetary mixer or the like.
  • the anisotropic conductive material according to the present invention can be used as an anisotropic conductive paste or an anisotropic conductive film.
  • a film that does not include conductive particles may be laminated on the anisotropic conductive film that includes the conductive particles. Good.
  • the anisotropic conductive material according to the present invention is preferably an anisotropic conductive paste.
  • An anisotropic conductive paste is excellent in handleability and circuit fillability. When obtaining an anisotropic conductive paste, a relatively large force is applied to the conductive particles with insulating particles, but the presence of the coating can prevent the insulating particles from detaching from the surface of the conductive particles. .
  • the content of the binder resin is preferably in the range of 10 to 99.99% by weight.
  • the content of the binder resin is more preferably 30% by weight or more, still more preferably 50% by weight or more, particularly preferably 70% by weight or more, and more preferably 99.9% by weight or more.
  • the conductive particles with insulating particles can be efficiently arranged between the electrodes, and the conduction reliability of the connection target member connected by the anisotropic conductive material Can be further increased.
  • the content of the conductive particles with insulating particles is preferably in the range of 0.01 to 20% by weight.
  • the content of the conductive particles with the upper insulating particles is more preferably 0.1% by weight or more, more preferably 20% by weight or less, and still more preferably 15% by weight or less.
  • the content of the conductive particles with insulating particles is not less than the above lower limit and not more than the above upper limit, the conduction reliability between the electrodes can be further enhanced.
  • connection structure By connecting the connection target members using the conductive particles with insulating particles of the present invention or using an anisotropic conductive material containing the conductive particles with insulating particles and a binder resin, a connection structure Can be obtained. Further, an anisotropic conductive material using the conductive particles with insulating particles obtained by the method for producing conductive particles with insulating particles of the present invention, or comprising the conductive particles with insulating particles and a binder resin A connection structure can be obtained by connecting the connection target members using the.
  • the connection structure includes a first connection target member, a second connection target member, and a connection portion that electrically connects the first and second connection target members.
  • the connection structure is preferably formed of conductive particles with insulating particles or formed of an anisotropic conductive material including the conductive particles with insulating particles and a binder resin.
  • the connecting portion itself is formed of conductive particles with insulating particles. That is, the first and second connection target members are electrically connected by the conductive particles in the conductive particles with insulating particles.
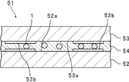
  • FIG. 5 is a cross-sectional view schematically showing a connection structure using the conductive particles 1 with insulating particles shown in FIG.
  • connection structure 51 shown in FIG. 5 includes a first connection target member 52, a second connection target member 53, and a connection portion 54 connecting the first and second connection target members 52 and 53.
  • the connection part 54 is formed of an anisotropic conductive material including the conductive particles 1 with insulating particles and a binder resin.
  • the conductive particles 1 with insulating particles are schematically shown. Instead of the conductive particles 1 with insulating particles, the conductive particles 21, 41, 61 with insulating particles may be used.
  • the first connection object member 52 has a plurality of electrodes 52b on the upper surface 52a.
  • the second connection target member 53 has a plurality of electrodes 53b on the lower surface 53a.
  • the electrode 52b and the electrode 53b are electrically connected by one or more conductive particles 1 with insulating particles. Therefore, the first and second connection target members 52 and 53 are electrically connected by the conductive particles 1 with insulating particles.
  • connection structure is not particularly limited.
  • the anisotropic conductive material is disposed between a first connection target member and a second connection target member to obtain a laminate, and then the laminate is heated and
  • the method of pressurizing is mentioned.
  • the pressurizing pressure is about 9.8 ⁇ 10 4 to 4.9 ⁇ 10 6 Pa.
  • the heating temperature is about 120 to 220 ° C.
  • the insulating particles 15 existing between the conductive particles 11 and the electrodes 52b and 53b can be eliminated.
  • the insulating particles 15 existing between the conductive particles 11 and the electrodes 52b and 53b are melted or deformed, so that the surface of the conductive particles 11 Is partially exposed.
  • some of the insulating particles 15 are peeled off from the surface of the conductive particles 11, and the surface of the conductive particles 11 is partially exposed.
  • the portion where the surface of the conductive particle 11 is exposed contacts the electrodes 52b and 53b, whereby the electrodes 52b and 53b can be electrically connected through the conductive particle 11.
  • connection target member examples include electronic components such as a semiconductor chip, a capacitor, and a diode, and circuit components such as a printed board, a flexible printed board, and a glass board.
  • the anisotropic conductive material is in a paste form, and is preferably applied on the connection target member in a paste state.
  • the conductive particles with insulating particles and the anisotropic conductive material are preferably used for connection of a connection target member that is an electronic component.
  • the conductive particles with insulating particles according to the present invention are particularly suitable for COG having a glass substrate and a semiconductor chip as connection target members, or FOG having a glass substrate and a flexible printed circuit board (FPC) as connection target members. Is done.
  • the conductive particles with insulating particles according to the present invention may be used for COG or FOG.
  • the first and second connection target members are preferably a glass substrate and a semiconductor chip, or a glass substrate and a flexible printed board.
  • the first and second connection target members may be a glass substrate and a semiconductor chip, or may be a glass substrate and a flexible printed board.
  • bumps are provided on a semiconductor chip used in a COG having a glass substrate and a semiconductor chip as connection target members.
  • the bump size is preferably an electrode area of 1000 ⁇ m 2 or more and 10,000 ⁇ m 2 or less.
  • the electrode space in the semiconductor chip provided with the bump (electrode) is preferably 30 ⁇ m or less, more preferably 20 ⁇ m or less, and still more preferably 10 ⁇ m or less.
  • the conductive particles with insulating particles according to the present invention are preferably used.
  • the electrode space is preferably 30 ⁇ m or less, more preferably 20 ⁇ m or less.
  • the electrode provided on the connection target member examples include metal electrodes such as a gold electrode, a nickel electrode, a tin electrode, an aluminum electrode, a copper electrode, a molybdenum electrode, and a tungsten electrode.
  • the electrode is preferably a gold electrode, a nickel electrode, a tin electrode, or a copper electrode.
  • the connection target member is a glass substrate, the electrode is preferably an aluminum electrode, a copper electrode, a molybdenum electrode, or a tungsten electrode.
  • the said electrode is an aluminum electrode, the electrode formed only with aluminum may be sufficient and the electrode by which the aluminum layer was laminated
  • the metal oxide include indium oxide doped with a trivalent metal element and zinc oxide doped with a trivalent metal element. Examples of the trivalent metal element include Sn, Al, and Ga.
  • Example 1 Conductive particles (average particle diameter: 3.01 ⁇ m, conductive layer thickness: 0.2 ⁇ m) having a metal layer having a nickel plating layer formed on the surface of divinylbenzene resin particles were prepared.
  • the surface of silica particles (average particle diameter 200 nm) produced using the sol-gel method was coated with hydroxytriethoxysilane to obtain insulating particles having hydroxyl groups on the surface.
  • the insulating particles were dispersed in 30 mL of pure water to obtain a dispersion containing insulating particles.
  • Example 2 The same conductive particles as those of Example 1 (average particle diameter of 3.01 ⁇ m, conductive layer thickness of 0.2 ⁇ m) were prepared.
  • silica particles (average particle diameter 200 nm) produced using the sol-gel method was coated with vinyltriethoxysilane, and insulating particles having vinyl groups on the surface were obtained as insulating particle bodies.
  • the mixture was cooled, solid-liquid separation was performed twice with a centrifuge, excess monomers were removed by washing, and insulating particles whose entire surface was coated with the polymer compound were obtained. Next, the obtained insulating particles were dispersed in 30 mL of pure water to obtain a dispersion of insulating particles.
  • the conductive particles with insulating particles were obtained in the same manner as in Example 1 except that the obtained conductive particle body with insulating particles was used.
  • the coating covered the surface of the conductive particles and the surface of the insulating particles.
  • the coating portion covering the surface of the conductive particles and the coating portion covering the surface of the insulating particles were continuous.
  • Example 3 The resin particles 10g were etched and then washed with water. Next, palladium sulfate was added to the resin particles to adsorb palladium ions to the resin particles. The resin particles to which palladium was attached were stirred and dispersed in 300 mL of ion exchange water for 3 minutes to obtain a dispersion. Next, 1 g of metallic nickel particle slurry (“2020SUS” manufactured by Mitsui Kinzoku Co., Ltd., average particle size 200 nm) was added to the dispersion over 3 minutes to obtain resin particles to which the core substance was adhered. A nickel layer was formed by electroless nickel plating on the surface of the resin particles to which the core substance adhered.
  • conductive particles were obtained in which the core material was adhered to the surface of the resin particles, and the surfaces of the resin particles and the core material were covered with the nickel layer.
  • the average particle diameter of the conductive particles was 3.02 ⁇ m, and the thickness of the conductive layer was 0.2 ⁇ m.
  • the conductive particles had protrusions on the surface.
  • Conductive particles with insulating particles were obtained in the same manner as in Example 1 except that the obtained conductive particles were used.
  • Example 4 Conductive particles with insulating particles were obtained in the same manner as in Example 1 except that monohexyl phosphate was changed to monooctyl phosphate.
  • Example 5 Conductive particles with insulating particles were obtained in the same manner as in Example 1 except that monohexyl phosphate was changed to monododecyl phosphate.
  • Example 6 Conductive particles with insulating particles were obtained in the same manner as in Example 1 except that the monohexyl phosphate was changed to monohexadecyl phosphate.
  • Example 7 Conductive particles with insulating particles were obtained in the same manner as in Example 1 except that the monohexyl phosphate was changed to hexyltriethoxysilane.
  • Example 8 Conductive particles with insulating particles were obtained in the same manner as in Example 1 except that the monohexyl phosphate was changed to octyltriethoxysilane.
  • Example 9 Conductive particles with insulating particles were obtained in the same manner as in Example 1 except that the monohexyl phosphate was changed to dodecyltriethoxysilane.
  • Example 10 Production of insulating particles: The surface of silica particles (average particle size 200 nm) produced using the sol-gel method was coated with vinyltriethoxysilane, and insulating particles having vinyl groups as reactive functional groups on the surface were obtained as insulating particle bodies. . Specifically, 10 parts by weight of silica particles were dispersed in 400 ml of a liquid in which water and ethanol were mixed at a weight ratio of 1: 9 using a three-one motor to obtain a first dispersion. Next, 0.1 part by weight of vinyltriethoxysilane was dispersed in 100 ml of a mixture of water and ethanol in a weight ratio of 1: 9 to obtain a second dispersion.
  • the second dispersion was dropped into the first dispersion over 10 minutes to obtain a mixed solution.
  • the resulting mixture was stirred for 30 minutes.
  • the mixed solution was filtered, dried at 100 ° C. for 2 hours, and then sieved to obtain an insulating particle body.
  • the mixture was cooled, solid-liquid separation was performed twice with a centrifuge, excess monomers were removed by washing, and insulating particles whose entire surface was coated with the polymer compound were obtained.
  • the obtained insulating particles were dispersed in 30 mL of pure water to obtain a dispersion containing insulating particles.
  • the average particle diameter of the insulating particles covered with the polymer compound in the state of the dispersion of the insulating particles was 324 nm.
  • Conductive particles with insulating particles were obtained in the same manner as in Example 1 except that the obtained dispersion containing insulating particles was used as the dispersion containing insulating particles.
  • Example 11 A dispersion containing insulating particles was obtained in the same manner as in Example 10 except that the polymer compound was changed to 2.5 parts by weight of methacrylic acid and 1.2 parts by weight of divinylbenzene.
  • the average particle diameter of the insulating particles coated with the polymer compound in the state of the dispersion of the insulating particles was 335 nm.
  • Conductive particles with insulating particles were obtained in the same manner as in Example 1 except that the obtained dispersion containing insulating particles was used as the dispersion containing insulating particles.
  • Example 12 The surface of the silica particles was coated with methacryloxypropyltriethoxysilane to obtain insulating particles having a methacryloyl group on the surface as the insulating particle body, and the compound to be a polymer compound was 2.2 parts by weight of vinyl acetate.
  • a dispersion containing insulating particles was obtained in the same manner as in Example 10 except that the amount was changed to 1.0 part by weight of N, N-methylenebisacrylamide.
  • the insulating particle body was obtained in the same manner as in Example 10 except that 10 parts by weight of silica particles and 0.1 part by weight of methacryloxypropyltriethoxysilane were used to obtain the insulating particle body. It was.
  • the average particle diameter of the insulating particles covered with the polymer compound in the state of the dispersion of the insulating particles was 326 nm.
  • Conductive particles with insulating particles were obtained in the same manner as in Example 1 except that the obtained dispersion containing insulating particles was used as the dispersion containing insulating particles.
  • Example 13 As conductive particles, nickel powder (100 nm) is attached as a core substance to the surface of divinylbenzene resin particles, and a nickel plating layer (conductive layer) is formed on the surface of divinylbenzene particles to which nickel powder is attached. Conductive particles with insulating particles were obtained in the same manner as in Example 1 except that the conductive particles (average particle size: 3.03 ⁇ m, conductive layer thickness: 0.21 ⁇ m) were used.
  • Example 14 A dispersion containing insulating particles was prepared in the same manner as in Example 10 except that the polymer compound was changed to 0.4 parts by weight of methacrylic acid and 0.05 parts by weight of ethylene glycol dimethacrylate. Obtained.
  • the average particle diameter of the insulating particles coated with the polymer compound in the state of dispersion of the insulating particles was 248 nm.
  • Conductive particles with insulating particles were obtained in the same manner as in Example 1 except that the obtained dispersion containing insulating particles was used as the dispersion containing insulating particles.
  • Example 15 Conductive particles with insulating particles were obtained in the same manner as in Example 2 except that the conductive particle body with insulating particles was obtained using the hybridization method.
  • Comparative Example 1 The electroconductive particle with an insulating particle which is the electroconductive particle main body with an insulating particle obtained in Example 1. That is, in Comparative Example 1, the conductive particle main body with insulating particles obtained in Example 1 was not formed on the conductive particle main body with insulating particles obtained in Example 1, and the insulating particle was used as an insulating particle. The following evaluation was performed using attached conductive particles.
  • Comparative Example 2 The electroconductive particle with an insulating particle which is the electroconductive particle main body with an insulating particle obtained in Example 2. That is, in Comparative Example 2, the conductive particle main body with insulating particles obtained in Example 2 was formed as insulating particles without forming a film on the conductive particle main body with insulating particles obtained in Example 2. The following evaluation was performed using attached conductive particles.
  • the content of phosphorus element or silicon element in the obtained filtrate was measured using an ICP emission spectrometer (“ULTIMA2” manufactured by Horiba, Ltd.).
  • connection structure Conductive particles with insulating particles of Examples and Comparative Examples were added to Mitsui Chemicals' “Struct Bond XN-5A”) so that the content would be 10% by weight, and dispersed. An anisotropic conductive paste was obtained.
  • a transparent glass substrate on which an ITO electrode pattern with L / S of 30 ⁇ m / 30 ⁇ m was formed was prepared. Further, a semiconductor chip was prepared in which a copper electrode pattern having L / S of 30 ⁇ m / 30 ⁇ m was formed on the lower surface.
  • the obtained anisotropic conductive paste was applied on the transparent glass substrate so as to have a thickness of 30 ⁇ m to form an anisotropic conductive paste layer.
  • the semiconductor chip was stacked on the anisotropic conductive paste layer so that the electrodes face each other.
  • a pressure heating head is placed on the upper surface of the semiconductor chip and a pressure of 1 MPa is applied to form the anisotropic conductive paste layer.
  • connection resistance between the electrodes was measured by the 4-terminal method in the same manner as described above.
  • “ ⁇ ” indicates that the average value of the connection resistance (after leaving) is The results are shown in Table 1 below, where “x” indicates a case where the temperature rose by 150% or more.
  • Example 15 since the physical / mechanical hybridization method is used, the portion where the polymer compound is attached to the portion other than the portion where the insulating particles are attached on the surface of the conductive particles. was there. Thus, if the polymer compound is attached to a portion other than the portion to which the insulating particles are attached on the surface of the conductive particles, the conduction reliability may be lowered depending on the case.
  • the anisotropic conductive paste using the conductive particles with insulating particles of Examples 1 to 15 was compared with the anisotropic conductive paste using the conductive particles with insulating particles of Comparative Examples 1 and 2.
  • the ratio of the insulating particles detached from the surface of the conductive particles was extremely small.
  • the anisotropic conductive paste using the conductive particles with insulating particles of Example 1 is more conductive than the anisotropic conductive paste using the conductive particles with insulating particles of Comparative Example 1.
  • the ratio of the insulating particles detached from the surface of was extremely small.
  • the anisotropic conductive paste using the conductive particles with insulating particles of Example 2 is more conductive than the anisotropic conductive paste using the conductive particles with insulating particles of Comparative Example 2.
  • the ratio of the insulating particles detached from the surface of was extremely small. This is thought to be because the conductive particles with insulating particles of Examples 1 to 15 are formed with a coating and thus the detachment of the insulating particles is suppressed.
  • the anisotropic conductive paste using the conductive particles with insulating particles of Example 2 is more conductive than the anisotropic conductive paste using the conductive particles with insulating particles of Example 1.
  • the ratio of the insulating particles detached from the surface of the film was small. This is probably because in the insulating particles of Example 2, the surface of the insulating particles was covered with a flexible layer formed of a polymer compound, so that the detachment of the insulating particles was suppressed.

Landscapes

  • Physics & Mathematics (AREA)
  • Chemical & Material Sciences (AREA)
  • Dispersion Chemistry (AREA)
  • Spectroscopy & Molecular Physics (AREA)
  • Engineering & Computer Science (AREA)
  • Computer Hardware Design (AREA)
  • Manufacturing & Machinery (AREA)
  • Microelectronics & Electronic Packaging (AREA)
  • Power Engineering (AREA)
  • Non-Insulated Conductors (AREA)
  • Conductive Materials (AREA)
  • Adhesives Or Adhesive Processes (AREA)
  • Powder Metallurgy (AREA)
PCT/JP2011/067069 2010-07-28 2011-07-27 絶縁性粒子付き導電性粒子、絶縁性粒子付き導電性粒子の製造方法、異方性導電材料及び接続構造体 Ceased WO2012014925A1 (ja)

Priority Applications (3)

Application Number Priority Date Filing Date Title
JP2011535748A JP5025825B2 (ja) 2010-07-28 2011-07-27 絶縁性粒子付き導電性粒子、異方性導電材料及び接続構造体
KR1020127027323A KR101242235B1 (ko) 2010-07-28 2011-07-27 절연성 입자 부착 도전성 입자, 절연성 입자 부착 도전성 입자의 제조 방법, 이방성 도전 재료 및 접속 구조체
CN201180022694.3A CN102884590B (zh) 2010-07-28 2011-07-27 带有绝缘性粒子的导电性粒子、带有绝缘性粒子的导电性粒子的制造方法、各向异性导电材料及连接结构体

Applications Claiming Priority (4)

Application Number Priority Date Filing Date Title
JP2010-169503 2010-07-28
JP2010-169502 2010-07-28
JP2010169503 2010-07-28
JP2010169502 2010-07-28

Publications (1)

Publication Number Publication Date
WO2012014925A1 true WO2012014925A1 (ja) 2012-02-02

Family

ID=45530129

Family Applications (1)

Application Number Title Priority Date Filing Date
PCT/JP2011/067069 Ceased WO2012014925A1 (ja) 2010-07-28 2011-07-27 絶縁性粒子付き導電性粒子、絶縁性粒子付き導電性粒子の製造方法、異方性導電材料及び接続構造体

Country Status (5)

Country Link
JP (4) JP5025825B2 (enExample)
KR (1) KR101242235B1 (enExample)
CN (1) CN102884590B (enExample)
TW (1) TWI381037B (enExample)
WO (1) WO2012014925A1 (enExample)

Cited By (16)

* Cited by examiner, † Cited by third party
Publication number Priority date Publication date Assignee Title
JPH0250858A (ja) * 1988-08-12 1990-02-20 Tokyo Electric Co Ltd 印刷装置
JP2013105537A (ja) * 2011-11-10 2013-05-30 Hitachi Chemical Co Ltd 撥水性導電粒子、異方導電材料及び導電接続構造体
WO2013108740A1 (ja) * 2012-01-19 2013-07-25 積水化学工業株式会社 導電性粒子、導電材料及び接続構造体
JP2014029857A (ja) * 2012-07-03 2014-02-13 Sekisui Chem Co Ltd 絶縁性粒子付き導電性粒子、導電材料及び接続構造体
JP2014067702A (ja) * 2012-09-06 2014-04-17 Sekisui Chem Co Ltd 絶縁性粒子付き導電性粒子、導電材料及び接続構造体
JP2014132569A (ja) * 2012-12-05 2014-07-17 Sekisui Chem Co Ltd 絶縁性粒子付き導電性粒子、絶縁性粒子付き導電性粒子の製造方法、導電材料及び接続構造体
JP2014241280A (ja) * 2013-05-14 2014-12-25 積水化学工業株式会社 導電性粒子、導電材料及び接続構造体
JP2015005499A (ja) * 2013-05-22 2015-01-08 積水化学工業株式会社 絶縁性粒子付き導電性粒子、導電材料及び接続構造体
JP2015007224A (ja) * 2013-05-29 2015-01-15 積水化学工業株式会社 突起粒子、導電性粒子、導電材料及び接続構造体
JP2015092475A (ja) * 2013-10-02 2015-05-14 積水化学工業株式会社 導電性粒子、導電材料及び接続構造体
JP2015109268A (ja) * 2013-10-21 2015-06-11 積水化学工業株式会社 導電性粒子、導電材料及び接続構造体
JP2015118932A (ja) * 2013-11-18 2015-06-25 積水化学工業株式会社 導電性粒子、導電材料及び接続構造体
JP2015118927A (ja) * 2013-11-12 2015-06-25 積水化学工業株式会社 導電性粒子、導電材料及び接続構造体
JP2015118931A (ja) * 2013-11-18 2015-06-25 積水化学工業株式会社 導電性粒子、導電材料及び接続構造体
JP2016085988A (ja) * 2014-10-28 2016-05-19 積水化学工業株式会社 絶縁性粒子付き導電性粒子、絶縁性粒子付き導電性粒子の製造方法、導電材料及び接続構造体
JP2020035544A (ja) * 2018-08-27 2020-03-05 日本化学工業株式会社 被覆粒子

Families Citing this family (10)

* Cited by examiner, † Cited by third party
Publication number Priority date Publication date Assignee Title
JP6119718B2 (ja) * 2013-11-19 2017-04-26 デクセリアルズ株式会社 異方導電性フィルム及び接続構造体
CN105324854A (zh) * 2014-01-08 2016-02-10 积水化学工业株式会社 背接触式的太阳能电池模块的制造方法
JPWO2015105119A1 (ja) * 2014-01-08 2017-03-23 積水化学工業株式会社 バックコンタクト方式の太陽電池モジュール用導電性粒子、導電材料及び太陽電池モジュール
CN105917418B (zh) * 2014-01-08 2018-02-13 积水化学工业株式会社 背接触式太阳能电池模块用导电性粒子、导电材料及太阳能电池模块
EP2942129B1 (de) * 2014-05-05 2017-07-05 Heraeus Deutschland GmbH & Co. KG Metallpaste und deren Verwendung zum Verbinden von Bauelementen
KR102545861B1 (ko) * 2014-10-29 2023-06-21 데쿠세리아루즈 가부시키가이샤 도전 재료
CN107615403B (zh) * 2015-09-24 2021-12-24 积水化学工业株式会社 导电性粒子、导电材料及连接结构体
JP6543421B2 (ja) * 2016-07-04 2019-07-10 株式会社鈴木 転写方法および実装方法
CN110520938B (zh) * 2017-05-08 2021-10-08 日本化学工业株式会社 包覆颗粒及其制造方法
JP7651875B2 (ja) 2021-02-18 2025-03-27 オムロン株式会社 入出力装置

Citations (5)

* Cited by examiner, † Cited by third party
Publication number Priority date Publication date Assignee Title
JPH03112011A (ja) * 1989-09-26 1991-05-13 Catalysts & Chem Ind Co Ltd 異方導電性材料、異方導電性接着剤およびその異方導電性接着剤を使用した電極間を電気的に接続する方法並びにその方法により形成される電気回路基板
JPH04259766A (ja) * 1991-02-14 1992-09-16 Hitachi Chem Co Ltd 回路の接続部材
JP2005209491A (ja) * 2003-09-29 2005-08-04 Sony Chem Corp 導電粒子及びこれを用いた異方導電性接着剤
JP2010103081A (ja) * 2008-03-27 2010-05-06 Sekisui Chem Co Ltd 導電性微粒子、異方性導電材料、及び、接続構造体
JP2010103080A (ja) * 2008-03-27 2010-05-06 Sekisui Chem Co Ltd 導電性微粒子、異方性導電材料、及び、接続構造体

Family Cites Families (3)

* Cited by examiner, † Cited by third party
Publication number Priority date Publication date Assignee Title
TW557237B (en) * 2001-09-14 2003-10-11 Sekisui Chemical Co Ltd Coated conductive particle, coated conductive particle manufacturing method, anisotropic conductive material, and conductive connection structure
KR20040052126A (ko) * 2002-12-13 2004-06-19 엘지전선 주식회사 이방 도전성 접착제, 이를 이용한 회로 접속 방법 및 회로접속 구조체
JP4991666B2 (ja) 2008-09-19 2012-08-01 積水化学工業株式会社 導電性粒子、異方性導電材料及び接続構造体

Patent Citations (5)

* Cited by examiner, † Cited by third party
Publication number Priority date Publication date Assignee Title
JPH03112011A (ja) * 1989-09-26 1991-05-13 Catalysts & Chem Ind Co Ltd 異方導電性材料、異方導電性接着剤およびその異方導電性接着剤を使用した電極間を電気的に接続する方法並びにその方法により形成される電気回路基板
JPH04259766A (ja) * 1991-02-14 1992-09-16 Hitachi Chem Co Ltd 回路の接続部材
JP2005209491A (ja) * 2003-09-29 2005-08-04 Sony Chem Corp 導電粒子及びこれを用いた異方導電性接着剤
JP2010103081A (ja) * 2008-03-27 2010-05-06 Sekisui Chem Co Ltd 導電性微粒子、異方性導電材料、及び、接続構造体
JP2010103080A (ja) * 2008-03-27 2010-05-06 Sekisui Chem Co Ltd 導電性微粒子、異方性導電材料、及び、接続構造体

Cited By (18)

* Cited by examiner, † Cited by third party
Publication number Priority date Publication date Assignee Title
JPH0250858A (ja) * 1988-08-12 1990-02-20 Tokyo Electric Co Ltd 印刷装置
JP2013105537A (ja) * 2011-11-10 2013-05-30 Hitachi Chemical Co Ltd 撥水性導電粒子、異方導電材料及び導電接続構造体
JPWO2013108740A1 (ja) * 2012-01-19 2015-05-11 積水化学工業株式会社 導電性粒子、導電材料及び接続構造体
WO2013108740A1 (ja) * 2012-01-19 2013-07-25 積水化学工業株式会社 導電性粒子、導電材料及び接続構造体
JP2014029857A (ja) * 2012-07-03 2014-02-13 Sekisui Chem Co Ltd 絶縁性粒子付き導電性粒子、導電材料及び接続構造体
JP2014067702A (ja) * 2012-09-06 2014-04-17 Sekisui Chem Co Ltd 絶縁性粒子付き導電性粒子、導電材料及び接続構造体
JP2014132569A (ja) * 2012-12-05 2014-07-17 Sekisui Chem Co Ltd 絶縁性粒子付き導電性粒子、絶縁性粒子付き導電性粒子の製造方法、導電材料及び接続構造体
JP2014241280A (ja) * 2013-05-14 2014-12-25 積水化学工業株式会社 導電性粒子、導電材料及び接続構造体
JP2015005499A (ja) * 2013-05-22 2015-01-08 積水化学工業株式会社 絶縁性粒子付き導電性粒子、導電材料及び接続構造体
JP2015007224A (ja) * 2013-05-29 2015-01-15 積水化学工業株式会社 突起粒子、導電性粒子、導電材料及び接続構造体
JP2015092475A (ja) * 2013-10-02 2015-05-14 積水化学工業株式会社 導電性粒子、導電材料及び接続構造体
JP2015109268A (ja) * 2013-10-21 2015-06-11 積水化学工業株式会社 導電性粒子、導電材料及び接続構造体
JP2015118927A (ja) * 2013-11-12 2015-06-25 積水化学工業株式会社 導電性粒子、導電材料及び接続構造体
JP2015118932A (ja) * 2013-11-18 2015-06-25 積水化学工業株式会社 導電性粒子、導電材料及び接続構造体
JP2015118931A (ja) * 2013-11-18 2015-06-25 積水化学工業株式会社 導電性粒子、導電材料及び接続構造体
JP2016085988A (ja) * 2014-10-28 2016-05-19 積水化学工業株式会社 絶縁性粒子付き導電性粒子、絶縁性粒子付き導電性粒子の製造方法、導電材料及び接続構造体
JP2020035544A (ja) * 2018-08-27 2020-03-05 日本化学工業株式会社 被覆粒子
JP7062555B2 (ja) 2018-08-27 2022-05-06 日本化学工業株式会社 被覆粒子

Also Published As

Publication number Publication date
JP5850806B2 (ja) 2016-02-03
TW201213493A (en) 2012-04-01
KR20120124075A (ko) 2012-11-12
JPWO2012014925A1 (ja) 2013-09-12
TWI381037B (zh) 2013-01-01
JP2012234821A (ja) 2012-11-29
CN102884590A (zh) 2013-01-16
JP2012094541A (ja) 2012-05-17
KR101242235B1 (ko) 2013-03-11
CN102884590B (zh) 2014-01-15
JP5850752B2 (ja) 2016-02-03
JP2012124169A (ja) 2012-06-28
JP4977276B2 (ja) 2012-07-18
JP5025825B2 (ja) 2012-09-12

Similar Documents

Publication Publication Date Title
JP5025825B2 (ja) 絶縁性粒子付き導電性粒子、異方性導電材料及び接続構造体
JP6205004B2 (ja) 絶縁性粒子付き導電性粒子、異方性導電材料及び接続構造体
JP6084850B2 (ja) 絶縁性粒子付き導電性粒子、導電材料及び接続構造体
JP6188456B2 (ja) 絶縁性粒子付き導電性粒子、導電材料及び接続構造体
JP5060655B2 (ja) 絶縁性粒子付き導電性粒子、異方性導電材料及び接続構造体
JP5548053B2 (ja) 絶縁性粒子付き導電性粒子、絶縁性粒子付き導電性粒子の製造方法、異方性導電材料及び接続構造体
JP6212374B2 (ja) 絶縁性粒子付き導電性粒子、絶縁性粒子付き導電性粒子の製造方法、導電材料及び接続構造体
JP6453032B2 (ja) 導電性粒子、導電材料及び接続構造体
JP6084866B2 (ja) 導電性粒子、導電材料及び接続構造体
JP5703149B2 (ja) 絶縁性粒子付き導電性粒子、異方性導電材料及び接続構造体
JP6431411B2 (ja) 絶縁性粒子付き導電性粒子、導電材料及び接続構造体
JP6564302B2 (ja) 絶縁性粒子付き導電性粒子、絶縁性粒子付き導電性粒子の製造方法、導電材料及び接続構造体
JP6151990B2 (ja) 絶縁性粒子付き導電性粒子、導電材料及び接続構造体
JP5620342B2 (ja) 絶縁性粒子付き導電性粒子、異方性導電材料及び接続構造体
JP6438186B2 (ja) 絶縁性粒子付き導電性粒子、導電材料及び接続構造体
JP6357347B2 (ja) 導電性粒子、導電材料及び接続構造体
JP6592235B2 (ja) 絶縁性粒子付き導電性粒子、絶縁性粒子付き導電性粒子の製造方法、導電材料及び接続構造体
JP6357348B2 (ja) 絶縁性粒子付き導電性粒子、導電材料及び接続構造体

Legal Events

Date Code Title Description
WWE Wipo information: entry into national phase

Ref document number: 201180022694.3

Country of ref document: CN

WWE Wipo information: entry into national phase

Ref document number: 2011535748

Country of ref document: JP

121 Ep: the epo has been informed by wipo that ep was designated in this application

Ref document number: 11812514

Country of ref document: EP

Kind code of ref document: A1

ENP Entry into the national phase

Ref document number: 20127027323

Country of ref document: KR

Kind code of ref document: A

NENP Non-entry into the national phase

Ref country code: DE

122 Ep: pct application non-entry in european phase

Ref document number: 11812514

Country of ref document: EP

Kind code of ref document: A1