WO2011122324A1 - 可変分光素子 - Google Patents
可変分光素子 Download PDFInfo
- Publication number
- WO2011122324A1 WO2011122324A1 PCT/JP2011/055996 JP2011055996W WO2011122324A1 WO 2011122324 A1 WO2011122324 A1 WO 2011122324A1 JP 2011055996 W JP2011055996 W JP 2011055996W WO 2011122324 A1 WO2011122324 A1 WO 2011122324A1
- Authority
- WO
- WIPO (PCT)
- Prior art keywords
- pair
- angle
- optical substrates
- opposing surfaces
- gravity
- Prior art date
- Legal status (The legal status is an assumption and is not a legal conclusion. Google has not performed a legal analysis and makes no representation as to the accuracy of the status listed.)
- Ceased
Links
Images
Classifications
-
- G—PHYSICS
- G01—MEASURING; TESTING
- G01B—MEASURING LENGTH, THICKNESS OR SIMILAR LINEAR DIMENSIONS; MEASURING ANGLES; MEASURING AREAS; MEASURING IRREGULARITIES OF SURFACES OR CONTOURS
- G01B7/00—Measuring arrangements characterised by the use of electric or magnetic techniques
- G01B7/30—Measuring arrangements characterised by the use of electric or magnetic techniques for measuring angles or tapers; for testing the alignment of axes
-
- G—PHYSICS
- G01—MEASURING; TESTING
- G01B—MEASURING LENGTH, THICKNESS OR SIMILAR LINEAR DIMENSIONS; MEASURING ANGLES; MEASURING AREAS; MEASURING IRREGULARITIES OF SURFACES OR CONTOURS
- G01B7/00—Measuring arrangements characterised by the use of electric or magnetic techniques
- G01B7/003—Measuring arrangements characterised by the use of electric or magnetic techniques for measuring position, not involving coordinate determination
-
- G—PHYSICS
- G01—MEASURING; TESTING
- G01J—MEASUREMENT OF INTENSITY, VELOCITY, SPECTRAL CONTENT, POLARISATION, PHASE OR PULSE CHARACTERISTICS OF INFRARED, VISIBLE OR ULTRAVIOLET LIGHT; COLORIMETRY; RADIATION PYROMETRY
- G01J3/00—Spectrometry; Spectrophotometry; Monochromators; Measuring colours
- G01J3/12—Generating the spectrum; Monochromators
- G01J3/26—Generating the spectrum; Monochromators using multiple reflection, e.g. Fabry-Perot interferometer, variable interference filters
Definitions
- a capacitance sensor for measuring the surface interval is arranged on the opposite surface, and the capacitance A sensor that measures the current surface interval at a predetermined sampling cycle, compares the measured surface interval with the desired surface interval, and drives the actuator based on the comparison result to adjust the surface interval.
- Known for example, JP-A-6-241899.
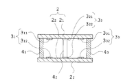
- variable spectroscopic element of the present invention is disposed on each of a pair of optical substrates disposed so as to face each other with a space therebetween, and each of the facing surfaces of the pair of optical substrates. At least one of the pair of optical substrates and the first to fourth capacitance sensors that detect a surface interval between the opposing surfaces of the pair of optical substrates at each arrangement position.
- the pair of optical substrates 2 includes a fixed substrate 2 1 and a movable substrate 2 2 that are arranged so that opposing surfaces are parallel to each other with a space therebetween.
- the fixed substrate 2 1 the opening 1 2 a in the interior of the outer frame 1, 1 3 disc which is fixed to the annular member 1 2 of the outer frame 1 so as to cross the axis of the light passing through the a Shaped optical member.
- the movable substrate 2 2 is a disc-shaped optical member held by the piezo element so as to cross the light passing through the openings 1 2 a and 1 3 a.
- the etalon device has unique characteristics required from its mass and material. First, the characteristics of the etalon device for each movement will be described.
Landscapes
- Physics & Mathematics (AREA)
- General Physics & Mathematics (AREA)
- Spectroscopy & Molecular Physics (AREA)
- Mechanical Light Control Or Optical Switches (AREA)
- Spectrometry And Color Measurement (AREA)
- Measurement Of Length, Angles, Or The Like Using Electric Or Magnetic Means (AREA)
Priority Applications (3)
| Application Number | Priority Date | Filing Date | Title |
|---|---|---|---|
| EP11762564A EP2555038A1 (en) | 2010-03-30 | 2011-03-15 | Variable spectral element |
| CN201180017455.9A CN102822720B (zh) | 2010-03-30 | 2011-03-15 | 可变分光元件 |
| US13/617,939 US8422020B2 (en) | 2010-03-30 | 2012-09-14 | Variable spectral element |
Applications Claiming Priority (2)
| Application Number | Priority Date | Filing Date | Title |
|---|---|---|---|
| JP2010078214A JP5363394B2 (ja) | 2010-03-30 | 2010-03-30 | 可変分光素子 |
| JP2010-078214 | 2010-03-30 |
Related Child Applications (1)
| Application Number | Title | Priority Date | Filing Date |
|---|---|---|---|
| US13/617,939 Continuation US8422020B2 (en) | 2010-03-30 | 2012-09-14 | Variable spectral element |
Publications (1)
| Publication Number | Publication Date |
|---|---|
| WO2011122324A1 true WO2011122324A1 (ja) | 2011-10-06 |
Family
ID=44712045
Family Applications (1)
| Application Number | Title | Priority Date | Filing Date |
|---|---|---|---|
| PCT/JP2011/055996 Ceased WO2011122324A1 (ja) | 2010-03-30 | 2011-03-15 | 可変分光素子 |
Country Status (5)
| Country | Link |
|---|---|
| US (1) | US8422020B2 (enExample) |
| EP (1) | EP2555038A1 (enExample) |
| JP (1) | JP5363394B2 (enExample) |
| CN (1) | CN102822720B (enExample) |
| WO (1) | WO2011122324A1 (enExample) |
Cited By (1)
| Publication number | Priority date | Publication date | Assignee | Title |
|---|---|---|---|---|
| US8422020B2 (en) | 2010-03-30 | 2013-04-16 | Olympus Corporation | Variable spectral element |
Families Citing this family (4)
| Publication number | Priority date | Publication date | Assignee | Title |
|---|---|---|---|---|
| JP5363393B2 (ja) * | 2010-03-30 | 2013-12-11 | オリンパス株式会社 | 可変分光素子 |
| JP5530375B2 (ja) * | 2011-02-01 | 2014-06-25 | オリンパス株式会社 | 可変分光素子 |
| JP2015141209A (ja) * | 2014-01-27 | 2015-08-03 | セイコーエプソン株式会社 | アクチュエーター制御装置、光学モジュール、及び電子機器 |
| US9568301B2 (en) * | 2014-04-11 | 2017-02-14 | General Electric Company | Systems and methods for capacitive proximity sensing |
Citations (5)
| Publication number | Priority date | Publication date | Assignee | Title |
|---|---|---|---|---|
| JPH06241899A (ja) | 1993-01-29 | 1994-09-02 | Shimadzu Corp | エタロン駆動機構 |
| JP2008001291A (ja) | 2006-06-23 | 2008-01-10 | Nissan Motor Co Ltd | 車両用ブレーキ装置 |
| JP2008129149A (ja) | 2006-11-17 | 2008-06-05 | Olympus Corp | 可変分光素子 |
| JP2008197362A (ja) * | 2007-02-13 | 2008-08-28 | Olympus Corp | 可変分光素子 |
| JP2010224011A (ja) * | 2009-03-19 | 2010-10-07 | Olympus Corp | エタロン装置及びそれを備えた光学ユニット |
Family Cites Families (9)
| Publication number | Priority date | Publication date | Assignee | Title |
|---|---|---|---|---|
| CN2276676Y (zh) * | 1996-05-02 | 1998-03-18 | 华中理工大学 | 一种可变形反射镜 |
| KR101073175B1 (ko) * | 2002-01-29 | 2011-10-12 | 파나소닉 주식회사 | 가변형 미러, 및 당해 가변형 미러를 구비한 광 제어 장치 |
| CN100405122C (zh) * | 2002-11-06 | 2008-07-23 | 松下电器产业株式会社 | 带有位移检测功能的微执行器 |
| JP3812550B2 (ja) * | 2003-07-07 | 2006-08-23 | セイコーエプソン株式会社 | 波長可変光フィルタ |
| JPWO2005085125A1 (ja) * | 2004-03-08 | 2007-12-06 | 松下電器産業株式会社 | マイクロアクチュエータ、およびマイクロアクチュエータを備えた装置 |
| JP2008183350A (ja) * | 2007-01-31 | 2008-08-14 | Olympus Corp | 可変分光素子、分光装置および内視鏡システム |
| JP5798709B2 (ja) * | 2009-03-04 | 2015-10-21 | セイコーエプソン株式会社 | 光フィルター及びそれを備えた光モジュール |
| JP5363393B2 (ja) * | 2010-03-30 | 2013-12-11 | オリンパス株式会社 | 可変分光素子 |
| JP5363394B2 (ja) | 2010-03-30 | 2013-12-11 | オリンパス株式会社 | 可変分光素子 |
-
2010
- 2010-03-30 JP JP2010078214A patent/JP5363394B2/ja not_active Expired - Fee Related
-
2011
- 2011-03-15 CN CN201180017455.9A patent/CN102822720B/zh not_active Expired - Fee Related
- 2011-03-15 EP EP11762564A patent/EP2555038A1/en not_active Withdrawn
- 2011-03-15 WO PCT/JP2011/055996 patent/WO2011122324A1/ja not_active Ceased
-
2012
- 2012-09-14 US US13/617,939 patent/US8422020B2/en active Active
Patent Citations (5)
| Publication number | Priority date | Publication date | Assignee | Title |
|---|---|---|---|---|
| JPH06241899A (ja) | 1993-01-29 | 1994-09-02 | Shimadzu Corp | エタロン駆動機構 |
| JP2008001291A (ja) | 2006-06-23 | 2008-01-10 | Nissan Motor Co Ltd | 車両用ブレーキ装置 |
| JP2008129149A (ja) | 2006-11-17 | 2008-06-05 | Olympus Corp | 可変分光素子 |
| JP2008197362A (ja) * | 2007-02-13 | 2008-08-28 | Olympus Corp | 可変分光素子 |
| JP2010224011A (ja) * | 2009-03-19 | 2010-10-07 | Olympus Corp | エタロン装置及びそれを備えた光学ユニット |
Cited By (1)
| Publication number | Priority date | Publication date | Assignee | Title |
|---|---|---|---|---|
| US8422020B2 (en) | 2010-03-30 | 2013-04-16 | Olympus Corporation | Variable spectral element |
Also Published As
| Publication number | Publication date |
|---|---|
| JP2011209575A (ja) | 2011-10-20 |
| EP2555038A1 (en) | 2013-02-06 |
| CN102822720B (zh) | 2014-11-26 |
| US8422020B2 (en) | 2013-04-16 |
| JP5363394B2 (ja) | 2013-12-11 |
| US20130010285A1 (en) | 2013-01-10 |
| CN102822720A (zh) | 2012-12-12 |
Similar Documents
| Publication | Publication Date | Title |
|---|---|---|
| US8272266B2 (en) | Gyroscopes using surface electrodes | |
| JP5363394B2 (ja) | 可変分光素子 | |
| JP5247182B2 (ja) | 角速度センサ | |
| Chen et al. | An asymmetrical inertial piezoelectric rotary actuator with the bias unit | |
| CN109085382A (zh) | 一种基于机械超材料的加速度敏感机构及复合灵敏度微机械加速度计 | |
| JP5363393B2 (ja) | 可変分光素子 | |
| Gao et al. | A high-resolution MEMS capacitive force sensor with bionic swallow comb arrays for ultralow multiphysics measurement | |
| CN116653529B (zh) | 一种基于悬架并联式设计的准零刚度mems加速度计 | |
| JP2011209575A5 (enExample) | ||
| CN104541130B (zh) | 回转角加速度测定装置 | |
| Cailliez et al. | Modeling and experimental characterization of an active MEMS based force sensor | |
| JP4135054B2 (ja) | 光干渉計用移動ミラー支持装置 | |
| Qin et al. | High acceleration and angular velocity micro vibrating platform with IMU integration | |
| Teo et al. | Design optimization for an SOI MOEMS accelerometer | |
| Schroedter et al. | Real-time closed-loop control for micro mirrors with quasistatic comb drives | |
| JP5530375B2 (ja) | 可変分光素子 | |
| US11340251B2 (en) | Inertial measurement unit calibration stage, method, and applications | |
| Tsai et al. | Micro angular rate sensor design and nonlinear dynamics | |
| CN119804919B (zh) | 一种静电加速度计及其零位调节方法 | |
| Bronson et al. | Control of micro mirrors for high precision performance | |
| WO2018235719A1 (ja) | 振動型角速度センサ | |
| Gao | A high resolution capacitive MEMS force sensor with novel bionic swallow comb arrays for multiphysics measurement | |
| Omidbeike | Design, Sensing and Control of Monolithic Nanopositioning Devices | |
| Nazdrowicz et al. | Estimation of Comb Structure Capacitance for MEMS Inertial Sensors | |
| Damani | An empirical model of piezoelectric stick-slip actuation of the KLEINDIEK MM3A micromanipulator |
Legal Events
| Date | Code | Title | Description |
|---|---|---|---|
| WWE | Wipo information: entry into national phase |
Ref document number: 201180017455.9 Country of ref document: CN |
|
| 121 | Ep: the epo has been informed by wipo that ep was designated in this application |
Ref document number: 11762564 Country of ref document: EP Kind code of ref document: A1 |
|
| REEP | Request for entry into the european phase |
Ref document number: 2011762564 Country of ref document: EP |
|
| WWE | Wipo information: entry into national phase |
Ref document number: 2011762564 Country of ref document: EP |
|
| NENP | Non-entry into the national phase |
Ref country code: DE |