WO2011111137A1 - 半導体装置 - Google Patents

半導体装置 Download PDF

Info

Publication number
WO2011111137A1
WO2011111137A1 PCT/JP2010/006785 JP2010006785W WO2011111137A1 WO 2011111137 A1 WO2011111137 A1 WO 2011111137A1 JP 2010006785 W JP2010006785 W JP 2010006785W WO 2011111137 A1 WO2011111137 A1 WO 2011111137A1
Authority
WO
WIPO (PCT)
Prior art keywords
wire
semiconductor device
conductor
solder
semiconductor element
Prior art date
Legal status (The legal status is an assumption and is not a legal conclusion. Google has not performed a legal analysis and makes no representation as to the accuracy of the status listed.)
Ceased
Application number
PCT/JP2010/006785
Other languages
English (en)
French (fr)
Japanese (ja)
Inventor
靖 池田
知丈 東平
Current Assignee (The listed assignees may be inaccurate. Google has not performed a legal analysis and makes no representation or warranty as to the accuracy of the list.)
Hitachi Ltd
Original Assignee
Hitachi Ltd
Priority date (The priority date is an assumption and is not a legal conclusion. Google has not performed a legal analysis and makes no representation as to the accuracy of the date listed.)
Filing date
Publication date
Application filed by Hitachi Ltd filed Critical Hitachi Ltd
Priority to DE112010005383.9T priority Critical patent/DE112010005383B4/de
Publication of WO2011111137A1 publication Critical patent/WO2011111137A1/ja
Anticipated expiration legal-status Critical
Ceased legal-status Critical Current

Links

Images

Classifications

    • HELECTRICITY
    • H01ELECTRIC ELEMENTS
    • H01LSEMICONDUCTOR DEVICES NOT COVERED BY CLASS H10
    • H01L24/00Arrangements for connecting or disconnecting semiconductor or solid-state bodies; Methods or apparatus related thereto
    • H01L24/01Means for bonding being attached to, or being formed on, the surface to be connected, e.g. chip-to-package, die-attach, "first-level" interconnects; Manufacturing methods related thereto
    • H01L24/42Wire connectors; Manufacturing methods related thereto
    • H01L24/44Structure, shape, material or disposition of the wire connectors prior to the connecting process
    • H01L24/46Structure, shape, material or disposition of the wire connectors prior to the connecting process of a plurality of wire connectors
    • HELECTRICITY
    • H01ELECTRIC ELEMENTS
    • H01LSEMICONDUCTOR DEVICES NOT COVERED BY CLASS H10
    • H01L24/00Arrangements for connecting or disconnecting semiconductor or solid-state bodies; Methods or apparatus related thereto
    • H01L24/01Means for bonding being attached to, or being formed on, the surface to be connected, e.g. chip-to-package, die-attach, "first-level" interconnects; Manufacturing methods related thereto
    • H01L24/26Layer connectors, e.g. plate connectors, solder or adhesive layers; Manufacturing methods related thereto
    • H01L24/28Structure, shape, material or disposition of the layer connectors prior to the connecting process
    • H01L24/29Structure, shape, material or disposition of the layer connectors prior to the connecting process of an individual layer connector
    • HELECTRICITY
    • H01ELECTRIC ELEMENTS
    • H01LSEMICONDUCTOR DEVICES NOT COVERED BY CLASS H10
    • H01L24/00Arrangements for connecting or disconnecting semiconductor or solid-state bodies; Methods or apparatus related thereto
    • H01L24/01Means for bonding being attached to, or being formed on, the surface to be connected, e.g. chip-to-package, die-attach, "first-level" interconnects; Manufacturing methods related thereto
    • H01L24/34Strap connectors, e.g. copper straps for grounding power devices; Manufacturing methods related thereto
    • H01L24/36Structure, shape, material or disposition of the strap connectors prior to the connecting process
    • H01L24/37Structure, shape, material or disposition of the strap connectors prior to the connecting process of an individual strap connector
    • HELECTRICITY
    • H01ELECTRIC ELEMENTS
    • H01LSEMICONDUCTOR DEVICES NOT COVERED BY CLASS H10
    • H01L24/00Arrangements for connecting or disconnecting semiconductor or solid-state bodies; Methods or apparatus related thereto
    • H01L24/01Means for bonding being attached to, or being formed on, the surface to be connected, e.g. chip-to-package, die-attach, "first-level" interconnects; Manufacturing methods related thereto
    • H01L24/34Strap connectors, e.g. copper straps for grounding power devices; Manufacturing methods related thereto
    • H01L24/39Structure, shape, material or disposition of the strap connectors after the connecting process
    • H01L24/40Structure, shape, material or disposition of the strap connectors after the connecting process of an individual strap connector
    • HELECTRICITY
    • H01ELECTRIC ELEMENTS
    • H01LSEMICONDUCTOR DEVICES NOT COVERED BY CLASS H10
    • H01L24/00Arrangements for connecting or disconnecting semiconductor or solid-state bodies; Methods or apparatus related thereto
    • H01L24/01Means for bonding being attached to, or being formed on, the surface to be connected, e.g. chip-to-package, die-attach, "first-level" interconnects; Manufacturing methods related thereto
    • H01L24/42Wire connectors; Manufacturing methods related thereto
    • H01L24/44Structure, shape, material or disposition of the wire connectors prior to the connecting process
    • H01L24/45Structure, shape, material or disposition of the wire connectors prior to the connecting process of an individual wire connector
    • HELECTRICITY
    • H01ELECTRIC ELEMENTS
    • H01LSEMICONDUCTOR DEVICES NOT COVERED BY CLASS H10
    • H01L24/00Arrangements for connecting or disconnecting semiconductor or solid-state bodies; Methods or apparatus related thereto
    • H01L24/01Means for bonding being attached to, or being formed on, the surface to be connected, e.g. chip-to-package, die-attach, "first-level" interconnects; Manufacturing methods related thereto
    • H01L24/42Wire connectors; Manufacturing methods related thereto
    • H01L24/47Structure, shape, material or disposition of the wire connectors after the connecting process
    • H01L24/49Structure, shape, material or disposition of the wire connectors after the connecting process of a plurality of wire connectors
    • HELECTRICITY
    • H01ELECTRIC ELEMENTS
    • H01LSEMICONDUCTOR DEVICES NOT COVERED BY CLASS H10
    • H01L24/00Arrangements for connecting or disconnecting semiconductor or solid-state bodies; Methods or apparatus related thereto
    • H01L24/80Methods for connecting semiconductor or other solid state bodies using means for bonding being attached to, or being formed on, the surface to be connected
    • H01L24/84Methods for connecting semiconductor or other solid state bodies using means for bonding being attached to, or being formed on, the surface to be connected using a strap connector
    • HELECTRICITY
    • H01ELECTRIC ELEMENTS
    • H01LSEMICONDUCTOR DEVICES NOT COVERED BY CLASS H10
    • H01L24/00Arrangements for connecting or disconnecting semiconductor or solid-state bodies; Methods or apparatus related thereto
    • H01L24/80Methods for connecting semiconductor or other solid state bodies using means for bonding being attached to, or being formed on, the surface to be connected
    • H01L24/85Methods for connecting semiconductor or other solid state bodies using means for bonding being attached to, or being formed on, the surface to be connected using a wire connector
    • HELECTRICITY
    • H01ELECTRIC ELEMENTS
    • H01LSEMICONDUCTOR DEVICES NOT COVERED BY CLASS H10
    • H01L2224/00Indexing scheme for arrangements for connecting or disconnecting semiconductor or solid-state bodies and methods related thereto as covered by H01L24/00
    • H01L2224/01Means for bonding being attached to, or being formed on, the surface to be connected, e.g. chip-to-package, die-attach, "first-level" interconnects; Manufacturing methods related thereto
    • H01L2224/26Layer connectors, e.g. plate connectors, solder or adhesive layers; Manufacturing methods related thereto
    • H01L2224/28Structure, shape, material or disposition of the layer connectors prior to the connecting process
    • H01L2224/29Structure, shape, material or disposition of the layer connectors prior to the connecting process of an individual layer connector
    • H01L2224/29001Core members of the layer connector
    • H01L2224/29099Material
    • H01L2224/291Material with a principal constituent of the material being a metal or a metalloid, e.g. boron [B], silicon [Si], germanium [Ge], arsenic [As], antimony [Sb], tellurium [Te] and polonium [Po], and alloys thereof
    • H01L2224/29101Material with a principal constituent of the material being a metal or a metalloid, e.g. boron [B], silicon [Si], germanium [Ge], arsenic [As], antimony [Sb], tellurium [Te] and polonium [Po], and alloys thereof the principal constituent melting at a temperature of less than 400°C
    • H01L2224/29111Tin [Sn] as principal constituent
    • HELECTRICITY
    • H01ELECTRIC ELEMENTS
    • H01LSEMICONDUCTOR DEVICES NOT COVERED BY CLASS H10
    • H01L2224/00Indexing scheme for arrangements for connecting or disconnecting semiconductor or solid-state bodies and methods related thereto as covered by H01L24/00
    • H01L2224/01Means for bonding being attached to, or being formed on, the surface to be connected, e.g. chip-to-package, die-attach, "first-level" interconnects; Manufacturing methods related thereto
    • H01L2224/26Layer connectors, e.g. plate connectors, solder or adhesive layers; Manufacturing methods related thereto
    • H01L2224/31Structure, shape, material or disposition of the layer connectors after the connecting process
    • H01L2224/32Structure, shape, material or disposition of the layer connectors after the connecting process of an individual layer connector
    • H01L2224/3201Structure
    • H01L2224/32012Structure relative to the bonding area, e.g. bond pad
    • H01L2224/32014Structure relative to the bonding area, e.g. bond pad the layer connector being smaller than the bonding area, e.g. bond pad
    • HELECTRICITY
    • H01ELECTRIC ELEMENTS
    • H01LSEMICONDUCTOR DEVICES NOT COVERED BY CLASS H10
    • H01L2224/00Indexing scheme for arrangements for connecting or disconnecting semiconductor or solid-state bodies and methods related thereto as covered by H01L24/00
    • H01L2224/01Means for bonding being attached to, or being formed on, the surface to be connected, e.g. chip-to-package, die-attach, "first-level" interconnects; Manufacturing methods related thereto
    • H01L2224/26Layer connectors, e.g. plate connectors, solder or adhesive layers; Manufacturing methods related thereto
    • H01L2224/31Structure, shape, material or disposition of the layer connectors after the connecting process
    • H01L2224/32Structure, shape, material or disposition of the layer connectors after the connecting process of an individual layer connector
    • H01L2224/321Disposition
    • H01L2224/32151Disposition the layer connector connecting between a semiconductor or solid-state body and an item not being a semiconductor or solid-state body, e.g. chip-to-substrate, chip-to-passive
    • H01L2224/32221Disposition the layer connector connecting between a semiconductor or solid-state body and an item not being a semiconductor or solid-state body, e.g. chip-to-substrate, chip-to-passive the body and the item being stacked
    • H01L2224/32225Disposition the layer connector connecting between a semiconductor or solid-state body and an item not being a semiconductor or solid-state body, e.g. chip-to-substrate, chip-to-passive the body and the item being stacked the item being non-metallic, e.g. insulating substrate with or without metallisation
    • HELECTRICITY
    • H01ELECTRIC ELEMENTS
    • H01LSEMICONDUCTOR DEVICES NOT COVERED BY CLASS H10
    • H01L2224/00Indexing scheme for arrangements for connecting or disconnecting semiconductor or solid-state bodies and methods related thereto as covered by H01L24/00
    • H01L2224/01Means for bonding being attached to, or being formed on, the surface to be connected, e.g. chip-to-package, die-attach, "first-level" interconnects; Manufacturing methods related thereto
    • H01L2224/26Layer connectors, e.g. plate connectors, solder or adhesive layers; Manufacturing methods related thereto
    • H01L2224/31Structure, shape, material or disposition of the layer connectors after the connecting process
    • H01L2224/33Structure, shape, material or disposition of the layer connectors after the connecting process of a plurality of layer connectors
    • H01L2224/3301Structure
    • H01L2224/3303Layer connectors having different sizes, e.g. different heights or widths
    • HELECTRICITY
    • H01ELECTRIC ELEMENTS
    • H01LSEMICONDUCTOR DEVICES NOT COVERED BY CLASS H10
    • H01L2224/00Indexing scheme for arrangements for connecting or disconnecting semiconductor or solid-state bodies and methods related thereto as covered by H01L24/00
    • H01L2224/01Means for bonding being attached to, or being formed on, the surface to be connected, e.g. chip-to-package, die-attach, "first-level" interconnects; Manufacturing methods related thereto
    • H01L2224/26Layer connectors, e.g. plate connectors, solder or adhesive layers; Manufacturing methods related thereto
    • H01L2224/31Structure, shape, material or disposition of the layer connectors after the connecting process
    • H01L2224/33Structure, shape, material or disposition of the layer connectors after the connecting process of a plurality of layer connectors
    • H01L2224/331Disposition
    • H01L2224/3318Disposition being disposed on at least two different sides of the body, e.g. dual array
    • H01L2224/33181On opposite sides of the body
    • HELECTRICITY
    • H01ELECTRIC ELEMENTS
    • H01LSEMICONDUCTOR DEVICES NOT COVERED BY CLASS H10
    • H01L2224/00Indexing scheme for arrangements for connecting or disconnecting semiconductor or solid-state bodies and methods related thereto as covered by H01L24/00
    • H01L2224/01Means for bonding being attached to, or being formed on, the surface to be connected, e.g. chip-to-package, die-attach, "first-level" interconnects; Manufacturing methods related thereto
    • H01L2224/34Strap connectors, e.g. copper straps for grounding power devices; Manufacturing methods related thereto
    • H01L2224/36Structure, shape, material or disposition of the strap connectors prior to the connecting process
    • H01L2224/37Structure, shape, material or disposition of the strap connectors prior to the connecting process of an individual strap connector
    • H01L2224/37001Core members of the connector
    • H01L2224/37025Plural core members
    • H01L2224/37026Plural core members being mutually engaged together, e.g. through inserts
    • HELECTRICITY
    • H01ELECTRIC ELEMENTS
    • H01LSEMICONDUCTOR DEVICES NOT COVERED BY CLASS H10
    • H01L2224/00Indexing scheme for arrangements for connecting or disconnecting semiconductor or solid-state bodies and methods related thereto as covered by H01L24/00
    • H01L2224/01Means for bonding being attached to, or being formed on, the surface to be connected, e.g. chip-to-package, die-attach, "first-level" interconnects; Manufacturing methods related thereto
    • H01L2224/34Strap connectors, e.g. copper straps for grounding power devices; Manufacturing methods related thereto
    • H01L2224/36Structure, shape, material or disposition of the strap connectors prior to the connecting process
    • H01L2224/37Structure, shape, material or disposition of the strap connectors prior to the connecting process of an individual strap connector
    • H01L2224/37001Core members of the connector
    • H01L2224/37099Material
    • H01L2224/371Material with a principal constituent of the material being a metal or a metalloid, e.g. boron [B], silicon [Si], germanium [Ge], arsenic [As], antimony [Sb], tellurium [Te] and polonium [Po], and alloys thereof
    • H01L2224/37138Material with a principal constituent of the material being a metal or a metalloid, e.g. boron [B], silicon [Si], germanium [Ge], arsenic [As], antimony [Sb], tellurium [Te] and polonium [Po], and alloys thereof the principal constituent melting at a temperature of greater than or equal to 950°C and less than 1550°C
    • H01L2224/37147Copper [Cu] as principal constituent
    • HELECTRICITY
    • H01ELECTRIC ELEMENTS
    • H01LSEMICONDUCTOR DEVICES NOT COVERED BY CLASS H10
    • H01L2224/00Indexing scheme for arrangements for connecting or disconnecting semiconductor or solid-state bodies and methods related thereto as covered by H01L24/00
    • H01L2224/01Means for bonding being attached to, or being formed on, the surface to be connected, e.g. chip-to-package, die-attach, "first-level" interconnects; Manufacturing methods related thereto
    • H01L2224/34Strap connectors, e.g. copper straps for grounding power devices; Manufacturing methods related thereto
    • H01L2224/36Structure, shape, material or disposition of the strap connectors prior to the connecting process
    • H01L2224/37Structure, shape, material or disposition of the strap connectors prior to the connecting process of an individual strap connector
    • H01L2224/3754Coating
    • H01L2224/37599Material
    • H01L2224/376Material with a principal constituent of the material being a metal or a metalloid, e.g. boron [B], silicon [Si], germanium [Ge], arsenic [As], antimony [Sb], tellurium [Te] and polonium [Po], and alloys thereof
    • H01L2224/37638Material with a principal constituent of the material being a metal or a metalloid, e.g. boron [B], silicon [Si], germanium [Ge], arsenic [As], antimony [Sb], tellurium [Te] and polonium [Po], and alloys thereof the principal constituent melting at a temperature of greater than or equal to 950°C and less than 1550°C
    • H01L2224/37655Nickel [Ni] as principal constituent
    • HELECTRICITY
    • H01ELECTRIC ELEMENTS
    • H01LSEMICONDUCTOR DEVICES NOT COVERED BY CLASS H10
    • H01L2224/00Indexing scheme for arrangements for connecting or disconnecting semiconductor or solid-state bodies and methods related thereto as covered by H01L24/00
    • H01L2224/01Means for bonding being attached to, or being formed on, the surface to be connected, e.g. chip-to-package, die-attach, "first-level" interconnects; Manufacturing methods related thereto
    • H01L2224/34Strap connectors, e.g. copper straps for grounding power devices; Manufacturing methods related thereto
    • H01L2224/39Structure, shape, material or disposition of the strap connectors after the connecting process
    • H01L2224/40Structure, shape, material or disposition of the strap connectors after the connecting process of an individual strap connector
    • H01L2224/4005Shape
    • H01L2224/4009Loop shape
    • H01L2224/40091Arched
    • HELECTRICITY
    • H01ELECTRIC ELEMENTS
    • H01LSEMICONDUCTOR DEVICES NOT COVERED BY CLASS H10
    • H01L2224/00Indexing scheme for arrangements for connecting or disconnecting semiconductor or solid-state bodies and methods related thereto as covered by H01L24/00
    • H01L2224/01Means for bonding being attached to, or being formed on, the surface to be connected, e.g. chip-to-package, die-attach, "first-level" interconnects; Manufacturing methods related thereto
    • H01L2224/34Strap connectors, e.g. copper straps for grounding power devices; Manufacturing methods related thereto
    • H01L2224/39Structure, shape, material or disposition of the strap connectors after the connecting process
    • H01L2224/40Structure, shape, material or disposition of the strap connectors after the connecting process of an individual strap connector
    • H01L2224/401Disposition
    • H01L2224/40151Connecting between a semiconductor or solid-state body and an item not being a semiconductor or solid-state body, e.g. chip-to-substrate, chip-to-passive
    • H01L2224/40221Connecting between a semiconductor or solid-state body and an item not being a semiconductor or solid-state body, e.g. chip-to-substrate, chip-to-passive the body and the item being stacked
    • H01L2224/40225Connecting between a semiconductor or solid-state body and an item not being a semiconductor or solid-state body, e.g. chip-to-substrate, chip-to-passive the body and the item being stacked the item being non-metallic, e.g. insulating substrate with or without metallisation
    • HELECTRICITY
    • H01ELECTRIC ELEMENTS
    • H01LSEMICONDUCTOR DEVICES NOT COVERED BY CLASS H10
    • H01L2224/00Indexing scheme for arrangements for connecting or disconnecting semiconductor or solid-state bodies and methods related thereto as covered by H01L24/00
    • H01L2224/01Means for bonding being attached to, or being formed on, the surface to be connected, e.g. chip-to-package, die-attach, "first-level" interconnects; Manufacturing methods related thereto
    • H01L2224/42Wire connectors; Manufacturing methods related thereto
    • H01L2224/44Structure, shape, material or disposition of the wire connectors prior to the connecting process
    • H01L2224/45Structure, shape, material or disposition of the wire connectors prior to the connecting process of an individual wire connector
    • H01L2224/45001Core members of the connector
    • H01L2224/4501Shape
    • H01L2224/45012Cross-sectional shape
    • H01L2224/45015Cross-sectional shape being circular
    • HELECTRICITY
    • H01ELECTRIC ELEMENTS
    • H01LSEMICONDUCTOR DEVICES NOT COVERED BY CLASS H10
    • H01L2224/00Indexing scheme for arrangements for connecting or disconnecting semiconductor or solid-state bodies and methods related thereto as covered by H01L24/00
    • H01L2224/01Means for bonding being attached to, or being formed on, the surface to be connected, e.g. chip-to-package, die-attach, "first-level" interconnects; Manufacturing methods related thereto
    • H01L2224/42Wire connectors; Manufacturing methods related thereto
    • H01L2224/44Structure, shape, material or disposition of the wire connectors prior to the connecting process
    • H01L2224/45Structure, shape, material or disposition of the wire connectors prior to the connecting process of an individual wire connector
    • H01L2224/45001Core members of the connector
    • H01L2224/45099Material
    • H01L2224/451Material with a principal constituent of the material being a metal or a metalloid, e.g. boron (B), silicon (Si), germanium (Ge), arsenic (As), antimony (Sb), tellurium (Te) and polonium (Po), and alloys thereof
    • H01L2224/45117Material with a principal constituent of the material being a metal or a metalloid, e.g. boron (B), silicon (Si), germanium (Ge), arsenic (As), antimony (Sb), tellurium (Te) and polonium (Po), and alloys thereof the principal constituent melting at a temperature of greater than or equal to 400°C and less than 950°C
    • H01L2224/45124Aluminium (Al) as principal constituent
    • HELECTRICITY
    • H01ELECTRIC ELEMENTS
    • H01LSEMICONDUCTOR DEVICES NOT COVERED BY CLASS H10
    • H01L2224/00Indexing scheme for arrangements for connecting or disconnecting semiconductor or solid-state bodies and methods related thereto as covered by H01L24/00
    • H01L2224/01Means for bonding being attached to, or being formed on, the surface to be connected, e.g. chip-to-package, die-attach, "first-level" interconnects; Manufacturing methods related thereto
    • H01L2224/42Wire connectors; Manufacturing methods related thereto
    • H01L2224/44Structure, shape, material or disposition of the wire connectors prior to the connecting process
    • H01L2224/45Structure, shape, material or disposition of the wire connectors prior to the connecting process of an individual wire connector
    • H01L2224/45001Core members of the connector
    • H01L2224/45099Material
    • H01L2224/451Material with a principal constituent of the material being a metal or a metalloid, e.g. boron (B), silicon (Si), germanium (Ge), arsenic (As), antimony (Sb), tellurium (Te) and polonium (Po), and alloys thereof
    • H01L2224/45138Material with a principal constituent of the material being a metal or a metalloid, e.g. boron (B), silicon (Si), germanium (Ge), arsenic (As), antimony (Sb), tellurium (Te) and polonium (Po), and alloys thereof the principal constituent melting at a temperature of greater than or equal to 950°C and less than 1550°C
    • H01L2224/45147Copper (Cu) as principal constituent
    • HELECTRICITY
    • H01ELECTRIC ELEMENTS
    • H01LSEMICONDUCTOR DEVICES NOT COVERED BY CLASS H10
    • H01L2224/00Indexing scheme for arrangements for connecting or disconnecting semiconductor or solid-state bodies and methods related thereto as covered by H01L24/00
    • H01L2224/01Means for bonding being attached to, or being formed on, the surface to be connected, e.g. chip-to-package, die-attach, "first-level" interconnects; Manufacturing methods related thereto
    • H01L2224/42Wire connectors; Manufacturing methods related thereto
    • H01L2224/47Structure, shape, material or disposition of the wire connectors after the connecting process
    • H01L2224/48Structure, shape, material or disposition of the wire connectors after the connecting process of an individual wire connector
    • H01L2224/4805Shape
    • H01L2224/4809Loop shape
    • H01L2224/48091Arched
    • HELECTRICITY
    • H01ELECTRIC ELEMENTS
    • H01LSEMICONDUCTOR DEVICES NOT COVERED BY CLASS H10
    • H01L2224/00Indexing scheme for arrangements for connecting or disconnecting semiconductor or solid-state bodies and methods related thereto as covered by H01L24/00
    • H01L2224/01Means for bonding being attached to, or being formed on, the surface to be connected, e.g. chip-to-package, die-attach, "first-level" interconnects; Manufacturing methods related thereto
    • H01L2224/42Wire connectors; Manufacturing methods related thereto
    • H01L2224/47Structure, shape, material or disposition of the wire connectors after the connecting process
    • H01L2224/48Structure, shape, material or disposition of the wire connectors after the connecting process of an individual wire connector
    • H01L2224/481Disposition
    • H01L2224/48151Connecting between a semiconductor or solid-state body and an item not being a semiconductor or solid-state body, e.g. chip-to-substrate, chip-to-passive
    • H01L2224/48221Connecting between a semiconductor or solid-state body and an item not being a semiconductor or solid-state body, e.g. chip-to-substrate, chip-to-passive the body and the item being stacked
    • H01L2224/48225Connecting between a semiconductor or solid-state body and an item not being a semiconductor or solid-state body, e.g. chip-to-substrate, chip-to-passive the body and the item being stacked the item being non-metallic, e.g. insulating substrate with or without metallisation
    • H01L2224/48227Connecting between a semiconductor or solid-state body and an item not being a semiconductor or solid-state body, e.g. chip-to-substrate, chip-to-passive the body and the item being stacked the item being non-metallic, e.g. insulating substrate with or without metallisation connecting the wire to a bond pad of the item
    • HELECTRICITY
    • H01ELECTRIC ELEMENTS
    • H01LSEMICONDUCTOR DEVICES NOT COVERED BY CLASS H10
    • H01L2224/00Indexing scheme for arrangements for connecting or disconnecting semiconductor or solid-state bodies and methods related thereto as covered by H01L24/00
    • H01L2224/01Means for bonding being attached to, or being formed on, the surface to be connected, e.g. chip-to-package, die-attach, "first-level" interconnects; Manufacturing methods related thereto
    • H01L2224/42Wire connectors; Manufacturing methods related thereto
    • H01L2224/47Structure, shape, material or disposition of the wire connectors after the connecting process
    • H01L2224/49Structure, shape, material or disposition of the wire connectors after the connecting process of a plurality of wire connectors
    • H01L2224/491Disposition
    • H01L2224/4911Disposition the connectors being bonded to at least one common bonding area, e.g. daisy chain
    • H01L2224/49111Disposition the connectors being bonded to at least one common bonding area, e.g. daisy chain the connectors connecting two common bonding areas, e.g. Litz or braid wires
    • HELECTRICITY
    • H01ELECTRIC ELEMENTS
    • H01LSEMICONDUCTOR DEVICES NOT COVERED BY CLASS H10
    • H01L2224/00Indexing scheme for arrangements for connecting or disconnecting semiconductor or solid-state bodies and methods related thereto as covered by H01L24/00
    • H01L2224/01Means for bonding being attached to, or being formed on, the surface to be connected, e.g. chip-to-package, die-attach, "first-level" interconnects; Manufacturing methods related thereto
    • H01L2224/42Wire connectors; Manufacturing methods related thereto
    • H01L2224/47Structure, shape, material or disposition of the wire connectors after the connecting process
    • H01L2224/49Structure, shape, material or disposition of the wire connectors after the connecting process of a plurality of wire connectors
    • H01L2224/495Material
    • H01L2224/49505Connectors having different materials
    • HELECTRICITY
    • H01ELECTRIC ELEMENTS
    • H01LSEMICONDUCTOR DEVICES NOT COVERED BY CLASS H10
    • H01L2224/00Indexing scheme for arrangements for connecting or disconnecting semiconductor or solid-state bodies and methods related thereto as covered by H01L24/00
    • H01L2224/73Means for bonding being of different types provided for in two or more of groups H01L2224/10, H01L2224/18, H01L2224/26, H01L2224/34, H01L2224/42, H01L2224/50, H01L2224/63, H01L2224/71
    • H01L2224/732Location after the connecting process
    • H01L2224/73201Location after the connecting process on the same surface
    • H01L2224/73221Strap and wire connectors
    • HELECTRICITY
    • H01ELECTRIC ELEMENTS
    • H01LSEMICONDUCTOR DEVICES NOT COVERED BY CLASS H10
    • H01L2224/00Indexing scheme for arrangements for connecting or disconnecting semiconductor or solid-state bodies and methods related thereto as covered by H01L24/00
    • H01L2224/73Means for bonding being of different types provided for in two or more of groups H01L2224/10, H01L2224/18, H01L2224/26, H01L2224/34, H01L2224/42, H01L2224/50, H01L2224/63, H01L2224/71
    • H01L2224/732Location after the connecting process
    • H01L2224/73251Location after the connecting process on different surfaces
    • H01L2224/73265Layer and wire connectors
    • HELECTRICITY
    • H01ELECTRIC ELEMENTS
    • H01LSEMICONDUCTOR DEVICES NOT COVERED BY CLASS H10
    • H01L2224/00Indexing scheme for arrangements for connecting or disconnecting semiconductor or solid-state bodies and methods related thereto as covered by H01L24/00
    • H01L2224/80Methods for connecting semiconductor or other solid state bodies using means for bonding being attached to, or being formed on, the surface to be connected
    • H01L2224/83Methods for connecting semiconductor or other solid state bodies using means for bonding being attached to, or being formed on, the surface to be connected using a layer connector
    • H01L2224/838Bonding techniques
    • H01L2224/83801Soldering or alloying
    • HELECTRICITY
    • H01ELECTRIC ELEMENTS
    • H01LSEMICONDUCTOR DEVICES NOT COVERED BY CLASS H10
    • H01L2224/00Indexing scheme for arrangements for connecting or disconnecting semiconductor or solid-state bodies and methods related thereto as covered by H01L24/00
    • H01L2224/80Methods for connecting semiconductor or other solid state bodies using means for bonding being attached to, or being formed on, the surface to be connected
    • H01L2224/83Methods for connecting semiconductor or other solid state bodies using means for bonding being attached to, or being formed on, the surface to be connected using a layer connector
    • H01L2224/838Bonding techniques
    • H01L2224/83801Soldering or alloying
    • H01L2224/83805Soldering or alloying involving forming a eutectic alloy at the bonding interface
    • HELECTRICITY
    • H01ELECTRIC ELEMENTS
    • H01LSEMICONDUCTOR DEVICES NOT COVERED BY CLASS H10
    • H01L2224/00Indexing scheme for arrangements for connecting or disconnecting semiconductor or solid-state bodies and methods related thereto as covered by H01L24/00
    • H01L2224/80Methods for connecting semiconductor or other solid state bodies using means for bonding being attached to, or being formed on, the surface to be connected
    • H01L2224/84Methods for connecting semiconductor or other solid state bodies using means for bonding being attached to, or being formed on, the surface to be connected using a strap connector
    • H01L2224/842Applying energy for connecting
    • H01L2224/84201Compression bonding
    • H01L2224/84205Ultrasonic bonding
    • HELECTRICITY
    • H01ELECTRIC ELEMENTS
    • H01LSEMICONDUCTOR DEVICES NOT COVERED BY CLASS H10
    • H01L2224/00Indexing scheme for arrangements for connecting or disconnecting semiconductor or solid-state bodies and methods related thereto as covered by H01L24/00
    • H01L2224/80Methods for connecting semiconductor or other solid state bodies using means for bonding being attached to, or being formed on, the surface to be connected
    • H01L2224/84Methods for connecting semiconductor or other solid state bodies using means for bonding being attached to, or being formed on, the surface to be connected using a strap connector
    • H01L2224/848Bonding techniques
    • H01L2224/84801Soldering or alloying
    • HELECTRICITY
    • H01ELECTRIC ELEMENTS
    • H01LSEMICONDUCTOR DEVICES NOT COVERED BY CLASS H10
    • H01L2224/00Indexing scheme for arrangements for connecting or disconnecting semiconductor or solid-state bodies and methods related thereto as covered by H01L24/00
    • H01L2224/80Methods for connecting semiconductor or other solid state bodies using means for bonding being attached to, or being formed on, the surface to be connected
    • H01L2224/85Methods for connecting semiconductor or other solid state bodies using means for bonding being attached to, or being formed on, the surface to be connected using a wire connector
    • HELECTRICITY
    • H01ELECTRIC ELEMENTS
    • H01LSEMICONDUCTOR DEVICES NOT COVERED BY CLASS H10
    • H01L2224/00Indexing scheme for arrangements for connecting or disconnecting semiconductor or solid-state bodies and methods related thereto as covered by H01L24/00
    • H01L2224/80Methods for connecting semiconductor or other solid state bodies using means for bonding being attached to, or being formed on, the surface to be connected
    • H01L2224/85Methods for connecting semiconductor or other solid state bodies using means for bonding being attached to, or being formed on, the surface to be connected using a wire connector
    • H01L2224/852Applying energy for connecting
    • H01L2224/85201Compression bonding
    • H01L2224/85205Ultrasonic bonding
    • HELECTRICITY
    • H01ELECTRIC ELEMENTS
    • H01LSEMICONDUCTOR DEVICES NOT COVERED BY CLASS H10
    • H01L23/00Details of semiconductor or other solid state devices
    • H01L23/16Fillings or auxiliary members in containers or encapsulations, e.g. centering rings
    • H01L23/18Fillings characterised by the material, its physical or chemical properties, or its arrangement within the complete device
    • H01L23/24Fillings characterised by the material, its physical or chemical properties, or its arrangement within the complete device solid or gel at the normal operating temperature of the device
    • HELECTRICITY
    • H01ELECTRIC ELEMENTS
    • H01LSEMICONDUCTOR DEVICES NOT COVERED BY CLASS H10
    • H01L24/00Arrangements for connecting or disconnecting semiconductor or solid-state bodies; Methods or apparatus related thereto
    • H01L24/01Means for bonding being attached to, or being formed on, the surface to be connected, e.g. chip-to-package, die-attach, "first-level" interconnects; Manufacturing methods related thereto
    • H01L24/26Layer connectors, e.g. plate connectors, solder or adhesive layers; Manufacturing methods related thereto
    • H01L24/31Structure, shape, material or disposition of the layer connectors after the connecting process
    • H01L24/32Structure, shape, material or disposition of the layer connectors after the connecting process of an individual layer connector
    • HELECTRICITY
    • H01ELECTRIC ELEMENTS
    • H01LSEMICONDUCTOR DEVICES NOT COVERED BY CLASS H10
    • H01L24/00Arrangements for connecting or disconnecting semiconductor or solid-state bodies; Methods or apparatus related thereto
    • H01L24/01Means for bonding being attached to, or being formed on, the surface to be connected, e.g. chip-to-package, die-attach, "first-level" interconnects; Manufacturing methods related thereto
    • H01L24/26Layer connectors, e.g. plate connectors, solder or adhesive layers; Manufacturing methods related thereto
    • H01L24/31Structure, shape, material or disposition of the layer connectors after the connecting process
    • H01L24/33Structure, shape, material or disposition of the layer connectors after the connecting process of a plurality of layer connectors
    • HELECTRICITY
    • H01ELECTRIC ELEMENTS
    • H01LSEMICONDUCTOR DEVICES NOT COVERED BY CLASS H10
    • H01L24/00Arrangements for connecting or disconnecting semiconductor or solid-state bodies; Methods or apparatus related thereto
    • H01L24/01Means for bonding being attached to, or being formed on, the surface to be connected, e.g. chip-to-package, die-attach, "first-level" interconnects; Manufacturing methods related thereto
    • H01L24/42Wire connectors; Manufacturing methods related thereto
    • H01L24/47Structure, shape, material or disposition of the wire connectors after the connecting process
    • H01L24/48Structure, shape, material or disposition of the wire connectors after the connecting process of an individual wire connector
    • HELECTRICITY
    • H01ELECTRIC ELEMENTS
    • H01LSEMICONDUCTOR DEVICES NOT COVERED BY CLASS H10
    • H01L24/00Arrangements for connecting or disconnecting semiconductor or solid-state bodies; Methods or apparatus related thereto
    • H01L24/73Means for bonding being of different types provided for in two or more of groups H01L24/10, H01L24/18, H01L24/26, H01L24/34, H01L24/42, H01L24/50, H01L24/63, H01L24/71
    • HELECTRICITY
    • H01ELECTRIC ELEMENTS
    • H01LSEMICONDUCTOR DEVICES NOT COVERED BY CLASS H10
    • H01L24/00Arrangements for connecting or disconnecting semiconductor or solid-state bodies; Methods or apparatus related thereto
    • H01L24/80Methods for connecting semiconductor or other solid state bodies using means for bonding being attached to, or being formed on, the surface to be connected
    • H01L24/83Methods for connecting semiconductor or other solid state bodies using means for bonding being attached to, or being formed on, the surface to be connected using a layer connector
    • HELECTRICITY
    • H01ELECTRIC ELEMENTS
    • H01LSEMICONDUCTOR DEVICES NOT COVERED BY CLASS H10
    • H01L25/00Assemblies consisting of a plurality of semiconductor or other solid state devices
    • H01L25/03Assemblies consisting of a plurality of semiconductor or other solid state devices all the devices being of a type provided for in a single subclass of subclasses H10B, H10D, H10F, H10H, H10K or H10N, e.g. assemblies of rectifier diodes
    • H01L25/04Assemblies consisting of a plurality of semiconductor or other solid state devices all the devices being of a type provided for in a single subclass of subclasses H10B, H10D, H10F, H10H, H10K or H10N, e.g. assemblies of rectifier diodes the devices not having separate containers
    • H01L25/07Assemblies consisting of a plurality of semiconductor or other solid state devices all the devices being of a type provided for in a single subclass of subclasses H10B, H10D, H10F, H10H, H10K or H10N, e.g. assemblies of rectifier diodes the devices not having separate containers the devices being of a type provided for in group subclass H10D
    • H01L25/072Assemblies consisting of a plurality of semiconductor or other solid state devices all the devices being of a type provided for in a single subclass of subclasses H10B, H10D, H10F, H10H, H10K or H10N, e.g. assemblies of rectifier diodes the devices not having separate containers the devices being of a type provided for in group subclass H10D the devices being arranged next to each other
    • HELECTRICITY
    • H01ELECTRIC ELEMENTS
    • H01LSEMICONDUCTOR DEVICES NOT COVERED BY CLASS H10
    • H01L2924/00Indexing scheme for arrangements or methods for connecting or disconnecting semiconductor or solid-state bodies as covered by H01L24/00
    • H01L2924/0001Technical content checked by a classifier
    • H01L2924/00011Not relevant to the scope of the group, the symbol of which is combined with the symbol of this group
    • HELECTRICITY
    • H01ELECTRIC ELEMENTS
    • H01LSEMICONDUCTOR DEVICES NOT COVERED BY CLASS H10
    • H01L2924/00Indexing scheme for arrangements or methods for connecting or disconnecting semiconductor or solid-state bodies as covered by H01L24/00
    • H01L2924/0001Technical content checked by a classifier
    • H01L2924/00014Technical content checked by a classifier the subject-matter covered by the group, the symbol of which is combined with the symbol of this group, being disclosed without further technical details
    • HELECTRICITY
    • H01ELECTRIC ELEMENTS
    • H01LSEMICONDUCTOR DEVICES NOT COVERED BY CLASS H10
    • H01L2924/00Indexing scheme for arrangements or methods for connecting or disconnecting semiconductor or solid-state bodies as covered by H01L24/00
    • H01L2924/01Chemical elements
    • H01L2924/01005Boron [B]
    • HELECTRICITY
    • H01ELECTRIC ELEMENTS
    • H01LSEMICONDUCTOR DEVICES NOT COVERED BY CLASS H10
    • H01L2924/00Indexing scheme for arrangements or methods for connecting or disconnecting semiconductor or solid-state bodies as covered by H01L24/00
    • H01L2924/01Chemical elements
    • H01L2924/01013Aluminum [Al]
    • HELECTRICITY
    • H01ELECTRIC ELEMENTS
    • H01LSEMICONDUCTOR DEVICES NOT COVERED BY CLASS H10
    • H01L2924/00Indexing scheme for arrangements or methods for connecting or disconnecting semiconductor or solid-state bodies as covered by H01L24/00
    • H01L2924/01Chemical elements
    • H01L2924/01015Phosphorus [P]
    • HELECTRICITY
    • H01ELECTRIC ELEMENTS
    • H01LSEMICONDUCTOR DEVICES NOT COVERED BY CLASS H10
    • H01L2924/00Indexing scheme for arrangements or methods for connecting or disconnecting semiconductor or solid-state bodies as covered by H01L24/00
    • H01L2924/01Chemical elements
    • H01L2924/01019Potassium [K]
    • HELECTRICITY
    • H01ELECTRIC ELEMENTS
    • H01LSEMICONDUCTOR DEVICES NOT COVERED BY CLASS H10
    • H01L2924/00Indexing scheme for arrangements or methods for connecting or disconnecting semiconductor or solid-state bodies as covered by H01L24/00
    • H01L2924/01Chemical elements
    • H01L2924/01028Nickel [Ni]
    • HELECTRICITY
    • H01ELECTRIC ELEMENTS
    • H01LSEMICONDUCTOR DEVICES NOT COVERED BY CLASS H10
    • H01L2924/00Indexing scheme for arrangements or methods for connecting or disconnecting semiconductor or solid-state bodies as covered by H01L24/00
    • H01L2924/01Chemical elements
    • H01L2924/01029Copper [Cu]
    • HELECTRICITY
    • H01ELECTRIC ELEMENTS
    • H01LSEMICONDUCTOR DEVICES NOT COVERED BY CLASS H10
    • H01L2924/00Indexing scheme for arrangements or methods for connecting or disconnecting semiconductor or solid-state bodies as covered by H01L24/00
    • H01L2924/01Chemical elements
    • H01L2924/01033Arsenic [As]
    • HELECTRICITY
    • H01ELECTRIC ELEMENTS
    • H01LSEMICONDUCTOR DEVICES NOT COVERED BY CLASS H10
    • H01L2924/00Indexing scheme for arrangements or methods for connecting or disconnecting semiconductor or solid-state bodies as covered by H01L24/00
    • H01L2924/01Chemical elements
    • H01L2924/01042Molybdenum [Mo]
    • HELECTRICITY
    • H01ELECTRIC ELEMENTS
    • H01LSEMICONDUCTOR DEVICES NOT COVERED BY CLASS H10
    • H01L2924/00Indexing scheme for arrangements or methods for connecting or disconnecting semiconductor or solid-state bodies as covered by H01L24/00
    • H01L2924/01Chemical elements
    • H01L2924/0105Tin [Sn]
    • HELECTRICITY
    • H01ELECTRIC ELEMENTS
    • H01LSEMICONDUCTOR DEVICES NOT COVERED BY CLASS H10
    • H01L2924/00Indexing scheme for arrangements or methods for connecting or disconnecting semiconductor or solid-state bodies as covered by H01L24/00
    • H01L2924/01Chemical elements
    • H01L2924/01074Tungsten [W]
    • HELECTRICITY
    • H01ELECTRIC ELEMENTS
    • H01LSEMICONDUCTOR DEVICES NOT COVERED BY CLASS H10
    • H01L2924/00Indexing scheme for arrangements or methods for connecting or disconnecting semiconductor or solid-state bodies as covered by H01L24/00
    • H01L2924/01Chemical elements
    • H01L2924/01078Platinum [Pt]
    • HELECTRICITY
    • H01ELECTRIC ELEMENTS
    • H01LSEMICONDUCTOR DEVICES NOT COVERED BY CLASS H10
    • H01L2924/00Indexing scheme for arrangements or methods for connecting or disconnecting semiconductor or solid-state bodies as covered by H01L24/00
    • H01L2924/01Chemical elements
    • H01L2924/01082Lead [Pb]
    • HELECTRICITY
    • H01ELECTRIC ELEMENTS
    • H01LSEMICONDUCTOR DEVICES NOT COVERED BY CLASS H10
    • H01L2924/00Indexing scheme for arrangements or methods for connecting or disconnecting semiconductor or solid-state bodies as covered by H01L24/00
    • H01L2924/013Alloys
    • H01L2924/0132Binary Alloys
    • H01L2924/01322Eutectic Alloys, i.e. obtained by a liquid transforming into two solid phases
    • HELECTRICITY
    • H01ELECTRIC ELEMENTS
    • H01LSEMICONDUCTOR DEVICES NOT COVERED BY CLASS H10
    • H01L2924/00Indexing scheme for arrangements or methods for connecting or disconnecting semiconductor or solid-state bodies as covered by H01L24/00
    • H01L2924/013Alloys
    • H01L2924/014Solder alloys
    • HELECTRICITY
    • H01ELECTRIC ELEMENTS
    • H01LSEMICONDUCTOR DEVICES NOT COVERED BY CLASS H10
    • H01L2924/00Indexing scheme for arrangements or methods for connecting or disconnecting semiconductor or solid-state bodies as covered by H01L24/00
    • H01L2924/20Parameters
    • H01L2924/207Diameter ranges
    • H01L2924/20751Diameter ranges larger or equal to 10 microns less than 20 microns
    • HELECTRICITY
    • H01ELECTRIC ELEMENTS
    • H01LSEMICONDUCTOR DEVICES NOT COVERED BY CLASS H10
    • H01L2924/00Indexing scheme for arrangements or methods for connecting or disconnecting semiconductor or solid-state bodies as covered by H01L24/00
    • H01L2924/20Parameters
    • H01L2924/207Diameter ranges
    • H01L2924/2076Diameter ranges equal to or larger than 100 microns
    • HELECTRICITY
    • H01ELECTRIC ELEMENTS
    • H01LSEMICONDUCTOR DEVICES NOT COVERED BY CLASS H10
    • H01L2924/00Indexing scheme for arrangements or methods for connecting or disconnecting semiconductor or solid-state bodies as covered by H01L24/00
    • H01L2924/30Technical effects
    • H01L2924/35Mechanical effects
    • H01L2924/351Thermal stress

Definitions

  • the present invention relates to a power semiconductor device having an element upper surface electrode connection portion with low electrical resistance and high connection reliability.
  • wire bonding 1 using a thick Al wire having a diameter of 300 to 400 ⁇ m as shown in FIG. 1 is generally used as a wiring method for the upper electrode of the power semiconductor element.
  • the Al wire bonding portion, the power semiconductor element, and the like generate heat due to Joule heat.
  • a temperature change occurs due to this heat generation, a stress is generated in the Al wire bonding portion due to a difference in thermal expansion coefficient between the Al wire and the element. Therefore, when energization is repeatedly turned on and off, the vicinity of the bonding interface of the Al wire bonding portion undergoes fatigue failure due to thermal stress.
  • the capacity of power modules has been increased, and the current to be supplied to each power semiconductor element has increased, and it has been a problem to ensure the connection reliability of the wire bonding portion against thermal stress.
  • One way to reduce the thermal stress generated in the Al wire bonding part is to increase the number of Al wires. By reducing the current that flows per Al wire, the amount of heat generated in the wire bonding portion can be reduced and the connection reliability can be improved.
  • the number of Al wires that can be bonded is limited by the area of the power semiconductor element, it is difficult to greatly reduce the heat generation. Further, when the size of the power semiconductor element is increased in order to increase the number, the power module is increased in size. Therefore, there is a need for a low electrical resistance wiring method that replaces Al wire bonding.
  • Patent Document 1 a wide Al ribbon is ultrasonically bonded instead of an Al wire. Since the size of the Al ribbon is larger than that of the Al wire, the size of the tool for applying ultrasonic waves necessary for bonding and the ultrasonic energy during bonding increase. For this reason, there is a risk of damaging the power semiconductor element during bonding, and there is a limit to the size of the Al ribbon that can be bonded. There is also a choice to use a Cu ribbon with a low electrical resistance, but Cu has a higher ultrasonic energy during bonding than Al, so the possibility of further damaging the element becomes higher.
  • the Cu member is joined to the element upper surface electrode with solder as shown in FIG.
  • the electrical resistivity of Cu is about 1.7 ⁇ 10 -8 ⁇ ⁇ m (20 ° C) to 2.9 ⁇ 10 -8 ⁇ ⁇ m (200 ° C)
  • the electrical resistivity of Al is about 2.7 ⁇ 10 -8 ⁇ ⁇ m ( Since it is lower than 20 ° C to 4.8 ⁇ 10 -8 ⁇ ⁇ m (200 ° C), the electrical resistance can be greatly reduced.
  • the present invention has been made in order to solve the above-described problems, and realizes a wiring connection in which a large current can be passed by lowering an electrical resistance of an element upper surface junction, and a semiconductor device having a high connection reliability.
  • the purpose is to provide.
  • the conductor Is a knitted wire conductor in which a plurality of conductive wires are knitted.
  • the present invention it is possible to obtain a semiconductor device in which the electrical resistance of the upper surface wiring of the knitting element is suppressed, the distortion of the solder is suppressed, and connection reliability can be ensured even when a large current is applied. .
  • FIG. 3 is a cross-sectional view of the power semiconductor module according to the present embodiment
  • FIG. 4 is a plan view thereof.
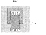
  • a power semiconductor element 6 is connected to an electrode (not shown) provided on the substrate 3 via a conductive bonding material (solder) 2.
  • a mesh wire conductor 8 is connected on the semiconductor element 6 via a conductive bonding material (solder) 9.
  • the mesh wire conductor 8 is connected to another electrode (not shown) on the substrate 9 via a conductive bonding member (solder) 9.
  • the length in which the knitted wire conductor is connected by the joining member 9 is 1/3 or more of the size of the semiconductor element 6 in the same direction.
  • a woven wire conductor 8 is connected to the upper surface electrode of the semiconductor element 6 by a conductive bonding material 9.
  • a conductive bonding material 9 As a result, even when a material harder than Al is used, it is possible to bend the knitting wire by adjusting the diameter of a single wire constituting the knitting wire, which occurs at the upper surface connection portion of the semiconductor element 6. Stress to be reduced. Further, by forming the knitted wire, the wires can be laminated via the conductive bonding material as shown in FIG. 5, so that the electric resistance is lowered and the current can be increased.
  • the braided wire conductor is made of Cu or a wire made of a Cu alloy having an electrical resistivity of less than 2.7 ⁇ 10 ⁇ 8 ⁇ ⁇ m.
  • the electrical resistance can be reduced as compared with Al wire bonding.
  • the higher the Cu content the smaller the electrical resistance. Therefore, the Cu content is preferably 95% or more.
  • the rigidity of Cu is about 0.44 ⁇ 10 11 Pa, which is about 1.7 times the rigidity of Al of 0.26 ⁇ 10 11 Pa.
  • the diameter of Cu and Cu alloy wire is desirably 0.2 mm or less. Further, when the diameter is less than 0.01 mm, there is a possibility that the Cu wire may be melted by reacting with the solder when connecting to the conductive bonding material using the solder.
  • FIG. 7 shows a deterioration state of the connection part due to thermal shock when a Cu plate is used as a conductor as in Patent Documents 2 and 3. Cracks develop from the periphery of the conductive bonding material and deteriorate.
  • FIG. 8 shows a crack progress situation due to thermal shock when the braided wire conductors are connected by solder.
  • An object of the present invention is to provide a semiconductor device in which a woven wire conductor is made of Cu or a wire made of a Cu alloy having an electrical resistivity of less than 2.7 ⁇ 10 ⁇ 8 ⁇ ⁇ m and a wire made of a low thermal expansion coefficient material.
  • the knitted wire conductor As an advantage of the knitted wire conductor, a plurality of materials can be combined by weaving as shown in FIG.
  • the coefficient of thermal expansion of Cu is about 17ppm / K, and the coefficient of thermal expansion of semiconductor elements is 3ppm / K.
  • the thermal expansion coefficient as a conductor can be made smaller than that of a conductor made of a single Cu or Cu alloy wire by braiding a low thermal expansion coefficient wire together with a Cu or Cu alloy wire as necessary. It is possible to reduce the thermal stress generated in the conductor connecting portion.
  • Invar, Mo, and W are suitable as the low thermal expansion material. Any of these materials can be processed into a desired wire diameter by drawing or the like. Invar has a coefficient of thermal expansion of about 4ppm / K, Mo is 5ppm / K, and W is 4.5ppm / K. By combining it with Cu or Cu alloy wire, the coefficient of thermal expansion of the woven wire conductor is reduced. be able to.
  • At least one of Ni, Ni-P, and Ni-B plating may be formed on the surface of Cu or a Cu alloy having an electrical resistivity of less than 2.7 ⁇ 10 ⁇ 8 ⁇ ⁇ m.
  • Sn-based lead-free solder gets wet with Cu and Cu alloy, Cu and Sn react to form a Cu-Sn compound at the connection interface.
  • the Cu-Sn compound is formed thick, a portion where the distance between Cu lines is narrow may be connected by the compound. In that case, the stress buffering ability as a knitted wire is reduced.
  • Ni-based plating can be applied to the surface of Cu and Cu alloy wires to suppress compound growth at the connection interface and maintain stress buffering ability.
  • the Ni-based plating thickness is desirably 1 to 5 ⁇ m.
  • the Ni-based plating thickness is less than 1 ⁇ m, the Ni-based plating may disappear due to the interfacial reaction, and the plating effect may not be obtained. If the Ni plating thickness is 5 ⁇ m or more, the uniformity of the plating thickness may be impaired, and Ni may be harder than Cu, which may reduce the stress buffering ability.
  • the conductive bonding material that connects the knitted wire conductor is Sn-based lead-free solder.
  • solder Since Sn-based lead-free solder is easily wettable and reactive with Cu or Cu alloys with an electrical resistivity of less than 2.7 ⁇ 10 -8 ⁇ ⁇ m, conductors can be connected well. Moreover, since the solder fills the gaps in the braided wire by capillary action, the connection with low electrical resistance is achieved.
  • An object of the present invention is to provide a semiconductor device in which the conductive bonding material for connecting the braided wire conductor is pure Sn, Sn-Cu eutectic solder.
  • Example 1 to 11 In order to demonstrate the effects of the present invention, the following samples (Examples 1 to 11) were prepared. As shown in FIG. 3, a 200 ⁇ m thick Sn-7Cu (mass%) solder foil 2 is placed on a substrate 3 and a power semiconductor element 6 of 10 mm ⁇ 10 mm. Is laminated thereon to form an H 2 reducing atmosphere. The connection was made at 300 ° C for 5 min.
  • the solder foil 9 having a thickness of 100 ⁇ m used in each of the embodiments shown in FIG.
  • the on-resistance of the semiconductor element after assembling this semiconductor device was measured.
  • a temperature cycle test of -40 ° C. (10 min.) To 125 ° C. (10 min.) was conducted 1000 cycles, and the on-resistance variation after the temperature cycle test was measured.
  • the on-resistance at the time of assembly the case where the on-resistance was low compared with the semiconductor device using the Al ribbon bonding which is Comparative Example 2 was marked as ⁇ , and the case where the on-resistance was equal or higher.
  • the on-resistance after assembly was smaller than that of the semiconductor device using the Al ribbon bonding of Comparative Example 2.
  • the on-resistances of Examples 1 to 9 were about 0.8 times that of the Al ribbon bonding semiconductor device, and Examples 10 and 11 were about 0.9 times.
  • the increase in on-resistance was 1.2 times or less of the initial value even after 1000 cycles.
  • the values of Examples 1 to 9 were about 1.1 times the initial value, and Examples 10 and 11 showed almost no change from the initial value.
  • the element upper surface wiring connection having a low electrical resistance and high connection reliability is possible.
  • the entire structure is described as a process of separately connecting the knitted wire conductor and the semiconductor element, and the connection between the semiconductor element and the substrate.
  • the knitted wire substrate, the solder foil, the semiconductor element, the solder foil, and the substrate are laminated. Later, you may connect in a single process.
  • Sn-7Cu (mass%) solder foil having a thickness of 200 [mu] m, performed thereon by laminating a 10 mm ⁇ 10 mm.
  • Comparative Example 1 12 Al wires having a diameter of 0.4 mm are bonded between the electrodes on the semiconductor element and the substrate, and in Comparative Example 2, the electrodes between the semiconductor element and the electrodes on the substrate are 0.1 mm thick and 3 mm wide. Two Al wires were bonded. After that, a case was attached to the substrate 3, and a gel was injected around the connection portion and cured to produce a semiconductor device.
  • the on-resistance of the semiconductor element after this semiconductor device assembly was measured, and the on-resistance after 1000 cycles of a temperature cycle test of ⁇ 40 ° C. (10 min.) To 125 ° C. (10 min.) was measured.
  • the on-resistance at the time of assembly the case where the on-resistance was low compared with the semiconductor device using the Al ribbon bonding which is Comparative Example 2 was marked as ⁇ , and the case where the on-resistance was equal or higher.
  • Comparative Example 3 On a substrate, placing an Sn-7Cu (mass%) solder foil having a thickness of 200 [mu] m, performed thereon by laminating a 10 mm ⁇ 10 mm. Of the power semiconductor element, in H 2 reducing atmosphere, a connection 300 ° C. 5min. In It was.
  • the on-resistance of the semiconductor element after this semiconductor device assembly was measured, and the on-resistance after 1000 cycles of a temperature cycle test of ⁇ 40 ° C. (10 min.) To 125 ° C. (10 min.) was measured.
  • the on-resistance at the time of assembly the case where the on-resistance was low compared with the semiconductor device using the Al ribbon bonding which is Comparative Example 2 was marked as ⁇ , and the case where the on-resistance was equal or higher.
  • the on-resistance after assembly is about 0.6 times that of the semiconductor device using Al ribbon bonding of Comparative Example 2, which is the lowest value among all the semiconductor devices including Examples 1 to 11. It became.
  • the on-resistance increased to about 1.5 times the initial value, which was the lowest reliability among all the semiconductor devices including Examples 1 to 11.

Landscapes

  • Engineering & Computer Science (AREA)
  • Computer Hardware Design (AREA)
  • Microelectronics & Electronic Packaging (AREA)
  • Power Engineering (AREA)
  • Wire Bonding (AREA)
PCT/JP2010/006785 2010-03-12 2010-11-19 半導体装置 Ceased WO2011111137A1 (ja)

Priority Applications (1)

Application Number Priority Date Filing Date Title
DE112010005383.9T DE112010005383B4 (de) 2010-03-12 2010-11-19 Halbleitervorrichtung

Applications Claiming Priority (2)

Application Number Priority Date Filing Date Title
JP2010-055276 2010-03-12
JP2010055276A JP5702937B2 (ja) 2010-03-12 2010-03-12 半導体装置

Publications (1)

Publication Number Publication Date
WO2011111137A1 true WO2011111137A1 (ja) 2011-09-15

Family

ID=44562985

Family Applications (1)

Application Number Title Priority Date Filing Date
PCT/JP2010/006785 Ceased WO2011111137A1 (ja) 2010-03-12 2010-11-19 半導体装置

Country Status (3)

Country Link
JP (1) JP5702937B2 (enExample)
DE (1) DE112010005383B4 (enExample)
WO (1) WO2011111137A1 (enExample)

Families Citing this family (6)

* Cited by examiner, † Cited by third party
Publication number Priority date Publication date Assignee Title
JP2014103183A (ja) 2012-11-19 2014-06-05 Mitsubishi Electric Corp 電子回路、その製造方法、および電子部品
JP2015216290A (ja) * 2014-05-13 2015-12-03 カルソニックカンセイ株式会社 ビームリード、半導体装置、および、半導体装置の製造方法
DE102015103779A1 (de) * 2015-03-16 2016-09-22 Pac Tech-Packaging Technologies Gmbh Chipanordnung und Verfahren zur Ausbildung einer Kontaktverbindung
DE102016108656A1 (de) * 2016-05-11 2017-11-16 Danfoss Silicon Power Gmbh Leistungselektronische Baugruppe mit vibrationsfreier Kontaktierung
JP2017157847A (ja) * 2017-04-21 2017-09-07 三菱電機株式会社 電子回路
DE102019215438A1 (de) * 2019-10-09 2020-08-20 Vitesco Technologies Germany Gmbh Bondbändchen, Elektronikanordnung mit einem Bondbändchen, Verfahren zum Herstellen eines Bondbändchens

Citations (3)

* Cited by examiner, † Cited by third party
Publication number Priority date Publication date Assignee Title
JP2003037130A (ja) * 2001-07-24 2003-02-07 Sony Corp ボンディングワイヤ、半導体装置及びその製造方法
JP2004319740A (ja) * 2003-04-16 2004-11-11 Fuji Electric Holdings Co Ltd パワー半導体装置およびその製造方法
WO2007125939A1 (ja) * 2006-04-27 2007-11-08 Neomax Materials Co., Ltd. 配線接続用クラッド材及びそのクラッド材から加工された配線接続部材

Family Cites Families (5)

* Cited by examiner, † Cited by third party
Publication number Priority date Publication date Assignee Title
BE564212A (enExample) * 1957-01-25
JP2001332664A (ja) 2000-05-24 2001-11-30 Fuji Electric Co Ltd 半導体装置およびその製造方法
US20040217488A1 (en) 2003-05-02 2004-11-04 Luechinger Christoph B. Ribbon bonding
JP4640345B2 (ja) 2007-01-25 2011-03-02 三菱電機株式会社 電力用半導体装置
DE102007057346B3 (de) * 2007-11-28 2009-06-10 Fachhochschule Kiel Laminierte Leistungselektronikbaugruppe

Patent Citations (3)

* Cited by examiner, † Cited by third party
Publication number Priority date Publication date Assignee Title
JP2003037130A (ja) * 2001-07-24 2003-02-07 Sony Corp ボンディングワイヤ、半導体装置及びその製造方法
JP2004319740A (ja) * 2003-04-16 2004-11-11 Fuji Electric Holdings Co Ltd パワー半導体装置およびその製造方法
WO2007125939A1 (ja) * 2006-04-27 2007-11-08 Neomax Materials Co., Ltd. 配線接続用クラッド材及びそのクラッド材から加工された配線接続部材

Also Published As

Publication number Publication date
DE112010005383T5 (de) 2013-01-03
JP5702937B2 (ja) 2015-04-15
JP2011192686A (ja) 2011-09-29
DE112010005383B4 (de) 2014-10-16

Similar Documents

Publication Publication Date Title
JP5702937B2 (ja) 半導体装置
JP6320556B2 (ja) パワーモジュール
CN102307701A (zh) 接合体、半导体模块以及接合体的制造方法
US20110067908A1 (en) Method for producing a printed circuit board and use and printed circuit board
KR101776427B1 (ko) 파워모듈용 접합재를 이용한 파워모듈 접합방법
JP4525636B2 (ja) パワーモジュール
JP3988735B2 (ja) 半導体装置及びその製造方法
JP5011562B2 (ja) 半導体装置およびその製造方法
JP4228926B2 (ja) 半導体装置
JP2004363293A (ja) 太陽電池モジュール及びその製造方法
JP2023512826A (ja) フリーはんだ箔
JP2012084588A (ja) 電子部品における電極の接続構造
CN101145586A (zh) 太阳能电池用连接引线和它的制造方法及太阳能电池
JP6129090B2 (ja) パワーモジュール及びパワーモジュールの製造方法
JP4730181B2 (ja) 半導体装置
JP2008294390A (ja) モジュール構成
JP2009147123A (ja) 半導体装置及びその製造方法
JP5098902B2 (ja) 電子部品
JP5381987B2 (ja) 配線基板及びチップ部品実装構造並びにチップ部品実装方法
JP4917375B2 (ja) パワー半導体モジュールの製造方法
JP6156693B2 (ja) 半導体装置の製造方法
JP2013152979A (ja) 太陽電池モジュール及びその製造方法
JP2016128184A (ja) ハンダ接合方法およびパワーモジュール
KR20170100463A (ko) 파워모듈용 접합재를 이용한 파워모듈 접합방법
JP5562221B2 (ja) プリント配線板、プリント回路基板およびプリント回路基板の製造方法

Legal Events

Date Code Title Description
121 Ep: the epo has been informed by wipo that ep was designated in this application

Ref document number: 10847370

Country of ref document: EP

Kind code of ref document: A1

WWE Wipo information: entry into national phase

Ref document number: 112010005383

Country of ref document: DE

Ref document number: 1120100053839

Country of ref document: DE

122 Ep: pct application non-entry in european phase

Ref document number: 10847370

Country of ref document: EP

Kind code of ref document: A1