WO2011102543A1 - 急速充電装置及び移動式充電装置 - Google Patents

急速充電装置及び移動式充電装置 Download PDF

Info

Publication number
WO2011102543A1
WO2011102543A1 PCT/JP2011/054203 JP2011054203W WO2011102543A1 WO 2011102543 A1 WO2011102543 A1 WO 2011102543A1 JP 2011054203 W JP2011054203 W JP 2011054203W WO 2011102543 A1 WO2011102543 A1 WO 2011102543A1
Authority
WO
WIPO (PCT)
Prior art keywords
storage battery
power
charging
converter
capacity
Prior art date
Legal status (The legal status is an assumption and is not a legal conclusion. Google has not performed a legal analysis and makes no representation as to the accuracy of the status listed.)
Ceased
Application number
PCT/JP2011/054203
Other languages
English (en)
French (fr)
Japanese (ja)
Inventor
洋史 石川
敦 田村
島村 隆宏
正人 今泉
尊史 今井
Current Assignee (The listed assignees may be inaccurate. Google has not performed a legal analysis and makes no representation or warranty as to the accuracy of the list.)
JFE Engineering Corp
Original Assignee
JFE Engineering Corp
Priority date (The priority date is an assumption and is not a legal conclusion. Google has not performed a legal analysis and makes no representation as to the accuracy of the date listed.)
Filing date
Publication date
Application filed by JFE Engineering Corp filed Critical JFE Engineering Corp
Priority to US13/579,082 priority Critical patent/US20130049676A1/en
Priority to EP11744826.6A priority patent/EP2538518A4/en
Priority to CN2011800101331A priority patent/CN102782976A/zh
Publication of WO2011102543A1 publication Critical patent/WO2011102543A1/ja
Anticipated expiration legal-status Critical
Ceased legal-status Critical Current

Links

Images

Classifications

    • HELECTRICITY
    • H01ELECTRIC ELEMENTS
    • H01MPROCESSES OR MEANS, e.g. BATTERIES, FOR THE DIRECT CONVERSION OF CHEMICAL ENERGY INTO ELECTRICAL ENERGY
    • H01M10/00Secondary cells; Manufacture thereof
    • H01M10/42Methods or arrangements for servicing or maintenance of secondary cells or secondary half-cells
    • H01M10/44Methods for charging or discharging
    • BPERFORMING OPERATIONS; TRANSPORTING
    • B60VEHICLES IN GENERAL
    • B60LPROPULSION OF ELECTRICALLY-PROPELLED VEHICLES; SUPPLYING ELECTRIC POWER FOR AUXILIARY EQUIPMENT OF ELECTRICALLY-PROPELLED VEHICLES; ELECTRODYNAMIC BRAKE SYSTEMS FOR VEHICLES IN GENERAL; MAGNETIC SUSPENSION OR LEVITATION FOR VEHICLES; MONITORING OPERATING VARIABLES OF ELECTRICALLY-PROPELLED VEHICLES; ELECTRIC SAFETY DEVICES FOR ELECTRICALLY-PROPELLED VEHICLES
    • B60L1/00Supplying electric power to auxiliary equipment of vehicles
    • B60L1/006Supplying electric power to auxiliary equipment of vehicles to power outlets
    • BPERFORMING OPERATIONS; TRANSPORTING
    • B60VEHICLES IN GENERAL
    • B60LPROPULSION OF ELECTRICALLY-PROPELLED VEHICLES; SUPPLYING ELECTRIC POWER FOR AUXILIARY EQUIPMENT OF ELECTRICALLY-PROPELLED VEHICLES; ELECTRODYNAMIC BRAKE SYSTEMS FOR VEHICLES IN GENERAL; MAGNETIC SUSPENSION OR LEVITATION FOR VEHICLES; MONITORING OPERATING VARIABLES OF ELECTRICALLY-PROPELLED VEHICLES; ELECTRIC SAFETY DEVICES FOR ELECTRICALLY-PROPELLED VEHICLES
    • B60L50/00Electric propulsion with power supplied within the vehicle
    • B60L50/40Electric propulsion with power supplied within the vehicle using propulsion power supplied by capacitors
    • BPERFORMING OPERATIONS; TRANSPORTING
    • B60VEHICLES IN GENERAL
    • B60LPROPULSION OF ELECTRICALLY-PROPELLED VEHICLES; SUPPLYING ELECTRIC POWER FOR AUXILIARY EQUIPMENT OF ELECTRICALLY-PROPELLED VEHICLES; ELECTRODYNAMIC BRAKE SYSTEMS FOR VEHICLES IN GENERAL; MAGNETIC SUSPENSION OR LEVITATION FOR VEHICLES; MONITORING OPERATING VARIABLES OF ELECTRICALLY-PROPELLED VEHICLES; ELECTRIC SAFETY DEVICES FOR ELECTRICALLY-PROPELLED VEHICLES
    • B60L53/00Methods of charging batteries, specially adapted for electric vehicles; Charging stations or on-board charging equipment therefor; Exchange of energy storage elements in electric vehicles
    • B60L53/10Methods of charging batteries, specially adapted for electric vehicles; Charging stations or on-board charging equipment therefor; Exchange of energy storage elements in electric vehicles characterised by the energy transfer between the charging station and the vehicle
    • B60L53/11DC charging controlled by the charging station, e.g. mode 4
    • BPERFORMING OPERATIONS; TRANSPORTING
    • B60VEHICLES IN GENERAL
    • B60LPROPULSION OF ELECTRICALLY-PROPELLED VEHICLES; SUPPLYING ELECTRIC POWER FOR AUXILIARY EQUIPMENT OF ELECTRICALLY-PROPELLED VEHICLES; ELECTRODYNAMIC BRAKE SYSTEMS FOR VEHICLES IN GENERAL; MAGNETIC SUSPENSION OR LEVITATION FOR VEHICLES; MONITORING OPERATING VARIABLES OF ELECTRICALLY-PROPELLED VEHICLES; ELECTRIC SAFETY DEVICES FOR ELECTRICALLY-PROPELLED VEHICLES
    • B60L53/00Methods of charging batteries, specially adapted for electric vehicles; Charging stations or on-board charging equipment therefor; Exchange of energy storage elements in electric vehicles
    • B60L53/10Methods of charging batteries, specially adapted for electric vehicles; Charging stations or on-board charging equipment therefor; Exchange of energy storage elements in electric vehicles characterised by the energy transfer between the charging station and the vehicle
    • B60L53/14Conductive energy transfer
    • BPERFORMING OPERATIONS; TRANSPORTING
    • B60VEHICLES IN GENERAL
    • B60LPROPULSION OF ELECTRICALLY-PROPELLED VEHICLES; SUPPLYING ELECTRIC POWER FOR AUXILIARY EQUIPMENT OF ELECTRICALLY-PROPELLED VEHICLES; ELECTRODYNAMIC BRAKE SYSTEMS FOR VEHICLES IN GENERAL; MAGNETIC SUSPENSION OR LEVITATION FOR VEHICLES; MONITORING OPERATING VARIABLES OF ELECTRICALLY-PROPELLED VEHICLES; ELECTRIC SAFETY DEVICES FOR ELECTRICALLY-PROPELLED VEHICLES
    • B60L53/00Methods of charging batteries, specially adapted for electric vehicles; Charging stations or on-board charging equipment therefor; Exchange of energy storage elements in electric vehicles
    • B60L53/50Charging stations characterised by energy-storage or power-generation means
    • B60L53/53Batteries
    • BPERFORMING OPERATIONS; TRANSPORTING
    • B60VEHICLES IN GENERAL
    • B60LPROPULSION OF ELECTRICALLY-PROPELLED VEHICLES; SUPPLYING ELECTRIC POWER FOR AUXILIARY EQUIPMENT OF ELECTRICALLY-PROPELLED VEHICLES; ELECTRODYNAMIC BRAKE SYSTEMS FOR VEHICLES IN GENERAL; MAGNETIC SUSPENSION OR LEVITATION FOR VEHICLES; MONITORING OPERATING VARIABLES OF ELECTRICALLY-PROPELLED VEHICLES; ELECTRIC SAFETY DEVICES FOR ELECTRICALLY-PROPELLED VEHICLES
    • B60L53/00Methods of charging batteries, specially adapted for electric vehicles; Charging stations or on-board charging equipment therefor; Exchange of energy storage elements in electric vehicles
    • B60L53/50Charging stations characterised by energy-storage or power-generation means
    • B60L53/57Charging stations without connection to power networks
    • BPERFORMING OPERATIONS; TRANSPORTING
    • B60VEHICLES IN GENERAL
    • B60LPROPULSION OF ELECTRICALLY-PROPELLED VEHICLES; SUPPLYING ELECTRIC POWER FOR AUXILIARY EQUIPMENT OF ELECTRICALLY-PROPELLED VEHICLES; ELECTRODYNAMIC BRAKE SYSTEMS FOR VEHICLES IN GENERAL; MAGNETIC SUSPENSION OR LEVITATION FOR VEHICLES; MONITORING OPERATING VARIABLES OF ELECTRICALLY-PROPELLED VEHICLES; ELECTRIC SAFETY DEVICES FOR ELECTRICALLY-PROPELLED VEHICLES
    • B60L53/00Methods of charging batteries, specially adapted for electric vehicles; Charging stations or on-board charging equipment therefor; Exchange of energy storage elements in electric vehicles
    • B60L53/60Monitoring or controlling charging stations
    • B60L53/65Monitoring or controlling charging stations involving identification of vehicles or their battery types
    • BPERFORMING OPERATIONS; TRANSPORTING
    • B60VEHICLES IN GENERAL
    • B60LPROPULSION OF ELECTRICALLY-PROPELLED VEHICLES; SUPPLYING ELECTRIC POWER FOR AUXILIARY EQUIPMENT OF ELECTRICALLY-PROPELLED VEHICLES; ELECTRODYNAMIC BRAKE SYSTEMS FOR VEHICLES IN GENERAL; MAGNETIC SUSPENSION OR LEVITATION FOR VEHICLES; MONITORING OPERATING VARIABLES OF ELECTRICALLY-PROPELLED VEHICLES; ELECTRIC SAFETY DEVICES FOR ELECTRICALLY-PROPELLED VEHICLES
    • B60L58/00Methods or circuit arrangements for monitoring or controlling batteries or fuel cells, specially adapted for electric vehicles
    • B60L58/10Methods or circuit arrangements for monitoring or controlling batteries or fuel cells, specially adapted for electric vehicles for monitoring or controlling batteries
    • B60L58/18Methods or circuit arrangements for monitoring or controlling batteries or fuel cells, specially adapted for electric vehicles for monitoring or controlling batteries of two or more battery modules
    • BPERFORMING OPERATIONS; TRANSPORTING
    • B60VEHICLES IN GENERAL
    • B60LPROPULSION OF ELECTRICALLY-PROPELLED VEHICLES; SUPPLYING ELECTRIC POWER FOR AUXILIARY EQUIPMENT OF ELECTRICALLY-PROPELLED VEHICLES; ELECTRODYNAMIC BRAKE SYSTEMS FOR VEHICLES IN GENERAL; MAGNETIC SUSPENSION OR LEVITATION FOR VEHICLES; MONITORING OPERATING VARIABLES OF ELECTRICALLY-PROPELLED VEHICLES; ELECTRIC SAFETY DEVICES FOR ELECTRICALLY-PROPELLED VEHICLES
    • B60L58/00Methods or circuit arrangements for monitoring or controlling batteries or fuel cells, specially adapted for electric vehicles
    • B60L58/10Methods or circuit arrangements for monitoring or controlling batteries or fuel cells, specially adapted for electric vehicles for monitoring or controlling batteries
    • B60L58/18Methods or circuit arrangements for monitoring or controlling batteries or fuel cells, specially adapted for electric vehicles for monitoring or controlling batteries of two or more battery modules
    • B60L58/20Methods or circuit arrangements for monitoring or controlling batteries or fuel cells, specially adapted for electric vehicles for monitoring or controlling batteries of two or more battery modules having different nominal voltages
    • BPERFORMING OPERATIONS; TRANSPORTING
    • B60VEHICLES IN GENERAL
    • B60LPROPULSION OF ELECTRICALLY-PROPELLED VEHICLES; SUPPLYING ELECTRIC POWER FOR AUXILIARY EQUIPMENT OF ELECTRICALLY-PROPELLED VEHICLES; ELECTRODYNAMIC BRAKE SYSTEMS FOR VEHICLES IN GENERAL; MAGNETIC SUSPENSION OR LEVITATION FOR VEHICLES; MONITORING OPERATING VARIABLES OF ELECTRICALLY-PROPELLED VEHICLES; ELECTRIC SAFETY DEVICES FOR ELECTRICALLY-PROPELLED VEHICLES
    • B60L2210/00Converter types
    • B60L2210/10DC to DC converters
    • BPERFORMING OPERATIONS; TRANSPORTING
    • B60VEHICLES IN GENERAL
    • B60LPROPULSION OF ELECTRICALLY-PROPELLED VEHICLES; SUPPLYING ELECTRIC POWER FOR AUXILIARY EQUIPMENT OF ELECTRICALLY-PROPELLED VEHICLES; ELECTRODYNAMIC BRAKE SYSTEMS FOR VEHICLES IN GENERAL; MAGNETIC SUSPENSION OR LEVITATION FOR VEHICLES; MONITORING OPERATING VARIABLES OF ELECTRICALLY-PROPELLED VEHICLES; ELECTRIC SAFETY DEVICES FOR ELECTRICALLY-PROPELLED VEHICLES
    • B60L2270/00Problem solutions or means not otherwise provided for
    • B60L2270/20Inrush current reduction, i.e. avoiding high currents when connecting the battery
    • HELECTRICITY
    • H01ELECTRIC ELEMENTS
    • H01MPROCESSES OR MEANS, e.g. BATTERIES, FOR THE DIRECT CONVERSION OF CHEMICAL ENERGY INTO ELECTRICAL ENERGY
    • H01M2220/00Batteries for particular applications
    • H01M2220/20Batteries in motive systems, e.g. vehicle, ship, plane
    • YGENERAL TAGGING OF NEW TECHNOLOGICAL DEVELOPMENTS; GENERAL TAGGING OF CROSS-SECTIONAL TECHNOLOGIES SPANNING OVER SEVERAL SECTIONS OF THE IPC; TECHNICAL SUBJECTS COVERED BY FORMER USPC CROSS-REFERENCE ART COLLECTIONS [XRACs] AND DIGESTS
    • Y02TECHNOLOGIES OR APPLICATIONS FOR MITIGATION OR ADAPTATION AGAINST CLIMATE CHANGE
    • Y02EREDUCTION OF GREENHOUSE GAS [GHG] EMISSIONS, RELATED TO ENERGY GENERATION, TRANSMISSION OR DISTRIBUTION
    • Y02E60/00Enabling technologies; Technologies with a potential or indirect contribution to GHG emissions mitigation
    • Y02E60/10Energy storage using batteries
    • YGENERAL TAGGING OF NEW TECHNOLOGICAL DEVELOPMENTS; GENERAL TAGGING OF CROSS-SECTIONAL TECHNOLOGIES SPANNING OVER SEVERAL SECTIONS OF THE IPC; TECHNICAL SUBJECTS COVERED BY FORMER USPC CROSS-REFERENCE ART COLLECTIONS [XRACs] AND DIGESTS
    • Y02TECHNOLOGIES OR APPLICATIONS FOR MITIGATION OR ADAPTATION AGAINST CLIMATE CHANGE
    • Y02TCLIMATE CHANGE MITIGATION TECHNOLOGIES RELATED TO TRANSPORTATION
    • Y02T10/00Road transport of goods or passengers
    • Y02T10/60Other road transportation technologies with climate change mitigation effect
    • Y02T10/70Energy storage systems for electromobility, e.g. batteries
    • YGENERAL TAGGING OF NEW TECHNOLOGICAL DEVELOPMENTS; GENERAL TAGGING OF CROSS-SECTIONAL TECHNOLOGIES SPANNING OVER SEVERAL SECTIONS OF THE IPC; TECHNICAL SUBJECTS COVERED BY FORMER USPC CROSS-REFERENCE ART COLLECTIONS [XRACs] AND DIGESTS
    • Y02TECHNOLOGIES OR APPLICATIONS FOR MITIGATION OR ADAPTATION AGAINST CLIMATE CHANGE
    • Y02TCLIMATE CHANGE MITIGATION TECHNOLOGIES RELATED TO TRANSPORTATION
    • Y02T10/00Road transport of goods or passengers
    • Y02T10/60Other road transportation technologies with climate change mitigation effect
    • Y02T10/7072Electromobility specific charging systems or methods for batteries, ultracapacitors, supercapacitors or double-layer capacitors
    • YGENERAL TAGGING OF NEW TECHNOLOGICAL DEVELOPMENTS; GENERAL TAGGING OF CROSS-SECTIONAL TECHNOLOGIES SPANNING OVER SEVERAL SECTIONS OF THE IPC; TECHNICAL SUBJECTS COVERED BY FORMER USPC CROSS-REFERENCE ART COLLECTIONS [XRACs] AND DIGESTS
    • Y02TECHNOLOGIES OR APPLICATIONS FOR MITIGATION OR ADAPTATION AGAINST CLIMATE CHANGE
    • Y02TCLIMATE CHANGE MITIGATION TECHNOLOGIES RELATED TO TRANSPORTATION
    • Y02T10/00Road transport of goods or passengers
    • Y02T10/60Other road transportation technologies with climate change mitigation effect
    • Y02T10/72Electric energy management in electromobility
    • YGENERAL TAGGING OF NEW TECHNOLOGICAL DEVELOPMENTS; GENERAL TAGGING OF CROSS-SECTIONAL TECHNOLOGIES SPANNING OVER SEVERAL SECTIONS OF THE IPC; TECHNICAL SUBJECTS COVERED BY FORMER USPC CROSS-REFERENCE ART COLLECTIONS [XRACs] AND DIGESTS
    • Y02TECHNOLOGIES OR APPLICATIONS FOR MITIGATION OR ADAPTATION AGAINST CLIMATE CHANGE
    • Y02TCLIMATE CHANGE MITIGATION TECHNOLOGIES RELATED TO TRANSPORTATION
    • Y02T90/00Enabling technologies or technologies with a potential or indirect contribution to GHG emissions mitigation
    • Y02T90/10Technologies relating to charging of electric vehicles
    • Y02T90/12Electric charging stations
    • YGENERAL TAGGING OF NEW TECHNOLOGICAL DEVELOPMENTS; GENERAL TAGGING OF CROSS-SECTIONAL TECHNOLOGIES SPANNING OVER SEVERAL SECTIONS OF THE IPC; TECHNICAL SUBJECTS COVERED BY FORMER USPC CROSS-REFERENCE ART COLLECTIONS [XRACs] AND DIGESTS
    • Y02TECHNOLOGIES OR APPLICATIONS FOR MITIGATION OR ADAPTATION AGAINST CLIMATE CHANGE
    • Y02TCLIMATE CHANGE MITIGATION TECHNOLOGIES RELATED TO TRANSPORTATION
    • Y02T90/00Enabling technologies or technologies with a potential or indirect contribution to GHG emissions mitigation
    • Y02T90/10Technologies relating to charging of electric vehicles
    • Y02T90/14Plug-in electric vehicles
    • YGENERAL TAGGING OF NEW TECHNOLOGICAL DEVELOPMENTS; GENERAL TAGGING OF CROSS-SECTIONAL TECHNOLOGIES SPANNING OVER SEVERAL SECTIONS OF THE IPC; TECHNICAL SUBJECTS COVERED BY FORMER USPC CROSS-REFERENCE ART COLLECTIONS [XRACs] AND DIGESTS
    • Y02TECHNOLOGIES OR APPLICATIONS FOR MITIGATION OR ADAPTATION AGAINST CLIMATE CHANGE
    • Y02TCLIMATE CHANGE MITIGATION TECHNOLOGIES RELATED TO TRANSPORTATION
    • Y02T90/00Enabling technologies or technologies with a potential or indirect contribution to GHG emissions mitigation
    • Y02T90/10Technologies relating to charging of electric vehicles
    • Y02T90/16Information or communication technologies improving the operation of electric vehicles
    • Y02T90/167Systems integrating technologies related to power network operation and communication or information technologies for supporting the interoperability of electric or hybrid vehicles, i.e. smartgrids as interface for battery charging of electric vehicles [EV] or hybrid vehicles [HEV]
    • YGENERAL TAGGING OF NEW TECHNOLOGICAL DEVELOPMENTS; GENERAL TAGGING OF CROSS-SECTIONAL TECHNOLOGIES SPANNING OVER SEVERAL SECTIONS OF THE IPC; TECHNICAL SUBJECTS COVERED BY FORMER USPC CROSS-REFERENCE ART COLLECTIONS [XRACs] AND DIGESTS
    • Y04INFORMATION OR COMMUNICATION TECHNOLOGIES HAVING AN IMPACT ON OTHER TECHNOLOGY AREAS
    • Y04SSYSTEMS INTEGRATING TECHNOLOGIES RELATED TO POWER NETWORK OPERATION, COMMUNICATION OR INFORMATION TECHNOLOGIES FOR IMPROVING THE ELECTRICAL POWER GENERATION, TRANSMISSION, DISTRIBUTION, MANAGEMENT OR USAGE, i.e. SMART GRIDS
    • Y04S30/00Systems supporting specific end-user applications in the sector of transportation
    • Y04S30/10Systems supporting the interoperability of electric or hybrid vehicles
    • Y04S30/14Details associated with the interoperability, e.g. vehicle recognition, authentication, identification or billing

Definitions

  • the present invention relates to a quick charging device for charging a power storage battery mounted on an electric vehicle, for example, and a mobile charging device in which the quick charging device is mounted on a vehicle.
  • the conventional charging device described above is configured to obtain a large amount of direct current power from the storage battery for facilities and rapidly discharge the power storage battery for the electric vehicle.
  • the control is complicated, and the quick charging storage battery is expensive. there were.
  • the present invention has been made to solve the above-described problems, and facilitates control when charging a power storage battery of an electric vehicle, and further reduces the size and cost even when a quick charge storage battery is used. It is an object of the present invention to provide a quick charging device and a mobile charging device that can be used.
  • the quick charging device includes a storage battery capable of rapid charging to a power storage battery that is a load, a large capacity storage battery having a larger electric capacity than the storage battery, and a storage battery and a large capacity storage battery when Are connected in series, and a controller for adding the power of the large capacity storage battery to the power of the storage battery and supplying it to the power storage battery is provided.
  • the storage battery and the large capacity storage battery are connected in series, and the power of the large capacity storage battery is added to the power of the storage battery and supplied to the power storage battery. Control when charging the storage battery is facilitated.
  • the power of the large-capacity storage battery is added to the power of the storage battery, so it is possible to use a storage battery for rapid charging with a small electric capacity, thereby reducing the cost. Quick charge device can be provided.
  • FIG. 1 is a circuit diagram showing a schematic configuration of a rapid charging apparatus according to Embodiment 1.
  • FIG. 3 is a circuit diagram illustrating charging of a large-capacity storage battery in the rapid charging apparatus according to the first embodiment.
  • FIG. 3 is a circuit diagram when charging the first storage battery for rapid charging in the rapid charging apparatus of the first embodiment. It is a circuit diagram when charging the 2nd storage battery for quick charge in the quick charge apparatus of Embodiment 1.
  • FIG. FIG. 3 is a circuit diagram when charging a power storage battery via a buffer resistor in the quick charging device of the first embodiment.
  • FIG. 3 is a circuit diagram when charging a power storage battery via a DC / DC converter in the rapid charging apparatus of the first embodiment.
  • FIG. 3 is a circuit diagram when charging a power storage battery without passing through a buffer resistor and a DC / DC converter in the quick charging device of the first embodiment.
  • FIG. 3 is a circuit diagram when charging the power storage battery by switching from the first rapid charge storage battery to the second rapid charge storage battery in the quick charge device of the first embodiment.
  • FIG. 3 is a voltage and current curve diagram showing discharge characteristics in the rapid charging apparatus of the first embodiment. It is a circuit diagram when charging the 1st storage battery for quick charging from a high capacity
  • FIG. It is a circuit diagram when charging the 2nd storage battery for quick charging from a high capacity
  • FIG. 1 is a circuit diagram showing a schematic configuration of the rapid charging apparatus according to the first embodiment.
  • a rapid charging apparatus 10 shown in the figure is an apparatus for rapidly charging a power storage battery 20 mounted on, for example, an electric vehicle.
  • an AC / DC converter 11 connected to an AC 200V commercial power source, a charging / discharging speed, and the like.
  • First and second quick charge storage batteries 12 and 13 storage battery
  • a large capacity storage battery 14 having a larger electric capacity than that of the first and second quick charge storage batteries 12 and 13 and a slow charge / discharge rate
  • a DC / DC converter 15 connected to the AC / DC converter 11, a controller 16 for controlling the AC / DC converter 11 and the DC / DC converter 15, and switches SW1 to SW8 for switching a current flow in the apparatus 10.
  • a buffer resistor R1 inserted between the switch SW8 and the output terminal of the DC / DC converter 15, and the voltage in the device 10 Voltmeters V1 to V4 and ammeters A1 to A4 for measuring currents are provided.
  • the buffer resistor R1 described above is a resistor for suppressing an excessive current that flows due to a potential difference with the device 10 when the power storage battery 20 is charged.
  • the AC / DC converter 11 has a function of converting an alternating voltage into a direct current and stepping up and down the output based on an instruction from the controller 16.
  • the DC / DC converter 15 has a function of increasing / decreasing the DC voltage based on an instruction from the controller 16.
  • lithium ion batteries are used for the first and second quick charge storage batteries 12 and 13 and the large capacity storage battery 14.
  • an electric double layer capacitor having a high charge / discharge rate can be used.
  • the controller 16 uses the switches SW1 to SW8 based on the measurement information measured by the voltmeters V1 to V4 and the ammeters A1 to A4 and, for example, CAN communication input when the power storage battery 20 of the electric vehicle is connected. Open / close control is performed. Further, the controller 16 performs voltage / current control of the AC / DC converter 11 and voltage / current control of the DC / DC converter 15 as described above.
  • the operation of the quick charging apparatus 10 configured as described above will be described with reference to FIGS.
  • the controller 16 detects a night time when the electricity rate is low by using its own timer function
  • the controller 16 detects whether or not the remaining capacity of the large-capacity storage battery 14 is fully charged by measuring the terminal voltage. If it is determined that the controller 16 is not fully charged, the controller 16 connects the AC / DC converter 11 and the large-capacity storage battery 14 as shown by the thick line in FIG. ) To charge the large-capacity storage battery 14.
  • charging is performed by a method suitable for the battery used for the large-capacity storage battery 14 such as a constant voltage constant current method.
  • Charge control in accordance with the remaining battery level is performed by the controller 16. Since the large-capacity storage battery 14 has a large capacity, for example, it is charged over a long time such as overnight.
  • the controller 16 measures the remaining charge amount of the first quick-charge storage battery 12 in the same manner. To charge.
  • the controller 16 connects the AC / DC converter 11 and the first quick charge storage battery 12 as shown by a bold line in FIG. 3, and then, at a voltage and current suitable for the first quick charge storage battery 12.
  • the AC / DC converter 11 is controlled so that charging is performed.
  • the charging of the first rapid charging storage battery 12 is completed in a shorter time than the charging of the large capacity storage battery 14, for example, from several minutes to about an hour.
  • the controller 16 similarly determines the remaining amount of the second rapid charging storage battery 13, and when it is determined that charging is necessary, the thick line in FIG. As shown, the output terminal of the AC / DC converter 11 and the second rapid charging storage battery 13 are connected by switching the switch SW6, and the second rapid charging storage battery 13 is charged.
  • the controller 16 detects reception of CAN communication from the electric vehicle after the charging of the first and second quick-charge storage batteries 12 and 13 and the large-capacity storage battery 14 is completed, the controller 16 powers the apparatus 10 and the electric vehicle. It is determined that the storage battery 20 is connected. Then, the controller 16 reads the power (voltage, current) necessary for the power storage battery 20 included in the CAN communication and starts charging. First, as shown by a thick line in FIG. 5, the controller 16 connects the first quick-charge storage battery 12 and the large-capacity storage battery 14 in series, and connects the switch SW8 to the buffer resistor R1 side to The storage battery 20 is charged.
  • the voltage of the large-capacity storage battery 14 is V1 and the voltage of the first rapid charging storage battery 12 is V2 ( ⁇ V1)
  • the voltage V1 + V2 is applied to the power storage battery 20 as shown in FIG.
  • the voltage is gradually lowered as the charging progresses.
  • the power storage battery 20 is charged from only two storage batteries, the efficiency is high and a stable charging operation is possible.
  • the controller 16 6 controls the DC / DC converter 15 so as to obtain a current or voltage necessary for charging the power storage battery 20 to charge the power storage battery 20.
  • the controller 16 may change the switch SW8 to a DC / DC converter as shown in FIG.
  • the power storage battery 20 is directly charged without going through the buffer resistor R1 and the DC / DC converter 15.
  • While the controller 16 is repeatedly charging the power storage battery 20, when the power of the first quick charge storage battery 12 becomes equal to or lower than the power required for charging, that is, the voltage V2 of the storage battery 12 changes to the time t. For example, when it becomes almost zero with the passage of time, as shown by a thick line in FIG. 8, the first rapid charge storage battery 12 is disconnected from the large capacity storage battery 14 and the second rapid charge storage battery 13 which is the next storage battery. And the large-capacity storage battery 14 are connected in series. Then, the controller 16 adds the voltage V3 of the second quick charge storage battery 13 to the voltage V1 of the large capacity storage battery 14, and similarly to the case where the first quick charge storage battery 12 is used, the power storage battery 20 is used. To charge.
  • FIGS. 5 to 7 the voltage difference between the power storage battery 20 due to the connection of the first or second quick charge storage batteries 12 and 13 and the large capacity storage battery 14, the characteristics of the power storage battery 20, etc.
  • the switch SW8 By switching the switch SW8, it is possible to select the connection of the buffer resistor R1, the connection of the DC / DC converter 15, or the direct connection.
  • the time change of the charging voltage in this case is shown in FIG.
  • FIG. 9A shows an example in which the voltage V3 of the second quick charge storage battery 13 is V3 ⁇ V1.
  • the controller 16 controls the DC / DC converter 15 so that the voltage V ⁇ b> 1 of the large-capacity storage battery 14 is directly supplied to the power storage battery 20 via the DC / DC converter 15.
  • the voltage V ⁇ b> 1 of the large capacity storage battery 14 becomes substantially constant and is supplied to the power storage battery 20 via the DC / DC converter 15.
  • the current i at the time of charging is as shown in FIG. That is, until the electric capacities of the first and second quick charge storage batteries 12 and 13 become substantially zero, the first quick charge storage battery 12 and the large capacity storage battery 14 or the second quick charge storage battery 13 are used.
  • the power storage battery 20 is charged using the large-capacity storage battery 14.
  • the current required by the power storage battery 20 is supplied using only the large capacity storage battery 14 and continued. Can be charged.
  • the controller 16 charges the first and second quick charge storage batteries 12 and 13 using the power of the large capacity storage battery 14 by the following method. First, as shown by a thick line in FIG. 10, the controller 16 connects the switch SW8 to the output side of the DC / DC converter 15, and connects the large capacity storage battery 14 and the first quick charge storage battery 12 to the DC / DC converter 15. Connect through.
  • the controller 16 controls the DC / DC converter 15 so that electric power (voltage, current) necessary for charging the first rapid charging storage battery 12 is supplied from the large-capacity storage battery 14 with an appropriate current and voltage. Control.
  • the controller 16 switches the connection with the large capacity storage battery 14 to the second quick charge storage battery 13 as shown by a thick line in FIG.
  • the DC / DC converter 15 is controlled so that electric power (voltage, current) necessary for charging the second rapid charging storage battery 13 is supplied from the large-capacity storage battery 14.
  • the charging operation described with reference to FIGS. 5 to 8 can be performed again. This is because the electric capacities of the first and second quick charge storage batteries 12 and 13 are smaller than that of the large capacity storage battery 14.
  • the controller 16 charges the large-capacity storage battery 14 by the method shown in FIG. When such a state occurs during the daytime period, charging is performed without using nighttime power to prepare for the next charging of the power storage battery 20.
  • the power storage battery 20 when charging the power storage battery 20 of the electric vehicle, the power storage battery 20 is charged by connecting the large-capacity storage battery 14 and the first rapid charge storage battery 12 in series. To do. When the electric capacity of the first rapid charging storage battery 12 becomes substantially zero due to the charging, the large capacity storage battery 14 and the second rapid charging storage battery 13 are connected in series to charge the power storage battery 20. Further, when the electric capacity of the second quick charge storage battery 13 becomes almost zero, the power storage battery 20 is charged only from the large capacity storage battery 14.
  • FIG. 12 is a circuit diagram when charging the first rapid charging storage battery and charging the power storage battery with the second rapid charging storage battery and the large-capacity storage battery in the rapid charging apparatus of the second embodiment.
  • the quick charging apparatus 10 that operates mainly by storing nighttime power in the large-capacity storage battery 20 has been described.
  • the second quick charge storage battery 13 is connected in series with the large capacity storage battery 20 to charge the power storage battery 20.
  • the auxiliary charging of the first rapid charging storage battery 12 whose remaining amount becomes zero can be performed only while the power storage battery 20 is not connected.
  • the second quick charge storage battery 13 is connected in series with the large capacity storage battery 20 to provide a power storage battery.
  • the AC / DC converter 11 can be used to perform supplementary charging to the first rapid charging storage battery 12.
  • the connection between the first and second quick charge storage batteries 12 and 13 and the AC / DC converter 11 and the connection to the DC / DC converter 15 are also performed. Both of the switching are switched by the switch SW6. However, in the second embodiment, as shown in FIG. 12, the portion is switched separately by the two switching switches SW6 and SW6-1.
  • the remaining amount of the first rapid charging storage battery 12 is almost zero, and the second rapid charging storage battery 13 and the large capacity storage battery 20 are used for power.
  • the quick storage battery 20 had to wait while the remaining amount was almost zero.
  • the AC / DC converter 11 and the first quick charge storage battery 12 are connected in series by switching the changeover switch SW6-1 while the power storage battery 20 is rapidly charged using the storage battery 13 and the large capacity storage battery 20.
  • the power storage battery 20 when the power storage battery 20 is connected to the device 10 when the remaining amount of the second rapid charge storage battery 13 is substantially zero, the first rapid charge storage battery 12 and the large capacity While the storage battery 20 is used for quick charging to the power storage battery 20, supplementary charging from the AC / DC converter 11 to the second rapid charging storage battery 13 can be performed.
  • the daytime power is used instead of the nighttime power, but since the capacity of each of the quick charging storage batteries 12 and 13 is small, the amount of charging power is small compared to the large capacity storage battery 14, Even if charging is performed using electric power in the daytime, it is possible to prevent an increase in electricity charges. Also in the second embodiment, the operations shown in FIGS. 2 to 8 in the first embodiment can be similarly performed.
  • the second quick charge storage battery 13 and the large capacity storage battery 14 are used to store the power storage battery 20. Since the AC / DC converter 11 can be used for the auxiliary charging of the first rapid charging storage battery 12 at the same time, the power storage battery 20 can be continuously charged. .
  • first and second embodiments it has been described that two quick-charge storage batteries are used. However, one or three or more quick-charge storage batteries may be used. Further, as the first and second quick charge storage batteries 12 and 13, quick charge storage batteries having different electric capacities and characteristics may be used in combination.
  • an auxiliary power source (solar power generation, solar thermal power generation, wind power generation, geothermal power generation, etc.) is provided in addition to the commercial power source, and the first and second quick charging in the apparatus 10 are performed. It is also possible to supply power by connecting the storage batteries 12 and 13 in parallel. As a result, the amount of power received from the commercial power source can be reduced. In this case, in the case of facilities that generate alternating current, such as wind power generation, the batteries are supplied to the storage batteries 12 and 13 after being converted to direct current. 12 and 13.
  • a commercial power source is used as the power source of the quick charging device 10, but the power source device is not limited to this, and any power source device that generates AC power, such as a private power generation facility, may be used. .
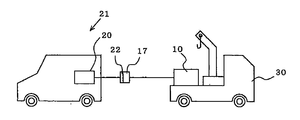
  • FIG. 13 is a schematic diagram of a mobile charging apparatus in which the quick charging apparatus according to Embodiment 1 is mounted on a vehicle.
  • the mobile charging device of the third embodiment is a vehicle in which the quick charging device 10 described in the first embodiment is mounted on a vehicle 30.
  • the quick charging device 10 does not require input of AC power when charging the power storage battery 20, and therefore, when receiving a notification from the electric vehicle 21 that has run out of power storage battery 20 on the road and cannot move.
  • the vehicle 30 travels to the site, connects the quick charging connector 17 and the connector 22 on the electric vehicle 21 side on the road, and charges the power storage battery 20 of the electric vehicle 21 in a short time.
  • this mobile charging device can be charged in-vehicle and stand by in advance, the electric vehicle 21 that has become unable to move on the road can be urgently moved to a nearby power station or returned home. Necessary power charging can be performed in a short time.

Landscapes

  • Engineering & Computer Science (AREA)
  • Power Engineering (AREA)
  • Mechanical Engineering (AREA)
  • Transportation (AREA)
  • Sustainable Energy (AREA)
  • Life Sciences & Earth Sciences (AREA)
  • Sustainable Development (AREA)
  • Manufacturing & Machinery (AREA)
  • Chemical & Material Sciences (AREA)
  • Chemical Kinetics & Catalysis (AREA)
  • Electrochemistry (AREA)
  • General Chemical & Material Sciences (AREA)
  • Charge And Discharge Circuits For Batteries Or The Like (AREA)
  • Secondary Cells (AREA)
  • Electric Propulsion And Braking For Vehicles (AREA)
PCT/JP2011/054203 2010-02-19 2011-02-18 急速充電装置及び移動式充電装置 Ceased WO2011102543A1 (ja)

Priority Applications (3)

Application Number Priority Date Filing Date Title
US13/579,082 US20130049676A1 (en) 2010-02-19 2011-02-18 Quick charging device and mobile charging apparatus
EP11744826.6A EP2538518A4 (en) 2010-02-19 2011-02-18 FAST CHARGER AND MOBILE LOADING DEVICE
CN2011800101331A CN102782976A (zh) 2010-02-19 2011-02-18 快速充电装置以及移动式充电装置

Applications Claiming Priority (2)

Application Number Priority Date Filing Date Title
JP2010034805 2010-02-19
JP2010-034805 2010-02-19

Publications (1)

Publication Number Publication Date
WO2011102543A1 true WO2011102543A1 (ja) 2011-08-25

Family

ID=44483123

Family Applications (1)

Application Number Title Priority Date Filing Date
PCT/JP2011/054203 Ceased WO2011102543A1 (ja) 2010-02-19 2011-02-18 急速充電装置及び移動式充電装置

Country Status (5)

Country Link
US (1) US20130049676A1 (enExample)
EP (1) EP2538518A4 (enExample)
JP (1) JP5016121B2 (enExample)
CN (1) CN102782976A (enExample)
WO (1) WO2011102543A1 (enExample)

Cited By (2)

* Cited by examiner, † Cited by third party
Publication number Priority date Publication date Assignee Title
EP2612786A3 (en) * 2012-01-09 2016-12-07 Tata Technologies Pte Ltd Buddy charging for electric vehicles
EP3604020A1 (fr) * 2012-01-23 2020-02-05 Commissariat à l'Energie Atomique et aux Energies Alternatives Gestion combinée de deux sources de tension

Families Citing this family (33)

* Cited by examiner, † Cited by third party
Publication number Priority date Publication date Assignee Title
JP2012034554A (ja) * 2009-08-21 2012-02-16 Jfe Engineering Corp 急速充電装置
KR101245277B1 (ko) * 2010-06-08 2013-03-19 주식회사 엘지화학 배터리 팩 충전 시스템 및 방법
DE102011107628A1 (de) * 2011-06-30 2013-01-03 Rwe Ag Ladevorrichtung für elektrofahrzeuge und verfahren zum laden von elektrofahrzeugen
US9067502B2 (en) * 2011-08-30 2015-06-30 Toyota Jidosha Kabushiki Kaisha Vehicle
KR20130046234A (ko) * 2011-10-27 2013-05-07 삼성에스디아이 주식회사 배터리 팩 및 이의 제어 방법
KR101585117B1 (ko) * 2011-12-08 2016-01-21 가부시키가이샤 에네르기 오요 기쥬츠켄큐쇼 급속충전용 전원 시스템
EP2647522B1 (de) * 2012-04-03 2020-01-22 Enrichment Technology Company Ltd. Stromtankstelle mit Schnellladestationen
WO2013179930A1 (ja) * 2012-05-28 2013-12-05 兵庫ベンダ工業株式会社 バッテリ装置、情報処理装置、およびそれらの制御方法ならびに制御プログラム
CN104124741A (zh) * 2013-04-29 2014-10-29 鸿富锦精密电子(天津)有限公司 定时充电电路
JP6193475B2 (ja) * 2014-03-27 2017-09-06 本田技研工業株式会社 車両給電方法
US10333322B2 (en) * 2015-03-24 2019-06-25 Horizon Hobby, LLC Systems and methods for battery charger with safety component
DE102015211683A1 (de) * 2015-06-24 2016-12-29 WhiteRock Aktiengesellschaft Verfahren zum Laden von Zielbatterien mit einem Pufferbatteriesystem
GB2537275B (en) * 2015-10-16 2018-02-14 Ford Global Tech Llc A vehicle electrical system
KR101924520B1 (ko) 2016-06-16 2018-12-03 주식회사 엘지화학 배터리 시스템 관리 장치 및 방법
DE102016221829B4 (de) 2016-11-08 2025-02-20 Audi Ag Energieversorgungsfahrzeug zum Versorgen eines elektrisch antreibbaren Kraftfahrzeugs mit elektrischer Energie
EP3950414A1 (en) 2017-03-24 2022-02-09 The Noco Company Electric vehicle (ev) fast recharge station with multiple power reservoirs
US11600996B2 (en) 2017-03-24 2023-03-07 The Noco Company Electric vehicle (EV) fast recharge station and system
IT201700046501A1 (it) * 2017-04-28 2018-10-28 Alberto Chiesi Rete di ricarica per veicoli elettrici
JP6593855B2 (ja) * 2017-05-09 2019-10-23 合同会社チュラエコネット 太陽光発電設備
CN108565916A (zh) * 2018-04-25 2018-09-21 爱驰汽车有限公司 一种电池包串联装置及其控制方法
DE102018117157A1 (de) * 2018-07-16 2020-01-16 Still Gmbh Batterieladeeinrichtung für Flurförderzeuge
IT201800021109A1 (it) 2018-12-27 2020-06-27 Ferrari Spa Dispositivo di ricarica rapido per un veicolo con propulsione elettrica e provvisto di spintori a gas e relativo metodo di utilizzo
KR20210005396A (ko) * 2019-07-04 2021-01-14 현대자동차주식회사 충전 장치 및 그 제어 방법
CN114616122B (zh) * 2019-08-28 2024-01-05 斯巴克充电公司 电动车充电装置、系统及方法
CN110979092A (zh) * 2019-11-07 2020-04-10 航天科工微电子系统研究院有限公司 一种特种车辆供电系统及其工作方法
EP4186139A1 (en) * 2020-07-23 2023-05-31 Marscharge, Inc. Decentralized reserved power charger
KR102308909B1 (ko) * 2020-08-19 2021-10-05 주식회사 피앤에이 이동형 충전기
JP7294286B2 (ja) * 2020-09-18 2023-06-20 トヨタ自動車株式会社 充電器、及び車両
CN116325420B (zh) * 2021-07-29 2025-09-23 宁德时代新能源科技股份有限公司 电池充电的方法和充放电装置
US12021404B2 (en) * 2021-09-23 2024-06-25 Der-X Energy Llc Mobile generator charging system and method
US11855470B2 (en) * 2021-09-23 2023-12-26 Fluidity Power LLC Mobile generator charging system and method
US12249862B2 (en) * 2022-01-08 2025-03-11 Lubomir Parobek Resistor-free supercapacitor mobile device powering layout
CN115402131B (zh) * 2022-08-18 2025-04-22 华为数字能源技术有限公司 一种非车载充电机、充电系统及充电场站

Citations (7)

* Cited by examiner, † Cited by third party
Publication number Priority date Publication date Assignee Title
JPH05207668A (ja) 1992-01-24 1993-08-13 Nissan Motor Co Ltd 充電装置
JP2004274862A (ja) * 2003-03-07 2004-09-30 Sony Corp 充電方法、充電回路およびそれを用いた充電装置
JP2004328826A (ja) * 2003-04-22 2004-11-18 Fuji Heavy Ind Ltd 充電装置及び充電方法
JP2006020438A (ja) * 2004-07-02 2006-01-19 Nissan Motor Co Ltd 充電スタンド
JP3123576U (ja) * 2006-05-11 2006-07-20 伊藤 昇 Evステーションシステム
JP2009268343A (ja) * 2008-04-03 2009-11-12 Panasonic Corp 電源装置
JP2010022108A (ja) * 2008-07-09 2010-01-28 Fuji Heavy Ind Ltd 電源装置

Family Cites Families (13)

* Cited by examiner, † Cited by third party
Publication number Priority date Publication date Assignee Title
US4540929A (en) * 1984-02-16 1985-09-10 Energy Exchange Systems Battery recharger
JPH03123576U (enExample) * 1990-03-26 1991-12-16
US6268711B1 (en) * 1999-05-05 2001-07-31 Texas Instruments Incorporated Battery manager
JP2001260718A (ja) * 2000-03-16 2001-09-26 Railway Technical Res Inst 電鉄用直流電力供給設備
US6377029B1 (en) * 2000-04-26 2002-04-23 Vector Manufacturing, Ltd. Current regulated mobile battery booster
US20040201365A1 (en) * 2001-04-05 2004-10-14 Electrovaya Inc. Energy storage device for loads having variable power rates
JP2003259508A (ja) * 2002-02-26 2003-09-12 Sanyo Electric Co Ltd 電気自動車用の電源装置
KR100675366B1 (ko) * 2002-12-30 2007-01-29 주식회사 네스캡 전기에너지 저장장치 및 이의 충방전 방법
US20060220610A1 (en) * 2005-04-05 2006-10-05 Kold Ban International, Inc. Power management controller
CN101346849A (zh) * 2005-12-28 2009-01-14 森幸信 无铅电池和使用其的车辆系统
CN101150259B (zh) * 2006-09-18 2010-05-12 比亚迪股份有限公司 电动车充电系统
US20100039062A1 (en) * 2008-08-18 2010-02-18 Gong-En Gu Smart charge system for electric vehicles integrated with alternative energy sources and energy storage
JP2012034554A (ja) * 2009-08-21 2012-02-16 Jfe Engineering Corp 急速充電装置

Patent Citations (7)

* Cited by examiner, † Cited by third party
Publication number Priority date Publication date Assignee Title
JPH05207668A (ja) 1992-01-24 1993-08-13 Nissan Motor Co Ltd 充電装置
JP2004274862A (ja) * 2003-03-07 2004-09-30 Sony Corp 充電方法、充電回路およびそれを用いた充電装置
JP2004328826A (ja) * 2003-04-22 2004-11-18 Fuji Heavy Ind Ltd 充電装置及び充電方法
JP2006020438A (ja) * 2004-07-02 2006-01-19 Nissan Motor Co Ltd 充電スタンド
JP3123576U (ja) * 2006-05-11 2006-07-20 伊藤 昇 Evステーションシステム
JP2009268343A (ja) * 2008-04-03 2009-11-12 Panasonic Corp 電源装置
JP2010022108A (ja) * 2008-07-09 2010-01-28 Fuji Heavy Ind Ltd 電源装置

Non-Patent Citations (1)

* Cited by examiner, † Cited by third party
Title
See also references of EP2538518A4

Cited By (2)

* Cited by examiner, † Cited by third party
Publication number Priority date Publication date Assignee Title
EP2612786A3 (en) * 2012-01-09 2016-12-07 Tata Technologies Pte Ltd Buddy charging for electric vehicles
EP3604020A1 (fr) * 2012-01-23 2020-02-05 Commissariat à l'Energie Atomique et aux Energies Alternatives Gestion combinée de deux sources de tension

Also Published As

Publication number Publication date
US20130049676A1 (en) 2013-02-28
JP2011193716A (ja) 2011-09-29
EP2538518A4 (en) 2014-09-17
JP5016121B2 (ja) 2012-09-05
EP2538518A1 (en) 2012-12-26
CN102782976A (zh) 2012-11-14

Similar Documents

Publication Publication Date Title
JP5016121B2 (ja) 急速充電装置及び移動式充電装置
JP4954335B2 (ja) 急速充電装置
US11021067B2 (en) Electrically powered vehicle and control method for electrically powered vehicle
EP2469682A1 (en) Quick charging device
JP6616902B2 (ja) 電気自動車用駆動回路及びその制御方法
CN100515819C (zh) 蓄电式馈电线电压补偿装置以及方法
JP6653197B2 (ja) 蓄電装置、機器及び制御方法
US10071646B2 (en) Electrical system and method for operating an electrical system
US20130264995A1 (en) Battery charging system and charging method using same
US20100231164A1 (en) Charging system for electric vehicle
EP2369712A1 (en) Battery charging apparatus
JP2012135154A (ja) リチウムイオン二次電池の充電制御装置
JP7006572B2 (ja) 車両用充電制御システム
CN102709991A (zh) 向至少一个负载供给功率的充电装置、系统和方法
WO2011105580A1 (ja) 充電システム、充放電制御装置および充放電制御方法
KR101663991B1 (ko) 하이브리드 충전장치
CN116601046B (zh) 供电系统
KR102336964B1 (ko) 마일드 하이브리드 자동차의 배터리 및 배터리 제어 방법
JP2013157282A (ja) 電源装置及びこれを備える車両並びに蓄電装置
JP2020114124A (ja) 車両の充電制御装置
WO2019093048A1 (ja) 複合蓄電システム
US11760212B1 (en) Electrical power generation and distribution
JP5312998B2 (ja) 太陽電池システムおよび充電制御方法
Jung et al. Grid-connected electric vehicles charger station based on lithium polymer battery energy storage system
JP2012253879A (ja) 充電器及び充電方法

Legal Events

Date Code Title Description
WWE Wipo information: entry into national phase

Ref document number: 201180010133.1

Country of ref document: CN

121 Ep: the epo has been informed by wipo that ep was designated in this application

Ref document number: 11744826

Country of ref document: EP

Kind code of ref document: A1

NENP Non-entry into the national phase

Ref country code: DE

WWE Wipo information: entry into national phase

Ref document number: 13579082

Country of ref document: US

Ref document number: 2011744826

Country of ref document: EP