WO2011043305A1 - 通信用シート構造体および情報管理システム - Google Patents

通信用シート構造体および情報管理システム Download PDF

Info

Publication number
WO2011043305A1
WO2011043305A1 PCT/JP2010/067386 JP2010067386W WO2011043305A1 WO 2011043305 A1 WO2011043305 A1 WO 2011043305A1 JP 2010067386 W JP2010067386 W JP 2010067386W WO 2011043305 A1 WO2011043305 A1 WO 2011043305A1
Authority
WO
WIPO (PCT)
Prior art keywords
sheet structure
communication sheet
layer
conductor
communication
Prior art date
Legal status (The legal status is an assumption and is not a legal conclusion. Google has not performed a legal analysis and makes no representation as to the accuracy of the status listed.)
Ceased
Application number
PCT/JP2010/067386
Other languages
English (en)
French (fr)
Japanese (ja)
Inventor
真智子 大内田
伊藤 誠司
Current Assignee (The listed assignees may be inaccurate. Google has not performed a legal analysis and makes no representation or warranty as to the accuracy of the list.)
Teijin Frontier Co Ltd
Original Assignee
Teijin Fibers Ltd
Priority date (The priority date is an assumption and is not a legal conclusion. Google has not performed a legal analysis and makes no representation as to the accuracy of the date listed.)
Filing date
Publication date
Application filed by Teijin Fibers Ltd filed Critical Teijin Fibers Ltd
Priority to EP10821975.9A priority Critical patent/EP2487817B1/en
Priority to US13/500,153 priority patent/US9030359B2/en
Priority to HK12111974.3A priority patent/HK1171291B/xx
Priority to IN2798DEN2012 priority patent/IN2012DN02798A/en
Priority to JP2011535386A priority patent/JP5318219B2/ja
Priority to CN201080044798.XA priority patent/CN102656828B/zh
Priority to KR1020127005660A priority patent/KR101676897B1/ko
Publication of WO2011043305A1 publication Critical patent/WO2011043305A1/ja
Anticipated expiration legal-status Critical
Ceased legal-status Critical Current

Links

Images

Classifications

    • HELECTRICITY
    • H04ELECTRIC COMMUNICATION TECHNIQUE
    • H04BTRANSMISSION
    • H04B13/00Transmission systems characterised by the medium used for transmission, not provided for in groups H04B3/00 - H04B11/00
    • BPERFORMING OPERATIONS; TRANSPORTING
    • B42BOOKBINDING; ALBUMS; FILES; SPECIAL PRINTED MATTER
    • B42DBOOKS; BOOK COVERS; LOOSE LEAVES; PRINTED MATTER CHARACTERISED BY IDENTIFICATION OR SECURITY FEATURES; PRINTED MATTER OF SPECIAL FORMAT OR STYLE NOT OTHERWISE PROVIDED FOR; DEVICES FOR USE THEREWITH AND NOT OTHERWISE PROVIDED FOR; MOVABLE-STRIP WRITING OR READING APPARATUS
    • B42D25/00Information-bearing cards or sheet-like structures characterised by identification or security features; Manufacture thereof
    • HELECTRICITY
    • H01ELECTRIC ELEMENTS
    • H01PWAVEGUIDES; RESONATORS, LINES, OR OTHER DEVICES OF THE WAVEGUIDE TYPE
    • H01P3/00Waveguides; Transmission lines of the waveguide type
    • H01P3/02Waveguides; Transmission lines of the waveguide type with two longitudinal conductors
    • H01P3/026Coplanar striplines [CPS]

Definitions

  • the present invention relates to a communication sheet that performs communication by transmitting electromagnetic waves. More specifically, it is a communication sheet structure having a two-dimensional expanse, and when an information communication device is in contact with or close to the surface, communication with the communication device or a plurality of information communication is performed.
  • a communication sheet structure used for an RFID (Radio Frequency Frequency IDentification) system which is optimal for relaying communication between the plurality of information communication devices when the device is in contact with or close to the surface, and the same
  • the present invention relates to an information management system.
  • Patent Document 1 Japanese Patent Laid-Open No. 2004-7448
  • Patent Document 2 Japanese Patent Laid-Open No. 2006-19979
  • An object of the present invention is to provide a communication sheet structure that can be used in combination with an IC tag, exhibits stable readability, and can be easily installed and installed on an existing shelf, and an information management system using the same. There is to do.
  • a communication sheet structure in which at least the following three layers of the conductor A layer, the base material layer, and the conductor B layer are laminated in order, and the plane of the communication sheet structure:
  • the dimension in the width direction orthogonal to the traveling direction of the transmitted electromagnetic wave is substantially equal to a natural number multiple of half the wavelength of the transmitted electromagnetic wave so as to provide a resonance state in the width direction.
  • Conductor A layer a layer in which a continuous conductive part A and a non-conductive part A exist, and the electrical resistance value of the conductive part A is 1 ⁇ / ⁇ or less.
  • Base material layer a relative dielectric constant at a frequency of 800 MHz to 10 GHz is 1.
  • a layer formed of a resin molded body or a fiber structure of 0 to 5.0 Conductor B layer Conductive part B exists over 90% or more of the area, and the electrical resistance value of the conductive part B is 1 ⁇ / ⁇ or less
  • an information management system including a transmission / reception unit that receives a signal from the IC tag via a sheet structure.
  • the communication sheet structure of the present invention By using the communication sheet structure of the present invention, it can be easily installed and installed on existing shelves, including library management in libraries, document management in offices, product management in sales stores, chemicals in research facilities Useful for the development of goods management such as management.
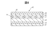
  • FIG. 6 is a schematic cross-sectional view of a communication sheet structure according to another aspect of the present invention.
  • FIG. 6 is a schematic cross-sectional view of a communication sheet structure according to another aspect of the present invention.
  • FIG. 6 is a schematic cross-sectional view of a communication sheet structure according to another aspect of the present invention.
  • FIG. 6 is a schematic cross-sectional view of a communication sheet structure according to another aspect of the present invention.
  • 1 is a schematic top view of a communication sheet structure according to an aspect of the present invention. It is the schematic which shows the information management system of this invention. It is FIG. (1) which shows the example which connects the sheet structure body for communication in the information management system of this invention. It is FIG.
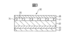
  • a communication sheet structure (hereinafter simply referred to as a communication sheet structure or a sheet structure) 10 used in the RFID system of the present invention includes at least the following conductor A layer 11. 3 layers of the base material layer 12 and the conductor B layer 13 are laminated in order. With such a three-layer structure, electromagnetic energy can be confined in the sheet structure and used for communication.
  • Conductor A layer 11 It is preferable that a continuous conductive part A14 and a nonconductive part A15 exist, and the electrical resistance value of the conductive part A is preferably 1 ⁇ / ⁇ or less, whereby a good communication state can be maintained.
  • the electric resistance value of the conductive portion A14 of the conductor A layer 11 exceeds 1 ⁇ / ⁇ , it is difficult to transmit and contain electromagnetic energy in the sheet structure, and two-dimensional communication becomes insufficient.
  • a conductive material may be used for the conductor A constituting the conductive portion A14. Suitable examples of such materials include those containing metals such as copper, silver, aluminum, stainless steel and nickel.
  • the electric resistance value of the conductive portion A14 is preferably 0.001 ⁇ / ⁇ to 0.5 ⁇ / ⁇ .
  • the shape of the conductive portion A14 of the conductor A layer 11 is not particularly limited, but is preferably a lattice shape or a honeycomb shape (honeycomb structure) in consideration of processability at the time of manufacturing the communication sheet structure 10. Among them, it is particularly preferable that the lattice shape is 0.5 to 1.5 mm and the interval between the lattice lines is 5 to 10 mm.
  • the thickness of the conductive portion A14 of the conductor A layer 11 is preferably thicker than the skin depth of the conductor corresponding to the frequency of the electromagnetic wave transmitted through the communication sheet structure. It becomes easy to be trapped in.
  • the thickness of the conductive portion A14 of the conductor A layer 11 is preferably 0.0001 ⁇ m to 50 ⁇ m, and more preferably 1 ⁇ m to 25 ⁇ m.
  • the base material layer 12 is made of a resin molded body or a fiber structure having a relative dielectric constant of 1.0 to 5.0, more preferably 1.0 to 3.0, at a frequency of 800 MHz to 10 GHz.
  • the communication sheet structure 10 can reduce attenuation of electromagnetic waves transmitted through the sheet, and exhibits extremely excellent two-dimensional communication performance.
  • Examples of materials that satisfy the dielectric constant constituting the substrate include olefin resin (TPO), styrene resin (SBC), vinyl chloride resin (TPVC), urethane resin (PU), ester resin (TPE), and amide resin (TPAE). ) And fluorinated resin (PTFE).
  • TPO olefin resin
  • SBC styrene resin
  • TPVC vinyl chloride resin
  • PU urethane resin
  • TPE ester resin
  • TPAE amide resin
  • PTFE fluorinated resin
  • polyolefins such as polyethylene (PE) and polypropylene (PP), polyethylene terephthalate (PET), polyethylene naphthalate (PEN), polybutylene terephthalate (PBT), polytrimethylene terephthalate (PTT) And polyester (PI) are preferable, and polyester and polyolefin are particularly preferable.
  • the substrate is a resin molded body, it is preferably a porous material.
  • a porous material examples thereof include foamed polyethylene and foamed polypropylene having a porosity of 50 to 85%. Since the base material is a porous material, the porosity of the base material increases and the relative dielectric constant approaches 1, so that stable communication performance can be obtained. As long as it is a porous material, continuous foaming or independent foaming may be used.
  • the substrate is a fiber structure
  • specific examples include woven fabrics, knitted fabrics, and non-woven fabrics.
  • the fineness of one filament is preferably 0.5 to 30 dtex, and more preferably 0.5 to 10 dtex.
  • the substrate is a woven or knitted fabric
  • the base material is a woven fabric
  • the woven fabric density is preferably 15 to 200 yarns / inch, more preferably 15 to 150 yarns / inch, for both the warp density and the weft density.
  • the warp density and the weft density may be the same or different.
  • the substrate is preferably a substrate having elastic properties.
  • examples thereof include a synthetic rubber sheet and an elastomer fiber structure.
  • the synthetic rubber sheet include chloroprene rubber (CR), butyl rubber (IIR), nitrile rubber (NBR), ethylene / propylene rubber (EPM / EPDM), natural rubber (NR), urethane rubber, fluorine rubber, and silicone rubber.
  • the elastomer fiber structure include woven fabrics, knitted fabrics, and nonwoven fabrics using elastomer fibers, and nonwoven fabrics having a high porosity are particularly preferable. Among them, it is preferable to use an elastomer fiber having a thickness of 0.1 ⁇ m to 20 ⁇ m.
  • the flexible sheet structure for communication using a synthetic rubber sheet or elastomer fiber structure with elastic properties is superior to the flexible sheet structure for communication using a normal resin sheet, etc. Can be repeatedly folded or rolled during storage or transportation.
  • the thickness of the substrate is preferably 0.2 mm to 10 mm, more preferably 0.5 mm to 2.0 mm.
  • the basis weight of the substrate is preferably 50 g / m 2 to 800 g / m 2 , more preferably 80 g / m 2 to 300 g / m 2 .
  • Conductor B layer 13 The conductor B layer 13 needs to have the conductive portion B over 90% or more, preferably 95% or more of the area thereof, so that a good communication state can be maintained.
  • the electric resistance value of the conductor B constituting the conductive part B is preferably 1 ⁇ / ⁇ or less, more preferably 0.001 ⁇ / ⁇ to 0.5 ⁇ / ⁇ .
  • the conductor B is a material containing gold, silver, copper, aluminum, stainless steel, nickel. Is preferably used.
  • a conductive material (conductor B) constituting the layer may be printed, plated, vapor-deposited, and laminated on one side of the substrate.
  • the conductor B layer can be made thick by plating or laminating a material containing a metal such as copper, silver, aluminum, or nickel.
  • the thickness of the conductor B layer 13 is usually preferably 0.00001 ⁇ m to 50 ⁇ m, more preferably 1 ⁇ m to 25 ⁇ m.
  • the conductor A layer 21 and the base material 22 are covered with the protective layer A26 and / or the conductor B It is preferable to cover the layer 23 with a protective layer B27.
  • the protective layer A or B may be a resin, a sheet, or a film.
  • polyester films such as PET and PEN
  • polyolefin films such as PE and PP
  • films such as polyimide films and ethylene-vinyl alcohol films
  • resins such as acrylic resins and urethane resins.
  • the protective layer A26 or the protective layer B27 may be a fiber structure such as a woven fabric, a knitted fabric, or a non-woven fabric.
  • the resin constituting the fiber include polyethylene terephthalate (PET), polyethylene naphthalate (PEN), polybutylene terephthalate (PBT), polyester such as polytrimethylene terephthalate (PTT), nylon 6, nylon 66, nylon 12, and the like.
  • PET polyethylene terephthalate
  • PEN polyethylene naphthalate
  • PBT polybutylene terephthalate
  • polyester such as polytrimethylene terephthalate (PTT), nylon 6, nylon 66, nylon 12, and the like.
  • aromatic polyamides such as aliphatic polyamide, polyparaphenylene terephthalamide, and polymetaphenylene terephthalamide, polypropylene (PP), polyethylene (PE), polycarbonate (PC), and polyimide (PI).
  • the protective layer A26 or the protective layer B27 may be an elastomer resin or an elastomer nonwoven fabric. Further, the protective layers A and B may be the same or different.
  • the conductor A layer 21 may be formed directly on the base material 22, and the protective layer A26 may be further coated thereon, or the protective layer A26 may be covered.
  • the conductor A layer 21 may be directly formed, and the base material 22 may be bonded to the conductor A layer 21 side and molded.
  • the conductor B layer 23 may be formed directly on the base material 22, and the protective layer B27 may be further coated thereon, or the conductor B layer 23 may be directly coated on the protective layer B27.
  • the base material 22 may be bonded to the conductor B layer 23 side to manufacture the communication sheet structure 20.
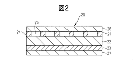
  • the conductor A layer 31 instead of the protective layer A, it has a higher dielectric constant than the base material layer 32, and the dielectric loss tangent is 0.001.
  • the following high dielectric constant layer 38 is preferably laminated. It has been found that the lamination of the high dielectric constant layer 38 can increase the intensity of electromagnetic waves leaking from the non-conductive portion A35 and can significantly improve the reading performance of information from the RFID IC tag.
  • the difference in relative dielectric constant between the base material layer 32 and the high dielectric constant layer 38 is preferably as large as possible, particularly preferably 0.2 or more, and more preferably 1.0 or more.
  • the relative dielectric constant of the high dielectric constant layer 38 satisfies the above requirements, and is preferably 2.0 to 10.0, more preferably 5.0 to 10.0. If the relative dielectric constant is less than 2.0, the difference from the relative dielectric constant of the substrate is not sufficient, and the reading performance tends to be lowered. On the other hand, it is preferable that the relative dielectric constant is large. However, since it is necessary to make the dielectric loss tangent sufficiently small, it is better to select a dielectric constant that does not exceed 10.0.
  • the thickness of the high dielectric constant layer 38 is preferably 1.0 to 5.0 mm, and more preferably 1.0 to 3.0 mm. When the thickness is less than 1.0 mm, the effect of improving the reading performance does not sufficiently appear. When the thickness exceeds 5.0 mm, the thickness of the sheet structure 30 becomes too large, and the handleability is deteriorated.
  • Examples of the high dielectric constant layer 38 include woven fabrics, knitted fabrics, nonwoven fabrics, resins, sheets, and films. Among them, resins, sheets, and films are preferable, and the sheets may be foams.
  • polyesters such as polyethylene terephthalate (PET) and polyethylene naphthalate (PEN), polyolefins such as polyethylene (PE), polypropylene (PP), and polystyrene (PSt), polyimide, Examples thereof include ethylene-vinyl alcohol, acrylic and urethane.
  • the high dielectric constant layer 38 is preferably a film or sheet of PET, PEN, PP, PE, or PSt in order to satisfy the dielectric constant and the dielectric loss tangent at the same time.
  • a protective layer A 46 having a thickness of 0.02 to 0.3 mm is provided between the conductor A layer 41 and the high dielectric constant layer 48. Also good.
  • the conductor A layer 41 is not directly laminated on the base material 42, but the conductor A is applied to the film or sheet to be the protective layer A46.
  • the layer 41 is laminated, and a part of the conductor A layer 41 is removed by etching or the like and processed into a lattice shape. Thereafter, the protective layer A46 is formed on the base 42 with the conductor A44 based on it.
  • the thickness of the protective layer A46 is 0.3 mm or less because it is preferable that the thickness of the protective layer A46 is thin.
  • the protective layer A46 is preferably a resin, a sheet, or a film.
  • the polymer constituting the protective layer A46 include polyesters such as polyethylene terephthalate and polyethylene naphthalate, polyethylene (PE), polypropylene (PP), and polystyrene (PSt). Examples thereof include polyolefin, polyimide, ethylene-vinyl alcohol, acrylic, urethane, and the like.
  • the dimension in the width direction perpendicular to the traveling direction of the electromagnetic wave to be transmitted in the plane needs to be substantially equal to a natural number multiple of half the wavelength of the electromagnetic wave. It is preferably approximately equal to half the wavelength of the electromagnetic wave.
  • the electromagnetic wave can be efficiently resonated in the width direction, the electromagnetic wave can be transmitted with high efficiency and low loss, and the intensity of the electromagnetic wave leaking from the grid-like conductor A layer increases as a whole.
  • Such a sheet structure can be used as a communication sheet structure used for RFID because the intensity of electromagnetic waves leaking from the grid-like conductor A layer increases, that is, installed on the communication sheet structure. It is possible to communicate with the RFID tag for RFID.
  • the shape of the communication sheet structure of the present invention is preferably a strip shape having a long side in the traveling direction of the electromagnetic wave to be transmitted and a short side in the width direction.
  • the communication sheet structure of the present invention can include an input interface that inputs an electromagnetic wave to be transmitted in a predetermined traveling direction.
  • the information management system of the present invention is a system including the communication sheet structure for transmitting a communication radio wave with a transmission / reception unit connected to the input / output interface, and an RFID IC tag.
  • a reader / writer that reads and writes data from and to an RFID IC tag includes an antenna and a transmission / reception unit that transmits and receives signals via the antenna.
  • the communication sheet structure according to the present invention has an antenna function in the reader / writer. That is, in the present invention, the transmission / reception unit in the reader / writer emits an electromagnetic wave toward the RFID IC tag via the communication sheet structure, and the RFID IC tag receives the electromagnetic wave and generates a predetermined signal therein.
  • the transmitter / receiver in the reader / writer receives a signal via the communication sheet structure.
  • the transmission / reception unit can transmit / receive communication radio waves to / from the RFID IC tag through the communication sheet structure.
  • FIG. 6 is a schematic diagram showing an information management system of the present invention.
  • the information management system 100 includes RFID IC tags 112-1, 112-2, 112-3 for storing information related to articles 131-1, 131-2, 131-3 and 131-4 to be managed. 112-4, the communication sheet structure 111, the electromagnetic wave is transmitted to the communication sheet structure 111, and the RFID IC tags 112-1, 112-2, 112- are transmitted through the communication sheet structure 111. 3 and 112-4 to receive and transmit signals from 112-4.
  • the communication sheet structure 111 and the transmission / reception unit 113 constitute a so-called reader / writer function.
  • the number of articles to be managed is four, but this number is merely an example, and other numbers may be used.
  • the RFID IC tag since the RFID IC tag is attached to an article to be managed, the number of RFID IC tags varies depending on the number.
  • the information management system 100 reads information on the articles 131-1, 131-2, 131-3 and 131-4 to be managed based on the signal received by the transmission / reception unit 13, and reads the management information registered in advance.
  • a management device 114 that manages the status of the article based on the information related to the article.
  • the transmission / reception unit 113 is connected to the communication sheet structure 111 via the input / output interface 121 and is connected to the management device 114 via a cable.
  • the management device 114 is configured with a dedicated computer, a general-purpose computer, or the like.
  • the management device 114 includes a CPU (Central Processing Unit), a ROM (Read Only Memory), a RAM (Random Access Memory), a display unit, an input unit, and the like. Alternatively, the management device 114 may be configured to be incorporated in various existing electronic devices.
  • the communication sheet structure 111 includes an input / output interface 121 to which signals are input / output by connecting the transmission / reception unit 113 or another communication sheet structure (not shown).
  • a plurality of communication sheet structures 111 can be connected to each other via the input / output interface 121.
  • 7 and 8 are diagrams showing an example in which a plurality of communication sheet structures are connected in the information management system of the present invention. In the example shown in FIG.
  • the communication sheet structure 111-2 to which the communication sheet structure 111-1 is connected, the communication sheet structure 111-4 to which the communication sheet structure 111-3 is connected, the communication The communication sheet structure 111-6 to which the communication sheet structure 111-5 is connected and the communication sheet structure 111-8 to which the communication sheet structure 111-7 is connected are used as the transmission / reception unit 113 for communication.
  • the sheet structures 111-1, 111-3, 111-5, and 11-7 are connected so as to be terminated.
  • the communication sheet structures 111-2, 111-1, 111-3, and 111-4 are connected in this order, and then the communication sheet structures 111-2 and 111-4 are connected.
  • the communication sheet structures 111-6, 111-5, 111-7, and 11-8 are connected in this order so that the communication sheet structures 111-6 and 111-8 are connected to the transmission / reception unit 113.
  • 7 and 8 show an example in which eight communication sheet structures are connected.
  • the number and connection relationship are merely examples, and other numbers and connection relationships may be used. What is necessary is just to set suitably according to the specific example to which the system 100 is applied.
  • the communication sheet structure 111 is installed on a surface on which an article to be managed with an RFID IC tag is placed. Details thereof will be described in a specific application example to be described later.
  • the RFID IC tags 112-1, 112-2, 112-3, and 112-4 in the information management system of the present invention shown in FIG. 6 are passive tags that do not have a self-power supply. That is, the RFID IC tags 112-1, 112-2, 112-3 and 112-4 operate using electromagnetic waves from the transmission / reception unit 113 as energy sources, and the electromagnetic waves from the transmission / reception unit 113 are transmitted through the communication sheet. The data is transmitted to the RFID IC tags 112-1, 112-2, 112-3 and 112-4 via the structure 111.
  • FIG. 9 is a diagram for explaining a case where the information management system of the present invention is applied to a library book management system in a library
  • FIG. 10 is a diagram showing a mounting example of an RFID IC tag in the book management system shown in FIG. is there.
  • the management target article is a paper medium or an electronic medium held in the library.
  • paper media include books, magazines, newspapers, and various documents.
  • electronic media include CDs, DVDs, BDs (Bru-Ray Discs), and HD-DVDs.
  • the RFID IC tag 112 is attached to the spread of the cover of the book 131.
  • the attachment position of the RFID IC tag to the article to be managed may be appropriately determined in consideration of the shape, usage mode, characteristics, storage method, etc. of the article. For example, when a microfilm is used as the article to be managed An IC tag for RFID may be attached to a case for housing the microfilm.
  • An RFID IC tag attached to an article to be managed (that is, a paper medium or an electronic medium) in the book management system stores identification information unique to the article, information on a storage location, information on presence / absence of prohibition, etc. The One or more of these pieces of information may be stored as necessary.
  • the communication sheet structures 111-1 to 111-8 are installed on the arrangement surface (that is, the shelf surface) of the bookshelf 116 on which the articles to be managed (that is, paper media or electronic media) are arranged. Is done.
  • the communication sheet structures 111-1 to 111-8 are connected to the transmission / reception unit 113 after being connected as described with reference to FIGS.
  • the transmission / reception unit 113 is connected to the management device 114, and the installation location includes the vicinity of the management device 114, a space where the bookshelf 116 is vacant, and the like.
  • the management device 114 reads information stored in the RFID IC tag attached to the article to be managed based on the signal received by the transmission / reception unit 113 via the communication sheet structures 111-1 to 111-8, Information on the read article is referred to management information registered in advance in the management device 114, and the situation of the article is managed in a database.
  • Information to be managed in the database includes various information related to identification information, lending status, return status, location, usage frequency, usage time, user, etc. of the article (that is, paper medium or electronic medium). And are registered in the management device 114.
  • a host computer 115 may be connected to a higher level than the management device 114. For example, a library network system that manages a plurality of libraries each having the management device 114 installed therein using the host computer 115. May be built.
  • the management device 114 or the host computer 115 determines the location of the article (ie, paper medium or electronic medium) based on the information received via the communication sheet structures 111-1 to 111-8 and the transmission / reception unit 113. Can be grasped. Therefore, for example, the management device 114 or the host computer 115 always issues a warning when a book is placed on a bookshelf that is different from the bookshelf that is originally held, and does not return to the bookcase for a long time. It is also possible to execute an operation such as issuing an alarm sometimes.
  • the librarian can easily determine the purchase and disposal of articles (that is, paper media or electronic media), particularly forbidden books. Also become.
  • FIG. 11 is a flowchart showing an example of the operation flow of the book management system shown in FIGS.
  • step S1001 the transmission / reception unit 113 transmits electromagnetic waves toward the communication sheet structures 111-1 to 111-8, and passes through the communication sheet structure in which the book 131 with the RFID IC tag attached is arranged.
  • the management information is read from the RFID IC tag. Transmission of electromagnetic waves and reading of management information by the transmission / reception unit 113 in step S1001 are repeatedly executed, for example, at a cycle of 1 second. Information read by the transmission / reception unit 113 is sent to the management device 114.
  • the management device 114 determines whether a paper medium or an electronic medium is present on the shelf based on the information received from the transmission / reception unit 113.
  • the determination criterion of “presence / absence of paper medium or electronic medium” can be adjusted by the intensity (current) of the electromagnetic wave transmitted to the communication sheet structure, but for example within 20 cm from the distance from the communication sheet structure It is determined whether or not an RFID IC tag exists at a distance.
  • step S1006 information indicating that a medium exists is continuously recorded in a storage device (not shown) in the management apparatus 114, and “unrented” is displayed on a display unit (not shown) in the management apparatus 114. indicate. After the process of step S1006, the process returns to step S1001.
  • step 1002 If it is determined in step 1002 that there is no paper medium or electronic medium on the shelf, the process proceeds to step S1003.
  • step S1003 information that there is no medium is recorded in a storage device (not shown) in the management apparatus 114, and “rental” is displayed on a display unit (not shown) in the management apparatus 114. The process proceeds to step S1004.
  • step S1004 the transmission / reception unit 113 transmits electromagnetic waves toward the communication sheet structures 111-1 to 111-8, and passes through the communication sheet structure in which the book 131 with the RFID IC tag attached is arranged.
  • the management information is read from the RFID IC tag. Transmission of electromagnetic waves and reading of management information by the transmission / reception unit 113 in step S1004 are repeatedly executed, for example, at a cycle of 1 second. Information read by the transmission / reception unit 113 is sent to the management device 114.
  • step S1005 the management apparatus 114 determines whether the paper medium or the electronic medium has returned to the shelf based on the information received from the transmission / reception unit 113.
  • step S1006 information that a medium is present is recorded in a storage device (not shown) in the management apparatus 114, and “unrented” is displayed on a display unit (not shown) in the management apparatus 114. Thereafter, the process returns to step S1001.
  • the determination criterion of “whether or not the paper medium or the electronic medium has returned to the shelf” can be adjusted by the intensity (current) of the electromagnetic wave transmitted to the communication sheet structure as in the process of step S1002, for example, the communication sheet structure It is determined whether or not the RFID IC tag exists at a distance within 20 cm from the distance to the body.
  • step 1005 If it is determined in step 1005 that the paper medium or electronic medium has not yet returned to the shelf, the process returns to step S1003.
  • step S1007 If the host computer 115 is connected to a higher level than the management device 114, the lending status, return status, usage frequency, and usage management of the book 131 to be managed are collected and managed in step S1007.
  • the information management system of the present invention can be similarly applied to other than the book management system described above.
  • an article to be managed is a commodity that is a physical distribution target.
  • the mounting position of the RFID IC tag may be appropriately determined in consideration of the shape of the product, the transportation system, the storage method, and the like.
  • the RFID tag may be incorporated in a tag.
  • An RFID IC tag attached to a product in the physical distribution management system stores identification information unique to the product, information about a shipper, information about a destination, information about a delivery company, and the like. One or more of these pieces of information may be stored as necessary.
  • the communication sheet structure may be installed on a work table on which products are arranged or a surface of a loading platform of transportation equipment.
  • the management device reads information stored in the RFID IC tag attached to the product to be managed based on the signal received by the transmission / reception unit via the communication sheet structure, and manages the information related to the read product.
  • the management information registered in advance in the apparatus is inquired, and the status of the product is managed in a database.
  • Information to be managed in the database includes various types of information related to product identification information, delivery status, delivery date, delivery source, delivery destination, delivery work relay point, delivery agent, delivery means, etc. Attached to the management device.
  • a host computer may be connected to a higher level of the management device. For example, a plurality of management devices installed in each distribution center or each transportation device can be centrally managed using a host computer installed in the head office.
  • a logistics network system may be constructed.
  • the article to be managed is a product sold in the sales store.
  • the RFID IC tag may be appropriately determined in consideration of the shape of the product, the transportation system, or the storage method, and may be incorporated in a price tag, for example.
  • An RFID IC tag attached to a product in the product management system stores identification information unique to the product, information on a storage location, and the like. One or more of these pieces of information may be stored as necessary.
  • the communication sheet structure may be installed on a display surface of a display stand on which products are placed or on a counter surface on which cash registers are installed.
  • the management device reads information stored in the RFID IC tag attached to the product to be managed based on the signal received by the transmission / reception unit via the communication sheet structure, and manages the information related to the read product.
  • the management information registered in advance in the apparatus is inquired, and the status of the product is managed in a database.
  • Information to be managed in the database includes various information related to product identification information, price, location, purchaser, salesperson, and sales date and time, and is linked to the product identification information and registered in the management device. .
  • a host computer may be connected to a higher level of the management device. For example, a sales network system that centrally manages a plurality of management devices set in each store using a host computer installed in the head office. You may build.
  • the article to be managed is an article that is used or processed at the establishment.
  • the mounting position of the RFID IC tag may be appropriately determined in consideration of the shape of the article, usage mode, processing mode, transportation system, storage method, and the like.
  • An RFID IC tag attached to an article in the article information management system stores identification information unique to the article, information about a storage location, information about an owner, a department name, and the like. One or more of these pieces of information may be stored as necessary.
  • the communication sheet structure may be installed on a shelf or a warehouse where articles are stored, a work table where articles are processed, or the like.
  • the management device reads information stored in the RFID IC tag attached to the article to be managed based on the signal received by the transmission / reception unit via the communication sheet structure, and manages the information related to the read article.
  • the management information registered in advance in the apparatus is referred to, and the status of the product is managed in a database.
  • As information to be managed in the database there are various information related to the identification information of the article, the owner, the department name, the location, the usage frequency, the usage time, the user, etc., and the management apparatus linked with the identification information of the article as the center Registered in A host computer may be connected to a higher level of the management device. For example, a sales network system that centrally manages a plurality of management devices installed in each branch using a host computer installed in the head office.
  • Such an “article information management system at a business site” include document management in an office, product management in a production process, chemical or sample management in a research facility, tools on a production line or construction site, There are management of materials, various tools at medical sites, management of medicines, specimens, doctors or nurses, vehicle management in garages at taxis and bus companies, and article management at warehouses.
  • the distance between the proximity connectors was 1 cm, and measurement was performed from 10 cm to 100 cm.
  • the proximity connector used was a communication sheet structure having a peak at 2.45 GHz.
  • the average value (Xav.) Of the measured transmission coefficient X was calculated.
  • Xav. ⁇ ⁇ 30 dB is very good communication performance.
  • (4) Reading performance evaluation determination On the communication sheet structure, 100 hard cover type books (thickness 20 mm) with an RFID IC tag attached are placed, and a 30 dBm signal is output using a reader / writer. The number of books that were transmitted and the IC tag information for RFID could be read was measured, this was repeated 10 times, and the average value was calculated.
  • Example 1 9 ⁇ m aluminum foil punched in a grid on one side of the base material as a conductor A using a low-density polyethylene (PE) sheet (made by Shimonoseki Packing Co., Ltd., hard polyethylene sheet, hereinafter the same) as the base material. was laminated.
  • the grid shape of the conductor A was 1 mm in line width and 7 mm in line spacing.
  • As the conductor B a 9 ⁇ m aluminum foil was laminated on the other surface of the base material so as to cover 100% of the entire surface, thereby preparing a communication sheet structure.
  • PE low-density polyethylene
  • the width of the sheet was 5 cm, which is half the wavelength of about 10 cm of electromagnetic waves at 2.45 GHz, and the length of the sheet was 100 cm.
  • the results are shown in Table 1.
  • a silver paste is printed in a lattice shape on a PET fiber fabric ("New Shelf II" manufactured by Kawashima Textile Cellcon Co., Ltd.) obtained by laminating a urethane resin to a polyethylene terephthalate (PET) fiber fabric.
  • PET fiber woven fabric of / m 2 was obtained.
  • a PET fiber nonwoven fabric having a thickness of 2 mm and a basis weight of 72 g / m 2 was used as the substrate.
  • an electromagnetic shielding fabric (“ST2050” manufactured by Teijin Fibers Ltd., the same applies hereinafter) made of a PET fiber fabric with a basis weight of 85 g / m 2 plated with copper / nickel was used.
  • the grid shape of the conductor A was 1 mm in line width and 7 mm in line spacing. These were bonded together by sewing using a polyester sewing thread. Sewing was carried out using a JUKI DDL-5530-stitch sewing machine base with a sewing needle DB ⁇ 1 # 14 and a stitch length of 3 cm / 13 stitches. The width of the sheet was 5 cm, and the length of the sheet was 100 cm. The results are shown in Table 1.
  • Example 3 As protective layer A and conductor A, a 9 ⁇ m aluminum foil was laminated on a 250 ⁇ m PET film, and then a grid-like aluminum foil laminate film etched into a grid was prepared. The grid shape of the conductor A was 1 mm in line width and 7 mm in line spacing. A foamed polypropylene (PP) sheet having a thickness of 2 mm and a relative dielectric constant of 1.4 (Furukawa Electric Co., Ltd., “F-cell CP3020”, foaming rate: 67%) was used as the substrate. As conductor B and protective layer B, an aluminum foil laminate film was prepared by laminating a 9 ⁇ m aluminum foil on a 250 ⁇ m PET film and covering the entire surface of the film with conductor B.
  • PP polypropylene
  • An acrylic pressure-sensitive adhesive was applied to one surface of the substrate with a table coater so that the adhesion amount was 10 g / m 2 . Further, a lattice-shaped aluminum foil laminate film that becomes the protective layer A and the conductor A is laminated on the base material coated with an acrylic pressure-sensitive adhesive so that the conductor A is on the base material side, and is adhered by a calendering machine. I let you.
  • an acrylic pressure-sensitive adhesive is applied to the other surface of the base material, and an aluminum foil laminate film that becomes the protective layer B and the conductor B is attached to the acrylic adhesive so that the conductor B is on the base material side.
  • the sheet was laminated on the base material coated with the agent and adhered by a calendering machine to produce a communication sheet structure.
  • the width of the sheet was 5 cm, which is half the wavelength of about 10 cm of electromagnetic waves at 2.45 GHz, and the length of the sheet was 100 cm.
  • the results are shown in Table 2.
  • Example 4 On the protective layer A side of the lattice-shaped aluminum foil laminate film, an acrylic pressure-sensitive adhesive is applied with a table coater so that the adhesion amount is 10 g / m 2, and a high dielectric constant layer is formed thereon.
  • PP polypropylene
  • Example 5 The same procedure as in Example 4 was performed except that the high dielectric constant layer was changed to a polystyrene (PSt) sheet having a thickness of 1 mm and a relative dielectric constant of 2.3. The results are shown in Table 2.
  • Example 6 The same procedure as in Example 4 was performed except that the high dielectric constant layer was changed to a polyethylene terephthalate (PET) sheet having a thickness of 1 mm and a relative dielectric constant of 3.2. The results are shown in Table 2.
  • Example 1 The same procedure as in Example 1 was performed except that the conductor A was replaced with an aluminum foil and aluminum deposition was performed. The results are shown in Table 1.
  • Example 2 The same procedure as in Example 1 was carried out except that a urea resin sheet was used instead of the low density PE sheet. The results are shown in Table 1.
  • Example 3 Example 1 was repeated except that the sheet width was changed to 23 cm instead of 5 cm. The results are shown in Table 1.
  • the communication sheet structure used in the RFID system of the present invention can be easily installed and installed on an existing shelf in the frequency band of 800 MHz to 10 GHz.
  • Product management at retail stores, management of chemicals or samples at research facilities, logistics management, product management at production processes, management of tools or materials at production lines and construction sites, various tools at medical sites, chemicals, specimens, doctors or nursing It can be used for goods management such as management of craftsmen, vehicle management in garages at taxis and bus companies, and goods management at warehouses.

Landscapes

  • Engineering & Computer Science (AREA)
  • Computer Networks & Wireless Communication (AREA)
  • Signal Processing (AREA)
  • Near-Field Transmission Systems (AREA)
  • Credit Cards Or The Like (AREA)
  • Laminated Bodies (AREA)
PCT/JP2010/067386 2009-10-05 2010-10-04 通信用シート構造体および情報管理システム Ceased WO2011043305A1 (ja)

Priority Applications (7)

Application Number Priority Date Filing Date Title
EP10821975.9A EP2487817B1 (en) 2009-10-05 2010-10-04 Communication sheet structure and information management system
US13/500,153 US9030359B2 (en) 2009-10-05 2010-10-04 Communication sheet structure and information management system
HK12111974.3A HK1171291B (en) 2009-10-05 2010-10-04 Communication sheet structure and information management system
IN2798DEN2012 IN2012DN02798A (enExample) 2009-10-05 2010-10-04
JP2011535386A JP5318219B2 (ja) 2009-10-05 2010-10-04 通信用シート構造体および情報管理システム
CN201080044798.XA CN102656828B (zh) 2009-10-05 2010-10-04 通信用片材结构体以及信息管理系统
KR1020127005660A KR101676897B1 (ko) 2009-10-05 2010-10-04 통신용 시트 구조체 및 정보 관리 시스템

Applications Claiming Priority (2)

Application Number Priority Date Filing Date Title
JP2009231622 2009-10-05
JP2009-231622 2009-10-05

Publications (1)

Publication Number Publication Date
WO2011043305A1 true WO2011043305A1 (ja) 2011-04-14

Family

ID=43856758

Family Applications (1)

Application Number Title Priority Date Filing Date
PCT/JP2010/067386 Ceased WO2011043305A1 (ja) 2009-10-05 2010-10-04 通信用シート構造体および情報管理システム

Country Status (8)

Country Link
US (1) US9030359B2 (enExample)
EP (1) EP2487817B1 (enExample)
JP (1) JP5318219B2 (enExample)
KR (1) KR101676897B1 (enExample)
CN (1) CN102656828B (enExample)
IN (1) IN2012DN02798A (enExample)
TW (1) TWI493472B (enExample)
WO (1) WO2011043305A1 (enExample)

Cited By (6)

* Cited by examiner, † Cited by third party
Publication number Priority date Publication date Assignee Title
JP2012090123A (ja) * 2010-10-21 2012-05-10 Yazaki Corp 近傍無線通信装置
JP2014107755A (ja) * 2012-11-28 2014-06-09 Teijin Ltd アンテナシートおよび移動体
JP2016206838A (ja) * 2015-04-20 2016-12-08 日本板硝子環境アメニティ株式会社 書籍管理システムおよび予約棚システム
JP2017021806A (ja) * 2015-07-13 2017-01-26 帝人株式会社 医療品管理システム、医療品管理方法、及び、プログラム
JP2017220232A (ja) * 2016-06-02 2017-12-14 帝人株式会社 読取システム
JP7585672B2 (ja) 2020-09-09 2024-11-19 大日本印刷株式会社 Rfタグ付き物品用什器

Families Citing this family (3)

* Cited by examiner, † Cited by third party
Publication number Priority date Publication date Assignee Title
WO2014188653A1 (ja) * 2013-05-20 2014-11-27 日本電気株式会社 物品管理システム、物品管理方法及び物品管理プログラムが格納された非一時的なコンピュータ可読媒体
US11487981B2 (en) * 2017-10-04 2022-11-01 Toray Industries, Inc. Packing material, method for producing packing material, reading device, stored-article management system, disconnection detection device, unsealing detection label, and unsealing detection system
CN113196677A (zh) * 2018-12-28 2021-07-30 帝人株式会社 通信片材和电力传送方法

Citations (5)

* Cited by examiner, † Cited by third party
Publication number Priority date Publication date Assignee Title
JP2004007448A (ja) 2001-10-12 2004-01-08 Serukurosu:Kk 通信装置
JP2006019979A (ja) 2004-06-30 2006-01-19 Serukurosu:Kk 通信シート
WO2007066405A1 (ja) * 2005-12-08 2007-06-14 The University Of Tokyo 通信装置
WO2009157095A1 (ja) * 2008-06-27 2009-12-30 帝人ファイバー株式会社 通信用シート構造体
WO2010052818A1 (ja) * 2008-11-06 2010-05-14 株式会社セルクロス 電磁波伝達シートと無線lanシステムとrfidシステム及び電磁波伝達方法

Family Cites Families (12)

* Cited by examiner, † Cited by third party
Publication number Priority date Publication date Assignee Title
JP2003168914A (ja) * 2001-11-30 2003-06-13 Lintec Corp ループアンテナ、ループアンテナシステム及び無線通信システム
US7446729B2 (en) * 2004-09-22 2008-11-04 Matsushita Electric Industrial Co., Ltd. Loop antenna unit and radio communication medium processor
US8564472B2 (en) * 2005-10-21 2013-10-22 Nitta Corporation Sheet member for improving communication, and antenna device and electronic information transmitting apparatus provided therewith
JP3938590B2 (ja) * 2005-12-08 2007-06-27 株式会社セルクロス 通信装置
JP2007281678A (ja) * 2006-04-04 2007-10-25 Serukurosu:Kk 信号伝達システム
TW200835186A (en) * 2006-11-15 2008-08-16 Nxp Bv Near field communication (NFC) activation
EP2144328B1 (en) * 2007-03-30 2017-11-01 Nitta Corporation Wireless communication improving sheet body, wireless ic tag and wireless communication system using the wireless communication improving sheet body and the wireless ic tag
JP4909798B2 (ja) * 2007-04-27 2012-04-04 株式会社日立製作所 スケルトン等化アンテナ、同アンテナを用いたrfidタグおよびrfidシステム
CN101803008B (zh) * 2007-09-07 2012-11-28 株式会社半导体能源研究所 半导体装置及其制造方法
JP4959594B2 (ja) * 2008-02-01 2012-06-27 パナソニック株式会社 エンドファイアアンテナ装置
JP5260089B2 (ja) 2008-03-07 2013-08-14 帝人株式会社 通信用シート構造体およびそれを用いてなる天板を有する什器
JP2010021737A (ja) 2008-07-09 2010-01-28 Teijin Fibers Ltd 通信用シート構造体

Patent Citations (5)

* Cited by examiner, † Cited by third party
Publication number Priority date Publication date Assignee Title
JP2004007448A (ja) 2001-10-12 2004-01-08 Serukurosu:Kk 通信装置
JP2006019979A (ja) 2004-06-30 2006-01-19 Serukurosu:Kk 通信シート
WO2007066405A1 (ja) * 2005-12-08 2007-06-14 The University Of Tokyo 通信装置
WO2009157095A1 (ja) * 2008-06-27 2009-12-30 帝人ファイバー株式会社 通信用シート構造体
WO2010052818A1 (ja) * 2008-11-06 2010-05-14 株式会社セルクロス 電磁波伝達シートと無線lanシステムとrfidシステム及び電磁波伝達方法

Non-Patent Citations (1)

* Cited by examiner, † Cited by third party
Title
See also references of EP2487817A4

Cited By (6)

* Cited by examiner, † Cited by third party
Publication number Priority date Publication date Assignee Title
JP2012090123A (ja) * 2010-10-21 2012-05-10 Yazaki Corp 近傍無線通信装置
JP2014107755A (ja) * 2012-11-28 2014-06-09 Teijin Ltd アンテナシートおよび移動体
JP2016206838A (ja) * 2015-04-20 2016-12-08 日本板硝子環境アメニティ株式会社 書籍管理システムおよび予約棚システム
JP2017021806A (ja) * 2015-07-13 2017-01-26 帝人株式会社 医療品管理システム、医療品管理方法、及び、プログラム
JP2017220232A (ja) * 2016-06-02 2017-12-14 帝人株式会社 読取システム
JP7585672B2 (ja) 2020-09-09 2024-11-19 大日本印刷株式会社 Rfタグ付き物品用什器

Also Published As

Publication number Publication date
IN2012DN02798A (enExample) 2015-07-24
CN102656828B (zh) 2014-10-22
US9030359B2 (en) 2015-05-12
CN102656828A (zh) 2012-09-05
KR101676897B1 (ko) 2016-11-16
HK1171291A1 (en) 2013-03-22
JP5318219B2 (ja) 2013-10-16
EP2487817A1 (en) 2012-08-15
JPWO2011043305A1 (ja) 2013-03-04
TW201135606A (en) 2011-10-16
US20120194300A1 (en) 2012-08-02
EP2487817B1 (en) 2019-08-21
KR20120103559A (ko) 2012-09-19
EP2487817A4 (en) 2016-01-06
TWI493472B (zh) 2015-07-21

Similar Documents

Publication Publication Date Title
JP5318219B2 (ja) 通信用シート構造体および情報管理システム
CA2699680C (en) Rfid patch antenna with coplanar reference ground and floating grounds
EP2186163B1 (en) A large scale folded dipole antenna for near-field rfid applications
CN101809594A (zh) 扩展rfid标签
KR20110040815A (ko) 다중 연관 패치를 구비한 광대역 안테나 및 무선 주파수 인식 어플리케이션을 위한 공면 접지 기술
KR101527988B1 (ko) 통신용 시트 구조체
JP2014096733A (ja) 電磁波伝達シートおよび情報管理システム
JP6986336B2 (ja) 医療品管理システム、及び、医療品管理方法
EP3905539A1 (en) Communication sheet and electric power transmission method
HK1171291B (en) Communication sheet structure and information management system
JP2012003318A (ja) 紙媒体、電子媒体の管理システム
JP2015026915A (ja) アンテナ及びアンテナの製造方法
JP2009290512A (ja) Rfidタグ検知用アンテナ
JP5368193B2 (ja) 通信用シート構造体
CN214381414U (zh) 物品管理系统
JP2010021737A (ja) 通信用シート構造体
CN105555109A (zh) 一种用于两张智能卡之间的屏蔽结构
HK1156748A (en) Communication sheet structure
HK1145270B (en) A large scale folded dipole antenna for near-field rfid applications
JP2010021736A (ja) 通信用シート構造体

Legal Events

Date Code Title Description
WWE Wipo information: entry into national phase

Ref document number: 201080044798.X

Country of ref document: CN

121 Ep: the epo has been informed by wipo that ep was designated in this application

Ref document number: 10821975

Country of ref document: EP

Kind code of ref document: A1

WWE Wipo information: entry into national phase

Ref document number: 2011535386

Country of ref document: JP

ENP Entry into the national phase

Ref document number: 20127005660

Country of ref document: KR

Kind code of ref document: A

WWE Wipo information: entry into national phase

Ref document number: 2010821975

Country of ref document: EP

WWE Wipo information: entry into national phase

Ref document number: 2798/DELNP/2012

Country of ref document: IN

WWE Wipo information: entry into national phase

Ref document number: 13500153

Country of ref document: US

NENP Non-entry into the national phase

Ref country code: DE