WO2010016159A1 - ガスタービン - Google Patents
ガスタービン Download PDFInfo
- Publication number
- WO2010016159A1 WO2010016159A1 PCT/JP2008/073377 JP2008073377W WO2010016159A1 WO 2010016159 A1 WO2010016159 A1 WO 2010016159A1 JP 2008073377 W JP2008073377 W JP 2008073377W WO 2010016159 A1 WO2010016159 A1 WO 2010016159A1
- Authority
- WO
- WIPO (PCT)
- Prior art keywords
- turbine
- combustion
- cooling air
- unit
- gas turbine
- Prior art date
- Legal status (The legal status is an assumption and is not a legal conclusion. Google has not performed a legal analysis and makes no representation as to the accuracy of the status listed.)
- Ceased
Links
Images
Classifications
-
- F—MECHANICAL ENGINEERING; LIGHTING; HEATING; WEAPONS; BLASTING
- F02—COMBUSTION ENGINES; HOT-GAS OR COMBUSTION-PRODUCT ENGINE PLANTS
- F02C—GAS-TURBINE PLANTS; AIR INTAKES FOR JET-PROPULSION PLANTS; CONTROLLING FUEL SUPPLY IN AIR-BREATHING JET-PROPULSION PLANTS
- F02C9/00—Controlling gas-turbine plants; Controlling fuel supply in air- breathing jet-propulsion plants
- F02C9/16—Control of working fluid flow
- F02C9/18—Control of working fluid flow by bleeding, bypassing or acting on variable working fluid interconnections between turbines or compressors or their stages
-
- F—MECHANICAL ENGINEERING; LIGHTING; HEATING; WEAPONS; BLASTING
- F01—MACHINES OR ENGINES IN GENERAL; ENGINE PLANTS IN GENERAL; STEAM ENGINES
- F01D—NON-POSITIVE DISPLACEMENT MACHINES OR ENGINES, e.g. STEAM TURBINES
- F01D25/00—Component parts, details, or accessories, not provided for in, or of interest apart from, other groups
- F01D25/08—Cooling; Heating; Heat-insulation
- F01D25/12—Cooling
-
- F—MECHANICAL ENGINEERING; LIGHTING; HEATING; WEAPONS; BLASTING
- F02—COMBUSTION ENGINES; HOT-GAS OR COMBUSTION-PRODUCT ENGINE PLANTS
- F02C—GAS-TURBINE PLANTS; AIR INTAKES FOR JET-PROPULSION PLANTS; CONTROLLING FUEL SUPPLY IN AIR-BREATHING JET-PROPULSION PLANTS
- F02C7/00—Features, components parts, details or accessories, not provided for in, or of interest apart form groups F02C1/00 - F02C6/00; Air intakes for jet-propulsion plants
- F02C7/12—Cooling of plants
- F02C7/16—Cooling of plants characterised by cooling medium
- F02C7/18—Cooling of plants characterised by cooling medium the medium being gaseous, e.g. air
-
- F—MECHANICAL ENGINEERING; LIGHTING; HEATING; WEAPONS; BLASTING
- F02—COMBUSTION ENGINES; HOT-GAS OR COMBUSTION-PRODUCT ENGINE PLANTS
- F02C—GAS-TURBINE PLANTS; AIR INTAKES FOR JET-PROPULSION PLANTS; CONTROLLING FUEL SUPPLY IN AIR-BREATHING JET-PROPULSION PLANTS
- F02C7/00—Features, components parts, details or accessories, not provided for in, or of interest apart form groups F02C1/00 - F02C6/00; Air intakes for jet-propulsion plants
- F02C7/12—Cooling of plants
- F02C7/16—Cooling of plants characterised by cooling medium
- F02C7/18—Cooling of plants characterised by cooling medium the medium being gaseous, e.g. air
- F02C7/185—Cooling means for reducing the temperature of the cooling air or gas
-
- Y—GENERAL TAGGING OF NEW TECHNOLOGICAL DEVELOPMENTS; GENERAL TAGGING OF CROSS-SECTIONAL TECHNOLOGIES SPANNING OVER SEVERAL SECTIONS OF THE IPC; TECHNICAL SUBJECTS COVERED BY FORMER USPC CROSS-REFERENCE ART COLLECTIONS [XRACs] AND DIGESTS
- Y02—TECHNOLOGIES OR APPLICATIONS FOR MITIGATION OR ADAPTATION AGAINST CLIMATE CHANGE
- Y02T—CLIMATE CHANGE MITIGATION TECHNOLOGIES RELATED TO TRANSPORTATION
- Y02T50/00—Aeronautics or air transport
- Y02T50/60—Efficient propulsion technologies, e.g. for aircraft
Definitions
- the present invention relates to a gas turbine, and more particularly, to a gas turbine capable of turndown operation (partial load operation or low load operation).
- Patent Document 1 As a gas turbine that can be turned down, for example, one disclosed in Patent Document 1 is known. Unexamined-Japanese-Patent No. 2007-182883
- Patent Document 1 discloses a method capable of maintaining a high turbine inlet temperature even with a low load.
- piping and a booster pump for pushing air extracted from the working fluid path before entering the combustor into the working fluid path located downstream of the combustor outlet Needs to be added (newly installed), which complicates the system and operation of the gas turbine and increases the cost of manufacturing and maintenance and inspection.
- the present invention has been made in view of the above-mentioned circumstances, can simplify the system and operation of the gas turbine, can reduce manufacturing costs and maintenance and inspection costs, and can be turned down. It aims at providing a gas turbine.
- a gas turbine according to a first aspect of the present invention comprises a compression unit for compressing combustion air, and a fuel for injecting fuel into high pressure air sent from the compression unit for combustion to generate high temperature combustion gas.
- a gas turbine casing disposed downstream of the combustion unit and driven by the combustion gas exiting the combustion unit; a gas turbine casing accommodating the compression unit, the combustion unit, and the turbine unit therein; A stationary blade system cooling air system for guiding the compressed air extracted from the middle of the compression section to the inside of the stationary blade constituting the turbine section, and the compressed air from the outlet section of the compression section to the outside of the gas turbine casing
- a gas turbine provided with a vehicle room bleed system to be extracted, the middle of the stationary blade system cooling air system and the middle of the vehicle room bleed system are connected via a communication passage;
- a flow control means is connected midway.
- turndown operation can be performed by using the existing stator blade cooling air system and the cabin air extraction system, so the system and operation of the gas turbine
- manufacturing costs and maintenance and inspection costs can be reduced.
- the flow control means for example, control valve
- the (high pressure) compressed air extracted from the outlet of the compression unit (next stage) bypasses the combustion unit and
- the temperature of the exhaust gas can be reduced because it is introduced into the working fluid path of the turbine section through the cooling air system and the stator blades.
- the (high-pressure) compressed air extracted from the outlet of the compression unit bypasses the combustion unit and passes through the stationary blade cooling air system and the casing air extraction system. It is possible to reduce the temperature of the turbine section while maintaining the turbine inlet temperature high during the turndown operation, and the turbine sections such as the turbine blades (moving blades and stator blades) It is possible to prolong the service life of the components to be configured.
- a backflow prevention means be connected to the stationary blade cooling air system located upstream of a junction where the downstream end of the communication path is connected.
- the flow of compressed air led to the upstream side of the stator blade cooling air system via the communication passage and the flow rate control means (for example, control valve) from the junction to the compression section is Since the backflow prevention means (for example, the check valve) prevents the backflow, it is possible to reliably prevent the backflow from the junction to the compression section.
- the backflow prevention means for example, the check valve
- a gas turbine comprises a compression unit for compressing combustion air, and a fuel for injecting fuel into high pressure air sent from the compression unit for combustion to generate high temperature combustion gas.
- a turbine part located downstream of the combustion part and driven by the combustion gas exiting the combustion part, and a low pressure constituting the turbine part from the compressed air extracted from the low pressure stage of the compression part
- a gas turbine provided with a stator blade cooling air system, wherein the middle of the first stator blade cooling air system and the middle of the second stator blade cooling air system are connected via a communication passage It is done.
- the gas turbine according to the second aspect of the present invention turndown operation becomes possible by using the existing stator blade cooling air system, and therefore the system and operation of the gas turbine can be simplified. Production costs and maintenance and inspection costs can be reduced. Also, during turn-down operation, the (high-pressure) compressed air extracted from the high pressure stage of the compression section bypasses the combustion section, and also the first stator system cooling air system and stator blades (for example, the fourth stage stator blade) Thus, the temperature of the exhaust gas can be reduced because it is introduced into the working fluid path of the turbine unit through the Furthermore, during turn-down operation, the (high-pressure) compressed air extracted from the high-pressure stage of the compression section bypasses the combustion section, and also the first stator system cooling air system and stator blades (for example, the fourth-stage stator blade) The temperature of the turbine part can be lowered while maintaining the turbine inlet temperature high during turndown operation, and the turbine blades (moving blades and stator blades) And other components of the turbine unit can be extended.
- a backflow prevention means is connected to the first stationary blade system cooling air system located upstream of a junction point to which the downstream end of the communication path is connected.
- the flow of the compressed air led to the middle of the first stationary blade system cooling air system via the communication passage from the junction to the compression section is a backflow prevention means (for example, reverse Since it is blocked by the stop valve check valve, it is possible to reliably prevent the backflow from the junction to the compression section.
- a compressor for compressing combustion air, and a fuel for injecting fuel into high pressure air sent from the compressor and burning it to generate high temperature combustion gas Part a turbine part located downstream of the combustion part and driven by the combustion gas exiting the combustion part, and a low pressure constituting the turbine part from the compressed air extracted from the low pressure stage of the compression part
- a second stationary blade system cooling air system, and a third stationary blade system cooling air system for introducing the compressed air extracted from the high pressure stage of the compression unit into the interior of the high pressure stage stator blade constituting the turbine unit;
- Gas turbine provided with the second stator system cooling air system Middle and is connected via a communicating passage way and said third vane system cooling air system.
- the turndown operation can be performed by utilizing the existing stator blade cooling air system, so that the system and operation of the gas turbine can be simplified. Production costs and maintenance and inspection costs can be reduced. Also, during turn-down operation, the (high-pressure) compressed air extracted from the high-pressure stage of the compression section bypasses the combustion section, and the second stator blade cooling air system and stator blades (for example, third-stage stator blades) Thus, the temperature of the exhaust gas can be reduced because it is introduced into the working fluid path of the turbine unit through the Furthermore, during turn-down operation, the (high-pressure) compressed air extracted from the high-pressure stage of the compression section bypasses the combustion section, and the second stator system cooling air system and stator blades (for example, third-stage stator blades) The temperature of the turbine part can be lowered while maintaining the turbine inlet temperature high during turndown operation, and the turbine blades (moving blades and stator blades) And other components of the turbine unit can be extended.
- a backflow prevention means is connected to the second stationary blade system cooling air system located upstream of a junction point to which the downstream end of the communication path is connected.
- the flow of the compressed air led to the middle of the second stator blade system cooling air system via the communication passage from the junction to the compression section is a backflow prevention means (for example, reverse Since it is blocked by the stop valve, reverse flow from the junction to the compression section can be reliably prevented.
- a gas turbine comprises a compression unit for compressing combustion air, and a fuel for injecting fuel into high pressure air sent from the compression unit for combustion to generate high temperature combustion gas.
- a turbine part located downstream of the combustion part and driven by the combustion gas exiting the combustion part, and a low pressure constituting the turbine part from the compressed air extracted from the low pressure stage of the compression part
- Gas turbine provided with the first stator system cooling air system Halfway between the middle of the middle or the third vane system cooling air system of the second vane system cooling air system are connected via a communication path.
- turndown operation can be performed by using the existing stator blade cooling air system, and therefore, the system and operation of the gas turbine can be simplified. Production costs and maintenance and inspection costs can be reduced. Also, during turndown operation, compressed air (high pressure or medium pressure) extracted from the high pressure stage or medium pressure stage of the compression section bypasses the combustion section, and the first stationary blade system cooling air system and stationary blades Since the gas is introduced into the working fluid path of the turbine unit (for example, through the fourth stage vane), the temperature of the exhaust gas can be reduced.
- compressed air high pressure or medium pressure
- compressed air (high pressure or medium pressure) extracted from the high pressure stage or medium pressure stage of the compression section bypasses the combustion section, and the first stationary blade cooling air system and stationary blades Since the gas is introduced into the turbine unit (for example, through the fourth stage stator blade), the temperature of the turbine unit can be reduced while maintaining the turbine inlet temperature high during turn-down operation. It is possible to extend the life of the parts that constitute the turbine unit such as (moving blades and stator blades).
- a backflow prevention means is connected to the first stationary blade system cooling air system located upstream of a junction point to which the downstream end of the communication path is connected.
- the flow of the compressed air led to the middle of the first stationary blade system cooling air system via the communication passage from the junction to the compression section is a backflow prevention means (for example, reverse Since it is blocked by the stop valve check valve, it is possible to reliably prevent the backflow from the junction to the compression section.
- a gas turbine comprises a compression unit for compressing combustion air, and a fuel for injecting fuel into high pressure air sent from the compression unit for combustion to generate high temperature combustion gas.
- a turbine part located downstream of the combustion part and driven by the combustion gas exiting the combustion part, and extracting compressed air extracted from at least two different positions of pressure of the compression part,
- a gas turbine comprising at least two stator blade system cooling air systems that respectively lead to the inside of a stator blade constituting the turbine unit according to the pressure of the compressed air, the at least two stator blade system cooling airs
- a system is connected via a communication passage.
- turndown operation becomes possible by utilizing the existing stator blade cooling air system, and therefore the system and operation of the gas turbine can be simplified. Production costs and maintenance and inspection costs can be reduced.
- the compressed air extracted from the compression section bypasses the combustion section and passes through the stator blade cooling air system and the stator blades (for example, the fourth stage stator blades) in the working fluid path of the turbine portion.
- the temperature of the exhaust gas can be reduced.
- the compressed air extracted from the compression section bypasses the combustion section and is introduced into the turbine section through the stator system cooling air system and the stator blade (for example, the fourth stage stator blade). Therefore, the temperature of the turbine portion can be decreased while maintaining the turbine inlet temperature high during turn-down operation, and the service life of the parts constituting the turbine portion such as turbine blades (moving blades and stator blades) can be reduced.
- a backflow prevention means be connected to the stationary blade cooling air system located upstream of a junction where the downstream end of the communication path is connected.
- the flow of the compressed air led from the joining point to the compression part through the communicating path from the merging point to the compression part of the stationary blade cooling air system is a backflow prevention means (for example, a check valve) Since it will be blocked by the check valve, it is possible to reliably prevent the backflow from the junction to the compression section.
- a backflow prevention means for example, a check valve
- a gas turbine comprising a rotor system cooling air system leading to the inside of the vehicle, wherein a boost compressor is connected in the middle of the rotor system cooling air system, and includes a bypass system bypassing the boost compressor.
- the boost compressor is operated, and (high pressure) compressed air extracted from the high pressure stage of the compression section bypasses the combustion section. Since the rotor system cooling air system and the blades are forced (actively) introduced into the working fluid path of the turbine section, the temperature of the exhaust gas can be reduced. Further, during turn-down operation, the (high pressure) compressed air extracted from the outlet (the rear stage) of the compression unit bypasses the combustion unit and is fed to the turbine unit through the rotor system cooling air system. Therefore, the temperature of the turbine portion can be reduced while maintaining the turbine inlet temperature high during turn-down operation, and prolonging the life of parts constituting the turbine portion such as turbine blades (moving blades and stator blades) Can be
- the gas turbine capable of turn-down operation according to the present invention can simplify the system and operation of the gas turbine, and has the effect of reducing manufacturing costs and maintenance and inspection costs.
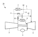
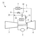
- FIG. 1 is a system diagram of a gas turbine according to the present embodiment.
- the gas turbine 1 according to the present embodiment injects fuel into the compression unit 2 for compressing combustion air and high pressure air sent from the compression unit 2 and burns the fuel at high temperature.
- the gas turbine casing (not shown) that accommodates the inside and the (medium-pressure) compressed air extracted from the middle (middle stage) of the compression unit 2 are used to form a stationary blade (for example, the second Rotor that forms the turbine unit 4 by extracting the (high pressure) compressed air from the stationary blade system cooling air system 5 introduced to the inside of the Rotor system cooling air system (car room bleed air system) 6 which leads to the inside of (not shown) And it is configured as a main component.
- a first cooler 7 for cooling the passing compressed air is connected in the middle of the stationary blade system cooling air system 5.
- the first cooler 7 is bypassed to the stationary blade cooling air system 5 (that is, the stationary blade cooling air system 5 positioned upstream of the first cooler 7 and the downstream of the first cooler 7
- a bypass system 8 communicating with the stationary blade system cooling air system 5 located on the side is connected.
- a control valve 9 for adjusting the flow rate of air in the bypass system 8 is connected in the middle of the bypass system 8.
- a second control valve (flow rate control means) 13 is connected by a communication pipe (communication path) 12 and in the middle of the communication pipe 12, the opening degree thereof is adjusted by a controller (not shown). It is connected.
- the communicating pipe 12 which extracts compressed air (at high pressure) from the outlet of the compressor 2 to the outside of the gas turbine casing and connects it to the stationary blade system cooling air system 5, the upstream end is the outlet of the compressor 2. It may be connected directly to the unit, and this may be used as a vehicle room bleed system.
- the turndown operation can be performed by using the existing (essential component) stationary blade cooling air system 5, so the system and operation of the gas turbine
- manufacturing costs and maintenance and inspection costs can be reduced.
- the existing rotor system cooling air system 6 is used as a vehicle room extraction system, the system and operation of the gas turbine can be further simplified, and the manufacturing cost and maintenance and inspection costs can be reduced.
- the second control valve 13 is opened, and (high-pressure) compressed air extracted from the outlet portion (rear stage) of the compression unit 2 bypasses the combustion unit 3 and cooling of the stationary blade system Since the air system 5 and the vanes (not shown) are introduced into the working fluid path of the turbine unit 4, the temperature of the exhaust gas can be reduced. Furthermore, during turn-down operation, the (high-pressure) compressed air extracted from the outlet (following stage) of the compression unit 2 bypasses the combustion unit 3 and passes through the stator blade cooling air system 5 to the turbine unit 4.
- the temperature of the turbine unit 4 can be decreased while maintaining the turbine inlet temperature high during turndown operation, and the turbine unit 4 such as a turbine blade (moving blade and stator blade) It is possible to prolong the service life of the components that make up the During normal operation (for example, full load operation), the second control valve 13 is closed, and the (high pressure) compressed air extracted from the outlet (the rear stage) of the compression unit 2 is the rotor system cooling air system 6 Through the turbine portion 4.
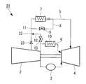
- FIG. 2 is a system diagram of the gas turbine according to the present embodiment.
- the stationary blade system cooling air system 5 positioned on the upstream side of the junction 22 where the downstream end of the communication pipe 12 is connected is It differs from that of the first embodiment described above in that the backflow prevention means 23 is connected.
- the other components are the same as those of the above-described first embodiment, and thus the description of those components is omitted here.
- the other operational effects are the same as those of the first embodiment described above, and thus the description thereof is omitted here.
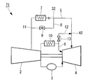
- FIG. 3 is a system diagram of a gas turbine according to the present embodiment.
- the downstream end of the communication pipe 12 is a stator blade cooling air located downstream of the junction 32 to which the downstream end of the bypass system 8 is connected. It differs from that of the first embodiment described above in that it is connected to the system 5.
- the other components are the same as those of the above-described first embodiment, and thus the description of those components is omitted here.
- the turndown operation can be performed by using the existing (essential component) stationary blade cooling air system 5, so the system and operation of the gas turbine
- manufacturing costs and maintenance and inspection costs can be reduced.
- the second control valve 13 is opened, and (high-pressure) compressed air extracted from the outlet portion (rear stage) of the compression unit 2 bypasses the combustion unit 3 and cooling of the stationary blade system Since the air system 5 and the vanes (not shown) are introduced into the working fluid path of the turbine unit 4, the temperature of the exhaust gas can be reduced.
- the (high-pressure) compressed air extracted from the outlet (following stage) of the compression unit 2 bypasses the combustion unit 3 and passes through the stator blade cooling air system 5 to the turbine unit 4. Since the power is supplied, the temperature of the turbine unit 4 can be decreased while maintaining the turbine inlet temperature high during turndown operation, and the turbine unit 4 such as a turbine blade (moving blade and stator blade) It is possible to prolong the service life of the components that make up the During normal operation (for example, full load operation), the second control valve 13 is closed, and the (high pressure) compressed air extracted from the outlet (the rear stage) of the compression unit 2 is the rotor system cooling air system 6 Through the turbine portion 4.
- FIG. 4 is a system diagram of the gas turbine according to the present embodiment.
- the stationary blade system cooling air system 5 positioned upstream of the branch point 11 to which the upstream end of the bypass system 8 is connected is a check valve 23.
- the other components are the same as those of the above-described third embodiment, and thus the description of those components is omitted here.
- the flow from the connected junction 42 toward the compression unit 2 is blocked by the check valve 23, so that the backflow from the junction 42 to the compression unit 2 can be reliably prevented.
- the other operational effects are the same as those of the third embodiment described above, and thus the description thereof is omitted here.
- FIG. 5 is a system diagram of a gas turbine according to the present embodiment.
- the upstream end of the communication pipe 12 is connected to the rotor system cooling air system 6 located downstream of the second cooler 10. It differs from that of the first embodiment described above.
- the other components are the same as those of the above-described first embodiment, and thus the description of those components is omitted here.
- turndown operation becomes possible by using the existing (essential component) stationary blade system cooling air system 5 and the rotor system cooling air system 6 Therefore, the system and operation of the gas turbine can be simplified, and the manufacturing costs and maintenance and inspection costs can be reduced. Further, during turn-down operation, the second control valve 13 is opened, and (high-pressure) compressed air extracted from the outlet portion (rear stage) of the compression unit 2 bypasses the combustion unit 3 and cooling of the stationary blade system Since the air system 5 and the vanes (not shown) are introduced into the working fluid path of the turbine unit 4, the temperature of the exhaust gas can be reduced.
- the (high pressure) compressed air extracted from the outlet (the rear stage) of the compression unit 2 bypasses the combustion unit 3, and the stator blade cooling air system 5 and the rotor cooling air system 6 Therefore, the temperature of the turbine unit 4 can be reduced while maintaining the turbine inlet temperature high during the turndown operation, and the turbine blades (moving blades and static It is possible to extend the life of the parts constituting the turbine unit 4 such as a wing).
- the second control valve 13 is closed, and the (high pressure) compressed air extracted from the outlet (the rear stage) of the compression unit 2 is the rotor system cooling air system 6 Through the turbine portion 4.
- FIG. 6 is a system diagram of a gas turbine according to the present embodiment.
- the stationary blade system cooling air system 5 positioned upstream of the junction 22 where the downstream end of the communication pipe 12 is connected is a check valve 23.
- the other components are the same as those of the fifth embodiment described above, and thus the description of those components is omitted here.
- the other functions and effects are the same as those of the fifth embodiment described above, and thus the description thereof is omitted here.
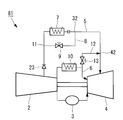
- FIG. 7 is a system diagram of a gas turbine according to the present embodiment.
- the downstream end of the communication pipe 12 is a stator blade cooling air located downstream of the junction 32 to which the downstream end of the bypass system 8 is connected. It differs from that of the fifth embodiment described above in that it is connected to the system 5.
- the other components are the same as those of the fifth embodiment described above, and thus the description of those components is omitted here.
- the gas turbine 71 According to the gas turbine 71 according to the present embodiment, turndown operation becomes possible by using the existing (essential component) stationary blade system cooling air system 5 and the rotor system cooling air system 6 Therefore, the system and operation of the gas turbine can be simplified, and the manufacturing costs and maintenance and inspection costs can be reduced. Further, during turn-down operation, the second control valve 13 is opened, and (high-pressure) compressed air extracted from the outlet portion (rear stage) of the compression unit 2 bypasses the combustion unit 3 and cooling of the stationary blade system Since the air system 5 and the vanes (not shown) are introduced into the working fluid path of the turbine unit 4, the temperature of the exhaust gas can be reduced.
- the (high pressure) compressed air extracted from the outlet (the rear stage) of the compression unit 2 bypasses the combustion unit 3, and the stator blade cooling air system 5 and the rotor cooling air system 6 Therefore, the temperature of the turbine unit 4 can be reduced while maintaining the turbine inlet temperature high during the turndown operation, and the turbine blades (moving blades and static It is possible to extend the life of the parts constituting the turbine unit 4 such as a wing).
- the second control valve 13 is closed, and the (high pressure) compressed air extracted from the outlet (the rear stage) of the compression unit 2 is the rotor system cooling air system 6 Through the turbine portion 4.
- FIG. 8 is a system diagram of a gas turbine according to the present embodiment.
- the gas turbine 81 according to the present embodiment includes a check valve 23 for the stator blade cooling air system 5 positioned upstream of the branch point 11 to which the upstream end of the bypass system 8 is connected.
- the check valve 23 for the stator blade cooling air system 5 positioned upstream of the branch point 11 to which the upstream end of the bypass system 8 is connected.
- the other components are the same as those of the seventh embodiment described above, and thus the description of those components is omitted here.
- the flow from the connected junction 42 toward the compression unit 2 is blocked by the check valve 23, so that the backflow from the junction 42 to the compression unit 2 can be reliably prevented.
- the other operational effects are the same as those of the seventh embodiment described above, and thus the description thereof is omitted here.
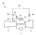
- FIG. 9 is a system diagram of a gas turbine according to the present embodiment.
- the gas turbine 91 injects and burns fuel into the compression unit 2 for compressing the combustion air, and the high pressure air sent from the compression unit 2 and burns it at high temperature
- a combustion unit 3 generating combustion gas
- a turbine unit 4 located downstream of the combustion unit 3 and driven by the combustion gas leaving the combustion unit 3, a compression unit 2, a combustion unit 3 and a turbine unit 4
- the gas turbine casing (not shown) that accommodates the inside and the (medium-pressure) compressed air extracted from the middle (middle stage) of the compression unit 2 are used to form a stationary blade (for example, the second Rotor that forms the turbine unit 4 by extracting the (high pressure) compressed air from the stationary blade system cooling air system 92 introduced to the inside of the Rotor system cooling air system (car room bleed air system) leading to the inside of (not shown) It is composed of 3
- a first control valve 94 whose opening degree is adjusted by a controller (not shown) is connected in the middle of the stator blade cooling air system 92.
- a cooler 95 for cooling the passing compressed air is connected in the middle of the rotor system cooling air system 93.
- the rotor system cooling air system 93 located upstream of the cooler 95 and the stator blade system cooling air system 92 located upstream of the first control valve 94 are connected by a communication pipe (communication path) 96
- a second control valve (flow control means) 97 whose opening degree is adjusted by a controller (not shown) is connected in the middle of the communication pipe 96.
- the upstream end is the outlet of the compressor 2. It may be connected directly to the unit, and this may be used as a vehicle room bleed system.
- turndown operation can be performed by using the existing (essential component) stationary blade cooling air system 92, so the system and operation of the gas turbine Thus, manufacturing costs and maintenance and inspection costs can be reduced. Further, during turn-down operation, the second control valve 97 is opened, and (high pressure) compressed air extracted from the outlet (the rear stage) of the compression unit 2 bypasses the combustion unit 3 and cooling of the stationary blade system Since the air system 92 and the vanes (not shown) are introduced into the working fluid path of the turbine unit 4, the temperature of the exhaust gas can be reduced.
- the (high-pressure) compressed air extracted from the outlet (the rear stage) of the compression unit 2 bypasses the combustion unit 3, and the stator blade cooling air system 92 and the rotor cooling air system 93. Therefore, the temperature of the turbine unit 4 can be reduced while maintaining the turbine inlet temperature high during the turndown operation, and the turbine blades (moving blades and static It is possible to extend the life of the parts constituting the turbine unit 4 such as a wing).
- the second control valve 97 is closed, and the (high pressure) compressed air extracted from the outlet (the latter part) of the compression unit 2 is a rotor system cooling air system 93 Through the turbine portion 4.
- FIG. 10 is a system diagram of a gas turbine according to the present embodiment.
- the stationary blade system cooling air system 92 located upstream of the junction 102 where the downstream end of the communication pipe 96 is connected is a check valve ( This differs from the ninth embodiment described above in that the backflow prevention means 103 is connected.
- the other components are the same as those of the above-described ninth embodiment, and thus the description of those components is omitted here.
- the other functions and effects are the same as those of the ninth embodiment described above, and thus the description thereof is omitted here.
- FIG. 11 is a system diagram of a gas turbine according to the present embodiment.
- the upstream end of the communication pipe 96 is connected to the rotor system cooling air system 93 located downstream of the cooler 95, and the downstream of the communication pipe 96 In that the end is connected to a stationary blade system cooling air system 92 located upstream of the first control valve 94 and downstream of the junction 102 described in the tenth embodiment.
- the other components are the same as those of the above-described ninth embodiment, and thus the description of those components is omitted here.
- turn-down operation becomes possible by using the existing (essential component) stationary blade system cooling air system 92 and the rotor system cooling air system 93. Therefore, the system and operation of the gas turbine can be simplified, and the manufacturing costs and maintenance and inspection costs can be reduced. Further, during turn-down operation, the second control valve 97 is opened, and (high pressure) compressed air extracted from the outlet (the rear stage) of the compression unit 2 bypasses the combustion unit 3 and cooling of the stationary blade system Since the air system 92 and the vanes (not shown) are introduced into the working fluid path of the turbine unit 4, the temperature of the exhaust gas can be reduced.
- the (high-pressure) compressed air extracted from the outlet (the rear stage) of the compression unit 2 bypasses the combustion unit 3, and the stator blade cooling air system 92 and the rotor cooling air system 93. Therefore, the temperature of the turbine unit 4 can be reduced while maintaining the turbine inlet temperature high during the turndown operation, and the turbine blades (moving blades and static It is possible to extend the life of the parts constituting the turbine unit 4 such as a wing).
- the second control valve 97 is closed, and the (high pressure) compressed air extracted from the outlet (the latter part) of the compression unit 2 is a rotor system cooling air system 93 Through the turbine portion 4.
- FIG. 12 is a system diagram of a gas turbine according to the present embodiment.
- the stator blade cooling air system 92 positioned upstream of the junction 122 where the downstream end of the communication pipe 96 is connected is a check valve 103.
- the other components are the same as those of the above-described eleventh embodiment, and thus the description of those components is omitted here.
- the other functions and effects are the same as those of the above-described eleventh embodiment, and thus the description thereof is omitted here.
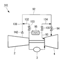
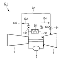
- FIG. 13 is a system diagram of a gas turbine according to the present embodiment.
- the ninth embodiment described above in that the second communication pipe (communication passage) 134 and the third control valve (flow control means) 135 are provided. It is different.
- the other components are the same as those of the ninth to twelfth embodiments described above, and thus the description of those components is omitted here.
- the rotor system cooling air system 93 located upstream of the cooler 95 and the stationary blade system cooling air system 92 located upstream of the first control valve 94 are connected by a first communication pipe 132.
- a second control valve 133 whose opening degree is adjusted by a controller (not shown) is connected in the middle of the first communication pipe 132.
- the stationary blade system cooling air system 92 located on the downstream side is connected by a second communication pipe 134, and the opening degree of the second communication pipe 134 is determined by a controller (not shown) in the middle of the second communication pipe 134.
- a third control valve 135 is connected to which the
- the gas turbine 131 According to the gas turbine 131 according to the present embodiment, turn-down operation becomes possible by using the existing (essential component) stationary blade cooling air system 92 and the rotor cooling air system 93. Therefore, the system and operation of the gas turbine can be simplified, and the manufacturing costs and maintenance and inspection costs can be reduced. Further, in the turn down operation, the second control valve 133 and the third control valve 135 are opened, and the (high pressure) compressed air extracted from the outlet (the rear stage) of the compression unit 2 bypasses the combustion unit 3 At the same time, the temperature of the exhaust gas can be reduced because it is introduced into the working fluid path of the turbine unit 4 through the stator system cooling air system 92 and the stator blades (not shown).
- the (high-pressure) compressed air extracted from the outlet (the rear stage) of the compression unit 2 bypasses the combustion unit 3, and the stator blade cooling air system 92 and the rotor cooling air system 93. Therefore, the temperature of the turbine unit 4 can be reduced while maintaining the turbine inlet temperature high during the turndown operation, and the turbine blades (moving blades and static It is possible to extend the life of the parts constituting the turbine unit 4 such as a wing).
- the second control valve 133 is closed, and the (high-pressure) compressed air extracted from the outlet (the latter part) of the compressor 2 is a stator blade cooling air system All are supplied to the turbine unit 4 through 92 and the rotor system cooling air system 93.
- FIG. 14 is a system diagram of a gas turbine according to the present embodiment.
- a check valve (backflow prevention means) 142 is connected to a stationary blade cooling air system 92 located upstream of the junction 136. It differs from that of the thirteenth embodiment described above in that.
- the other components are the same as those of the above-described thirteenth embodiment, and thus the description of those components is omitted here.
- the check valve 142 prevents the flow of the compressed air led to the upstream side of the stator blade cooling air system 92 via the communication pipe 134 and the third control valve 135 from the merging point 136 to the compression section 2
- backflow from the junction 136 to the compression unit 2 can be reliably prevented.
- the other functions and effects are the same as those of the thirteenth embodiment described above, and thus the description thereof is omitted here.
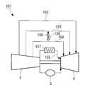
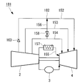
- FIG. 15 is a system diagram of a gas turbine according to the present embodiment.
- the gas turbine 151 according to the present embodiment injects fuel into the compression unit 2 that compresses the combustion air, and high pressure air sent from the compression unit 2 and burns the fuel at high temperature.
- a combustion unit 3 generating combustion gas and a turbine unit 4 located downstream of the combustion unit 3 and driven by the combustion gas leaving the combustion unit 3 are mainly constituted.
- the (low pressure) compressed air extracted from the low pressure stage of the compression unit 2 is guided to the inside of the stationary blade (for example, the fourth stage stationary blade) constituting the turbine unit 3.
- the stator blade cooling air system 152 of 1 and the (medium pressure) compressed air extracted from the medium pressure stage of the compression unit 2 are guided to the inside of the stator blade (for example, the third stage blade) constituting the turbine unit 3
- a second stator blade cooling air system 153 and a (high pressure) compressed air extracted from a high pressure stage of the compressor 2 are introduced into the interior of a stator blade (for example, a second stage stator blade) constituting the turbine unit 3
- the turbine portion 4 includes the stator blade cooling air system 154 and the compressed air (having a pressure higher than the pressure of the compressed air extracted from the high pressure stage of the compression portion 2) extracted from the outlet of the compression portion 2; System cooling air system leading to the inside of the rotor (not shown) that constitutes the And a 55.
- the middle of the second stator blade cooling air system 153 and the middle of the third stator cooling air system 154 are communicated via the communication pipe (communication path) 156, and the third static A portion of the compressed air passing through the blade system cooling air system 154 is led to the second stator system cooling air system 153 through the communication pipe 156.
- a cooler 157 for cooling the passing compressed air is connected in the middle of the rotor system cooling air system 155, and the opening degree of the communication pipe 156 is adjusted by a controller (not shown).
- Control valve (flow rate control means) 158 is connected.
- a turndown operation can be performed by using the existing (essential component) stationary blade cooling air system 152, 153, 154, so that the gas turbine can be obtained.
- System and operation can be simplified, and manufacturing costs and maintenance and inspection costs can be reduced.
- the control valve 158 is opened, and the (high pressure) compressed air extracted from the high pressure stage of the compression unit 2 bypasses the combustion unit 3 and the second stationary blade cooling air system 153
- the temperature of the exhaust gas can be reduced because the gas is introduced into the working fluid path of the turbine unit 4 through the stator (for example, the third stage stator).
- the (high-pressure) compressed air extracted from the high-pressure stage of the compression unit 2 bypasses the combustion unit 3, and the second stator blade cooling air system 153 and stator blades (for example, Since the turbine portion 4 is fed through the three-stage stator blade), the temperature of the turbine portion 4 can be reduced while maintaining the turbine inlet temperature high during turn-down operation. It is possible to extend the life of the components that constitute the turbine unit 4 such as the blades and the stator blades).
- the control valve 158 is closed, and the (high pressure) compressed air extracted from the high pressure stage of the compression unit 2 is the third stationary blade cooling air system 154 and the static air. It will be thrown into the turbine part 4 altogether through a wing
- FIG. 16 is a system diagram of a gas turbine according to the present embodiment.
- the second stationary blade cooling air system 153 positioned upstream of the junction point 162 to which the downstream end of the communication pipe 156 is connected is reversed. It differs from that of the fifteenth embodiment described above in that a stop valve (backflow preventing means) 163 is connected.
- the other components are the same as those of the fifteenth embodiment described above, and thus the description of those components is omitted here.
- the flow of the compressed air led to the middle of the second stator blade cooling air system 153 via the communication pipe 156 from the junction point 162 to the compression unit 2 is Since it will be blocked by the check valve 163, a backflow from the junction point 162 to the compression section 2 can be reliably prevented.
- the other functions and effects are the same as those of the fifteenth embodiment described above, and thus the description thereof is omitted here.
- FIG. 17 is a system diagram of a gas turbine according to the present embodiment.
- the gas turbine 171 according to this embodiment is the fifteenth embodiment described above in that the downstream end of the communication pipe 156 is connected to the middle of the first stationary blade cooling air system 152.
- the other components are the same as those of the fifteenth embodiment described above, and thus the description of those components is omitted here.
- the turndown operation can be performed by using the existing (essential component) stationary blade cooling air system 152, 153, 154, so that the gas turbine can be obtained.
- System and operation can be simplified, and manufacturing costs and maintenance and inspection costs can be reduced.
- the (high pressure) compressed air extracted from the high pressure stage of the compression unit 2 bypasses the combustion unit 3, and the first stationary blade cooling air system 152 and the stationary blades (for example, The temperature of the exhaust gas can be reduced because it is introduced into the working fluid path of the turbine unit 4 through the 4-stage stator blade).
- the (high-pressure) compressed air extracted from the high-pressure stage of the compression unit 2 bypasses the combustion unit 3, and the first stator blade cooling air system 152 and the stator blades (for example, Since the turbine part 4 is fed through the four-stage stator blade), the temperature of the turbine part 4 can be reduced while maintaining the turbine inlet temperature high during turn-down operation. It is possible to extend the life of the components that constitute the turbine unit 4 such as the blades and the stator blades).
- FIG. 18 is a system diagram of a gas turbine according to the present embodiment.
- the first stator blade cooling air system 152 positioned upstream of the junction 182 where the downstream end of the communication pipe 156 is connected is reversed.
- the stop valve 163 is connected.
- the other components are the same as those of the seventeenth embodiment described above, and thus the description thereof is omitted here.
- the flow of the compressed air led to the middle of the first stationary blade cooling air system 152 via the communication pipe 156 from the junction 182 toward the compression unit 2 is: Since it is blocked by the check valve 163, a backflow from the junction 182 to the compression unit 2 can be reliably prevented.
- the other operational effects are the same as those of the seventeenth embodiment described above, and thus the description thereof is omitted here.
- FIG. 19 is a system diagram of a gas turbine according to the present embodiment.
- the gas turbine 191 according to this embodiment is the seventeenth embodiment described above in that the upstream end of the communication pipe 156 is connected to the middle of the second stationary blade cooling air system 153. Different from the form.
- the other components are the same as those of the seventeenth embodiment described above, and thus the description thereof is omitted here.
- the turndown operation can be performed by using the existing (essential component) stationary blade cooling air system 152, 153, 154, so that the gas turbine can be obtained.
- System and operation can be simplified, and manufacturing costs and maintenance and inspection costs can be reduced.
- the (medium pressure) compressed air extracted from the medium pressure stage of the compression unit 2 bypasses the combustion unit 3, and the first stationary blade system cooling air system 152 and the stationary blades (for example, , And the temperature of the exhaust gas can be reduced.
- the (medium pressure) compressed air extracted from the medium pressure stage of the compression unit 2 bypasses the combustion unit 3 and the first stator blade cooling air system 152 and the stator blades (for example, , And since it is supplied to the turbine unit 4 through the fourth stage stator blade), the temperature of the turbine unit 4 can be lowered while maintaining the turbine inlet temperature high during turn-down operation. It is possible to extend the life of the parts constituting the turbine unit 4 such as (moving blades and stator blades).
- FIG. 20 is a system diagram of a gas turbine according to the present embodiment.
- the first stator blade cooling air system 152 located upstream of the junction 182 where the downstream end of the communication pipe 156 is connected is reversed. It differs from that of the nineteenth embodiment described above in that the stop valve 163 is connected.
- the other components are the same as those of the nineteenth embodiment described above, and thus the description of those components is omitted here.
- the flow of the compressed air guided to the middle of the first stationary blade cooling air system 152 via the communication pipe 156 from the merging point 202 toward the compression unit 2 is Since it will be blocked by the check valve 163, a backflow from the junction 202 to the compression section 2 can be reliably prevented.
- the other functions and effects are the same as those of the nineteenth embodiment described above, and thus the description thereof is omitted here.
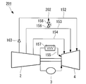
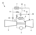
- FIG. 21 is a system diagram of a gas turbine according to the present embodiment.
- the gas turbine 211 according to the present embodiment injects and burns fuel into the compression unit 2 that compresses the combustion air, and the high pressure air sent from the compression unit 2 and burns it at high temperature
- a combustion unit 3 generating combustion gas
- a turbine unit 4 located downstream of the combustion unit 3 and driven by the combustion gas leaving the combustion unit 3, and extracted from an outlet (following stage) of the compression unit 2
- the rotor system cooling air system 212 for guiding compressed (high pressure) compressed air to the inside of the rotor (not shown) that constitutes the turbine unit 4 is configured as a main element.
- a cooler 213 for cooling the passing compressed air and a boost compressor 214 ON / OFF (start-stop) by a controller (not shown) are connected.
- the rotor system cooling air system 212 located on the upstream side of the boost compressor 214 downstream of the cooler 213 and the rotor system cooling air system 212 located on the downstream side of the boost compressor 214 are separated by a bypass system 215.
- a control valve 216 which is connected and which is opened and closed by a controller (not shown) is connected in the middle of the bypass system 215.
- the control valve 216 is not an essential component.
- the control valve 216 is closed, the boost compressor 214 is operated, and (high pressure) compressed air extracted from the high pressure stage of the compression unit 2 is Since the combustion unit 3 is bypassed and forcedly (positively) introduced into the working fluid path of the turbine unit 4 through the rotor system cooling air system 212 and the moving blades, the temperature of the exhaust gas is reduced. It can be lowered. Further, during turn-down operation, the (high pressure) compressed air extracted from the outlet (the rear stage) of the compression unit 2 bypasses the combustion unit 3 and is fed to the turbine unit 4 through the rotor system cooling air system 212.
- the temperature of the turbine unit 4 can be reduced while maintaining the turbine inlet temperature high during turn-down operation, and the turbine unit 4 such as a turbine blade (moving blade and stator blade) It is possible to prolong the service life of the components to be configured.
- the control valve 216 is opened, the boost compressor 214 is stopped, and (high-pressure) compressed air extracted from the outlet of the compressor 2 (second stage) is bypassed. It will be introduced into the turbine unit 4 through the system 215.
- the tubular communication pipe is described as one specific example of the communication passage, but the present invention is not limited to this, and for example, a communication hole is formed in a block body
- the “system” in the specification is any form as long as compressed air can pass through, such as a tubular pipe or a block having a communicating hole formed in a block body. Also good.
- the above-described fifteenth to twentieth embodiments have been described with respect to those having three stator blade system cooling air systems, the present invention is not limited to such, and two or four. It may have more than one stationary blade system cooling air system.
Landscapes
- Engineering & Computer Science (AREA)
- Chemical & Material Sciences (AREA)
- Combustion & Propulsion (AREA)
- Mechanical Engineering (AREA)
- General Engineering & Computer Science (AREA)
- Physics & Mathematics (AREA)
- Fluid Mechanics (AREA)
- Turbine Rotor Nozzle Sealing (AREA)
- Structures Of Non-Positive Displacement Pumps (AREA)
Priority Applications (4)
| Application Number | Priority Date | Filing Date | Title |
|---|---|---|---|
| CN2008801268496A CN101946073A (zh) | 2008-08-06 | 2008-12-24 | 燃气轮机 |
| KR1020107016745A KR101196125B1 (ko) | 2008-08-06 | 2008-12-24 | 가스 터빈 |
| EP08876707.4A EP2309108B1 (en) | 2008-08-06 | 2008-12-24 | Gas turbine with improved turn down operation |
| US12/591,761 US20100154434A1 (en) | 2008-08-06 | 2009-12-01 | Gas Turbine |
Applications Claiming Priority (2)
| Application Number | Priority Date | Filing Date | Title |
|---|---|---|---|
| JP2008203234A JP5297114B2 (ja) | 2008-08-06 | 2008-08-06 | ガスタービン |
| JP2008-203234 | 2008-08-06 |
Related Child Applications (1)
| Application Number | Title | Priority Date | Filing Date |
|---|---|---|---|
| US12/591,761 Continuation US20100154434A1 (en) | 2008-08-06 | 2009-12-01 | Gas Turbine |
Publications (1)
| Publication Number | Publication Date |
|---|---|
| WO2010016159A1 true WO2010016159A1 (ja) | 2010-02-11 |
Family
ID=41663388
Family Applications (1)
| Application Number | Title | Priority Date | Filing Date |
|---|---|---|---|
| PCT/JP2008/073377 Ceased WO2010016159A1 (ja) | 2008-08-06 | 2008-12-24 | ガスタービン |
Country Status (6)
| Country | Link |
|---|---|
| US (1) | US20100154434A1 (enExample) |
| EP (1) | EP2309108B1 (enExample) |
| JP (1) | JP5297114B2 (enExample) |
| KR (1) | KR101196125B1 (enExample) |
| CN (1) | CN101946073A (enExample) |
| WO (1) | WO2010016159A1 (enExample) |
Cited By (1)
| Publication number | Priority date | Publication date | Assignee | Title |
|---|---|---|---|---|
| ITCO20090034A1 (it) * | 2009-09-25 | 2011-03-26 | Nuovo Pignone Spa | Sistema di raffreddamento per una turbina a gas e relativo metodo di funzionamento |
Families Citing this family (67)
| Publication number | Priority date | Publication date | Assignee | Title |
|---|---|---|---|---|
| US8307662B2 (en) * | 2009-10-15 | 2012-11-13 | General Electric Company | Gas turbine engine temperature modulated cooling flow |
| EP2407652A1 (de) * | 2010-07-15 | 2012-01-18 | Siemens Aktiengesellschaft | Gasturbine mit einem Sekundärluftsystem und Verfahren zum Betreiben einer solchen Gasturbine |
| EP2508733A1 (de) | 2011-04-07 | 2012-10-10 | Siemens Aktiengesellschaft | Gasturbine mit einer gekühlten Turbinenstufe und Verfahren zum Kühlen der Turbinenstufe |
| EP2562369B1 (de) * | 2011-08-22 | 2015-01-14 | Alstom Technology Ltd | Verfahren zum Betrieb einer Gasturbinenanlage sowie Gasturbinenanlage zur Durchführung des Verfahrens |
| US8973373B2 (en) * | 2011-10-31 | 2015-03-10 | General Electric Company | Active clearance control system and method for gas turbine |
| US9222411B2 (en) * | 2011-12-21 | 2015-12-29 | General Electric Company | Bleed air and hot section component cooling air system and method |
| US9169782B2 (en) * | 2012-01-04 | 2015-10-27 | General Electric Company | Turbine to operate at part-load |
| GB201200139D0 (en) * | 2012-01-06 | 2012-02-15 | Rolls Royce Plc | Coolant supply system |
| US20130192251A1 (en) * | 2012-01-31 | 2013-08-01 | Peter M. Munsell | Buffer system that communicates buffer supply air to one or more portions of a gas turbine engine |
| US10724431B2 (en) * | 2012-01-31 | 2020-07-28 | Raytheon Technologies Corporation | Buffer system that communicates buffer supply air to one or more portions of a gas turbine engine |
| EP2831394B8 (de) * | 2012-03-30 | 2017-07-19 | Ansaldo Energia IP UK Limited | Gasturbine mit regelbarem kühlluftsystem |
| US9260968B2 (en) * | 2012-04-25 | 2016-02-16 | General Electric Company | Systems and methods for reconditioning turbine engines in power generation systems |
| US9194248B2 (en) * | 2012-06-07 | 2015-11-24 | General Electric Company | Reheat steam bypass system |
| RU2563445C2 (ru) * | 2012-07-13 | 2015-09-20 | Альстом Текнолоджи Лтд | Способ и устройство для регулирования помпажа газотурбинного двигателя |
| WO2014033220A1 (de) * | 2012-08-31 | 2014-03-06 | Siemens Aktiengesellschaft | Kühlverfahren zum betreiben einer gasturbine |
| GB201217332D0 (en) * | 2012-09-28 | 2012-11-14 | Rolls Royce Plc | A gas turbine engine |
| US9562475B2 (en) * | 2012-12-19 | 2017-02-07 | Siemens Aktiengesellschaft | Vane carrier temperature control system in a gas turbine engine |
| ITMI20130089A1 (it) * | 2013-01-23 | 2014-07-24 | Ansaldo Energia Spa | Impianto a turbina a gas per la produzione di energia elettrica e metodo per operare detto impianto |
| US10815887B2 (en) | 2013-03-15 | 2020-10-27 | Rolls-Royce Corporation | Gas turbine engine lubrication system |
| WO2014143278A1 (en) * | 2013-03-15 | 2014-09-18 | Junod Larry A | Gas turbine engine lubrication system |
| US20140348629A1 (en) * | 2013-05-21 | 2014-11-27 | Turbogen, Llc | Turbomachine assembly and method of using same |
| US9512780B2 (en) * | 2013-07-31 | 2016-12-06 | General Electric Company | Heat transfer assembly and methods of assembling the same |
| WO2015041346A1 (ja) * | 2013-09-20 | 2015-03-26 | 三菱重工業株式会社 | ガスタービン、ガスタービンの制御装置及びガスタービンの運転方法 |
| EP2857656A1 (en) * | 2013-10-01 | 2015-04-08 | Alstom Technology Ltd | Gas turbine with cooling air cooling system and method for operation of a gas turbine at low part load |
| EP2863033B1 (en) * | 2013-10-21 | 2019-12-04 | Ansaldo Energia IP UK Limited | Gas turbine with flexible air cooling system and method for operating a gas turbine |
| JP6296286B2 (ja) * | 2014-03-24 | 2018-03-20 | 三菱日立パワーシステムズ株式会社 | 排熱回収システム、これを備えているガスタービンプラント、排熱回収方法、及び排熱回収システムの追設方法 |
| JP6245757B2 (ja) * | 2014-05-22 | 2017-12-13 | 三菱日立パワーシステムズ株式会社 | 冷却装置、これを備えているガスタービン設備、冷却装置の運転方法 |
| US20150354465A1 (en) * | 2014-06-06 | 2015-12-10 | United Technologies Corporation | Turbine stage cooling |
| DE112016000551B4 (de) * | 2015-01-30 | 2023-10-26 | Mitsubishi Heavy Industries, Ltd. | Kühlsystem für eine gasturbine, damit versehene gasturbinenausstattung und teile-kühlverfahren für eine gasturbine |
| US10371055B2 (en) | 2015-02-12 | 2019-08-06 | United Technologies Corporation | Intercooled cooling air using cooling compressor as starter |
| US11808210B2 (en) | 2015-02-12 | 2023-11-07 | Rtx Corporation | Intercooled cooling air with heat exchanger packaging |
| US10731560B2 (en) | 2015-02-12 | 2020-08-04 | Raytheon Technologies Corporation | Intercooled cooling air |
| US20160273396A1 (en) * | 2015-03-19 | 2016-09-22 | General Electric Company | Power generation system having compressor creating excess air flow and heat exchanger therefor |
| US10221862B2 (en) | 2015-04-24 | 2019-03-05 | United Technologies Corporation | Intercooled cooling air tapped from plural locations |
| US10480419B2 (en) | 2015-04-24 | 2019-11-19 | United Technologies Corporation | Intercooled cooling air with plural heat exchangers |
| US10830148B2 (en) | 2015-04-24 | 2020-11-10 | Raytheon Technologies Corporation | Intercooled cooling air with dual pass heat exchanger |
| US10100739B2 (en) | 2015-05-18 | 2018-10-16 | United Technologies Corporation | Cooled cooling air system for a gas turbine engine |
| EP3112607B1 (en) * | 2015-07-02 | 2018-10-24 | Ansaldo Energia Switzerland AG | Gas turbine cool-down phase operation methods |
| US10794288B2 (en) | 2015-07-07 | 2020-10-06 | Raytheon Technologies Corporation | Cooled cooling air system for a turbofan engine |
| KR101790146B1 (ko) | 2015-07-14 | 2017-10-25 | 두산중공업 주식회사 | 외부 케이싱으로 우회하는 냉각공기 공급유로가 마련된 냉각시스템을 포함하는 가스터빈. |
| US10711702B2 (en) * | 2015-08-18 | 2020-07-14 | General Electric Company | Mixed flow turbocore |
| US10578028B2 (en) | 2015-08-18 | 2020-03-03 | General Electric Company | Compressor bleed auxiliary turbine |
| JP5932121B1 (ja) * | 2015-09-15 | 2016-06-08 | 三菱日立パワーシステムズ株式会社 | ガスタービンプラント及び既設ガスタービンプラントの改良方法 |
| US10443508B2 (en) | 2015-12-14 | 2019-10-15 | United Technologies Corporation | Intercooled cooling air with auxiliary compressor control |
| JP6700776B2 (ja) * | 2015-12-24 | 2020-05-27 | 三菱日立パワーシステムズ株式会社 | ガスタービン冷却系統、これを備えるガスタービン設備、ガスタービン冷却系統の制御装置及び制御方法 |
| JP6587350B2 (ja) * | 2016-01-22 | 2019-10-09 | 三菱日立パワーシステムズ株式会社 | ガスタービン冷却系統、これを備えるガスタービン設備、ガスタービン冷却系統の制御方法 |
| US10669940B2 (en) | 2016-09-19 | 2020-06-02 | Raytheon Technologies Corporation | Gas turbine engine with intercooled cooling air and turbine drive |
| US10794290B2 (en) | 2016-11-08 | 2020-10-06 | Raytheon Technologies Corporation | Intercooled cooled cooling integrated air cycle machine |
| US10550768B2 (en) | 2016-11-08 | 2020-02-04 | United Technologies Corporation | Intercooled cooled cooling integrated air cycle machine |
| JP2018096352A (ja) * | 2016-12-16 | 2018-06-21 | 川崎重工業株式会社 | ガスタービンエンジンおよびその制御方法 |
| US10961911B2 (en) | 2017-01-17 | 2021-03-30 | Raytheon Technologies Corporation | Injection cooled cooling air system for a gas turbine engine |
| US10995673B2 (en) | 2017-01-19 | 2021-05-04 | Raytheon Technologies Corporation | Gas turbine engine with intercooled cooling air and dual towershaft accessory gearbox |
| HUE067971T2 (hu) | 2017-03-08 | 2024-12-28 | Toray Industries | Poliolefin mikroporózus film |
| US10577964B2 (en) | 2017-03-31 | 2020-03-03 | United Technologies Corporation | Cooled cooling air for blade air seal through outer chamber |
| US10711640B2 (en) | 2017-04-11 | 2020-07-14 | Raytheon Technologies Corporation | Cooled cooling air to blade outer air seal passing through a static vane |
| KR102183194B1 (ko) * | 2017-11-21 | 2020-11-25 | 두산중공업 주식회사 | 외부 냉각시스템을 포함하는 가스터빈 및 이의 냉각방법 |
| US20190186269A1 (en) * | 2017-12-14 | 2019-06-20 | Rolls-Royce Corporation | Modulated Cooling Air Control System and Method for a Turbine Engine |
| US10738703B2 (en) | 2018-03-22 | 2020-08-11 | Raytheon Technologies Corporation | Intercooled cooling air with combined features |
| US10808619B2 (en) | 2018-04-19 | 2020-10-20 | Raytheon Technologies Corporation | Intercooled cooling air with advanced cooling system |
| US10830145B2 (en) | 2018-04-19 | 2020-11-10 | Raytheon Technologies Corporation | Intercooled cooling air fleet management system |
| US10718233B2 (en) | 2018-06-19 | 2020-07-21 | Raytheon Technologies Corporation | Intercooled cooling air with low temperature bearing compartment air |
| US11255268B2 (en) | 2018-07-31 | 2022-02-22 | Raytheon Technologies Corporation | Intercooled cooling air with selective pressure dump |
| CN116085067A (zh) | 2021-11-05 | 2023-05-09 | 通用电气公司 | 具有流体导管系统的燃气涡轮发动机及其操作方法 |
| US11859500B2 (en) * | 2021-11-05 | 2024-01-02 | General Electric Company | Gas turbine engine with a fluid conduit system and a method of operating the same |
| US11788465B2 (en) | 2022-01-19 | 2023-10-17 | General Electric Company | Bleed flow assembly for a gas turbine engine |
| US12116929B2 (en) * | 2022-01-19 | 2024-10-15 | General Electric Company | Bleed flow assembly for a gas turbine engine |
| US20250347251A1 (en) * | 2024-04-24 | 2025-11-13 | General Electric Company | Gas turbine engine having cooling systems |
Citations (5)
| Publication number | Priority date | Publication date | Assignee | Title |
|---|---|---|---|---|
| JPH05171958A (ja) * | 1991-12-18 | 1993-07-09 | Mitsubishi Heavy Ind Ltd | ガスタービン冷却空気制御装置 |
| JPH07189740A (ja) * | 1993-12-27 | 1995-07-28 | Hitachi Ltd | ガスタービン冷却系統 |
| JP2002339708A (ja) * | 2001-05-16 | 2002-11-27 | Toshiba Corp | コンバインドサイクル発電プラント |
| US6615574B1 (en) * | 2000-01-14 | 2003-09-09 | General Electric Co. | System for combining flow from compressor bleeds of an industrial gas turbine for gas turbine performance optimization |
| JP2007182883A (ja) | 2006-01-05 | 2007-07-19 | General Electric Co <Ge> | エンジンターンダウンを可能にするための方法およびタービンエンジン |
Family Cites Families (15)
| Publication number | Priority date | Publication date | Assignee | Title |
|---|---|---|---|---|
| JP2000502163A (ja) * | 1995-12-21 | 2000-02-22 | シーメンス アクチエンゲゼルシヤフト | ガスタービンの運転方法とこの方法で運転されるガスタービン |
| US6098395A (en) * | 1996-04-04 | 2000-08-08 | Siemens Westinghouse Power Corporation | Closed-loop air cooling system for a turbine engine |
| CN1219218A (zh) * | 1997-03-24 | 1999-06-09 | 西屋电气公司 | 涡轮机的闭路空气冷却系统 |
| JP2000328962A (ja) * | 1999-05-19 | 2000-11-28 | Mitsubishi Heavy Ind Ltd | タービン設備 |
| JP3975748B2 (ja) * | 1999-11-10 | 2007-09-12 | 株式会社日立製作所 | ガスタービン設備及びガスタービン冷却方法 |
| US6393825B1 (en) * | 2000-01-25 | 2002-05-28 | General Electric Company | System for pressure modulation of turbine sidewall cavities |
| JP3593488B2 (ja) * | 2000-02-25 | 2004-11-24 | 株式会社日立製作所 | ガスタービン |
| US6389793B1 (en) * | 2000-04-19 | 2002-05-21 | General Electric Company | Combustion turbine cooling media supply system and related method |
| DE10122695A1 (de) * | 2001-05-10 | 2002-11-21 | Siemens Ag | Verfahren zur Kühlung einer Gasturbine und Gasturbinenanlage |
| JP3849473B2 (ja) * | 2001-08-29 | 2006-11-22 | 株式会社日立製作所 | ガスタービンの高温部冷却方法 |
| US6550253B2 (en) * | 2001-09-12 | 2003-04-22 | General Electric Company | Apparatus and methods for controlling flow in turbomachinery |
| US6412270B1 (en) * | 2001-09-12 | 2002-07-02 | General Electric Company | Apparatus and methods for flowing a cooling or purge medium in a turbine downstream of a turbine seal |
| US20090053036A1 (en) * | 2007-08-24 | 2009-02-26 | General Electric Company | Systems and Methods for Extending Gas Turbine Emissions Compliance |
| US20090056342A1 (en) * | 2007-09-04 | 2009-03-05 | General Electric Company | Methods and Systems for Gas Turbine Part-Load Operating Conditions |
| US8057157B2 (en) * | 2007-10-22 | 2011-11-15 | General Electric Company | System for delivering air from a multi-stage compressor to a turbine portion of a gas turbine engine |
-
2008
- 2008-08-06 JP JP2008203234A patent/JP5297114B2/ja active Active
- 2008-12-24 KR KR1020107016745A patent/KR101196125B1/ko active Active
- 2008-12-24 CN CN2008801268496A patent/CN101946073A/zh active Pending
- 2008-12-24 WO PCT/JP2008/073377 patent/WO2010016159A1/ja not_active Ceased
- 2008-12-24 EP EP08876707.4A patent/EP2309108B1/en active Active
-
2009
- 2009-12-01 US US12/591,761 patent/US20100154434A1/en not_active Abandoned
Patent Citations (5)
| Publication number | Priority date | Publication date | Assignee | Title |
|---|---|---|---|---|
| JPH05171958A (ja) * | 1991-12-18 | 1993-07-09 | Mitsubishi Heavy Ind Ltd | ガスタービン冷却空気制御装置 |
| JPH07189740A (ja) * | 1993-12-27 | 1995-07-28 | Hitachi Ltd | ガスタービン冷却系統 |
| US6615574B1 (en) * | 2000-01-14 | 2003-09-09 | General Electric Co. | System for combining flow from compressor bleeds of an industrial gas turbine for gas turbine performance optimization |
| JP2002339708A (ja) * | 2001-05-16 | 2002-11-27 | Toshiba Corp | コンバインドサイクル発電プラント |
| JP2007182883A (ja) | 2006-01-05 | 2007-07-19 | General Electric Co <Ge> | エンジンターンダウンを可能にするための方法およびタービンエンジン |
Non-Patent Citations (1)
| Title |
|---|
| See also references of EP2309108A4 |
Cited By (3)
| Publication number | Priority date | Publication date | Assignee | Title |
|---|---|---|---|---|
| ITCO20090034A1 (it) * | 2009-09-25 | 2011-03-26 | Nuovo Pignone Spa | Sistema di raffreddamento per una turbina a gas e relativo metodo di funzionamento |
| EP2305982A1 (en) * | 2009-09-25 | 2011-04-06 | Nuovo Pignone S.p.A. | Cooling and tapping system for a gas turbine engine and corresponding operation method |
| US8726672B2 (en) | 2009-09-25 | 2014-05-20 | Nuovo Pignone S.P.A. | Cooling system for a gas turbine and corresponding operation method |
Also Published As
| Publication number | Publication date |
|---|---|
| JP2010038071A (ja) | 2010-02-18 |
| EP2309108A4 (en) | 2014-07-02 |
| KR101196125B1 (ko) | 2012-10-30 |
| US20100154434A1 (en) | 2010-06-24 |
| CN101946073A (zh) | 2011-01-12 |
| JP5297114B2 (ja) | 2013-09-25 |
| EP2309108B1 (en) | 2019-12-11 |
| EP2309108A1 (en) | 2011-04-13 |
| KR20100107023A (ko) | 2010-10-04 |
Similar Documents
| Publication | Publication Date | Title |
|---|---|---|
| WO2010016159A1 (ja) | ガスタービン | |
| US8096747B2 (en) | Apparatus and related methods for turbine cooling | |
| JP2010038071A5 (enExample) | ||
| US10550768B2 (en) | Intercooled cooled cooling integrated air cycle machine | |
| CN104265461B (zh) | 用于从多级压缩机向燃气涡轮输送空气的方法 | |
| CN101341313B (zh) | 具有可变入口喷嘴几何形状的涡轮机 | |
| US8152457B2 (en) | Compressor clearance control system using bearing oil waste heat | |
| CN101852100A (zh) | 用于涡轮级间密封环的方法和设备 | |
| US8033116B2 (en) | Turbomachine and a method for enhancing power efficiency in a turbomachine | |
| US11486314B2 (en) | Integrated environmental control and buffer air system | |
| CA2968283A1 (en) | Gas turbine engine bleed configuration | |
| CN106574556A (zh) | 燃气轮机 | |
| US20150159560A1 (en) | System and method for extracting foreign matter in gas turbine | |
| JPH07189740A (ja) | ガスタービン冷却系統 | |
| JP4163131B2 (ja) | 二軸式ガスタービン発電システム及びその停止方法 | |
| US11072429B2 (en) | Low pressure environmental control system with safe pylon transit | |
| EP2966278B1 (en) | Low pressure environmental control system with safe pylon transit | |
| JP5409884B2 (ja) | ガスタービン | |
| CN106907245A (zh) | 燃料供应系统及控制燃气涡轮发动机中的超速事件的方法 | |
| EP3321491B1 (en) | Electrically boosted regenerative bleed air system | |
| JP5926910B2 (ja) | 油ワニス軽減システム | |
| US20160177820A1 (en) | Low pressure environmental control system with safe pylon transit | |
| CN109695505A (zh) | 具有用于减小轴承室压力的真空发生器的燃气涡轮发动机 | |
| JP2010059850A (ja) | ガスタービン |
Legal Events
| Date | Code | Title | Description |
|---|---|---|---|
| WWE | Wipo information: entry into national phase |
Ref document number: 200880126849.6 Country of ref document: CN |
|
| 121 | Ep: the epo has been informed by wipo that ep was designated in this application |
Ref document number: 08876707 Country of ref document: EP Kind code of ref document: A1 |
|
| WWE | Wipo information: entry into national phase |
Ref document number: 2008876707 Country of ref document: EP |
|
| ENP | Entry into the national phase |
Ref document number: 20107016745 Country of ref document: KR Kind code of ref document: A |
|
| NENP | Non-entry into the national phase |
Ref country code: DE |